NOVA MULTI AIR - Poêle à granulés MCZ - Notice d'utilisation et mode d'emploi gratuit
Retrouvez gratuitement la notice de l'appareil NOVA MULTI AIR MCZ au format PDF.
| Intitulé | Valeur / Description |
|---|---|
| Type de produit | Poêle à granulés de bois |
| Caractéristiques techniques principales | Multi Air, système de diffusion d'air chaud |
| Alimentation | Granulés de bois |
| Dimensions approximatives | Largeur : 50 cm, Profondeur : 50 cm, Hauteur : 120 cm |
| Poids | 150 kg |
| Puissance nominale | 8 kW |
| Rendement | 90 % |
| Capacité du réservoir | 25 kg |
| Fonctions principales | Chauffage, programmation hebdomadaire, télécommande |
| Entretien et nettoyage | Nettoyage régulier du foyer et du cendrier, vérification des conduits |
| Pièces détachées et réparabilité | Disponibilité des pièces détachées via le réseau de distribution |
| Sécurité | Système de sécurité anti-surchauffe, protection contre les surcharges électriques |
| Compatibilités | Compatible avec les systèmes de chauffage central |
| Informations générales | Certification CE, garantie de 2 ans |
FOIRE AUX QUESTIONS - NOVA MULTI AIR MCZ
Questions des utilisateurs sur NOVA MULTI AIR MCZ
0 question sur cet appareil. Repondez a celles que vous connaissez ou posez la votre.
Poser une nouvelle question sur cet appareil
Téléchargez la notice de votre Poêle à granulés au format PDF gratuitement ! Retrouvez votre notice NOVA MULTI AIR - MCZ et reprennez votre appareil électronique en main. Sur cette page sont publiés tous les documents nécessaires à l'utilisation de votre appareil NOVA MULTI AIR de la marque MCZ.
MODE D'EMPLOI NOVA MULTI AIR MCZ
Mise à jour du manuel. 4 CONSERVATION DU MANUEL 4 Comment dire ce manuel 4
1.3.1. Limites de garantie 8 1.3.2. Exclusions 8
2. Notions theoriques pour l'installation 10
2.1. LE PELLET (ou granulés de bois) 10 2.2. PRINCIPLE DE FONCTIONNEMENT 11
2.2.1. Vue de coupe d'un poêle à granulés de bois MCZ 12
2.3. EMPLACEMENT POUR L'INSTALLATION 13 2.4. PRECAUTIONS 14 2.5. RACCORDEMENT À L'AMENÉE D'AIR FRAIS EXTERIEUR 14 2.6. RACCORDEMENT AU TUYAU DE SORTIE DE FUMÉES 15 2.7. RACCORDEMENT AU CONDUIT DE FUMEE 16 2.8. RACCORDEMENT À UN CONDUIT EXTERIEUR PAR TUYAU CALORIFUGÉ OU A DOUBLE PAROI. 16 2.9. RACCORDEMENT AU CONDUIT DE FUMEE OU AU TUYAU DE SORTIE DE FUMEES. 16 2.10. ANOMALIES DE FONCTIONNEMENT LIÉES AU MAUVAIS TIRAGE DU CONDUIT DE FUMEE 17
3.1. SCHEMAS ET CARACTERISTIQUES TECHNIQUES 18
3.1.1. Dimensions POLAR-NOVA version AIR 18 3.1.2. Dimensions POLAR-NOVA version MULTIAIR 19 3.1.3. CHARACTERISTIQUES TECHNIQUES 20
3.2. PREPARATION ET DEBALLAGE 21 3.3. RACCORDEMENT CANALISATIONS AIR CHAUD MODELE POLAR/NOVA MULTIAIR 22 3.4. MONTAGE DE L'HABILLAGE EN CERAMIQUE POUR POLAR ET NOVA. 23
3.4.1. Montage du panneau supérieur : 23 3.4.2. Montage du panneau inférieur 23 3.4.3. Montage des carreaux latéraux 23 3.4.4. Montage du dessus supérieur en céramique 24
3.5. BRANCHEMENT ELECTRIQUE 24
4. Fonctionnement 25
4.1. RECOMMANDATIONS AVANT L'ALLUMAGE 25 4.2. CONTROLLE AVANT ALLUMAGE 26 4.3. CHARGEMENT DU PELLET 26 4.4. TABLEAU DE COMMANDE ET TELÉCOMMANDE 26
4.4.1. TELECOMMANDE ET REMPLACEMENT DE LA PILE 27
4.5. RÉGLAGES A EFFECTUER AVANT LE PREMIER ALLUMAGE 27
4.5.1. RÉGLAGE DE L'HEURE COURANTE 28 4.5.2. Choix de la langue de l'afficheur 28
4.6. OPÉRATIONS POUR DÉTERMINER LE DOSAGE 28
4.6.1. Procédure rapide pour définir le dosage 29 4.6.2. Mémoriser le dosage du poêle 30
4.7. Premier allumage 30
4.7.1. Allumage à partir du tableau de commande 30 4.7.2. Allumage à partir de la télécommande 31 4.7.3. Extinction à partir du tableau de commande 31 4.7.4. Extinction à partir de la télécommande 32
4.8. ASPECT DE LA FLAMME 32 4.8.1. La forme 32
4.8.2. La couleur 32 4.8.3. Le caractère 32
4.9. Modalités de fonctionnement 33
4.9.1. Manuel et automatique 33 4.9.2. Mode manuel 33
4.9.2.1. Passage du mode manuel au mode automatique 34
4.9.3. Mode automatique 34
4.9.3.1. Thermostat numérique intérieur (installé dans le poêle) 34 4.9.3.2. Thermostat extérieur (en option) 34 4.9.3.3. Passage du mode automatique au mode manuel 35
4.9.4. Mode automatique avec ECO-STOP 35
4.9.4.1. Activation de la modalité ECO-STOP (aux soins de l'installateur) 36
4.9.5. Mode programme 36
4.9.5.1. Jour courant et horloge 36 4.9.5.2. Activation chronomètre 36 4.9.5.3. Programme 37
4.10.1. Description des alarmes 40 4.10.2. Autres messages sur l'afficheur LCD 41 4.10.3. Blocage du poèle 41
4.11. EXTINCTION DU POÊLE 41
5. Entretien et nettoyage du poêle 43
5.1. NETTOYAGES INCOMBANT A L'UTILISATEUR 43
5.1.1. AVANT CHAQUE ALLUMAGE 43 5.1.2. CONTROLLE TOUS LES 2/3 JOURS 43 5.1.3. NETTOYAGE DE LA VITRE 43 5.1.4. NETTOYAGE DES SURFACES EN INOX ET SATINÉES 44 5.1.5. NETTOYAGE DES PARTIES VERNIES 44
5.2. NETTOYAGES INCOMBANT AU TECHNICIEN 44
5.2.1. Nettoyage de l'échangeur de chaleur 44 5.2.2. Mise hors service (fin de saison) 45
5.3. CONTROLLE DES COMPOSANTS INTERNES 45
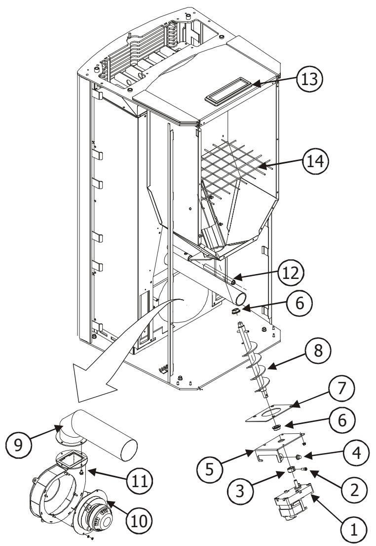
7. Schémas électriques et pièces détachées 49
7.1. SCHEMA ELECTRIQUE POLAR-NOVA AIR 49 7.2. SCHEMA ELECTRIQUE POLAR-NOVA MULTIAIR 50
7.3. PIECES DE RECHANGE 51
7.3.1. Structure POLAR et NOVA 51 7.3.2. Porte du foyer POLAR et NOVA 52 7.3.3. Composants électroniques et mécaniques communs à POLAR et NOVA 53 7.3.4. Groupe échangeur air chaud POLAR et NOVA Modèle AIR 54 7.3.5. Groupe échangeur air chaud POLAR et NOVA Modèle MULTIAIR 55 7.3.6. Habillages en céramique POLAR AIR et MULTIAIR 56 7.3.7. Habillages en céramique NOVA AIR et MULTIAIR 57
Cher Client,
Nous tenons à vous remercier pour la préférence que vous avez accordée aux produits MCZ.
Et plus particulièrement pour avoir choisi un poêle de la ligne Pellet MCZ ; nous sommes convaincus qu'au fur et à mesure de son utilisation vous en apprécierez la qualité, fruit de projets d'avant-garde et de tests rigoureux. Notre objectif est d'unir la complexité technologique à la simplicité d'utilisation et, surtout, à la sécurité.
Pour un fonctionnement optimal de votre poèle et pour pouvoir profiter pleinement de la chaleur et du bien-être offerts par les flammes, nous vous conseillons de lire attentivement ce livre d'instructions avant d'effectuer la première mise en marche.
Dès que vous aurez acquis les notions de base, vous pourrez : gérer au mieux les différents réglages de prédisposition et les différentes programmations possibles, tout en adoptant les précautions nécessaires pour le nettoyage et la configuration.
Nous vous félicitons encore de votre choix et nous vous rappelons que le poêle à granulés de bois NE DOIT JAMAIS être utilisé par des enfants et que ces derniers devront toujours se trouver à distance de sécurité.
Mise à jour du livre
Dans le but d'améliorer constamment ce produit, le constructeur se réserve le droit d'apporter sans préavis toutes les modifications qu'il jugera utiles à la mise à jour de ce manuel.
Toute reproduction, même partielle, de ce manuel sans l'autorisation du Constructeur est rigoureusement interdite.
- Prenez soin de ce manuel et conservez-le à portée de main dans un endroit facilement accessible.
- En cas de perte ou de destruction de ce manuel, ou bien s'il se trouvait en très mauvais état, demandez une copie à votre revendeur ou directement au Constructeur en spécifiant bien les références du modèle concerné.
Comment dire ce manuel
- Les paragraphes fondamentaux ou requérant une attention particulière sont imprimés en "caractère gras". « Les passages en italique » reportent les messages visualisés sur l'afficheur LCD du poêle ou bien des précisions complémentaires.
- REMARQUES : le paragraphe "REMARQUES" fournit des renseignements supplémentaires au lecteur.
Les symboles suivants signalent des messages spécifiques que vous rencontrez dans ce livre d'instructions.
| ATTENTION: Ce symbole d'advertissement qui apparaître maintes fois dans ce livre souigne la nécessité de dire attentivement le passage auquel il se rapporte et l'importance de bien le comprendre car la non observation des indications prescrites risque d'entrainer de sérieux dommages au poège et de compromètre la sécurité l'utilisateur. | |
| i | INFORMATIONS: Ce symbole met en évidence des informations importantes pour le bon fonctionnement de votre poège. La non observation de ces indications compromèttra la bonne utilisation du poège et les résultats ne seront pas satisfaisants. |
| SEQUENCES OPÉRATIONNELLES: Ce symbole indique une série de touches à presser pour accéder au menu ou pour effectuer des réglages. | |
| VISUALISER LES MESSAGES: Ce symbole invite le lecteur à dire les messages visuaisés sur l'afficheur LCD du tableau de commande du poège. |
- L'installation, le raccordement électrique, la vérification du fonctionnement et la maintenance devront être effectués exclusivement par des techniciens qualifiés et agrés.
- Installer le poèle suivant les normes en vigueur dans la région ou le pays où le poèle sera installé.
- Pour un usage correct du poèle et de ses systèmes électroniques, de même que pour prévenir tout accident, observez scrupuleusement les indications reportées dans le présent livre.
- L'utilisation, le réglage et la programmation du poêle doivent être effectués par des adultes. Toute erreur ou programmation erronée peut favoriser des situations dangereuses et/ou un mauvais fonctionnement.
- Avant toute opération, l'utilisateur ou la personne s'apprêtant à intervenir sur le poèle devra avoir lu et compris tout le contenu de ce livre d'instructions.
- Le poèle doit être exclusivement destiné à l'usage pour lequel il a été conçu. Toute autre utilisation doit être considérée impropre et donc dangereuse.
- Ne pas monter sur le poêle et ne pas l'utiliser comme plan d'appui.
- Ne pas mettre de linge à sécher sur le poêle. Les étendoirs et autres accessoires similaires doivent être placés à bonne distance du poêle. - Danger d'incendie.
- En cas d'utilisation impropre du produit, la responsabilité retombe entièrement sur l'utilisateur final et dégage la société MCZ de toute responsabilité civile et PENALE.
- Toute manipulation du poèle et tout remplacement non autorisé de pièces détachées avec des pièces de rechange n'étaient pas d'origine peut compromettre la sécurité de l'opérateur et dégage la société MCZ de toute responsabilité civile et PENALE.
- La plupart des surfaces du poèle sont très chaudes (porte, poignée, vitre, tuyaux de sorties de fumées, etc.). Il faut par conséquent éviter de toucher ces parties sans être protégé de manière adéquate par des vêtements ou des accessoires prévus à cet effet tels que des gants thermiques ou des systèmes d'actionnement type "main froide".
- Expliquer scrupuleusement ces dangers aux personnes âgées, aux handicapés et, plus particulièrement aux enfants, en veillant toujours à les tenir hors de portée du poèle allumé.
- Il est interdit de faire fonctionner le poêle avec la porte ouverte ou la yourselves.
- Ne pas toucher le poêle avec les mains humides puisqu'il s'agit d'un appareil électrique. Débrancher toujours le câble d'alimentation électrique avant d'intervenir sur l'appareil.
- Avant d'effectuer toute opération de nettoyage ou de maintenance, couper préalablement l'alimentation électrique du poèle en agissant sur l'interrupteur général situé au dos de celui-ci ou en débranchant le cable électrique qui l'almente.
- Le poèle doit être raccordé à une installation munie d'un disjoncteur et d'une prise de terre tel que prévu par les normes 73/23 CEE et 93/98 CEE.
- L'installation doit être proportionnée à la puissance électrique déclarée du poèle.
- Une installation erronée ou une maintenance incorrecte (c'est-à-dire non conformes aux prescriptions de ce livre) peuvent provoquer des dommages matériels et corporels aux personnes, aux animaux et aux choses, auquel cas la société MCZ décline toute responsabilité civile ou pénale.
1.2. Recommandations opérationnelles

- Éteindre le poêle en cas de panne ou de mauvais fonctionnement.
- Ne jamais verser les granulés de bois à la main dans le pot de combustion.
- Avant tout nouvel allumage, enlever les granulés de bois imbrûés accumulés dans le foyer de combustion suite à de nombreux allumages "manqués".
- Ne pas laver l'intérieur du poêle avec de l'eau.
- Ne pas nettoyer le poèle avec de l'eau. L'eau pourrait s'infiltrer à l'intérieur du poèle, détériorer les éléments du système d'isolation et provoquer des chocs électriques.
- Ne pas exposer la peau à l'air chaud pendant longtemps. Ne pas surchauffer la pièce où vous séjournez ni celle où le poêle est installé. Ceci pourrait ALTERER les conditions physiques et procurer des problèmes de santé.
- Ne pas exposer les plantes et les animaux directement au flux d'air chaud. Ceci pourrait provoquer des effets nocifs sur les plantes et les animaux.
- Ne rien verser d'autre que des granulés de bois dans le réservoir du poêle.
- Installer le poèle dans des locaux adaptés aux mesures anti-incendie, équipés de tous les raccordements aux différents réseaux d'alimentation (air et électricité) et d'évacuation des fumées.
- Le poèle et son habillage en céramique doit être entrepris dans un endroit sec à l'abri des intempéries.
- Il est recommandé de ne pas poser le corps du poèle directement sur le sol ; si le sol est composé de matériaux inflammables, une isolation ajustée devra être prévue.
- En cas de panne du système d'allumage, ne pas tenter d'allumer le poèle avec des matériaux inflammables.

Informations :
- Pour tout problème, s'adresser au revendeur ou à un technicien qualifié et/agréé par MCZ. Pour les réparations, exiger toujours des pièces de rechange d'origine. Utiliser exclusivement le combustible préconisé par MCZ (pour l'Italie, seulement des granulés de 6 mm de diamètre ; pour les autres pays européens, des granulés de 6-8 mm de diamètre) et seulement pour les modèles équipés du système d'alimentation automatique.
- Contrôler et faire ramoner périodiquement les conduits de sortie de fumées (raccordement au conduit de fumée).
- Avant tout nouvel allumage, enlever les granulés de bois imbriqués accumulés dans le pot de combustion suite à de nombreux allumages "manqués".
- Le poêle à granulés de bois n'est pas un appareil de cuisson.
- Veiller toujours à ce que le couvercle du réservoir de granulés soit bien fermé.
- Conserver avec soin ce livre d'instructions car il devra accompagner le poêle pendant toute sa durée de vie. Si vous nevez vendre ou transporter votre poêle dans un autre endroit, assurez-vous que ce livre l'accompagne.
- En cas de perte, demandez un autre exemplaire à votre revendeur/agréé ou à la société MCZ.
1.3. Conditions de garantie

La société MCZ garantit ce produit, à l'exclusion des éléments sujets à une normale usure comme reporté ci-dessous, pour une durée de deux ans à compter de la date
d'achat du poèle, à condition que le certificat de garantie soit validé par une pièce justificative contenant le nom du revendeur et la date de vente, que ledit certificat de garantie dûment rempli soit expédié dans les 8 jours à compter de la date de vente reportée, et que le poèle soit installé et testé par un technicien/agréé et suivant les précises instructions reportées dans le livre d'instructions.
On entend par garantie l'échange ou la réparation gratuite de parties ou de pièces d'origine reconnues défectueuses pour vice de fabrication.
1.3.1. Limites de garantie
La garantie ne couvre pas les composants électriques et électroniques ni les ventilateurs pour lesquels la période de garantie est fixée à 1 an à compter de la date d'achat justifiée comme indiqué ci-dessus. La garantie ne couvre pas les parties sujettes à une usure normale telles que les : joints, vitre et toutes les parties amovibles du foyer.
Les pièces remplacées seront couvertes pendant toute la période de garantie restante.
1.3.2. Exclusions
Les variations de couleur sur les parties peintes, laquées et en céramique, de même que les craquelures de la céramique, ne peuvent en aucun cas faire l'objet d'une réclamation, s'agissant là de
caractéristiques naturelles inhérentes aux matériaux et à l'utilisation du produit.
La garantie ne couvre pas les parties qui sont devenues défectueuses suite à négligence, mauvaise maintenance ou installation non conforme aux prescriptions de la société MCZ (voir les chapitres correspondants dans ce manuel d'instructions).
La société MCZ décline toute responsabilité pour les dommages matériels et corporels éventuels causes, directement ou indirectement, aux personnes, aux animaux ou aux choses suite à la non-observation des prescriptions reportées dans ce livre et, plus particulièrement, de celles qui concernent les directives relatives à l'installation, l'utilisation et la maintenance du poêle.
En cas de mauvais fonctionnement du poèle, adressez-vous à votre revendeur et/ou à l'importateur de cette région.
Les dommages causés par le transport et/ou par des manœuvres de déplacement du poêle sont exclus de la garantie.
Pour ce qui concerne l'installation et l'utilisation du poêle, se référer exclusivement au livre d'instructions fourni avec le poêle.
La garantie ne couvre pas les dommages occasionnels par des manipulations de l'appareil, par des agents atmosphériques, des calamités naturelles, des décharges électriques, l'incendie, des défauts de l'installation électrique ou une maintenance incorrecte ou inexistante par rapport aux instructions du constructeur.

Demande d'intervention
La demande d'intervention devra être faite au revendeur qui fera suivre l'appel au service d'assistance technique de la Sté MCZ.
LA SOCIÉTÉ MCZ DÉCLARE QUE LE POÉLE ACHÉTE EST CONFORME AUX DIRECTIVES CEE 89/336 et 72/23 et SUCESSIFS AMENDEMENTS.

MCZ SPA décline toute responsabilité en cas d'utilisation impropre ou de modifications du poêle et de ses accessoires, non préalablement autorisées.
Pour tout remplacement de pièces détachées, n'utiliser que des pièces de rechange d'origine MCZ.
2.1. Le PELLET (ou granulés de bois)
Le "pellet" ou granulés de bois dérive du compactage et du tréfilage des sciures de bois séché naturellement (sans vernis) produit par l'industrie de transformation du bois (scieries et menuiseries). La densité de ce matériel est due à la lignine contenue dans le bois même, grâce à laquelle la production des granulés de bois ne requiert pas l'emploi de colles ou d'agents de liaison.
Le marché offre différents types de granulés de bois représentant des caractéristiques qui varient en fonction des mélanges d'essences de bois utilisés. Le calibre des granulés varie de 6 à 8 mm pour une longueur standard comprise entre 5 et 30 mm. Le pellet de donne qualité possède une densité variant de 550 kg / m³ à plus de 700 kg / m³ avec une humidité sur poids brut du granulé variant de 5 à 8 %.
Afin de garantir les valeurs de consommation horaire déclarées et d'optimiser la puissance de combustion des poêles à granulés, MCZ a mis au point un système breveté qui permet d'identifier et de cataloguer n'importe quel type de granulés de bois de 6 à 8 mm de diamètre, en fonction de leur poids spécifique et de leur grosseur.
Avec le système spécial PelletBox® et en suivant la procédure expliquée au paragraphe "Allumage", on déterminera le réglage le plus approprié pour configurer le poêle.
Non seulement le pellet est un combustible écologique, dans la mesure où il recycle au maximum les résidus de bois pour fournir une combustion plus propre que celle obtenue à partir des combustibles fossiles, mais il présente également plusieurs avantages techniques. Si la puissance calorifique d'un bon bois de chauffage est de 4,4 kW/kg (avec 15% d'humidité, soit après 18 mois de séchage environ), celle du pellet est de 5,3 kW/kg.
Pour garantir une bonne combustion, le pellet doit nécessairement être conservé à l'abri de l'humidité et des salissures. Les granulés de bois sont généralement distribués en sacs de 15kg et sont par conséquent très facies à stocker.
Des granulés de bonne qualité assurent une excellente combustion tout en réduisant l'émission de gaz nocifs dans l'atmosphère.

Plus la qualité du combustible est médiocre, plus fréquence sera la nécessité de nettoyer le pot de combustion et la chambre de combustion.
Les granulés de bois doivent être fabriqués exclusivement avec des essences de bois n'ayant subi aucun traitement chimique.
Les normes DIN 51731 et ONORM M 7135 homologuent des granulés de bonne qualité qui possèdent les caractéristiques suivantes :
✓ Puissance calorifique : 5.3 kW/kg Densité : 700 kg/m³
Granules de bois
Doseur Pellet-Box®
Sac de granulés de bois de 15 kg
Taux d'humidité : 8% maximum poids brut granulés Taux de cendres : 1% maximum poids brut granulés Diamètre: 6 - 6,5 mm Longueur: 30 mm max. ✓ Composition : 100% bois non traité et sans aucun ajout de substances liantes (pourcentage d'écorce : 5% max.) Emballage : sacs réalisés avec un matériel écologique et biodégradable

La Sté MCZ commande vivement d'utiliser un combustible homologué pour l'utilisation de ses poêles.
L'emploi de granulés de qualité médiocre ou non conforme à ce qui a été précédemment indiqué compromet le fonctionnement de votre poêle et par conséquent pourrait annuler la garantie et la responsabilité de la société MCZ en ce qui concerne le produit.
Les poêles à granulés de bois MCZ fonctionnent exclusivement avec du pellet de 6mm de diamètre (seulement en Italie) et de 6-8 mm de diamètre (dans les autres pays européens) ayant une longueur variant de 5 à 30 mm maximum.
Les granulés de bois sont introduits dans la chambre de combustion et tombent directement dans le pot de combustion en acier inox, entraînés par une vis sans fin qui les préleve dans le réservoir du poèle.
La quantité de granulés de bois introduite dans le pot de combustion et l'air combustible correspondant sont prédéterminés, programmés et contrôlés par une carte électronique.
Durant la phase d'allumage, la carte électronique active le rotor d'aspiration de fumées ainsi que la bougie en céramique qui, en se surchauffant, allume le combustible à une température d'environ C. Après 20 minutes environ, la phase d'allumage est terminée et la centrale de commande met le poêle en mode "Fonctionnement".
Lors de cette phase, selon les instructions que l'utilisateur envoie au poêle au moyen de la télécommande IR (5 programmes), la carte électronique établit la relation exacte entre la quantité de combustible, l'air combustible et l'air de convection et effectue un contrôle continu de tous les éléments connectés; la carte signalera, si nécessaire, la présence d'anomalies dans le fonctionnement ou en interrompra la procédure.
- VOIR SCÉMA EN COUPE PAGE SUIVANTE -

2.3. Emplacement pour l'installation
Pour un bon fonctionnement du poèle et pour une bonne distribution de la chaleur, l'unité doit être installée dans un endroit où l'air nécessaire à la combustion des granulés de bois peut arriver (disponibilité d'environ 40 m³/h) conformément à la norme pour l'installation UNI - CIG 7129 - 7131 et successives modifications, ainsi qu'aux normes nationales en vigueur.
Le volume du local ne doit pas etre inférieur a 30m³
L'air doit arriver à travers des ouvertures permanentes pratiquées dans les murs (au niveau du poêle) qui donnent sur l'extérieur, avec une section minimale de 100 cm²
Ces amenées d'air doivent être réalisées de manière à ne subir aucune obstruction.
L'air pourra également provenir des pièces voisines de celle où il faut ventiler à condition que ces pièces soient équipées de prises d'air extérieur, qu'il ne s'agisse pas de chambres à coucher ou de salles de bains et qu'elles ne présentent aucun danger d'incendie contrairement, par exemple, au garage, remise de bois, dépôts de matériaux inflammables, et en respectant impérativement ce qui est prévu par les normes en vigueur.
Exemple d'installation avec le poèle POLAR

L'installation du poèle dans les chambres à coucher, les salles de bains ou dans une pièce équipée d'un autre appareil de chauffage (cheminée, poêle, etc.) sans arrivée d'air indépendante est interdite.
Il est interdit d'installer le poêle dans un local dont l'atmosphère est explosive.
Le sol de la pièce où sera placé le poêle doit être aménagé de façon ajustée pour pouvoir supporter la charge au sol de l'appareil.
Si les murs ne sont pas de nature inflammable, installer le poèle en laissant un espace postérieur d'au moins 10 cm.
En cas de murs de nature inflammable, laisser un espace minimum de 20 cm entre le mur et le dos du poèle, de 50 cm sur le côté et de 150 cm devant. En outre, en présence d'objets particulièrement délicats tels que meubles, rideaux, divans, etc., augmenter les distances précitées.

En cas de sol en bois (parquet) prévoir une plaque de sol conforme aux normes en vigueur pour le protéger.
Exemple d'installation avec le poête POLAR

Important!
L'installation et le montage du poèle doivent être effectués par un personnel technique qualifié.
L'installation du poèle doit être effectuée dans un endroit accessible permettant les opérations normales d'ouverture, d'entretien ordinaire et de maintenance.
La pièce doit :
- être adaptée aux conditions environnantes de fonctionnement
- être équipée d'un réseau d'alimentation électrique à 230-240V 50 Hz (EN73-23) - disposer d'un système approprié pour l'évacuation des fumées
- être dotée d'une aération extérieure
- être équipée de disjoncteur et de mise à la terre conformes aux normes UE
Le poèle doit être raccordé à un conduit de fumée ou à un conduit vertical intérieur ou extérieur, conformément aux normes en vigueur.
Le poêle doit être installé de sorte que la prise électrique soit accessible.

Important!
Le poêle doit être raccordé à un conduit de fumée ou un conduit vertical pouvant évacuer les fumées au point le plus haut de l'habitation.
Les fumées dérivent de la combustion du bois et poursuivent donc salir les murs si elles sortent trop près des parois.
Par ailleurs, ces fumées étant presque invisibles et très chaudes, leur contact peut provoquer des brûlures.
Avant d'installer le poêle, prévoir une ouverture dans le mur pour le passage du tuyau de sortie de fumées et autre ouverture pour l'amène d'air frais extérieur.
2.5. Raccordement à l'aménagée d'air FRAIS extérieur
Il est indispensable qu'une quantité d'air frais au moins égale à celle requise par la normale combustion des granulés de bois ainsi que l'air nécessaire à la ventilation puissent arriver dans la pièce où le poêle est installé. Cette aération peut être réalisée aussi bien au moyen d'ouvertures permanentes pratiquées dans les murs de la pièce qui seront sur l'extérieur qu'au moyen de conduits de ventilation individuels ou collectifs.
Dans ce but, pratiquer une ouverture ayant une section libre de 100 cm² minimum dans la paroi externe au niveau du poêle (ouverture de 12 cm de diamètre ou de 10x10 cm de section), protégée par une grille aussi bien à l'intérieur qu'à l'extérieur.
L'amenée d'air doit également :
- communiquer directement avec la pièce où le poèle est installé.
- être protégée par une grille ou un grillage métallique ou toute autre protection ajustée à condition que celle-ci n'en réduise pas la section minimale.
- être installée de manière à ne pas pouvoir s'obstruer.


Il n'est pas obligatoire de raccorder directement l'ouverture d'air au poêle (directement avec l'extérieur) mais la section sus-indiquée devra assurer, quoi qu'il en soit, une arrivée d'air d'environ 50 m³/h dans la pièce.
Voir la forme UNI 10683 REV.
2.6. Raccordement au TUYAU de SORTIE de fumées
Pendant la réalisation de l'ouverture pour le passage du tuyau d'évacuation des fumées, il faudra nécessairement tenir compte de l'éventuelle présence de matériaux inflammables. Si l'ouverture est pratiquée dans une paroi en bois ou réalisée avec un matériel thermolabile, l'INSTALLATEUR DEVRA d'abord utiliser le raccord mural prévu à cet effet (Ø 13 cm minimum) puis isoler de façon ajustée le tuyau du poêle qui traverse cette paroi, en utilisant des matériaux isolants appropriés (ép. 1.3 — 5 cm ayant une conductibilité thermique de 0.07 W/m °K min.).
Ceci vaut également si le tuyau du poèle doit passer par des traversées verticales ou horizontales tout en devant rester à proximité (20 cm min.) de la paroi thermolabile.
Comme solution alternative, il est conseillé d'utiliser un tuyau industriel calorifugé que vous pourrez utiliser également à l'extérieur pour éviter les condensations.
La chambre de combustion fonctionne en dépression. Le conduit de sortie de fumées sera en dépression à condition qu'il soit raccordé à un conduit de fumée efficace comme déjà prescrit.

N'utiliser que des tuyaux et des raccords munis de joints garantissant une étanchéité absolue.

Toutes les traversées du conduit de fumée doivent être équipées d'une trappe de visite amiable permettant d'effectuer un nettoyage périodique de l'intérieur (raccord en "T" avec trappe de visite).
Installer le poèle en tenant compte de toutes les prescriptions et de tous les avertissements formulés jusqu'à.

Important!
Tout changement de direction du conduit d'évacuation des fumées doit être réalisé avec des raccords en "T" spéciaux, équipés de trappe de visite. (Voir chap. "Accessoires pour poêle à granulés de bois").
Il est formellement interdit d'appliquer une grille à l'extrémité du tuyau d'évacuation car celle-ci pourrait altérer le bon fonctionnement de votre poêle.
POUR LE RACCORDEMENT AU CONDUIT DE FUMEE, NE PAS UTILISER PLUS DE 2-3 m DE TUYAU HORIZONTAL ET NE PAS EMPLOYER PLUS DE 3 COULES A
Visio poèle POLAR
Exemple d'installation avec le poêle POLAR
2.7. Raccordement au conduit de fumée
Les dimensions intérieures du conduit de fumée ne doivent pas être supérieures à 20 × 20 cm de section ou 20 cm de diamètre. En cas de dimensions supérieures ou de mauvaises conditions du conduit de fumée (lézardes, isolation insuffisante, etc.), il est conseillé d'insérer un tuyau en acier inox ayant un diamètre approprié à l'intérieur et sur toute la hauteur du conduit Fig. 5.
Vérifier, au moyen d'instruments appropriés, que le tirage soit de 10 Pa minimum.
Prévoir une trappe de visite à la base du conduit de fumée pour pouvoir effectuer les contrôles périodiques et le ramonage qui doit être exécuté une fois par an.
Assurer l'étanchéité du raccordement au conduit de fumée en utilisant les raccords et les tuyaux que nous préconisons.
Contrôler impérativement qu'une souche de cheminée anti-vent ait été installée sur le toit, conformément aux normes en vigueur.

Ce type de raccordement assure l'évacuation des fumées même en cas de panne d'électricité momentanée.
2.8. Raccordement à un conduit exterieur par TUYAU calorifugé ou a DOUBLE PAROI.
Les dimensions minimales internes du conduit extérieur doivent être de 10x10 cm de section ou de 10 cm de diamètre et les dimensions maximales ne doivent pas dépasser 20x20 cm de section ou 20 cm de diamètre.
Vérifier, au moyen d'instruments appropriés, que le tirage correspond à 10 Pa minimum. Fig. 6
N'utiliser que des tuyaux calorifugés (à double paroi) en acier inox lisse à l'intérieur (il est interdit d'utiliser des tuyaux inox flexibles) et fixés au mur.
Prévoir une trappe de visite à la base du conduit vertical extérieur pour pouvoir effectuer les contrôles périodiques et le ramonage qui devra être exécuté une fois par an.
Assurer l'étanchéité du raccordement au conduit de fumée en utilisant les raccords et les tuyaux que nous préconisons.
Contrôler impérativement qu'une souche de cheminée anti-vent ait été installée sur le toit, conformément aux normes en vigueur.

Ce type de raccordement assure l'évacuation des fumées même en cas de panne d'électricité.
2.9. Raccordement au conduit de FUMEE ou au TUYAU de SORTIE de fumées
Pour garantir un bon fonctionnement, le raccordement entre le poêle et le conduit de fumée ou le tuyau de sortie de fumées doit avoir une inclinaison non inférieure à 3%. La traversée horizontale ne doit pas être supérieure à 2/3 m de long et la traversée verticale ne doit pas être inférieure à 1,5 m de long, mesure d'un raccord en "T" à l'autre (changement de direction).
Vérifier, avec les instruments appropriés, que le tirage correspond à 10 Pa minimum. Fig. 7



Prévoir une trappe de visite à la base du conduit de fumée pour pouvoir effectuer les contrôles périodiques et le ramonage qui devra être effectué une fois par an.
Assurer l'étanchéité du raccordement au conduit de fumée en utilisant les raccords et les tuyaux que nous préconisons.
Contrôler impérativement qu'une souche de cheminée anti-vent ait été installée sur le toit, conformément aux normes en vigueur.

Ce type de raccordement assure l'évacuation des fumées même en cas de coupure d'électricité.
2.10. Anomalies de fonctionnement liées au mauvais TIRAGE du conduit de fumée
Parmi les différents facteurs météorologiques et géographiques qui intervennent sur le fonctionnement d'un conduit de fumée (pluie, brumes, neige, altitude, périodes d'ensoleillement, orientation, etc.), le vent est certainement le plus déterminant d'entre eux. En effet, à part la dépression thermique induite par la différence de température existant entre l'intérieur et l'extérieur du conduit de fumée, il existe un type de dépression (ou surpression) : la pression dynamique induite par les vents dominants. Un vent ascendant a toujours pour effet d'augmenter la dépression et par conséquent, le tirage. Un vent horizontal augmente la dépression si la souche de cheminée est bien installée. Un vent descendant a always pour effet de diminuer la dépression et quelsqueifs de l'inverser.
Ex. Vent descendant de de 8m/sec. Suppression de17 Pa



Outre la direction et la force du vent, la position du conduit de fumée et de la cheminée, par rapport au toit de la maison et au paysage environnant, est également importante.
Le vent influence le fonctionnement du foyer même indirectement en créant des zones de surpression et de dépression aussi bien à l'intérieur qu'à l'extérieur des habitations. Lorsque les locaux sont exposés au vent direct (2), une surpression interne favorisant le tirage des poêles et des cheminées peut se produire mais elle peut être contrastée par la surpression externe si la sortie de toit est située face au vent (1).
Au contraire, lorsque les locaux sont situés dans la direction opposée à celle du vent (3), une dépression dynamique entrant en concurrence avec la dépression thermique naturelle développée par le conduit de cheminée peut se produire mais elle peut être compensée (quelquefois) en plaçant le conduit de fumée du côté opposé à la direction du vent (4).

1-2 = Zones de suppression
3-4 = Zone de dépression

Important!
La conformité et la position adoptée pour le conduit de fumée influencent particulièrement le fonctionnement du poêle à granulés de bois.
Des conditions précaires ne pourront être résolues que par un réglage ajusté de votre poèle, effectué par le personnel habilité MCZ.








3.1.3. Caractéristiques techniques
| Caracteristique techniques | POLAR / NOVA - mod. AIR |
| Puisance calorifique globale Max.: | 8,8 kW / 7560 Kcal |
| Puisance calorifique globale Min.: | 2,5 KW / 2150 Kcal |
| Rendement | >90 % |
| Température des fumées | 110 / 150° C |
| CO à 13% O2min - max | 0.02 - 0.10% |
| Tirage minimum | 0,1 mbar-10 Pa |
| Capacité du réservoir de combustible | 52 litres |
| Type de granulés de bois (pellet) | **Granulés de bois 6-8 mm de diamètre. Longueur : 5/30 mm |
| Consommation horaire de granulés de bois | Min 0,6 KG/h* Max. 1,6 KG/h* |
| Autonomie | Au min 56 h* Au max. 21 h* |
| Entrée d'air pour la combustion | Diamètre extérieur 50 mm |
| Sortie de fumées | Diamètre extérieur 80 mm |
| Poids net | 190 Kg |
| Puisance électricque nominale max. | 270 W |
| Tension d'alimentation | 230 V -50 Hz |
- Données pouvant varier selon le type et la dimension du pellet utilisé. ** Pour l'ITALIE n'utiliser que des granulés de bois de 6mm de diamètre.
| Caracteristique techniques | POLAR / NOVA - mod. MULTIAIR |
| Puisance calorifique globale Max.: | 11 kW / 9500 Kcal |
| Puisance calorifique globale Min.: | 3,3 KW / 2800 Kcal |
| Rendement | > 90 % |
| Température des fumées | 120 / 160° C |
| CO à 13% O2 min - max | 0.02 - 0.10% |
| Tirage minimum | 0,1 mbar-10 Pa |
| Capacité du réservoir de combustible | 52 litres |
| Type de granulés de bois (pellet) | **Granulés de bois 6-8 mm de diamètre. Longueur : 5/30 mm |
| Consommation horaire de granulés de bois | Min 0,7 KG/h* Max. 2 KG/h* |
| Autonomie | Au min 48 h* Au max. 17 h* |
| Entrée d'air pour la combustion | Diamètre extérieur 50 mm |
| Sortie de fumées | Diamètre extérieur 80 mm |
| Poids net | 190 Kg |
| Puisance électrique nominale max. | 270 W |
| Tension d'alimentation | 230 V -50 Hz |
- Données pouvant varier selon le type et la dimension du pellet utilisé. ** Pour l'ITALIE n'utiliser que des granulés de bois de 6mm de diamètre.
3.2. Preparation et déballage
Les poêles Polar et Nova sont livrés dans deux emballages séparés :
Le premier contient le corps du poêle ou monobloc (Fig. 1) Le second contient l'habillage en carreaux de céramique (Fig. 2)
Ouvrir l'emballage, couper les feuillards, dégager le corps du poèle de la palette et l'installer à l'emplacement choisi en veillant à ce que ce dernier soit conforme aux indications prescrites.
Le corps du poêle ou monobloc doit toujours être déplacé en position verticale et exclusivement au moyen d'un chariot. Il faut veiller particulièrement à ce que la porte et sa vitre ne subissent aucun choc mécanique qui en compromettrait l'intégrité.
Dans tous les cas, ne manutentionner les produits qu'avec extrême prudence.
Si possible, déballer le poèle près de l'endroit où il sera installé.
Les matériaux qui composent l'emballage ne sont ni toxiques ni nocifs. Ils ne requièrent donc aucun procédé d'élimination particulier.
Par conséquent, le stockage, l'élimination et le recyclage éventuel doivent être effectués par l'utilisateur final, conformément aux lois relatives en vigueur.
Ne pas entreposer le corps du poêle et les revêtements sans leurs emballages.
Si vous devez raccorder toutefois à un tuyau de sortie de fumées qui traverse le mur d'adossement postérieur (pour rejoindre le conduit de fumée), veillez à ne pas forcer l'embouchure en emboîtant le tuyau.
Mettre le poèle à niveau, au moyen des pieds d'appui régables (J), afin que la sortie de fumées (S) et le tuyau d'évacuation (H) soient dans le même axe.

Figure 1 - Exemple emballage poèle Figure 2 - Exemple emballage céramiques

Si, dans le but de la soulever ou de la positionner, la sortie de fumées du poêle est forcée ou utilisée de façon incorrecte, son fonctionnement sera irrémédiablement compromis.


- En tournant le pied dans le sens des aiguilles d'une montre le poèle se baisse
- En tournant le pied dans le sens contraire des aiguilles d'une montre le poèle se lève
3.3. Raccordement canalisations air CHAUD modèle polar/nova multiair
Une fois terminée la phase de positionnement du poèle, il est possible de commencer le procédé d'installation des conduits d'air chaud.
En tant que première phase, il est nécessaire de sélectionner le volume d'air que l'on souhaite faire sortir de la partie frontale et de la partie arrière du poêle.
Cette simple opération est possible en réglant le déflecteur mécanique situé sur la partie supérieure du poêle, sous le dessus en céramique, (Figure 3) dans la position souhaitée en utilisant le crochet prévu à cet effet. Plus son ouverture est importante, plus la quantité d'air destinée à la partie frontale est importante et moins elle l'est pour celle arrière et vice-versa.
Pour mieux comprendre, Figure 4 est schématisée la répartition de l'air chaud entre les deux sorties (frontale et arrière) à la puissance maximum de ventilation et en tenant compte d'une canalisation.
Figure 3 - Réglage déflecteur supérieur frontal

Figure 4 - Répartition de l'air chaud avant/arrière
| A | B | J | K |
| 0 m | Min | 30% | 70% |
| 0 m | Max | 50% | 50% |
| 4 m | Min | 40% | 60% |
| 4 m | Max | 60% | 40% |

Ne pas effectuer le réglage du déflecteur supérieur avec le poêle en marche et sans gants de protection : RISQUE DE BRULURES. L'air en sortie a en moyenne une température de ≥ 70^.

NE JAMAIS FERMER COMPLETÉMENT LA SORTIE DE L'AIR ! ARRÊTER !!!
Il n'est pas conseillé d'orienter tout l'air vers la partie frontale du poêle car la grande quantité d'air en circulation provoquerait de bruyantes turbulences à l'intérieur de l'échangeur d'air du poêle, autrement dit surchauffer considérablement la structure. Il est par contre possible de fermer complètement la sortie frontale (déflecteur) et d'orienter tout l'air vers la bouche arrière.
Une fois effectué le réglage du déflecteur, raccorder la bride arrière de sortie d'air chaud (Figure 4) à des canalisations et à des bouches. Il est possible d'utiliser des raccords spéciaux MCZ qui deviennent le flux dans plusieurs bouches et qui peuvent même être mûres. La sortie d'air chaud arrive à un diamètre de 100mm et il est donc possible d'utiliser des conduits du même diamètre ou légèrement inférieur (80mm) pour être mûres à l'intérieur des interstices pour isolation de la maison. Le tuyau inséré dans la paroi doit toutefois être opportunément isolé afin de ne pas disperser la température et d'insonoriser l'air en sortie.

Il est conseillé de réaliser des canalisations de longueur semblable pour distribuer de manière uniforme l'air, sinon cette dernière préférera la canalisation la plus brève ou moins tortueuse.
Nous rapportons ci-contre (Figure 5 et 6) un simple exemple de canalisation vue aussi bien de derrière que de devant.
Afin d'avoir une meilleure circulation de l'air, il est conseillé de raccorder aussi avec l'extérieur la bride d'entrée d'air arrêté (Figure 6 - A). Il n'est pas obligatoire d'effectuer ce raccord si la pièce dans laquelle est installé le produit est suffisamment ventilée.
Légende figures 5 et 6
A = entrée air froid - B = canalisations et bouches de sortie air chaud - C = tuyau de sortie des fumées
Figure 5 - Installation sortie air vue de face
Figure 6 - Installation sortie air vue de derrière
3.4.1. Montage du panneau supérieur :
Prendre le panneau et l'insérer en faisant en sorte que les crochets latéraux s'insèrent dans les fentes positionnées sur la partie haute du cadre. Une fois inséré, pousser vers le bas et bloquer le tout à l'aide de la vis auto-taraudeuse fournie. Figure 7
3.4.2. Montage du panneau inférieur
Enlever les deux écrous pré-montés sur la partie inférieure du cadre à côté de la porte du compartiment pour cendres. Prendre le panneau inférieur, ouvrir la charnière et la monter en utilisant les deux vis laissées précédemment sans écrous. Contrôler l'alignement et serrer les écrous. Figure 8
3.4.3. Montage des carreaux latéraux
LE MONTAGE DES CARREaux DOIT TOUJOURS COMMENCER PAR LE BAS.
- Tourner la vis K de façon à amener la tige H en contact avec la structure. Appliquer le carreau d'abord du côté de la tige H et successivement enfiler la partie opposée dans le logement prévu à cet effet sur les crochets fixes G. Figure 10 - phase 1
- Tourner le carreau vers l'extérieur du poêle de façon à ce que le bord avant reste libre aille s'appuyer sur le montant. Figure 10 - phase 2
- Répéter les points 1-2-3 pour tous les carreaux du côté. Figure 10 - phase 3
- Tourner la vis K de façon à ce que la tige H raccordée pousse les carreaux vers le montant. À l'aide d'une autre clé, serrer l'écrou L pour bloquer de façon permanente le système. Figure 10 - phase 4
- Répéter les opérations décrites sur l'autre côté.
Phase 1
Phase 2
Phase 3
Phase 4 Figure 10 - Vue de haut du système de fixation des carreaux en céramique latéraux
Figure 7 - Montage du panneau frontal supérieur

Figure 8 - Montage du panneau frontal inférieur
Figure 9 - Vue de dessous du système de fixation des carreaux en céramique latéraux
Légende figures 9 et 10
G - Crochets fixes arrête H - Tige de blocage avant L - Écrou de blocage K - Vis de blocage
3.4.4. Montage du dessus supérieur en céramique
Monter le dessus en l'appuyant sur les quatre éléments en saillie supérieurs du poêle. La partie ci-dessous est pourvue de quatre petites cavités à hauteur des supports en caoutchouc indiqués à la figure 11.
Figure 11 - Supports montage dessus en céramique
3.5. Branchement électrique
Brancher le câble d'alimentation d'abord à l'arrière du poêle puis à la prise électrique murale. (Fig. 15)
L'interrupteur général situé au dos du poèle ne doit être utilisé que pour allumer le poèle. Autrement, il est conseillé de le laisser en position "Arrêt" ("O").


Lorsque le poèle n'est pas utilisé, il est préférible de débrancher le câble d'alimentation.
4.1. Recommandations avant l'allumage

Éviter de toucher le poêle pendant le tout premier allumage car durant cette phase la peinture durcit. En touchant la peinture, la surface en acier pourrait réapparaître.
Si nécessaire, rafraîchir la peinture avec un aérosol de couleur identique, (voir § "Accessoires pour poèle à granulés de bois")

Il est important d'assurer une ventilation efficace lors du premier allumage car le poèle exhalera de la fumée et une odeur de peinture.
Ne pas stationner à proximité du poèle et bien aérer la pièce. La fumée et l'odeur de peinture disparaîtront après une heure de fonctionnement du poèle environ; nous rappelons qu'elles ne sont pas nocives pour la santé.
Lors des phases d'allumage et de refroidissement, le poèle pourrait se dilater et se contracter, par conséquent de légers craquements pourraient être perceptibles.
Ce phénomène est absolument normal puisque la structure est réalisée en acier laminé; il ne pourra donc en aucun cas être considéré comme un défaut.
Il est essentiel de ne pas surchauffer le poêle dès le premier allumage et de veiller au contraire à le porter lentement à la température désirée. Utiliser (si accessible en mode "Manuel") des puissances de chauffage basses (par ex. 1^ère - 2^e - 3^e ). Lors des allumages suivants, vous pourrez profiter de toute la puissance thermique à disposition (par ex. 4^e - 5^e ) en veillant toutefois à ne pas laisser le poêle allumé à la puissance maximale pendant plus de 60-90 minutes.
De cette façon, vous éviterez d'endommager les carreaux en céramique, les soudures et la structure en acier.
Lors du premier allumage, laisser le poèle en mode "Manuel" et n'utiliser que des puissances de chauffage moyennes telles que "on1"-"on2"-"on3".

Ne tentez pas d'évaluer les performances de votre poêle dès le premier allumage!
Commencez à vous habituer progressivement aux commandes gérées par la tableau de bord ou par la télécommande du poèle.
Essayer de mémoriser visuellement les messages de l'afficheur LCD du tableau de commande du poèle.
4.2. Controlle avant allumage
Vérifier que toutes les conditions de sécurité vues précédemment soient bien appliquées.
S'assurer d'avoir lu et parfaitement compris le contenu du présent livre d'instructions.

Ôter du poêle et de la porte tous les éléments qui pourraient brûler tels que les étiquettes adhésives.
Contrôler que la grille du foyer pour la combustion du pellet soit correctement positionnée, appuyez bien sur la base et qu'elle ne soit pas déplacée lors de la manutention du produit.
Vérifier la tension du branchement électrique (230V - 50 Hz) et appuyer sur l'interrupteur situé sur le panneau postérieur du poêle.
Vérifier que l'afficheur LCD du tableau de commande est éclairé et qu'il affiche les messages clignotants ARRÊT / HEURE ACTUELLE.
4.3. Chargement du PELLET
Le chargement du combustible s'effectue par le dessus du poêle en ouvrant le couvercle. Verser le pellet dans le réservoir ; sa capacité à vide est d'environ un sac de 15 kg.
Pour faciliter l'opération, procéder en deux étapes :
- Verser la moitié du contenu du sac à l'intérieur du réservoir et attendre que le combustible se dépose sur le fond; terminer l'opération en versant ensuite l'autre moitié des granulés de bois.

Ne jamais retirer la grille de protection située à l'intérieur du réservoir. Lors du chargement des granulés, éviter que le sac ne touche les surfaces chaudes.


Touches de commande
- Pour diminuer la valeur de température / navigation-modifications menu
- Pour augmenter la valeur de température / navigation-modifications menu
- Pour configurer la puissance du poèle
- Pour configurer la puissance du ventilateur
- Marche / arrêt poêle
- Menu / sélection
- Récepteur infrarouges
- Indicateurs (voir spécifications)
Afficheur
- Afficheur
Indicateurs

Chrono-thermostat activé/désactivé
Bougie en fonction
Cycle au cours duquel la vis sans fin charge les granulés de bois
Ventilateur air chaud en fonction/arrêté
Fonctionnement en mode manuel
Alarme générale (voir spécification)
Touches de commande
- Défilement menu décroissant / diminution température
- Augmentation config. température / fonctions de programmation
- Augmentation puissance poèle
- Augmentation puissance ventilateur
Touche 2 + 3 = Allumage / Extinction

Reemplacement de la PILE
La télécommande fonctionne avec une pile alcaline de 12 V type 8LR932 (comme celles des portails automatiques). Il est recommandé de la remplacer une fois par an.
Procedure de remplacement :
Insérer la pointe d'un tournevis à fente dans la fissure (X) de la télécommande. Faire tourner le tournevis en sens inverse pour faire levier sur le couvercle (Y) pour le débloquer.
Extraire complètement le couvercle (Y) et remplacer la pile en la plaçant de telle sorte que la polarité (+) de la pile corresponde avec la polarité (+) gravée sur le boîtier.
Remettre le couvercle sur le boîtier (Y)
Éliminer la pile usée selon les normes en vigueur.

4.5. Réglages à effectuer avant le premier allumage
Porter l'interrupteur situé au dos de l'appareil en position (I).
L'afficheur LCD (8) du tableau de commande visualisera le message clignotant ARRET / HEURE ACTUELLE.
Si cette donnée n'est pas à jour, vous pourrez la régler en suivant la procédure précisée ci-dessous.
Ne pas oublier que l' "heure actuelle" sert exclusivement à configurer la programmation hebdomadaire avec le CHRONO (voir chapitre correspondant). Réciproquement, une heure qui ne serait pas mise à jour ne compromet en rien le fonctionnement du poêle.

4.5.1. Réglage de l'heure courante
Presser 2 fait la touche MENU ⑤ ; sur l'afficheur apparaît le message ACTIVAT. JOUR qui permet d'entrer le jour de la semaine au moyen des touches ① ou ② ; presser de nouveau la touche MENU ⑤ sur l'afficheur apparaît l'indication HEURES qui permet de régler l'heure courante toujours au moyen des touches ① ou ② qui permettent d'augmenter ou de diminuer la valeur affichée. Pour confirmer la sélection de l'heure, presser la touche MENU ⑥ ; répéter la même série pour entrainer les MINUTES. Après avoir validé les minutes au moyen de la touche MENU ⑤, la saisie de l'heure courante est terminée et l'afficheur quitte automatiquement cette fonction pour retourner à la page initiale.
Vous pouvez également quitter la fonction de configuration de l'horaire en pressant la touche ⑤ ou bien, si la procédure est interrompue pendant plus de 60 secondes, l'afficheur retournera automatiquement à la page initiale.

QUIITTER LE MENU : pour quitter le menu depuis une page quelconque, presser la touche 5 ou bien laisser le clavier inactif pendant 60 secondes
4.5.2. Choix de la langue de l'afficheur
L'afficheur LCD peut communiquer avec l'utilisateur en utilisant les langues suivantes : italien, anglais, allemand, français et espagnol.
La langue standard programmée est l'ITALIEN mais les personnes qui souhaitent changer la langue de communication de l'afficheur, peuvent commodément le faire en suivant les instructions reportées ci-dessous :
Appuyer sur le bouton MENU ⑤, sélectionner le MENU 3 moyennant les boutons ① ou ② et appuyer de nouveau sur le bouton MENU ⑥ pour accéder à la modalité de sélection de la langue. Modifier la langue souhaitée moyennant les boutons ① ou ②. Pour confirmer le choix et sortir du menu appuyer sur le bouton ⑤. L'afficheur indique maintenant son état de fonctionnement dans la langue souhaitée.
4.6. Opérations pour déterminer le DOSAGE
- Identification du type d'installation ou de raccordement au conduit de fumée
- Identification du type de combustible
Déterminer tout d'abord le type de raccordement au conduit de fumée, selon les considérations suivantes :

Attention!
L'installation du poêle prévoit exclusivement un raccordement au conduit de fumée. Par conséquent, les critères d'évaluation suivants sont à considérer comme valides et conformes à la règlementation en vigueur :
En cas de traversées horizontales dont la somme est supérieure à 1,5 m de long, et de présence d'au moins 1






coude à, le type d'installation à prendre en compte pour la détermination du "dosage" sera sans aucun doute HORIZONTAL.
Au cas où il serait nécessaire de poser 3 coudes ou plus à ou pour effectuer le raccordement au conduit de fumée, le type d'installation à prendre en considération pour définir le « dosage » sera certainement Horizontale (H). Si en revanche le raccord au conduit de fumée présente presque exclusivement des traversées verticales ou que le poêle est raccordé directement au conduit de fumée, l'installation à prendre en considération sera alors VERTICALE (V). Si la traversée pour la sortie des fumées est d'une longueur inférieure à 1 m, horizontale et sans coude, il sera également possible de désirer une installation de type VERTICALE (V).

Les poêles Polar et Nova destinés à l'Italie, à la France et à l'Espagne sont conformés à l'origine pour une installation de type HORIZONTALE qui assure le fonctionnement même dans les pires conditions. Pour les autres pays européens, ces modèles serontent une conformation VERTICALE.
Les raccordements qui ne rejoignent pas le conduit de fumée sont en général considérés comme HORIZONTAUX.
Pour les installations complexes et articulées, il est conseillé de s'adresser à des techniciens spécialisés ou aux centres d'assistance technique MCZ.
La Sté MCZ suggère d'autres typologies d'installations (avec sorties des fumées ne rejoignant pas le conduit de cheminée) et décline toute responsabilité en cas de mauvais fonctionnement ou d'anomalies.
Matériel nécessaire :
Balance (jusqu'à 4 kg de portée), graduation 10 g. Doseur MCZ pour granulés (PelletBox®), fourni avec le poêle. Une baguette en bois. Combustible : granulés de bois (ou pellet). - Avoir besoin du type d'installation du poêle (conduit de fumée horizontal ou vertical).
Remplir abondamment le doseur de granulés sans les tasser (en battant le fond du doseur sur la table ou en rasant les granulés avec la main) Fig. 18.
Poser une baguette en bois (ou bien une règle, une lame, un crayon de papier) sur les bords du carton et nivel er le matériel en éliminant la partie en excès Fig. 19 et 20.
Pesez le tout (carton + granulés) et notez le poids.
Prendre le doseur, le vider et l'orienter de façon à voir le graphique servant à déterminer le dosage Fig. 21.
4.6.1. Procédure rapide pour définir le dosage
Cherchez dans la colonne de gauche intitulée "Pesée" la ligne correspondant au poids que vous avez noté précédemment.


Sans quitter cette ligne, dans les deux colonnes de droite vous trouverez deux nombres qui permettront de déterminer le dosage optimal pour le type de granulés de bois utilisés et selon l'installation (conduit de fumée vertical ou horizontal).
Supposons que vous décidiez d'installer le poèle en choisant la position conduit de fumée vertical et que le poids des granulés de bois contenus par le doseur soit de 680 grammes.
Déterminez tout d'abord le modèle de notre poêle (par ex. POLAR/NOVA AIR) puis cherchez ces données sur le tableau correspondant imprimé sur le doseur PelletBox®. Vous remarquerez que dans la colonne "Pesée" ces 680 g figurent à la ligne intitulée "de 660 à 700".
À droite de cette même ligne, vous trouvez le sigle "A2" qui correspond à la colonne ayant pour symbole un poêle équipé d'un conduit vertical. Le dosage à programmer sur votre poêle sera donc "A2".

4.6.2. Mémoriser le dosage du poêge.
Presser MENU ⑤ et agir sur la touche ① jusqu'à ce que l'inscription "SET DOSAGE" apparaisse sur l'afficheur, puis valider avec MENU ⑥. L'indication "CHOIX DOSAGE" apparait alors sur l'afficheur et à l'aide des touches ① ou ② sélectionner le numéro se rapportant au dosage souhaité selon le schéma reporté sur le BoxPellet® (doseur);
Pour valider la sélection, presser la touche MENU ⑥. La demande de validation apparaît sur l'afficheur; répondre "OUT" ou "NON". Sélectionner l'une des deux options à l'aide des touches ① ou ② puis valider avec la touche MENU ⑥. La validation de la configuration du dosage est confirmée par l'apparition du message "LOADED PARAM" sur l'afficheur; ensuite l'afficheur retourne automatiquement à la page initiale.
Si la procédure est interrompue pendant plus de 60 secondes, l'afficheur retourne automatiquement à la page initiale. Il est possible d'interrompre l'opération à tout moment, même manuellement, en maintenant la touche ⑤ enfoncée pendant quelques secondes.




DEFAULT DOSAGE :
Maintenant vous êtes prêt pour procéder à l'allumage de votre poêle.
L'explication ci-dessous décrit brièvement la procédure d'allumage et d'extinction du poêle afin de mieux satisfaire vos attentes et votre curiosité.
Ensuite, lorsque vous serez confortablement installé dans votre fauteuil en jouissant de la chaleur et de la vue de votre poêle allumé, nous approfondirons les explications relatives à toutes les commandes et aux séquences de programmation qui vous permettront de bénéficier de toutes les possibilités que les poêles Polar et Nova mettent à leur disposition (voir paragraphe 4.9)
4.7.1. Allumage à partir du tableau de commande
Pour faire démarrer le poèle, appuyer quelques secondes sur la touche ⑤
4.7.2. Allumage à partir de la télécommande.
Pour faire démarrer le poêle, presser simultanément et pendant quelques secondes les touches ② et ③.
Le poêle démarre la phase de AVVIO, qui dure environ 15 minutes, puis entre en régime de fonctionnement normal. Au moment de la première mise en marche, le poêle se trouve en mode de fonctionnement MANUEL.
Ce n'est qu'après la mise en marche que nous pouvons intervenir sur le tableau de commande et/ou sélectionner la puissance et/ou la ventilation souhaitées.
La touche ③ règle et détermine les 5 puissances thermiques du poêle selon cette série :
$$ \overrightarrow {\mathbf {P 3} \rightarrow \mathbf {P 4} \rightarrow \mathbf {P 5} \rightarrow \mathbf {P 1} \rightarrow \mathbf {P 2} \rightarrow \mathbf {P 3}} $$
alors que les 5 vitesses de ventilation d'air chaud se règlent en progression au moyen de la touche ④ selon la série suivante :
$$ \mathbf {1} ^ {\mathrm {e r e}} \rightarrow 2 ^ {\mathrm {e}} \rightarrow 3 ^ {\mathrm {e}} \rightarrow 4 ^ {\mathrm {e}} \rightarrow 5 ^ {\mathrm {e}} \rightarrow \text {A U T O} \rightarrow \mathbf {1} ^ {\mathrm {e r e}} $$
En position "AUTO" la ventilation s'adapte automatiquement à la puissance de la flamme
Exemples : Puissance flamme P1 = Ventilation sur la 1ère vitesse
Puissance flamme P2 = Ventilation sur la 2^e vitesse
Puissance flamme P5 = Ventilation sur la 5ème vitesse

Au premier allumage (et chaque fois qu'il n'y a plus du tout de pellet dans le réservoir) il se peut que le combustible, qui doit refaire le trajet allant du réservoir au brûleur, ne réussisse pas à arriver à temps et dans la quantité programmée, pour permettre un allumage correct. Dans ce cas le pot de combustion sera vide ou ne contiendra qu'une faible quantité de granulés de bois.

RETIRER LES ÉVENTUELS GRANULES RESTÉS DANS LE POT DE COMBUSTION ET RÉPÉTER L'ALLUMAGE EN PRESSANT LA TOUCHE ⑤ PENDANT QUELQUES SECONDES.
Si, après plusieurs tentatives d'allumage sans résultat, le feu ne se développe pas alors que l'alimentation en granulés affine correctement, il pourrait y avoir un problème lié à certains composants du poêle ou bien à une installation incorrecte.

ENLEVER LES GRANULES DE BOIS RESTÉS DANS LE POT DE COMBUSTION ET APPELER UN TECHNICIEN AGRÉE MCZ.
4.7.3. Extinction à partir du tableau de commande
Pour éteindre le poêle, appuyer sur la touche pendant quelques secondes.
Clavier de la télécommande


Clavier de la télécommande
4.7.4. Extinction à partir de la télécommande
Pour éteindre le poêle, presser simultanément et pendant quelques secondes les touches ② et ③.
Le message "OFF" apparaîtra sur l'afficheur LCD (8) et à partir de ce moment le poèle démarrera automatiquement la phase d'extinction pendant laquelle le chargement du combustible s'interrompra et la flamme s'éteindra. Cependant, la ventilation continuera à fonctionner pendant au moins 20 ou 30 minutes de façon à céder toute la chaleur accumulée par le poèle.
4.8. ASPECT de la FLAMME
Pour un correct fonctionnement du poêle, il faut apprendre à “LIRE” la flamme. Les caractéristiques plus importantes auxquelles il faut prêter attention sont :
La forme La couleur Le caractère
4.8.1. La forme
Au cours d'une combustion normale, la flamme doit avoir une forme fuselée, avoir un caractère "vivace", être aussi large que le pot de combustion d'où elle se développe et sa pointe doit être verticale ou penchée vers le fond du foyer en Alutec70®. On doit avoir l'impression que la flamme est "étirée" vers le haut de sorte qu'elle ne "tombe" pas en avant sur la vitre de la porte du poêle (Fig. 1).
Par contre, une flamme qui grossit à la base en débordant du pot de combustion, de couleur pâle et dont la pointe n'est pas "guidée" et lèche la vitre du poêle (Fig.2) est un mauvais signe, symptôme d'une programmation incorrecte pour ce qui concerne le chargement du combustible et/ou le système d'aspiration des fumées, ou encore que le conduit de cheminée est obstrué par endroit ou qu'il y a des surpressions qui empêchent une bonne évacuation des fumées.
Dans ce cas, nous aurons TOUJOURS des problèmes de fonctionnement.
Faire appel à un technicien agréé ou au service d'assistance technique MCZ.
4.8.2. La couleur
La couleur est en quelque sorte liée à la forme de la flamme. Une couleur qui varie de l'orange au jaune avec les pointes de la flamme foncées est imputable à une flamme grossière (comme expliqué plus haut), car elle est carente en oxygène, et quoi qu'il en soit, symptôme d'une mauvaise combustion. Au fur et à mesure que la teinte passe au jaune clair-blanc, la forme de la flamme se modifie en devenant plus subtile tout en révélant un excès d'oxygène.
4.8.3. Le caractère
Qu'il s'agisse d'une flamme vivace ou pâle, le caractère qu'elle présente est de toute façon étroitement lié à la forme de la flamme.

Forme: Fuselée verticale compacte
Caractère: Vivace
Couleur: Jaune - Jaune clair - Blanc

Combustible irrégulieré
Forme: Grossière, débordante, non compacte
Caractère: Pâle - Faible
Couleur: Arancio - Jaune
Modalités de fonctionnement
Les poêles POLAR et NOVA offrent principalement trois modalités de fonctionnement.
4.9.1. Manuel et automatique
Le poêle peut fonctionner selon les deux modalités reportées ci-dessus, modalités qui correspondent à deux principes de fonctionnement différents.
Le mode MANUEL permet de régler uniquement la puissance de la flamme, de 1 à 5, en ignorant tout écart de température ambiant.e. Cette modalité est indiquée sur l'afficheur par le symbole
Le mode automatique permet en revanche de programmer la température désirée dans la pièce où se trouve le poêle et règle automatiquement sa puissance, afin d'obtenir la température. Avec cette modalité il est également possible d'utiliser un thermostat extérieur comme expliqué au paragraphe 4.9.3.2 de ce manuel.

À chaque allumage, le poêle se met sur le mode de fonctionnement où il se trouvait au moment où il a été éteint la dernière fois.
4.9.2. Mode manuel
Cette modalité de fonctionnement permet uniquement de varier la puissance thermique distribuée enCHOISSSANT LA PUSSANCE DE LA FLAMME.
La touche ③ permet de régler en séquence les 5 puissances thermiques du poêle ; par exemple, si le poêle se trouve sur la puissance 3, la séquence sera :
$$ \boxed {\mathbf {P} 3 \rightarrow \mathbf {P} 4 \rightarrow \mathbf {P} 5 \rightarrow \mathbf {P} 1 \rightarrow \mathbf {P} 2 \rightarrow \mathbf {P} 3.} $$
La ventilation est répartie elle aussi en 5 vitesses (plus la position AUTO) et il est possible de la varier au besoin à l'aide de la touche 4; par exemple, si la ventilation se trouve sur la puissance 3, la séquence sera :
SET VENTILATION → 4 → 5 → AUTO → 1 → 2 → 3
En position "AUTO" la ventilation s'adapte automatiquement à la puissance de la flamme
Exemples : Puissance flamme P1 = Ventilation sur la 1ère vitesse Puissance flamme P2 = Ventilation sur la 2ème vitesse
···
Puissance flamme P5 = Ventilation sur la 5ème vitesse

Attention!
Si des conditions qui modifient l'état normal de fonctionnement du poèle se vérifient lorsque celui-ci est allumé, le voyant lumineux (6) de l'alarme générale s'allumera accompagné d'un bip sonore (voir paragraphe "Blocage du poèle") et le poèle réagira en démarrant la procédure d'arrêt total.




En cas de BLACK-OUT au cours de l'allumage ou du fonctionnement, le poèle se met en mode refroidissement et repart automatiquement dès le retour du courant électrique.
4.9.2.1. Passage du mode manuel au mode automatique
Pour passer du mode de fonctionnement MANUEL au mode AUTOMATIQUE il suffira de presser rapidement deux fois de suite la touche ①. L'afficheur indiquera le changement de modalité, le témoin lumineux s'allumera et la température désirée devra être programmée.
Par défaut, dès que l'on passe du mode manuel au mode automatique, la SET TEMP AMBIENCE est C.
4.9.3. Mode automatique
Alors que le mode MANUEL permet simplement de définir la puissance thermique distribuée et de garder ce fonctionnement tel quel dans le temps, le mode AUTOMATIQUE permet de programmer une température déterminée pour une pièce donnée. Avec cette modalité de fonctionnement, le poêle varie automatiquement la puissance thermique distribuée de façon à maintenir la température programmée et à ce qu'elle reste constante dans la pièce.
Si la température ambience relevée par la sonde locale située sur le poèle est de C et que la température programmée sur le thermostat est de C, le poèle se porte séquentiellement à la 5^e puissance et lorsqu'il aura atteint la température requise ( C), il se placera en modalité ECO (l'indication "ECO" apparaîtra sur l'afficheur LCD), c'est-à-dire à la puissance minimale.
Ne pas oublier que la température programmée sur le thermostat est seulement indicative et que ce sera à l'utilisateur de sélectionner le paramètre qui convient le mieux à la pièce où se trouve le poêle (par exemple : il faudra programmer une température de C sur le thermostat du poêle pour avoir C partout). Ceci parce que le thermostat d'ambiance est placé près du corps du poêle et en reçoit toute la chaleur.
Pour sélectionner la température souhaitée, utiliser :
Passage du mode MANUEL à AUTOMATIQUE et arrêt du voyant (10)
Fonctionnement au minimum en modalité de fonctionnement automatique
4.9.3.1. Thermostat numérique intérieur (installé dans le poêle)
Dans le poêle se trouve un thermostat numérique, qui relèvera la température ambiante grâce à une sonde et la comparera avec la valeur programmée par l'utilisateur.
Pour augmenter la température programmée, par palier de 1 degré centigrade, presser la touche ②, de la même façon, pour diminuer, presser la touche ①.
4.9.3.2. Thermostat extérieur (en option)
Le THERMOSTAT EXTÉRIEUR n'est pas compris dans le poèle et son installation est à la charge de l'utilisateur.
Le poèle peut également être relié à un thermostat d'ambiance extérieur qui remplacera celui qui se trouve à l’intérieur du poèle. Il devra être relié dans une position centrale par rapport à la pièce où il est installé, afin de mieux relever la température ambiantes.
La procédure à suivre pour le raccordement du thermostat extérieur est la suivante : Raccorder les deux fils du câ le prévue à cet effet au dos du poêle.
- Raccorder les deux fils du câble venant du thermostat à la borne du connecteur MCZ (qui n'est pas fourni avec le poêle). Insérer le connecteur dans la prise sérielle prévue à cet effet au dos du poêle.
- Pour que le poêle reconnaisse le thermostat extérieur, presser la touche ① en la laissant enfoncée et en faisant défiler les valeurs de température en dessous de C jusqu'à ce que l'indication "THERM. EXTER." apparaisse sur l'afficheur, activant ainsi le thermostat extérieur et désactivant le thermostat intérieur.
Câblage à partir d'un thermostat extérieur Connecteur Série MCZ Branchement du connecteur série du thermostat extérieur dans la fiche prévue située au dos de la poêle
4.9.3.3. Passage du mode automatique au mode manuel
Pour passer de nouveau au mode MANUEL depuis le mode AUTOMATIQUE, agir comme suit :
presser la touche ② en la laissant enfoncée jusqu'à ce que la température dépasse C. A partir de ce moment, l'afficheur indiquera "MODE MANUALLE" et levoyant lumineux s'allumera.
4.9.4. Mode automatique avec eco-stop
Activer cette option sur le menu pour modifier le fonctionnement du poêle en mode automatique : lorsque la température programmée par l'utilisateur est atteinte (sur le thermostat interieur ou extérieur), au lieu de moduler la puissance, le poêle s'éteint et l'indication "ECO STOP" s'affiche ; le poêle se rallume lorsque la température ambiante est plus BASSE que la température programmée (pas avant que l'intervalle de temps nécessaire au refroidissement du poêle ne se soit écoulé). Cette option n'est conseillée que lorsque le poêle fonctionne dans des espaces réduits et bien isolés.
Si la température ambiente relevée par la sonde locale située sur le poèle est de C et que la température programmée sur le thermostat est de C, le poèle se porte (selon une rampe prédéfinie) à la 5^e puissance et une fois atteints les requis, il s'éteint automatiquement de façon temporaire en affichant le message "Eco Stop". Lorsque la température ambiente descend au-dessous de la valeur programmée sur le thermostat (par ex. C) le poèle se rallume en mode automatique et fonctionne jusqu'à atteindre de nouveau les C programmés. Si la température ambiente lue par la sonde d'ambiance reste au-dessus de la valeur programmée sur le thermostat (ex. 20 - 21° C) le poèle reste éteint et l'afficheur visualise le message "Eco Stop".
Ne pas oublier cependant que la température programmée sur le thermostat est seulement indicative et que ce sera à l'utilisateur de désirer le paramètre qui convient à la pièce où se trouve le poèle (par exemple : programmer C sur le thermostat pour avoir C effectifs). Avec cette modalité, l'allumage peut être effectué par l'utilisateur en reprogrammant la température du thermostat à une valeur supérieure à celle de la pièce ou en maintenant la touche ⑤ pressée pendant quelques secondes ; le poèle passera en modalité "OFF" après quoi, toujours par pression de la touche ⑤, il passera en modalité "Allumage".

Au moment de l'allumage, le poêle se replace en mode MANUEL sur la position "On 3". Il faut donc se remettre en mode AUTOMATIQUE si l'on souhaite que le fonctionnement du poêle soit commandé par le thermostat.
COMMENT SE COMPORTE LE POÊLE AVEC LE CHRONO ACTIVÉ :
| Le poêle est en … | Le chrono intervient pour … | Le poêle … |
| ECO STOP | éteindre le poêle | s'eteint définitivement en se portant sur "OFF" |
| ECO STOP | allumer le poêle | reste en modalité ECO-STOP |
4.9.4.1. Activation de la modalité eco-stop (aux soins de l'installateur)
Cette modalité permet d'optimiser la consommation du poège lorsqu'il fonctionne dans des pièces bien isolées :
- Presser la touche MENU ⑥ sur le tableau de commande, puis la touche ① jusqu'à arriver à la 5ème page-écran où figure le message "SET ECO-STOP";
- Presser de nouveau MENU ⑥ et Sélectionner ON sur l'afficheur avec la touche ① ou ②; Pour quitter le programme, presser la touche (ou la touche 5).
Pour désactiver la fonction Eco-stop, suivre la même procédure.

4.9.5. Mode programme
Cette modalité de fonctionnement signalée par le voyant lumineux (7) allumé sur l'afficheur LCD (8), permet de programmer l'allumage et l'extinction du poêle en mode automatique pendant un cycle d'une semaine.
Normalement, sur les poêles Polar et Nova le mode programme est désactivé. (la diode électroluminescente 7 est éteinte)
Les caractéristiques fondamentales du mode PROGRAMMÉ sont :
Le jour initial. L'horloge. Le programme (4 programmes journaliers sont disponibles).
4.9.5.1. Jour courant et horloge
Voir paragraphe 4.5.1. pour apprendre à configurer le jour et l'heure.

La configuration du jour et de l'heure est fondamentale pour que le chrono puisse fonctionner correctement.
4.9.5.2. Activation chronométrique
Nous expliquons ci-après comment ACTIVER LA FONCTION CHRONO
presser la touche MENU ⑥ et ensuite la touche ① pour accéder à la page-écran "SET CRONO", puis de nouveau MENU ⑥ pour entrer sur la première fonction du chrono du menu "ACTIVAT CRONO". Au moyen des touches ① ou ② mettre le chrono sur ON. Le signal sur l'icône ④ qui indique que le chrono est activé s'allumera instantanément. Pour continuer à
| Sur l'écran (8) du poèle | Correspondà | Le mode programmation est |
| DAY 1 | Lundi | Activé |
| DAY 2 | Mardi | Activé |
| DAY 3 | Mercredi | Activé |
| DAY 4 | Jeudi | Activé |
| DAY 5 | Vendredi | Activé |
| DAY 6 | Samedi | Activé |
| DAY 7 | Dimanche | Activé |
| OFF | étéint | Déactivé |
Pour faire défiler les différents programmes de marche/arrêt du chrono, il suffit de presser la touche ⑥.
Pour quitter le menu chrono à un moment quelconque, presser la touche ⑤.
Pour ACTIVER le mode PROGRAMME presser en série MENU 6 > touche 1 > MENU 6, puis les touches 1 ou 2 pour sélectionner ON afin d'activer le chrono. Pour quitter le programme, presser la touche 5.

Attention!
Si la fonction chrono est active, l'icône ① est allumée sur toutes les pages-écran relatives au fonctionnement
Pour DÉSACTIVER LA FONCTION CHRONO procédez de la même façon que pour son activation : presser en séquence la touche menu ⑤ > touche ① > menu ⑥, puis les touches ① ou ② pour sélectionner OFF sur le menu "ACTIVATION CRONO" afin de désactiver le chrono. Pour quitter le programme, presser la touche ⑤.
4.9.5.3. Programme
Les poêles Polar et Nova offrent la possibilité de configurer jusqu'à 4 programmes de fonctionnement répartis sur l'arc d'une journée ou d'une semaine entière.
Chaque programme est caractérisé par trois sections principales :
- L'heure d'allumage du poêle (qui doit être comprise entre 00h00 et 23h40)
- L'heure d'extinction du poèle (qui doit être postérieure à l'horaire d'allumage correspondant et dont le paramètre maximal est 23h50)
- Les jours pendant lesquels l'heure d'allumage et l'heure d'extinction doivent être ACTIVÉS ou DÉSACTIVÉS
Analysons le PROGRAMME 1 (résumé par le tableau suivant) qui est le premier des quatre programmes dans la séquence de programmation.
| PROGRAMMA 1 | |||
| MENU'SETCRONO | DEBUTPROGRAM.1 | ARRETPROGRAM.1 | JOURSPROGRAM.1 |
| Sigle sur l'afficheur | HoraireAllumage | HoraireExtinction | Jours actifs oudéssactivés - On/Off |
- Presser MENU ⑥ puis la touche ① jusqu'à ce que "SET CRONO" apparaisse sur l'afficheur.
- À partir de là, presser 2 fois MENU ⑥ et entrer l'heure de mise en marche du programme 1 : utiliser les touches ① et ② pour augmenter ou diminuer l'heure de mise en marche (par paliers de 10 minutes), puis valider avec MENU ③. (voir fig. ci-contre)
Activation du mode programme.


- Cette page-écran concerne la "fin" du programme : utiliser ici aussi les touches ① et ② pour augmenter ou diminuer l'heure de mise en marche, puis valider avec MENU ③
- Choisir maintenant le jour ou l'heure programmée devra démarrer : avec la touche ① METTE le jour indiqué sur l'afficheur sur 'ON' (allumé) ou sur 'OFF' (éteint) ; en faisant défiler les jours avec la touche ② sur le côté sera indiqué si le programme est sur 'ON' ou bien sur 'OFF' pour le jour en question (voir exemple ci-après) presser "menu" pour valider..
Programmer l'heure de mise en marche (par ex. 7h30) et l'heure d'arrêt (par ex. 9h30) sur le programme 1 et programmer le poêle de sorte que ce programme fonctionne le lundi, le mercredi et le vendredi :
- Presser MENU ⑥ puis la touche ① jusqu'à ce que l'indication "SET CRONO" apparaisse sur l'afficheur.
- À partir de là, presser 2 fois MENU ⑥ et entrez 7h30 pour l'allumage à l'aide des touches ① et ② (on peut laisser la touche enfoncée pour faire défiler rapidement l'horaire) puis à la fin presser MENU ⑥
- Cette autre page-écran concerne l'arrêt du poèle : utiliser ici aussi les touches ① et ② pour entraîner 9h30, puis valider avec MENU ⑥
- Choisir maintenant le jour où l'heure programmée devra démarrer : avec la touche ② sélectionner le jour, dans le cas liéven, s'arrête sur "LUN" (lundi) puis avec la touche ① se mettre sur 'ON' (allumé); presser de nouveau la touche ② et sélectionner le jour "MAR" (mardi) 'OFF' (éteint) au moyen de la touche ①; presser de nouveau la touche ② et pour le troisième jour "MER" (mercredi) sélectionner "ON" avec la même touche ①; continuer ainsi jusqu'àu jour "DOM" (dimanche). Presser MENU ⑥ pour valider la séquence de programmation. (voir fig. ci-contre).


En continuant avec MENU ⑥ nous pouvons configurer d'autres horaires et d'autres jours dans les programmes 2, 3 et 4 qui apparaissent en succession après le programme 1.
Dans l'heure de mise en marche de chaque programme, il est possible de sélectionner l'option "OFF" en faisant défiler l'heure au-delà de 23h30 ou avant 00h00. Dans ce cas, le programme courant est désactivé et en pressant MENU ⑥ on passe directement à la mise en marche du programme suivant. Le programme s'active de nouveau pour la navigation s'il est reconfiguré sur une heure de mise en marche valable.

Remarque importante :
Il faut compter 20 minutes à partir de l'allumage pour que le poêle produise de l'air suffisamment chaud et 10 minutes encore pour qu'il fonctionne à pleine puissance. Il faudra donc tenir compte de ces données pour programmer l'heure d'allumage du poêle. De la même façon, l'extinction du poêle requiert environ 30 minutes pendant lesquelles la chaleur accumulée continue à se libérer dans la pièce. Tenir compte de cet intervalle de temps permet de réaliser une économie de combustible non négligeable.
4.10. Mesures de sécurité
Le poêle est équipé des dispositifs de sécurité suivants :
Il contrôle la pression dans le conduit de fumée. Il sert à bloquer la vis sans fin au cas où la sortie de fumées serait bouchée et en cas de contre-pressions importantes (vent dominants).
SONDE Temperature fumées
Elle relève la température des fumées et fait partir ou arrêter le poèle lorsque la température des fumées descend au-dessous de la valeur programmée.
SONDE temperature du réservoir de combustible
Si la température dépasse la valeur de sécurité programmée, ce système interrompt immédiatement le fonctionnement du poèle ; dans ce cas il sera nécessaire de réarmer manuellement la sonde pour faire redémarrer le poèle. Faire attention durant l'opération de réarmement de la sonde parce que si le poèle s'arrête de nouveau, l'intervention du service technique deviendra nécessaire.
Sécurité électrique
Le poêle est protégé contre les brusques coupures d'électricité par un fusible général placé sur le panneau de contrôle situé à l'arrière du poêle. Les cartes électroniques (carte mère et carte échangeur) sont munies elles aussi de fusibles de protection.
Rupture ventilateur fumées
Si le ventilateur s'arrête, la carte électronique bloque immédiatement la fourniture de granulés et un message d'alarme apparait sur l'afficheur LCD.
Si le motoréducteur s'arrête, le poèle continue à fonctionner jusqu'à ce qu'il atteigne le niveau minimum de refroidissement.
PANNE d'électricité momentanée
Lors d'une coupure de courant, le poêle se met en mode refroidissement et se rallume ensuite automatiquement.
Allumage MANQUE
Si pendant la phase d'allumage aucune flamme n'apparaît, le poêle se met en position d'alarme.


Il est interdit de manipuler les dispositifs de sécurité.
Il ne sera possible d’allumer le poêle qu’après avoir éliminé la cause qui a déclenché le système de sécurité et après avoir rétabli le fonctionnement automatique de la sonde. Pour comprendre la nature de l’anomalie survenue, consulter le présent manuel (paragraphe 4.11.1) qui explique comment intervenir en fonction du message d’alarme affiché.

Attention!
Si le poêle N'EST PAS UTILISÉ de la façon prescrite dans le présent livret, le fabricant décline toute responsabilité en cas de dommages matériels et corporels éventuellement causés aux personnes, aux animaux ou aux choses. En outre, le constructeur décline toute responsabilité en cas de dommages causés aux personnes ou aux choses suite à la non-observance de toutes les règles reportées dans ce manuel, parmi lesquelles notamment :
- Adopter toutes les mesures et/ou les précautions nécessaires lors des travaux de maintenance, de nettoyage et de réparation.
- Ne pas manipuler les dispositifs de sécurité.
- Ne pas enlever les dispositifs de sécurité. Raccorder le poèle à un système d'évacuation des fumées efficace.
- Contrôler au préalable si la pièce où le poèle sera installé est aérée de façon adéquate.
4.10.1. Description des alarmes
Le poêle est équipé d'un système de contrôle informatisé ; en cas d'anomalie de fonctionnement, il informe l'utilisateur à travers l'afficheur LCD (8) sur l'origine et la gravité de la panne.
Le tableau suivant résume les principales alarmes signalées

| Message affché sur l'écran (8) | Type de problème | Solution |
| ALARME OBSTRUC. FUMEES | Obstruction du conduit de sortie des fumées ou contre-pression causée par le vent à l'extérieur. | Contrôler et nettoyer TOUT le conduit de fumée ou vérifier que le vent à l'extérieur n'empêche la sortie des fumées (installer une sortie de toit anti-refouleur) |
| ALARME VENTILAT FUMEES | Vitesse du ventilateur trop BASSE Le ventilateur d'aspiration de fumées est bloqué. | Vérifier le niveau de nettoyage et contrôler que la saleté ne ralentisse pas le ventilateur. Si après nettoyage le problème persiste, replacer le ventilateur des fumées |
| ALARME SONDE FUMEES | La sonde des fumées est en court-circuit | Remplacer la sonde fumées |
| ALLARME TEMPERAT GRANULES | La sécurité qui contrôle le réserve des pellets s'est déclenchée. Une surchauffe due à un mauvais fonctionnement a eu lieu | Contrôler les paramètres du dosage utilisé. L'échangeur ne fonctionne pas. Le poèle est utilisé trop longtemps au maximum de ses performances. |
| ALLARME NO ALLUMAGE | Cela a lieu lorsque la température des fumées atteint et reste trop longtemps au dessus des 180°. | Effectuer le nettoyage intériel de l'échangeur et faire fonctionner pendant moins de temps le poèle au maximum de ses performances. Contrôler aussi la qualité du pellet. |
| ALLARME TEMPERAT FUMEES | La température fumée a dépassé les limites programmesmes précédemment | Le poèle s'éteint automatiquement. Laisser refroidir le poèle pendant quelques minutes puis rallumer. |
| ALLARME NO FLAMME | Ce message apparait lorsque le poèle s'éteint et lorsque la température de la sonde des fumées est inférieure à celle du seuil programme. | Cela dérive d'une extinction de la flamme causée par un encrassement ou bien lorsque les pellets sont terminés dans le réservoir. |
4.10.2. Autres messages sur l'afficheur LCD
Le tableau suivant résume les messages qui peuvent être visualisés sur l'afficheur LCD du tableau de commande.
| MESSAGE SUR L'AFFICHEUR DU TABLEAU DE COMMANDE | SIGNIFICATION |
| OFF | Le poèle est étant |
| MANUALLE | Le poèle se trouve en mode manuel |
| ON | Le poèle est allumé |
| AVVIO | Séquence d'allumage |
| P-1 ... P-5 | Poèle fonctionnant en mode manuel à la puissance indiquée (1, 2, 3, 4 ou 5) |
| ECO-STOP | Poèle fonctionnant en mode automatique avec "arrêt à la température" |
| 20° C | Exemple de température ambiente |
| LUN ....DIM | Jours de la semaine |
| JOURS | jour |
| HEURES | heure |
| MINUTES | minutes |
| CLEF D ACES | clé d'accès |
| SET | configuration |
| NETTOYAG | Exécution en automatique du nettoyage du pot de combustion pendant l'intervalle de temps programmé |
| MCZ SPA | mcz spa |
4.10.3. Blocage du poêle
Les causes pouvant être à l'origine du blocage du poêle sont les suivantes :
Surchauffe de la structure - Haute pression des fumées en sortie (relevée par le pressostat) et par conséquent possible obstruction de la sortie de fumées ou présence de contre-pressions extérieures.
Le blocage est signalé par la diode électroluminescente (6) qui s'allume, accompagnée d'un bip sonore.
Dans ce cas, la phase d'extinction du poêle démarre automatiquement.
Quand cette procédure est en cours, toute opération visant à rétablir le système sera inutile.
L'afficheur LCD (8) indique l'origine du blocage.
Fig. 24 - Bouton de réarmement de la sonde à boule
Comment intervenir :
Lorsque le poèle est froid :
Si l'afficheur LCD visualise "Alarme Tpellet", dévisser le capuchon de la sonde thermostatique située à l'arrière du poêle et presser la touche rouge la réarmer. Remettre le capuchon de protection. (Fig. 24-25)
Si l'indication "Alarme press" apparait, il faudra contrôler si le conduit de fumée DANS SON ENSEMBLE, y compris la chambre de combustion, est propre et ne présente aucune obstruction. (Il est conseillé de faire effectuer cette opération à un technicien spécialisé MCZ)
Ce n'est qu'après avoir définitivement éliminé la cause du blocage que le poêle pourra être rallumé.
4.11. Extinction du poêle
Le poêle peut être éteint à tout moment et quelle que soit la position de fonctionnement sur laquelle il se trouve.
Fig. 25 - Comment réarmer le thermostat à boule une fois que la poêle est froide.

NE JAMAIS Eteindre le poéle en coupant l'électricite.
Attendez toujours que la phase d'extinction se termine car, dans le cas contraire, vous risqueriez d'endommager l'unité et de rencontrer des problèmes lors des allumages suivants.
Pour éteindre le poêle, presser pendant quelques secondes la touche ⑤ du tableau de commande ou simultanément les touches ③ et ④ de la télécommande.
L'indication "OFF" apparaitra sur l'afficheur LCD (8). À partir de ce moment, la phase d'extinction commence, et la vis sans fin entraînant les granulés s'arrête tandis que l'aspiration des fumées et l'échangeur d'air chaud continuent à fonctionner jusqu'à ce que la température du poêle se soit suffisamment abaislée.
Le véritable arrêt du poêle n'aura lieu qu'après 20-30 minutes et, quoi qu'il en soit, pas avant que la température des fumées ne soit descendue au-dessous de C.
Ceci afin que les fumées de combustion soient acheminées dans le conduit de fumée par l'aspirateur.
En outre, la chaleur absorbée par la structure du poèle sera totalement récupérée.
Clavier de la télécommande

Attention!
Toutes les opérations de nettoyage des différentes parties du poêle doivent être effectuées lorsque le poêle est complètement froid et que la prise électrique est débranchée.
Si vous utilisez des granulés de bois de qualité homologués, votre poêle demandera peu d'entretien fréquent. La nécessité d'entretien augmente selon les temps de fonctionnement et les modifications des prestations requises.
5.1.1. Avant chaque allumage
Nettoyer le pot de combustion avec l'outil prévu à cet effet en éliminant la cendre et les éventuelles incrustations qui pourraient obstruer les orifices prévus pour le passage de l'air. Fig. 26

Ne pas oublier que seul un pot de combustion propre et bien tenu peut garantir le fonctionnement optimum de votre poêle à granulés de bois.
Un simple contrôle visuel, effectué tous les jours, suffit à vous renseigner sur l'état du pot de combustion.
Pour nettoyer le pot de combustion de façon efficace, l'extraire complètement de son logement et nettoyer à fond tous les orifices et la grille placée sur le fond. Normalement, si vous utilisez du pellet de bonne qualité, un pinceau suffira pour replacer le pot de combustion dans les meilleures conditions de fonctionnement ; pour des incrustations tenaces, servez-vous de l'outil en acier fourni avec le poêle.
5.1.2. Controlle tous les 2/3 JOURS
Nettoyer et vider les tiroirs à cendres en prenant garde à la cendre chaude. Fig. 27
N'utiliser un aspirateur pour éliminer les cendres que si celles-ci sont complètement froides. Dans ce cas, utiliser un aspirateur en mesure d'éliminer des particules d'une certaine dimension, type "aspirateur bidon".
Votre expérience et la qualité des granulés employés détermineront la fréquence nécessaire aux nettoyages de votre poêle.
Quoi qu'il en soit, il est recommandé de nettoyer le foyer au moins tous les 2 ou 3 jours.
Une fois que le nettoyage est terminé, refermer les tiroirs à cendres et vérifier qu'ils soient bien fermés.
5.1.3. Nettoyage de la VITRE
Pour le nettoyage de la vitre en vitrocéramique, il est conseillé d'utiliser un pinceau sec ou, si elle est juste sale, de vaporiser une petite quantité de produit détergent spécifique que vous essuyez ensuite avec un chiffon doux. Fig. 28

Attention!
Ne pas vaporiser le produit détergent sur les parois laquées ni sur les joints de la porte (bourelet en fibre de verre)

Fig. 26 - Brasero nettoyé Fig. 26 - Brasero sale

Fig. 27 - Nettoyage du compartiment de dépôt des cendres Fig. 28 - Nettoyage du verre
5.1.4. Nettoyage des surfaces en INOX et satinées
Normalement, il n'est pas nécessaire de traiter ces surfaces et éviter de les nettoyer avec des matières abrasives. Pour les surfaces en acier inox et satinées, il est conseillé d'utiliser un chiffon papier ou un chiffon sec et propre imbibé d'un détergent à base de tensioactifs non ioniques (< 5%). Un détergent en bombe pour vitres et miroirs conviendra également.
5.1.5. Nettoyage des parties vernies
Éviter de nettoyer les parties vernies lorsque le produit est en marche ou chaud, avec des chiffons imbibés d'eau afin d'éviter le choc thermique de la peinture qui se détacherait par la suite. Ne pas utiliser de produits ou de matériel abrasifs ou agressifs.
Les nettoyer avec un chiffon en papier ou avec du coton humide.

Les peintures siliconiques utilisées pour peindre les produits MCZ ont des propriétés techniques de première qualité qui en permettent la résistance à de très hautes températures.
Il existe cependant une limite physique (380^ - 400^) au-delà de laquelle la peinture perd ses caractéristiques et commence à blanchir ou bien (au-delà de ) à se vitrifier et peut s'effeuiller de la surface en acier.
Si de tels effets se produisent, cela signifie qu'ont été atteintes des températures bien au-delà de celles avec lesquelles le produit devrait fonctionner et il est donc conseillé d'utiliser la quantité de combustible indiquée sur les tableaux techniques.
5.2.1. Nettoyage de l'échangeur de chaleur
Avec le poêle éteint, enlever le dessus supérieur en majolique pour accéder aux bouchons de nettoyage de l'échangeur de chaleur. Ouvrir les bouchons supérieur (Figure 5) et à l'aide d'une tige rigide ou d'unrosse pour bouteilles, gratter les parois du foyer de façon à faire tomber la cendre.
Toujours avec le poêle éteint, ouvrir la porte inférieure du compartiment prévu pour la cendre, extraire le tiroir à cendres derrière lequel est situé le grand panneau de nettoyage (Figure 6). Ouvrir aussi ce bouchon et avec l'aspirateur enlever toute la cendre et la suie accumulée dans l'échangeur de chaleur et dans le ventilateur d'aspiration des fumées.
Nettoyer le système de sortie des fumées, plus particulièrement autour des raccords en T et des tronçons horizontaux.
Pour toute information, s'adresser à un ramoneur.

ATTENTION : Pour votre sécurité, la fréquence du nettoyage du système d'évacuation des fumées devra être déterminée en fonction du mode d'utilisation du poêle.
Vérifier la tenue des joints en fibre de céramique de la porte du poêle. S'ils sont à remplacer, commandez de nouveaux joints auprès de votre revendeur.
Figure 5 - Bouchons supérieurs
Figure 6 - Bouchons inférieurs
En fin de saison, il est nécessaire de nettoyer le compartiment situé sous la grille de foyer et l'intérieur de l'échangeur de chaleur.
Ce nettoyage général doit être effectué en fin de saison de manière à faciliter l'élimination générale de tous les résidus de combustion, sans trop tarder car avec le temps et l'humidité ces résidus pourrait se compacter.
5.2.2. Mise hors service (fin de saison)
En fin de saison, il est conseillé de vider complètement le réservoir des granulés à l'aide d'un aspirateur muni d'un tube long.
Durant la période d'inactivité, mettre le poêle hors tension. Pour plus de sécurité, et notamment en présence d'enfants, il est recommandé d'enlever le cordon d'alimentation situé à l'arrière du poêle. Fig. 31
Si vous déplacez le poèle de son lieu d'installation (durant l'été), il faudra l'entreposer dans un endroit à l'abri des intempéries.
Si en appuyant sur l'interrupteur général situé au dos du poêle, l'afficheur LCD du tableau de commande ne s'éclaire pas, il faudra probablement remplacer le fusible.

Attention!
Débrancher le câble d'alimentation.
Vous trouverez un compartiment porte-fusibles situé à l'arrière du poêle sous la prise d'électricité. Ouvrez le couvercle du porte-fusibles à l'aide d'un tournevis et remplacez les fusibles si nécessaire (3,15 A T retardé). (Fig. 37)
Rebrancher la prise électrique et appuyer sur l'interrupteur général.
Si le problème persiste ou si le fusible a sauté une nouvelle fois, s'adresser au revendeur agréé MCZ.



Attention!
Le contrôle des composants électriques et mécaniques internes devra être effectué exclusivement par du personnel qualifié et spécialisé dans ce domaine. Informez-vous auprès des revendeurs autorisés MCZ pour connaître les techniciens les plus proches de chez vous.
Il est recommandé d'effectuer cette maintenance annuelle (en stipulant un contrat d'assistance technique programme par exemple) qui consiste en un contrôle visuel et un contrôle du fonctionnement des composants suivants :
Moteur réducteur - Ventilateur expulsion fumées - Sonde fumées - Ventilateur échangeur - Bougie allumage - Thermostat réarmement granulés - Sonde d'ambiance
Pressostat Carte mère - Carte silencieuse pour échangeur - Fusibles de protection tableau de commande - carte mère - carte silencieuse Câblage
Les interventions de contrôle et/ou de maintenance indispensables pour un fonctionnement correct de votre poèle sont résumées ci-dessous :
| Parties/ période | 1 jour | 2-3 jours | 30 jours | 60-90 jours | 1 an |
| Brûleur | ● | ||||
| Déflecteur | ● | ||||
| Tiroir à cendres | ● | ||||
| Vitre | ● | ||||
| Échangeur inf. | ● | ||||
| Échangeur complet | ● | ||||
| Conduit de fumées | ● | ||||
| Joint porte Tiroir à cendres | ● | ||||
| Parties internes | ● | ||||
| Conduit de fumées | ● | ||||
| Pile télécommande | ● |
6. PANNES / CAUSES / solutions

ATTENTION : Toutes les réparations doivent exclusivement être effectuées par un technicien spécialisé, lorsque le poèle est éteint et que la prise électrique est débranchée.
| PROBLÉMES | CAUSES POSSIBLES | SOLUTIONS |
| Les granulés ne sont pas introduits dans la chambre de combustion. | 1. Réservoir à granulés vide.2. Panne du moto réducteur de la vis sans fin3. Carte électronique défectueuse.4. Vis sans fin bloquée. | 1. Remplir le réservoir à granulés.2. Remplacer le moto réducteur3. Remplacer la carte électronique.4. Débloquer la vis sans fin et nettoyer le réservoir. |
| Le feu s'éteint ou le poèle s'arrête automatiquement. | 5. Réservoir à granulés vide.6. Les granulés n'alimentent pas la,chambre de combustion.7. Intervention de la sonde de sécurité de température des granulés.8. La porte n'est pas parfaitement fermée ou les joints sont usés.9. Granulés non appropriés.10. Faible arrivée de granulés.11. Chambre de combustion sale.12. Sortie de fumées obstruée.13. Pressostat en panne ou défectueux.14. Moteur extraction fumées endommagé. | 5. Remplir le réservoir à granulés.6. Voir solution précédente.7. Laisser le poèle refroidir complètement, rétablier le thermostat jusqu'à ce que le bloc s'éteigne et rallumer le poèle; si le problème persististe, s'adresser au service d'assistance technique.8. Fermer la porte ou faire remplaçencer les joints par des joints d'origine MCZ.9. Change der type de granulés en le choisisant dans une catégorie préconisée par le fabricant.10. Faire vérifier l'arrivée du combustible par le service d'assistance technique.11. Nettoyer la,chambre de combustion en suivant les instructions du livre.12. Ramoner le conduit de fumée.13. Remplacer le pressostat.14. Vérifier et, évientuellesment, remplacer le moteur. |
| Le poèle fonctionné quelques minutes puis s'éteint. | 15. La phase d'allume n'est pas terminée.16. Absence-temporaire de courant électrique.17. Conduit de fumée obstrué.18. Sonde de température défectueuse ou en panne.19. Bougie endommagée. | 15. Répéter l'allume.16. Voir instruction précédente.17. Ramoner le conduit de fumée.18. Vérifier et remplaçencer la sonde.19. Vérifier et remplacer la bougie |
| Les granulés s'accumulent dans le pot de combustion, la vitre de la porte se salit et la flamme est faible. | 20. Manque d'air de combustion.21. Granulés humides ou inadaptés.22. Moteur aspiration fumées en panne. | 20. Nettoyer le pot de combustion et contrôleer que tous les orifices sont libres. Effectuer un nettoyage général de la chambre de combustion et ramoner le conduit de fumée.Controler si l'entrée d'air n'est pas bouchée.Vérifier l'état des joints de la portevitrée.Changer le type de granulés.Vérifier et, évientuellesment, remplaçencer le moteur. |
| PROBLEMES | CAUSES POSSIBLES | SOLUTIONS |
| Le moteur d'expiration des fumées ne fonctionne pas. | 1. Le poèle ne recoit pas de courant électrique. 2. Le moteur est endommagé. 3. La carte électronique est défectueuse. 4. Le tableau de commande ne fonctionne pas. | 1. Vérifier la tension du secteur d'alimentation et le fusible de protection. 2. Vérifier le moteur et le condensateur et, évientuelles, les replacer. 3. Remplacer la carte électronique. 4. Remplacer le tableau de commande. |
| Le ventilateur de l'air de convection ne s'accêtement jamais. | 5. Sonde thermique de contrôle de la température défectueuse ou ne fonctionnant pas. 6. Le ventilateur est endommagé. | 5. Vérifier le fonctionnement de la sonde et, évientuelles, la replacer. 6. Vérifier le fonctionnement du ventilateur et, évientuelles, le replacer. |
| La télécommande ne fonctionne pas. | 7. Pile de la télécommande usée. 8. Télécommande endommagée. | 7. Remplacer la pile 8. Remplacer la télécommande. |
| En mode automatique, le poèle fonctionné toujours à la puissance maximale. | 9. Thermostat d'ambiance en position maximale 10. La sonde de détention température est endommagée. 11. Tableau de commande défectueux ou ne fonctionnant pas. | 9. Régler de nouveau la température du thermostat. 10. Vérifier la sonde et évientuelles, la replacer. 11. Vérifier le tableau de commande et, évientuelles, le replacer. |
| Le poèle ne démarre pas. | 12. Absence de courant électrique. 13. Sonde granulés bloquée. 14. Fusible endommagé. 15. Le pressostat ne fonctionné pas (il signale un blocage). 16. Évacuation ou conduit de fumée obstrué. | 12. Contrôler si la prise électrique est branchée et si l'interrupteur général est sur la position "I". 13. Débloquer la sonde en agissant sur le thermostat postérieur. Si cela se produit de nouveau, remplaner le thermostat. 14. Remplaner le fuse. 15. Remplaner le pressostat. 16. Nettoyer la sortie des fumées et/ou ramoner le conduit de fumée. |

Attention!
Les opérations soulignées en caractère gras doivent être effectuées exclusivement par des techniciens agrées MCZ. Le fabricant décline toute responsabilité et annule la garantie au cas où cette condition ne serait pas respectée.


7.3.1. Structure POLAR et NOVA

- Serrure porte tiroir à cendres
- Vis de fixation serrure porte-tiroir à cendres
- Porte tiroir à cendres
- Vis de fixation charnières porte tiroir à cendres
- Charnière porte tiroir à cendres
- Pivot charnière
- Fixateur pivot charnière
- Grille de foyer
- Déflecteur grille de foyer
- Grille intérieure en acier
- Panneau en calorite épaisseur 13 mm
- Panneau en calorite épaisseur 25mm
- Fond en fonte
- Fond en Alutec
- Carter registre air
- Vis de fixation fond en fonte
- Couvercle réservoir pellet
- Gille frontale sortie air chaud
7.3.2. Porte du foyer POLAR et NOVA

- Cadre porte en fonte
- Vis de fin de course poignée
- Vis de fixation poignée
- Bride excentrique
- Poignée
- Rondelle sphérique
- Joint à ruban
- Vitre en vitrocéramique
- Patte de fixation en vitrocéramique
- Vis de fixation pour patte
- Cordon en fibre de céramique
7.3.3. Composants électroniques et mécaniques communs à POLAR et NOVA


- Motoréducteur
- Vis de fixation métreducteur
- Couronne de fixation motoreducteur
- Caoutchouc anti-chocs
- Base de la vis sans fin
- Bride en graphite
- Joint de la base de la vis sans fin
- Vis sans fin
- Tuyau sortie fumées
- Ventilateur d'expulsion de fumées
- Volute
- Bougie d'allumage pellet
- Panneau de commandes
- Grille de protection réservoir pellet
- Carte silencieuse pour échangeur
- Pressostat
- Carte mère avec microprocesseur
- Prise sérielle
- Interrupteur avec compartiment fusibles
7.3.4. Groupe échangeur air chaud POLAR et NOVA modèle air


- Fond arrêté avec acheminement
- Ventilateur échangeur air chaud
- Grille de protection ventilateur
7.3.5. Groupe échangeur air chaud POLAR et NOVA modèle multiair

- Grille pour échappement de l'air
- Vis de fixation grille
- Ventilateurs échangeurs air chaud
- Conduit de protection tuyau sortie air chaud
- Tuyau de sortie air chaud
- Vis de fixation
- Fond arrêté en acier
- Bridepriseair
- Vis de fixation
7.3.6. Habillages en céramique POLAR air et multiair

- Pivot pour blocage porte
- Panneau frontal inférieur en majolique POLAR
- Écrou de fixation du pivot de la patte
- Vis de fixation
- Panneau frontal supérieur en majolique POLAR
- Grille de sortie air chaud
- Caoutchouc anti-chocs
- Pivot de fixation grille frontale
- Dessus en céramique POLAR
- Pivot patte de fixation des carreaux en céramique latéraux
- Patte de fixation des carreaux en céramique latéraux
- Carreaux en céramique latéraux POLAR
7.3.7. Habillages en céramique NOVA air et multiair

- Pivot pour blocage porte
- Panneau frontal inférieur en majolique POLAR
- Écrou de fixation du pivot de la patte
- Vis de fixation
- Panneau frontal supérieur en majolique POLAR
- Grille de sortie air chaud
- Caoutchouc anti-chocs
- Pivot de fixation grille frontale
- Dessus en céramique POLAR
- Pivot patte de fixation des carreaux en céramique latéraux
- Patte de fixation des carreaux en céramique latéraux
- Carreaux en céramique latéraux POLAR
MCZ SPA
Via Guglielmo Oberdan n° 86
Notice Facile