MODE D'EMPLOI GEA MCZ
1.3.1. Limites de garantie 7 1.3.2. Exclusions 8
2. Notions theoriques pour l'installation 9
2.1. LES PELLETS (ou GRANULES DE BOIS) 9 2.2. PRECAUTIONS POUR L'INSTALLATION 10 2.3. LE LIEU D'INSTALLATION 10 2.4. RACCORDEMENT A LA PRISE D'AIR FRAIS EXTERIEUR 11 2.5. RACCORDEMENT AU TUYAU DE SORTIE DE FUMÉES 12 2.6. RACCORDEMENT AU CONDUIT DE FUMEE 13 2.7. RACCORDEMENT À UN CONDUIT EXTERIEUR PAR TUYAU CALORIFUGÉ OU À DOUBLE PAROI. 13 2.8. RACCORDEMENT AU CONDUIT DE CHEMINEE 13 2.9. ANOMALIES DE FONCTIONNEMENT LIÉES AU MAUVAIS TIRAGE DU CONDUIT DE CHEMINÉE 14
3.1. SCHEMAS et CARACTERISTIQUES TECHNIQUES 15
3.1.1. SOLAR 15 3.1.2. GEA. 15 3.1.3. Caractéristiques techniques 16
3.2. PREPARATION ET DÉBALLAGE 17
3.3. MONTAGE DES CARREAUX EN CERAMIQUE 18 3.4. MONTAGE DU FILTRE A AIR 19 3.5. BRANCHEMENT ELECTRIQUE 19
4. Fonctionnement 20
4.1. RECOMMANDATIONS AVANT L'ALLUMAGE 20 4.2. CONTROLLE AVANT L'ALLUMAGE 21 4.3. CHARGEMENT DES PELLETS 21 4.4. TELECOMMANDE LCD 21
4.4.1. Afficheur de la télécommande 22 4.4.2. Caractéristiques générales de la télécommande LCD 23 4.4.3. Type de piles et remplacement 24
4.5. Tableau de secours 24
4.6. RÉGLAGE À EFFECTUER AVANT LE PREMIER ALLUMAGE 25
4.6.1. Réglage de l'heure du jour en cours 25
4.6.2. Configuration de l'unité de mesure de la température 26
4.7. Premier allumage 26
4.7.1. Allumage/Extinction au moyen de la télécommande 26
4.7.2. Remarque sur le premier allumage 26
4.7.3. Allumage/Extinction à partir du tableau de secours 27
4.8. Modalités de fonctionnement 27
4.8.1. Manuel et automatique 27 4.8.2. Mode manuel 28
4.8.2.1. Passage du mode manuel au mode automatique 28
4.8.3. Mode automatique 28 4.8.3.1. Passage du mode automatique au mode manuel 29 4.8.4. Mode automatique avec ECO-STOP 29 4.8.4.1. Activation, désactivation modalité ECO-STOP 30
4.9. LA VENTILATION D'AIR CHAUD 30
4.10. FONCTION SLEEP 31 4.11. LE CHRONO 31
4.11.1. Jour courant et horloge 31 4.11.2. Activation CHRONO et besoin d'un programme 32 4.11.3. Désactivation du CHRONO 34
4.12. PROGRAMMES HEBDOMADAIRES ET JOURNALIERS PRE-CONFIGURES 34
4.12.1. Programmes hebdomadaires 34 4.12.2. Programmes journalistiques 35
4.13. EXAMPLE PRATIQUE DE PROGRAMMATION HEBDOMADAIRE / JOURNALIERE 36
4.13.1. Configuration d'un programme hebdomadaire 36 4.13.2. Configuration d'un programme journalier 36
4.14. VERROUILAGE DU CLAVIER 38 4.15. REMPLACEMENT DE LA TÉLÉCOMMANDE 39 4.16. DISPOSITIFS DE SÉCURITÉ 39 4.17. SIGNALISATION DES ALARMES 40 4.18. Sortie de la condition d'alarme 41 4.18.1. Blocage mécanique du poêle 42
5. Entretien et nettoyage 43
5.1. NETTOYAGE QUOTIDIEN OU HEBDOMADAIRES 43
5.1.1. Avant chaque allumage 43
5.1.2. Contrôle tous les 2/3 jours 43
5.1.3. Nettoyage de la vitre 43
5.1.4. Nettoyage du filtre à air 44
5.2. Nettoyages périodiques 44
5.2.1. Nettoyage de l'échangeur de chaleur 44 5.2.2. Mise hors service (fin de saison) 45 5.2.3. Contrôle des composants internes 45
7. Schémas électriques et pièces détachées 48
7.1. SCHEMA ELECTRIQUE SOLAR - GEA 48 7.2. PIECES DETACHES STRUCTURE EXTERNE SOLAR 49 7.3. PIECES DÉTACHÉES STRUCTURE EXTERNE GEA 50 7.4. PIECES DETACHES COMPOSANTS INTERNES SOLAR - GEA 51
Cher Client,
Nous tenons vous remercier de la préférence que vous avez accordée aux produits MCZ et, en particulier, à un poêle de la ligne à pellets MCZ.
Pour un fonctionnement optimal de votre poèle et pour pouvoir profiter pleinement de la chaleur et du bien-être qu'offre le feu à votre intérieur, nous vous conseillons de lire attentivement ce livre d'instructions avant d'effectuer le premier allumage.
Nous vous félicitons encore de votre choix et nous vous rappelons que le poèle à granulés de bois NE DOIT JAMAIS être utilisé par des enfants, ceux-ci devant toujours se trouver à une distance de sécurité.
Mise à jour du livre
Dans le but d'améliorer constamment ce produit, le constructeur se réserve le droit d'apporter sans préavis toutes les modifications qu'il jugera utiles lors de la mise à jour de cette publication. Toute reproduction, même partielle, de ce manuel sans l'autorisation du Fabricant est rigoureusement interdite.
Conservation et consultation du livre.
- Prenez soin de ce manuel et conservez-le à portée de main dans un endroit rapidement et facilement accessible.
- Au cas où ce manuel serait perdu ou détruit, ou, quoi qu'il en soit, s'il se trouvait en très mauvais état, demandez une copie à votre revendeur ou directement au Fabricant en spécifiant bien les références du modèle qui vous intéresse.
- Les paragraphes essentiels ou requérant une attention particulière sont imprimés en caractère gras.
- Le texte en italique sert à attirer votre attention sur certains autres paragraphes de ce manuel ou éventuelles sur des précisions complémentaires.
SYMBOLES UTILISÉS DANS CE MANUEL
| ATTENTION:
Ce symbole d'advertissement signale qu'il faut dire attentionivement le passage auquel il se rapporte car le non respect des indications prescrites pourrait entraîner de sérieux dommages au poège et compromètre la sécurité l'utilisateur. |
| INFORMATIONS:
Ce symbole signale les informations importantes pour le bon fonctionnement du poège. Le non respect de ces indications promettriel l'utilisation du poège et son fonctionnement ne s'avérait pas satisfaisant. |
| ÉTAPES OPÉRATIONNELLES:
Indique une série de touches à presser pour accéder au menu ou pour effectuer des réglages. |
| MANUEL
Indique qu'il faut consulter avec attention ce manuel ou les instructions correspondantes. |
- L'installation, le raccordement électrique, le contrôle du fonctionnement et la maintenance devront être effectués exclusivement par des techniciens qualifiés et agrés.
- Installer le poèle suivant les normes en vigueur dans la région ou le pays où le poèle sera installé.
- Pour un usage correct du poèle et de ses systèmes électroniques, de même que pour prévenir tout accident, respectez scrupuleusement les indications figurant dans ce livre.
- L'utilisation, le réglage et la programmation du poèle doivent être effectués par des adultes. Toute erreur ou mauvaise programmation peut engendrer des situations dangereuses et/ou un mauvais fonctionnement.
- Avant toute opération, l'utilisateur ou la personne s'apprêtant à intervenir sur le poèle devra avoir lu et compris cette notice d'instructions dans son entier.
- Le poèle doit être destiné exclusivement à l'usage pour lequel il a été conçu. Toute autre utilisation doit être considérée incorrecte et donc dangereuse.
- Ne pas monter sur le poèle et ne pas l'utiliser comme plan d'appui.
- Ne pas mettre de linge à sécher sur le poèle. Les séchoirs à linge et autres accessoires similaires doivent être placés à bonne distance du poèle. - Risque d'incendie
- La responsabilité de tout usage impropre du produit incombe entièrement à l'utilisateur final et dégage la société MCZ de toute responsabilité civile et PENALE.
- Toute manipulation du poèle et tout remplacement non autorisé de pièces détachées non originales peut s'avérer dangereux pour la sécurité de l'opérateur et dégage la société MCZ de toute responsabilité civile et PENALE.
- La plupart des surfaces du poèle sont très chaudes (porte, poignée, vitre, tuyaux de sorties de fumées, etc.). Il faut éviter par conséquent de toucher ces parties sans être protégé de manière adéquate par des vêtements ou des accessoires prévus à cet effet tels que des gants thermiques ou des systèmes d'actionnement du type "main froide".
- Expliquer scrupuleusement ces dangers aux personnes âgées, aux personnes handicapées et plus particulièrement aux enfants, en veillant toujours à ce qu'ils ne s'approchent pas du poèle allumé.
- Il est interdit de faire fonctionner le poêle avec la porte ouverte ou la yourselves.
- Ne pas toucher le poêle avec les mains humides car il s'agit d'un appareil électrique. Toujours débrancher le câble d'alimentation avant d'intervenir sur l'unité.
- êle en agissant sur l'interrupteur général situé au dos de celui-ci ou en débranchant le câble électrique qui l'alimente.
- Le poèle doit être branché à une installation munie d'un disjoncteur et d'une prise de terre conformément aux normes 73/23 CEE et 93/98 CEE.
- L'installation doit être dimensionnée en fonction de la puissance électrique déclarée du poèle.
- Une installation incorporete ou un mauvais entretien (non conformes aux prescriptions de ce livre) peuvent causer des dommages aux personnes, aux animaux ou aux choses. Dans ce cas MCZ décline toute responsabilité civile ou pénale.
1.2. Recommandations pour le fonctionnement

- Éteindre le poêle en cas de panne ou de mauvais fonctionnement.
- Ne jamais verser les pellets à la main dans le pot de combustion.
- Les granulés de bois non brûlés accumulés dans le pot de combustion suite à de nombreux "allumages manqués" doivent être enlevés avant de procéder à un nouvel allumage.
- Ne pas laver l'intérieur du poêlé avec de l'eau.
- Ne pas nettoyer le poèle avec de l'eau. L'eau pourrait s'infiltrer à l'intérieur du poèle et détériorer les éléments d'isolation électrique, provoquant ainsi des chocs électriques.
- Ne pas exposer la peau à l'air chaud pendant un long moment. Ne pas surchauffer la pièce où vous séjournez ni celle où le poêle est installé. Cela pourrait altérer les conditions physiques ou entraîner des problèmes de santé.
- Ne pas exposer les plantes et les animaux directement au flux d'air chaud. Cela pourrait avoir des effets nocifs sur les plantes et les animaux.
- Ne pas mettre plusieurs types de granulés de bois dans le réservoir du combustible.
- Installer le poèle dans une pièce ajustée prévoyant des dispositifs de lutte contre l'incendie et équipée de tous les raccordements aux différents réseaux d'alimentation (air et électricité) et d'évacuation des fumées.
- Le poèle et son habillage en céramique doit être entreposé dans un lieu sec à l'abri des intempéries.
- Il est recommandé de ne pas poser le corps du poèle directement sur le sol ; si le sol est composé de matériaux inflammables, une isolation ajustée devra être prévue.
- En cas de panne du système d'allumage, ne pas tenter d'allumer le poèle avec des matériaux inflammables.

- Pour tout problème, s'adresser au revendeur ou au personnel qualifié et agréé MCZ. Pour les réparations, exiger des pièces détachées d'origine. Utiliser exclusivement le combustible préconisé par MCZ (pour l'ITALIE, seulement des granulés de bois de 6 mm de diamètre - pour les autres pays européens, des granulés de bois de 6-8 mm de diamètre) et seulement pour les modèles équipés du système d'alimentation automatique.
- Contrôler et faire ramoner périodiquement les conduits de sortie de fumées (raccordement au conduit de fumée).
- Les granulés de bois non brûlés accumulés dans le pot de combustion suite à de nombreux "allumages manqués" doivent être enlevés avant de procéder à un nouvel allumage.
- Le poêle à granulés de bois n'est pas un appareil de cuisson.
- Toujours veiller à ce que le couvercle du réservoir des pellets soit bien fermé.
- Conserver soigneusement ce livre d'instructions car il devra accompagner le poêle pendant tout son cycle de vie. Si vous devez vendre ou transporter votre poêle dans un autre endroit, assurez-vous que ce livre l'accompagne.
- En cas de perte, demandez un autre exemplaire de ce livre à votre revendeur/agréé ou à la société MCZ.
1.3. Conditions de garantie

La société MCZ garantit ce produit, à l'exclusion des éléments sujets à une usure normale comme indiqué ci-dessous, pendant une période de deux ans à compter de la date d'achat, à condition que le certificat de garantie soit validé par une pièce justificative portant le nom du revendeur et la date de vente, que ledit certificat de garantie dûment rempli soit expédié dans les 8 jours, et que le poêle ait été installé et testé par un technicien/agréé et suivant les instructions détaillées figurant dans le livre d'instructions quizzle en le produit.
On entend par garantie le remplacement ou la réparation gratuite des parties ou des pièces d'origine reconnues défectueuses pour vice de fabrication.
1.3.1. Limites de garantie
La garantie ne couvre pas les composants électriques et électroniques ni les ventilateurs pour lesquels la période de garantie est fixée à 1 an à compter de la date d'achat, comme indiqué ci-dessus. La garantie ne couvre pas les parties sujettes à une usure normale telles que joints, vitres et toutes les parties amovibles du poêle.
Les pièces remplacées seront couvertes pendant toute la période de garantie restante.
1.3.2. Exclusions
Les variations chromatiques sur les parties pointes et en céramique, de même que les craquelures de la céramique ne peuvent en aucun cas faire l'objet d'une réclamation, dès lors qu'il s'agit de caractéristiques naturelles inhérentes à la nature des matériaux et à l'utilisation du produit.
La garantie ne couvre pas les parties qui s'avèrent défectueuses suite à des négligences, à un mauvais entretien ou à une installation non conforme aux prescriptions de la société MCZ (voir les chapitres correspondants dans ce livre d'instructions).
La société MCZ décline toute responsabilité en cas de dommages matériels et corporels éventuels, causes directement ou indirectement, aux personnes, aux animaux ou aux choses suite au non-respect des prescriptions figurant dans ce livre d'instructions et, plus particulièrement, de celles qui concernent les directives relatives à l'installation, l'utilisation et la maintenance du poêle.
En cas de mauvais fonctionnement du poèle, adressez-vous à votre revendeur et/ou à l'importateur de votre région.
Les dommages causés par le transport et/ou par la manutention du poèle sont exclus de la garantie.
Pour ce qui concerne l'installation et l'utilisation du poèle, se reférer exclusivement au livre d'instructions fourni avec le poèle.
La garantie ne couvre pas les dommages occasionnés par des manipulations de l'appareil, des agents atmosphériques, des calamités naturelles, des décharges électriques, l'incendie, des défauts de l'installation électrique ou un entretien incorrect ou inexistant par rapport aux instructions du constructeur.

Demande d'intervention
La demande d'intervention devra être faite au revendeur qui fera suivre l'appel au service d'assistance technique MCZ
LA SOCIÉTÉ MCZ déCLARE QUE LE POÉLE ACHETÉ EST CONFORME AUX DIRECTIVES CEE 89/336 et 72/23 et SUCESSIFS AMENDEMENTS.

MCZ décline toute responsabilité en cas d'usage impropre ou de modifications du poêle et de ses accessoires, non préalablement autorisées.
Pour tout remplacement de pièces détachées, n'utiliser que des pièces détachées d'origine MCZ.
2.1. Les pellets (ou granules de BOIS)
Les pellets sont issus du compactage et du tréfilage des sciures de bois séché naturellement (sans vernis). Ce matériel doit sa densité à la lignine contenue dans le bois même, grâce à laquelle la production des granulés de bois ne requiert pas l'emploi de colles ou d'agents de liaison.
Le marché offre différents types de pellet représentant des caractéristiques qui varient en fonction des mélanges d'essences de bois utilisés. Le calibre des granulés de bois varie de 6 à 8 mm pour une longueur standard comprise entre 5 et 30 mm. Les pellets donnent qualité représentant une densité variant de 600 kg/m3 à plus de 750 kg/m3 avec une humidité sur poids brut du granulé variant de 5 à 8 %.
Non seulement le pellet est un combustible écologique, dans la mesure où il permet de recycler au maximum les résidus de bois pour fournir une combustion plus propre que celle obtenue avec des combustibles fossiles, mais il présente également plusieurs avantages techniques. Si la puissance calorifique d'un bon bois de chauffage est de 4,4 kW/kg (avec 15 % d'humidité, soit après 18 mois de séchage environ), celle des granulés de bois est de 5,3 kW/kg.
Pour garantir une bonne combustion, les granulés de bois doivent nécessairement être conservés à l'abri de l'humidité et de la saleté. Les pellets sont généralement distribués en sacs de 15 kg et sont par conséquent très faciles à stocker.
Des granulés de bois de bonne qualité assurent une excellente combustion tout en réduisant l'émission de gaz nocifs dans l'atmosphère.

Les pellets doivent être fabriqués exclusivement avec des essences de bois n'ayant subi aucun traitement chimique.
Les normes DIN 51731 et ONORM M 7135 homologuent des granulés de bois de bonne qualité ayant les caractéristiques suivantes :
Pouvoir calorifique : 5.3 KW/kg Densité:700kg/m3 Taux d'humidité : 8 % max. du poids ✓ Pourcentage de cendres : 1 % max. du poids Diametre: 6 - 6,5 mm √ Longueur : max. 30 mm Composition : 100 % bois non traité et sans aucun ajust de substances liantes (pourcentage d'écorce : 5 % max.). Emballage : sacs réalisés avec un matériel ecologique et biodégradable
Combustible pellet
Sac de combustible de 15 Kg

La société MCZ recommande vivement d'employer un combustible homologué avec ses poêles.
L'emploi de pellets de qualité médiocre ou non conforme à ce qui a été précédemment indiqué compromet le fonctionnement de votre poêle et par conséquent pourrait annuler la garantie et la responsabilité de la société MCZ pour ce produit. Les poêles à pellets MCZ fonctionnent exclusivement avec des granulés de bois de 6 mm de diamètre (pour l'ITALIE seulement) et de 6-8 mm de diamètre (dans les autres pays européens) d'une longueur variant de 5 à 30 mm maximum.

Important!
L'installation et le montage du poèle doivent être effectués par du personnel qualifié.
L'installation du poêle doit être effectuée dans un lieu adéquat permettant les normales opérations d'ouverture et d'entretien ordinaire.
La pièce doit :
- être adaptée aux conditions de fonctionnement environnementales
- être équipée d'un réseau d'alimentation électrique à 230 V 50 Hz (EN73-23)
- dispose d'un système approprié pour l'évacuation des fumées
- être dotée d'une aération extérieure
- être équipée d'une mise à la terre conforme aux normes UE
Le poèle doit être raccordé à un conduit de cheminée ou à un conduit vertical intérieur ou extérieur, conformément aux normes en vigueur.
Le poêle doit être installé de sorte que la prise électrique reste accessible.

Important!
Le poêle doit être raccordé à un conduit de cheminée ou un conduit vertical pouvant évacuer les fumées au point le plus haut de l'habitation.
Les fumées dérivent de la combustion du bois et poursuivent donc salir les murs si elles sortent trop près de ceux-ci.
En outre, ces fumées étant peu visibles mais très chaudes, leur contact provoque des brûlures.
Avant d'installer le poèle, prévoir une ouverture dans le mur pour le passage du tuyau de sortie de fumées et une autre ouverture pour la prise d'air frais extérieur.
2.3. Le LIEU d'installation
Pour un bon fonctionnement du poêle et une bonne distribution de la chaleur, l'unité doit être installée dans un endroit où peut arriver l'air nécessaire à la combustion des granulés de bois (disponibilité d'environ
40 m³/h) conformément à la norme pour l'installation ainsi qu'aux normes nationales en vigueur.
Le volume de la pièce ne doit pas être inférieur à 30m³
L'air doit arriver à travers des ouvertures permanentes pratiquées dans les murs (à proximité du poêle) qui donnent sur l'extérieur, avec une section minimale de 100 cm².
Ces amenées d'air doivent être réalisées de manière à ne subir aucune obstruction.
L'air peut également être prélevé dans des pièces adjacentes à celles qui doit être ventilée à condition que celles-ci soient dotées d'une prise d'air extérieur et qu'elles ne soient utilisées ni comme chambre à coucher ni comme salle de bains et qu'il n'existe aucun risque d'incendie, comme par exemple dans le cas de garage, remise à bois ou dépôt de matériel inflammables, et ceci dans le respect des prescriptions des normes en vigueur.
Exemple d'installation de poêle à pellets

L'installation du poèle dans les chambres à coucher, les salles de bains ou dans une pièce équipée d'un autre appareil de chauffage dépourvu d'accès d'air indépendant (cheminée, poêle, etc..) est interdite.
Il est interdit d'installer le poèle dans une pièce dont l'atmosphère est explosive.
Le sol de la pièce où sera installé le poêle doit être aménagé de façon ajustée pour pouvoir supporter la charge au sol de celui-ci.
Si les murs ne sont pas de nature inflammable, installer le poèle en laissant un espace d'au moins 10 cm entre le mur et le dos du poèle.
En cas de murs de nature inflammable, laisser un espace minimum de 20 cm entre le mur et le dos du poêle, de 50 cm sur le côté et de 150 cm devant.
En présence d'objets particulièrement délicats tels que meubles, rideaux, canapés, il faudra augmenter considérablement ces distances.

En cas de sol en bois, prévoir une plaque de sol conforme aux normes en vigueur.
Exemple d'installation de poêle à pellets
2.4. Raccordement à la prise d'air FRAIS extérieur
Il est indispensable qu'une quantité d'air frais au moins égale à celle requise par la combustion normale des granulés de bois ainsi que l'air nécessaire à la ventilation puisse arriver dans la pièce où le poêle est installé. Cette aération peut être réalisée aussi bien au moyen d'ouvertures permanentes donnant sur l'extérieur et pratiquées dans les murs de la pièce, qu'au moyen de conduits de ventilation individuels ou collectifs.
Dans ce but, réaliser une ouverture dans le mur extérieur à proximité du poêle avec une section libre minimale de 100cm² (ouverture de 12 cm de diamètre ou carrée de 10× 10~cm), protégée par une grille à l'intérieur et à l'extérieur.
La prise d'air doit également :
- communiquer directement avec la pièce où le poèle est installé
- être protégée par une grille métallique ou une protection ajustée à condition que celle-ci n'en réduise pas la section minimale
- être installée de manière à ne pas pouvoir s'obstruer.


Il n'est pas obligatoire de raccorder directement l'aération d'air au poêle (directement avec l'extérieur) mais la section sus-indiquée devra, quoi qu'il en soit, garantir une arrivée d'air d'environ 50 m3/h. Voir la norme UNI 10683 REV.
2.5. Raccordement au TUYAU de SORTIE de fumées
Pendant la réalisation de l'ouverture pour le passage du tuyau d'évacuation des fumées, il faudra nécessairement tenir compte de la présence éventuelle de matériaux inflammables. Si l'ouverture doit traverser une paroi en bois ou, quoi qu'il en soit, en matériel thermolabile, l'INSTALLATEUR DOIT en premier lieu utiliser le raccord mural prévu à cet effet (diam. 13 cm minimum) et isoler comme il se doit le tuyau de poèle qui le traverse en utilisant des matériaux isolants ajustats. (1,3 — 5 cm d'épaisseur avec conductibilité thermique minimale de 0,07 W/m ° K).
Ceci vaut également si le tuyau du poêle doit parcourir des tronçons verticaux ou horizontalement toujours à proximité (min. 20 cm) de la paroi thermolabile.
Comme solution alternative, il est conseillé d'utiliser un tuyau industriel calorifugé que vous pourrez utiliser également à l'extérieur pour éviter les condensats.
La chambre de combustion fonctionne en dépression. Le conduit de sortie de fumées sera en dépression s'il est raccordé à un conduit de cheminée efficace comme prescrit plus haut.

N'utiliser que des tuyaux et des raccords munis de joints ajustables garantissant une étanchéité absolue.

Toutes les traversées du conduit de fumée doivent être équipées d'une trappe de visite amovible permettant d'effectuer un nettoyage périodique à l'intérieur (raccord en T avec trappe de visite).
Installer le poèle en tenant compte de toutes les prescriptions et de tous les avertissements formulés jusqu'à.

Important!
Tout changement de direction du conduit d'évacuation des fumées doit être réalisé avec des raccords en "T" prévus à cet effet et équipés de regards. (Voir accessoires pour le poêle à pellets)
Il est formellement interdit d'appliquer une grille à l'extrémité du tuyau d'évacuation car celle-ci pourrait compromettre le bon fonctionnement de votre poèle.
POUR LE RACCORDEMENT AU CONDUIT DE CHEMINEE, NE PAS UTILISER PLUS DE 2-3 m DE CONDUIT HORIZONTAL NI PLUS DE 3 COUDES À 90°. IL EST NOTAMMENT CONSEILLÉ DE NE PAS DÉPASSER LES 6 METRES DE LONGUEUR AVEC LE TUYAU Ø 80 mm
Vue de coupe d'un poêle à pellets MCZ 1) Arrivée d'air comburant 2) Sortie de fumées
Exemple d'installation de poêle à pellets
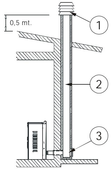
2.6. Raccordement au conduit de fumée
Le conduit de cheminée ne doit pas avoir des dimensions internes supérieures à 20 x 20 cm ou à 20 cm de diamètre ; en cas de dimensions supérieures ou de mauvaises conditions du conduit de cheminée (par ex. en cas de lézardes, d'isolation insuffisante, etc.), il est conseillé d'insérer à l'intérieur un tuyau en acier inox avec un diamètre approprié, sur toute la hauteur du conduit.
Vérifier, au moyen d'instruments appropriés, que le tirage est de 10 Pa minimum.
Prévoir une trappe de visite à la base du conduit de cheminée pour pouvoir effectuer les contrôles périodiques et le ramonage qui doit être fait chaque année.
Assurer l'étanchéité du raccordement au conduit de cheminée en utilisant les raccords et les tuyaux préconisés.
Contraignez impérativement qu'une sortie de toit anti-refoulement ait été installée sur le toit, conformément aux normes en vigueur.

Ce type de raccordement assure l'évacuation des fumées même en cas de coupure d'électricité momentanée.
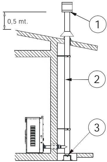
2.7. Raccordement à un conduit exterieur par TUYAU calorifugé ou à DOUBLE PAROI.
Le conduit externe doit avoir des dimensions internes minimales de 10 × 10 cm ou de 10 cm de diamètre et maximales de 20 × 20 cm et 20 cm de diamètre.
Vérifier, au moyen d'instruments appropriés, si le tirage correspond à 10 Pa.
N'utiliser que des tuyaux calorifugés (à double paroi) en acier inox lisse à l'intérieur (il est interdit d'utiliser des tuyaux inox flexibles) et fixés au mur.
Prévoir une trappe de visite à la base du conduit vertical extérieur pour les contrôles périodiques et le ramonage qui devra être exécuté une fois par an.
Assurer l'étanchéité du raccordement au conduit de cheminée en utilisant les raccords et les tuyaux préconisés.
Contraignez impérativement qu'une sortie de toit anti-refoulement ait été installée sur le toit, conformément aux normes en vigueur.

Ce type de raccordement assure l'évacuation des fumées même en cas de coupure d'électricité momentanée.
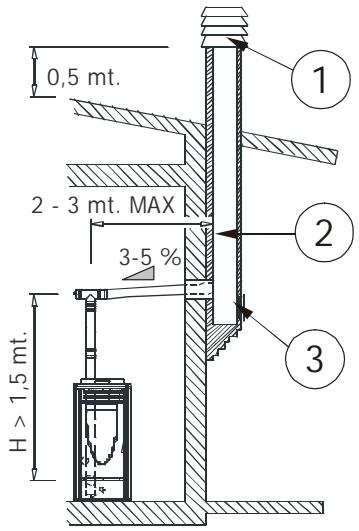
2.8. Raccordement au conduit de cheminée
Pour un bon fonctionnement, le raccord entre le poèle et le conduit de fumée ne doit pas être inférieur à 3 % d'inclinaison pour les tronçons horizontaux dont la longueur totale ne doit pas dépasser les 2/3 m et le tronçon vertical d'un raccord en "T" à un autre (changement de direction) ne doit pas être inférieur à 1,5 m.
Vérifier, au moyen d'instruments appropriés, si le tirage est de 10 Pa minimum.
Prévoir une trappe de visite à la base du conduit de cheminée pour les contrôles périodiques et le ramonage qui devra être effectué une fois par an.
Assurer l'étanchéité du raccordement au conduit de cheminée en utilisant les raccords et les tuyaux préconisés.
Contraignez impérativement qu'une sortie de toit anti-refoulement ait été installée sur le toit, conformément aux normes en vigueur.

Ce type de raccordement assure l'évacuation des fumées même en cas de coupure d'électricité momentanée.

1) Sortie de toit antivent 2) Conduit de cheminée 3) Inspection

1) Sortie de toit antivent 2) Conduit de cheminée 3) Inspection

1) Sortie de toit antivent 2) Conduit de cheminée 3) Inspection
2.9. Anomalies de fonctionnement liées au mauvais TIRAGE du conduit de cheminée
Parmi les différents facteurs météorologiques et géographiques qui intervennent sur le fonctionnement d'un conduit de cheminée (pluie, brumes, neige, altitude, périodes d'ensoleillement, orientation, etc.), le vent est certainement le plus déterminant de tous. En effet, à part la dépression thermique induite par la différence de température existant entre l'intérieur et l'extérieur de la cheminée, il existe un type de dépression (ou suppression) : la pression dynamique induite par le vent. Un vent ascendant a toujours pour effet d'augmenter la dépression et par conséquent, le tirage. Un vent horizontal augmente la dépression si la sortie de toit est bien installée. Un vent descendant a toujours pour effet de diminuer la dépression et quelquefois de l'inverser.
Par ex. Vent descendant de
En dehors de la direction et la force du vent, la position du conduit de fumée et de la sortie de toit par rapport au toit de la maison et au paysage environnant est également importante.
Le vent influence même indirectement le fonctionnement de la cheminée en créant des zones de surpression et de dépression non seulement à l'extérieur, mais aussi à l'intérieur des maisons. Dans les pièces directement exposées au vent (2) peut se créer une surpression intérieure qui peut favoriser le tirage des poêles et des cheminées, mais qui peut être contrastée par la surpression extérieure si la sortie de toit est placée du côté exposé au vent (1). Au contraire, lorsque les locaux sont situés dans la direction opposée à celle du vent (3), une dépression dynamique entrant en concurrence avec la dépression thermique naturelle développée par la cheminée peut se produire, mais elle peut être compensée (quelquefois) en plaçant le conduit de fumée du côté opposé à la direction du vent (4).

1-2 = Zones de suppression
3-4 = Zones de dépression

Important!
La conformité et la position du conduit de cheminée influencent particulièrement le fonctionnement du poêle à pellets.
Des conditions précaires ne pourront être résolues que par un réglage adéquat de votre poêle, effectué par du personnel agréé MCZ.








3.1.3. Caractéristiques techniques
| Caracteristique techniques | Solar - Gea |
| Puisance calorifique totale Max. | 8.,-8,9 kW / 7.482 kcal |
| Puisance calorifique totale Min. | 2.6 kW / 2.150 kcal |
| Rendement | 87,9 % (> 85%) |
| Température des fumées | 92° / 170°C |
| CO à 13 % O2min. - max. | (not required) 0.042 - 0.017 % |
| CO2 min - max | 4.5 % - 8 % |
| Masse fumées min - max | 4 - 7.7 g/s |
| Tirage minimum | 0,1 mbar - 10 Pa |
| Capacité du réservoir | 28 litres |
| Type de combustible pellets | Granulés de bois 6-8 mm de diamètre. Longueur : 5/30 mm |
| Consommation horaire de granulés de bois | Min ~ 0,6 kg/h * Max. ~ 2 kg/h * |
| Autonomie | Au min. 28 h* Au max. ~ 9 h * |
| Volume de chauffe (m3) | 187/40 - 214/35 - 250/30 ** |
| Entrée d'air pour la combustion | Diamètre extérieur 50 mm |
| Sortie de fumées | Diamètre extérieur 80 mm |
| Poids net | 120 Kg |
| Poids avec emballage | 140 Kg |
- Données pouvant varier selon le type des granulés de bois utilisés. ** Volume de chauffe selon le besoin de cal/m³ 40-35-30 (respectivement 40-35-30 Kcal/m³)
3.2. Preparation et déballage
Les poêles SOLAR et GEA sont livrés dans deux emballages séparés :
Le premier contient le poêle (Fig. 1). Le second contient l'habillage en céramique (Fig. 2).
Ouvrir l'emballage, couper les feuillards, dégager le corps du poèle de la palette et l'installer à l'emplacement choisi en veillant à ce que ce dernier soit conforme aux indications prescrites.
Le corps du poêle ou le monobloc doit toujours être manipulé en position verticale et exclusivement au moyen de chariots élévateurs. Veillez en particulier à ce que la porte et la vitre ne subissent pas de chocs mécaniques qui en compromettraient le bon état.
Dans tous les cas, ne manipuler les produits qu'avec extrême prudence. Si possible, déballer le poèle près de l'endroit où il sera installé.
Les matériaux qui composent l'emballage ne sont ni toxiques ni nocifs. Ils ne requièrent donc aucun procédé d'élimination particulier.
Par conséquent, le stockage, l'élimination et le recyclage éventuel devront être effectués par l'utilisateur final, conformément aux lois en vigueur en la matière.
Ne pas entreprendre le monobloc et les revêtements sans leurs emballages.
Si vous devez raccorder cette poèle à un tuyau de sortie de fumées qui traverse le mur d'adossement postérieur (pour rejoindre le conduit de cheminée), veiller à ne pas forcer l'embouchure en emboitant le tuyau.
Mettre le poêle à niveau, au moyen des 4 pieds d'appui régibles (J), afin que la sortie de fumées (S) et le tuyau d'évacuation (H) soient dans le même axe.
Figure 1 - Exemple d'emballage du poèle
Figure 2 - Exemple d'emballage pour habillages en céramique
Si la sortie de fumées du poèle est forcée ou mal utilisée lorsqu'on installe ou soulève le poèle, son fonctionnement sera irrémédiablement compromis.


- Tourner les pieds dans le sens des aiguilles d'une montre pour abaisser le poèle
- Tourner les pieds dans le sens contraire des aiguilles d'une montre pour lever le poêle.
3.3. Montage des carreaux en céramique

TOUJOURS COMMENCER LE MONTAGE DES CARREAUX EN PARTANT DU BAS.
LES 4 CÉRAMIQUES LATERALES DU POÉLE SOLAR SONT ÉGALES ENTRE ELLES.
Carreaux en céramique latéraux-inférieurs
Sur la partie inférieure du poêle, au niveau de l'embase, deux tiges (A) tournées vers le haut dépassent et doivent coincider avec les trous se trouvant sur la partie inférieure de la céramique latérale (B1). Avant d'emboiter la céramique sur ces tiges, il faut desserrer les vis (D) qui soutiennent l'étrier central pour la fixation de la céramique (C). En desserrant les vis, l'étrier peut être levé et abaissé grâce aux trous se trouvant sur la structure. Une fois que l'étrier est desserré, le tenir soulevé et insérer la céramique en faisant coincider les trous inférieurs de la céramique (B1) avec les tiges (A) se trouvant sur l'embase du poêle. Une fois que la céramique est posée, abaisser l'étrier (C) de façon à faire correspondre les tiges inférieures de l'étrier central (E) avec les trous supérieurs de la céramique (B2). Fixer les vis (D) de façon à ce que la céramique soit bien ancrée.
Carreaux en céramique latéraux-supérieurs
Le principe de fixation des carreaux de céramique latéraux-supérieurs est le même que celui des carreaux inférieurs : en effet, il est nécessaire de faire coïncider les trous inférieurs des carreaux (B1) avec les tiges supérieures de l'étrier central (F). Avant de le faire, desserrer la vis (H) qui fixe l'étrier (G). Une fois que la vis est desserrée, l'étrier peut être réglé grâce à l'orifice se trouvant sur la structure. Une fois que l'étrier supérieur (G) est desserré, procéder comme indiqué pour la pose des carreaux de céramique, en veillant à faire coïncider les trous inférieurs des carreaux (B1) avec les tiges (E) et les trous supérieurs (B2) avec les axes (J) de l'étrier (G). Une fois que la pose est terminée, bloquer l'étrier (G) avec la vis (H) de façon à ce que la céramique soit bien ancrée.

Montage du DESSUS en céramique (SOLAR et GEA)
Monter en dernier le dessus en céramique, en posant d'abord les protections en caoutchouc et les rondelles (K) fournies avec le poêle. Les protections en caoutchouc sont fournies à part et se trouvent dans l'emballage des accessoires (gant, crochet, livre d'instructions, etc...).
Poser ensuite le dessus sur les quatre protections en caoutchouc (K).
En exerçant des pressions croisées avec les doigts, vérifier si le dessus du poële se trouve dans une position stable ; après avoir déterminé, s'il y a lieu, la partie à mettre à niveau, ajouter/ennlever les rondelles placées sous les protections en caoutchouc.
REMARQUE : pour le poèle Solar, le montage du dessus s'effectuera en soulevant le couvercle du réservoir.



3.4. Montage du filtre à air
Avant de placer le poèle contre le mur pour faciliter au raccordement électrique et au conduit de cheminée, monter le filtre à air fourni.
Ce filtre cylindrique est composé d'une grille métallique et se trouve avec les accessoires fournis (avec le gant, le crochet, les instructions, etc.)
Le filtré doit être monté sur le tuyau d'amnéée d'air de 0 5 cm.
Pour le montage, dévisser légèrement la vis avec pommeau située sur le tuyau d'admission d'air, insérer le filtre en faisant correspondre la rainure du filtre avec la vis du pommeau puis bloquer le filtre en serrant le pommeau.
Montage/démontage du filtre à air

Attention!
Ne jamais faire fonctionner le poêle sans filtre à air. MCZ ne répond pas des éventuels dommages subis par les composants internes en cas de non-respect de cette prescription.
3.5. Branchement électrique
Relier le câble d'alimentation tout d'abord à l'arrière du poêle puis à la prise électrique murale.
L'interrupteur général situé au dos du poêle ne doit être utilisé que pour allumer le poêle. Autrement, il est conseillé de le laisser éteint.

Lorsque le poèle n'est pas utilisé, il est préférible de débrancher le câble d'alimentation.
Branchement électrique du poêle
4.1. Recommandations avant l'allumage

Éviter de toucher le poèle lors du tout premier allumage car durant cette phase la peinture durcit. Si l'on touche la peinture, la surface en acier pourrait réapparaître.
Si nécessaire, retoucher la peinture avec une bombe de vernis spécial. (Voir "Accessoires pour poêle à pellets")

Il est important d'assurer une ventilation efficace au moment du premier allumage car le poêle dégagera un peu de fumée et une odeur de peinture.
Ne pas rester à proximité du poèle et, comme nous l'avons dit, bien aérer la pièce. La fumée et l'odeur de peinture disparaîtront après une heure de fonctionnement du poèle environ ; nous rappelons quoi qu'il en soit qu'elles ne sont pas nocives pour la santé.
Lors des phases d'allumage et de refroidissement, le poèle pourrait se dilater et se contracter, par conséquent de légers craquements pourraient être perceptibles.
Ce phénomène est absolument normal puisque la structure est réalisée en acier laminé et ne pourra donc en aucun cas être considérée comme un défaut.
Il est essentiel de ne pas surchauffer le poêle dès le premier allumage et de veiller au contraire à le porter lentement à la température désirée.
Utiliser (si en mode "Manuel") des puissances de chauffage basses (par ex. 1ère - 2ème - 3ème). Avec les allumages suivants, vous pourrez utiliser toute la puissance calorifique à disposition (par ex. 4ème - 5ème) en n'oubliant pas de ne pas le laisser allumé à la puissance maximale pendant plus de 60-90 minutes.
De cette façon, vous éviterez d'endommager les carreaux en céramique, les soudures et la structure en acier.

Au moment du premier allumage, le poèle se trouve déjà en modalité "manuelle" : pendant la première période, il est conseillé d'utiliser uniquement des puissances de chauffage moyennes ou basses (de la première à la troisième).

Ne tentez pas dévaluer les performances de votre poèle dès le premier allumage!
Commencez par vous habituer progressivement aux commandes du tableau de bord ou à la télécommande du poèle.
Essayer de mémoriser visuellement les messages que le poèle transmet à l'afficheur de la télécommande.
4.2. Controlle avant l'allumage
Vérifier si toutes les conditions de sécurité vues précédemment sont réunies.
S'assurer d'avoir lu et parfaitement compris le contenu de ce livre d'instructions.
Oter du foyer et de la porte du poèle tous les éléments qui pourraient brûler (instructions et étiquettes adhésives variées).
Contrôler que le pot de combustion A est placé correctement et bien posé sur la base.

Après une longue période d'inactivité, retirer du réservoir (à l'aide d'un aspirateur avec un long tuyau) les résidus de pellets accumulés depuis un certain temps, car ils pourraient avoir absorbé de l'humidité, ce qui modifierait leurs caractéristiques d'origine, et les rendre inadaptés à la combustion.
4.3. Chargement des pellets
Le chargement du combustible s'effectue par le dessus du poêle en ouvrant le volet. Verser le pellet dans le réservoir ; sa capacité à vide est d'environ un sac de 15 kg.
Pour faciliter l'opération, procéder en deux étapes :
- Verser la moitié du sac à l'intérieur du réservoir et attendre que le combustible se dépose sur le fond. Terminer l'opération en versant ensuite l'autre moitié.

Ne jamais retirer la grille de protection située à l'intérieur du réservoir. Lors du chargement des granulés, éviter que le sac ne touche les surfaces chaudes.
Ne pas verser un type de combustible différent du pellet dans le réservoir et non conforme aux spécifications données précédemment.



Legende
- Position de la sonde de température ambiantе
- Afficheur LCD rétroéclairé
- Touche de Marche / Arrêt Combiner la pression de cette touche avec les autres pour accéder aux autres menus comme celui de la configuration de l'heure courante.
- Touche de sélection des modalités de fonctionnement (MANUEL - AUTOMATIQUE - AUTOMATIQUE AVEC ECO-STOP). Combiner la pression de cette touche avec les autres pour accéder aux autres menus comme celui de la configuration de l'heure courante.
- Touche de défilement vers le haut ou vers le bas pour le réglage des puissances de flamme et de la ventilation et pour le réglage de la fonction Sleep et du Chrono
- La touche MENU permet d'accéder aux menus de configuration de la ventilation, de la modalité SLEEP et du CHRONO
- Base d'appui contenant le compartiment des batteries

Legende
- Icones indiquant le mode de fonctionnement du poêle (MANUEL - AUTOMATIQUE - AUTOMATIQUE AVEC ECO STOP)
- Icône transmission des données au poêle
- lune qui, si allumée, indique le verrouillage du clavier (prévu pour éviter la pression involontaire des touches)
- L'affichage permanent de cette icône indique qu'il faut remplacer les piles
- Icône qui indique la température relevée dans la pièce où se trouve la télécommande, grâce à la sonde interne montée sur la télécommande même
- Unité de mesure pouvant être sélectionnée pour la visualisation des degrés relevés/souhaités (Celsius - Fahrenheit)
- Indice qui apparaît avec la température ambiante relevée par la sonde interne de la télécommande
- Température programmée par l'utilisateur, et que la pièce doit atteindre en mode AUTOMATIQUE. En mode MANUEL, cette indication est éteinte.
- Horloge interne. Il peut jouer temporairement le rôle de compteur à rebours si la fonction SLEEP est active.
- Icônes qui indiquent la date (en anglais). Lorsqu'on programme le CHRONO personnalisé, les tirets en bas indiquent, si allumés, que certaines tranches horaires quotidiennes ont été activées pour ce jour-là.
- Icône qui indique la fonction CHRONO. Si l'icône est complètement éteinte, le CHRONO est désactiv
- Icène qui indique la fonction SLEEP. Si elle est complètement éteinte, la fonction SLEEP est désactivée, si seulement le bord de l'icène est allumé, la fonction SLEEP est activée et si en revanche l'icène est complètement allumée, elle indique que nous sommes en mode de programmation de la fonction SLEEP.
- Icône de la ventilation qui permet de régler la vitesse du ventilateur d'air chaud. Si l'indication AUTO est également allumée, elle indique que la ventilation est branchée sur la puissance.
- Icône qui permet de régler la flamme de 1 à 5 niveaux de puissance. Si la flamme est sur la puissance 5, l'abréviation MAX s'affiche.
- Icône qui, si activée, indique la possibilité de régler la chute du pellet (fonction réservée au technicien spécialisé)
- Icône qui, si activée, indique la possibilité de régler l'heure affichée sur l'icône n° 9
- Tirets indiquant la puissance de ventilation : 1 tiret = 1ère vitesse, 2 tirets = 2ème vitesse, 5 tirets = 5ème vitesse
- Tirets indiquant la puissance de la flamme : 1 tiret = 1ère vitesse, 2 tirets = 2ème vitesse,... 5 tirets = 5ème vitesse Ces tirets n'apparaissent que si le poêle est en mode MANUEL
- Cette icône est nécessaire pour sélectionner le programme hebdomadaire pendant la programmation du CHRONO. Elle sert également à sélectionner les programmes journaliers dans le programme chrono personnalisé.
- En configuration CHRONO, si cette icone s'allume en même temps que l'icone n°19, elle indique qu'on est en train deCHOISIR le programme hebdomadaire personnelise (qui prévoit la saisie de tranches horaires journaières - > 24h
Les icônes n° 11 - 12 - 13 et 14 représentent deux modes d'éclairage différents:
COMPLETEMENT ILLUMINEE (ICONE TOTALEMENT NOIRE) SEUL LE CONTOUR DE L'ICONE EST ILLUMINÉ
Quand les icônes sont complètement allumées, cela signifie que nous sommes en train d'opérer sur cette fonction.
Exemple: si le symbole du ventilateur est complètement allumé, cela signifie que nous sommes en train de modifier la vitesse du ventilateur d'air chaud avec la touche 5
Quand seuls les contours des icônes sont allumés, cela signifie que cette fonction est active et que nous ne pouvons pas la modifier qu'en entrant dans le menu y afférer. En entrant sur le menu correspondant, l'icône s'allume complètement (voir ci-dessus)
Exemple : si seul le contour de l'icône du ventilateur est allumé, nous ne réussirons pas à modifier la vitesse du ventilateur en pressant la touche 5, mais, quoi qu'il en soit, la fonction est active car le ventilateur est en train de fonctionner (si le poêle est allumé). Pour pouvoir modifier la vitesse du ventilateur, il faut nécessairement accéder au menu qui me permet d'effectuer ce réglage et allume complètement l'icône.
4.4.2. Caractéristiques générales de la télécommande LCD
Les poêles munis du dispositif de contrôle de la combustion ACTIVE SYSTEM sont commandés principalement par télécommande ou en cas d'urgence par le petit tableau postérieur.
La télécommande LCD permet de profiter pleinement du potentiel du poèle, d'en régler tous les paramètres de fonctionnement, de programmer le chrono, mais aussi et surtout de contrôler constamment la température ambiente de referencia pour les régimes de fonctionnement du poèle.
En effet, la sonde d'ambiance est montée directement sur la télécommande, de façon à permettre une mesure plus précise de la température de la pièce à chauffer, là où le souhaite l'utilisateur, et sans la pénible contrainte des cablages fixes des thermostats.
La télécommande est munie de rétro-éclairage qui s'active par simple pression d'une touche.
Position de la sonde de température ambiantе

Tenir la télécommande loin des sources de chaleur directe et à l'abri de l'eau.
Il est conseillé de tenir la télécommande hors de la portée des enfants.
La télécommande doit toujours se trouver à proximité du poêle (dans un rayon d’action de 5 m) de façon à permettre une bonne transmission des valeurs de température ambiantes. Si après 3 heures de fonctionnement le poêle ne reçoit aucun signal de la télécommande, il commence à émettre périodiquement des signaux sonores pour aviser l’utilisateur que la télécommande est trop loin (ou que les piles sont usées) : sur l’afficheur du tableau d’urgence s’affiche l’alarme A10. Avec cette alarme le poêle continue à fonctionner et pour éteindre l’alarme il suffira de rapprocher la télécommande afin de rétablir les conditions de fonctionnement normales.
4.4.3. Type de piles et remplacement
Les piles se trouvent dans la partie inférieure du dispositif, au niveau de la base d'appui.
Pour faire fonctionner le poêle, 3 piles du type MINI STYLO de 1,5 v sont nécessaires
Sur l'icône n° 4, la télécommande signale à l'utilisateur que les piles sont presque usées. Si l'icône indiquant que les piles sont usées apparait, cela signifie que les piles sont presque usées et que la télécommande ne va pas tarder à s'éteindre.
Indicateur de piles usées

Si la télécommande est éteinte parce que sans piles, le poèle ne pourra être commandé qu’avec le tableau de secours (voir paragraphe 4.5). En mode de secours, seules certaines fonctions restent actives : allumage, arrêt et réglage manuel de trois niveaux de puissance.

Les piles livrées avec le poèle ont une durée limite qui permet d'effectuer la première mise en marche du poèle et d'apprendre à s'en servir.
Il est conseillé de remplacer les piles après le premier allumage. Il est également conseillé de toujours prévoir des piles de rechange chez soi.

Pendant l'opération de remplacement des piles, veiller à respecter les polarités en suivant les symboles imprimés sur le compartiment des piles de la télécommande.
4.5. Tableau de secours
Dans la partie latérale-postérieure droite du poêle, se trouve le tableau de secours, conçu pour effectuer le diagnostic des éventuelles anomalies de fonctionnement et servant également à contrôler le poêle au cas où la télécommande ne fonctionnerait pas.

A. Afficheur à trois chiffres qui donne une série d'informations sur le poèle, ainsi que le code d'identification des éventuelles anomalies de fonctionnement. B. Voyant VERT qui signale :
- ÉTEINT = Poèle éteint
ALLUMÉ CLIGNOTANT = Poèle en phase d'allumage
ALLUMÉ FIXE = Poèle allumé
C. Voyant ROUGE qui signale :
- ÉTEINT = Poële allumé ALLUMÉ CLIGNOTANT LENTEMENT = Poële en train de s'éteindre ALLUMÉ CLIGNOTANT RAPIDEMENT = Poële en alarme (associé à un bip sonore pendant les 10 premières minutes) ALLUMÉ FIXE = Poële allumé
Sélecteur à trois positions pour la fonction
OFF = Poêle éteint manuellement faute de télécommande - REMOTE = Poêle pouvant être commandé exclusivement avec la télécommande - ON = Poêle éteint manuellement faute de télécommande
Sélecteur à trois positions pour la sélection de la puissance
MIN = Sélecteur pour faire fonctionner le poèle à la puissance MINIMALE faute de télécommande et avec le sélecteur 4 sur ON
MED = Sélecteur pour faire fonctionner le poèle à la puissance MINIMALE faute de télécommande et avec le sélecteur 4 sur ON
MAX = Sélecteur pour faire fonctionner le poèle à la puissance MINIMALE faute de télécommande et avec le sélecteur 4 sur ON
F. Touche pour les fonctions de diagnostic sur le fonctionnement du poèle
G. Touche permettre le poèle en communication avec une nouvelle télécommande (selon une procédure expliquée par la suite)

4.6. Réglage à effectuer avant le premier allumage
Après avoir relié le câble d'alimentation à la partie postérieure du poêle, porter l'interrupteur, situé derrière, en position (I).
La touche lumineuse s'allumera ainsi que le voyant C du tableau de secours qui s'allumera en rouge (de façon FIXE)
4.6.1. Réglage de l'heure du jour en cours.
Presser simultanément les touches 4 et 6 de la télécommande pendant 5 secondes lorsque le poèle est allumé, pour accéder au menu de réglage de l'heure et du jour en cours.
Une fois que le mot "CLOCK" est affiché, il est possible, au moyen de la touche 5, de sélectionner l'heure courante et de la confirmer avec la touche 6, de même pour les minutes, les confirmer avec la touche 6 et enfin le jour. Enfin, presser de nouveau la touche 6 pour confirmer le tout et pour quitter le menu.
Par convention, les jours de la semaine sont indiqués par des sigles dérivant de l'anglais, soit respectivement :
MO = Monday → Lundi
TU = Tuesday → Mardi
Si le clavier reste inactif pendant 7 secondes, la télécommande quitte automatiquement la modalité de réglage de l'heure et confirme la dernière donnée saisie.
4.6.2. Configuration de l'unité de mesure de la température
Il est possible deCHOISIR L'unité DE MESURE DE LA TEMPERATURE, en prenatal, comme système de mesure, le système international ou bien le système anglo-saxon.
Seulement lorsque le poèle est éteint, avec une pression de la touche 4 pendant au moins 5 secondes, sélectionner l'unité de mesure de la température ; le choix est entre degrés Celsius (°C) et degrés Fahrenheit (°F).

La configuration standard de la télécommande est : degrés Celsius (°C)
4.7.1. Allumage/extinction au moyen de la télécommande
L'allumage et l'extinction du poèle (et pour autant, de l'afficheur de la télécommande) s'effectuent en pressant la touche 3 de la télécommande pendant 2 secondes.
Après une phase de démarrage d'environ 15 minutes, le poêle entre en régime.
Après l'extinction du poèle par pression de la touche 3, commence la phase de refroidissement qui comprend l'interruption du chargement de combustible, le nettoyage du pot de combustion et la poursuite de la ventilation jusqu'à ce que le poèle soit suffisamment froid ; cette phase peut durer de 20 à 40 minutes selon le nombre d'heures pendant lesquelles le poèle est resté allumé et sa position.
4.7.2. Remarque sur le premier allumage

Le premier allumage pourrait ne pas réussir étant donné que la vis sans fin est vide et ne parvient pas toujours à charger la quantité de pellets nécessaire dans le pot de combustion à temps pour amorcer normalement la flamme.

ANNULER L'ETAT D'ALARME EN AGISSANT SUR LE PETIT TABLEAU DE SECOURS (voir paragraphe 4.16), RETIRER LES PELLETS RESTÉS DANS LE POT DE COMBUSTION ET RÉPÉTER L'ALLUMAGE.
Si après plusieurs tentatives d'allumage la flamme n'apparaît pas, même avec un afflux régulier de pellets, vérifier si la position du pot de combustion est correcte : il doit être posé en adhérant parfaitement sur l'espace d'emboitement et doit être dépourvu de dépôts de cendres. Si après ce contrôle rien n'apparaît anormal, cela signifie que le problème pourrait être lié aux composants du poêle ou être imputable à une mauvaise installation.

ENLEVER LES GRANULES DE BOIS RESTÉS DANS LE POT DE COMBUSTION ET APPELER UN TECHNICIEN AGRÉÉ MCZ.

4.7.3. Allumage/extinction à partir du tableau de secours
En cas de panne de la télécommande ou de piles usées, vous pouvez faire fonctionner le poêle en modalité provisoire depuis le tableau de secours.
Avec cette configuration, le poèle ne peut fonctionner qu'en modalité manuelle et vous pouvez choisir parmi 3 niveaux de puissance.
Allumage du poêle sans télécommande
Pour allumer le poêle, placer le sélecteur "D" sur la position ON. Au moment de l'allumage, le voyant ROUGE s'éteint tandis que le voyant VERT commence à clignoter jusqu'à ce que la phase d'allumage soit terminée; en régime, le voyant VERT reste constamment allumé.
- Selection de la puissance sans télécommande
Il est possible de choisir parmi trois puissances de chauffage : MIN-MED-MAX (sélecteur "E")
La puissance au MINIMUM correspond à la 1ère puissance;
La puissance MOYENNE correspond à la 3ème puissance;
La puissance au MAXIMUM correspond à la 5ème puissance;
Extinction du poêle sans télécommande
Pour éteindre le poèle, placer le sélecteur "D" sur la position OFF.

Une fois que le fonctionnement de la télécommande a été rétabli, n'oubliez pas de replacer le sélecteur "D" sur la position "REMOTE" autrement le poèle ignorera les ordres de la télécommande.
4.8. Modalités de fonctionnement
Les poêles SOLAR-GEA représentent deux modes de fonctionnement : MANUEL et AUTOMATIQUE.
4.8.1. Manuel et automatique
Le poêle peut fonctionner selon les deux modalités ci-dessus, qui correspondent à deux principes de fonctionnement différents.
Le mode MANUEL permet de régler uniquement la puissance de la flamme, de 1 à 5, en ignorant tout écart de température ambiant.e. Cette modalité est signalée par le sigle MAN sur l'afficheur de la télécommande (icône 1)
Le mode AUTOMATIQUE permet en revanche de programmer la température désirée dans la pièce où se trouve le poêle et règle automatiquement sa puissance, afin d'obtenir et de conserver la température. Cette modalité est signalée par le sigle AUTO sur l'afficheur de la télécommande (icône 1)
Cette modalité permet également d'utiliser une fonction avancée appelée ECO STOP qui sera illustrée par la suite (par. 4.8.4.)
Pour sélectionner la modalité, presser la touche 4

À chaque allumage, le poèle se met sur le mode de fonctionnement où il se trouvait au moment où il a été éteint la dernière fois.



4.8.2. Mode manuel
Ce mode de fonctionnement permet uniquement de varier la puissance thermique distribuée en sélectionnant la puissance de la flamme.
Avec la touche 4 de la télécommande, sélectionner le mode MANUEL qui est indiqué sur l'afficheur par le sigle MAN et par le symbole de la flamme. Cette modalité permet de régler les 5 puissances calorifiques du poêle au moyen de la touche 5.
Presser le haut de la touche 5 pour augmenter la puissance et le bas de la touche pour l'abaisser. Cette variation est indiquée par les tirets situés au-dessus du symbole de la flamme. Avec la 5ème puissance, s'affiche également le sigle MAX au-dessous du symbole de la flamme, pour indiquer que les performances maximales du poèle sont atteints.
Avec cette modalité de fonctionnement, le symbole de la flamme est complètement allumé.
4.8.2.1. Passage du mode manuel au mode automatique
Pour passer du mode de fonctionnement MANUEL au mode AUTOMATIQUE, il suffira de presser rapidement la touche 4 deux fois de suite. Le sigle MAN s'éteindra et le sigle AUTO s'allumera ; les indicateurs de puissance de flamme et l'icône de la flamme disparaissent tandis que les chiffres servant à programmer la température souhaitée s'allument (icône 8)
4.8.3. Mode automatique
Alors que le mode MANUEL permet simplement de désirer la puissance thermique distribuée et de développer ce fonctionnement tel quel, le mode AUTOMATICO permet de programmer une température déterminée pour une pièce donnée. Avec cette modalité de fonctionnement, le poêle varie automatiquement la puissance thermique distribuée de façon à obtenir la température programmée et pour qu'elle reste constante dans la pièce.
Presser la touche 4 de la télécommande pour sélectionner le mode AUTOMATIQUE qui est indiqué sur l'afficheur avec le sigle AUTO. Avec cette modalité, avec la touche 5, il est seulement possible de régler la température souhaitée dans la pièce.
Presser le haut de la touche 5, pour augmenter la température et le bas de la touche pour abaisser la température. La température souhaitée est indiquée par les chiffres de l'icône 8
La télécommande règle le fonctionnement du poèle en comparant constamment la température relevée dans la pièce (indiquée en haut à droite sur l'afficheur et plus précisément les chiffres les plus grands près du symbole de la maison) à la température programmée par l'utilisateur.
Lorsque la température souhaitée dans la pièce est atteinte, le poèle se porte graduellement sur la puissance minimale, alors que si la température de la pièce descend sous le seuil programmé, le poèle, toujours progressivement, se remet sur les puissances plus hautes pour chauffer.
La température de la pièce est relevée par la télécommande grâce à une sonde interne, par conséquent, le poèle tentera toujours d'atteindre la température en se basant sur les relevés de la sonde de la télécommande.
Grâce à cette caractéristique, la télécommande peut être considérée comme un véritable THERMOSTAT MOBILE EXTERNE, avec un rayon d'action d'environ 5 m (lorsque les piles sont neuves)





Comme la télécommande joue le rôle de thermostat externe, il est nécessaire que les conditions de communication entre la télécommande et le poèle soient réunies. Par conséquent, il est conseillé de laisser la télécommande dans la pièce chauffée par le poèle, à 8 m de ce dernier, mais pas trop après quand même, de façon à ce qu'elle ne soit pas influencée par la grande chaleur qui se dégage immédiatement à côté du poèle.

Il est conseillé de laisser la télécommande dans la pièce où se trouve le poèle de façon à ce que le poèle et la télécommande puissent communiquer correctement.
Nous précisons en outre que si on laisse la télécommande hors de portée du poèle, ce dernier ne reçoit plus d'informations sur la température ambiante et continue à fonctionner selon la modalité reçue dans la traction.
4.8.3.1. Passage du mode automatique au mode manuel
Pour retourner en mode MANUEL, depuis le mode AUTOMATIQUE, presser la touche 4 de façon à ce que le sigle MAN et les tirets relatifs au réglage de la puissance de la flamme s'affichent sur le display de la télécommande.
4.8.4. Mode automatique avec eco-stop
Cette modalité modifie le comportement du poèle en mode automatique : lorsque la température programmée par l'utilisateur est atteinte, le poèle module à la puissance 1 pendant un bref laps de temps puis s'éteint, si la température reste constante et supérieure à celle programmée. Le poèle ne se rallume automatiquement que lorsque la pièce requiert de nouveau de la chaleur (pas avant l'écoulement de l'intervalle de temps nécessaire au refroidissement du poèle). Cette option n'est conseillée que lorsque le poèle fonctionne dans des milieux hautement isolés ou où la dispersion de chaleur est minime avec le temps.
Exemple de fonctionnement en mode ECO STOP
Si la température ambience relevée par la sonde de la télécommande est de C et la température programmée est C, le poèle se porte (selon une rampe prédéterminée) sur la 5^ème puissance et une fois que la température de C est atteinte, il s'eteint automatiquement de façon-temporaire (STAND-BY). Lorsque la température ambience descend au-dessous de la valeur programmée sur la télécommande (par ex. C) et qu'un laps de temps d'arrêt suffisant s'est écoué, le poèle se rallume en mode automatique et fonctionne jusqu'à atteindre de nouveau les C programmes. Si la température ambience relevante par la sonde d'ambiance de la télécommande reste au-dessus de la valeur programmée sur le thermostat (par ex. 20 - 21° C) le poèle reste éteint et l'afficheur visualise le message Eco Stop.
Avec cette modalité, l'allumage peut être effectué par l'utilisateur en reprogrammant la température du thermostat à une valeur supérieure à celle de la pièce ou en éteignant le poêle, en maintenant la touche 3 enfoncée pendant quelques secondes après quoi, toujours en pressant cette touche, le poêle se rallumera.
Il n'est pas nécessaire de reprogrammer le mode "ECO-STOP" car il reste en mémoire après la dernière utilisation.

4.8.4.1. Activation, désactivation modalité eco-stop
Cette modalité permet d'optimiser la consommation du poêle lorsqu'il fonctionne dans des pièces bien isolées :
Cette option peut être sélectionnée aussi bien en modalité manuelle qu'en modalité automatique, en pressant et en maintenant la touche 4 enfoncée pendant 5 secondes.
Le sigle AUTO apparait sur l'afficheur de la télécommande et simultanément l'indication ECO STOP.
Pour désactiver la fonction ECO-STOP, suivre la même méthode.
4.9. La ventilation d'air CHAUD
Les poêles Solar et Geo sont équipés d'un ventilateur interne pour l'expulsion de l'air chaud de chauffage qui peut être réglé à tout moment sur 5 vitesses différentes, que le poêle se trouve en modalité manuelle ou automatique.
Pour accéder au menu de réglage de la ventilation, presser la touche MENU n° 6 une seule fois et l'icône relative à la ventilation s'allumera complètement. Normalement en effet seul le contour du symbole apparaît puisque pour accéder au réglage il est nécessaire d'accéder au menu correspondant.
Les vitesses pouvant être sélectionnées sont 5, plus une fonction automatique.
Pour sélectionner la vitesse, après avoir pressé la touche 6, presser la touche 5 en haut ou en bas pour augmenter ou abaisser la puissance de ventilation. La variation de la ventilation peut être observée en comptant le nombre de tirets situés au-dessus du symbole du ventilateur, lesquels augmenteront ou diminueront en conséquence.
En plus de la 5ème vitesse, il existe une autre possibilité de sélection appelée fonction AUTO. Cette fonction permet d'accrocher la vitesse de ventilation à la puissance de la flamme. Lorsque cette option est sélectionnée, le poèle désigne de façon autonome la vitesse du ventilateur, en se basant sur la puissance de la flamme.
Cette option peut être sélectionnée simplement en pressant de nouveau la flèche haut de la touche 5 une fois arrivé à la 5ème puissance de ventilation. Le sigle AUTO apparaît sur l'afficheur de la télécommande sous le symbole du ventilateur.
Exemple avec ventilation programme en AUTO :
Si la flamme est réglée sur la puissance 3, le ventilateur se programmera automatiquement sur la puissance 3 ou bien si la flamme est sur la puissance 5 le ventilateur se programmera automatiquement sur la puissance 5 et ainsi de suite.

Si le clavier reste inactif pendant 7 secondes, la télécommande quitte automatiquement la modalité de réglage de la ventilation et confirme la dernière donnée saisie.

Pour le choix de la vitesse du ventilateur, il est conseillé de ne pas sélectionner des vitesses trop basses (1 a ou 2 a ) lorsque le poêle est au maximum car cela pourrait entraîner une surchauffe de la structure




4.10. Fonction SLEEP
Cette fonction sert à accélérer la sélection d'une extinction programmée, sans devoir programmer le CHRONO interne du poèle.
Pour expliquer simplement la fonction SLEEP, disons qu'elle permet à l'utilisateur de programmer un compte à rebours d'un minimum de 15 minutes à un maximum de 8 heures, à la fin duquel le poêle s'éteindra.
Pour programmer la fonction, presser la touche 6 MENU deux fois de suite de façon à ce que l'icône correspondante s'allume complètement.
Là où est indiquée habituellement l'heure courante, apparaît 00:00 et il est possible de désirer la durée avec la touche 5. Presser la flèche haut pour augmenter le temps par tranche de 15 minutes ou bien la flèche bas pour diminuer le temps par tranche de 15 minutes. Pour confirmer, presser de nouveau la touche 6 ou attendre 7 secondes.
Retour en fonctionnement normal, l'afficheur montre le compte à rebours avant l'extinction, au lieu de l'heure courante.

Si le clavier reste inactif pendant 7 secondes, la télécommande quitte automatiquement la modalité de réglage de la fonction SLEEP et confirme la dernière donnée saisie.
4.11. Le CHRONO
Cette modalité de fonctionnement signalée par l'indicateur ④ sur l'afficheur de la télécommande, permet de programmer l'allumage et l'extinction du poêle en mode automatique.
Normalement, sur les poêles le mode PROGRAMME est désactivé.
Les caractéristiques fondamentales du mode PROGRAMMÉ sont :
L'horloge Le jour en cours Le choix du programme hebdomadaire / journalier
4.11.1. Jour courant et horloge
Voir le paragraphe 4.6.1. et 4.6.2. pour apprendre à configurer le jour et l'heure.
N'oubliez pas que les jours de la semaine sont indiqués sur la télécommande par des sigles anglais, à savoir :
MO = Monday → Lundi
TU = Tuesday → Mardi
La configuration du jour et de l'heure courants est fondamentale pour que le chrono puisse fonctionner correctement.


Configuration d'un programme hebdomadaire
Nous expliquons ci-après comment activer la fonction CHRONO en choisissant un programme hebdomadaire ou journalier :
Presser la touche 6 plusieurs fois jusqu'à ce que l'icône de l'horloge s'allume sur l'afficheur :
PROGRAM
ensuite, avec la touche 5 besoin parmi les10 programmes hebdomadaires pré-configures sur la télécommande.
Choisir en fonction des tableaux figurant au paragraphe 4.12., le programme qui convient le plus aux exigences de chauffage de votre intérieur puis memoriser le numéro du programme sur la télécommande. Sieldomes 10 programmes pré-configures ne répond aux exigences personnelles de chauffage, il est possible de construire un programme hebdomadaire personnalisé (P99) de votre choix (voir paragraphe suivant).

Si le clavier reste inactif pendant 7 secondes, la télécommande quitte automatiquement la modalité de réglage du CHRONO et confirme la dernière donnée saisie.
Tout de suite après avoir choisi le programme CHRONO et l'avoir confirmé avec la touche 6, quitter le menu de configuration et l'icône du CHRONO restera affichée sur le display de la télécommande sous ce format :

Donc si cette icône reste affichée sur le display, cela signifie qu'un programme chrono prévoyant des allumages ou des arrêts distribués sur l'espace d'une journée et de la semaine est activé.

Attention!
Si la fonction CHRONO est active, l'icone est allumée sur toutes les pages-écran relatives au fonctionnement
La fonction CHRONO peut être activée/désactivée quand le poèle est allumée ou éteinte.
Configuration d'un programme personnalisé
Si aucun des programmes pré-configurés ne répond aux exigences de chauffage de votre intérieur, il est possible de désirer et de combiner différents programmes journaliers préexistants dans la mémoire de la télécommande et de construire ainsi un programme hebdomadaire personnalisé (appelé P99).
Les programmes journaliers pouvant être sélectionnés sont 50 et vous pouvez désirer un programme différent pour chaque jour de la semaine.
Pour activer cette option, procéder comme décrit ci-dessus pour la configuration d'un programme hebdomadaire, sauf qu'au lieu de sélectionner l'un des programmes figurant dans le tableau des




programmes hebdomadaires (de P01 à P10) vous devez sélectionner le programme P99.
Une fois que le programme P99 a été sélectionné, presser la touche 4 pour accéder à la modalité de programmation journalière et le premier jour de la semaine (MO = Monday = Lundi) commencera à clignoter.
Avec la touche 5 faire défiler les programmes de 01 à 50 en choisissant celui qui vous intéresse, après avoir préalablement consulté le tableau figurant au paragraphe 4.12. Lorsqu'on effectue ce type de programmation, on remarque que même l'icône des 24 h s'allume pour signaler qu'on est en train d'effectuer une programmation journalière et non pas hebdomadaire.
Après avoir choisi le programme souhaité pour le jour activé (par ex. n° 32 pour le jour MO = Monday = Lundi), presser de nouveau la touche 4 pour continuer avec la programmation du jour TU = Tuesday = Mardi). Notons que dès que le programme pour le jour MO = Monday = Lundi est confirmé, un trait apparait sous le sigle MO pour signaler qu'un programme journalier est activé pour ce jour-là.
Dès que le programme pour un jour de la période a été confirmé et que nous sommes passés au jour successif, la télécommande repropose, pour un choix rapide, le dernier programme configuré (dans notre exemple le n° 32) mais avec la touche 5 il est possible de le changer avec un autre.
Procéder selon cette modalité de programmation jusqu'au jour SU = Sunday = Dimanche
Si pour un jour de la semaine, vous ne souhaitez configurer chaque programme, sélectionner le programme 00 et continuer la programmation. Noter que sous le jour en question, aucune trete ne s'allumera.
À la fin de la programmation, presser la touche 6 ou attendre 30 secondes et la télécommande quitte automatiquement le menu en confirmant les choix effectués.



Si un programme Chrono est actif mais que l'utilisateur décide d'allumer/éteindre le poêle avant, la commande donnée par l'utilisateur est considérée plus importante que celle du Chrono et par conséquent, est effectuée. Naturellement, la commande du Chrono est ignorée.
Exemple : si le Chrono prévoit un allumage du poêle à 10 h mais qu'à 9 h l'utilisateur a froid et veut l'allumer avant, s'il presse la touche 5 le poêle s'allumera. À 10 h, le chrono, qui prévoyait un allumage, sera ignoré parce que le poêle est déjà allumé.


Remarque importante :
L'allumage du poèle requiert 10/15 minutes de temps et 10/15 autres minutes avant que de l'air assez chaud n'en sorte.
Il faudra donc tenir compte de ces données pour programmer l'heure d'allumage du poèle. De la même façon, l'extinction du poèle requiert environ 30 minutes pendant lesquelles la chaleur accumulée continue à se libérer dans la pièce. Tenir compte de cet intervalle de temps permet de réaliser une économie de combustible non indifférente.
4.11.3. Désactivation du CHRONO.
Pour désactiver le CHRONO, accéder de nouveau au menu de programmation avec la touche 6 jusqu'à ce que l'icone ® apparaisse et à l'aide de la touche 5 sélectionner
Attendre ensuite 7 secondes pour la confirmation ou bien presser de nouveau la touche 6 pour confirmer.
Cette opération désactive le CHRONO.

4.12.1. Programmes hebdomadaires
Les programmes hebdomadaires choisis par MCZ et mémorisés sur la télécommande du poèle ont été conçus pour satisfaire la plupart des utilisateurs qui ne se trouvent pas chez eux pendant les heures de travail (ouvriers, commerçants, employés, tours d'équipe, etc...) ainsi que des personnes qui restent chez elles pendant une grande partie de la journée (femmes au foyer, personnes âgées, etc...).
De plus, nous avons pensé à certains qui utilisent le poèle dans leur résidence secondaire, habitée seulement pendant les fins de semaine (par ex. maison à la montagne) et qui souhaitent couvrir leur intérieur déjà chauffé à leur arrivée.
En revanche, pour ceux qui ont des exigences encore plus particulières et pour lesquels aucun des dix programmes hebdomadaires n'est satisfaisant, il est possible de personnaliser le programme hebdomadaire P99 en utilisant sept programmes différents pour chacun des jours de la semaine (voir chapitre 4.11.2).
| PROGRAMME | HORAIRES |
| N° | TYPE DE PROGRAMME | JOURS | 0.00 | 1.00 | 2.00 | 3.00 | 4.00 | 5.00 | 6.00 | 7.00 | 8.00 | 9.00 | 10.00 | 11.00 | 12.00 | 13.00 | 14.00 | 15.00 | 16.00 | 17.00 | 18.00 | 19.00 | 20.00 | 21.00 | 22.00 | 23.00 | 0.00 |
| P01 | FEMME AU FOYER | Lun-Ven | | | | | | | | | | | | | | | | | | | | | | | | | |
| Sam-Dim. | | | | | | | | | | | | | | | | | | | | | | | | | |
| P02 | OUVRIER EMPLOYÉ | Lun-Ven | | | | | | | | | | | | | | | | | | | | | | | | | |
| Sam-Dim. | | | | | | | | | | | | | | | | | | | | | | | | | |
| P03 | OUVRIER EMPLOYÉ | Lun-Ven | | | | | | | | | | | | | | | | | | | | | | | | | |
| Sam-Dim. | | | | | | | | | | | | | | | | | | | | | | | | | |
| P04 | OUVRIER EN ÉQUIPE | Lun-Ven | | | | | | | | | | | | | | | | | | | | | | | | | |
| Sam-Dim. | | | | | | | | | | | | | | | | | | | | | | | | | |
| P05 | COMMERCANT | Lun-Sam. | | | | | | | | | | | | | | | | | | | | | | | | | |
| Dim. | | | | | | | | | | | | | | | | | | | | | | | | | |
| P06 | OUVRIER EMPLOYÉ | Lun-Ven | | | | | | | | | | | | | | | | | | | | | | | | | |
| Sam-Dim. | | | | | | | | | | | | | | | | | | | | | | | | | |
| P07 | OUVRIER EMPLOYÉ | Lun-Ven | | | | | | | | | | | | | | | | | | | | | | | | | |
| Sam-Dim. | | | | | | | | | | | | | | | | | | | | | | | | | |
| P08 | OUVRIER EMPLOYÉ | Lun-Ven | | | | | | | | | | | | | | | | | | | | | | | | | |
| Sam-Dim. | | | | | | | | | | | | | | | | | | | | | | | | | |
| P09 | OUVRIER EMPLOYÉ | Lun-Ven | | | | | | | | | | | | | | | | | | | | | | | | | |
| Sam-Dim. | | | | | | | | | | | | | | | | | | | | | | | | | |
| P10 | WEEK-END | Ven. | | | | | | | | | | | | | | | | | | | | | | | | | |
| Sam-Dim. | | | | | | | | | | | | | | | | | | | | | | | | | |
4.12.2. Programmes journaliers
| PROGR. | HORAIRES |
| N° | 0.00 | 1.00 | 2.00 | 3.00 | 4.00 | 5.00 | 6.00 | 7.00 | 8.00 | 9.00 | 10.00 | 11.00 | 12.00 | 13.00 | 14.00 | 15.00 | 16.00 | 17.00 | 18.00 | 19.00 | 20.00 | 21.00 | 22.00 | 23.00 | 0.00 | |
| 00 | | | | | | | | | | | | | | | | | | | | | | | | | | |
| 01 | | | | | | | | | | | | | | | | | | | | | | | | | | |
| 02 | | | | | | | | | | | | | | | | | | | | | | | | | | |
| 03 | | | | | | | | | | | | | | | | | | | | | | | | | | |
| 04 | | | | | | | | | | | | | | | | | | | | | | | | | | |
| 05 | | | | | | | | | | | | | | | | | | | | | | | | | | |
| 06 | | | | | | | | | | | | | | | | | | | | | | | | | | |
| 07 | | | | | | | | | | | | | | | | | | | | | | | | | | |
| 08 | | | | | | | | | | | | | | | | | | | | | | | | | | |
| 09 | | | | | | | | | | | | | | | | | | | | | | | | | | |
| 10 | | | | | | | | | | | | | | | | | | | | | | | | | | |
| 11 | | | | | | | | | | | | | | | | | | | | | | | | | | |
| 12 | | | | | | | | | | | | | | | | | | | | | | | | | | |
| 13 | | | | | | | | | | | | | | | | | | | | | | | | | | |
| 14 | | | | | | | | | | | | | | | | | | | | | | | | | | |
| 15 | | | | | | | | | | | | | | | | | | | | | | | | | | |
| 16 | | | | | | | | | | | | | | | | | | | | | | | | | | |
| 17 | | | | | | | | | | | | | | | | | | | | | | | | | | |
| 18 | | | | | | | | | | | | | | | | | | | | | | | | | | |
| 19 | | | | | | | | | | | | | | | | | | | | | | | | | | |
| 20 | | | | | | | | | | | | | | | | | | | | | | | | | | |
| 21 | | | | | | | | | | | | | | | | | | | | | | | | | | |
| 22 | | | | | | | | | | | | | | | | | | | | | | | | | | |
| 23 | | | | | | | | | | | | | | | | | | | | | | | | | | |
| 24 | | | | | | | | | | | | | | | | | | | | | | | | | | |
| 25 | | | | | | | | | | | | | | | | | | | | | | | | | | |
| 26 | | | | | | | | | | | | | | | | | | | | | | | | | | |
| 27 | | | | | | | | | | | | | | | | | | | | | | | | | | |
| 28 | | | | | | | | | | | | | | | | | | | | | | | | | | |
| 29 | | | | | | | | | | | | | | | | | | | | | | | | | | |
| 30 | | | | | | | | | | | | | | | | | | | | | | | | | | |
| 31 | | | | | | | | | | | | | | | | | | | | | | | | | | |
| 32 | | | | | | | | | | | | | | | | | | | | | | | | | | |
| 33 | | | | | | | | | | | | | | | | | | | | | | | | | | |
| 34 | | | | | | | | | | | | | | | | | | | | | | | | | | |
| 35 | | | | | | | | | | | | | | | | | | | | | | | | | | |
| 36 | | | | | | | | | | | | | | | | | | | | | | | | | | |
| 37 | | | | | | | | | | | | | | | | | | | | | | | | | | |
| 38 | | | | | | | | | | | | | | | | | | | | | | | | | | |
| 39 | | | | | | | | | | | | | | | | | | | | | | | | | | |
| 40 | | | | | | | | | | | | | | | | | | | | | | | | | | |
| 41 | | | | | | | | | | | | | | | | | | | | | | | | | | |
| 42 | | | | | | | | | | | | | | | | | | | | | | | | | | |
| 43 | | | | | | | | | | | | | | | | | | | | | | | | | | |
| 44 | | | | | | | | | | | | | | | | | | | | | | | | | | |
| 45 | | | | | | | | | | | | | | | | | | | | | | | | | | |
| 46 | | | | | | | | | | | | | | | | | | | | | | | | | | |
| 47 | | | | | | | | | | | | | | | | | | | | | | | | | | |
| 48 | | | | | | | | | | | | | | | | | | | | | | | | | | |
| 49 | | | | | | | | | | | | | | | | | | | | | | | | | | |
| 50 | | | | | | | | | | | | | | | | | | | | | | | | | | |
4.13.1. Configuration d'un programme hebdomadaire
Prenons pour exemple un travailleur normal (ouvrier ou employé) qui commence à travailler à 8 h du matin et rentre chez lui à l'heure du déjeuner à 12h30, puis reprend le travail de 14 h jusqu'à 18 h.
Parmi les programmes en mémoire sur notre télécommande, celui qui convient le mieux aux heures où l'utilisateur est chez lui est le P07 (voir tableau au paragraphe 4.12.1) ; voyons maintenant comment le configurer :
PHASE 1

PHASE 2

Presser la touche 6 plusieurs fois jusqu'à ce que l'icône de l'horloge s'allume complètement :
Presser la touche 5 vers le haut pour sélectionner le programme P07 que nous avons choisi.
PHASE 3
Récapitulation
- Presser la touche 6 jusqu'à ce que l'icône de l'horloge apparaisse.
- Sélectionner le programme avec la touche 5
- Confirmer le programme avec la touche 6 ou bien attendre 30 secondes après lesquelles la télécommande confirme automatiquement la sélection effectuée et quitte le menu de programmation.
- L'icône vide du Chrono reste affichée, ce qui signifie que le programme est configuré et qu'à partir de ce moment le poêle s'allumera et s'éteindra de façon autonome.
Confirmer la sélection faite en pressant la touche 6 ou attendre 30 secondes. Le programme est confirmé, l'icone de l'horloge s'éteint et seuls ses contours restent affichés tandis que les voyants relatifs au programme choisi s'éteignent.
4.13.2. Configuration d'un programme journalier
Prenons pour exemple un utilisateur qui n'a pas d'horaires journaliers définis (profession libérale, etc...) mais qui sait plus ou moins qu'il sera chez lui pendant les jours et aux horaires suivants ::
LUNDI → chez lui jusqu'à 10 h et à partir de 17 h MARDI → chez lui jusqu'à 8 h et à partir de 14 h MERCREDI → reste chez lui toute la journée et ne souhaite configurer aucun programme JEUDI → reste chez lui toute la journée VENDREDI → chez lui jusqu'à 9 h, de 12 h à 15 h et à partir de 18 h SAMEDI → chez lui seulement à partir de 18 h DIMANCHE → chez lui seulement à partir de 14 h
Sur la base de ces heures, nous choisirons dans le tableau illustré au paragraphe 4.12.2 les programmes journaliers qui conviennent le plus à cet emploi du temps.
LUNDI
→Programme 20
→ Programme 42
→Programme 00
JEUDI
→ Programme 13
VENDREDI
→ Programme 33
SAMEDI
→ Programme 10
DIMANCHE
→ Programme 08
Début de la programmation : LUNDI
| PHASE 1 | PHASE 2 |
| 6 | AUTO 23°C
OFF 248
MO PROGM | 5 | AUTO 23°C
P99 248
MO PROGM |
| Presser la touche 6 plusieurs fois jusqu'à ce que l'icône de l'horloge s'allume complètement : | Presser la touche 5 vers le haut pour sélectionner le programme P99. |
| PHASE 3 | PHASE 4 |
| 4 | AUTO 23°C
247
MO WE TH FR SA SU
PROGM | 5 | AUTO 23°C
20 247
247
TUTU WE TH FR SA SU
PROGM |
| Presser la touche 4 pour confirmer l'entrée de la modalité de programmation journalière. L'icône relative aux 24 h s'allume et le sigle MO = Lundi commence à clignoter. | Presser la touche 5 vers le haut pour sélectionner le programme 20 (choisi pour le lundi). |
| PHASE 5 | PHASE 6 |
| 4 | AUTO 23°C
20 247
247
MO WE TH FR SA SU
PROGM | 5 | AUTO 23°C
20 247
247
TUTU WE TH FR SA SU
PROGM |
| Presser la touche 4 pour confirme le programme configuré pour la journée de MO = Lundi et commencer la programmation de la journée de TH = Mardi. Quand on pressé la touche, un tret s'allume sous le symbole MO = Lundi et le sigle TU = Mardi commence à clignoter. Le tret signale que pour ce jour-là un programme chrono a été configuré. | Après avoir pressé la touche 4 pour confirmer la programmation du jour MO = Lundi et être passé à la programmation du jour TU = Mardi, la télécommande repropose le programme configuré pour le lundi, au cas où l'utilisateur souhaitait configurer ce même programme pour le mardi. Si par contre le programme configuré pour le lundi ne convient pas pour le mardi, il suffit de presser la touche 5 pour le modifier. Dans notre cas en effet le programme du lundi ne convient pas au mardi et nous devons sélectionner le programme n° 42. Presser alors la touche 5 pour le changer. |
PHASE 7

PHASE 8

Après avoir choisi le programme 42 pour le jour TU = Mardi, confirmer la sélection faite avec la touche 4 pour passer à la programmation de WE = Mercredi. Comme précédemment, un tiret s'allumera sous le sigle TU = Mardi et le symbole WE = Mercredi commencera à clignoter.
Pour le jour WE = Mercredi, nous ne voulons configurer aucun programme et il suffit donc, comme pour les autres cas, de sélectionner avec la touche 5 le programme 00, puis de confirmer la sélection avec la touche 4.
PHASE 9

Commeeldomprogramme n'arete configuré pour le jour de WE=Mercredi (en effet, nous avions sélectionné 00) nous voyons que la programmation s'est déplacée au TH=Jeudi tandis que sous le sigle WE=Mercredi aucune lumière n'est allumée. Cela signifie que pour le jour en question seldomprogramme Chronojournalier n'arete prévu.
PHASE 10 FINALE
Pour terminer notre programmation pour les jours restants, jeudi, vendredi, samedi et dimanche, il suffit d'opérer comme indiqué pour la programmation des jours précédents, lundi, mardi et mercredi. La seule différence reste dans le numéro de programme choisi, toujours au moyen de la touche 5.
Quand la programmation de chacun des jours est terminée, c'est-à-dire arrivé au sigle SU = Dimanche, une ultérieure pression sur la touche 6 permettra de quitter la programmation. Ou bien il suffit d'attendre 30 secondes et la télécommande quitte automatiquement la programmation en confirmant toutes les configurations effectuées. Pour avoir un aperçu rapide de la programmation, contrôle si des tirets se trouvent sous les sigles de la semaine ou bien il est always possible de returner à la programmation avec la touche 6, de sélectionner à nouveau le programme P99 avec la touche 5 puis, toujours avec la touche 6, faire défiler tous les jours de la semaine pour vérifier si le programme a été configuré.
4.14. Verrouilage du clavier
La télécommande est dotée d'une fonction qui permet de verrouiller le clavier par sécurité, pour éviter que les touches ne soient pressées accidentellement ou pour le cas où la télécommande tomberait dans les mains d'un enfant.
Ce verrouillage s'active simplement en pressant pendant 5 secondes la touche 6.
Après ce laps de temps, le symbole du "cadenas" qui confirme le verrouillage du clavier apparaîtra en haut à gauche de l'afficheur.
Pour désactiver le verrouillage du clavier, répéter l'opération précédente ci-dessus.

4.15. Remplacement de la télécommande
Si l'on remplace la télécommande par une nouvelle, il faudra faire reconnaître la nouvelle télécommande au poêle. Cette opération s'effectue comme suit :
Vérifier si le sélecteur D du tableau de secours est sur la position REMOTE, presser la touche G et dans les 10 secondes qui suivent presser une touche quelconque sur la nouvelle télécommande.
4.16. Dispositifs de sécurité
Le poêle est équipé des dispositifs de sécurité suivants :
Il contrôle la dépression dans le conduit de fumée. Il sert à bloquer la vis sans fin de chargement des granulés de bois au cas où la sortie de fumées serait bouchée et en cas de contre-pressions importantes (vent).
SONDE Temperature fumées
Elle relève la température des fumées et fait partir ou arrêter le poële lorsque la température des fumées descend au-dessous de la valeur programmée.
SONDE temperature du réservoir du combustible
Si la température dépasse la valeur de sécurité programme, cette sonde interrompt immédiatement le fonctionnement du poèle et pour le faire redémarrer il sera nécessaire de réarmer manuellement la sonde mais seulement lorsque le poèle aura refroidi.
Sécurité électrique
Le poêle est protégé contre les brusques coupures d'électricité par un disjoncteur général placé sur le tableau de contrôle situé à l'arrière du poêle. Les fusibles de protection des cartes électroniques sont situés également au dos du poêle.
Rupture ventilateur fumées
Si le ventilateur s'arrête, la carte électronique bloque immédiatement l'approvisionnement en pellets et un message d'alarme s'affiche.
Si le motoréducteur s'arrête, le poèle continue à fonctionner jusqu'à ce qu'il atteigne le niveau minimum de refroidissement.
Absence momentanée de courant électrique
Si pendant le fonctionnement du poêle, une coupure de courant électrique se vérifie, au rétablissement du courant le poêle se met en refroidissement puis se rallume automatiquement.
Allumage MANQUE
Si pendant la phase d'allumage aucune flamme n'apparaît, le poêle se met en position d'alarme.


Il est interdit de manipuler les dispositifs de sécurité.
Il ne sera possible d’allumer le poêle qu’après avoir éliminé la cause qui a déclenché le système de sécurité et après avoir rétabli le fonctionnement automatique de la sonde. Pour comprendre la nature de l’anomalie survenue, consulter le présent manuel (paragraphe 4.17) qui explique comment intervenir en fonction du message d’alarme affiché.


Attention!
Si le poêle N'EST PAS UTILISÉ de la façon prescrite dans le présent livret d'instructions, le fabricant décline toute responsabilité en cas de dommages matériels et corporels. En outre, le constructeur décline toute responsabilité en cas de dommages causés aux personnes ou aux choses suite au non-respect de toutes les règles figurant dans ce manuel, et notamment :
- Adopter toutes les mesures et/ou les précautions nécessaires lors des travaux d'entretien, de maintenance, de nettoyage et de réparation.
- Ne pas manipuler les dispositifs de sécurité.
- Ne pas enlever les dispositifs de sécurité. Raccorder le poêle à un système de sortie de fumées efficace.
- Contrôler au préalable si la pièce où le poêle sera installé est aérée de façon adéquate.
4.17. SignaLisation Des AlarMes
En cas d'anomalie de fonctionnement, le poèle entre dans la phase d'extinction et une alarme informe l'utilisateur sur le type de panne relevée au moyen d'un code à 3 chiffres qui reste affiché sur le tableau de secours situé au dos du poèle.
L'alarme est signalée de façon permanente par le code à trois chiffres y afférant, par un voyant lumineux rouge qui clignote et apparaît sur le tableau de secours pendant les 10 premières minutes d'alarme, et par un signal sonore intermittent. Pour que le poèle soit de la condition d'alarme et pour rétablir l'état normal de fonctionnement, dire les indications figurant dans les deux paragraphes suivants.
Le tableau qui suit énumère les alarmes éventuellement signalées par le poêle, avec le code y afférant qui apparaît sur le tableau de secours.
| MESSAGE SUR L'AFFICHEUR | TYPE DE PROBLÈME | SOLUTION |
| A01 | Allumage du feu non réussi | Contrôler le niveau de granulés dans le réservoir
Vérifier si le pot de combustion est bien posé dans son logement et s'il ne présente pas d'incrustations de fumées;
Vérifier si la bougie d'allumage chauffe. |
| A02 | Extinction anormale du feu | Dérive d'une extinction causée par le manque de combustible (réservoir vide) ou par un excès de pellets dans le pot de combustion qui suffoque et éteint le feu. |
| A03 | La température du réservoir à pellet dépasse le seul de sécurité prévu.
Surchauffe de la structure | Le ventilateur d'air pourrait être endommagé ou arrêté et ne parvient pas à refroidir la structure. |
| A04 | La température des fumées en sortie a dépassé certaines des limites de sécurité programmesées. | Le poèle s'éteint en mode automatique. Laisser refroidir le poèle pendant quelques minutes puis le rallumer.
Contrôler la sortie de fumées et la position de la sonde de température.
Vérifier le type de pellet utilisé. |
| A05 | Le pressostat s'est déclenché à cause de problèmes d'obstruction du conduit de cheminée dus à des corps étrangers, à du suif/centre ou à des agents atmosphériques externes (vent, neige, etc..) | Contrôler et nettoyer le conduit de fumée sur TOUTE sa longueur.Protéger la sortie contre le vent externe. |
| A06 | L'extracteur de fumées ne parvient pas à garantir l'air primaire nécessaire pour une bonne combustion. | Problèmes de tirage ou obstruction du pot de combustion.Vérifier si le pot de combustion est bouché par des incrustations et le nettoyer le cas échéant.Controler et s'il y a lieu nettoyer le conduit de fumée. |
| A07 | Pendant le fonctionnement du poèle, se vérifie une entrée d'air non prévue dans la chambre de combustion | cause par l'ouverture prolongée de la porte du foyer ou par une infiltration d'air non indifférente (absence du tiroir à centre ou du clapet d'inspection de la ventilation fumées) |
| A08 | L'extracteur de fumées est bloqué, ne tourne pas. | Contrôler la propreté du logement ventilateur fumées au cas où de la saleté le bloquérait.Panne du ventilateur fumées. Remplacement |
| A09 | Panne du capteur de fumées qui ne relève pas correctement la température des fumées en sortie | Contacter un centre d'assistance agrée pour faire replacer le composant. |
| A10 | La bougie ne fonctionne pas | Contacter un centre d'assistance agrée pour faire replacer le composant. |
| A11 | Le motoréducteur de chargement du pellet dans le pot de combustion est en panne | Contacter un centre d'assistance agrée pour faire replacer le composant. |
| A12 | La télécommande se trouve hors du champ de réception du poèle depuis plus de 3 heures (ou bien ses piles sont usées).REMARQUE: seulement dans ce cas le poèle n'entre pas en extinction d'alarme mais continue à fonctionner selon la modalité que la télécommande lui avait transmise lors de la的最后一 commande. | Rapprocher la télécommande du champ de réception du poèle (ou changer les piles au cas où elles seraient usées).Dés que le poèle receva un nouveau signal de la télécommande, les signaux d'alarme disparaitront. Une façon simple pour forcer une transmission au poèle est de presser la touche 4 (qui change le mode de fonctionnement de manuel à automatique et vice versa) |
| A13 | Panne générique à la centrale électronique | Contracter un centre d'assistance agrée pour faire replacer le composant. |
| A14 | Panne ou capteur air combustion | Contracter un centre d'assistance agrée pour faire replacer le composant. |
4.18. Sortie de la condition d'alarme
Au cas où une alarme se déclencherait, pour rétablir le fonctionnement normal du poèle, suivre la procédure décrite ci-après :
- Placer le sélecteur D du tableau de secours situé au dos du poêle sur OFF pendant quelques secondes, jusqu'à ce que le code à 3 chiffres qui identifie le type d'alarme disparaisse. Avec l'opération suivante, le clignotement du voyant rouge et le signal sonore de l'alarme disparaissent également.
- Reporter le sélection D sur la position REMOTE, pour pouvoir commander de nouveau le fonctionnement du poèle avec la télécommande.
- Éteindre la télécommande et éventuellement la rallumer si vous pouvez faire partir le poêle.

Seulement en cas de panne A12 (absence de transmission entre la télécommande et le poêle), le poêle reste normalement allumé selon la dernière modalité utilisée et quatre automatiquement la modalité d'alarme à la première réception d'un signal de la télécommande.
4.18.1. Blocage mécanique du poêle
Les causes pouvant être à l'origine du blocage du poêle sont les suivantes :
- Surchauffe de la structure. Haute pression des fumées en sortie (relevée par le pressostat) et par conséquent possible obstruction de la sortie de fumées ou présence de contre-pressions extérieures.
Le blocage est signalé sur l'afficheur et est complété d'un bip sonore.
Dans ce cas, la phase d'extinction du poèle s'active automatiquement.
Lorsque cette procédure est en cours, toute opération visant à rétablir le système sera inutile.
L'afficheur indique l'origine du blocage.
Quand le poêle est froid : si le sigle "A03" apparait, il faut dévisser le capuchon de la sonde thermostatique située à l'arrière du poêle et presser la touche rouge pour la réarmer. Ensuite, remettre le capuchon de protection.
Si le sigle "A05" apparait, il faut contrôler si TOUT le conduit de fumée, y compris la chambre de combustion, est propre et n'est pas bouché. (il est conseillé de faire effectuer cette opération à un technicien/agréé MCZ)
Ce n'est qu'après avoir définitivement éliminé la cause du blocage que le poêle pourra être rallumé.
Touche de réarmement de la sonde à boule
Comment réarmer le thermostat à boule une fois que le poêle est froid.

Attention!
Toutes les opérations de nettoyage des différentes parties du poèle doivent être effectuées lorsque le poèle est complètement froid et que la prise électrique est débranchée.
Le poêle ne requiert que peu d'entretien lorsqu'il est utilisé avec des granulés de bois homologues et de qualité. La nécessité d'entretien augmente selon le temps de fonctionnement et les modifications des prestations requises.
Exemple de pot à combustion propre
5.1.1. Avant chaque allumage
Nettoyer le pot de combustion avec l'outil prévu à cet effet pour éliminer la cendre et les éventuelles incrustations qui pourraient obstruer les orifices prévus pour le passage de l'air.

Ne pas oublier que seul un pot de combustion propre et bien entretenu peut garantir le fonctionnement optimal de votre poêle à pellets.
Un simple contrôle visuel, effectué tous les jours, suffit à vous renseigner sur l'état du pot de combustion.
Pour nettoyer le pot de combustion de façon efficace, l'extraire complètement de son logement et nettoyer à fond tous les orifices et la grille placée sur le fond. Normalement, si vous utilisez du pellet de bonne qualité, un pinceau suffira pour replacer le pot de combustion dans les meilleures conditions de fonctionnement; pour des incrustations tenaces, servez-vous de l'outil en acier fourni avec le poèle.
5.1.2. Contrôle tous les 2/3 jours
Nettoyer et vider le tiroir à cendres en faisant attention à la cendre chaude.
N'utiliser un aspirateur pour éliminer les cendres que si celles-ci sont complètement froides. Dans ce cas, utiliser un aspirateur pouvant éliminer des particules d'une certaine dimension, type "aspirateur bidon".
Votre expérience et la qualité du pellet détermineront la fréquence des nettoyages nécessaires à votre poêle.
Quoi qu'il en soit, il est recommandé de nettoyer le poêle au moins tous les 2 ou 3 jours.
Une fois que le nettoyage est terminé, refermer les tiroirs à cendres en vérifiant s'ils sont bien fermés.
5.1.3. Nettoyage de la valve
Pour le nettoyage de la vitre en vitrocéramique, il est conseillé d'utiliser un pinceau sec ou, si elle est vraiment sale, de vaporiser une petite quantité de produit détergent spécifique que vous essuyez ensuite avec un chiffon doux.

Attention!
Ne pas vaporiser le produit détergent sur les parois laquées ni sur les joints de la porte (cordon en fibre de céramique)
Exemple de pot à combustion sale
Compartiment de récupération des cendres
Nettoyage de la vitre
5.1.4. Nettoyage du filtre à air
Au moment de l'installation du poèle, il faudra monter le filtre à air en grillage métallique dans la partie postérieure du poèle, au niveau du tuyau d'entrée d'air comburant 05 cm, pour éviter que la saleté n'entre à l'intérieur du corps moteur et du capteur interne.
Il est conseillé de contrôler la propreté du filtre tous les 15/20 jours. S'il y a lieu, enlever les peluches ou le matériel qui se seraient déposés sur le filtre.
Le contrôle et l'éventuel nettoyage doit être intensifié lorsque des animaux domestiques circulent dans l'habitation.
Pour le nettoyage, il suffit de dévisser le pommeau qui bloque le filtre sur le tuyau d'aspiration d'air et de retirer le filtre en agissant dans le sens indiqué par la flèche. Pour le nettoyer, utiliser un pinceau ou un chiffon humide ou de l'air comprimé.
Démontage du filtre à air pour le nettoyage

Le filtre est fabriqué en grillage métallique et s'avèreouple et déformable au toucher, c'est pourquoi, lors des opérations de nettoyage, veillez à ne pas l'écraser ou le déformer. En cas de rupture, il faudra le remplacer.

ATTENTION!
Ne jamais faire fonctionner le poêle sans filtre à air. MCZ ne répond pas des éventuels dommages causés aux composants internes en cas de non-respect de cette prescription.
5.2.1. Nettoyage de l'échangeur de chaleur
Au milieu de l'hiver mais surtout à la fin, il est nécessaire de nettoyer le compartiment où passent les fumées évacuées.
Ce nettoyage doit obligatoirement être fait de façon à faciliter l'élimination générale de tous les résidus de la combustion, avant que le temps et l'humidité ne les compactent et qu'ils ne deviennent difficiles à enlever.
Nettoyage échangeur :
Lorsque le poèle est froid, enlever le dessus en céramique "A", démonter le carter de protection du dessus "B" en dévissant les vis de fixation, et ouvrir les couvercles "C" se trouvant en dessous pour pouvoir accéder aux trappes d'inspection "D".
Avec une tige rigide ou un écouvillon, gratter les parois du foyer de façon à faire tomber la cendre en dessous "F".
Ouvrir ensuite la trappe d'inspection "E", située sous le tiroir à cendres, et avec l'embout de l'aspirateur éliminer la cendre et le suif accumulés dans l'échangeur thermique "F".
Nettoyage du conduit de fumées et controles généraux:
Nettoyer le système de sortie des fumées, plus particulièrement autour des raccords en T et des tronçons horizontaux S'IL Y A LIEU.
Pour toute information sur le nettoyage du conduit de cheminée, s'adresser à une entreprise de ramonage.
Vérifier la tenue des joints en fibre de céramique situés sur la porte du poêle. Si nécessaire, commander de nouveaux joints au revendeur pour les replacer ou contacter un centre d'assistance agréé pour effectuer toute l'opération.


Attention :
La fréquence de nettoyage du système d'évacuation des fumées devra être déterminée en fonction de l'utilisation et du type d'installation du poêle.
MCZ conseille de s'adresser à un centre d'assistance agréé pour l'entretien et le nettoyage de fin de saison car ces centres n'effectuent pas seulement les opérations décrites ci-dessus mais effectuent également un contrôle général des composants.
5.2.2. Mise hors service (fin de saison)
En fin de saison, avant de ranger le poêle, il est conseillé de vider complètement le réservoir des granulés en utilisant un aspirateur avec un long tuyau.
Pendant la période où le poêle n'est pas utilisé, il devra être débranché du réseau électrique et entreposé dans un endroit sec et à l'abri des intempéries. Pour plus de sécurité et notamment en présence d'enfants, il est recommandé de débrancher le câble d'alimentation situé à l'arrière du poêle.
Si au moment du rallumage, en appuyant sur l'interrupteur général situé au dos du poêle, l'afficheur du tableau de commande ne s'éclaire pas, il faudra probablement replacer le fusible de service.
Un compartiment portefusibles se trouve sous la prise électrique derrière le poêle. Si nécessaire, ouvrir le couvercle du boîtier portefusibles à l'aide d'un tournevis et replacer le fusible (3,15 A retardé).

Attention!
Le contrôle des composants électriques et mécaniques internes devra être effectué exclusivement par du personnel qualifié et spécialisé dans ce domaine.
Il est recommandé d'effectuer cet entretien périodique annuel (en stipulant par exemple un contrat d'assistance technique programme par exemple) portant sur le contrôle visuel et le contrôle du fonctionnement des composants internes :
Les interventions de contrôle et/ou d'entretien indispensables pour le fonctionnement correct de votre poêle sont résumées ci-dessous :


| PARTIES / PÉRIODE | 1 JOUR | 2-3 JOURS | 30 JOURS | 60-90 JOURS | 1 AN |
| Pot de combustion | ● | | | | |
| Compartment | | ● | | | |
| Tiroir à cendres | | ● | | | |
| Vitre | | ● | | | |
| Échangeur inférieur | | | | ● | |
| Échangeur complet | | | | | ● |
| Conduit de fumées | | | ● | | |
| joint porte | | | | | ● |
| Filtre à air | | | ● | | ● |
| Conduit de cheminée | | | | | ● |
| Pile télécommande | | | | | ● |

Attention :
Toutes les réparations doivent être effectuées exclusivement par un technicien spécialisé, lorsque le poèle est et que la prise électrique est débranchée.
| PROBLÉMES | CAUSES POSSIBLES | SOLUTIONS |
| Les pellets ne sont pas introduits dans la chimbre de combustion. | • Le réserve des granulés de bois est vide.
• La vis sans fin est bloquée par de la scirure.
• Panne du motoréducteur
• Carte électronique défectueuse. | • Remplir le réserve à pellets
• Vider le réserve et débarrasser manuellement la vis sans de la scirure.
• Remplacer le motoréducteur
• Remplacer la carte électronique. |
| Le feu s'éteint ou le poèle s'accrête automatiquement. | • Le réserve à pellets est vide.
• Les pellets e sont pas introduits.
• La sonde de sécurité de température des pellets s'est déclenchée.
• La porte n'est pas parfaitement fermée ou les joints sont usés.
• Les pellets ne sont pas appropriés.
• Faible arrivée de pellets.
• Chambre de combustion sale.
• Sortie de fumées obstruée.
• Le pressostat se déclenché.
• Le moteur extraction fumées est endommagé. | • Remplir le réserve de pellets.
• Voir solution précédente.
• Laisser le poèle refroidir complètement, rétablit le thermostat jusqu'à ce que le bloc s'éteigne et callumer le poèle; si le problème persisté, s'adresser au service d'assistance technique.
• Fermer la porte ou faire remplaner les joints par des joints d'origine.
• Change de type de pellets enCHOISANT une catégorie préconisée par le fabricant.
• Faire contrôle l'arrivée du combustible par le service d'assistance technique.
• Nettoyer la chamme de combustion en suivant les instructions du livre.
• Faire ramoner le conduit de fumée.
• Vérifier si le conduit de cheminée est obstrué et si le pressostat fonctionné correctement.
• Contrôler le moteur et le remplaner s'il y a lieu. |
| Le poèle fonctionne quelques minutes puis s'éteint. | • La phase d'allumage n'est pas terminée.
• Absence momentanée de courant électrique.
• Conduit de fumée obstrué.
• Sonde de température défectueuse ou en panne.
• Bougie endommagée. | • Répéter la phase d'allumage.
• Voir instruction précédente.
• Ramoner le conduit de cheminée.
• Vérifier et remplaner la sonde.
• Contrôler la bougie et la remplaner s'il y a lieu. |
| Les pellets s'accumulent dans le pot de combustion, la vitre de la porte se salit et la flamme est faible. | • Manque d'air de combustion.
• Pellets humides ou inadaptés.
• Moteur d'aspiration fumées en panne. | • Vérifier si la prise d'air ambiant existe et est dégagée.
• Controler si le filtré de l'air comburant situé sur le tuyau de Ø 5 cm de l'amnéé d'air est bouché.
• Nettoyer le pot de combustion et contrôler si tous les orifices sont libres.
• Effectuer un nettoyage général de la chamble de combustion et ramoner le conduit de cheminée.
• Vérifier l'état des joints de la porte.
• Change le type de granulés de bois.
• Contrôler le moteur et le remplaner s'il y a lieu. |
| PROBLÈMES | CAUSES POSSIBLES | SOLUTIONS |
| Le moteur d'aspiration des fumées ne fonctionne pas. | • Le poèle ne recoit pas de courant électrique.
• Le moteur est en panne
• La cartelectronique est défectueuse.
• Le tableau de commande ne fonctionne pas. | • Vérifier la tension du secteur d'alimentation et le fusible de protection.
• Vérifier le moteur et le condensateur et les replacer s'il y a lieu.
• Remplacer la carte électronique.
• Remplacer le tableau de commande. |
| Le ventilateur de l'air de convection ne s'accrite jamais. | • La sonde thermique du contrôle de la tempête est défectueuse ou endommagée.
• Ventilateur endommagé | • Vérifier le fonctionnement de la sonde et, évientuelles, la replacer.
• Vérifier le fonctionnement du moteur et le replacer s'il y a lieu. |
| La télécommande ne fonctionne pas. | • Pile de la télécommande usée.
• Télécommande endommagée. | • Remplacer la pile
• Remplacer la télécommande. |
| En mode automatique, le poèle fonctionné toujours à la puissance maximale. | • Thermostat d'ambiance sur la position maximale
• La sonde de détention température est endommagée.
• Tableau de commande défectueux ou ne fonctionnant pas. | • Régler de nouveau la tempête du thermostat.
• Vérifier la sonde et évientuelles, la replacer.
• Vérifier le tableau de commande et, évientuelles, le replacer. |
| Le poèle ne démarre pas. | • Absence de courant électrique.
• Sonde à pellets bloquée.
• Fusible endommagé.
• Le pressostat ne fonctionne pas (il signale un blocage).
• Évacuation ou conduit de fumée obstrué. | • Contrôler si la prise électrique est branchée et si l'interrupteur général est sur la position "I".
• Débloquer la sonde en agissant sur le thermostat postérieur. Si cela se produit de nouveau, remplacer le thermostat.
• Remplacer le fusible.
• Remplacer le pressostat.
• Nettoyer la sortie des fumées et/ou ramoner le conduit de fumée. |

Attention!
Les opérations rédigées en caractère gras doivent être effectuées exclusivement par des techniciens agrés MCZ.
Le fabricant décline toute responsabilité et annule la garantie en cas de non-respect de cette condition.


Legende des cablages CARTE MERE
- Bougie d'allumage pellet
- Interrupteur
- Ventilateur air chaud
- Sonde fumées
- Ventilateur d'expulsion de fumées
- Thermostat à bulbe
- Pressostat
- Motoreducteur
- Récepteur RF
- Contrôle du régime du ventilateur fumées
- Capturer début d'air
- Tableau d'interface des services
- Tableau de secours
N. B. Les cablages électriques de chaque composant sont munis de connecteurs pré-cablés dont la mesure varie pour chacun.

Legende
1) Porte du foyer 2) Joint entre la vitre et la porte du foyer 3) Vitrocéramique 4) Joint de butée entre la porte du foyer et la structure 5) Poignée 6) Panneau antérieur en fonte 7) Clapet d'inspection ventilateur fumées 8) Tiroir à cendres 9) Pot de combustion 10) Fond en fonte
11) Fond en Alutec® 12) Grille supérieure en fonte 13) Grille anti-intrusion réservoir 14) Couvercle du réservoir 15) Réservoir à pellets 16) Fond en acier 17) Étriers supérieurs pour la fixation des carreaux en céramique 18) Étriers centraux pour la fixation des carreaux en céramique 19) Dessus en faience 20) Céramique latérale

Legende
1) Porte du foyer 2) Joint entre la vitre et la porte du foyer 3) Vitrocéramique
4a/b/c) Joint entre la porte du foyer et la structure
5) Poignée 6) Panneau antérieur en fonte 7) Clapet d'inspection ventilateur fumées 8) Tiroir à cendres 9) Pot de combustion
10) Fond en fonte 11) Fond en Alutec® 12) Grille supérieure en fonte 13) Grille anti-intrusion réservoir 14) Couvercle du réservoir 15) Réservoir à pellets 16) Fond en acier 17a/b) Panneaux latéraux en acier 18) Dessus en faience

Legende
1) Ventilateur air chaud monté sur éléments antivibratoires (1a) 2) Filtre air 3) Tuyau sortie fumées 4) Ventilateur extraction fumées 5) Volute 6) Sonde température fumées 7) Pressostat 8) Pressostat 9) Connecteur électrique avec bouton 10) Connecteurs série 11) Tableau de secours 12) Thermostat à bulbe
13) Récepteur signal télécommande 14) Motoréducteur 15) Connecteur motoréducteur-vis sans fin 16) Éléments de butée en caoutchouc motoréducteur 17) Base de la vis sans fin avec joint 18) Brides en graphite 19) Arbre vis sans fin chargement pellets 20) Télécommande 21) Bougie 22) Capteur 23) Carte mère
ACZ
MCZ SPA
Via Guglielmo Oberdan n° 86