VENT - Extracteur d'air UNELVENT - Notice d'utilisation et mode d'emploi gratuit
Retrouvez gratuitement la notice de l'appareil VENT UNELVENT au format PDF.
| Type de produit | Ventilateur de désenfumage |
| Caractéristiques techniques principales | Ventilateur axial, conçu pour une utilisation en cas d'incendie |
| Alimentation électrique | 230 V, monophasé |
| Dimensions approximatives | Longueur : 600 mm, Largeur : 600 mm, Hauteur : 400 mm |
| Poids | 25 kg |
| Compatibilités | Compatible avec les systèmes de désenfumage et de ventilation |
| Tension | 230 V |
| Puissance | 1,5 kW |
| Fonctions principales | Désenfumage, ventilation, extraction d'air chaud |
| Entretien et nettoyage | Vérification régulière des pales et du moteur, nettoyage des filtres |
| Pièces détachées et réparabilité | Disponibilité de pièces de rechange, facilité de réparation |
| Sécurité | Conforme aux normes de sécurité incendie, protection contre les surcharges |
| Informations générales utiles | Installation recommandée par un professionnel, garantie de 2 ans |
FOIRE AUX QUESTIONS - VENT UNELVENT
Questions des utilisateurs sur VENT UNELVENT
0 question sur cet appareil. Repondez a celles que vous connaissez ou posez la votre.
Poser une nouvelle question sur cet appareil
Téléchargez la notice de votre Extracteur d'air au format PDF gratuitement ! Retrouvez votre notice VENT - UNELVENT et reprennez votre appareil électronique en main. Sur cette page sont publiés tous les documents nécessaires à l'utilisation de votre appareil VENT de la marque UNELVENT.
MODE D'EMPLOI VENT UNELVENT
EXTRACTEURS DE CONDUITS CIRCULAIRES
Série VENT

Les plus
- Pressions élevées
- Compact
- Livre avec pieds supports
- Boîte à bornes déportée
Gamme
16 modeles de 100 à 3750 m3/h
- 0100 à 400 mm
- Version standard : VENT B
- Version hautes performances : VENT L
Applications
- Extraction ou insufflation
- Renouvellement par conduit

Locaux tertiaire

Usines
- Caracteristiques générales
- Réalisé en tôle d'acier galvanisé
- Moteur monophasé 230V - 50 Hz, variable
Boite a borne séparée - Classe B, IP 44
- Roue centrifuge à réaction (encrassement limité : aubes inclinées vers l'arrière)
- Equilibrée dynamique avec moteur selon norme VDI 2060

Pied support monté
- Caracteristiques techniques
| Référence | Code | Puisance absorbée maximum (W) | Intensité absorbée en 230 V. (A) | Débit maximum (m3/h) | Température maximum (C°) | Poids (kg) |
| VENT - 100 B | 262 975 | 85 | 0,60 | 235 | 40 | 3 |
| VENT - 125 B | 262 976 | 87 | 0,60 | 280 | 40 | 3 |
| VENT - 150 B | 262 977 | 70 | 0,30 | 560 | 40 | 5 |
| VENT - 160 B | 262 978 | 70 | 0,30 | 600 | 40 | 5 |
| VENT - 200 B | 262 979 | 125 | 0,50 | 830 | 40 | 5 |
| VENT - 250 B | 262 980 | 130 | 0,55 | 935 | 40 | 6 |
| VENT - 315 B | 262 981 | 235 | 1,00 | 1440 | 40 | 8 |
| VENT - 100 L | 262 998 | 78 | 0,33 | 290 | 40 | 3 |
| VENT - 125 L | 262 999 | 80 | 0,35 | 410 | 40 | 3 |
| VENT - 150 L | 263 000 | 120 | 0,53 | 700 | 40 | 5 |
| VENT - 160 L | 263 001 | 130 | 0,55 | 760 | 40 | 5 |
| VENT - 200 L | 263 002 | 170 | 0,72 | 1000 | 40 | 5 |
| VENT - 250 L | 263 003 | 180 | 0,80 | 1100 | 40 | 6 |
| VENT - 315 L | 263 010 | 350 | 1,45 | 1890 | 40 | 8 |
| VENT - 355 L | 262 974 | 280 | 1,50 | 2650 | 40 | 17 |
| VENT - 400 L | 262 973 | 370 | 1,80 | 3750 | 40 | 22 |
- Caracteristiques acoustiques dB(A)
Spectres de puissance sonore

| LwA Rayonnée | 63 | 125 | 250 | 500 | 1000 | 2000 | 4000 | 8000 |
| VENT -100 B | 38 | 25 | 27 | 31 | 43 | 40 | 38 | 31 |
| VENT -125 B | 36 | 29 | 31 | 33 | 44 | 40 | 41 | 31 |
| VENT -150 B | 30 | 34 | 42 | 49 | 49 | 45 | 41 | 35 |
| VENT -160 B | 31 | 34 | 40 | 49 | 49 | 44 | 41 | 33 |
| VENT - 200 B | 31 | 33 | 34 | 45 | 46 | 50 | 41 | 35 |
| VENT - 250 B | 38 | 39 | 40 | 47 | 46 | 46 | 43 | 37 |
| VENT - 315 B | 39 | 40 | 45 | 50 | 50 | 52 | 49 | 38 |
| LwA Rayonnée | 63 | 125 | 250 | 500 | 1000 | 2000 | 4000 | 8000 |
| VENT -100 L | 43 | 38 | 41 | 42 | 46 | 41 | 36 | 29 |
| VENT -125 L | 39 | 37 | 40 | 42 | 49 | 43 | 38 | 30 |
| VENT -150 L | 41 | 35 | 42 | 55 | 53 | 48 | 41 | 31 |
| VENT -160 L | 41 | 35 | 42 | 55 | 53 | 48 | 41 | 31 |
| VENT - 200 L | 38 | 43 | 41 | 46 | 52 | 49 | 43 | 34 |
| VENT - 250 L | 34 | 47 | 38 | 47 | 49 | 44 | 42 | 31 |
| VENT - 315 L | 39 | 47 | 50 | 54 | 58 | 54 | 51 | 42 |
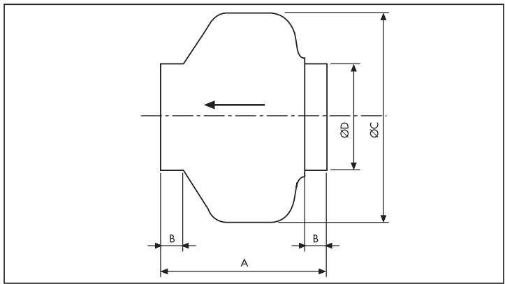
EXTRACTEURS DE CONDUITS CIRCULAIRES
Série VENT

Dimensions (mm)
| Type | A | B | C | D |
| VENT - 100 | 194 | 23 | 243 | 98 |
| VENT - 125 | 195 | 27 | 243 | 123 |
| VENT - 150 | 214 | 24 | 333 | 147 |
| VENT - 160 | 222 | 28 | 333 | 157 |
| VENT - 200 | 223 | 25 | 333 | 198 |
| VENT - 250 | 206 | 27 | 333 | 248 |
| VENT - 315 | 230 | 25 | 401 | 312 |

| Type | A | B | C | D | E | F | G | H | J |
| VENT - 355 | 354 | 314 | 508 | 583 | 410 | 100 | 170 | 587 | 10,5 |
| VENT - 400 | 399 | 354 | 568 | 623 | 441 | 100 | 185 | 647 | 10,5 |
Sélection accessoires
| Type | Variateur saillie | Variateur encastrable | Batterie électrique | Manchette | Grille de protection | Caisson + fentre | Filtre de rechange |
| VENT 100 | REB 1N | REB 1NE | MBE 100/04 B | ACOP VENT 100 | DEF VENT 100 | MFL 100 | MFR 100 |
| VENT 125 | REB 1N | REB 1NE | MBE 125/12B | ACOP VENT 125 | DEF VENT 125 | MFL 125 | MFR 125 |
| VENT 150 | REB 1N | REB 1NE | - | ACOP VENT 150 | DEF VENT 150 | - | - |
| VENT 160 | REB 1N | REB 1NE | MBE 160/21B | ACOP VENT 160 | DEF VENT 160 | MFL 160 | MFR 160 |
| VENT 200 | REB 1N | REB 1NE | MBE 200/50T | ACOP VENT 200 | DEF VENT 200 | MFL 200 | MFR 200 |
| VENT 250 | REB 1N | REB 1NE | MBE 250/60T | ACOP VENT 250 | DEF VENT 250 | MFL 250 | MFR 250 |
| VENT 315 | REB 2,5N | REB 2,5NE | MBE 315/90T | ACOP VENT 315 | DEF VENT 315 | MFL 315 | MFR 315 |
| VENT 355 | REB 2,5N | REB 2,5NE | MBE 355/90T | ACOP VENT 355 | DEF VENT 355 | MFL 355 | MFR 355 |
| VENT 400 | REB 2,5N | REB 2,5NE | MBE 400/120T | ACOP VENT 400 | DEF VENT 400 | MFL 400 | MFR 400 |
- Variateur électronique REB
| Référence | Code |
| REB 1N | 704 149 |
| REB 2,5N | 704 177 |
| REB 1NE | 704 147 |
| REB 2,5 NE | 704 178 |
Grille de protection DEF VENT
| Récurrence | Code |
| DEF VENT 100 | 973 029 |
| DEF VENT 125 | 973 030 |
| DEF VENT 150 | 973 031 |
| DEF VENT 160 | 973 032 |
| DEF VENT 200 | 973 033 |
| DEF VENT 250 | 973 014 |
| DEF VENT 315 | 973 034 |
| DEF VENT 355 | 957 002 |
| DEF VENT 400 | 957 003 |
- Batterie électrique MBE
| Référence | Code |
| MBE 100/04B | 683 693 |
| MBE 125/12B | 683 694 |
| MBE 160/21B | 683 668 |
| MBE 200/50T | 683 696 |
| MBE 250/60T | 683 697 |
| MBE 315/90T | 683 698 |
| MBE 355/90T | 681 000 |
| MBE 400/120T | 681 001 |
- Caisson fille MFL
| Référence | Code |
| MFL 100 | 973 699 |
| MFL 125 | 973 700 |
| MFL 160 | 973 669 |
| MFL 200 | 973 702 |
| MFL 250 | 973 703 |
| MFL 315 | 973 704 |
| MFL 355 | 974 380 |
| MFL 400 | 974 379 |
- Manchette ACOP VENT
| Référence | Code |
| ACOP VENT 100 | 953 035 |
| ACOP VENT 125 | 953 036 |
| ACOP VENT 150 | 959 968 |
| ACOP VENT 160 | 953 037 |
| ACOP VENT 200 | 953 039 |
| ACOP VENT 250 | 953 040 |
| ACOP VENT 315 | 953 042 |
| ACOP VENT 355 | 957 000 |
| ACOP VENT 400 | 957 001 |
- Caisson filtré MFR
| Référence | Code |
| MFR 100/125/160 | 973 705 |
| MFR 100/125/160 | 973 705 |
| MFR 100/125/160 | 973 705 |
| MFR 200 | 973 707 |
| MFR 250 | 973 708 |
| MFR 315 | 973 709 |
| MFR 355 | 976 000 |
| MFR 400 | 976 001 |
EXTRACTEURS DE CONDUITS CIRCULAIRES
Série VENT
Courbes caractéristiques
- Q = Débit en m^3/h et m^3/s .
- Pst = Pression statique en Pa.
Air sec normal à 20 °C et 760 mm Hg. - Essais en accord avec BS 848, Part 1; AMCA 210-85 et ASHRAE 51-1985.
Niveau de pression sonore dB(A) à 3 m



Notice Facile