MUSSO SPORTS - Pick-up SSANGYONG - Notice d'utilisation et mode d'emploi gratuit
Retrouvez gratuitement la notice de l'appareil MUSSO SPORTS SSANGYONG au format PDF.
| Type de produit | Pick-up |
|---|---|
| Caractéristiques techniques principales | Moteur diesel 2.2L, puissance de 149 ch, transmission manuelle ou automatique, 4x4 disponible |
| Alimentation électrique | Non applicable (moteur thermique) |
| Dimensions approximatives | Longueur : 5 100 mm, Largeur : 1 950 mm, Hauteur : 1 800 mm |
| Poids | Environ 2 200 kg |
| Capacité de chargement | 1 000 kg |
| Consommation de carburant | Environ 8,5 L/100 km |
| Émissions de CO2 | Environ 220 g/km |
| Système de sécurité | ABS, EBD, airbags frontaux et latéraux, contrôle de traction |
| Entretien et nettoyage | Révisions tous les 15 000 km, vérification des niveaux d'huile et de liquide de refroidissement |
| Pièces détachées et réparabilité | Disponibilité de pièces chez les concessionnaires et en ligne |
| Garantie | 3 ans ou 100 000 km |
| Informations générales utiles | Idéal pour les travaux de chantier et les loisirs, bon rapport qualité-prix |
FOIRE AUX QUESTIONS - MUSSO SPORTS SSANGYONG
Questions des utilisateurs sur MUSSO SPORTS SSANGYONG
0 question sur cet appareil. Repondez a celles que vous connaissez ou posez la votre.
Poser une nouvelle question sur cet appareil
Téléchargez la notice de votre Pick-up au format PDF gratuitement ! Retrouvez votre notice MUSSO SPORTS - SSANGYONG et reprennez votre appareil électronique en main. Sur cette page sont publiés tous les documents nécessaires à l'utilisation de votre appareil MUSSO SPORTS de la marque SSANGYONG.
MODE D'EMPLOI MUSSO SPORTS SSANGYONG
Ce manuel a ete concu pour youes familiariser avec l'utilisation et I'entretien de vre newa MuSSO & MUSSO SPORTS et pour youes fournir d'importantes informations relatives a la securite. Nous nus permettons d'insister pour que yous le lisiez attentivement et que you en suiviez les recommandations. Elles you permittront d'utiliser your vehicule de maniere agreable, en toute sccurite et sans socis.
En ce qui concerne l'entretien, souvent-vous que c'est votre concessionnaire SSANGYONG qui connait le mieux vous vehicule et qu'il a interet à ce que vous en soyez pleinement satisfait.
Nos souhaitons en profiter pour vous remercier d'avoir choisi MUSSO & MUSSO SPORTS et vous assurer de l'intérêt que nous portons au plaisir et à la satisfaction que vous tirerez de votre automobile.
Ce manuel doit être considéré comme une partie intégrante de votre vehicule, et doit accompagner celui-ci en cas de revente.

SsangYong Motor CO., LTD.
PYUNGTAEK, KOREA
REMARQUE IMPORTANTE
Nous vous invitons à dire ce manuel avec attention et à suivre scrupuleusement ses instructions.
A Ce symbole est un signal d'alarme pour votre sécurité. Il sert à vous prévenir d'un risque de blessure ou de dommage aux biens. Suivez tous les conseils de sécurité qui sont précédés de ce symbole.
Les mots DANGER, ATTENTION et IMPORTANT ont chacun une signification particuliere.
DANGER
DANGER signale un danger potentiel qui, s'il n'est pas prévenu, peut entraîner la mort ou des blessures graves.
ATTENTION
ATTENTION signale un danger potentiel qui, s'il n'est pas prévenu, peut occasionner des blessures superficielles ou légères, ou des dégats aux biens.
IMPORTANT
IMPORTANT signale des instructions et des informations qui vous aideront à entretenir votre vehicule.
: Cet astérisque signifie que l'élement ou l'équipement décrit n'est pas liévenant sur tous les vehicules (variantes de modèles, motorisations optionnelles, modèles propres à un pays, équipement en option, etc.).
Toutes les informations, illustrations et specifications qui figurent dans ce manuel, sont basées sur les données du produit les plus récentes, disponibles au moment de la publication.
Ssangyong se réserve le droit de modifier les specifications ou le design à tout moment sans préavis et sans obligation d'aucune nature.
Il se peut que ce vehicule ne soit pas conforme aux normes et reglements en vigueur dans d'autres pays.
Avant d'immatriculer ce vehichle vérifie toutes les réglementations applicables et effectuez toutes les modifications nécessaires.
Ce manuel décrit des options et des niveaux d'équipement disponibles au moment de la publication. Cest pourquoi, il est possible que certains lents mentionnss ne sappliant pas votre vehicule. En cas de doute quant aux options et aux niveaux équipement, nhsitez pas prendre contact avec votre concessionnaire Ssangyong pour obtenir des informations sur les specifications les plus rcentes.
Nous voudrions insister sur le fait que les pieces et accessoires autres que les pieces et accessoires SSANGYONG d'origine, n'ont pas eté vérifiés et agreés par Ssangyong. Nous ne pouvons certifier ni l'adéquation, ni la sécurité de tels produits. Ssangyong n'est pas responsable de tout dommage causé par l'utilisation de pieces et accessoires autres que les pieces et accessoires SSANGYONG d'origine.
TABLE DES MATIERES
- AVANT DE CONDUIRE VOTRE VOITURE 1-1
- DEMARRAGE ET FONCTIONNEMENT 2-1
- INSTRUMENTS ET CONTROLE 3-1
- VENTILACION, CHAUFFAGE ETAIR CONDITIONNE 4-1
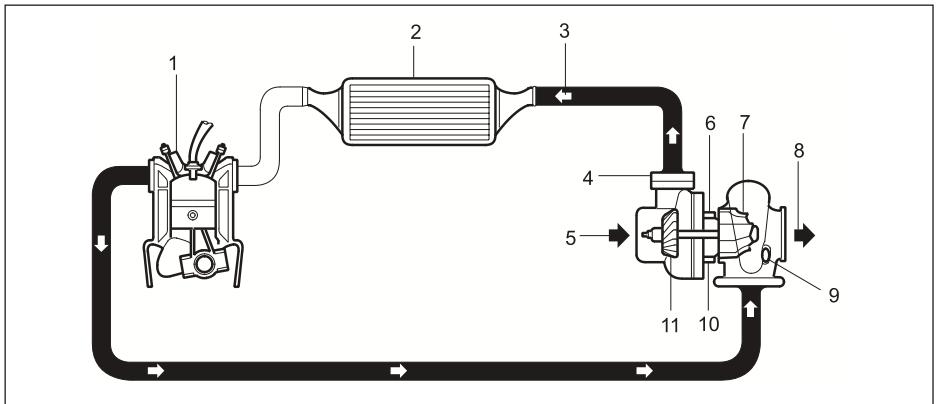
- TURBOCOMPRESEUR 5-1
- EN CAS D'URGENCE 6-1
- SERVICE ET ENTRETIEN 7-1
- PROTECTION DU VEHICULE 8-1
- SPECIFICATIONS ET DONNEES SUR L'ENTRETIEN 9-1
- INDEX 10-1

1
AVANT DE CONDUIRE VOTRE VOITURE

1-2 AVANT DE CONDUIRE VOTRE VOITURE
PERIODDE RODAGE
Il n'existe pas de régles particulières pour le rodage de votre nouveau Ssangyong. Toutefois, le respect de quelques précautions élémentaires pendant les premières centaines de kilomètres est susceptible d'améliorer encore les performances futures de votre voiture, déconomiser son coût et d'assurer sa longévité.
- Ne pas emballer le moteur.
While driving, keep your engine speed (RPM) below the red zone. - Eviter les démarrages à plein régime.
- Eviter les freinages brétaux, sauf en cas d'urgence. Cela permettra aux freins de s'adapter correctement.
Varier la vitesse du vehicule en essayant de ne pas "fatiguer" le moteur. -
Eviter de tracter une remorque ou un autre vehicule.
-
Eviter des manoeuvres brutes telles que des démarrages en trombe, des accélérations soudaines et une conduite prolongée à grande vitesse. Ces manoeuvres ont non seulement un effet néfaste sur le moteur, mais elles provoquent également une consommation accrue d'essence et d'huile susceptible d'entrainer un mauvais fonctionnement des pieces du moteur. Eviter en particulier d'accéléorer à fond à faible vitesse.
AVANT D'ENTRER DANS LA VOITURE
S'assurer que les vitres, les rétroviseurs extérieurs et les phares ne sont pas sales, endommages ou obstrués.
- Vérifier que tous les feuux, les boutons et les commandes fonctionnent correctement.
- Vérifier la zone située à l'arrière du vehicule, si vous vous approuvèez à faire marche arrière.
S'assurer qu'il n'y ait pas de fuite sous le vehicule.
- Contrôler le niveau d'huile du moteur, ainsi que les autres niveaux d'huile et liquides dans le compartmentement moteur.
Pour le modele SPORTS:Si le vehicule estcharge,assurez-vous d'avoir attaché solidement tous les bagages sur le plateau et controlez qu'aucun object volumineux n'obstrue la visibilité à l'arriere.
Pour le modele SPORTS:Extrayez toute l'antenne avant de pénétrer dans la voiture:Ne permettez jamais a I'occupant du siège arriere d'extraire I'antenne pendant que le vehicule roule.

DANGER
Le modele SPORTS est equipe d'une
antenne manuelle.Extraire toute
l'antenne avant de penertrer dans la voiture. Si I'occupant du siège
arriere tire I'antenne pendant que le vehicule roule, il risque d'être
grievement blessé en cas d'accident ou de collision
AVANT DE DEMARRER
- S'assurer que vous ayez bien compris le fonctionnement du vehicule et de ses équipements et que vous saurez le conduire en toute sécurité..
- Régler la position du siège.
- Régler les rétroviseurs interieur et extérieur.
- S'assurer que tous les occupants de la voiture ont attaché leur ceinture de sécurité.
Vérifier le bon fonctionnement de tous les témoins au moment où la cléf est tournée dans la position "ON". - Contrôler tous les indicateurs.
- Desserrer le frein à main et s'assurer que le témoin lumineux du frein s'éteint.
CLEFS
Deux clefs sont fournies pour l'ouverture de toutes les serrures. Gardez une de ces deux clefs en réserve. Le numéro de cléf est grave sur la plaquette d'identification de la cléf. Par sécurité, conservez la plaquette avec le numéro de cléf en lieu sur, jamais dans le vehicule. Vous devriez également noter le numéro de cléf et le conserver dans un endroit sur, hors du vehicule. Ceci évitera à des personnes non autorisées d'obtenir un duplicata de clé.

DANGER
Ne pas laisser les clefs dans le vehicule.
- Verrouiller le vehicule.
- Emporter la clef avec vous.

DANGER
Vérifier que tous les feuux, les systèmes de signalisation et les indicateurs de danger sont en état de marche.

1-4 AVANT DE CONDUIRE VOTRE VOITURE
CLEF AVEC TRANSPONDEUR ET ECLAIRAGE INTEGRES*
Deux clefs principale avec éclairage et transpondeur intégrés sont fournies avec les vehicules équipés du système d'immobilisation électronique. Conservez une de ces clefs en réserve. L'éclairage intégré de la cléf principale sert à facilititer l'introduction de la cléf la nuit. Pour l'utiliser, appuyez sur le bouton d'éclairage de la cléf.
Le numéro de la cléf est grave sur la plaque d'identification de celle-ci. Pour la sécurité du vehicule, conserver la plaque d'identification de la cléf dans un endroit sur et non dans le vehicule. Il est aussi recommendé de noter le numéro de la cléf dans un endroit sur, hors du vehicule.

Si vous souhaitiez-obtenir des clefs supplémentaires,contactez-vous concessionnaire Ssangyong.
Pour davantage de détails, consultez le chapitre Système d'immobilisation, page 2-6.

DANGER
Ne pas laisser les clefs dans le vehicule.
- Verrouiller le vehicule.
- Emporter la clef avec vous.
IMPORTANT
En cas de perte, vous pouvez obtenir une clef de remplacement auprès des concessionnaires SSANGYONG en indiquant le numero de clef.
Pour protégéer vosvichicule contre le vol,votresSangyonga etéequipeed'un système d'immobilisation électronique.
Seules les clefs contenant le correct code électronique permettent de démarrer la voiture. même si la clef présente un profil identique, le moteur ne démarrera pas si le code électronique est incorrect.
Voudevezcontactervoire concessionnaireSsangyongpourobtenirdesclefs de rechange ou supplémentaires.
SYSTEME D'OUVERTURE ET FERMETURE A DISTANCE (REKES)
Ce système d'accès à distance vous permets d'ouvrir ou fermer les portes en utilisant simplement l'émetteur du système REKES. Pour vérifier le fonctionnement du système REKES, les deux clignotants doivent s'allumer deux fois pendant 0,5 seconde à la fermeture et une fois pendant une seconde à l'ouverture.
IMPORTANT
Ne pas mouiller la télécommande.
Eviter tout chic. Eviter de faire subir des chocs à l'émetteur.
En cas de perte puis de remplacement de la télécommande, il est nécessaire de reprogrammer ie code correct pour l'utilisation.
Remplacement de la pile
Meme si la LED ne s'allume pas, il est possible d'utiliser l'émetteur pendant encore quelques temps. Changez la pile encas de néccessité..
Utilisez une pile Panasonic CR2032 ou équivalente et adoptez la procédure suivante en ce qui concerne le remplacement:
- Desserrez la vis du couvercle arriere.
- Retirez la pile en prénant sole de ne pas toucher le circuit imprimé ou autres composants.


1-6 AVANT DE CONDUIRE VOTRE VOITURE
- Placez la nouvelle pile en s'assurant que la polarité appropriée soit maintainue (côté positif (+) vers le bas). Les marques de doigt réduisent leur durée de vie. Si possible, évitez de toucher les surfaces planes de la pile. Les essuyer avant de les placer.
- Assemblez les deux couvercles de l'émetteur.
- Vérifiez le fonctionnement.
ATTENTION
Il est possible que I'émetteur soit endommag.
- Ne pas inverser la polarité.
- Eviter de laisser tomber l'émetteur.
- Ne pas poser d'objets pesants sur l'émetteur.
Garder l'émetteur à l'abri de l'eau et des rayons solaires.
SERRURES DES PORTES
Les portes avant peuvent être verrouillées et déverrouillées de l'extérieur au moyen de la cef.
Pour verrouiller, tournez la cef vers l'avant du vehicule.
Pour déverrouiller, tournez la cléf vers l'arrête du vehicule.
ATTENTION
Fermer les portières et le hayon lorsque vous quittez le vehicule.
ATTENTION
Constituer un risque pour la santé et l'environnement.
- Ne pas jeter ces piles avec les déchets menagers.
- Renseignez-vous auprès des autorités locales ou de votre concessionnaire Ssangyong pour savoir où trouver une centrale de traitement des piles usagées proche de votre domicile.
IMPORTANT
- Essuyer l'émetteur avec un linge sec s'il est humide.
Si yous appuyez sur le bouton "Déverrouiller" quand l'interrupteur du plafonnier est sur la position "Porte", le plafonnier s'allumera pendant 30 secondes puis s'éteindra.

Toutes les portes peuvent etre verrouillées et déverrouillées de l'intérieur en appuyant ou en tirant sur le bouton de verrouillage de la porte.
Toutes les portes peuvent être verrouillées de l'extérieur en actionnant le bouton de verrouillage avant de fermer les portes.
Pour ouvrir les portes de l'extérieur, tourner la clé dans la serrure et tirer la poignée de porte vers le haut.
Pour ouvrir les portes de l'intérieur, tirez le bouton de verrouillage ensuite la poignée de porte vers l'arrière.



1-8 AVANT DE CONDUIRE VOTRE VOITURE

DANGER
Ne jamais laisser un enfant ou un animal sans surveillance à l'intérieur du vehicule.
- Il pourrait déplacer le vehicule de manière inopinée.
- Il pourrait suffoquer, en particulier par temps chaud.
SYSTEME DE VERROUILLAGE CENTRAL
Le système de verrouillage centralisé est actionné par la porte conducteur ou passager.
Toutes les portes ainsi que le hayon peut être verrouillés ou déverrouillés simultanément en utilisant soit la clef, soit le bouton de fermeture de la porte conducteur ou passager.
RELÂCHE AUTOMATIQUE DU VÉROUILAGE DES PORTES
Si la vitesse du vehicule est supérieure à 15km / h en cas de collision, toutes les portières ainsi que le hayon sont automatiquement déverrouillés.

ATTENTION
Il est possible que le système de verrouillage des portes ne fonctionne pas quand la porte ou/et la carrosserie est déformée par une collision.

SYSTEME DE VERROUILLAGE AUTOMATIQUE DES PORTES
Verrouillage automatique des portes
Toutes les portes se verrouillent automatiquement lorsque vous roulez à plus de 50~km / h
Déverrouillage automatique des portes Si vous tournez la clef de contact en position 'OFF', toutes les portes seront automatique déverrouillées.
ECLAIRAGE DE LA SERRURE*
La lampe éclairant la serrure de contact est montée pres de la serrure de contact. Si vous ouvrez une portière avant, l'éclairage de la serrure de contact est activé pour aider le conducteur à introduire sa clef, et s'éteint quand la clé est en position "ON".
SERRURES DE SECURITE POUR ENFANTS
Les serrures de sécurité pour enfants permiette de prévenir l'ouverture accidentelle des portes arrrière par des enfants Presents dans la voiture. Les serrures de sécurité pour enfants équipient les deux portes arrriere. Lorsque le levier situé sous la serrure d'une porte arrrière est en position "LOCK", la porte ne peut plus être ouverte de l'intérieur.
En outre, le verrou interieur de la portiere est fixe en position verrouillage et il est impossible de le tirer.
Ceci n'empêche pas qu'une porte condamnée par la sécurité enfants puisse être ouverte de l'extérieur, à condition que le bouton de verrouillage ne soit pas abaissé.

DANGER
Les enfants asiss à l'arrière risquent d'ouvrir les portes arrière.
- Placer le levier de sécurité pour enfants en position de verrouillage.

ATTENTION
Ne pas tirer sur la poignée quand la sécurité pour enfants est verrouillée.
- La poignée interieure pourrait être endommagée.



TAILGATE LOCKS
Le hayon peut être verrouillé ou déverrouillé de l'extérieur avec la clé. Pour verrouiller, insérez la clé dans la serrure et tournez dans le sens contraire des aiguilles d'une montre.
Pour déverrouiller, tournez dans le sens des aiguilles d'une montre.
Pour ouvrir le hayon de l'extérieur, le soulever en appuyant sur la poignée du hayon une fois celle-ci déverrouillée. Deux barres de support pressurisées permettront de maintainir le hayon ouvert. Si le hayon est verrouillé, il est impossible d'appuyer sur la poignée de celui-ci.
Pour le fermer, abaissez-le et appuyez vers le bas. S'assurer que le hayon soit bien fermé et verrouillé.
Pour ouvrir le hayon de l'intérieur, levez le bouton d'ouverture et tirez le levier de porte vers le haut.

DANGER
L'ouverture du hayon pendant que le vehicule est en mouvement risque d'obstruer la vision vers l'arriere et provoquer ainsi un accident.
Ne pas rouler avec le hayon ouvert.

DANGER
Les gaz d'échéppement sont toxiques.
Eteindre le moteur quand le hayon est ouvert afin d'eviter l'entrée des gaz d'échéppement dans l'habitacle.


OUVERTURE/FERMETURE DU HAYON (DANS LE MODELE SPORTS UNIQUEMENT)
Appuyez d'une main sur la poignée du hayon pour le déverrouiller et abaissez-le lentement de l'autre main.
DANGER
- Ne jamais transporter des personnes sur le plateau. Il ne devrait servir qu'au chargement d'objets.
- Une fois arrivé à destination, déchargez vos bagages et déposezzles dans un endroit sur. Si vous les laisssez sur le plateau de votre vehicule, ils pourraient être volés.
DANGER
Pour ouvrir le hayon,le maintainir d'une main tout en le déverrouillant puis l'abaisser lentement. Si le hayon n'est pas retenu, il s'abaisse brusquement, une fois complètement déverrouillé, ce qui entraîne des dommages aux attaches du hayon ou risque de blesser des personnes.
- Àprouès avoir charge le vehicule, fermez et verrouillez le hayon. Vérifiéz que le hayon est bien fermé en le secouant d'avant en arrêté.
DANGER
Éviter de conduire avec le hayon ouvert si vous transportez des objets volumineux. Ne jamais dépasser la capacité maximale de chargement du vehicule: 400 kg. Si le vehicule est surcharge, le hayon, les éléments du groupe motopropulseur, le système de suspension et les composants qui y sont rattachés risquent d'être endommages.


1-12 AVANT DE CONDUIRE VOTRE VOITURE
Après avoir chargé les bagages sur le plateau, les fixer solidement aux crochets situés sur les parois laterales pour les empêcher de bouger pendant que le vehicule roule.


DANGER
- Àprous avoir charge les bagages sur le plateau, vérifier de nouveau la fermetre du hayon avant de semettre en route.
- Ne pas transformer la zone de chargement en la recouvrant d'une toile ou d'un autre matériel pour servir de toit et ne pas modifier les composants d'origine de la structure. Ces modifications risquent de creer une résistance à la conduite du vehicule et des parois algérées sont sujettes à la corrosion. Plus spécifique, elles risquent de bloquer la visibilité à l'arrière.
- Placer les objets de petite dimension dans des boîtes, à part des autres bagages, avant de les charger sur le plateau. Éviter de charger des objets volumineux qui peuvent obstruer la visibilité à l'arrête.
(Suite)

DANGER
(Suite)
- La couverture du plateau et la lunette arrête pourraient etre endommagées par le chargement d'une barre de métal plus longue que la largeur de la zone de chargement ou par des objets a bout pointu. Éviter donc d'en transporter.
- Àprous avoir charge les bagages, les attacher aux crochets situés sur les parois latérales du plateau pour éviter leur déplacement pendant que le vehicule roule.

ATTENTION
- Ne pas placer des objets pardessus les parois laterales.
Ne pas transporter de barres de métal, d'objets à bout pointu et en particulier, d'objets volumieux encombrant la visibilité arrière.
En cas de freinage brusque, de collision ou d'accident, les barres de métal et autres objets d'une longueur supérieure à la largeur de la zone de chargement ou à bout pointu sont extrémement dangereux. Ils peuvent traverser la lunette arrêté et provoquer ainsi des blessures très graves, voire mortelles aux passagers comme au conducteur. - Si vous sautez sur le hayon ouvert ou si vous y jetez les bagages, vous risquez d'endommager ou de détruire le hayon, le plancher du plateau ainsi que les charnières du hayon.
(Suite)

ATTENTION
(Suite)
- Ne pas se garer dans un endroit directement exposé à la neige, à la pluie et éviter de laisser le plateau sous le soleil. Si de l'eau de pluie ou de la neige tombe sur le plateau, le nettoyer avant de semettre en route.

DANGER
Ne pas charger d'objets volumieux qui risquent de bloquer la visibilité arrêté sur le plateau. Ne jamais utilisé la section ouvrable (dégagement) dans la partie supérieure du plateau (pilier D, voir les flèches) pour retenir ou attacher le chargement avec des cordes ou des câbles.
Cette partie (indiquée par les flèches) ainsi que les surfaces peintes risquent d'être endommagées.


1-14 AVANT DE CONDUIRE VOTRE VOITURE
ÉQUILIBRAGE AUTOMATIQUE (SPORTS)*
La capacité de chargement du Musso Sports est de 400kg . La longueur de "A" diminue en fonction du poids des bagages. L'équilibrage automatique est un système qui maintain la longueur spécifique de "A" constante, quel que soit le poids du chargement. Au bout de 2 à 3 kilomètres de conduite du vehicule charge, les vibrations de haut en bas entraîment une action de pompage qui compensent la longueur constante (la longueur de "A").

Contrôle de l'action de l'équilibrage automatique
- Chargez les bagages sur le plateau de chargement et attachez-les solidement.
- Contrólez si la longueur de "A" diminue.
- Au bout d'environ 2 à 3 km de conduite, contrôlez si la longueur de "A" a augmentependant cette distance.
ATTENTION
- Il n'y a pas de commutateur ou de commande du fonctionnement de l'équilibrage automatique.
- La distance de compensation varie avec la charge. Toutefois la longueur compensée de "A" ne peut pas atteindre celle de la condition à vide.
- Si la hauteur du vehicule reste la même après avoir roulé avec un chargement de bagages supérieur à 200 kg, consultez un concessionnaire Ssangyong ou une station de service agrée par Ssangyong.
- Ne pas dépasser la charge maxi-male indiquée.
COMMANDE ELECTRIQUE DES VITRES
Les vitres électriques peuvent être commandées lorsqu'le contact est sur la position "ON".
Fonctionnement automatique du ségge du conducteur
Vitre conducteur
La vitre conducteur peut se baiser automatique (AUTO).
Pour baiser la vitre du coté du conducteur, appuyez sur la partie arrière du pouvoir et relâchéz-le, la vitre s'ouvrira automatiquement. Pour arrêté la descente, appuyez à nouveau sur le pouvoir pendant que la vitre est en mouvement.
Pour lever la vitre, tirer le bouton vers le haut et le maintainir en position. Pour arreter la vitre, relâcher le bouton.
Vitre passager avant et vitre portiere arrriere
Pour descendre la vitre, appuyez sur la partie arrrière du pouvoir.
Pour monter la vitre, appuyez sur la partie avant du pouvoir.
Lorsque la vitre atteint la position désirée, relâchéz le pouvoir.
IMPORTANT
Le fonctionnement de la vitre élec trique peut être prolongé pendant 30 secondes après la coupure du contact.

DANGER
Ne sortez aucun membre de votre corps par les ouvertures des vitres car il existe un risque de blessure en actionnant les vitres ou d'être heures au passage par des objets.
Surveiliez bien les vitres lors de la fermeture. S'assurer que rien ne peut etre happe..
- Ne pas passer ses mains, sa tête ou tout autre chose par l'ouverture.

DANGER
Toujours retireur la clef de contact quand on quitte le vehicule afin de prévenir le risque de blessure causée par des enfants sans surveillance manipulant le lève-vitre électrique.
1-16 AVANT DE CONDUIRE VOTRE VOITURE
Interrupteur de commande du passager et des vitres arrrière
Les boutons pour les vitres passager et arrrière sont situés sur chaque portière et permettent d'activer les vitres de la portière correspondante.
Pour descendre la vitre, appuyez sur la partie arrrière du pouvoir.
Pour monter la vitre, appuyez sur la partie avant du pouvoir.
Lorsque la vitre atteint la position désirée, relâchéz le pouvoir.
IMPORTANT
La vitre arrière ne s'ouvre pas entiement.
BOUTON DE VERROUILLAGE DES VITRES
Lorsque cet interrupteur est enforcé, seules les commandes principales placées sur la console conducteur peuvent actionner les lève-vitres. Pour déverrouiller, pressez à nouveau l'interrupteur.

DANGER
Une fermeture accidentelle des vitres électriques peut cause des blessures graves.
- Lorsque vous transportez des enfants, enforcez l'interrupteur afin de désactiver les commandes individuelles aux places arrêté.
- Ne laissez pas les enfants jouer avec les interrupteurs de commande des vitres.


VOLANT INCLINABLE
Le volant peut être déplace verticalément pour obtenir une position souhaitée. Pour ajuster le volant, tirez le levier de contrôle vers le haut, ajustez le volant vers le haut ou vers le bas à la position souhaitée et relâchez le levier pour verrouiller le volant.

DANGER
Ne pas régler l'inclinaison du volant quand la voiture est en mouvement. Vous pourriez perdre le contrôle du vehicule.
TOIT OUVRANT ELECTRIQUE*
Avant de faire fonctionner le toit ouvrant, il faut commercer par ouvrir le ridesau enrouleur, en poussant la poignée vers le haut.
Le toit ouvrant peut etre utilise de deux manieres avec le contact en position "ON".
Faire coulisser le toit ouvrant
Pour ouvrir ou fermer, appuyez et maintenez le bouton a l'avant du plafond. Relâchez le bouton lorsque le toit atteint la position désirée.
Ouvrir

Fermer
Ouvrir
Ouvrir

Fermer
- Arreter
Ouvrir

Fermer
Fermer


Faire pivoter le toit ouvrant
Pour faire pivoter le toit (position de ventilation) ou fermer le toit ouvrant, appuyez et maintenez le bouton jusqu'à ce que le toit attigne la position désirée.

Ouvrir
Aerer
Ouvrir

Ouvrir
Aerer
- Arreter

Ouvrir
Aerer
Fermer


DANGER
Il est possible que les parties du corps dépassant du vehicule soient heures par des objets au passage de celui-ci
Ne pas laisser sortir les mains, la tete ou tout autre chose de l'ouverture du toit ouvrant.

DANGER
Il est recommandé de prendre des précautions en manipulant le toit ouvrant électrique. Il y a risque de blessures, surtout pour les enfants, et danger de coincer membres ou objets dans l'ouverture du toit.
S'assurer qu'il n'y a rien à proximé de l'ouverture du toit avant de le fermer.

DANGER
Des débris tombés sur le toit ouvrant peuvent endommager le fonctionnement de celui-ci.
- Dégager le toit ouvrant avant de l'ouvrir.
Enlever les gouttes d'eau, la neige, la glace ou le sable du dessus du toit avant de l'ouvrir. - Ne pas placer d'objets lourds sur le toit ouvrant ou à proximé de celui-ci.

DANGER
Lorsque vous laissez le vehicule sans surveillance, fermez complètement le toit ouvrant.
BOUTON DE RÉGLAGE DU RÉTROVISEUR
Régler les rétroviseurs extérieurs au moyen de la commande de réglage de manière à voir non seulement chaque côté de la route derrière le vehicule, mais également chaque côté du vehicule. Ceci permet de很好地 situer la position exacte des objets visibles dans le rétroviseur.
Il vous est possible d'ajuster les rétroviseurs extérieurs vers le haut ou le bas et vers la droite ou la gauche en utilisant l'interrupteur situé sur le panneau de contrôle de la portière du conducteur. La clef de contact doit être en position ON pour vous permettre d'ajuster les rétroviseurs.
- Sélectionner le rétroviseur que vous souhaitez ajuster en utilisant l'interrupteur croite/gauche situé sur la commande de réglage rétroviseur, vers la gauche pour le rétroviseur de gauche ou sur la droite pour le rétroviseur de droite.
- Ajuster le rétroviseur sélectionné vers le haut, vers le bas, vers la gauche ou la droite en utilisant les côtés correspondants sur la commande de réglage du rétroviseur.
RETROVISEUR EXTERIEUR
Le miroir extérieur du côte passager est convexe. Cela signifie que "LES OBJECTS VISIBLES DANS LE RETROVISEUR SONT PLUS PETITS QU'ILS NE PARAISSENT".
Ce rétroviseur élargit l'angle de vision de la route à l'arrête.



ATTENTION
Les rétroviseurs convexes font apparaitre les objets plus petits et plus éloignés que les rétroviseurs plats.
Utiliser le rétroviseur interieur pour déterminer la taille et la distance d'objets visibles dans le rétroviseur l'atéral.
- Disposer en permanence d'une bonne vision vers l'arrière depuis le siège du conducteur.

ATTENTION
Ne pas forcer le retroviseur si de la glace entrave ses mouvements. Utiliser un degivreur, un aerosol ou un ventilateur.

ATTENTION
Régler les rétroviseurs avant de démarrer.
Rétroviseur rabattable
Les rétroviseurs extérieurs peuvent être reliés permettant le passage dans des rues étroites, le lavage de la voiture, etc.

ATTENTION
Une vision réduite augmente le risque d'accident.
- Régler les rétroviseur avant de conduire.
- S'assurer que les miroirs ne sont pas abimés.
Utiliser un gratoir, une bombe ou un ventilateur pour retarder la glace.

ATTENTION
La surface du verre peut etre endomagée.
Ne pas gratter la glace du rétroviseur.

RETROVISEUR INTERIEUR
Le rétroviseur interieur peut-être orienté vers le haut, le bas ou vers les cotés, afin d'obtenir une vision parfaite. Le rétroviseur possède une position jour et une position nuit. Effectuez le réglage avec le levier en position jour.
Déplacez le levier de réglage en position nuit afin de réduire l'éblouissement causé par les phares des vehicules qui vous suivent.

ATTENTION
Disposer en permanence d'uneonne vision vers l'arriere depuis lesiege du conducteur.
- Sélectionner la position jour et régler le rétroviseur pour obtenir la meilleure vision.
- Sélectionner la position nuit pour réduire l'éblouissement.
- Sélectionner la position nuit est susceptible de réduire la clarté de la vision vers l'arrière.
DEFLECTEUR AUTOMATIQUE DE MIRROIR DE RETROVISEUR D'INTERIEUR*
Lorsque le faisceau lumineux est trop haut la nuit, le miroir va passer automatiquement de la position normale a la position antiéblouissement. Le capteur place derrière le miroir détecte automatiquement l'éblouissement produit par les phares de la voiture située derrière vous et le réduire.
- OFF : OFF (Positionnormale)
- AUTO: Anti-éblouissement automatique de nuit
IMPORTANT
Il faut garder à l'esprit que la position nuit réduit la clarté de la vision vers l'arrière.

1-22 AVANT DE CONDUIRE VOTRE VOITURE
IMPORTANT
La fonction anti-éblouissement automatique est utilisable lorsque le contact est mis en position "ON" ou le moteur est en marche.
REGLAGE COULISSANT DES SIEGES AVANT
Pour régler le siège en avant ou en arrrière, tirez et maintenez le levier de réglage du siège vers le haut en déplaçant le siège à la position souhaitée ensuite relâchéz le levier.

DANGER
Ne pas regler la position du siège du conducteur quand la voiture est en mouvement. Vous pourriez perdre le contrôle du vehicule.

DANGER
Une tension trop faible des ceintures de sécurité est susceptible d'en réduire l'efficacité. Regler la position du siège avant d'attacher la ceinture.

DANGER
Des objets mobiles risquent de géné
le mécanisme de couilissement du
siège.
Ne placer aucun objet sous le siège.


REGLAGE DE L'INCLINAISON DES SIEGES AVANT
Se pencher vers l'avant pour relâcher la pression sur le dossier.
Tirez le levier de réglage vers le haut et s'appuyer sur le dossier jusqu'à la position souhaitée.
Puis, relâchéz le levier de réglage pour verrouiller le siège.
DANGER
Le contrôle du vehicule peut etre perdu.
Ne réglez pas votre siège quand vous roulez.
Pour régler le siège avant en hauteur, appuyez sur le bouton de verrouillage et tirez le levier de réglage vers le haut. Puis, en étant assis sur le siège, montez ou baissez le siège à la position souhaitée. (Siège charge).
DANGER
Les occupants du vehicule peuvent glisser en-dessous des ceintures.
- Ne penchez pas trop votre dossier.
Pour une protection maximale, reglez votre dossier le plus droit possible.


1-24 AVANT DE CONDUIRE VOTRE VOITURE
SIEGE CONDUCTEUR CHAUFFANT*
Pour une conduite comfortable, chauffez le siège par temps froid.
Appuyez sur la portion 'HI' ou 'LO' du pousoir pour chauffer dossier et coussin.
Pour arrêté, appuyez à nouveau sur la portion 'HI' ou 'LO'.
ATTENTION
- Ne placez rien de dur ou de lourd sur le siège et ne percz pas le siège avec une épingle ou un objet identique. Cela pourrait endommager le rechauffeur.
Lorsque you nettoyez le siège, n'utilise jamais du benzène, du diluant ou des produits similaires. - La batterie peut se décharger si le rechauffeur fonctionne pendant que le moteur est à l'arrêt.
SUPPORT LOMBAIRE DE SIEGE
Pour régler le support lombaire, rougeze le levier jusqu'à ce qu'à obtention de la position souhaïée.
Bougez le levier vers le bas pour augmenter le support lombaire.
Pour le réduire, levez le levier progressivement vers l'autre position.

IMPORTANT
Voir "Siège conducteur chauffant pour plus d'information.

POCHETTE DE RANGEMENT DERRIERE LE SIEGE AVANT
La pochette de rangement derrière le siège avant sert à ranger les petits objets.
SIEGE ELECTRIQUE (CONDUCTEUR)*
Si vous Musso est équipé de siège électrique, celui-ci peut-être régle par une commande située sur la gauche du siège conducteur.
REGLAGE COULISSANT DU SIEGE CONDUCTEUR*
Pour déplacer le siège en avant ou en arrrière, glissez le bouton de commande vers l'avant ou l'arrière. Faites coulibser le siège électriquement dans la direction souhaïée ensuite relâchez le bouton de commande à la position désirée.



Pour régler le siège en hauteur, rougez le bouton de commande vers le haut ou le bas. Levez ou baissez le siège electriquement vers la position désirée en s'assevant sur le siège. (Siège charge).
REGLAGE DE L'INCLINAISON D'ASSISE DU SIEGE CONDUCTEUR*
Pour ajuster respectivement la partie avant et/ou arrrière du coussin, déplacez l'avant et/ou l'arrière du bouton de commande vers le haut ou vers le bas séparément.
ATTENTION
| • Attention |
| • Vous pourriez perdre le contrôle du vehicule. |
| • Ne pas régler l'inclinaison du dos-sier quand la voiture est en mouvement. |



ATTENTION
- Une utilisation abusive peut dé-charger la batterie.
- Régler la position du siège électrique lorsqu'le moteur est en marche.
- Eviter de commander simultanément plusieurs réglages en même temps, ceci pourrait endommager le moteur électrique. S'assurer de commander le siège électrique dans l'ordre.
REGLAGE DE L'INCLINAISON DU SIÈGE CONDUCTEU*
Se pencher vers l'avant pour relâcher la pression sur le dossier. Tirez le levier de réglage vers le haut.
Appuyer sur le haut du bouton vers l'avant pour ajuster le dossier vers l'avant et appuyer sur le bas du bouton vers l'arrière pour ajuster le dossier vers l'arrière.
APPUIS-TETE
Les appuis-tête sont conçus pour réduire le risque de blessures au cou en cas de collision.
Pour une protection maximale, ajuster l'appui-tete vers le haut ou vers le bas, pour que le haut de l'appui-tete soit aligné avec le haut de vos oreilles. Pour baisser l'appui-tete avant, appuyer sur le bouton de détente situé au-dessus du dossier et pousser sur l'appui-tete.
Pour remonter l'appui-tete avant, le tirer vers le haut sans appuyer sur le bouton de détente.

DANGER
L'enlèvement ou le réglage incor-rect d'appuis-tête peut cause de graves blessures à la tête et au cou en cas de collision.



1-28 AVANT DE CONDUIRE VOTRE VOITURE
Pour enlever l'appui-tete
- Le tirer jusqu'à la position stop
2 Tout en poussant le bouton de détente - Soulever l'appui-tete et l'enlever de la douille de guidage.

DANGER
S'assurer que les appuis-tete sont bien en place et correctement ajustés avant de conduire.
INCLINAISON DES DOSSIERS DE SIEGES ARRIERE
Les dossiers de siege arrêtè sont inclinables séparément pour améliorer le comport des passagers.
Tirez vers le haut le levier de réglage et inclinez le dossier vers la position désirée. Ensuite, relâcher la manette d'ajustement pour bloquer le dossier dans sa position.



Type Deluxe
Le dossier du siècle arrêté de la version de luxe est partagé à 60-40 et les deux parties peuvent être inclinées à part.
Tirez le levier de réglage pour incliner le dossier du siège dans la position désirée. Puis, relâchez le levier pour verrouiller la position du dossier.
L'angle d'inclinaison est toutefois limite.
SIEGES ARRIERE RABATTABLES
Les sièges arrêtè peuvent être rabattus pour accroître le volume du coffre.
DANGER
Pour réduire le risque de blessures, s'assurer que vous et toute autre personne tenez vos mains et tout autre membre complètement à l'écart du compartment du siège arrêté lorsque vous repliez le siège arrêté.
- Relevez les accoudoirs laté iaux.
- S'assurer que le siège est bien droit en tirant en avant sur la manette ①.
- Rabattez le dossier du siège vers l'avant en appuyant sur le bouton ② de déverrouillage sur le dossier.


1-30 AVANT DE CONDUIRE VOTRE VOITURE
-
S'assurer que le siège est bien droit en poussant les manettes ③ de la croite à la gauche.
-
Tirer sur la sangle située au fond du coussin de l'autre côté du siège.
- Assurer le crochet d'attache au crochet sur le sol, à l'arrière de la console.
Musso Sports Deluxe
- Retraction du dossier
Le dossier du siècle arrêté (modèle Musso Sports Deluxe) est fixe ; on ne peut donc pas régler son inclinaison.
- Pour rabattre le siège arrrière, enlever tous les objets dans l'accouvoir central et le rabattre.
- Rabattez le dossier en poussant l'un des leviers sous le siège vers l'arrière du vehicule.



- Rabattez le siege arrière sans forcer.

ATTENTION
Pour éviter tout dommage au siège, ne rien laisser sur le siège rabattu.

Type standard SPORTS
Il dispose d'un dossier fixe. Vous ne pouvez donc pas incliner ni rabattre le dossier de ce siège. Pour régler ou夕阳er les appuis-tête arrière, reportez-vous au paragraphe "Appui-tête" de cette section.



Déplier LE SIÈGE ARRIÈRE
Pour remettre le siège arrêté dans sa position originale:
- Décrocher le crochet de la sangle, du crochet à l'arrière de la console.
- Assurer la sangle dans sa position correcte.
- Baiser le siège, en le laissant tomber d'une hauteur de 20cm.
- Tirer le siège vers le haut et s'assurer que le siège est correctement verrouillé.
- Soulever le dossier du siècle arrêté et le pousser dans sa position originale.
- Attacher le dossier à sa place en poussant sur le haut du dossier.

- Tirer encore une fois le dossier vers l'avant pour s'assurer que le dossier est bien attaché.
- S'assurer que les ceintures de sécurité ne sont pas emmélées ou coincées dans le dossier et sont en position correcte.


DANGER
Pour réduire le risque de blessures, s'assurer que vous et toute autre personne tenez vos mains et tout autre membre complètement à l'écart du département du siège arrêté quand vous dépliez le siège arrêté.


DANGER
S'assurer que les dossiers arrêté et le coussin arrêté sont assurés dans leur position correcte avant de démarrer le vehicule avec des passagers sur le siège arrêté.
Ne pas appuyer sur les boutons de détente pour le siège arrêtant que le vehicule est en mouvement.
Appuyer sur les boutons de détente tant que le vehicule est en mouvement peut entraîner des blessures ou des accidents chez les occupants.

DANGER
- Ne jamais empiler des bagages ou d'autres charges à une hauteur supérieure au dossier des sièges avant.
- Ne pas permettre aux passagers de s'asseoir sur les dossiers de siège rabattus quand le vehicule est en mouvement.
- Des bagages ou des passagers non attachés sur le siège arrière plié risquent d'être projetés à l'intérieur ou ejectés à l'extérieur du vehicule en cas d'arrêt brusque ou d'accident
- Ceci peut entrainer des blessures graves ou la mort.
ACCOUDOIR LATERAUX
Tirez ou poussez l'accoudoir pour le remonter ou le redescendre.
Pour-retirer l'accoudoir, baissez-le et le retirez-le tout en appuyant le bouton latéral de l'accoudoir.
Pour remettre l'accoudoir, insérez la tige de l'accoudoir dans le logement du siège tout en poussant le bouton latéral.

1-34 AVANT DE CONDUIRE VOTRE VOITURE
VIDEO-POCHES EN BOIS\*: (UNIQUEMENT SUR LE MODELE SPORTS)
- Il n'est fourni que dans la version de luxedu type SPORTS. Abaissez l'accoudoir lateral et appuyez sur le levier de fixation du siège arrriere pour l'avancer. Vous pouvez alsiranger des objets dans le plateau pour accessoires supérieur (2) et le vide-poches en bois (1) situés sur le cotoé.
ATTENTION
Ne pas placer d'objets susceptibles de faire du bruit dans le plateau pour accessoires en plastique. Il convient moins pour des magazines, des cartes ou autres accessoires en matièreouple.

ACCOUDOIR CENTRAL*
L'accoudoir central peut etre rabattu et utilise lorsqu'il y a seulement 1 ou 2 passagers à l'arriere.
L'accoudoir central comporte une console de rangement.
Pour ouvrir la console de rangement, tirez sur le bouton de verrouillage en dessous du couvercle.
MUSSO SPORTS
Le siege arrière (dans le modele Musso Sports Deluxe) comporte un accouvoir central.
Cet accouvoir sert également de console et de porte gobelet. Pour l'utiliser, relevez le couvercle.
Le porte gobelet permet de maintainir en place des tasses ou des canettes de boissons. Cependant, quand le vehicule est en mouvement, les liquides risquent de se déverser. N'utilisez donc pas le porte gobelet quand le vehicule est en mouvement.



ATTENTION
- Les éclaboussures de boissons très chaudes peuvent provoquer des brûlures. Ne pas poser de tasses ou de canettes chaudes sur le porte gobelet.
- Ne pas laisser d'objet inflammable ou susceptible de se déformer (par ex. briquet, lunettes, etc.) à l'intérieur, spécialement dans la console de l'accoudir central. S'il fait chaud, ils peuvent explodeer et provoquer un incendie.
PRECAUTIONS RELATIVES AUX CEINTURES DE SECURITE
Pour assurer votre protection et celle des passagers, il est impératif que tous les occuptants du vehicule portent la ceinture de sécurité quand la voiture est en service. La ceinture doit être portée correctement.
Chaque ceinture de sécurité est conçue pour une utilisation par une seule personne à la fois. Elles ne conviennent pas aux enfants de moins de six ans. Des sièges et des coussins réhauserseurs adaptés aux enfants doivent être installés à leur intention.

DANGER
Les occupants peuvent subir des séries blessures en cas de collision ou de manœuvres brusques.
- Porter la ceinture de sécurité en toutes circonstances que l'on soit conducteur ou passager.
- La ceinture de sécurité ne doit être utilisée que par une personne à la fois.
- Ne pas porter la ceinture au-dessus d'objets durs ou fragiles placés dans les poches ou sur les vêtements.

ATTENTION
Une mauvaise utilisation peut provoquer des blessures plus graves.
- Ne pas modifier la ceinture de sécurité.
- Ne pas ajouter de dispositif de réglage réduisant le jeu de la ceinture.

ATTENTION
Une ceinture endommagée peut provoquer des blessures graves.
- Réparer ou replacer immédiatement une ceinture endommagée
- Ne jamais laisser une porte ou un siège déterminer un système de ceinture de sécurité..
Utilisation des ceintures de sécurité
Pour réduire le risque de blessure corporelle lors de collisions ou de manoeuvres brusques, utiliser les ceintures conformément aux instructions relatives à leur bon usage, à leur entretien et à l'utilisation avec des systèmes de retenue pour enfants.

DANGER
Une ceinture de sécurité mal portée peut provoquer des blessures graves ou la mort.
- Régler la ceinture aussi fermement que possible.
- Placer le dossier du siècle aussi verticalément que possible pour vous.
- Ne pas incliner le dossier vers l'arrière quand le vehicule est en mouvement.
- Ne jamais porter la ceinture avec une sangle vrillée.
- Ne jamais porter la sangle thoracique sous votre bras.
- La sangle thoracique doit être placée au centre de la clavicule (ja mais sur le cou).
- La sangle abdominale doit être ajustée comfortsantement autour des hanches, non sur la taille.

DANGER
Une sangle abdominale place trop haut et une sangle thoracique trop lâche peuvent augmenter le risque de blessure ou de mort provoquee par le fait que l'occupant de la voiture a glissé sous la ceinture lors d'un accident.

ATTENTION
Une mauvaise utilisation de la ceinture peut provoquer des blessures plus graves.
- Le bouton d'ouverture du verrou de la boucle doit être place face vers le haut.
- Insérer la boucle dans le verrou correspondant.
- Ne rien placer dans l'ouverture par laquelle la ceinture de sécurité passée à travers le panneau d'habillage.
IMPORTANT
Si la ceinture se bloque lorsqu'on tire dessus, il faut la rembobiner complètement dans l'enrouleur et tirer à nouveau jusqu'à la longueur désirée.
Entretien des ceintures de sécurité
Veillez à ce que les ceintures soient toujours propres et sèches. Evitez également que les sangles ne soient souillées par de la cire, des huiles ou des produits chimiques, en particulier, de l'acid de batterie.
On peut nettoyer la ceinture en toute sécurité à l'eau et au savon doux.
Il ne faut ni teindre, ni déteindre les ceintures, car ces traitements sont susceptibles de les affaibrir considérablement. S'assurer que la ceinture n'est pas endommagée ou coincée par des objets aux arêtes vives.
Inspectez régulierement tous les éléments des ceintures et faites replacer les pieces endommagées. Une ceinture qui a subi une extension extrème lors d'un accident doit être remplaçée par une nouvelle.
Ssangyong recommende le remplacement de toutes les parties des ceintures de sécurité qui ont eté sollicitées lors d'une collision. Le remplacement n'est pas nécessaire après une collision sans gravité si le concessionnaire Ssangyong ou l'atelier/agree Ssangyong estime qu'elles n'ont subi aucun dommage et que tous leurs éléments sont en parfait étát de marche.
Les ceintures et leurs composants qui n'était pas utilisés au moment de l'accident doivent également être inspectés et remplacés s'iltsprésentent des signes de dommages ou de fonctionnement défectueux.

ATTENTION
Des ceintures endommagées peuvent provoquer des blessures plus graves.
- Inspectorégrulierement les dispositifs des ceintures.
- Contrôler les ceintures, les préten-sionneurs et les autres composants des ceintures après chaque collision.
- Remplacer les ceintures si les sangles s'effilochent, sont souillées ou se détiennent d'une quelconque manière.
- Remplacer l'ensemble du système de ceinture de sécurité après un impact violent même si chaque dommage n'est apparent.

ATTENTION
Une ceinture de sécurité inadaptee peut provoquer des blessures plus graves.
Ne pas modifier les ceintures de sécurité.
Femmes enceintes
Il est recommandé aux femmes enceintes demettre la ceinture de sécurité. Prenez contact avec votre medecin pour des recommandations plus précises.

DANGER
Il existe un risque de blessure pour les femmes enceintes et leur bébé à naître.
- Si possible, utiliser la sangle thoracique (consulter votre médecin).
- La sangle abdominale doit se porter aussi bas que possible tout au long de la grossesse.
CEINTURE POUR ENFANT
Il faut toujours se servir d'un dispositif approprié de retenue pour infant quand on transporte des nourrissons ou des enfants de petite taille. Le système de retenue pour infant doit être approprié au poids et à la taille de l'enfant et s'adapter correctement au siège de la voiture.
Les statistiques d'accidents montrent que les enfants sont plus en sécurité quand ils sont correctement attachés sur le siège arrière只不过 que sur le siège avant.
DANGER
- Les nourrissons et les enfants de petite talle doivent toujours être arrimés au moyen d'un dispositif de retenue pour bébé ou pour enfant.
- NEJAMAIS INSTALLER UN DISPOSITIF DE RETENUE POUR ENFANT ORIENTÉ VERS L'ARRÊRE SUR UN SIÈGE AVANT AVEC AIRBAG PASSAGER AVANT.
- Un enfant place dans un dispositif de retenue orienté vers l'arrière attaché sur un siège avant risque d'être grièvement blessé si l'airbag passager avant se déploie. Fixer un dispositif de retenue orienté vers l'arrière sur le siège arrière.
- Un dispositif de retenue orienté vers l'avant doit être fixé à l'arrière chaque fois que cela est possible. Si le siège est installé sur le siège passager avant, ajuster le siège le plus vers l'arrière possible.
DANGER
- Ne pas permettre à un enfant de séjourner dans le compartment à bagages lorsque le vehicule est en mouvement.
- Quand il n'est pas utilisé, laisser le dispositif de retenue pour infant attaché au moyen d'une ceinture de sécurité ou le retirer du vehicule.
- Lorsqu'on installe un dispositif de retenue pour enfant, suivre les instructions fournies par le fabricant.
- Ne pas laisser les enfants dans les bras d'un passager lorsqu'il voyage dans le vehicule.
- Ne jamais laisser un enfant se mettre debout ou à genoux sur un siège.
(Suite)
DANGER
(Suite)
- Les enfants qui sont devenus trop grands pour les dispositifs de retenue pour enfants doivent s'asseoir sur le siège arrière et être attachés au moyen de la ceinture de sécurité. Si la sangle thoracique se situe à hauteur du visage ou du cou de l'enfant, déplacer celui-ci plus pres du centre du vehicule, légersement à l'intérieur par rapport à la sangle thoracique, ou bien déplacer l'enfant dans une position sans sangle thoracique, si possible.

CEINTURE A TROIS POINTS
Tous les vehicules Ssangyong sont équipés de ceintures (sauf dans le siège central arrrière) à trois points avec enrouleur automatique offrant une liberté de mouvement pendant la conduite même à des vitesses constantes bien que les ceintures à tension par dessort soient toujours bien ajustées.
La ceinture possède un “enrouleur sensible au vehicule” concu pour se verrouiller en cas d'accelération ou de décalération brute.
Ne pas essayer de tester le dispositif de verrouillage en projetant délibérément le torse en avant.
Ce type de ceinture ne nécessite aucun réglage de la longueur.
Une fois enclenchée, la ceinture s'ajuste d'elle-même aux mouvements de celui qui la porte. Mais, en cas de chocol brusque ou violent, la ceinture se bloque automatiquement afin de retenir le corps de l'occupant du siège.

DANGER
"Aucune modification ou addition susceptible d'entraver le fonctionnement des systèmes de réglage des ceintures de sécurité pour leur relâchement ou d'empêcher le réglage de l'ensemble de la ceinture de sécurité pour la relâcher ne peut être effectuee par I'utilisateur."

DANGER
- Les ceintures de sécurité sont censées être supportées par la colonne vertébrale et devraient être placées bas en diagonale sur les épaules, le thorax et sous l'estomac, selon les cas; éviter de porter la partie inférieure de la ceinture sur la zone abdominale.
(Suite)

DANGER
(Suite)
- Il convient de régler aussi solidement que possible les ceintures de sécurité, sans nuire au comport, afin de bénéficier de la protection que leur conception apporte. Une ceinture relachée réduit considérablement le degré de protection fourni à son utilisateur.
- Il est important de veiller à ne pas contaminer le baudrier de la ceinture avec des vernis, des huiles et des produits chimiques et en particulier avec l'acid de les piles. Le nettoyage peut s'effectuer sans danger avec de l'eau et un savon délicat. En cas d'effilochement, de contamination ou d'endommagement du baudrier, le replacer.

DANGER
- Il est essentiel de replacer tout l'assemblage de la ceinture porté au cours d'une grave collision, même s'il ne présente aucun dommage apparent.
- Ne jamais porter les ceintures dont les sangles sont entortillées.
- Chaque ensemble de ceinture de sécurité ne doit être utilisé que par une seule personne : il est dangereux de placer une ceinture autour d'un enfant assis sur les genoux de l'utilisateur.
Utilisation de la ceinture
Déroulez régulièrement la ceinture hors de l'enrouleur et la guider le long du corps en s'assurant qu'elle n'est pas vrillée.
Insérez la boucle dans le verrou.
IMPORTANT
Si la ceinture se bloque lorsqu'on tire dessus, il faut la rembobiner complètement dans l'enrouleur et tirer à nouveau jusqu'à la longueur désirée.
Pour-retirer la ceinture,appuyez sur le bouton-poussoir placed sur le verroude la boucle. La ceinture va s'enrouler automatiquement.

DANGER
Une mauvaise utilisation de la ceinture de sécurité peut entrainer des blessures.
- Ne jamais porter la sangle thoracique sous votre bras.
- La sangle thoracique doit passer au centre de la clavicule (jamais sur le cou).
- La sangle abdominale doit être ajustée comfortsantement autour des hanches, non sur la taille.


CEINTURE ABDOMINALE
Une ceinture abdominale est installée au centre de la banquette arrête.
Introduisez la boucle dans le verrou jusqu'à ce qu'il se verrouille.
Pour allonger la ceinture, tenez la boucle à angle droit par rapport à la sangle et tirez sur celle-ci.
Pour raccourcir la ceinture, tirez sur l'extrémité libre de la sangle hors de la boucle, tirez ensuite sur l'agrafe de la ceinture afin de supprimer le jeu.
Placez la ceinture en positionasse sur les hanches.
Pour retirer la ceinture, appuyez sur le bouton rouge du verrou de la boucle.
La boucle et le verrou de la ceinture abdominale centrale sont identifiés par la marque "CENTER".
Contrôlez la présence de cette marque avant de boucler la ceinture centrale.
La boucle de la ceinture centrale ne peut etre inseree que dans le verrou de cette meme ceinture.

DANGER
Une mauvaise utilisation de la ceinture de sécurité peut provoquer des blessures graves.
- Ne jamais porter la ceinture abdominale en travers de l'abdomen.
- La ceinture abdominale doit être ajustée comfortsablement autour des hanches, non sur la taille.



ATTENTION
Une ceinture de sécurité endommagée ou mal bouclée peut entrainer des blessures graves.
Ne pas essayer d'introduire de force une boucle dans un verrou qui ne lui correspond pas.
IMPORTANT
Lorsqu'on boucle les ceintures à trois points ou la ceinture abdominale à l'arrière, s'assurer que la boucle est insérée dans le verrou approprié afin que la ceinture de sécurité vous fournisse une protection maximale.

Le réglage de la ceinture en hauteur est disponible sur les sièges avant et permet le réglage de l'enrouleur à différentes positions.
Tirez sur le bouton de réglage de l'enrouleur et glissez-le vers le haut ou vers le bas pour obtenir la position correcte.
Ce réglage est particulièrement important si une personne de plus petite taille a préalablement abaisse la ceinture. Une position trop haute peut également nuire au comport.


DANGER
Une ceinture mal portée peut provoquer des blessures graves.
- Régler la hauteur de la ceinture avant de conduire.
S'assurer que I'ancrage est bien verwrouillé. - Les ceintures de sécurité doivent passer au milieu du corps, pardessus l'épaule, jamais en travers du cou.

ATTENTION
Ne pas regler la hauteur de la ceinture de sécurité du conducteur en conduisant. Vous pourriez perdre le contrôle du vehicule.
AIR BAG*
Le système de retenu supplémentaire à coussin gonflable (SRS) apporte une protection supplémentaire au conducteur contre les blessures en cas de collision frontale.
Le système airbag se déclenché lors d'une collision frontale importante.
Le gonflement de l'airbag s'accompagne d'un bruit de déclenchement et d'une petite quantité de fumée. Le gaz ainsi dégagé est inoffensif et ne signifie pas qu'il y ai le feu. Aucun système de sécurité ne peut assurer une protection totale en cas d'accident grave.
En se basant uniquement sur les dégats subis par un vehicule après un accident, il est très difficile de déterminer si l'airbag aurait d'se gonfler ou non. Dans certains cas où l'airbag n'a pas fonctionné, même avec l'apparance de dégats considérables, ont démontré que le vehicule avait absorbé une grande partie de l'énergie du chic et que l'intervention de l'airbag n'était donc pas nécessaire. Dans d'autres cas, un cahot violent, par exemple, un impact contre le train du vehicule peut entraîner le gonflement de l'airbag sans causeur de dégats importants au châssis.

DANGER
Porter la ceinture de sécurité en toutes circonstances même si vous Ssangyong est équipée d'airbag. Un occupant pourrait être blessé.
Le système d'airbag est un complément à la ceinture de sécurité.

DANGER
Altereer des pièces peut entraîner des blessures.
- Ne pas modifier les pieces originales.


ATTENTION
Une manipulation par des personnes non autorisées peut se révêler dangereuse et entraîner des blessures.
- Le système d'airbag ne peut être déposé que par un Concessionnaire Sgangyong.
- Le système airbag ne doit être remplace que par le concessionnaire Ssangyong.

ATTENTION
La protection des occupants pourrait s'en couver réduite.
- Ne rien coller sur le volant ou sur le tableau de bord.
- Ne pas couvrir le volant ou le tableau de bord d'une autre matière.

ATTENTION
Dans les circonstances suivantes, I'airbag ne sera pas activé.
- impacts par l'arrête
- impacts lateraux
- tonneaux
- collisions frontales sans gravit
L'airbag Conducteur*
L'airbag conducteur est logé dans le rembourse central du volant. Il s'agit d'une poche qui se gonfle dans la fraction de seconde consécutive à l'impact et forme un coussin de protection qui retient le conducteur. Dès que l'airbag est complètement gonfle, il se dégonfle aussi vite afin de ne pas:gérer la visibilité du conducteur, ni ses possibilités de diriger le vehicule et de se servir des commandes du vehicule.

L'airbag se gonfle avec une force et à une vitesse considérables. De ce fait et pour que le dispositif remplisse efficacement sa fonction, il importe que le siège et le dossier du conducteur soient correctement régés. Le siège du conducteur doit être régle de manière telle qu'il puisse atteindre le volant avec les bras légersement pliers.

ATTENTION
Des réparations effectuees par des personnes non compétentes peuvent causer des blessures.
Les réparations au volant, à la colonne de direction et à l'airbag ne doivent être réalisées que par un Concessionnaire Ssangyong.

DANGER
L'airbag n'est donc que pour les vehicules équipés en première monte. Toute modification affectera le fonctionnement et les performances du système et peut cause des blessures corporelles.

DANGER
Les enfants risquent d'être grièvement blessés lorsque l'airbag se déploie en cas de collision.
- NE JAMAIS INSTALLER UN DISPOSITIF DE RETENUE ORIENTÉ VERS L'ARRÊRE SUR LE SIÈGE AVANT.
Un dispositif de retenue infant orienté vers l'arrière risque d'être heurté lorsque l'airbag du siège passager avant se déploie. Toujours positionner un dispositif orienté vers l'arrière sur le siège arrêté.
(Suite)

DANGER
(Suite)
- Un dispositif de retenue orienté vers l'avant doit être fixé à l'arrière chaque fois que cela est possible. Si le siège est installé sur le siège passager, ajuster le siège le plus vers l'arrière possible.
- Les enfants qui ont dépasse la taille permise pour s'asseoir dans le dispositif de retenue doivent s'asseoir sur le siège arrêté et être attachés par une ceinture de sécurité.

ATTENTION
Des réparations effectuees par des personnes non compétentes peuvent causer des blessures.
Les réparations au tableau de bord ne doivent être réalisées que par un concessionnaire Ssangyong.

DANGER
L'utilisation des ceintures de sécurité est recommendée a chaque fois.
I'airbag ne se déclenchera pas systématique dans tous les cas d'accident.
Le système d'airbag est concu pour protégger seulement la tête et le visage du conducteur. Ceci n'est pas un airbag intégral et ne protégera donc pas les autres parties du corps.
Ne pas utiliser de ceinture de sécurité peut accroître le risque de blessures corporelles plus graves au conducteur.

ATTENTION
Les composants du système airbag, en particulier le centre du volant sera-trentschaud après le déploiement, ne pas toucher.
MESSAGE D'AVERTISSEMENT AIRBAG
Ce message ne doit pas etre retire, car d'autres conducteurs de Musso doivent etegalement prendre connaissance de ces avertissements.
De plus, d'autres averissements ont eté placés à l'intérieur du panneau du volant, du compartmentement moteur, et sur les câbles de batterie. Ils ne doivent en aucun cas être rétrés.
Sur le pare-soleil

DANGER
Rabatte le pare-soleil et dire le message d'ajvertissement airbag (SRS) sur le ciel de toit.
Sur le ciel de toit

DANGER
- Ce vehicule est équipé d'airbag conducteur. L'airbag est un système de retenu supplémentaire à la ceinture de sécurité. La ceinture de sécurité doit toujours être portée.
- Cet airbag doit être remplaced par un concessionnaire agréé. (Le module d'airbag doit être remplaced après dix ans d'utilisation à partir de la date de livraison)
-
La lampe témoin du système SRS s'allume à chaque fois que l'on met le contact sur la position "ON" puis s'éteindre après 6 secondes environ. Cet auto diagnostique indique que l'airbag est opérationnel. Voir le manuel d'atelier dans les cas suivants :
-
La lampe tímoin airbag (SRS) ne s'allume pas du tout.
-La lampe temoin airbag (SRS)重整continuèlement allumée.
-La lampe temoin airbag (SRS) clignote.
A l'intérieur du panneau du volant
DANGER
Lire les instructions dans le manuel d'atelier avant de déposer le volant. Les roues avant doivent être positionnées en ligne droite et la bobine de contact SRS doit être alignée sur les repères d'alignement en position neutr. Toute dépose ou pose mal effectué peut endommager les composants SRS.
COMMANDE D'OUVERTURE DE LA PORTE DU RESERVOIR A CARBURANT
L'orifice de replissage du réservoir se trouve sur le panneau de l'aile arrête gauche du vehicle.
La commande pour ouvrir la portedu réservoir à carburant est située à gauche, sous le siège conducteur.
Pour faire le plein.
- Arretez le moteur
-
Ouvrez la porte du compartment du goulot de replissage en tirant sur le levier d'ouverture.
-
Ouvrez le bouchon du goulot de remp-lissage en tournant dans le sens contraire des aiguilles d'une montre.
- ÀpRES avoir fait le plein, revissez le bouchon du goulot de replissage en tournant dans le sens des aiguilles d'une montre et fermez la portedu compartment du goulot de replissage en la poussant jusqu'à ce qu'elle severrouille.



DANGER
La vapeur d'essence peut etre dangereuse lors d'un replissage.
Cela brûle violemment et peut entrainer de très graves blessures.
- Eteindre le moteur
- Ne pas fumer
- Pas de flamme neue
- Ne pas provoquer d'étincelle

DANGER
Le carburant peut être sous pression
- Dévisser le bouchon du goulot de replissage lentement.
- Attendre que le sifflement s'achève.
- Dévisser le bouchon complètement.

ATTENTION
Le moteur et le système d'échéppement seront endommages.
S'assurer d'utiliser les carburants adaptés au vehicule.

ATTENTION
L'essence endommage la peinture. Si de l'essence se repand sur la peinture, lavez immEDIatement à l'eau froide.
IMPORTANT
Par temps froid, il peut arriver que la porte du compartment du goulot de replissage ne s'ouvre pas.
Appuyez ou tapotecz légèrement sur la porte pour l'ouvrir.
CAPOT
- Pour ouvrir le capot, tirez sur la poignée d'ouverture située du côte gauche du tableau de bord de manière à le déverrouiller.
Le capot est déverrouillé et s'ouvre partiellement.

1-50 AVANT DE CONDUIRE VOTRE VOITURE
-
Poussez le levier de la serrure de sécurité situé à côté de la calandre dans le sens de la flèche et soulevez le capot du moteur.
-
Pourmaintenirlecapotouvert,inserez le support dans l'encoche.
-
Avant de referrer le capot, appuyez fermement la béquille dans le clip pour éviter les bruits de cliquettement.
- Pour fermer, baissez le capot et laisserze le tomber d'une hauteur d'environ trente centimétres. Assurez vous qu'il soit bien fermé en appuyant sur l'avant de celui-ci.



DANGER
Lorsque le capot est ouvert et le moteur allumé, les parties mobiles se trouvent exposées et risquent de briser, de couper ou d'emmelier ce qui se trouve à leur contact.
- Ne pas porter de vêtements amples.
Garder les mains et les cheveux à l'écart de toutes les parties mobiles.
DANGER
L'ouverture du capot lorsque le vehicule est en mouvement peut obstruer la vision vers l'avant et provoquer ainsi un accident.
- S'assurer que le capot est bien verrouillé en tirant sur sa partie antérieure avant de démarrer.
- Ne pas actionner la poignée d'ouverture quand le vehicule est en mouvement.
- Ne pas déplacer le vehicule avec le capot ouvert.
DANGER
Il existe toujours un risque que le vehicule se mette en mouvement alors que le capot est ouvert.
Avant de tirer sur la poignée d'ouverture du capot:
- Retirer la cef de contact.
- Placer le levier de changement de vitesses des vehicules à transmission manuelle en première ou en marche arrière.
- Placer le sélecteur de vitesses des voitures à transmission automatique en position "P" (Parking).
- Tirer le frein à main à fond.
DANGER
S'il est indispensable d'effectuer un contrôle sous le capot quand le meur est en marche;
- Placer le levier de changement de vitesses des voitures à transmission manuelle au point mort.
- Placer le sélecteur de vitesses des voitures à transmission automatique en position "P"(Parking).
- Tirer le frein à main à fond.
- Ne pas porter de cravate, de mouchoirs ou d'autres vêtements de ce type.
- Ne pas porter de vêtements amples.
Garder les mains et les cheveux àonne distance des pieces en mouvement.
GALERIE*
Sur certains marchés, le vehicule vient fourni avec une galerie pour transporter les bicyclettes, les skis, etc., ainsi qu'avac les outils appropriés pour l'installation de celleci; ailleurs, ceux-ci sont disponibles chez voitre magasin Ssangyong.
S'assurer que la charge est répartie également sur la galerie ou sur les montants. La surface du toit ne doit pas porter de charge.
Consultez votre magasin Ssangyong pour les détails et la reglementation en vigueur pour la conduite avec une remorque et/ou galerie chargée

DANGER
Avec une galerie chargée, le centre de gravité de la voiture est déplaced; redoubler d'attention en cas de vents latéraux et ne pas conduire à grande vitesse.
COUVERTURE BAGAGES*
Quand vous déroulez la couverture bagages
Tirer la poignée de la couverture bagages au centre, et la faire entrer dans les rainures sur les côtes gauche et droit des panneaux interieurs d'habillage.
Quand you enroulez la couverture à bagages
Sortir la couverture à bagages des rainures en tirant sur la poignée et en relachant légèrement la prise afin de laisser s'enrouler la couverture à bagages.

Lorsque you enlevez la couverture bagages
Après avoir retire le coins de la couverture bagages à l'arrière du siècle arrière, enlever l'ensemble couverture à bagages en la soulevant et en la retardant des rainures des montants de fixation.
IMPORTANT
Stocker la couverture à bagages à l'écart afin d'utiliser tout l'espace de rangement à bagages du vehicule.

ATTENTION
Ne rien poser sur la couverture à bagages.

2
DEMARRAGE ET FONCTIONNEMENT


CARBURANT RECOMMANDE
Les carburants de qualité disponibles dans le commerce sont parfaitement adaptés. La qualité du carburant est d'une importance cruciale pour les performances du vehicule, son comportement de conduite et la longévité du moteur. Les additifs Presents dans le carburant jouent également un role important. Il ne faut donc utiliser que des carburants de qualité supérieure contenant des additifs.
Moteur Diesel
Utiliser du carburant diesel contenant un indice de cétane de 50 ou plus.
Moteur à essence
Les carburants représentant un indice d'octane trop faible peuvent provoquer un phénomène de cliquetis (détonation). Ssangyong ne peut être tenu responsable des dommages qui pourrait en résultat.
ATTENTION
Pour régler l'indice d'octane à laonne valeur, ou l'utilisation d'autre carburant, consultez votre concessionnaire Ssangyong.
ATTENTION
Ne pas utiliser d'essence plombée pour un vehicule concu pour de l'essence sans plomb.
- Le moteur et le système d'échévement seront endommages.
Utiliser le carburant spécifique ou un indice d'Octane supérieur à celui recommendé par Ssangyong dans votre pays.
L'utilisation d'un carburant non approprié n'est pas couverte par la garantie.
Ne pas utiliser de methanol
Ne pas utiliser des carburants contenant du methanol (alcool de bois) dans votre Ssangyong. Ce type de carburant est susceptible de réduire les performances du vehicule et d'endommager les composants du système d'alimentation.
IMPORTANT
La garantie ne couvre pas les dégats au système d'alimentation, ni les baisses de performance, consécutifs à l'utilisation de méthanol ou de carburants contenant du méthanol.
Fonctionnement dans des pays étrangers
Si vous envisagez d'utiliser votre Ssangyong dans un autre pays assurez-vous que:
- vous vous conformez aux réglementations en matière d'immatriculation et d'assurance.
- un carburant adapté est disponible.
Remplissage du vehicule à partir de bidons ou de réservoirs
Pour des raisons de sécurité (en particulier lors de l'utilisation de systèmes de ravitationlment en carburants non commerciaux), les citernes de stockage, les pompes et tuyaux de replissage de carburant doivent être correctement raccordés à la mise à terre. Une accumulation d'électricité statique peut être engendree dans certaines conditions atmosphériques par I'ecoulement de carburant dans les conduites, particulièrement les conduites plastifiées et provoquer une explosion.
C'est pourquoit il est recommendé d'utiliser des pompes mises à la terre avec des tuyaux intégralement mis à la terre et de mettre correctement à la terre les recipients de stockage pendant toute opération commerciale d'avitationnement.
CONTACT
La serrure de contact située sur la partie droite de la colonne de direction presente les quatre positions suivantes: LOCK, ACC, ON et START.
LOCK
Pour bloquer le volant, retirez la clef et tournez le volant jusqu'à ce qu'on entende le verrou s'engager. Pour faciliter la manipulation de la clef lors du déverrouillage, tournez doucement le volant de la droite vers la gauche, et tournez la clef en position "ACC".

IMPORTANT
Pour tournier la cléf de la position "ACC" à la position "LOCK", il faut l'enforcer dans la serrure.
ACC
Cette position permet d'arrête le moteur sans bloquer le volant.
Dans cette position, il est possible d'utiliser certains accessoires électriques, notamment la radio et l'allume-cigare.

ATTENTION
Ne pas laisser la cléf en position "ACC". La batterie pourrait se décharger.
2-4 DEMARRAGE ET FONCTIONNEMENT
ON
Le contact est mis et les composants électriques activés.

ATTENTION
Ne pas laisser la clef en position "ON" trop longtemps sans faire tourner le moteur.
La batterie pourrait se décharger.
START
Cette position active le démarreur et met en marche le moteur.
Relâchez la clefès que le moteur démarre.
Elereviendra d'elle-même en position "ON".

DANGER
Ne jamais retirer, ni tourner la clef en roulant.
- Si la clef est retiree, le volant de direction va se bloquer et entrainer la perte du contrôle du vehicule.
- Elle peutès lors provoquer des dégats sérieux au vehicule et des blessures corporelles graves.

DANGER
Ne jamais essayer d'atteindre la cléf de contact en passant le bras à travers le volant.
Le volant peut tournier brusquement.
ALARME RAPPEL CLEFS
L'alarme sonne pour vous rappeler d'enlever votre clef si la porte du conducteur est ouverte avec la clef en position LOCK ou ON.
AVANT DE DEMARRER LE MOTEUR
Assurez you que la zone autour de la voiture est dégagée.
- Les paramètres d'entretien énumérés dans ce manuel doivent être contrôls régulièrement, par exemple, à chaque vérification de l'huile du moteur.
- Vérifiez que les vitres et les phares sont propres.
- Inspectez visuèlement l'apparce et l'état des pneus. Contrôler également la pression des pneus.
- Réglez la position du siège et des appuis-tête.
- Réglez les rétroviseurs interieur et extérieur.
- Portez la ceinture de sécurité et demandez à tous les passagers de faire de même.
- Contrôlez le fonctionnement des témoins lumineux lorsque la clef est tournée en position "ON".
DEMARRER LE MOTEUR
- Serrer le frein à main.
- Transmission manuelle:
Déplacer le levier de vitesses en position point mort et enforcer la pédale d'embrayage jusqu'àu plancher pendant le lancement du moteur.
Transmission automatique*:
Déplacez le sélecteur en position "P" (Stationnement).
Le démarre est donc pour ne pas fonctionner si le sélecteur de vitesses se trouve dans une des positions de conduite.

Modèle à moteur diesel :
Le témoin de préchauffage va s'allumer ensuite s'éteindre lorsque les bougies de préchauffage sont suffisamment chaudes pour permettre le démarrage à froid.
Dès que le témoin de préchauffage s'éteint, démarrez le moteur.
- Lancez le moteur sans toucher la pédale d'accéléateur en tournant la cléf de contact en position "START".
Relâchez la clef quand le moteur démarre. Si le moteur démarre, mais s'arrête de tourner, recommencez la procédure ci-dessus.


DANGER
Pour prévenir les problèmes de démarrage du moteur;
- Ne pas actionner le démarreur pendant plus de 15 secondes d'affilée.
- Si le moteur ne démarre pas, attende dix secondes avant de redémarrer.
IMPORTANT
Sur les vehicules équipés d'une transition automatique, le carburant est coupé automatiquement lorsque le moteur tourne à un régime élevé avec levier en position "P" (Parking) et "N" (Neutre).
- Chauffe
Laissez le moteur tourner pendant au moins 30 secondes avant de démarrer. Commencez par rouler à vitesse modérée sur une courte distance, en particulier par temps froid.

ATTENTION
Une température excessive peut endommager le système d'échévement. Ne pas rouler en roue libre à grande vitesse pendant plus de 5 minutes.
SYSTEME D'IMMOBILISATION*
Le système d'immobilisation constitue une dissuasion supplémentaire pour le vehicule sur lequel il est installé, en empêchant son démarrage par des personnes non habilitées.
Quand la clef de contact avec transpondeur intégré est tournée en position ON, ECU (Unité de Contrôle Moteur) vérifie le cryptocode de la clef et, si celui-ci est correct, permet de mettre en marche le moteur de votre Musso.
Si vous ne pouvez pasmettrele moteur en marche,faites contrcler le système par votre concessionnaire Ssangyong.
La clef destinée au vehicule doté du système d'immobilisation Ssangyong est une clef de contact mécanique avec un transpondeur intégré, lequel comporte un codelectronique. Ce transpondeur situé sur la clé est indécelable.
Seules les clefs valides correspondant au code peuvent démarrer le moteur.
Le système d'immobilisation isole le système de contrôle injection de carburant dans l'ECU (Unité de Contrôle Electrique) en cas d'utilisation de clefs invalides.
CONDUIRE AVEC UNE TRANSMISSION MANUELLE
Pour changer de vitesse, enforcez complètement la pédale d'embrayage, déplacez ensuite le levier de changement de vitesse ensuite relâché z lentement la pédale d'embrayage.

ATTENTION
Le passage en marche arrière lorsque le vehicule se déplace vers l'avant, risque d'endommager la transmission.
Arreter le vehicule complètement avant de passer en marche arrière.

ATTENTION
Pour éviter d'endommager l'embrayage, s'abstenir de maintainir le pied sur la pédale d'embrayage pendant la conduite.

ATTENTION
Ne jamais rouler sans rapport engage et ne pas descendre une pente en roue libre.
CONDUIRE AVEC UNE TRANSMISSION AUTOMATIQUE*
La boîte automatique du Musso est une boîte à quatre vitesses et une marche arrrière. Le rapport sélectionné est indiqué sur le côté gauche du sélecteur de vitesses.



DANGER
Le vehicule pourrait se déplacer de manière inopinée au moment du changement de vitesse. On risque alors de perdre le contrôle du vehicule et de heurter des personnes ou des obstacles.
Appuyez toujours fermement sur la pédale de frein lorsqu'on passé de la position "P"(Stationnement) ou "N" (Neutre) à une position avant ou arrêté.

ATTENTION
Toujours utiliser le frein à main..
Ne pas compter sur la position “P” pour immobiliser le vehicule.

DANGER
Afin d'eviter des dommages à la boite de vitesses ;
- Ne pas accélérer pendant le passage de vitesse de la position "P" ou "N" vers "R", "D", "3", "2", ou "1". Appuyer toujours sur la pédale de frein jusqu'à ce que le passage de vitesse soit terminé.
- Ne jamais passer en position "P (Parking)" ou "R (Marche arrêt)" lorsque le vehicule est en marche. Passer en position "P" ou "R" seulement après l'arrêt complet du vehicule.
- Lorsque vous arrêtez le vehicule en pente, ne pas maintainir le vehicule en accélérant. Utiliser le frein à pied dans ce cas.
- Pour conduire dans une courbe, sélectionner la position "3", "2" ou "1" suivant les conditions de route.
Démarrer la voiture
- Àprous le démarrage du moteur, appuyez à fond sur la pédale de frein avant de déplacer le levier du sélecteur en position “D”, “R”, “3”, “2” ou “1”. Assurez-vous que le vehicule est complètement immobilisé avant de déplacer le levier du sélecteur en position “R” ou “P”.
- Gardez la pédale de frein enforcée et déplacez le sélecteur en position de conduite.
- Relâchéz le frein de stationnement et le frein à pied. Appuyez lentement sur la pédale de l'accélérateur. Le vehicule se mettra progressivement en mouvement.
Positions du levier du selecteur P, R et N
P= Stationnement, avec roues avant bloquées. A n'utiliser que si le vehicule est à l'arrêt avec le frein à main serré.
R = Marche arrrière. A n'utiliser que si le vehicule est à l'arrêt.
N = Point mort.

DANGER
Votre vehicule sans surveillance avec le moteur tournant, peut se déplacer de manière inopinée.
- Coupe le moteur, tirez le frein à main et retirez la clé de contact en quittant le vehicule.
- N'utilise pas la position “P” (Parking) en guise de frein à main.
- Ne laissez jamais le vehicule sans surveillance quand le moteur tourne.
IMPORTANT
L'essence est coupée automatique lorsque le moteur tourne à régime élevé avec le levier de seLECTION en position "P" (Parking) ou "N" (Neutre).
Rapport D
D=Position pour conditions de conduite normales de la première à la quatrième vitesse.
Quatrième vitesse (vitesse surmultiplée) réduit le régime du moteur, la consommation de carburant et le niveau du bruit moteur.
Après le démarriage du moteur et la sélection de “D”, le programme de conduite économique est toujours opérationnel.
Rapport 3
3 = Position pour conditions de conduite en première, deuxieme et troisieme vitesse.
Quelque exemples ou vous pouvez selectionner 3 au lieu de D.
- En cas de conduite prolongée sur routes valonnées
- Dans les embouteillages
- Dans les fortes descentes
Plage de conduite 2
2 = la position conduite empêche la transmission de passer en 3ème ou 4ème vitesse.
Selectionnez la gamme de vitesse 2 pour avoir plus de puissance dans les montées, pour utiliser le frein moteur dans les fortes descentes ou pour démarrer suroutes glissantes.
Plage de conduite 1
1 = position conduite pour un effet freinage maximum, par ex. lorsque vous descendez de fortes pentes; la transmission ne passé pas au-delà de la première vitesse.
SELECTION DES MODES
[W] - WINTER (HIVER)
Appuyez sur le bouton "W" pour sélectionner le mode de conduite "Hiver", la lampe témoin "Hiver" va s'allumer. Utilise ce mode en cas de démarrage dans des conditions difficiles suroutes glissantes.
![SSANGYONG MUSSO SPORTS - [W] - WINTER (HIVER) - 1](/content/2020/04/161493/images/5841cbf53ca57647cafe7553e242c92903522b08e15b94889436aa0233f1b7f4.jpg)
[P]-POWER (PUISSANCE)
Appuyez sur le bouton "P" pour sélectionner le mode de conduite "POWER", la lampe tímoin "POWER" va s'allumer.
La transmission passera en mode conduite-puissance. La transmission passera à un nombre supérieur de révolutions moteur et permettra une accelération plus puissant.
NORMAL
Utiliser ce mode pour une conduite normale.
Ce mode de conduite peut etre seLECTIONné quand les deux portions W et P ne sont pas enclenchées.
PROCÉDURE DE PASSAGE D'URGENCE À UNE TRANSMISSION AUTOMATIQUE
Votre vehicule possede un systeme de
contrôle de blocage du levier de vitesse. Avant de pouvoir quitter la position Parking (P), il faut que la clef soit en position ON et que vous appuyez sur la pédale de frein. Si vous ne pouvez pas quitter la position P avec la clef en position ON et en appuyant sur le frein:
- Tourner la clef en position OFF.
-
Soulever le couvercle.
-
Pousser le levier de détente de blocage des vitesses en insérant une baguette correcte. Puis, pédale de frein enforcée, faire passer le levier sélecteur en position N (point mort).A
- Allumer le moteur et engager la vitesse désirée.
- Dès que possible, faire réparer votre vehicule par un concessionnaire Ssangyong ou par une station de service autorisée.
CONSEILS DE CONDUITE POUR TRANSMISSION AUTOMATIQUE*
Démarrage du vehicule
Après démarriage du moteur et avant sélection d'une position de conduite, appuyez sur la pédale de frein. Sinon, le vehicule "bouge". Ne jamais actionner simultanément la pédale d'accéléateur et celle du frein. Dans des conditions normales, désir la position de conduite "D".
Un enforcement léger et régulier de l'accélérateur permet un enclenchement rapide des rapportes supérieurs et une conduite plus économique. Une modification manuelle de la position de conduite ne s'impose que dans des cas exceptionnels. Les positions "3", "2" et "1" ne doivent être sélectionnées que s'il faut éviter le passage automatique des vitesses supérieures ou si la conduite nécessite un recours plus importante du frein moteur.
Retournez en "D" dés que les conditions le permettent.

2-12 DEMARRAGE ET FONCTIONNEMENT
Baisse de régime
Lorsque vous avez besoin d'accélérer rapidement, appuyez la pédale d'accéléateur à fond pour actionner l'interrupteur de commande sur le plancher. Ainsi, le kickdown sera actionné et la boîte va rétrograder automatiquement d'un rapport.
Frein moteur
Pour utiliser le frein moteur en descente,CHOISSEZ la position "3",2" ou, si nécessaire, "1" en temps opportun.
C'est en position "1" que le frein moteur est le plus puissant. Si la position "1" est selectionnée à une vitesse trop élevé, la transmission reste en deuxieme vitesse jusqu'à ce que le point de commutation de la première vitesse soit atteint, par exemple, après décelération.
Arrêt du vehicule
Le levier du sélecteur peut être laïssé dans la position de conduite可以选择 pendant que le moteur tourne.
En cas d'arrêt dans une côte, serrer le frein à main ou appuyez sur la pédale de frein. Ne pas augmenter le régime du moteur pour maintenir le vehicule à l'arrêt au ralenti si une position de conduite est engagée.
Avant de quitter le vehicule, serrez le frein à main. Placez ensuite le levier du selecteur en position "P" et retirez la clef de contact.
Manoeuvres de rangement
Pour effectuer des manoeuvres afin de se garer ou enter dans un garage, utilisez la méthode décrite precedemment. Contrôlez la vitesse en relachant avec précaution la pédale de frein. Ne jamais appuyer en même temps sur la pédale d'accélérateur et sur le frein.
IMPORTANT
- Effet GLISSEMENT Le vehicule se déplacera lentement sans accélération pendant que le moteur tourne si vous sélectionnez les positions 'R', 'D', '3', '2', '1'; cela s'appeille l'effet 'CREEP' (GLISSEMENT). C'est une caractéristique juste originale du système de transmission dans lequel la transmission est continulement alimentée par un faible courant de façon à ce que le convertisseur torque puisse tourner.
FONCTIONNEMENT DES 4-ROUES MOTRICES
Position de conduite
La lampe tímoin 4WD s'allume lorsque l'interrupteur 4WD est en position '4H' ou '4L' (non permanent) ou '4L' (TOD).
| non permanent | 2H | 4H | 4L |
| TOD | - | 4H | 4L |
2H' (2-Roues motrices)
(non permanent)
Utilisez cette position pour la conduite normale. Cette position est plus économique, plus silencieuse et moins contraignante pour la transmission.

Non permanent
4H' (4-Roues motrices, haute)
1. Non permanente : Utilisez cette position sur route humide ou glissante comme sur route enneigée, boueuse ou dans du sable. Cette position donne plus motricité qu'en 2-Roues. Les moyieux avant se verrouilleront automatiquement.
2. TOD: Utilisez cette position pour la conduite normale.
4L' (4-Roues motrices, lente)
Utilisez cette position pour un maximum de puissance et de motricité. Utilisez '4L' pour les montées ou descentes raides, pour la conduite hors piste, et pour des tractions difficiles dans, la boue ou de la neige épaisse.

Fonctionnement en 4WD (4-Roues motrices)
- ‘2H’ ‘4H’ (Non Permanent tableau)
Selon les conditions de la route, appuyer sur le bouton 4WD pour le faire passer en '4H', avant de commencer à conduire ou pendant que vous conduisez. Il est possible de changer de position tant que vous roulez à une vitesse de 70 km/h ou moins. Il est possible que la lampe témoin 4WD HIGH ('4H') s'allume.
Lorsqu'il n'est plus nécessaire de rouler en 4WD, tourmez le bouton de commande de la boîte transfert de '4H' vers '2H'. Ce qui réduira la lourdeur de la direction, l'usure des pneus ainsi qu'une consommation accrue.
IMPORTANT
Effectuer cette opération lorsque vous conduisez en ligne droite.
2-14 DEMARRAGE ET FONCTIONNEMENT
- '2H' ou '4H' ↔ '4L'
Pour passer de '2H' ou '4H' à '4L', il faut arrêter le vehicule.
En appuyant sur la pédale d'embrayage (avec boîte manuelle) ou en scélectionnant avec le levier la position 'N' (avec transmission automatique), scélectionnez et poussez le bouton 4WD sur '4L'. Il est possible que la lampe témoin 4WD LOW ('4L') s'allume.
Lorsque l'utilisation '4L' n'est plus requise, tournez le bouton de commande de la boîte transfert de '4L' à 4H'. Pour passer de '4L' à '4H', arrêtez le vehicule et appuyez la pédale d'embrayage (sur boîte manuelle) ou déplacez le levier de seLECTION sur la position 'N' (sur boîte automatique) et tournez le bouton de commande de la boîte transfert sur '4H'.

DANGER
Dans le cas d'un 4-Roues motrices non permanent, ne pas utiliser la position 4WD en conduite normale sur route sèche. Ceci entraînerait un fonctionnement inutillement plus bruyant, plus d'usure et une consommation accrue.

DANGER
Pour passer en position "4L", arrêté complètement le vehicule et appuyer toujours la pédale d'embrayage pour la boîte mécanique ou placer le levier de sélection sur la position "N" pour la boîte automatique et tourné le bouton de commande 4WD en position '4L'.
IMPORTANT
Quand vous passez en 4L^ 4H^ en transmission automatique, freinez au pied et faites passer le levier de selection en position "N R N" après que le signal 4WD LOW soit en position OFF pour un passage de vitesse en douceur.
T.O.D (TORQUE ON DEMAND) SYSTEME DE REPARTITION AUTOMATIQUE DE COUPLE*
Les vehicules à traction intégrale permanente sont équipés du système T.O.D.
Le système T.O.D répartie la puissance sur les essieux avant et arrière en fonction des paramètres traités par le T.C.C.U. (Unité de contrôle du couple), ex : vitesse de rotation de l'arbre de transmission, sélection 4H & 4L et utilisation des freins/ABS.
Le système T.O.D permets d'avoir uneonneilleure adhérence et une plus grande stabilité en virage.
CONSEILS DE CONDUITE
| Véhicule | D29ST, G23D | G32D | ||||
| Modèle | Non permanent | TOD | ||||
| BV | Transmission manuelle | Transmission automatique | Transmission manuelle | Transmission automatique | ||
| 4WD | 2H ↔ 4H | 2H,4H ↔ 4L | 2H ↔ 4H | 2H,4H ↔ 4L | 4H ↔ 4L | |
| Conditions de Passage de vitesse | En dessousde 70 km/h | Arrêté | En dessousde 70 km/h | Arrêté | Arrêté | |
| Embrayage | - | Appuyé | - | - | Appuyé | - |
| Mode de Passage de vitesse | - | - | - | “N” | - | “N” |
FREINAGE
Votre vehicule est équipé de freins à disques sur les 4 roues.
- Si un circuit de freinage tombe en panne, il est toujours possible de stopper le vehicule grâce au 2^ème circuit. Si cela arrive, il faut enforcer la pedale de frein avec plus de pression. La distance de freinage augmente. Faire examiner et réparer le système de freinage par un concessionnaire Ssangyong ou une station de services autorisée Ssangyong avant de continuer votre voyage.
- Àprous un stationnement, vérifie que le frein de stationnement est desserré et que levoyant de frein de stationnement est bien étant avant de partir.
- Ne descendez pas de pente au point mort. Ceci peut être très dangereux. Maintenez un rapport engagé à tous moments, utiliser les freins pour ralentir.
- Si un pneu crève en cours de route, freinez progressivement en gardant le vehicule en ligne droite pendant le ralentissement. Quand vous avez suffisamment ralenti et que vous étes en sécurité, sortir de la route et arrêtez-vous à un endroit sur.

DANGER
La surchauffe peut entraîner une baisse-temporaire des performances de freinage.
- Dans les descentes, passer à une vitesse inférieure.
- Ne pas freiner continuèlement.

DANGER
Les garnitures et les plaquettes de frein peuvent s'user prematurément. Ne pas conduire avec le pied posé sur la pédale de frein.

DANGER
Les freins peuvent subir des pertes de performance temporaires dues à des pièces mouillées.
- Àprous avoir effectué un contrôle visuel dans votre rétroviseur pour contrôler la présence d'autres vehicules, freiner pour contrôler les pertes de performance.
- Conserver une vitesse de sécurité.
- Maintenir beaucoup d'espace à l'avant, à l'arrête et sur les côtés.
Freiner légerement jusqu'à retrouver des performances normales. - Toujours se livrer à cette procédure après avoir conduit dans un niveau d'eau susceptible d'avoir mouillé les pieces du système de freins, ou après avoir lavé le vehicule, pour réduire les risques d'accident.
SYSTEME ANTI-BLOCAGE DES FREINS (ABS)*
L'ABS est un système de freinage électronique sophistiqué qui empêche les dérapages en cas de freinage.
Le système anti-blocage des freins empêche les roues de se bloquer en cas de freinage brusque ou sur une route glissante afin que le vehicule reste stable et manoeuvrable.
Ce système détecte la différence de rotation de chaque roue et commandelectroniquement la pression appliquée aux freins.
Quand le contact est mis, le témoin lumineux ABS s'allume. Il disparait après environ 2 secondes. S'il ne s'éteint pas ou reste allumé durant la conduite, cela signifie une anomalie affectant le système ABS.
Dans ce cas, le système de freinage rempli sa fonction normale mais sans la fonction anti-blocage.
En cas de défaillance de l'ABS, le système anti-patinage (TCS) est également hors service. Faites contrôle le fonctionnement du système ABS par un concessionnaire ou un atelier agréé Ssangyong.

ATTENTION
Conduire trop vite dans les virages, l'aquplaning et conduire trop pres du vehicule de devant accroit le risque d'accident. Ce risque ne peut etre réduit par le système ABS.
Le freinage avec l'ABS
Ne pas pomper avec les freins. Appuyez vigoureusement sur la pédale de frein quel que soit l'état de la route (sec, humide, glissant, etc.), maintenez la pression et laissez l'ABS travailler pour vous.
L'ABS module la pression exercée par les freins sur les différentes roues afin d'assurer en permanence un freinage maximal du vehicule sans perte de manoeuvrabilité ou de stabilité directionnelle.
Une légère vibration accompagnée d'un bruit se manifeste lorsquel l'ABS fonctionne. Cette vibration et ce bruit signifient simplement que l'ABS fonctionne normalement.
Dans un cas d'urgence, appuyez de toutes ses forces sur la pédale de frein et celle d'embrayage simultanément.
Le système anti-blocage des freins entraera en action immédiatement, vous permettant ainsi de conserver une parfaite maîtrise de votre vehicule.
Nous vous recommendons de vous familiarisier avec cette technique de freinage. Toutefois, il faut éviter de prendre des risques inutiles.
DANGER
La distance d'arrêt peut varier considérablement en fonction du revêtement et de l'état de la route.
- Maintainir une distance de sécurité par rapport au vehicule précédent.
- Rouler lentement sur les routes humides ou glissantes.
DANGER
L'ABS ne peut pas empêcher les accidents résultat d'une conduite imprudente ou dangereuse.
Conduire prudemment.
- Ralentir dans les virages.
Appuyer fermement sur la pédale de frein et maintainir la pression.
DANGER
Si les témoins du système de freinage de service et de l'ABS s'allument en même temps, cela signifie qu'un mauvais fonctionnement de l'ABS a provoqué une défectuosité dans le système de freinage de service.
- Arrête le vehicule et consulter votre Concessionnaire Ssangyong.
- Faire contrôle et réparer le système avant de reprendre la route.
SYSTEME ANTI-PATINAGE* (AVEC SYSTEME DE FREINAGE ABS)
Le système anti-patinage (TCS) est un système sophistique qui vous aidera à démarrer sur routes glissantes.
Lorsqu'une des roues motrices est sur un revêtement adhérent et l'autre sur un revêtement glissant, tel qu'enneigé ou boueux, ordinairement, si vous démarrez, la roue posée sur la partie adhérente ne tournera pas tandis que l'autre patinera et le vehicule restera immobilisé.
Le TCS peut vous aider à vous sorting de cette situation en bloquant et relâchant la roue qui se trouve sur le revêtement glissant.
Lorsque le contact est mis, le témoin TCS s'allume, avec le témoin ABS, et s'eteindra environ 2 secondes plus tard. Le témoin TCS clignote lorsqu que le système de contrôle de traction est en activités.
Une anomalie dans le TCS système de contrôle de traction est signalée par le témoin TCS durant la marche du moteur.
Si cette situation devait se produit, consultez votre concessionnaire Ssangyong le plus rapidement possible.

DANGER
Une vitesse excessive augmente le risque d'accident.
Le système de contrôle de traction (TCS) ne peut ni éliminer ni réduire ce genre de risque.
IMPORTANT
Pendant la conduite, la lampe t émoin du système TCS ne s'allume que lorsque le système est en service
IMPORTANT
En cas de dysfonctionnement du système de freinage antiblocage (ABS), le système TCS est hors service.
FREIN A MAIN
Le frein à main agit sur les roues arrrière. Il opère automatiquement dés qu'il est serré. Le frein à main est situé entre les deux sièges avant.
Pour serrer le frein à main, appuyez sur la pédale de frein et tirer le levier à fond vers le haut.
Pour le desserrer, appuyez sur la pédale de frein, tirez légèrement le levier vers le haut et)poussez sur le bouton situé au bout du levier.
Ensuite, abaissez le levier en tenant le bouton. Assurez-vous que le frein a main est completement desserré avant de démarrer. Consultez votre concessionnaire Ssangyong si un réglage du frein a main est nécessaire.

Stationnement du vehicule
- Enforcez la pédale de frein et serrez fermement le frein à main.
- Véhicule à transmission manuelle: En cas de stationnement sur terrain plat, placez le levier de changement de vitesses en position “POINT MORT”. En cas de stationnement dans une pente, placez le levier de changement de vitesses en positon “MARCHE ARRÈIRE”. En cas de stationnement dans une côte, placez le levier de changement de vitesses en “PREMIÈRE”.
Véhicule à transmission automatique: Déplacez le levier de sélecteur en position "P" (Stationnement).
- Fermez toutes les vitres, ainsi que le toit ouvrant*.
- Tournez la clef de contact en position "LOCK" et retirez la clef.
- Fermez toutes les portes et le hayon.
- Assurez-vous que le vehicule est immobile.

ATTENTION
Des matières inflammables peuvent entrer en contact avec des éléments brûlants du système d'échémpement et prendre feu. Ne pas stationner ou utiliser le vehicule au-dessus de matières combustibles.

ATTENTION
Le vehicule stationné pourrait semettre en mouvement.
- Serrer toujours le frein à main à fond.
- Stationner sur un sol ferme et plat.
- En cas de stationnement en côte, ne pas laisser les roues avant dans l'axe de la voiture.

ATTENTION
Rouler avec le frein à main serré est susceptible d'endommager les freins arrêté.
- Avant de rouler, desserrer complètement le frein à main.
- Vérifier que le témoin lumineux du frein à est étéint.

ATTENTION
Par temps froid, le gel peut bloquer le frein à main dans la position engagée.
La probabilité de cet incident est plus grande quand les freins sont humides.
S'il existe un risque de blocage par le gel après avoir roulé dans de l'eau suffisamment haute pour mouiller les éléments du frein ou après un lavage du vehicule:
- Serrer le frein à main quelques instants en plaçant le levier du sélecteur en position “P” (Transmission automatique), en première ou en marche arrière (Transmission manuelle), et
- Bloquer les roues arrêté.
- Ensuite desserer le frein à main.
Témoin et averitisseur sonore du frein de stationnement
Si le vehicule roule plus de 2 secondes (a 10km / h ) avec le frein de stationnement applique, le témoin lumineux s'allume dans le bloc compteurs et l'avertisseur sonore retentit. Dans ce cas, arrêtez immédiatement le vehicule et relâchez le frein de stationnement.
CONSEILS POUR UNE CONDUITE PLUS ECONOMIQUE
La consommation de votre vehicule dépend dans une large mesure de votre style de conduite.
Le nombre de kilomètres parcouru avec un litre de carburant, est en effet tributaire de la manière de rouler, de l'endetroit et du moment où le vehicule circule.
Pour que votre vehicule consomme le moins possible:
- Demarrer lentement et accélérer progressivement.
- Eviter les ralentis inutiles et abusifs.
Veiller au bon réglage du vehicule. - Ne pas emballer le moteur.
- N'utiliser le climatiseur (si le vehicule en est équipé) qu'en cas de nécessité.
- Ralentir en roulant sur des revêtements irréguliers.
-
Maintainir les pneus à la pression de gonflage recommandée afin de prolonger leur durée de vie et economiser au maximum le carburant.
-
Veiller à ce que le vehicule soit toujours entretenu conformément aux spécifications du constructeur.
Garder ses distances par rapport aux autres vehicules pour éviter des freinages brusques. Cette précaution permet de réduire l'usure des garnitures de frein et la consommation du carburant nécessaire pour reprendre de la vitesse après un freinage. - Ne pas porter de charge inutile dans la voiture.
- Ne pas laisser le pied sur la pédale de frein en conduisant. Il peut en effet en résultat une usure inutil, des dégats aux freins et une consommation accrue de carburant.
PRECAUTIONS POUR LES GAZ D'ECHAPPEMENT (MONOXYDE DE CARBONE)
- Evitez de respirer des gaz d'échémpement du moteur. Les gaz d'échémpement contiennent du monoxyde de carbone, inodore et incolore. Le monoxyde de carbone est un gaz dangereux. Il peut provoquer des pertes de conscience et peut être mortel s'il est inhale.
Si, à unquelconque moment, des gaz d'échéppementsemblant pénetrer dans l'habitacle, faites inspector et réparer immédiatement le vehicule par un concessionnaire Ssangyong ou par un atelier agréede Service Ssangyong.
S'il est indispensable de rouler dans de telles conditions, ouvre complètement toutes les vitres.
Pour prévenir l'entrée de gaz d'échéappe-ment dans le vehicule, il convient d'inspector le système d'échéappe-ment et la carrosserie:
- chaque fois que le vehicule est soulevé pour une vidange d'huile.
- chaque fois qu'un changement est remarqué dans le bruit du pot d'éché-pement.
2-22 DEMARRAGE ET FONCTIONNEMENT
-
chaque fois que le système d'éché-pement, le bas de caisse ou l'arrière du vehicule sont endommages ou corrodés.
-
Ne faites pas tournier le moteur dans des zones confinées, telles que des garages ou d'autres espaces clos, plus longtemps qu'il n'est nécessaire pour déplacer le vehicule dans et hors de ces zones.
- Quand le vehicule est à l'arrêt dans une zone non confinée pendant une période prolongée avec le moteur en marche, placez la commande de la ventilation en position air frais afin de faire entrer l'air extérieur dans le vehicule, et reglez la commande de la soufflerie sur une vitesse elevée.
-
Ne séjournez pas et ne laïsez pas des enfants pendant une période prolongée dans un vehicule à l'arrêt ou coincide dans les embouteillages avec le moteur tournant.
-
Evitez de conduire avec le coffre ouvert, des gaz d'échévement pourraient enterer dans l'habitacle. Si vous nevez conduire avec le hayon ouvert, fermer toutes les vitres,mettre le levier d'entrée d'air en mode air frais, pour faire enterer l'air extérieur dans le vehicule et basculer l'interrupteur ventilateur en position grande vitesse.
CONDITIONS DANGEREUSES DE CONDUITE
Quand les conditions de conduite sont dangereuses en raison de la presence d'eau, de neige, de glace, de boue, de sable ou d'un autre danger similaire, suivez les recommendations suivantes:
Conduisez prudemment et prévoyez une distance de freinage plus grande.
- Evitez toute manœuvre brusque des freins ou du volant.
- En cas de freinage, appuyez sur la pédale avec un mouvement léger de vaét-vient jusqu'à l'arrêt complet du vehicule.
- Si vous étés enlisé dans la neige, la boue ou le sable, passer en 2ème vitesse pour une transmission manuelle ou en mode HIVER (WINTER) pour une transmission automatique et accélérer lentement.
Utiliser du sable, du sel gemme, des chaînes ou tout autre matériel non dérapant sous les roues arrêtere lorsque vous étes enlisé dans la neige glacée ou dans la boue.

3
INSTRUMENTS ET COMMANDES





INSTRUMENTS ET COMMANDES AVEC TRANSMISSION MANUELLE

3-2 INSTRUMENTS ET COMMANDES



INSTRUMENTS ET COMMANDES 3-3

INSTRUMENTS ET COMMANDES AVEC TRANSMISSION AUTOMATIQUE


3-4 INSTRUMENTS ET COMMANDES
- Pare-soleil (conducteur)
- Plafonnier
- Rétroviseur interieur
- Pare-soleil (passager)
- Bouche d'aération (droite)
- Boite à gants
- Contacteur de l'ève-vitre électrique (passager)
- Siège passager
- Console d'accoudoir
- Siège du conducteur
- Levier d'ouverture de trappe à essence
- Contacteur de l'ève-vitre électrique (conducteur)
- Boîte à fusibles (habitacle)
- Poignée d'ouverture de capot moteur
- Réglage de volant en hauteur
-
Commande de réglage des rétroviseurs extérieurs
-
Bouche d'aération (gauche)
- Commutateur d'éclairage, commutateur de feuclignotants, contacteur de feuix antibrouillard avant
- Volant de direction
- Combiné de bord
- Cruise control lever*
- Commutateur des essuie-glace et lave-glace
- Bouche d'airation (centrale)
- Montre digitale
- Contacteur de feu des détresse
- Contacteur des 4-Roues motrices
- Bouton de déverrouillage des portes
- Bouton de commande des rétroviseurs extérieurs et lunette arrêté chauffants
- Contacteur de faux antibrouillard avant*
- Contacteur de faux antibrouillard arrête
-
Contacteur ECS/SPOR
-
Commutateur essuie-glaces et lave-glaces hayon
- Panneau de commande chauffage / air conditionn
- Autoradio
- Allume cigares
- Porte gobelets
- Contacteur de chauffage du siège (siège conducteur)*
- Levier de frein de stationnement
- Pédale d'embrayage (BVM)
- Pédale de frein (BVM)
- Pedale d'accelerateur
- Cendrier
- Levier de vitesses (BVM)
- Levier de vitesses (BVA)

INSTRUMENTS
- Compteur de vitesse
- Compteur kilométrique
- Totalisateur journalier
- Compte tours
- Jauge de température
- Jauge à carburant
- Témoin de réserve du carburant
- Témoin des clignotants (gauche)
- Témoin des clignotants (droit)
-
Bouton de commande des rétroviseurs extérieurs et lunette arrière chauffants
-
Bouton de remise à zéro du totalisateur journalier
- Indicateur de selection de vitesse automatique*
- Témoin d'ouverture de portes
- Témoin TCS (avec ABS)*
- Témoin de charge
- Témoin de pression d'huile moteur
- Témoin de freins
- Témoin de préchauffage (moteur diesel)
- Témoin airbag *
-
Témoin de ceinture de sécurité
-
Témoin ABS*
- Témoin ECS / SPORT*
- Témoin 4 - Roues motrices*
- Témoin 4 - Roues motrices longue
- Témoin 4 - Roues motrices courte
- Indicateur WINTER
- Indicateur POWER
- Témoin des feuels de route
- Indicateur de danger*
- Voyant indicateur de disfonctionnement (pour moteur essence)
3-6 INSTRUMENTS ET COMMANDES
COMPTEUR DE VITESSE
Le compteur indique la vitesse en kilomètres-heure (km/h) ou en miles-heure (m/h).
COMPTEUR KILOMETRIQUE/ TOTALISATEUR PARTIEL
Le compteur kilométrique enregistre la distance cumulée en kilomètres.
Le totalisateur partiel enregistre la distance parcoursue par voyage. Pour remetre a zéro, appuyez sur le bouton de remise à zéro situé en bas à droite du compteur de vitesse.
COMPTE-TOURS
Le compte-tours indique le nombre de tours effectuels par le moteur à chaque minute.
Diesel


Moteur Diesel & G23D

G32D

Essence

ATTENTION
Une vitesse excessive peut endom-mager le moteur.
Ne pas faire tourner le moteur à un régime trop élevé. Un régime trop élevé est signalé par la présence de l'aiguille dans la zone rouge.
JAUGE DE TEMPERATURE
Le thermomètre indique la température du circuit de refroidissement du moteur quand le contact est en position "ON".
H:chaud
C:froid

ATTENTION
Le moteur peut surchauffer.
- Si l'aiguille atteint la zone rouge, arrêté le moteur.
- Laisser refroidir le moteur.
JAUGE DE CARBURANT
Cette jauge indique le niveau de carburant present dans le réservoir.
La jauge continue à indiquer le niveau de carburant même après la coupure du contact.
Quand le plein est fait, la jauge remonte lente-ment vers le nouveau niveau de carburant après la remise du contact.
L'iguille rouge quand la voiture freine, accélère ou vire. Ces mouvements sont dus au déplacement du carburant dans le réservoir.
F:full
(Capacité du réservoir de carburant : 72 litres (Essence))
(Capacité du réservoir de carburant : 75 litres (Diesel))
E:vide


3-8 INSTRUMENTS ET COMMANDES
TEMoin DE RESERVE DE CARBURANT
Ce témoin lumineux indique que carburant sera bientôt épisé.
Faites le plein dés que possible lorsque ce témoin s'allume.

ATTENTION
Une panne d'essence peut endom-mager le catalyseur.
Faire le plein dés que possible lorsque ce témoin s'allume.
TEMoin DE PRESSION D'HUILE
Ce témoin s'allume quand le contact est mis (à titre de contrôle du fonctionnement de l'ampoule) et doit s'éteindre après le démarriage du moteur. Si le témoin s'allume durant la conduite, il indique que la pression d'huile est dangereusement BASse. Arrêtez le moteur immédiatement et contrôle le niveau d'huile du moteur. Si le niveau d'huile est bas, ajoutez de l'huile recommandaee pour le moteur jusqu'àu niveau approprié.
Si le niveau d'huile est normal, faites contrôler le système de lubrification chez le concessionnaire Ssangyong le plus proche

ATTENTION
Le manque d'huile peut endommager gravement le moteur.
- Ne pas rouler quand le témoin de pression d'huile est allumé.
- Si vous conduisez, stoppez le vehicule.
- Contrôler le niveau d'huile. Si nécessaire, ajouter de l'huile.
- Si le niveau d'huile est normal, amener votre vehicule chez un concessionnaire Ssangyong ou une station de services autorisée.


VOYANT INDICATEUR D'ANOMALIE
S'allume brievement lorsque vous tournez la clef de contact en position ON, avant que vous ne démarriez le moteur.
Ceci indique que l'ampoule duvoyant fonctionne correctement.
Levoyant doit s'eteindre une fois le moteur allumé.

ATTENTION
Ne pas rouler avec levoyant signal d'anomalie allum.
Levoyantindicateur signale que voitrévehiculea un probleme requérant de l'attention.
Conduire avec unvoyantindicateur d'anomalie allumé peut endommager le systeme de contrôle d'échéppement et peut afferter l'économie de carburant et la conduite de votre vehicule.
Consulter un concessionnaire Ssangyong ou une station de services autorisée pour effectuer des réparations aussi rapidement que possible.

Votre vehicule a ete concu pour repondre aux exigences du Conseil europeen de diagnostics(EOBD), specifiés par la Direction de la Communauté Economique Européenne.
Levoyantindicateurd'anomalie (MIL) sallumera s'il y a un disfonctionnement dans les pièces liées à l'échéppement ou dans les sous-systèmes qui y sont liés.
Il restera allumé tant que l'unité de contrôle moteur (ECU) détectera le disfonctionnement. Si le système détecte un raté d'allumage grave, l'acciviée de carburant est automatiquement coupée pour éviter de causeurs des dégats dans le convertisseur catalytique.
Le système électronique de votre vehicule passera automatiquement en programme d'alarme pour vous permettre de continuer à conduire.
Il vous est cependant recommendé de consulter votre concessionnaire Ssangyong ou une station de services autorisée pour faire réparer le problème dès que possible.
Si vous vécique est équipé d'une transmission automatique, referez-vous à la procédure de changement d'urgence sur la page 2-10.
3-10 INSTRUMENTS ET COMMANDES
TEMoin DU SYSTEME DE FREINAGE
Ce témoin s'allume quand le contact est allumé et que le frein à main est serré et s'éteint lorsqu'il est desserre.
(Cependant, si le frein à main est serré, ce témoin resté allumé jusqu'à ce qu'il soit desserré)

Veillez à ce que le frein à main soit complètement desserré avant de rouler.
Si ce témoin s'allume même quand le frein à main est complètement desserré, cela peut signifier que le niveau du liquide de frein dans le réservoir est bas. Dans un tel cas:
- Quittez la route et arrêtez-vous prudiment.
- Contrôlez le liquide de frein et ajoutez du liquide de frein recommendé jusqu'au niveau maxi.
- Si les freins fonctionnent normalement et qu'ils paraissent sûrs, roulez prudement à une vitesse réduite jusqu'à chez le concessionnaire Ssangyong le plus proche pour une inspection immédiate.
- Si une fuite est découverte, si le témoin reste allumé, ou si les freins ne fonctionnent pas correctement, faites remorquer le vehicule jusqu'à chez le concessionnaire Ssangyong le plus proche pour y être inspecté et réparé

DANGER
Il est dangereux de conduire le vehicule quand le témoin du liquide de frein est allumé.
Faire contrôle et réparer immédiatement le système de freinage chez le concessionnaire Ssangyong le plus proche.

ATTENTION
Si le témoin du système de freinage ne s'allume pas quand le contact est mis et que le frein à main est serré, cela signifie que le système de freinage est défectueux.
- Verifier si l'ampoule n'est pas défectueuse.
- Si l'ampoule fonctionne normalement, faire contrôler le système de freinage.
IMPORTANT
Si le niveau du liquide de freinage est bas, la distance de freinage, l'effort d'enforcement de la pedale et la course de la pedale peuvent augmenter.
TEMoin ABS*
Ce témoin s'allume lorsque le contact est sur la position ON et s'éteint après le contrôle du système ABS.
Si le témoin ne s'allume pas quand le contact est mis ou s'il ne s'éteint pas, consultez le concessionnaire ou l'Atelier/agréé Ssangyong le plus proche.
Si ce témoin s'allume pendant le trajet, cela signifie que l'ABS fonctionne mal. Le système de freinage de service du vehicule fonctionne alors de manière conventionnelle sans la fonction ABS. Si une telle situation se présente, faites contrôle le système chez le concessionnaire Ssangyong le plus proche dès que possible.
DANGER
Si les témoins du système de freinage et de l'ABS s'allument en même temps, cela peut signifier que le système de freinage de service est en panne à cause d'une défectuosité de l'ABS.
- Arrête le vehicule et consulter votre Concessionnaire Ssangyong.
- Faire contrôle et réparer immédiatement le système avant de reprenevre la route.

3-12 INSTRUMENTS ET COMMANDES
INDICATEUR EBD*
Lorsque le contact est mis, ce témoin s'allume et devrait s'éteindre après le démarrage du moteur.
Si le témoin EBD ne s'éteint pas, ceci indique que le système ABS n'est pas fonctionnel resultant d'une panne.
Faites vérifier le système par le concessionnaire/agree le plus proche.
TEMoin D'OUVERTURE DES PORTES
Ce témoin s'allume quand une porte est ou-vert ou mal fermée.
ATTENTION
Rouler avec une porte ouverte peut provoquer des blessures aux personnes presents à l'intérieur ou à l'extérieur du vehicule.
- Avant de démarrer, fermer toutes les portes.
- Vérifier l'extinction du témoin.
TEMoin DE CHARGE DE LA BATTERIE
Ce témoin indique que la batterie se décharge. Quand le contact est mis, ce témoin s'allume et doit s'éteindre quand le moteur a démarré.
Si te temoin s'allume pendant le trajet,
- Quittez la route et arrêtez le vehicule
- Vérifiez si la courroie de l'alternateur est détendue ou rompue.
- Si la courroie présente aucune anomalie, cela signifie qu'il y a un problème dans le système de recharge. Ce problème doit être localisé et réparéès que possible. Faites contrôle et réparer le système immédiatement chez le concessionnaire Ssangyong le plus proche.




ATTENTION
Ne pas reprendre la route si la courroie est detendue ou rompue.
Le moteur pourrait surchauffer et s'endommager.
RAPPEL DE CEINTURE DE SECURITE
Le témoin de rappel de ceinture de sécurité s'allume chaque fois que le contact est placé sur "ON" sauf si la ceinture du siège conducteur est bouclée. De même, l'alarme de ceinture de sécurité retentit durant 4 à 8 secondes si la ceinture du siège conducteur n'est pas correctement bouclée alors que le contact est en position "ON".
Vérifiez que tous les passagers sont correctement attachés avant de démarrer.
TEMoin DE L'AIRBAG*
Le témoin airbag s'allume pendant approximativement 6 secondes avant de s'eteindre lorsque le contact est mis, afin de confirmer que l'airbag est opérationnel.
S'il ne s'allume pas, ou s'il ne s'éteint pas après 6 secondes ou s'il s'allume de manière permanente ou intermittente en cours de route, ceci signifie qu'il y a une défaillance dans le système et que l'airbag ne se dé-clenchera pas en cas d'accident.
Faites contrôle sans délié le système d'airbag par un concessionnaire Ssangyong ou par un atelier agrée de Service Ssangyong.
Pour plus de détails sur l'airbag, voir pages 1-44.


3-14 INSTRUMENTS ET COMMANDES
TEMoin DE CLIGNOTANT
Lorsque que l'on actionne les clignotants, le témoin clignote pour signaler le fonctionnement des deux clignotants. Un clignotement plus rapide indique qu'une ampoule est défaille. Les deux de droite et de gauche clignotent en même temps lorsque les deux de détresse sont actionnés.
IMPORTANT
Si une ampoule est defectuese, il faut la remplacer immediatement afin d'eviter un accident. Si les flèches vertes ne fonctionnent pas du tout, vérifier le fusible et les ampoules.
TEMoin DES FEUX DE ROUTE
Ce témoin s'allume quand les feuels de route sont allumés.
TEMoin DE DEGIVRAGE DELUNETTE ARRIERE
La lampe témoin s'allume lorsque le dégivrage est en fonction.



TEMoin TCS*
La lampe tímoin s'allume lorsque l'on met le contact, puis s'éteint lorsque le moteur est en marche après contrôle du système. Ceci indique que l'ampoule du voyant indicateur fonctionne correctement. Le voyant doit s'éteindre au bout de 2 secondes. Si le tímoin reste allumé, le système doit être contrôle aussiôt que possible par un concessionnaire Ssangyong.
IMPORTANT
Pendant la conduite, la lampe t é moin ne clignote que lorsque le système TCS est en service.
Les TCS se metront en marche jusqu'à une vitesse de 60~km / h pour la sécurité de la conduite. Conduisez votre vehicule lentement lorsque le TCS fonctionne.
TEMoin DE PRECHAUFFAGE (Moteur Diesel)
La lampe témoin s'allume lorsque le contact est mis et reste allumé pendant un court instant ou s'éteint aussiitôt
La durée d'éclairage de la lampe témoin varie en fonction de la température du système de refroidissement du moteur. Lorsque les bougies de préchauffage sont suffisamment chaudes, pour le démarrage à froid, la lampe témoin s'eteint et
le moteur peut ainsi être démarré.


3-16 INSTRUMENTS ET COMMANDES
TEMoin ECS / SPORT*
Ce témoin s'allume lorsqué le contact est mis et dévrait s'éteindre dés que le moteur a démarré. Si la lampe témoin clignote pendant la conduite, ceci indique qu'il y a un dysfonctionnement dans le système ECS, faites vérifier le système ECS chez le concessionnaire SSANGYONG le plus proche.
IMPORTANT
Si le témoin ECS/SPORT reste allumé lorsque le bouton de commande "ECS" est appuyé, ceci indique que le mode "SPORT" est sélectionné. Le mode "SPORT" améliore la tenue de route du vehicule en particulier dans les courbes et sur les mauvaise routes.

INDICATEUR DE MODE WINTER (HIVER)
Levoyant est allumé lorsquel mode WINTER (Hiver) est sélectionné.
Utilisez ce mode pour démarrer en douceur sur route verglacée et glissante.
INDICATEUR DE MODE POWER (PUISSANCE)
Levoyant s'allume lorsquel mode POWER (Puissance) est selectionné.
Utilisez ce mode lorsqu vous avez besoin de plus de puissance ou la conduite en montagne nécessite de fortes accelerations.


INDICATEUR DE VOTESSES DE BOITE AUTOMATIQUE*
En position de contact ON, cet indicateur renseigne sur la position du levier de selection de la boîte de vitesses automatique.
NDICATEUR 4WD (4-Roues motrices)
4WD - Non permanent
Levoyant“4WD HIGH"ou“4WD LOW s'allume lorsque le bouton de commande AWD est en position“4H"ou“4L".
4WD-TOD*
Levoyant "4WD LOW"sallume lorsquelboutondecommande4WDesten position"4L".

ATTENTION
Les voyants "4WD HIGH" et "4WD LOW" s'allument simultanement lorsqu'il y a un dysfonctionnement dans le système 4WD non permanent.

ATTENTION
Pour passer en '4L' ou '4H', immobiliser complètement le vehicule et enforcer toujours la pédale d'embrayage pour passer en transmission manuelle ou faire passer le levier de selection en position N pour passer en transmission automatique, et tourner l'interrupteur de 4WD en '4L' ou '4H'.



COMMANDE DES FEUX
Pour allumer ou eteindre les feuys, tournier le bouton situé à l'extrémité du levier de commande combiné.
II existe trois positions:
Position "OFF"
Tous les feuelsonteteints.
Position -00-
Feux de position,ieux arriere allumés,plaque minéralogique et tableau de bord éclairés.
Position

Commande les phares (croisement) et tous les feuels et éclairage mentionnés ci-dessus.
IMPORTANT
Le faisceau asymétrique des feu de croisement accroit le champ de vision sur le côté droit de la route. Dans les pays où on roule à gauche, recouvrir d'une bande adhéensive noire les glaces des feu de croisement/route sur une section angulaire de 15^ .

Avertisseur sonore "phares allumés"
Vous rappelle qu'il y a lieu d'eteindre vos lumières si vous les avez laissés allumées alors que la cléf de contact est mise en position "LOCK" ou "ACC".

ATTENTION
Ne pas laisser les faux allumés quand le moteur est eteint. La batterie pourrait se decharger.
COMMANDE DES CLIGNOTANTS
Actionnez ce levier vers le haut jusqu'à la position d'arrêt pour signaler un virage à droite. Actionnez ce levier vers le bas jusqu'à la position d'arrêt pour signaler un virage à gauche. Quand le virage est acheve, le signal s'interrrompt et le levier revient en position normale.
Pour un simple changement de bande de circulation, déplacez le levier et maintenez-le durant la manoeuvre. Une fois relichéé, il reviendra dans sa position normale.

ATTENTION
Ne pas laisser les yeux allumés quand le moteur est eteint. La batterie pourrait se decharger.
COMMANDE DES FEUX DE ROUTE
Pour allumer les frais de route, poussez le levier en direction du tableau de bord après avoir allumé les frais de croissement.
Le témoin des feués de route au tableau de bord s'allume en même temps que les feués de route.
Pour revenir aux yeux de croissement, tirez sur le levier en direction du volant pour le ramener à sa position normale.
IMPORTANT
La commande des feuix doit déjà être en position 必
APPEL DE PHARE
Pour faire un appel de phare, tirez sur le levier en direction du volant et relâchéz-le. Le levier returnera en position normale dés qu'il sera relâchéé. Les feués de route seront allumés aussi longtemps que le levier reste tiré.



3-20 INSTRUMENTS ET COMMANDES
COMMUTATEUR D'ESSUIE-GLACE
Pour actionner les essuie-glace, déplacez le commutateur à trois postions vers le bas avec le contact en position ON.
OFF = éteint
AUTO = INT ou AUTO (capteur de pluie)
LO = Essuie-glace continu, vitesse lente
HI = Essuie-glace continu, vitesse rapide
Commande intermittente d'essuie-glace La fréquence ou les mouvements de balayage peuvent être régles en tournant le bouton de contrôle vers le haut ou vers le bas lorsque le commutateur d'essuie-glace est en position "INT".
F: Balayage rapide
S: Balayage lent
L'essuie-glace intermittent fonctionne automatiquement en fonction de la vitesse du vehicule quand l'interrupteur de l'essuie-grace est en position 'INT'.

ATTENTION
Ne pas actionner l'essuie-glace lorsque le pare-brise est sec. Il risque de rayer la vitre et d'suser prematurement les balais.

ATTENTION
Ne pas actionner l'essuie-glace si les balais sont couverts de neige ou de glace. Ceci peut endommager le système.
Enlever les obstacles avant de les faire fonctionner.



ATTENTION
Par temps froid, les balais d'essuie-glace peuvent etre collés au pare-brise par le gel.
Le moteur d'essuie-glace peut s'endommager s'il fonctionne alors que les balais sont gelés.
Vérifier que les balais ne sont pas collés au pare-brise par le gel avant la mise en service.
COMMUTATEUR DU LAVEGLACE
Pour vaporiser du liquide lave-glace sur le pare-brise, lever le levier vers le volant quand la cef de contact est en position ON.
Quand vous levez le levier pendant moins de 0,6 secondes environ, le liquide laveglace est vaporisé sur le pare-brise, mais l'essuie-glace ne fonctionne pas.
Quand vous levez le levier pendant plus de 0,6 secondes environ, l'essuie-glace fonctionne pendant plusieurs cycles. Quand vous relâchéz le levier, l'essuie-glace revient en position de repos.

ATTENTION
Par temps de gel, n'utilise pas votre lave-glace avant que le pare-brise ne soit rechauffé. Sinon le liquide de lave-glace pourrait geler sur le pare-brise et obstruer votre visibilité.

ATTENTION
Le moteur de lave glace peut etre endommagé.
- Ne pas utiliser le lave glace lorsque le réservoir est vide.
- Ne pas actionner le lave glace plus de 10 secondes en continu.
CONTACTEUR DE FEUX ANTI-BROUILLARD AVANT*
Les feuux anti-brouillards avant permettent un éclairage auxiliaire et améliorent la vision dans le brouillard ou sous la neige.
Pour allumer les feuux anti-brouillards, appuyer sur le contacteur anti-brouillards avant.


3-22 INSTRUMENTS ET COMMANDES
COMMUTATEUR D'ESSUIE-GLACE ET LAVE-GLACE ARRIERE
Le commutateur d'essuie-glace et lave-glace possede deux positions.
Pour actionner les essuie-glace arrriere, tourner le bouton en position "ON".
Pour actionner le lave-glace, pousser complètement le bouton.

ATTENTION
Remplacer le balai lorsque celui-ci est usé ou lorsqu'il ne nettoie plus correctement, pour éviter une perte de visibilité lorsque vous l'utilisez.

ATTENTION
Ne pas actionner l'essuie-glace si les balais sont couverts de neige ou de glace. Ceci peut endommager le système.
Enlever les obstacles avant de les faire fonctionner.

ATTENTION
Par temps de gel, n'utilisez pas votre lave-glace avant que le pare-brise ne soit rechauffé. Sinon le liquide de lave-glace pourrait geler sur le pare-brise et obstruer votre visibilité.

ATTENTION
Par temps froid, les balais d'essuie-glace peuvent etre collés au pare-brise par le gel.
Le moteur d'essuie-glace peut s'endommager s'il fonctionne alors que les balais sont gelés.
Vérifier que les balais ne sont pas collés au pare-brise par le gel avant la mise en service.

ATTENTION
Le moteur de lave glace peut etre endommagé.
Ne pas utiliser le lava glace lorsque le réservoir est vide.

BOUTON DE DEVERROUILLAGE DES PORTES
Les portes se verrouillent automatiquement si la vitesse du vehicule dépasse approximativement 50km / h . Pour annuler cette fonction, appuyez sur le bouton de déverrouillage de porte.
IMPORTANT
- Si la vitesse de vehicule dépasse approximativement 50~km / h , les portes se verrouillent automatiquement.
- Pour permettre l'ouverture de la porte à l'arrêt du vehicule, annulez la fonction de verrouillage de porte en appuyant sur le bouton.
CONTACTEUR DE FEUX ANTIBROULLARD ARRIERE*
Pour allumer les feuux antibrouillard arrrière, pousser le bouton pendant que les feuux antibrouillard avant sont en service ou lorsque le commutateur des phares est placé dans la position 0.
Lorsque les feuels sont allumés, le témoin se trouvant sur le bouton s'allume.
Le témoin reste allumé aussi longtemps que les feuux restent allumés. En appuyant une nouvelle fois sur le contacteur, les feuux antibrouillard arrêté s'éteignent.
Les feuix antibrouillard arrirere peuvent éblouir les personnes se trouvant dans les vehicules suiveurs.
Utilisez les feuux antibrouillard dans des conditions climatiques difficiles.
CONTACTEUR ECS / SPORT*
Appuyez sur le contacteur et levoyant "ECS/SPORT" s'allume sur le tableau de bord. Dans ce mode, la suspension est contrôlee automatiquement en position "MEDIUM/DURE" en fonction des conditions de conduite. Ce mode améliore la tenue de route, en particulier dans les courbes et sur les mauvaises routes.
Appuyez à nouveau sur le contacteur pour reprendre la conduite normale et levoyant "ECS/SPORT" au tableau de bord s'eteint.
Dans ce mode, la suspension est contrôle automatiquement en position "SOUPLE/MEDIUMUM/DURE" en fonction des conditions de conduite et privilégie le comport sur route normale.



DIFFÉRENTIEL À GLISSEMENT LIMITE (DGL)*
DGL est un différentiel restreignant le mouvement de la roue quand elle patine sur de la glace, de la neige ou de la boue, ce qui permet de s'en dégager facilement. DGL (LSD) est intégré à l'essieu arrière. Veuillez respecter soigneusement les précautions suivantes.
IMPORTANT
Aucun contacteur ou dispositif sur le vehicule ne commande le DGL. Il est intégré à l'essieu arrêté et fonctionné des qu'une roue patine.
ATTENTION
Si vous forcez la vitesse des roues pour sortir de la boue ou d'une flaque d'eau, le différenciel à glissement limite (DGL) risque d'être gravement endommaged. Utilisez d'autres éléments tels que des cales de bois pour vous dégager, selon les situations.

DANGER
Le différentiel à glissement limite (DGL) est integre à l'essieu arrière et fonctionne en cas d'écart entre le patinage de la roue gauche et celui de la roue droite. Dans tous les cas, ne jamais demarrer le moteur si une roue est montée sur un cric.
En particulier, si vous démarrez le moteur alors qu'une des roues arrrière est soulevée par un cric, les roues au sol tourneront sous l'effet du DGL, ce qui fera avancer brusquement votre vehicule. Vous risquez alors d'être grièvement blessé.
CONTACTEUR DE DESEMBUAGE DE LUNETTE ARRIERE ET DE RETROVISEUR EXTERIEUR*
Pour dégivrer ou activer le désembuage la lunette arrête ou le rétroviseur extérieur, puisse le contacteur de désembuage lorsque le contacteur est en position "ON".
Levoyant s'allume dans le contacteur lorsquele système est en service.
En appuyant à nouveau sur le bouton, le dégivrage s'arrête.


ATTENTION
Attention de ne pas rayer ou endomager les conducteurs électriques de la lunette arrête.
Ne jamais nettoyer l'intérieur de la lunette arrête avec un outil tranchant ou contenant des abrasifs.
IMPORTANT
Sous la neige, n'utilise ce désembueur qu'après avoir enlevé toute la neige sur le hayon arrêté.
IMPORTANT
Le dégivrage utilise beaucoup puissance et peut décharger la batterie.
- Ne pas utiliser le dégivrage en cours de démarrage ou lorsque le moteur est arrêté.
- Eteindre le dégivrage lorsque la lunette arrête est claire.
COMMUTATEUR DU DÉSEMBUEUR (SPORTS)
Si vous appuyez sur ce commutateur, le verre des feuux arrêté et les miroirs des deux rétroviseurs arrêté seront réchauffés simultanément pendant environ 12 minutes (s'ils sont équipés de désembueurs).
Appuyez sur le commutateur de nouveau pour arreter l'opération de désembuage.
Si vous recommenciez l'opération dix minutes après, le système fonctionnera pendant environ 6 minutes.
Le témoin du désembumeur ( ) dans le cadran des compteurs s'allume quand le dégivreur est en fonction.


DANGER
Quand le désembueur est en fonction, le verre des feuux arrêtés ainsi que les miroirs des deux rétroviseurs extérieurs peuvent être très chauds. Ne pas les toucher.

ATTENTION
- Au cours du nettoyage de l'intérieur du verre des feuux arrêt, faire attention à ne pas égratigner ou endommager la grille et le connecteur du désembueur.
- Ne pas utiliser le désembueur si le moteur ne tourne pas.
- Le modele SPORTS ne dispose pas de la fonction de désembuage du verre des peux arriere.
3-26 INSTRUMENTS ET COMMANDES
COMMUTATEUR DU CHAUFFAGE DES SIÉGES*
HI (elevée)
Presse la partie "Hi" du commutateur pour réchauffer le siège. Pressez de nouveaux pour arreter le chauffage.
LO (basse)
Presse la partie "LO" du commutateur pour réchauffer le siège à basse température. Pressez de nouveau pour arrêté le chauffage.
ATTENTION
- Ne pas déposer d'objet pointu sur le siège.
- Pour nettoyer le siège, ne jamais utiliser de solvants organiques (benzène, diluant, alcool ou essence).
- Faire fonctionner le chauffage des sièges pendant que le moteur tourne pour ne pas décharger la batterie.
- Une fois les sièges réchauffés, appuyer de nouveau sur le commutateur pour arrêté l'opération.
DANGER
- Le chauffage des sièges risque parfois de provoquer de légères brûlures. Si vous étés accompné des personnes suivantes, utilisez avec précaution le chauffage des sièges.
- Enfants, personnes âgées, personnes handicapées.
- Personnes à la peu sensible.
- Personnes en etat d'epuisement.
- Personne sous l'effect de médicaments induisant la somnolence ou d'une consommation d'alcool.

- Ne rien placer sur le siège qui serait susceptible d'isoler la chaleur - par exemple, une couverture, un coussin, etc. Il pourrait s'ensuivre un excès de chaleur provenant des sièges.
CONTRÔLÉ DE VITESSE DE CROISIERE*
Le contrôle croisière est un système de contrôle automatique de vitesse qui permet deMSNINIR une vitesse de conduite desirable sans utilise la pédale d'accéléateur.
Le vehicule doit rouler à une vitesse supérieure à 36 km/h pour engager la vitesse de croisière. Cette option est particulièrement utile pour la conduite sur autoroute.

ATTENTION
Uneutilisationincorrecteducontrolede la vitesse de croisierepeutetre dangereuse.
- Ne pas utiliser sur les routes sinueuses.
- Ne pas utiliser dans la circulation dense.
- Ne pas utiliser suroutes glissantes ou mouillées.
Ceci pourrait entrainer une perte de contrôle, une collision et/ou des blessures personnelles.
Fixer une vitesse désirée
- Pour activer le contrôle de vitesse de croisière, accélérez pour atteindre la vitesse désirée en appuyant sur la pédale d'accéléateur à plus de 36km/h.
- Une fois la vitesse désirée atteinte, basculer le bouton ACCEL.SET du levier de contrôle de croisière vers le haut ou baisser le bouton DECEL.SET pendant une seconde par pression, puis relâcher lentement la pédale d'accéléateur.
- Le vehicule est maintainant conduit par ce système à une vitesse fixée.

- Vous pouvez fixer ensuite une autre vitesse suivant les mêmes étapes que ci-dessus après avoir accéléré avec intervention de la pédale tandis que le vehicule fonctionne sous contrôle de vitesse de croisière.
3-28 INSTRUMENTS ET COMMANDES
Accélémer avec le système de contrôle de vitesse de croisière
Lorsque que le système de contrôle de vitesse de croisière est actionné
1. Pousser vers le haut l'interrupteur ACCEL.SET sur le levier de contrôle et le maintainir, une fois obtenue la vitesse désirée, sans intervention de la pédale d'accélération.
2. Une fois atteinte la vitesse désirée, relâcher le levier.
Lorsque le système de contrôle de vitesse de croisière est actionné
1. Accélérez en utilisant la pédale d'accélération et dépasser la vitesse de 36 km/h.
2. Pousser l'interrupteur ACCEL. SET vers le haut sur le levier de contrôle et le maintainir en position.
3. Puis relâcher lentement la pedale d'accélération.
4. Une fois la vitesse désirée atteinte, relâcher le levier.
- Basculer vers le haut pendant que le système de contrôle est actionné
- Pousser vers le haut l'interrupteur du levier de contrôle pendant moins de 0.5 seconde par pression pendant que le système de contrôle de vitesse de croisière est en marche. Ceci est un commutateur de prise.
- Quand vous actionnez le commutateur de prise, le vehicule accelere et la vitesse augmente de 1.3km / h par rapport à la vitesse precedemment fixée.
- Si vous souhaitez accélérer de 13km / h actionné dix fois le commutateur sans accélérer avec le système de contrôle de vitesse de croisière.
Décelérer avec le système de contrôle de vitesse de croisière
- Avec le système de contrôle de vitesse de croisière actionné
- Pousser vers le bas l'interrupteur DECEL. SET et le maintainir en position jusqu'à ce que la vitesse désirée soit atteinte, sans intervention de la pédale de frein. Le contrôle de vitesse de croisière ne peut cependant pas être maintainu à une vitesse inférieure à 34 km/h.
- Une fois atteinte la vitesse désirée, relâcher le levier.
Lorsque le système de contrôle de vitesse de croisière n'est pas actionné - Pousser vers le bas l'interrupteur DECEL. SET du levier de contrôle de vitesse de croisière et le maintainir en position.
- Puis relâcher lentement la pedale d'accélérateur.
-
Une fois atteinte la vitesse désirée, relâcher le levier. Le système de contrôle de vitesse de croisière ne peut cependant pas maintainir la fonction croisière à moins de 34 km/h.
-
Basculer vers le bas lorsqu'le contrôle de vitesse de croisière est actionné
- Pousser vers le bas l'interrupteur du levier de contrôle pendant moins de 0.5 secondes par pression pendant que le système de contrôle de vitesse de croisière est actionn. Ceci est un commutateur de perte.
- Quand vous actionnez un commutateur de perte, le vehicule decelere et la vitesse baisse de 1km / h par rapport a la vitesse precedente.
- Si vous souhaitez decéléérer de 10km / h actionné dix fois l'interrupteur sans intervention du frein.
Retrouver la vitesse de croisière
Meme si le contrôle de vitesse de croisière est annulé, il est possible de retrouver la vitesse de croisière précédement fixée en poussant vers le bas l'interrupteur RSM (reprise) du levier de contrôle de vitesse de croisière quand le vehicule roule à une vitesse supérieure à 36 km/h sans intervention d'accelération. Mais si vous tournez la cléf de contact en position OFF, la vitesse de croisière mémorisée est effacée et il est impossible de retrouver la vitesse de croisière précédement fixée.

ATTENTION
Il ne faut utiliser la position reprise que si le conducteur est bien conscient de cette vitesse et souhaite réellement retrouver cette vitesse particulière.

3-30 INSTRUMENTS ET COMMANDES
Annulation normale du contrôle de vitesse de croisière
Le système de contrôle de vitesse de croisière peut être annulé quand une ou plusieurs des conditions suivantes sont réunies;
- En appuyant sur la pédale de frein.
- En faisant descendre la vitesse de croisière à moins de 34 km/h.
- En actionnant l'interrupteur OFF en tirant vers l'arrière le levier de contrôle de vitesse de croisière.
- En activant le système ABD.
Le système de contrôle de vitesse de croisière peut aussi être remis en marche lorsqu'la conduite reprend.

ATTENTION
Gardez l'interrupteur de contrôle de vitesse de croisière en position neuta que quand vous n'utilise pas le contrôle de vitesse de croisière.
Annulation anormale du contrôle de vitesse de croisière
- En cas de decélération rapide sans freinage.
- En cas d'accelération rapide sans intervention de la pédale d'accelération.
- En cas de panne du levier de contrôle de croisière.
- En cas de risque de disfonctionnement de l'interrupteur de frein et duvoyant de frein.
Le système de contrôle de vitesse de croisière ne peut être réactivé lorsqu'vous conduisiez. Dans ce cas, il vous faut immobiliser votre vehicule, tournier la clef de contact en position OFF, puis de nouveau en position ON. Une fois cela fait, vous pouvez de nouveau utiliser le système de contrôle de vitesse de croisière. En revanche, si le système de contrôle de vitesse de croisière ne fonctionne toujours pas, il vous faut contacter votre concessionnaire Ssangyong pour effectuer un diagnostic du système de contrôle de vitesse de croisière.

ATTENTION
Des changements anormaux du levier du selecteur peuvent endommager le moteur.
Ne passes pas le levier de changement en position point mort pendant que vous roulez à la vitesse fixée. Cela peut cause des dégats dans la transmission automatique.

ATTENTION
- Il est possible que la vitesse fixée ne puisse être maintainue dans des montées ou des descentes.
- Il est possible que, dans une montée raide, la vitesse chute audressous de la vitesse fixée. Il vous faut utiliser l'accéléateur si vous pouzeMaintenir cette vitesse.
- Il est possible que, dans une descente raide, la vitesse augmente et dépasse la vitesse fixée. Lorsque la vitesse augmente trop, éteindre le contrôle de vitesse de croisière.
Utiliser le contrôle de vitesse de croisière dans les montées et les descentes
L'efficacité du contrôle de vitesse de croisière dépend de la vitesse, du chargement et du pourcentage de la pente.
Quand vous montez des côtes raides, il est possible que vous ayez à appuyer sur la pédale d'accéléateur pour maintainir votre vitesse. Quand vous descendez une pente, il est possible que vous ayez à freiner ou à passer une vitesse inférieure pour ne pas augmenter de vitesse.
En freinant, vous annulez le contrôle de vitesse de croisière.
CONTACTEUR DE FEUX DE DÉTRESSE
Pour allumer les feu des detresse, pousser sur le contacteur de feu des detresse. Tous les voyants indicateurs clignoteront simultanement lorsque les feu des detresse sont allumés.
Pousser de nouveau pour les éteindre.
Utiliser les yeux de détresse pour avertir les autres conducteurs que vous vous arrêtez ou que vous vous garez dans des conditions d'urgence ou quand votre vehicule devient un danger pour la circulation. Éviter de s'arrêter sur la roue si possible.

CONTACTEUR 4WD (4 ROUES MOTRICES)
Levoyant s'allume en fonction de l'utilisation 4WD.
Système 4WD non permanent
Pour utiliser les 4 roues motrices (4WD), tournez le bouton sur '4H' ou '4L'.
- 2H:2-Roues motrices, mode conduite normale
4H:4-Roues motrices rapide
4L:4-Roues motrices lent
Système 4WD TOD
Tournez le contacteur en fonction des conditions de route.
4H:4-Roues motrices rapide,mode de conduite normale
4L:4-Roues motrices lent

3-32 INSTRUMENTS ET COMMANDES
Les feu des croisements etant allumés,vous pouvezregler la hauteur du faisceau lumineux en fonction de la charge du vehicule.
Pour abaiser le faisceau, tournez la molette vers le haut.
Pour élever le faisceau, tournez la molette vers le bas.
IMPORTANT
Ajuster le faisceau des phares en fonction de la charge du vehicule.
MONTRE DIGITALE
Lorsque le contact est mis, l'heure apparait sur une montre quartz à affichage digital.
Trois boutons vous permettent de régler l'heure.
-
H (HOUR): bouton de réglage de l'heure Pour avancer d'une heures, appuyez sur H avec un object pointu, contact mis. Pour continuer, maintenez le bouton enforcé.
-
M (MIN): réglage des minutes Pour avancer d'une minute, appuyez sur le bouton M à l'aide d'un object pointu, contact mis. Pour continuer, maintenez le bouton en foncé.
- S (SET): bouton de réglage Pour redéfinir l'heure, appuyez sur le bouton S avec un objet pointu, contact allumé. Par exemple, si la montre indique un chiffre entre 8:00 et 8:29 il suffit d'appuyer sur ce bouton pour que la montre affiche 8:00. Si ce bouton est enforcé quand il est entre 8:30 et 8:59, le chiffre 9:00 s'affiche sur l'écran.

IMPORTANT
Quand la batterie a ete deconnectee ou un fusible change, il faut remetre la montre a l'heure.


ALLUME-CIGARES
L'allume-cigares fonctionne si vous l'enforcez complètement après avoir mis le contact en position "ACC" ou "ON". Lorsque l'allume-cigares est suffisamment chaud, il sort automatiquement de son logement et peut être utilisé.

ATTENTION
Le corps de l'allume-cigares devient brulant pendant l'emploi. Il peut occasionner des brûlures.
- Ne pas toucher le corps de l'allume-cigares.
- Ne pas laisser des enfants manipuler ou jouer avec l'allume-cigares.

ATTENTION
L'allume-cigares peut etre brulant et representede lors un danger d'incendie.
- Ne pas maintenir l'allume-cigares enforcé pendant qu'ilchauffe.
- Si l'allume-cigares ne ressort pas automatiquement dans les 30 secondes, il faut le.xxirrer et le faire répacker par un concessionnaire Ssangyong.
IMPORTANT
L'utilisation de la prise de l'allumecigares pour brancher des accessoires peut provoquer des dégats ou des problèmes électriques.
CENDRIER
Cendrier avant
Pour ouvrir le cendrier avant, poussez le couvercle du cendrier. Avecutilisation, repoussez-le complètement vers l'intérieur.
Pour vider le cendrier, ouvrez-le complètement, appuyez sur la plaque métallique et retirez-le complètement.

DANGER
Déposer des cigarettes ou des allummettes incandescentes dans le cendrier enOMPagnie d'autres matieres combustibles peut provoquer un incendie.
Ne pas utiliser le dendrier pour y stocker des déchets.


3-34 INSTRUMENTS ET COMMANDES
Cendrier arrête
Le cendrier arrêté, pour les passagers, est installé sur la console centrale.
Ouvrez le cendrier en faisant pivoter le couvercle vers le bas.
Après utilisation du dendrier, fermez-le complètement.
Pour vider le cendrier, ouvrez-le complètement, appuyez au centre du ressort, faites basculer le cendrier et retirez-le.
Pour remetre le cendrier en place, fixez la base et ensuite, poussez le dans son emplacement.
VERTISSEUR SONORE
Pour actionner l'avertisseur sonore, appuyez au centre du volant (volant sans airbag) ou sur les extrémités gauche ou droite des branches du volant (volant avec airbag).
L'avertisseur fonctionne qu'elle que soit la position du contact.
Utilize- le au minimum.
PLAFONNIER
Eclairage interieur avant
Le plafonnier d'éclairage interieur a deux positions.
Position "Door"
Le plafonnier s'allume lorsqu'une des portes est ouverte et independamment de la position de la serrure de contact.
Position d'éclairage interieur permanent
L'éclairage interieur reste en permanence sans tener compte de la position du contact.
IMPORTANT
Quand le témoin de porte est allumé, il s'estompe quelques secondes après la fermeture de porte.



INSTRUMENTS ET COMMANDES 3-35
Eclairage interieur arriere
Pour allumer la lumière, poussez le bouton. Pour eteindre la luziere, repoussez le bouton.
ECLAIRAGE DE SEUIL
Un éclairage de seuil se trouve sur les portes chauffeur et passager pour éclairer les pieds.
L'éclairage de seuil s'allume à chaque fois que la porte s'ouvre indépendamment de la position du contacteur d'allumage.
Eclairage de la boite a gants.
La boîte à gants est allumé à chaque fois qu'elle est ouverte même lorsque la clé de contact n'est pas insérée dans la serrure.
LAMPE COMPARTIMENTÀ BAGAGES
La lampe du compartment à bagages se situe sur le plafond à l'arrière.
La lampe du compartment à bagages s'allume lorsqu'on ouvre le hayon.
Pour allumer la lumière, pousser sur la partie droite de la lampe.
Pour l'éteindre, pousser sur la partie gauche.



PORTE-GOBELETS (TOUCHETYPE*)
Le porte-gobelets se trouve au centre du boitier console et permet de tener un gobelet dans l'habitable concu à cet effet.
Le porte-gobelets avec une touche type* est une option.
Si vous ne souhaitez pas utiliser le portegobealets avec une touche type, fermez le couvercle en appuyant sur la partie supérieure.

ATTENTION
Quand le vehicule est en mouvement, le liquide peut se repandre.
Le liquide repandu peut endom-mager le vehicule et provoquer des brûlures s'il est chaud.

PARE-SOLEIL
Les pare-soileil peuvent etre rabattus, releves et orientes vers le coté.
Une pochette à documents est installée sur la face interieure du pare-soileil conducteur et un miroir de courtoisie sur la face interieure du pare-soileil passager.

ATTENTION
Ne pas positionner le pare-soileil de maniere a obstruer la visibilité de la route, de la circulation ou autres objets.

PARE-SOLEIL ADDITIONNEL*
Pour empêcher l'éblouissement, le pare-soleil principal et le pare-soleil additionnel peuvent être basculés vers le bas, la droite ou la gauche, si nécessaire.
Une pochette à documents est installée sur la face pare-soileil principal coté conducteur. Un petit miroir de courtoisie est installé sur la face interieure du pare-soileil principal coté passager.

POCHETTES A CARTES
Les pochettes à cartes sont situées sur chaque porte avant.
On peut y stocker cartes, magazines, journaux.
BOITE A GANTS
La boîte à gants s'allume quand le couvercle est ouvert et que la clef de contact est en position ON. La boîte à gants s'ouvre et en tirant sur le levier de déverrouillage et une lampe s'allume pour votre usage de nuit. Appuyez fermement pour la referrer.
ECLAIRAGE DE LA BOITE AGANTS
La boîte à gants est éclairée lorsque sa portes s'ouvre.

DANGER
En cas d'accident ou d'arrêt brusque, la boîte à gants ouverte peut être à l'origine de blessures. Lorsque le vehicule circule, garder la boîte à gants fermée.


Votre vehicule est équipé de poignées de maintient au-dessus des portières du siège passager avant et des portières arrêté.
Les poignées au-dessus des portières arrêté complènnet un cochet pour les manteaux.
Les passagers peuvent utiliser les poignées de maintient pour faciliter leur entrée, leur sortie du vehicule, ou pour se tener lorsque la conduite est difficile.

DANGER
Ne rien accrocher aux poignées de maintient si elles ne possèdent pas de crochets à manteaux.
Accrocher des objets sur les poignées de maintient du vehicule peut obstruer la visibilité du conducteur. Une visibilité limite du conducteur peut entrainer des accidents susceptibles de résultat en des blessures ou des dégats sur le vehicule ou sur les biens.
PRISE ELECTRIQUE AUXILIAIRE
On peut utiliser la prise électrique auxiliaire, située en bas à gauche dans le compartment à bagages, pour le nettoyage de l'habitacle ou autre.

ATTENTION
Ne jamais quitter le vehicule en laissant un apparéil électrique quelconque branché.
Ceci peut cause une décharge de la batterie et entrainer un risque d'incendie. S'assurer que tout apparreil électrique est débranché après usage.

Avant

Arrière

CROCHETS BAGAGES
Votre vehicule possede des crochets a bagages sur le fond du coffre.

DANGER
Il faut utiliser les crochets à bagages pour assurer tout chargement dans le compartment à bagages en utilisant les sangles appropriées.



4
Ce système vous permet de contrôler le chauffage et la ventilation à l'intérieur de votre vehicule.
Si vous véchicule est équipé d'un système d'air conditionné (A/C), il vous est possible de l'utiliser aussi pour contrôler la température du compartment passager.
OUIES DE VENTILATION
Ouies de ventilation laterales
L'arrivée d'air peut être dirigée vers n'importe quel côte de la zone passager avant, au moyen des deux ouïes ajustables de ventilation laterales.
Ouies de dégivrage pare-brise
Les ouïes de dégivrage pare-brise dirigent l'air sur le pare-brise.
Centrales
L'arrivée d'air peut être dirigée à l'intérieur du vehicule au moyen des deux ouïes de ventilation centrales.

- Ouies de ventilation laterales
- Ouies de degivrage pare-brise
-
Centrales
-
Ouiies de ventilation avant pieds
- Ouies de degivrage portieres avant
- Ouies de ventilation arriere pieds
Ouies de ventilation avant pieds
Les ouïes de ventilation avant pieds dirigent de l'air dans la zone pieds à l'avant.
Ouies de dégivrage portières avant
Les ouïes de dégivrage portière avant dirigent de l'air sur les vitres laterales, principalement dans la zone du rétroviseur extérieur.
Ouies de ventilation arriere pieds
Des conduits sous les sièges avant permettant de faire circuler de l'air froid ou chaud vers la zone des pieds à l'arrière.
CLIMATISATION SEMI-AUTOMATIQUE
PANNEAU DE COMMANDE
A. Bouton de commande de température interieur
B. Bouton de commande du ventilateur
C. Bouton de commande de recirculation d'air
D. Bouton distribution d'air
E Bouton de commande d'air conditionné*
A. Commande de la temperature
La commande de la température permet de contrôler la température de l'air qui sort des ouïes de ventilation.
Seulement quand la sélection "AUTO" est enclenché, la température selectionnée peut être maintainue automatiquement.
B. Bouton de contrôle de ventilation
Ce bouton règle la vitesse de la soufflerie interieure.
En position automatique, la vitesse du ventilateur se reglera automatiquement en fonction de la température programmée.



C. Commutateur recirculation d'air
Appuyer sur ce commutateur lorsque vous roulez dans de la poussière ou pour éviter les gaz d'échéagements dans la circulation ou à l'extérieur, et quand vous avez besoin d'un refroidissement ou d'un chauffage rapide dans la zone passager.
Levoyant s'allumera et l'air à l'intérieur sera renouvelé.
En appuyant de nouveau sur le commutateur de re-circulation, vous faites enterre de l'air extérieur dans le compartment passagers. Le voyant s'eteindra.
ATTENTION
L'utilisation prolongée du mode recirculation peut diminuer la qualite de l'air interieur et embuer les vitres.
Utiliser le mode recirculation pendant de courtes périodes.
COMMANDDE REPARTITION DE L'AIR
La commande permet de selectionner la sortie du flux d'air.
Cette commande possède les cinq positions suivantes:
- Face
- Double niveau
- Pieds
- Dégivrage et Pieds
- Dégivrage


1. Position Face (
L'air sort des ouïes de ventilation centrales et laterales.
2. Position Double - niveau (
L'air sort des ouïes de ventilation centrales et laterales, ainsi que des sorties d'air vers les pieds à l'avant.
3. Position Pieds (
L'air sort principalement des sorties d'air vers les pieds à l'avant. Une petite quantité d'air sort des ouïes de dégivrage du pare-brise et des vitres laterales avant.



4. Position Dégivrage et Pieds (
L'air sort aux sorties d'air vers les pieds à l'avant et des ouïes de dégivrage du pare-brise et des vitres laterales avant.
L'air sort des ouies de dégivrage du pare-brise et des vitres laterales avant.
SYSTEME D'AIR CONDITIONNE*
L'unité de réfrigération du système d'air conditionné (A/C) permet de faire baisser la température et d'enlever l'humidité de l'air à l'intérieur de votre vehicule.
Meme avec l'A/C allumé, votre vehicule produit de l'air chaud si vous fixez le contrôle de température sur chaud.


Commande air conditionné*

ATTENTION
L'utilisation du climatiseur lorsque le vehicule circule en montagne ou dans un traffic dense peut entrainer la surchauffe du moteur.
Le vehicule peut etre endommagé.
- Si le cadran indique une surchauffe, coupez le conditionnement d'air.
Pour allumer l'air conditionné (A/C):
- Demarrer le moteur.
- Appuyer sur le commutateur A/C. (levoyantindicateur s'allumera pour confirmer que I'A/C fonctionne.)
- Ajuster la vitesse de la ventilation.
IMPORTANT
L'air conditionné ne fonctionne pas lorsque la commande de contrôle ventilation n'est pas allumée.
Pour éteindre l'A/C :
- Appuyer de nouveau sur le commutateur A/C. (levoyantindicateur s'eteindra pour confirmer que I'A/C ne fonctionne pas.)

ATTENTION
Ne pas utiliser la position "√" ou "√" lors de l'opération de refroidissement par temps très humide.
La différence de température de l'air extérieur et celle du pare-brise pourrait causeur sur la surface extérieur de celui-ci un film de condensation qui pourrait restreindre ou bloquer la visibilité.

Si vous vécique est resté stationné en plein soleil, ouvrir les fenêtres avant d'allumer l'air conditionné (A/C).
Pour enlever la buée des vitres lorsqu'il pleut ou lorsqu'il y a beaucoup d'humidité, faire baisser le niveau d'humidité en utilisant l'A/C.
Allumer le système A/C pendant quelques minutes au moins une fois par这段时间, même pendant les mois d'hiver ou quand le système n'est pas utilisé régulièrement.
Ceci permet de maintainir une lubrication correcte du compresseur et des joints et de prolonger la durée de service du système.
La conduite en circulation au ralenti risque de réduire l'efficacité du système A/C.
Le compresseur A/C ne fonctionne pas lorsque le bouton de contrôle ventilation est en position OFF.
Si les grilles de prise d'air à l'avant du pare-brise sont obstruées (par de la neige, de la glace, des feuilles, etc.), l'efficacité de la ventilation, du système de chauffage et d'air conditionné peut être affectée.

CLIMATISEUR AUTOMATIQUE TABLEAU DE COMMANDES
- Commutateur du recyclage d'air
- Contacteur AUTO
-
Sélecteur TEMP
-
Selecteur de la vitesse du ventilateur
- Contacteur du dégivrage
-
Contacteur de climatisation
-
Interrupteur OFF
8.VFD - Commutateur MODE
Appuyez sur le contacteur pourmettre lesysteme en marche. Sur le VFD (ecran fluorescent),le témoin AUTO s'allume.
En mode AUTO, la vitesse du ventilateur, l'écoulement et les conduites d'air sont automatiquement régles en fonction de la température établie.
Selecteur TEMP
Vou pouve étabir la température entre 17^ et 32^
- Appuyez sur la partie (▲) du sélecteur pour augmenter la température de 0,5^ .
- Appuyez sur la partie () du sélecteur pour abaiser la température de 0,5^ .
Interrupteur OFF
Appuyez sur cet interrupteur pour arrer le système de climatisation. L'écran VFD s'eteint également.
Bouton de commande de la vitesse du ventilateur
La vitesse du ventilateur peut se régler en 6 étapes.
- : Diminue le vitesse
- : Augmente le vitesse
Lorsque you touchez au bouton, la vitesse du ventilateur s'affiche sous forme de barre et "AUTO" s'eteint.
Commutateur MODE
En appuyant sur ce commutateur, le mode d'écoulement de l'air se modifie selon la séquence indiquée dans le schéma.

Lorsque ce commutateur est en fonction, le témoin AUTO s'éteint.
Bouton climatisation
Quand you appuyez sur le bouton, le voyant indicateur () s'allume et la climatisation commence à fonctionner.
Lorsque you appuyez de nouveau sur le bouton, la climatisation s'arrête de fonctionner et l'indicateur s'eteint.
L'indicateur AUTO ne s'allume pas pendant que vous touchez au bouton.
Commutateur du recyclage d'air
Ce commutateur permet d'alternier le mode admission de l'air externe avec le mode recyclage.
Si le mode admission d'air frais est seLECTIONné, le témoin (s'allume. Si le mode recyclage est seLECTIONné, le témoin (s'allume. Lorsque ce commutateur est en fonction, le témoin AUTO s'eteint.

DANGER
Le fonctionnement continu du recyclage d'air peutrendre l'atmosphère etouffante et embuer les fenêtes. Utiliser ce mode par périodes brèves. Il peut même provoquer une asphyxie mortelle si de l'oxyde de carbone a déjà pénétré dans l'habitacle. Une fois que l'air a passé par la zone contaminée, appuyer de nouveau sur le commutateur du recyclage pour chasser l'air de l'habitacle.
(Suite)

DANGER
(Suite)
- Par temps pluvieux ou de grande humidité, la différence entre la température extérieure et celle du pare-brise peut creer de la buée sur les vitres et limiter la visibilité. Cette condition peut provoquer des accidents et, en conséquence, des dommages matériels et physiques. Dans ce cas, selectionner le mode admission d'air frais avec le commutateur du recyclage et appuyer sur le contacteur du dégivrage (W) pour evacuer la buée sur le pare-brise.
IMPORTANT
Si vous appuyez sur le contacteur de dégivrage (W) en mode recyclage d'air, l'écoulement d'air passée automatiquement en mode admission d'air frais.
Contacteur du dégivrage
Lorsque you appuyez sur ce contacteur, l'air est dirigé vers le pare-brise et les vitres des portes, le climatiseur se met en fonction automatiquement et l'air extérieur pénétre dans le vehicule. Le témoin ( ) s'allume alors.
Une fois le dégivrage terminé, appuyez sur le contacteur pour revenir aux opérations habituelles.
Quand ce contacteur est en fonction, le témoin de la climatisation ( ) et celui du mode admission d'air ( ) frais s'allument. Le témoin AUTO s'éteint.
Opération automatique
- Etablissez la température souhaitation avec le selecteur TEMP.
- Appuyez sur le contacteur AUTO. La température de l'habitacle s'ajustera automatiquement. La répartition de l'air et la vitesse du ventilateur seront également établies automatiquement.
OPÉRATION MANUELLE
- En condition de refroidissement ou de chauffage automatique, vous pouvez commander manuellement les fonctions de la climatisation en utilisant le contacteur du climatiseur, le selecteur de la vitesse du ventilateur, le contacteur MODE ou le contacteur du recyclage d'air.
- Le tímein AUTO s'éteint alors. Si vous désirez revenir aux fonctions entièrement automatiques après quelles réglage manuel, appuyez sur le contacteur AUTO. Le tímein AUTO s'allumera.
RéPARTITION DE L'AIR





5
TURBOCOMPRESEUR


5-2 TURBOCOMPRESSEUR
BLOC-MOTEUR

- ABS/ABD (TCS)*
- Jauge à huile moteur
- Moteur d'essuie-glace
- Bouchon de replissage d'huile moteur
- Plaque d'identification
-
Reservoir du liquide de frein
-
Boite à fusibles
- Réservoir du liquide de lave glace
- Batterie
- Réservoir d'huile de direction assistée
- Filtre à essence
-
Moteur
-
Kit turbo
- Filtre à air
- Réservoir d'expansion du liquide de refroidissement
INTRODUCTION

- Cylinder
- Echangeur d'air
- Compression du flux d'air
- Compresseur
- Entrée d'air
-
Entrée d'huile Turbo
-
Turbine
- Sortie des gaz d'échéppement
- Soupape de décharge
- Sortie d'huile du Turbo
- Entrainement du compresseur
Specification
| Modèle | D29ST |
| Couple maximum (Nm/rpm) | 250/2250 |
| Puisance maximum (ps/rpm) | 120/4000 |
Qu'est ce qu'un turbocompresseur?
La conception du turbocompresseur est basée sur la technologie des turbines à gaz, mais opère sous considérablement plus de pression. Le turbocompresseur est constitué de deux éléments; une turbine et un compresseur, tout deux reliés ensemble par l'arbre central. La vitesse de rotation de la turbine se situe entre 50,000 et 160,000 t/mn, utilisant l'énergie des gaz d'échéppement pour entrainer le compresseur. Le compresseur aspire de l'air frais, qu'il envoie dans les cylindres sous forme comprése. Comme plus de mélange est insufflé dans le moteur, ses performances sont améliorés de 15 à 30% en comparaison à un moteur atmosphérique.
Avantage du turbocompresseur
Le turbocompresseur permet une utilisation plus soupé et une plus grande efficacité du moteur
Augmente la puissance spécifique
Compensé la perte de puissance en al-. titude
- Réduit les émissions et le bruit
5-4 TURBOCOMPRESEUR
ENTRETIEN PREVENTIF
Le propriétaire du vehicule est ardemment invité à suivre les précautions suivantes pour s'assurer de l'utilisation optimale du Turbocompresseur.

ATTENTION
- Prendre le temps de réduire au maximum la température et la vitesse de la turbine avant de stopper le moteur.
- Àprouse une opération de vidange d'huile ou tout autre service qui implique une vidange du turbo, celui-ci devrait être rempli d'huile au montage. Lancer le moteur plusieurs fois avant de l'autoriser à démarrer, laisser le alors tourner au ralenti, le temps d'établier la complète circulation et pression d'huile, avant d'être autorisé à passer aux régimes supérieurs.
(Suite)

ATTENTION
(Suite)
- Envisager les régimes supérieurs au ralenti seulement après que la pression d'huile soit nominalement établie. Accélérez le moteur immédiatement après le démarrage peut provoquer des dommages au turbocompresseur. Obliger le turbocompresseur à fonctionner avant que les paliers de celui-ci soient correctement lubriés, provoque des frictions pas nécessaires.

ATTENTION
- Eviter les longues périodes de régime ralenti. La combinaison des basses pressions dans la turbine et le compresseur pourrait provoquer des suintements d'huile à l'intérieur de la turbine et du comprisseur au travers du matériel d'étanchéité.
- Aasse température ambiente, ou quand le vehicule n'a pas été utilisé depuis une longue période, le flux d'huile normal et la pression d'huile sont affecté. Sous ces conditions, le moteur devrait être démarré et laissé au ralenti pendant quelques minutes avant d'acceder aux régimes supérieurs.
ENTRETIEN DU
TURBOCOMPRESSEUR
Une bonne surveillance doit être respectée, particulièrement au regard de la qualité du filtrage de l'air d'admission et du filtrage du circuit de lubrification. Ces points sont importants à cause de la vitesse d'opération du turbocompresseur.
Le respect correct des procédures et les entretiens préventifs sont des pratiques qui permettent d'optimiser la montée en phase et les performances du turbocompresseur.

ATTENTION
Faire fonctionner le turbocompresseur sans la tubulure d'admission ou d'échéppement peut engendrer de sévères dommages au moteur.
- Turbocompressor
- Conduite d'entrée d'huilee
- Conduite d'entrée d'échangeur d'air
- Conduite d'échévement






6
EN CAS D'URGENCE

6-2 EN CAS D'URGENCE
ROUE DE SECOURS, CRIC ET TROUSSE A OUTILS
La roue de secours est retenue sous le plancher du coffre à bagages, derrière le pare-chocs arrêté. Le cric et la trousse à outils sont logés sur la droite dans le coffre à bagages.
- Outils
- Cric
- Clef d'écrous de roues
- Pinces
- Clef plate
- Joint caoutchouc
- Tournevis (-, +)
- Trousse à outils
- Clef plate

DANGER
- Ne pas stocker le cric, la roue de secours ou tout autre équipement dans le compartment passager.
- Lors d'un arrêt brutal ou d'une collision, ces équipements non arrimés pourraient blesser les passagers.
- Rangez le cric, la roue de secours et les outils dans les emplacements prévus à cet effet.



3

4



7
PROPRIÉTÉS CRIC
Charge de travail sure 1300 kg

DANGER
N'utilisez pas le cric fourni avec voitré vehicule sur d'autres vehicules.
N'utilise le cric que pour le vehicule avec lequel il a ete fourni.
L'utilisation de ce cric sur tout autre vehicule peut endommager les autres vehicules ou votre cric et entrainer des accidents.
Le cric a pour unique fonction des soulever le vehicule lorsque vous changez une roue.
Ne dépassez jamais la charge maximale autorisée du cric.
Lorsque you travailliez, you nevez utiliser des chandelierles de soutien sous le vehicule.
EMPLACEMENT DU LEVIER (MODELE 7 PLACES)
Le levier pour-retirer la roue de secours est placé en bas du côté droit du compartment à bagages.
Modèle SPORTS (sur le côté droit, en bas, du siècle arrêté)
IMPORTANT
La barre du vérin à vis se situe sous le siège arrêté (recouverte par le tapis) (Mème emplacement pour le modele SPORTS).


6-4 EN CAS D'URGENCE
CHANGEMENT D'UNE ROUE
En cas de crevaison, suivre les instructions de sécurité avant de changer la roue:
Précautions de sécurité pour changer une roue
- Allumer les yeux de détresse.
- Quittez la route avec prudence et choisissez un endroit sur, éloigné de la circulation.
- Stationnez sur une surface ferme et plane.
- Enclenchez les yeux de détresse. Placez le levier sélecteur en position "P" (transmission automatique) ou engagez la première vitesse ou la marche arrière (boîte de vitesses manuelle).

- Faites-sortir tous les passagers du vehicule, qui doivent se tener dans un endroit sur, à l'écart de la circulation et du vehicule.
- Placez le levier sélecteur en position "P" (transmission automatique) ou engagez la première vitesse ou la marche arrêté (boîte de vittesses manuelle).
- Faites sorter tous les passagers du vehicule, qui doivent se tener dans un endroit sur, à l'écart de la circulation et du vehicule.
- Utiliser une cale, un morceau de bois ou des pierres en devant et derrière la roue située en diagonale de cette que vous pouzez changer.
Si vous ne suivez pas ces consignes de sécurité, vous risquez de voir votre vehicule glisser du cric et évientuellesment causer des blessures graves.
Localisation de manivelle de roue de secours
La manivelle de roue trouve sous la banquette arriere, recouverte par la moquette.

EMPLACEMENT DU LEVIER: MODELE SPORTS
- Barre
- Demonte roue
Ils sont situés sous la seconde rangée de sièges arrêté (recouverts par le tapis).
Retirer la roue de secours
- Insérez la manivelle dans le trou audressus du pare-chocs arrrière.
- Rattachez la clé d'écrous de roues à la manivelle.
- Tournez la clé dans le sens inverse des aiguilles d'une montre jusqu'à ce le cable du treuil soit relichéé.
- Glissez le plateau de levage par le centre de la roue de secours et placez la roue de secours à côté de la roue dégonflée
Installez une rouel
- Insérer la manivelle du cric dans le trou du vérin et tourner dans le sens inverse des aiguilles d'une montre jusqu'à ce que le cable/dispositif de retenue soit tendu pour insérer dans la roue.
- Installer le dispositif de retenue en travers au centre de la roue, la valve vers le bas.
- Tourner la manivelle dans le sens des aiguilles d'une montre pour assurer le pneu. S'assurer que le pneu soit bien droit et ne touche pas d'autres pieces. Continuer jusqu'à ce que le mecanisme de levage clique 3 fois.
- Vérifier que l'assise est bonne sur les supports supérieurs et resserrer si nécessaire.
- Vérifiez la surface externe vers le bas.




DANGER
Lorsque you installez une roue de secours sur un transporteur, veuillez suivre les instructions suivantes:
- Placer le pneau à plat sur le sol et s'assurer que la surface extérieure de la jante est dirigée vers le BAS (valve du pneau vers le bas).
- Repérez l'emplacement correct de la plaque de levage en regardant à travers le centre de la jante.
- Lorsque vous assurez le pneu dans son habitacle, assurez-vous qu'il est posé sur le fond et ne serrez pas trop.
- Si la roue de secours est crevee,
vousdezela garderdanslecoffre
a bagages.
ROUÉ DE SECOURS DU VÉHICULE À 7 SIÉGES
Dépose et installation de la roue de secours

DANGER
Se conformer à ces instructions pour la sécurité avant de changer le pneu endommagé.
- S'assurer d'être dans une situation sans danger et quitter la route pour ne pas générer la circulation. Se garer sur un sol ferme et égal et allumer les yeux de détresse. Éteindre le moteur et tirer le frein de stationnement à fond.
-
Placer une cale, un bloc en bois ou des pierres devant et derrière le pneu diagonalement opposé au pneu à changer.
-
Tournez le boulon de l'attache dans le sens contraire des aiguilles d'une montre comme indiqué à l'aide du démonte roue.
- Retenez le pneu et le support puis retirez le boulon.
- Ensuite, abaissez le pneu avec son support et extrayez le pneu.

Musso Sport uniqueness

DANGER
Pour réinstaller le pneu sur le support, placer sa surface extérieure vers le bas. Serrer le boulon fermement.

DANGER
- Quand la roue de secours est installée, rouler à moins de 60~km / h . Ne pas oublier que la vitesse maximale de conduite est 80~km / h et dévelopir la pression des pneus à 60 psi. Éviter de conduire sur de longues distances.
- La roue de secours ne devrait être utilisée qu'en cas d'urgence; ne jamais l'employer dans des conditions normales de conduite. Si une roue de secours est installée, la faire replacer au plus tôt avec la roue spécifique auprès de la plus proche station de service agrée par Ssangyong.

DANGER
Si vous retirez le boulon sans retenir le pneu et son support, ils tomberont brusquement et vous risquez d'être blessé. Au besoin, placer le cric sous le pneu et son support comme dans la figure pour les abaisser lentement.



6-8 EN CAS D'URGENCE
Changer une roue
- Enlever la roue de secours de l'aire de rangement où elle se trouve ainsi que les outils de levage.
- Utiliser le démonthe-roue pour desserrer les boulons de la roue d'un tour chacun.

ATTENTION
N'enlever�除usboulonsjusqu'avoir souleve la rouedu sol.
- Insérer la barre de connexion du cric et le demonte-roue dans le cric.
- Faire tourner la barre de connexion du cric dans le sens des aiguilles d'une montre pour légèrement lever la tête.

- Placer le cric comme indiqué sur la figure ci-dessous.
- Placer le cric verticalement au point de levage avant ou arrêté le plus après la roue que vous désirez changer.

ATTENTION
Ne pas essayer de soulever le vehicule tant que le cric n'est pas dans la position correcte, et assure à la fois au vehicule et sur le sol.
7. Soulever le vehicule en tournant la barre de connexion du cric dans le sens des aiguilles d'une montre jusqu'à ce que le pneu se trouve 3 cm au-dessus du sol.

- Lorsque le cric commence à soulever le vehicule, assurez-vous que le cric est place correctement et qu'il ne risque pas de glisser.
IMPORTANT
Ne pas sou lever le vehicule plus qu'il n'est nécessaire pour changer la roue.


DANGER
Ne vous mettez jamais sous la voiture, n'allumez jamais le moteur ou ne le faites pas fonctionner pendant que la voiture est sur le cric. Le vehicule peut glisser du cric et causer des blessures graves ou un accident mortel.
- Enlever complètement les boulons en les dévissant dans le sens inverse des aiguilles d'une montre.
- Enlever le pneu et la roue.
- Monter la roue de secours sur le moyeu.

ATTENTION
- Ne jamais utiliser d'huile ou deGRAISSE sur les boulons de roues.
- Toujours utiliser les boulons de roues adaptations.
- En utilisant la clé à boulons dans la trousse à outils du vehicule, serrer le boulon fermement.
- Dès que possible, amenez votre voiture chez un concessionnaire Ssangyong ou une station de services autorisée Ssangyong.
-
Si les boulons sont mal serrés, il est possible qu'ils se desserrent.
-
Remplacer et remetre les boulons en place en tournant dans le sens des aiguilles d'une montre.
- Toumer la barre de connexion du cric dans le sens inverse des aiguilles d'une montre et faire descendre le vehicule sur le sol.
- Serrer fermement les boulons avec une pression de 74 ± 14 lb-ft (100 ± 20 N·m); pour une roue acier inox, avec une pression de 89 ± 7 lb-ft (120 ± 10 N·m); pour une roue aluminium, selon le numéro de séquence de la figure ci-dessous.
- Vérifier et ajuster la pression des pneus.
- Assurer le cric et les outils à leur place.
- Assurer le pneu creve dans la cavité pour le pneu de secours sur le volet arrêté.


DANGER
Lorsque you utilisez le cric, le vehicule peut se destabiliser et bouger, endommageant ainsi le vehicule et provocant des blessures graves.
- N'utiliser le cric fourni qu'en position de levage correcte.
- Lorsque vous installez le cric pour soulever le vehicule, le cric doit etreperpendicularaire au sol.
- Ne pas se placer sous un vehicule soulevé par un cric.
- Ne pas démarrer un vehicule lorsque celui-ci est soulevé par un cric.
- Avant d'utiliser le cric, faire descendre tous les passagers du vehicule et les fairemettre à l'écart du vehicule et de toute circulation.
- N'utiliser le cric que pour changer de roue.
- Ne pas utiliser le cric sur une surface inclinée ou glissante.
(Suite)

DANGER
(Suite)
Utiliser le cric le plus pres possible de la roue à changer.
- Bloquer la roue située en diagonale de la roue à change.
- Avant d'utiliser le cric, utiliser le frein à main et passer la 1ère vitesse ou la marche arrière (transmission manuelle) ou P (transmission automatique).
- Ne pas utiliser le cric ni changer de roue dans un endroit à proximé de la circulation.
DÉMARRER LE MOTEUR AVEC DES CABLES DE PARALLELE

ATTENTION
- Ne pas essayer de démarrer le vehicule en le poussant ou en le tirant.
- Ceci peut endommager le convertisseur catalytique et le trans-axe automatique et entrainer des blessures personnelles.
Il est possible de démarrer un vehicule dont la batterie s'est déchargée en transférant du courant à partir de la batterie d'un autre vehicule.

DANGER
Les batteries peuvent explode.
Vous risqueriez de vous faire bruler par de I'acide de batterie.
Les court-circuits électriques peuvent entrainer des blessures ou endommager les vehicules.
- Ne pas exposer de batterie aux flammes ou aux étincelles.
- Ne vous penchez pas au-dessus de la batterie lorsque vous démarrez un vehicule en parallèle.
- Ne pas laisser les bornes de cable se toucher.
- Portez des protections oculaires lorsque vous travailliez après d'une batterie.
- Ne laïsez pas de liquide batterie venir en contact avec les yeux, la peau, du tissu ou des surfaces peintes.
- S'assurer que la batterie procurant le courant a le même voltage que la batterie le recevant.
(Suite)

DANGER
(Suite)
- Ne pas déconnecter une batterie décharge du vehicule.
Faute de suivre ces précautions ou les instructions suivantes pour démarrer une batterie avec des cables de parallèle, vous risquez de causeur l'explosion de la batterie, ce qui peut entrainer des brûlures à l'acide ou des court-circuits électriques.
Ceci risque de creer des dégats dans les systèmes électriques dans les deux vehicules, et peut cause des blessures graves.
Avant de mettre en parallèle avec une autre batterie :
- Serrer le frein à main.
- Dans un vehicule à transmission automatique, passer en position PARK; avec une transmission manuelle 5 vitesses, passer en au point mort.
- Eteindre tous les accessoires électriques.

ATTENTION
Eteindre la radio avant de démarrer votre vehicule en parallèle.

DANGER
Diriger toujours les câbles de parallèle de façon à ce qu'ils ne se prènnant pas aux parties tournantes dans le compartment moteur. Vous risquez sinon de causeurs dégât à votre vehicule et d'entrainer des blessures personnelles graves.
6-12 EN CAS D'URGENCE
Branchez les câbles dans l'ordre indiqué sur l'illustration:
Pour démarrer votre batterie en parallele, connectez les cables dans l'ordre indiqué sur l'illustration:
- Branchez une extrémité du premier cable sur la borne positif de la batterie utilisée pour le démarrage (identifiée par le signe "+" sur le boitier ou la borne de la batterie).
- Branchez l'autre extrémité de ce cable sur la borne positive de la batterie déchargee (signe "+").

- Branchez une extrémité du second cable sur la borne négative de la batterie utilisée pour le démarrage (identifiée par le signe "-").

DANGER
- Il ne FAUT pas effectuer la dernière connexion au vehicule devant être charge avec la borne négative ("-") de la batterie.
Pour cette derniere connexion, attacher la patte à un support en acier boulonné au bloc moteur. - Il faut effectuer cette dernière connexion en se reculant le plus possible de la batterie.
-
En connectant le cable de parallele à la borne négative de la batterie décharge, vous risqueriez de produit des étincelles ou eventuèlement une Explosion de la batterie. Il pourrait en résultat des blessures graves ou des dégats sur le vehicule.
-
Effectuer la derniere connexion à une surface convenable, comme une patte en acier boulonnée au bloc moteur.
- Le moteur du vehicule assurant le démarrage peut tourner pendant le démarrage.
Les tentatives de démarrage du moteur d'un vehicule dont la batterie est déchargée doivent être effectues à intervalles d'une minute et ne peuvent dépasser 15 secondes.
Une fois que le vehicule dont la batterie était déchargée a démarré :
- Déconnecter la connexion (-) avec précaution. Commencer avec le vehicule dont la batterie est décharge.
Laisser tournier le vehicule dont la batterie est decharge. - Déconnecter le contact négatif du vehicule fournissant la charge.
- Déconnecter le contact + des deux batteries.
REMORQUAGE DU VEHICULE
- Faire fonctionner le vehicule décharge pendant environ 20 minutes. Ceci permettra au système de recharger votre batterie.
- Si votre batterie se décharge encore, consultez votre concessionnaire Ssangyong ou une station de services autorisée.
Si un remorquage s'avere nécessaire, contactez un concessionnaire Ssangyong ou un service de remorquage professionnel.

DANGER
- Ne jamais laisser des passagers circuler dans un vehicule remorqu.
- Ne jamais remorquer un vehicule à une vitesse supérieure à la vitesse de sécurité ou de la vitesse imposée.
- Ne jamais remorquer un vehicule avec des pieces endommagées qui sont pas totalement fixées au vehicule.
Si vous n'observe pas ces précautions, vous risquez des accidents.

Votre vehicule (vehicules 4 roues motrices) doit etre remorqué avec un chariot de remorquage sous les roues ou sur un socle plat.

ATTENTION
Pour remorquer le vehicule avec les roues avant/arrête sur le sol, ne pas oublier de déconnecter l'arbre de point avant/arrête de la boite de transfert ou de l'axe d'assemblage et de les assurer dans une position sure.

ATTENTION
- Ne jamais remorquer votre vehicule par l'avant/l'arrière avec les roues arrêté/avant sur la route.
- Si vous doivent restoreriez la vehicule par l'avant/l'arrière, utiliser un chariot de remorquage sous les roues avant.
Remorquer votre vehicule avec les roues arrriere/avant sur la route peut entrainer de graves dégats dans la transmission de votre vehicule.
REMORQUAGE D'URGENCE
Pour un remorquage d'urgence si aucun spécialiste n'est disponible, votre voiture est équipée d'un crochet de remorquage à l'avant et à l'arrête du vehicule.




Si vous remorquez avec une corde:
- Accrochez la corde au crochet au centre avant du vehicule, aussi serré que possible.
- Activez les feuels de détresse des deux vehicules.
- Placez le levier de vitesse au point neutre et l'chez le frein à main.
- Mettez le contact sur ON pour débloquer la colonne de direction et pour permettre aux voyants des freins, à l'advertisseur sonore et aux essuie-glaces de fonctionner.
Seul le conducteur devrait se trouver dans le vehicule pour le diriger et freiner.
Pour éviter l'entrée de gaz d'échéagements du vehicule tracteur, fermez les fenêtres et place le ventilateur en mode recyclage interieur. - Roulez doucement et évitez les mouvements brusques.
DANGER
Quand vous remorquez avec un cable de remorquage, contrôle que le vehicule remorqué ne risque pas de se detacher.
- Ne pas remorquer si les roues, la transmission, les essieux, la direction ou les freins sont endommages.
- Ne pas enlever la cléf de contact de la serrure de contact : il sera impossible d'utiliser la direction du vehicule.
ATTENTION
Lorsque you remorquez le vehicule avec un cable de remorquage, il est possible d'endommager le vehicule. Pour réduire les risques de dégats,
- N'utiliser de crochets de remorquage que si vous ne disposez d'aucun autre équipement de remorquage.
- Ne pas remorquer un vehicule par l'avant.
Garder le cable de remorquage éloigné du pare-chocs. - S'assurer que le cable de remorquage est fixé suturement au crochet de remorquage, aux deux bouts. Contrôler en tirant sur le cable de remorquage.
(Suite)
ATTENTION
(Suite)
- Remorquer avec un cable de remorquage peut entraîner des dégats graves dans la transmission automatique.
Lorsque you remorquez un vehicule à transmission automatique, utilisez un chariot ou un dispositif de levage des roues. - Quand vous remorquez un autre vehicule, utilisez le crochet de remorquage arrêté.
ATTELAGE D'UNE REMORQUE*
Le vehicule étant principalement destiné à transporter des passagers, la conduite, le freinage, la durabilité et la consommation seront affectés par l'attelage d'une caravane ou d'une remorque.
Votre sécurité et votre satisfaction dépendent d'une utilisation correcte de l'équipement approprié. En outre, vous nevez éviter toute surcharge et autres utilisations abusives.
La masse maximale autorisée de la remorque chargée dépend de l'utilisation prévue et de l'equipement spécial dont vous disposez. Avant d'atteler une remorque, assurez-vous que le vehicule dispose de l'equipement nécessaire.
Votre concessionnaire Ssangyong vous fournir et vous aidera à installer l'équipment d'attelage en fonction de vos besoins.
Charge remorque
Pour charger correctement votre remorque, il vous faut savoir calculer le poids total autorisé en charge et le poids de la boule de la remorque. Le poids total autorisé en charge est le poids de la remorque avec toute sa charge. Vous pouvez mesurer le poids total autorisé en charge en pesant la remorque complètement chargée sur une balance vehicule.
Le poids de la boule de la remorque est la force vers le bas exercée sur l'amarrage par l'attelage remoque à sa hauteur normale de remorquage. Vous pouvez mesurer ce poids sur une balance domestique.
Le poids de votre remorque chargée (poids total en charge) ne doit jamais dépasser les limites spécifiées.
Le poids maximal autorisé pour une boule de la remorque est de 140kg.
Les charges autorisées pour les remorques sont valides pour des gradients de 6,8% à 12, 8% selon la puissance de moteur appliquée.
Quand la remorque a ete attachee, il ne faut pas depasser la charge arriere permise pour le vehicule tractant totalement charged (y compris ses occupants).
Limites maximales de charge (unit: kg)
| Type | Remorque | Languette | |
| D29ST/G23D | avec frein | 2,300 | 140 |
| sans frein | 750 | 140 | |
| G32D | avec frein | 2,300 | 140 |
| sans frein | 750 | 140 |
DANGER
Sur des terrains plus élevés, il est possible que la puissance du moteur et la gradabilité chutent ; il n'est alors pas possible d'utiliser l'intégrality de la charge remorque autorisée sur des terrains montagneux.
Au dessus de 1000m d'altitude, les charges remorque autorises doivent etre réduites de 10% à chaque 1000m d'altitude.
DANGER
Le poids total autorisé en charge avec la remorque ne doit pas excéder le GVWR (masse maximale) du vehicule. Le poids total en charge du vehicule est le poids de ce vehicule, du conducteur, des passagers, des bagages ou de la charge, plus le poids de l'attache et de la languette de remorque.



DANGER
Un chargement incorrect ou des vents lateraux, le passage de gros camions ou les irrégularités de la route peuvent entrainer l'oscillation ou la séparation de la remorque.
- Ajuster la charge de la boule en distribuant la charge de la position de la remorque.
- Vérifier en pesant séparément la remorque et la charge de la boule.
- Vérifier les législations de l'etat ou du territoire concerné pour les capacités de poids de remorquage légaux autorisés.
6-18 EN CAS D'URGENCE
Freins remorque
Si on utilise les freins remorque, il vous faut suivre toutes les instructions fournies par le fabricant. Ne jamais modifier le système de frein de votre vehicule.
Feux remorque
S'assurer que votre remorque est équipée de deux correspondant aux exigences locales et nationales.
Toujours vérifier le fonctionnement correct de tous les yeux de la remorque avant deCOMMencer à remorquer.
Pneus
Lorsque you tractez une remorque, assurez-vous que vos pneus sont bien gonflés à la pression indiquée page 7-27.
Chaines de sécurité
Toujours attacher des chaînes de sécurité entre votre vehicule et la remorque. Croiser les chaînes de sécurité sous la languette de la remorque pour que la languette ne tombe pas terre au cas ou la remorque se séparait de l'attache. Suivre les recommendations des fabricants pour attacher les chaînes de sécurité. Laisser toujours assez de mou pour permettre un virage complet. Ne jamais laisser les chaînes de sécurité trainer sur la route.
Liquide de freins
Changer le liquide de freins tous les 15 000km (9000 miles) si vous réunissez les conditions suivantes.
- Vous tractez frequently une remorque.
- Vous roulez en terrain valonné ou montagneux.
Liquide de transmission automatique
Un entretien plus fréquent est conseillé si vous tractez souvent une remorque.
Conseils relatifs au remorquage
Lorsque you tractez une remorque,Vote vehicule ne reagit pas de la meme maniere que dans des conditions de conduite normales.
Pour plus de sécurité, respectez les précautions suivantes :
Exercez-vous à tourner, arrêté et rouler en marche arrière avec une remorque avant de vous engager sur la route. Ne tractez une remorque dans la circulation que lorsque vous étés sur de pouvoir conduire le vehicule et la remorque en toute sécurité.
- Avant de prendre la route, vérifie le bon fonctionnement des frais de la remorque.
- Ne dépassez pas 50 km/h ou la vitesse maximale autorisée, si elle est inférieure.
Veiliez à disposer d'un espace suffisant lorsque vous prenez un virage et évitez les manœuvres brusques.
- Evitez les démarrages, accélérations ou arrêts brutaux.
- Evitez les changements de file ou les changements de direction brusques.
- Conduisez toujours à une vitesse modérée.
Always have someone guide you when reversing. - Faites-vous toujours guider lorsque vous roulez en marche arrêté.
- Laissez une distance d'arrêt ajusté. Celle-ci est en effet augmentée par la présence d'une remorque. Sur un vehicule équipé d'une transmission automatique, sélectionner la plage de conduite 2 ou, si nécessaire, 1 pour des efforts de frein moteur.
- Eviter de tener la pédale de frein enforcée pendant trop longtemps ou trop féquèment, ceci risque d'entrainer une surchauffe des freins ou une réduction de l'efficacité du freinage.
- Ralentissez et rétrogradez avant d'aborder une descente longue ou à fort pourcentage.
Il n'est pas recommandé de stationner sur une pente raide.
Il est vivement déconseilé de laisser un vehicule tractant une remorque stationner sur une pente.
Si jamais un accident survient, par exemple si l'attache remorque/caravane se désengage, les occupants peuvent être blessés et le vehicule et la remorque endommages.
Si une personne retire les cales de votre remorque en restant derrière celle-ci, elle risque d'être blessée. En effet, si les freins ou la barre d'attelage glissaient, la remorque pourrait reculer. Veillez à ce que la personne retirant les cales des roues se tienne sur le côte.
- Respectez les instructions du fabricant de la remorque.
Conduite en pente
Ralentissez et rétrogradez avant d'aborder une descente longue ou à fort pourcentage. Si vous ne rétrogradez pas, vous devrez utiliser vos freins à outrance, ce qui entrainerait leur échauffement et une perte de leur efficacité.
Lorsque you abordez une longue montée, rétrogradez et ne dépassez pas 40km / h ,afin de réduire le risque de surchauffe du moteur et de la transmission.
6-20 EN CAS D'URGENCE
Stationnement en pente
Vous ne devez pas stationner en pente votre vehicule muni d'une remorque. En cas de probleme, il se peut que votre remorque commence a bouger. Des personnes peuvent etre blesses et leur vehicule et la remorque endommagés. Toutefois, si vous devez stationner en pente, procedez comme suit :
- Appuyez sur la pédale de frein, mais ne vous mettez pas en position “P” (transmission automatique) et restez au point mort (boîte de vitesses manuelle).
- Demandez à quelqu'un de placer des cales sous les roues de la remorque.
- Une fois les cales en place, relâchez la pédale de frein jusqu'à ce que les cales supportent la charge.
- Appuyez à nouveau sur la pédale de frein. Serrez alors le frein à main et placez-vous en position "P" (transmission automatique) ou en première vitesse ou en marche arrêté (boîte de vitesses manuelle).
- Relâchez la pédale de frein.
Démarriage après un stationnement en pente
- Maintenez la pedale de frein enforcée tout en:
- démarrant le vehicule
- passant en première vitesse ou en marche arrière, et
-
desserrant le frein à main.
-
Relâchez la pédale de frein.
- Roulez lentement jusqu'à ce que la remorque ne repose plus sur les cales.
- Arrêtez-vous et demandez à quelqu'un de ramasser et de conserver les cales.
Entretien en cas d'attelage d'une remorque
Le vehicule devra etre entretenu plus souvent si vous tractez une remorque. Reportez-vous au programme d'entretien pour plus d'informations a ce sujet.En ce qui concerne I'attelage d'une remorque,les éléments les plus importants sont I'huile de boite de vitesses (ne replissez pas trop), I'huile moteur, la courroie, le circuit derefroidissement, le liquide de frein et le réglage des freins.Chacun de ces éléments est abordede dans ce manuel et I'index vous aidera à les trouver rapidement. Si vous tractez une remorque, il convient de consulter ces sections avant de partir.
Vérifiez régulièrement que les écrous et les boulons du crochet d'attelage sont bien serrés.

7
ENTRETIEN ET MAINTENANCE


7-2 ENTRETIEN ET MAINTENANCE
BLOC-MOTEUR
Moteur Diesel

- ABS/ABD (TCS)*
- Jauge à huile moteur
- Moteur d'essue-glace
- Bouchon de replissage d'huile moteur
-
Plaque d'identification
-
Réservoir du liquide de frein
- Boîte à fusibles
- Réservoir du liquide de lave glace
- Batterie
-
Réservoir d'huile de direction assistée
-
Filtre à essence
- Moteur
- Kit turbo
- Filtrà air
- Réservoir d'expansion du liquide de refroidissement

MOTEUR G32D
- ABS/ABD (TCS)*
- Bouchon de replissage d'huile moteur
- Jauge à huile moteur
- Filtre à huile
-
Plaque d'identification
-
Réservoir du liquide de frein
- Boîte à fusibles
- Réservoir du liquide de lave glace
- Batterie
-
Bidon
-
Réservoir d'huile de direction assisté
- Filtrà a air
- Réservoir d'expansion du liquide de refroidissement
7-4 ENTRETIEN ET MAINTENANCE
MOTEUR G23D

- ABS/ABD (TCS)*
- Bouchon de replissage d'huile moteur
- Plaque d'identification
- Réservoir du liquide de frein
-
Boîte à fusibles
-
Réservoir du liquide de lave glace
- Batterie
- Bidon
- Réservoir d'huile de direction assist
-
Filtre à huile
-
Jauge à huile moteur
- Filtre à air
- Réservoir d'expansion du liquide de refroidissement
PRECAUTIONS D'ENTRETIEN
Pour effectuer tous les travaux d'inspection ou d'entretien sur le vehicule, toujours s'efforcer de réduire le risque de lésions corporelles ou de dégats matériels au vehicule.
Ci-dessous sont exposées quelques précautions générales qu'il convient d'observer strictement au cours de tout entretien.
- Ne pas travailler sur le moteur tant qu'il est chaud. Toujours couper le moteur et le laisser refroidir.
- Ne jamais se glisser sous le vehicule lorsque celui-ci est soulevé par un cric. S'il est indispensable de travailler sous le vehicule, utiliser des supports de sécurité.
- Eloquent les matieres fumantes, flames et étincelles de la batterie, du carburant et de toutes les pieces en contact avec le carburant.
- Ne jamais brancher ou débrancher la batterie ou tout autre élément transistorisé lorsque le contacteur d'allumage est en position ON.
Lors du branchement des cables de batterie, veiller particulièrement à leur polarité. Ne jamais connecter un cable positif sur une borne négative ou un cable négatif sur une borne positive.
Garder à l'esprit que la batterie, les câbles d'allumage et le cablage du vehicule portent des courants ou tensions élevés. Veiller à ne pas provoquer un court-circuit.
Pour effectuer un contrôle dans un espace clos alors que le moteur tourne, par exemple dans un garage, s'assurer que le local comporte une ventilation suffisante.
Garder les huiles usées, liquides de refroidissement et autres liquides hors de portée des enfants et animaux domestiques.
- Les recipients vides et usages d'huile ou de liquide ne peuvent être jetés avec les ordures menagères. Utiliser à cet effet les installations locales agréées d'élimination des déchets.
Si des vérifications sous le capot sont nécessaires alors que le moteur tourne, stationner le vehicule sur un sol plat, placer le levier de vitesses au point mort (pour les boites manuelles) ou "P" (pour les boites automatiques) et tirer le frein à main fermement. Un mouvement inattendu et peut-être soudain du vehicule peut se produit si ces précautions ne sont pas prises.
Pour éviter le risque de léasons corporelles, il faut toujours couper le contacteur d'allumage et enlever la clef de contact avant de travailler sous le capot à moins que la procédure n'exige spécifique de procedure autrement. S'il est nécessaire de faire tourner le moteur pour travailler sous le capot, éloigner tout accessoire vestimentaire, par exemple les cravates ou mouchoirs, du moteur ou du ventilateur de refroidissement. Ils risquent de se coincer dans les pieces mobiles, entraînant ainsi des blessures et des dégats au vehicule. De plus, enlever les montres, bracelets et bagues pour plus de sécurité.
REMARQUE SUR LA SECURITE
Pour éviter le risque de blessure à cause du ventilateur de refroidissement, effectuer toutes les vérifications du moteur après avoir coupé tout le moteur afin que le ventilateur ne tourne pas.
Le ventilateur est commandé par ECM (module de contrôle électronique) et peut par conséquent démarrer à tout moment.
Lorsque le moteur tourne, il est aussi extrémement dangereux de toucher les parties sous tension vu que le système d'allumage électronique possède une puissance d'allumage plus élevé que les systèmes classiques.

DANGER
Risque de blessure, de brûlure ou de choc électrique.
- Vérifier si le moteur est coupé.
- Ne pas toucher les pieces sous tension lorsqu'le moteur tourne.

DANGER
Ne pasmettreles produits d'entretien à la portée des enfants.Consulter immédiatement un docteur en cas d'absorption.Ranger les produits d'entretien dans un endroit sur en respectant l'environnement.
LIST DE VERIFICATION DU CONDUCTEUR
Les vérifications suivantes sont recommandées avant de démarrer pour assurer un fonctionnement sur et fiable du vehicule.
Exterieur
- Vérifier la pression et l'etat des pneus.
- Vérifier si les écrous des roues sont bien serrés.
- Vérifier le fonctionnement de l'éclairage.
- S'assurer de l'absence de toute perte d'huile, d'eau, de carburant et de liquide.
A l'intérieur du vehicule
- Vérifier le jeu et le desserrement du volant.
- Vérifier la course du levier de frein à main.
- Vérifier le fonctionnement de l'avertisseur sonore, des essuie-glaces et des clignotants.
- Vérifier le fonctionnement des instruments et des témoins lumineux.
- Vérifier le niveau de carburant dans le réservoir à l'aide de la jauge.
- Vérifier la position des rétroviseurs.
-
Vérifier le fonctionnement du mécanisme de verrouillage des portes.
-
Vérifier le jeu, la hauteur et la fonction de la pédale d'embrayage.
- Vérifier le jeu, la hauteur et la fonction de la pédale de frein.
A l'intérieur de Compartmentement moteur
- Vérifier le niveau d'huile moteur.
- Vérifier le niveau de liquide de refroidissement du moteur dans le vase d'expansion.
- Vérifier l'etat de la batterie.
- Vérifier le niveau du liquide pour lave-glaces.
- Vérifier le niveau de liquide de freinage et d'embrayage dans le réservoir.
- Vérifier le niveau du liquide de direction assistée.
HUILE MOTEUR
Procedure de verification
L'huile moteur doit rester au niveau adéquat pour garantir la lubrification correcte du moteur du vehicule. Il est normal qu'un moteur consomme de l'huile. Il apparait au propriétaire du vehicule de vérifier le niveau d'huile à intervalles réguliers (par exemple à chaque fois qu'il fait le plein).
Le niveau d'huile moteur doit être vérifié lorsque le vehicule se trouve sur un sol plat. Àpres avoir arrêté le moteur, attendre quelques minutes avant de vérifier le niveau d'huile pour laisser l'huile redescendre dans le carter.
Si le moteur est froid, l'huile peut prendre beaucoup plus de temps à redescendre.
Pour vérifier le niveau d'huile, sortez la jauge, la nettoyer et la réintroduire jusqu'au bout de sa course. Tirez à nouveau la jauge et contrôle que le niveau d'huile se situe entre le repère inférieur et supérieure.
Contrôlez aussi sur la tige de la jauge pour un examen de la dégradation de l'huile. Si le niveau atteint le point inférieur, ajoutez assez d'huile pour atteindre le point supérieur sans le dépasser. L'huile ne peut dépasser le repère "MAX" sur la jauge.


Moteur diesel
7-8 ENTRETIEN ET MAINTENANCE
Cela pourrait par exemple entrainer une augmentation de la consommation d'huile, des défaillances des bougies d'allumage et une formation excessive de résidus de carbone. Lors de l'appoint, utilisez la même qualité d'huile que celle de la dernière vidange.

DANGER
Un contact prolongé et repété avec de l'huile moteur peut provoquer des réactions cutanées.
- Eviter tout contact excessif avec la peau.
- Laver abondament après tout contact.

ATTENTION
Le moteur peut etre endommagé s'il tourne avec une quantite insuffisante ou excessive d'huile.
- Vérifier régulierement l'huile moteur.
- Faire l'appoint si nécessaire.
- Ne pas ajouter trop d'huile.

DANGER
Garder l'huile moteur usagee hors deportee des enfants.

ATTENTION
Pour assurer une lubrication suffisante des pieces en mouvement, désir une viscosité d'huile (grades SAE) en accord avec la température ambiente.

Moteur à Essence
IMPORTANT
Les dommages causés au moteur pour insuffisance d'huile annulent la garantie.
Vidange de l'huile moteur et du filtrre à huile
| Modèle | Intervalle d'entretien | Capacité (L) |
| D29ST | Première vidange: 5,000 km. Changez tous les 10,000 km ou tous les 12 mois. (Dans des conditions extrêmes, réduisez cet intervalle). | 7.5~9.5 |
| G23D | Changement initial: max. 10,000 km, Remplacer tout les 15,000 km ou tout les 12 mois (Dans des conditions extrêmes, réduire cet intervalle). | 6.0~7.5 |
| G32D | 6.7~8.2 |
Huile moteur et remplacement du filtre à huile
Les vidanges d'huile moteur doivent etre effectuees a intervals et kilometrages déterminés vu que l'huile perd ses propriétés de lubricification non seulement en raison du fonctionnement du moteur mais aussi en raison de son vieillissement. Dans des conditions exceptionnelles, par exemple en cas de démarrages fréquents à froid ou de traffic principalement urbain ou avec des arrêts et redémarrages fréquents, l'huile moteur et le filtré à huile doivent etre replacés à des intervals plus courts que le programme d'entretien recommandé. Les éléments du filtré à huile doivent etre replacés en même temps que l'huile moteur.

DANGER
L'huile moteur utilisée et le recipient peuvent constituer un risque pour la santé et l'environnement.
- Ne pas jeter l'huile moteur usageedans les déchets menagers.
Utiliser les installations locales agreees d'élimination des déchets pour les éliminer.
7-10 ENTRETIEN ET MAINTENANCE
Conditions de sollicitation intensive
Lorsque la plupart des déplacements comptent moins de 6km
- Fonctionnement alors que les températures extérieures restent en dessous de 0^ et que la plupart des déplacements compteient moins de 16km .
- Lorsque la plupart des déplacements comprendnent une durée prolongée de marche au ralenti et/ou un fonctionnement fréquent à basse vitesse, par exemple en cas d'arrêts et redémarrages fréquents.
- En cas de fonctionnement dans des régions poussièresuses.
NIVEAU DE LIQUIDE DE REFROIDISSEMENT
Le système de refroidissement est rempli d'un liquide de refroidissement à base d'éthylène glycol. Bien dosé, le liquide de refroidissement fournit une excellente protection contre la corrosion et le gel pour tout le système de refroidissement et de chauffage et ne doit par conséquent pas être replacé par de l'eau, même en été. Le niveau du liquide de refroidissement doit se situer entre les repères "MIN" et "MAX" sur le vase d'expansion contenant le liquide de refroidissement lorsque le moteur est froid. Le niveau augmente lorsque le moteur atteint sa température de service et baisse à nouveau lorsque le moteur refroidit.

Si le niveau tombe sous le repère "MIN", ajouter une quantité suffisante de melange eau et antigel d'éthylène glycol 50/50 pour assurer une protection contre le gel et la corrosion.
En vue d'une protection dans des conditions extrémement froides, utiliser 40% d'eau et 60% d'antigel à base d'éthylène glycol.
Concentration du liquide de refroidissement
| Concentration du liquide de refroidissement | ||
| Antigel | Eau | |
| Cas général | 50 Vol% | 50 Vol% |
| Régions extrèmement froides | 60 Vol% | 40 Vol% |

ATTENTION
L'utilisation d'un liquide de refroidissement et d'un anti-gel non-recommandés peut endommager le système de refroidissement.
- N'utiliser que le liquide de refroidissement et l'anti-gel recommandés par Ssangyong.

DANGER
Du liquide de refroidissement bouillant et de la vapeur poursaient etre projetés sous pression et provoquer de graves blessures.
Ne jamais enlever le bouchon du vase d'expansion contenant le liquide de refroidissement lorsque le moteur et le radiateur sont chauds.

DANGER
Prendre des précautions pour éviter tout contact de l'antigel avec la peau ou les yeux.
- En cas de contact, rincer tout de suite les zones touchées abondament à l'eau.
- Si l'irritation persiste, consulter un médecin.

ATTENTION
Le moteur ou le système de refroidissement risquent d'être endomages.
Le pourcentage d'antigel du liquide de refroidissement doit être maintenu à un minimum de 50% . La teneur en antigel ne peut dépasser 60% .
- Ne pas utiliser d'antigel d'alcool ou de methanol ou les mélanger avec le liquide de refroidissement spécifique.
Utiliser seulement de l'eau déminéralisée dans le mélange du liquide de refroidissement
- Ne pas ajouter une quantité excessive de liquide de refroidissement.
- Si des additions fréquentes sont nécessaires, contacter le reven déur Ssangyong pour vérifier le système de refroidissement.
7-12 ENTRETIEN ET MAINTENANCE
Remplacement du liquide de refroidissement
| Modèle | Intervalle d'entretien | Capacité |
| D29ST | Remplacer tout les 60,000 km ou tout les 3 ans, inspector etmettre à niveau si nécessaire. | 10.5~11.0L |
| 2300 DOHC | 10.0~10.5L | |
| IL6 3200 | 11.0~11.5L |
SURCHAUFFE
Si laJAuge de tempereature du liquide de refroidissement du moteur presente des conditions de surchauffe ou si une autre raison pousse a soupconner une surchauffe du moteur, s'arreter et stationner le vehicule.
Le conditionnement d'air doit être arrêté.
Laisser le moteur tourner au point mort pendant quelques minutes et vérifier si le ventilateur de refroidissement fonctionne.
Si le ventilateur ne fonctionne pas, coupez le moteur et consultez immédiatement le revendeur Ssangyong.
Si le ventilateur tourne et si de la vapeur ne sort pas du bloc moteur, ouvrir le capot et laisser tournier le moteur au point mort jusqu'à ce qu'il refroidisse.
Si le ventilateur tourne mais que la tempéra-ture ne diminue pas, fouze le moteur et le laissez refroidir. Ensuite, vérifie le niveau de liquide de refroidissement. S'il est bas, s'assurer qu'il n'y a pas de fuite dans les flexibles et connexions du radiateur, les flexibles et connexions du dispositif de chauffage, le radiateur et la pompe à eau.
En cas de fuite ou de tout autre dommage ou si le liquide de refroidissement s'échappe toujours, ne pas faire tourner le moteur jusqu'à ce que ces problèmes aient été rectifiés. Consultez immédiatement le revendeur Ssangyong.

DANGER
La vapeur provenant d'un moteur en etat de surchauffe peut provoquer de graves brûlures.
- Si la vapeur s'échappe du capot, ne pas s'approcher de l'avant du vehicule. Eloigner tout le monde du vehicule.
Couper le moteur. - Laisser le moteur refroidir.
Ouvrir le capot lorsqu'il n'y a plus de vapeur. - Ne pas enlever le bouchon du vase d'expansion contenant le liquide de refroidissement avant que le moteur et le radiateur ne soient froids.
LIQUIDE FREIN
Le niveau de liquide de frein du réservoir doit être contrôle suivant les instructions du manuel d'entretien. Avant de contrôle le niveau de liquide, nettoyez tout autour du bouchon de réservoir. Le niveau de liquide dans le réservoir ne doit pas excéder la marque MAX ou être inférieur à la marque MIN. Si le niveau descend en dessous du MIN, faites l'appoint jusqu'àu MAX. Ne pas le dépasser. Un niveau bas du liquide peut indiquer une fuite dans le circuit de freinage. Faites contrôle le circuit par le concessionnaire Ssangyong le plus proche.

Pour ajouter du liquide de frein, essuyez d'abord la poussière et ensuite dévissez le bouchon du réservoir. Àpres avoir enlevé le bouchon, faites le niveau jusqu'àu MAX et resserrez le bouchon suturen.
| Intervalle d'entretien | Capacité |
| Changez tous les 2 ans | Environ. 0.7 L (Le niveau doit sesituer entre le MAX et le MIN) |

DANGER
Le liquide de freinage peut irriter les mains et les yeux.
- Eviter tout contact du liquide de freinage avec la peu ou les yeux
- En cas de contact, rincer abondament les régions touchées immédiatement
- Si l'irritation persiste, consulter un médecin.

DANGER
Garder le liquide de freinage hors deportee des enfants.

DANGER
Le liquide de freinage usage et le récipient peuvent constituer un risque pour la santé et l'environnement.
- Ne pas jeter le liquide de freinage usage avec les déchets menagers
Utiliser les installations locales agreées d'élimination des déchets. - Faire replacer le liquide de freinage par le revendeur Ssangyong ou le service agree de Ssangyong.

DANGER
Une quantité excessive de liquide de freinage risque de se repandre sur le moteur.
Le liquide brulera si le moteur est assez chaud, au risque de provoquer des brulures et d'endommager le vehicule. Ne pas verser trop de liquide.

ATTENTION
Le liquide du circuit de frein peut se souiller et cause des pertes de performance du système.
Avant de retirer le bouchon du réservoir, bien nettoyer tout le tour.

ATTENTION
L'utilisation de liquide de freinage non commande pourrait endomager le système de freinage.
Utiliser uniquement du liquide de freinage commande par Ssangyong.

ATTENTION
Le liquide de freinage endommage la peinture.
- Si le liquide se repand sur la peinture, laver immédiatement à l'eau froide.
LIQUIDE DE COMMANDED EMBRAYAGE
Le niveau de liquide de commande d'embrayage dans le maître-cylindre doit être contrôle quand des entretiens sous le capot sont exécutés.
Un contrôle d'étanchéité du circuit doit être effectué en même temps.
Avant de contrôle le niveau de liquide, nettoyez tout autour du bouchon du réservoir. Le niveau de liquide dans le réservoir ne doit pas excéder la marque MAX ou inférieur la marque MIN.
Si le niveau descend en dessous du MIN, faites l'appoint jusqu'àu MAX.
Ne le dépassez pas.


DANGER
Si de féquentes mises à niveau sont nécessaire, faites contrôleur votre circuit par un concessionnaire Ssangyong ou un réparateur/agréé Ssangyong.
| Intervalle d'entretien | Capacité |
| Changez tous les 2 ans | Environ. 0.3L (Le niveau doit sesituer entre le MAX et le MIN) |

DANGER
Le liquide de d'embrayage peut irr-riter les mains et les yeux.
- Eviter tout contact du liquide de d'embrayage avec la peau ou les yeux
- En cas de contact, rincer abondament les régions touchées immédiatement
- Si l'irritation persiste, consulter un médecin.

DANGER
Garder le liquide de d'embrayage hors de portée des enfants.

DANGER
Le liquide de d'embrayage usage et le recipient peuvent constituer un risque pour la santé et l'environnement.
- Ne pas jeter le liquide de d'embrayage usage avec les déchets menagers
Utiliser les installations locales agreées d'élimination des déchets. - Faire replacer le liquide de d'embrayage par le revendeur Ssangyong ou le service agree de Ssangyong.

DANGER
Une quantité excessive de liquide de d'embrayage risque de se repandre sur le moteur.
Le liquide brulera si le moteur est assez chaud, au risque de provoquer des brulures et d'endommager le vehicule. Ne pas verser trop de liquide.

ATTENTION
Le liquide de d'embrayage endommage la peinture. Si le liquide se repand sur la peinture, laver immediatement à l'eau froide.

ATTENTION
L'utilisation de liquide de d'embrayage non commande pourrait endommager le système de d'embrayage. Utiliser uniquement du liquide de embarbage recommandé par Ssangyong.

ATTENTION
Le liquide de d'embrayage endommage la peinture.
- Si le liquide se repand sur la peinture, laver immédiatement à l'eau froide.
7-16 ENTRETIEN ET MAINTENANCE
FLUIDE DE TRANSMISSION AUTOMATIQUE*
Pour assurer un fonctionnement correct, efficace et durable de la transmission automatique, il est très important que le niveau d'huile soit toujours à un niveau correct.
La transmission automatique(M74LE) ne possède pas de jauge pour contrôle le niveau.
Le niveau sera contrôle par un concessionnaire Ssangyong ou un réparateur/agréé Ssangyong
Une baisse du niveau du liquide de la transmission indiquerait une fuite de la transmission automatique. Si une fuite se déclarait le vehicule devrait être aussiôt représenté à votre concessionnaire Ssangyong ou un réparateur agrée Ssangyong pour être réparé le plus vite possible.
L'huile ne doit pas etre ajouter à la transmission automatique sans correctement s'assurer du niveau préconise. Le trop plein d'huile de la transmission automatique entraînerait une baisse significative de ses performances et pourrait lui causer des dommages importantes.
N'utilisez que les huiles spécifiées par le manuel d'entretien.
L'huile et le filtrne ne requiert aucun remplacement. Mais si le vehicule est conduit sous les conditions suivantes, l'huile et le filtrte devraient etre alors replacés tout les 60,000 km.
- Fréquence circulation urbaine ou la température extérieure excède 32^ (90^) ou supérieur.
- Utilisation fréquence en terrain de colline ou de montagne.
- En remorquant féquèment.
- En utilisation taxi, police, service delivraison.
HUILE DE TRANSMISSION MANUELLE
Ne vérifier le niveau d'huile que lorsque le moteur est coupé, le vehicule stationné sur un terrain plat et la transmission suffisamment froide pour pouvoir poser les doigts sur le carter de boîte de vitesses. Enlevez le bouchon de replissage pour vérifier le niveau. L'huile doit arriver jusqu'à au bord inférieur de l'orifice de replissage. Si le niveau est plus bas, ajoutez de l'huile jusqu'à ce qu'elle commence à s'échapper de l'orifice de replissage. Replacez fermement le bouchon. Utilisez seulement l'huile spécifiée comme indiqué dans le tableau de lubrication. Àpès avoir replaced le bouchon, procédez à un contrôle visuel du carter de boîte de vitesses pour vérifier des fuites ou dégâtés eventuels.


DANGER
Après une période de conduite, la température de l'huile de transmission peut être suffisamment élevé pour provoquer des brûlures.
Attendre jusqu'à ce que l'huile de transmission et le bouchon de rempissage soient suffisamment froids avant de vérifier le niveau d'huile.
| Intervalle d'entretien | Changez tous les 60,000 km ou tous les 3 ans. Vérifiez et refournissez selon les besoin. | |
| Capacité | 4WD | 3.6 L |
| 2WD | 3.4 L | |
LIQUIDE DE LA DIRECTION ASSISTEE
Vérifiez le niveau de liquide lorsque le moteur est coupé.
Le niveau de liquide doit se situer entre les niveaux des repères MIN et MAX sur le réservoir.
S'il tombe sous le repere MIN, faire l'appoint du liquide spécifique.
Utilisez uniquement le liquide spécifique comme indiquedans le tableau de lubricification.
Le niveau dans le réservoir doit être vérifié conformément aux intervalles spécifiés dans ce manuel.

| Intervalle d'entretien | Capacité |
| Vérifier et faire l'appoint si nécessaire. | 1.0L |

ATTENTION
Le fonctionnement du vehicule avec une quantite insuffisante de liquide de direction assistee pourrait endomager la direction assistee.
- Vérifier régulierement le niveau.
- Faire l'appoint si nécessaire.
- S'il est nécessaire de faire l'appoint fréquement, faire vérifier le système par le revendeur ou un service/agréé Ssangyong.
FILTRE A AIR
Si le vehicule fonctionne dans des régions très poussièresuses ou sablonneuses, le replacer plus souvent que dans les intervalles généralement recommends. S'il est sale, secouez le filtrte pour enlever la poussière, nettoyez l'intérieur du boitier du filtré à air et recouvre-le momentarily d'un chiffon humide. Nettoyez le filtré à air en souffrant de l'air compré au travers de celui-ci dans la direction opposée au flux normal de l'air.

DANGER
Le moteur risque d'être endommagé.
Ne pas faire tourner le moteur sans filtrer à air.
Intervalle d'entretien
| Moteur Diesel | Pour les vehicules avec turbocompresseur | Nettoyer tous les 10,000 km Remplacer tout les 30,000 km. |
| Moteur à Essence | Nettoyer tous les 15,000 km Remplacer tout les 60,000 km. | |
- En cas d'utilisation intensive, les intervalles entre les entretiens doivent être réduits.

Moteur Diesel

Moteur à Essence
HUILE DE BOITE TRANSFERT
Pour assurer un fonctionnement correct, efficace et durable de la boite de transfert, il est très important que le niveau d'huile garde constamment un niveau correct.
Le niveau d'huile devra etre contrôle regulierement par voire concessionnaire Ssangyong ou un reparateur agreé Ssangyong.
Si le remplacement de l'huile est nécessaire, le vehicule devrait etre presenté chez voitre concessionnaire Ssangyong ou chez un réparateur agreé Ssangyong.
Intervalle d'entretien et capacités
| Boîte transfert (temps partiel) | Intervalle d'entretien | Inspector tout les 10,000 km. Remplacer tout les 60,000 km. |
| Caracteristique | ATF DEXRON® II, III, ATF S-2, S-3, S-4, TOTAL FLUID ATX | |
| Capacité | 1.2 L | |
| Boîte transfert (TOD) | Intervalle d'entretien | Inspector tout les 10,000 km Remplacer tout les 60,000 km |
| Caracteristique | ATF DEXRON® II,III, ATF S-2, S-3, S-4, TOTAL FLUID ATX | |
| Capacité | 1.4 L |

Temps partiel

TOD
BOUGIES D'ALLUMAGE
Les bougies d'allumage doivent être inspectées périodiquement pour vérifier le dépôt de carbone. Lorsque du carbone s'accumule sur les bougies d'allumage, il est impossible de produit une étincelle puissant. Si nécessaire, nettoyez les electrodes à l'aide d'une finerosse métallique et grattez soignement le carbone de l'isolateur à l'aide d'une petiterosse. Les bougies d'allumage doivent alors nettoyées à l'air compré et l'isolateur supérieur essuyé. Réglez ensuite l'écartement de l'électrode de la bougie d'allumage.
Intervalle d'entretien
Remplacer tous les 30,000 km

| Characteristique | BOSCH : F8DC4 BERU : 14F-8DU4 CHAMPION: C11YCC |
| Gap | 0.8 ~ 1.2 mm |
ATTENTION
- Lors du remplacement des bougies, déconnecter la borne négative de la batterie et couper tout les boutons des équipements.
- Il est recommando de changer les bougies quand le moteur est froid (pour éviter les brûlures)
- N'utiliser que les bougies préconisées par Ssangyong.
- Veillez à ne pas faire tomber de saletés ou autres dans le trou de bougie.
DANGER
Les bougies d'allumage peuvent etre très chaudes.
Veiller à ne pas se brûler.
FILTRÉ À CARBURANT
D29ST (Moteur Diesel)
Si le filtré est contaminé, l'acheminement de carburant se réduira, les composants principaux seront endommages par le matériel contaminé et les performances du pot d'échéppement se dégraderont.
Remplacez le filtré à carburant selon le programme de maintenance indiqué.
- Intervalle d'entretien Remplacer tous les 40,000 km
DANGER
Afin d'éviter les étincelles d'allumage, nettoyer le filtré à carburant avant de démarrer le moteur.

Moteur à Essence
Si le filtré est contaminé, l'arrivée de carburant sera réduite, les pieces principales seront endommagées du fait de l'entrée de matérielux contaminés, et la performance du convertisseur catalytique sera réduite. Remplacer le filtré à carburant selon l'emploi du temps de maintenance recommandé.
- Intervalle d'entretien Remplacer tous les 60,000 km
COURROIES
Si la ceinture est usée, fendue ou abimée, la replacer.

DANGER
Le moteur pourrait démarrer par inadvertance au moment de la verification de la couroie et entraîner la rupture ou l'écrasement des parties mobiles. Enlever la clé de contact.

Diesel

Essence

LIQUIDE DE LAVE-GLACE
Utiliser le liquide de lave-glace spécifique.

DANGER
- Il peut être dangereux de conduire sans liquide de lave-glace.
- Vérifier le niveau de liquide de lave-glace avant de démarrer.
- Ne pas utiliser d'antigel de radiateur dans le lave-glace. Cela pourrait endommager le système de lave-glace et la peinture.
(Suite)

DANGER
(Suite)
- Ne pas mélanger de l'eau au liquide de lave-glace. L'eau peut amener la solution à geler et endommager le réservoir de liquide de lave-glace et d'autres parties du système de lave-glace.
- Ne replir le réservoir de liquide de lave-glace qu'aux trois quarts lorsqu'il fait très froid. Cela permet une dilatation, laquelle pourrait provoquer des dégats si le réservoir était complètement plein.

ESSUIE-GLACES
Le bon fonctionnement des essuie-glaces est essentiel pour la sécurité de la conduite et une vision claire. Vérifier l'etat des balais d'essuie-glaces de temps en temps. Des balais durcis, cassants ou usés doivent être replacés.
Vu qu'il est tout à fait impossible d'enlever complètement les traces de silicone du verre, veillez à n'appliquer aucune substance polissante contenant du silicone sur le pare-brise du vehicule vu que cela pourrait entrainer des rainures qui génent la visibilité.
La contamination du pare-brise ou des balais d'essuie-glaces par une matière étrangère pourrait réduire l'efficacité des essuie-glaces.
Si les balais n'essuient pas correctement, nettoyez le pare-brise et les balais à l'aide d'un bon détergent et rincez abondamment à l'eau claire. Répétez l'opération si nécessaire.
Pour remplacer le balai de l'essuie-glace, appuyez sur le clip de retenue et tirez le balai d'essuie-glace du bras. Poussez simplement le nouveau balai de l'essuie-glace sur le bras.

DANGER
Les solvants, l'essence, le kerosene et le white-spirit peuvent endommager les balais d'essuie-glace. Les éloigner des balais d'essuie-glace.
ENTRETIEN DE LA BATTERIE
Ce vehicule est équipé d'une batterie sans entretien sans orifice de replissage. Elle ne nécessite pas d'entretien périodique.
Vérifier si les bornes de la batterie représentant une corrosion (une poudre blanche ou bleuâtre). Pour l'enlever, recouvre les bornes d'une solution de carbonate de sodium et d'eau. Elle va bouillonner et doivent brune. Lorsque ce processus s'arrête, éliminez la solution par un rincage à l'eau claire. Séchez la batterie à l'aide d'un chiffon ou d'une serviette en papier. Recouvre les bornes d'une graisse anti-acide pour éviter toute corrosion future. Si les bornes représentent une importante corrosion, les laviver avec une solution de carbonate de sodium et d'eau. Utiliser une clé pour desserrer et enlever les câbles des bornes. Tout jours débrancher le cable négatif (moins) d'abord et que vous remettrez en dernier lieu. Laver les bornes de batterie à l'aide d'un outil de nettoyage des bornes ou d'une brosse métallique. Remettez et serrez le cable, puis recouvre les bornes de graisse.


7-24 ENTRETIEN ET MAINTENANCE
Pour un entretien optimal de la batterie, proceder comme suit:
- Veillez à la fixation correcte de la batterie.
- Gardez le dessus de la batterie propre et sec.
- Veillez à ce que les bornes et connexions restent propres, bien serrées et revêtres deGRAISSÉ à bornes.
- Rincez immédiatement toute solution d'électrolyte repandue à l'aide d'une solution d'eau et de carbonate de sodium.
- Si le vehicule n'est pas utilisé pendant une période prolongée, débranchez le cable de la borne négative (-) de la batterie pour éviter toute décharge et chargez la batterie toutes les six semaines. every six weeks.

DANGER
La batterie contient de l'acide qui peut provoquer des brûlures et du gaz qui peut explomer. Toute imprudence peut provoquer de graves lésions.
- Eloigner de la batterie toutes les flammes dues,étincelles et éléments en combustion.
- Ne laisser aucune partie du corps,aucun vêtement ou aucune peinture en contact avec l'acidesulfurique.

DANGER
Les batteries usagées peuvent constituer un risque pour la santé et l'environnement.
- Ne pas jeter les batteries usagées avec les déchets menagers.
Utiliser des installations locales agreées d'élimination des déchets.

ATTENTION
La polarité de la batterie, c'est-à-dire les connexions pour les cables positifs et négatifs, ne peut être interverte.

Pb

PEDALE DE FREIN
Vérifier le fonctionnement de la pedale de frein
Eteignez le moteur et appuyez sur la pedale de freins plusieurs fois pour éliminer l'air dans le système de freinage. Appuyez doucement, à la main, sur la pedale de frein et mesurez la distance qu'elle parcouve avant de partir une légere résistance. Selon que le jeu est plus ou moins conforme à ce qu'il doit être, faites ajuster les freins par un concessionnaire ou un centre agréé Ssangyong.
PEDALE D'EMBRAYAGE
Vérification du jeu de la pédale
Appuyez à la main sur la pédale jusqu'à ce qu'une résistance de l'embrayage soit rencontrée. Vérifiez si le jeu se situe bien dans les limites des specifications. Si le jeu est inférieur ou supérieur aux valeurs spécifiées, faites régler l'embrayage par un concessionnaire ou service agréé Ssangyong.
FREIN A MAIN
Vérifiez la course du frein à main en compteant le nombre de déclics rencontres en le tirant depuis la position neutre. En outre, le frein à main à lui seul doit pouvoir bloquer fermement le vehicule en côte. Si le nombre de déclics est supérieur ou inférieur au nombre spécifique, faites régler le frein à main par le concessionnaire ou service agrée Ssangyong.
| Jeu de la pédale de frein | 1 ~ 4 mm |
| Jeu de la pédale d'embrayage | 5 ~ 10 mm |
| Course | 4 à 7 encoches à une force de 20 kg |


POT CATALYTIQUE
Le pot catalytique est situé entre le collecteur d'échévement et le silencieux central, Le convertisseur catalytique est constitué de monolithe en structure d'abeille recouverte de céramique monté dans une structure métallique maillee et flexible.
Le métal précieux enduisant les monolithes accélère la réduction et/ou l'oxydation de gaz toxiques.
Sur des vehicules avec pot catalytique pour carburant sans plomb, l'utilisation de carburant avec plomb endommagera le pot catalytique et des pieces du systèmelectronique les rendant de ce fait inopérant.
Le pot catalytique ou le vehicule peuvent être endommages si les règles suivantes ne sont pas observées :
- Consulter un concessionnaire ou un service agréé Ssangyong dés que possible en cas de mauvaise combustion, de fonctionnement irrégulier du moteur après un démarrage à froid, de pertes importantes de puissance du moteur ou d'autres dysfonctionnements inhabituels qui pourrait indiquer une défaillance du système d'allumage. Si nécessaire, le vehicule peut encore rouler pendant une courte période en gardant une vitesse réduite et un régime réduit.
Par conséquent, il faut éviter :
- Les démarrages à froid répétés et fréquents.
- L'utilisation du démarreur pendant une période inutillement longue lors du démarrage (injection de carburant pendant la procédure de démarrage).
- Les pannes sèches (une alimentation irrégulière de carburant entraine une surchauffe)
- Le démarrage du moteur en poussant ou en tractant (du carburant non brûlé risque de pénétrer dans le convertisseur catalytique): utilisez des cables de démarrage.

Tous les travaux d'entretien doivent etre effectués par un concessionnaire ou un service agrée Ssangyong. Ainsi, il est certain que toutes les pieces du système électrique, du système d'injection et d'allumage du vehicule fonctionneront correctement, que le vehicule presente un faible taux d'émission de polluants et que le pot catalytique bénéficiera d'une longue durée de vie.
ROUES ET PNEUS
Les pneus montés en usine sont adaptés au chássis et offrent une sécurité et un conforde conduite optimaux. Consultez le concessionnaire ou le service agreeé Ssangyong avant de passer à des pneus ou jantes différents et leur demander conseil au sujet des possibilités techniques. L'utilisation de pneus ou jantes inadéquates peut conduire à des accidents.
Pression de gonflage des pneus
Il est essentiel de prendre la pression des pneus spécifiée pour le comport de conduite, la sécurité de conduite et la durée de vie du pneu.
Vérifiez la pression des pneus, y compris de la roue de secours au moins tous les 14 jours et avant tout long voyage. Les pneus doivent être vérifiés à froid en utilisant une jauge précise de pression des pneus.
Pression des pneus
kpa (PSI)
| Type de vehicule | Type de pneu | AVANT | ARRIERE | Remarques |
| Musso | P235 / 75R15 | 207 (30) | 207 (30) | - |
| P255 / 70R15 | 192 (30) | 192 (30) | ||
| Musso Sports | P235 / 70R16 | 207 (30) | 207 (30) | Quand le vehicule est chargé, la pression des pneus arrêté est de 44 PSI. |
| P255 / 65R16 | 207 (30) | 207 (30) |
- La pression de gonflage des pneus (30 PSI) du vehicule Musso Sports est établie dans des conditions de non chargement. Si vous chargez le vehicule, réglez la pression des pneus arrêté sur 44 PSI.
- Si vous devez emprunter l'autoroute et rouler à grande vitesse, augmentez la pression de gonflage des pneus d'environ 4 à 5 PSI.
Une pression plus élevé due à l'échauffement des pneus en conduite normale ne doit pas être réduite; sinon la pression risque de tomber en dessous du minimum autorisé. Resserrez soignement les capuchons des valves après avoir vérifié la pression. Les pressions de gonflage incorporetées augmenteront l'usure des pneus et:généronl'securité,le maniement, le comfort du vehicule et l'économie de carburant. Si la pression est trop faible, cela peut entraîrner une surchauffe considérable du pneu et des dommages internes, provoquant le décollement de la bande de déroulement et même l'explosion du pneu à vitesse élevé. Les dégats cachés des pneus ne seront pas éliminés en réglant ensuite la pression de gonflage.


DANGER
Afin de réduire le risque de perte de contrôle du vehicule et de dommages corporels:
Gonfler correctement les pneus.
- Ne pas surcharger le vehicule.

Etat des pneus, etat des jantes
Le passage sur des fragments pointus peut entrainer des dégats cachés du pneu et des dégats des jantes qui ne sont remarqués que plus tard : il y a risque d'explosion du pneu. Roulez lentement sur les arêtes saillantes et autant que possible en ligne droite. Lors du stationnement, vérifie si les pneus ne sont pas compressés contre l'arête de la cordure.
Vérifiez régulièrement les pneus pour détecter tous dommages (corps étrangers, piqures, coupures, fissures, renflements dans les parois latérales). Un pneu endommagé risque d'exploser. Vérifiez les jantes pour détecter tout dégât. En cas de dégât ou d'usure anormale, consultez un concessionnaire ou un service agrée Ssangyong.
L'usure anormale est généralement provo- quée par une pression incorrecte des pneus, un manque d'alternance reguliere, un alignement incorrect des roues, un mauvais equilibrage, des freinages fréquents ou une mauvaise conduite.
Vérifiez régulièrement la profondeur des sculptures. Pour déterminer àquel moment les pneus doivent être replacés, les pneus du vehicule comportent des indicateurs d'usure de la bande de roulement incorporeés qui apparaissent entre les sculptures de la bande de roulement lorsque la bande de roulement possède une épaisseur de 1.6 mm ou moins. Les pneus doivent être replacés lorsque la bande de roulement est usée jusqu'à l'un des indicateurs d'usure.

Indicateur d'usure de la bande de roulement
La position de l'indicateur d'usure est indiquée par des repères sur la paroi latérale du pneu. Pour des raisons de sécurité, il est recommendé de replacer les pneus lorsque la profondeur de leur bande de roulement est usée jusqu'à 2~3 mm.
Lors du remplacement des pneus, les pneus radiaux doivent être replacés par paires ou de préférence en série.
S'assurer que les deux pneus sur un même essieu serontent la même dimension, la même conception, sont de la même marque et possèdent les mêmes sculptures.
DANGER
La combinaison de différents types de pneus risque de provoquer une perte de contrôle du vehicule pendant la conduite.
L'utilisation de pneus de taille différente peut également endommager le vehicule.
Utiliser les mêmes dimensions et le même type de pneus sur toutes les roues.
DANGER
La conduite avec des pneus usés, usages ou endommages est très dangereuse et peut provoquer des accidents.
Remplacer les pneus si :
L'indicateur d'usure de la bande de roulement apparait ou
- Les pneus sont endommagés.
DANGER
Se débarrasser des pneus usés conformément aux réglementations locales en matière d'environnement.
Rotation des pneus
Les pneus avant et arrirée exercent des fonctions différentes et peuvent s'user différemment en fonction du type de route parcouru, des habitudes de conduite, etc. Les roues avant s'useront plus vite que les roues arrirée. Pour éviter que les pneus s'usent inégalement ou pour prolonger leur vie, inspectez vos pneus tous les 5,000 km. Àpres les avoir fait tourner, réglez la pression et assurez-vous du serrage correct des écrous.

Avant
Pour les pneus et les roues directionnels

Avant
Pour les pneus et les roués non-directionnels
Pneus neige
Si des pneus neige sont utilisés, ils doivent être montés sur les 4 roues. Ne pas dé-passer la vitesse maximale spécifiée par le fabricant de pneus.
En cas d'utilisation de pneus neige, les pressions de pneus indiquées par le fabricant de pneus doivent être respectées.

DANGER
L'utilisation de pneus neige pourrait nuire à la sécurité et à la maniability du vehicule.
Utiliser une dimension et un type de pneu équivalents aux pneus standard du vehicule.
- Passer des pneus neige aux pneus ordinaires dés que les conditions de route le permettent.

DANGER
L'utilisation de chaînes sur les pneus peut affecter la sécurité et la tenue de route.
Si nécessaire, consulter votre concessionnaire Ssangyong.
SYSTEME ELECTRIQUE
Système d'allumage
Les systèmes d'allumage électronique ont une puissance d'allumage supérieure aux systèmes classiques. Il est donc extrément dangereux de toucher les pieces sous tension.
Fusibles
Pour le remplacement des fusibles, retirez le cache et extraire le fusible grillé. Un fusible défectueux peut se reconnaître à son cable fondu. Un nouveau fusible ne doit être installé que lorsque la cause du problème a été située et éliminée.
Seuls les fusibles du courant nominal spécifique doivent être installés. Le courant nominal est indiqué sur tous les fusibles.
| Courant nominal | Couleur |
| 10A | Rouge |
| 15A | Bleu |
| 20A | Jaune |
| 30A | Pink |




normal
melted

DANGER
L'utilisation de fusibles d'un type ou d'un courant nominal différents pourrait endommager le système électrique et même déclencher un incendie.
- Remplacer toujours le fusible par un fusible du même courant nominal.
- Ne jamais utiliser autre chose qu'un fusible.
- Ne jamais utiliser une piece métallique pour enlever le fusible.
BOITES A FUSIBLES
La boîte à fusibles est située sous le tableau de bord côté passager, sous un cache.
Une autre boîte à fusibles est située à proximé de la réserveir de liquide de freinage dans le compartment moteur.
IMPORTANT
Trois fusibles de rechange de 10A, 15A, 20A se trouvent à l'intérieur du compartmentement moteur sur le couvercle dans la boite à fusibles et relais.


BOITE A FUSIBLES DANS L'HABITACLE

| F1 | Démarreur moteur | 10A | F13 | ||
| F2 | Airbag | 10A | F14 | Chauffage propre arrêté | 30A |
| F3 | ABS/ABD | 10A | F15 | Toit ouvrant | 15A |
| F4 | Radio, montre, rétroviseurs extérieurs | 10A | F16 | Feux antibrouillard arrêté ECS | 15A |
| F5 | Allume cigares, prise de courant auxiliaire | 30A | F17 | Unité | 10A |
| F6 | Feux stop | 15A | F18 | Lave-glace et essuie-glace avant | 15A |
| F7 | Danger | 15A | F19 | Lave-glace et essuie-glace arrêté | 10A |
| F8 | Lampe interieure | 10A | F20 | TCCU/TCU | 10A |
| F9 | Pompes à carburant (GSL) | 20A | F21 | Ampoule de secours, ampoule clignotant | 10A |
| F10 | TCCU/Siège electrique | 20A | F22 | Feux de route, faisceau | 10A |
| F11 | OVPR (GSL) | 20A | F23 | OVPR (GSL) | 10A |
| F12 | OVPR (GSL) | 20A | F24 | Unité, relais, horloge Interrupteur détecteur de vitesse | 10A |
7-34 ENTRETIEN ET MAINTENANCE
BOITE A FUSIBLES ET RELAIS DANS LE COMPARTIMENT MOTEUR

Relais
- Feux arrêté
- Avertisseur sonneur
- Anti-brouillards avant
- Phare avant (LO)
- Phare avant (HI)
- Compresseur (Diesel)
Resistor (Gasoline) - Climatisation
- Ventilateur condensateur - 2
- Ventilateur condensateur - 1
Fusibles
- Feux arrêté (LH) - 10A
- Feux arrêté (RH) - 10A
- Phare avant (LH) - 15A
- Phare avant (RH) - 15A
- Soufflerie - 30A
- Verrou porte - 15A
- Avertisseur sonneur - 10A
- Compresseur air conditionn - 10A
- Anti-brouillards avant -15A
Fusibles de liaison
- Vitré électrique - 30A
- Ventilateur condensateur - 30A
- Lampe-40A
- Clef de contact - 40A
- I/P B+2 - 60A
- I/P B+1 - 60A
CHARACTERISTIQUES DES AMPOULES
| Ampôules | Puisances / nombre | |
| Phares avant | Low (H4) | 55W/2 |
| Hi (H1) | 55W/2 | |
| Arrière | Feux arrêté & stop | 5 & 21W/2 each |
| Feux stop en hauteur* | 21W/1 | |
| Feux de recul | 21W/2 | |
| Feux anti-brouillards* | 21W/2 | |
| L'ampoule clignotante | 21W/2 (Couleur amber) | |
| Avant | Feux anti-brouillards* (H3) | 55W/2 |
| L'ampoule clignotante | 21W/2 (Couleur amber) | |
| Deux positions | 5W/2 | |
| Lampe côte à répétition | 5W/2 | |
| Intérieure | Ampoule plafonnier avant | 8W/2 |
| Ampoule plafonnier centre | 10W/1 | |
| Ampoule de coffer (Musso) | 8W/1 | |
| Plafonnier porte | 5W/2 | |
| Lampe boîte à gants | 10W/1 | |
Important!
Le réglage des phares est une opération importante pour la sécurité et doit par conséquent être effectue une uniquement par un service agrée Ssangyong qui possède l'équipement particulier et l'expertise nécessaires à cet effet.

DANGER
Les ampoules halogènes contiennent un gaz sous pression et peuvent exploser lorsqu'elles tombent ou sont griffées. Prendre des précautions particulières lors de la manipulation et de l'élimination des ampoules halogènes.
- Porter une protection des yeux pour travailler avec les ampôules.
- Protégger l'ampoule contre les abrasions et griffes.
- Protégér contre les liquides lorsqu'elles sont allumées dans une installation non étanche.
- Allumer uniquely l'ampoule lorsqu'elles est installée dans une lampe.
- Remplacer l'ampoule si elle est fissurée ou endommagée.
Garder les ampoules hors deportee des enfants. - Eliminer les ampôules usagées avec précaution.
AMPOULES DE PHARE, ROUTE, CODES ET CLIGNOTANTS
- Ouvrir le capot moteur et poser la barre de retenue
- Tourner le capuchon en plastique en sens inverse des aiguilles d'une montre et le retarder.
- Dévisser les 3 boulons de montage et déconnecter le connecteur du faisceau électrique des clignotants.
- Déconnecter le faisceau électrique à l'arrière du phare et-retirer le couvercle de protection.
- Desserrer l'ensemble de feuels et puis retirer l'ampoule
- Remplacer par une nouvelle ampoule.
L'ampoule clignotante
- Si nécessaire, remplacer l'ampoule clignotante par une nouvelle.

ATTENTION
Faites régler la hauteur des phares et tous travaux d'entretien chez un concessionnaire ou un agent/agree Ssangyong.
- Pour la repose, suivre l'ordre inverse de la procEDURE de dépose.
Lors du remplacement de la nouvelle ampoule, vérifier que l'ampoule soit correctement fixé dans son logement. - Tourner le capuchon en plastique dans le sens des aiguilles d'une montre jusqu'à il soit fermement fixé.

ATTENTION
Les doigts graisseux peut salir et peut diminuer l'éclairage.
- Ne pas toucher l'ampoule d'halogène avec des mains nus.
- Nettoyer avec un tissu propre (non pelucheux) en utilisant de l'alcool.

- Ouvrir l'abattant etsteroler le couvercle de protection des feux.
- Dévisser l'écrou.
- Feux de stop: 8EA.
- Feux de recul : 4EA.
- Tourner l'ampoule dans le sens contraire des aiguilles d'une montre et-retirer l'ensemble de deux de son emplacement.
- Appuyer l'ampoule et tourner dans le sens contraire des aiguilles d'une montre etPTRir la de la monture.
- Remplacer par une nouvelle.
- Pour la repose, suivre l'ordre inverse de la procEDURE de dépose.
Modèle SPORTS
- Ouvrez le hayon. Déposez les boulons de fixation du groupe deux arrêté.
- Déposez avec précaution le groupe.
- Débranche le connecteur et retirez la lampe.
- L'installation s'effectue dans l'ordre inverse de la dépose.
AMPOULES INTERIEURE ET EXTERIEURE
Ampoules intérieur
Enlever le capuchon de protection de lampe avec un tournevis et replacer l'ampoule par une ampoule neuve.



Ampoule plafonnier avant

Ampoule de plafonnier arrête

Plafonnier porte (il vous faut d'abord détacher en partie l'enjolivre porte)

ATTENTION
Lors du remplacement de l'ampoule de I'éclairage de I'habitacle, cette dernière pourrait être sous tension, provoquant une décharge électrique en cas de contact.
- Fermer toutes les portes.
- Placer l'interrupteur de l'éclairage de l'habitacle en position arrêt (off).

Ampoule de lecteur de carte

Lampe bofte à gants



ENTRETIEN ET MAINTENANCE 7-39
Feux extérieurs
Dévisser les attaches de la protection ou du boîtier des feuels et remplacer l'ampoule par une nouvelle.

Feux antibrouillard arrête
Anti-brouillards avant (Type monté barre coudée)

Feux stop en hauteur (Musso)


Plaque mineralogique

Anti-brouillards avant(Type monté pare-choc)
7-40 ENTRETIEN ET MAINTENANCE
PROGRAMME D'ENTRETIEN (DIESEL)
L'entretien et la tenue du carnet d'entretien relevant de la responsabilité du propriétaire. Celui-ci est invité à garder les justificats de l'exécution des entretiens nécessaires sur le vehicule conformément au programme d'entretien.
| INTERVALLE DES ELEMENTS À ENTRETENIR | Kilomètres ou période en mois, selon la première échéance atteinte | ||||||||||
| x1,000 km | 1 | 10 | 20 | 30 | 40 | 50 | 60 | 70 | 80 | 90 | |
| x1,000 miles | 0.6 | 6 | 12 | 18 | 24 | 30 | 36 | 42 | 48 | 54 | |
| Mois | - | 6 | 12 | 18 | 24 | 30 | 36 | 42 | 48 | 54 | |
SYSTEME DE CONTROLLE MOTEUR
| Courroies | I | I | I | I | I | I | I | I | I | I |
| * Huile moteur (1)* (3)* (4)* | Changement initial: 5,000 km, remplaçer tout les 10,000 km | |||||||||
| Circuit de refroidissement | I | I | I | I | I | I | I | I | I | I |
| Liquide de refroidissement du moteur (3)* (4)* | I | I | I | I | I | R | I | I | I | R(120)I(100) |
| Filtre à carburant | I | I | I | I | R | I | I | R | I | I |
| Conduites de carburant et connexions | I | I | I | I | I | I | I | I | I | I |
| Filtre à air (2)* | - | I | I | R* | I | I | R* | I | R* | I |
| Avance à l'injection (NOTE 1) | - | I | I | I | I | I | I | I | I | I |
NOTE 1: Adjust as required; - Lorsque l'on doit trop de fumée (noire ou blanche) - Mauvaise performance/economie
Symboles du diagramme:
I - Contrcler ces elements asi que les pioces concernees. Si neceassaire, reparer, nettoyer, redresser, regler ou remplacer.
R - Remplacer ou changer. * - intervals kilométrage (km) seulement
(1)* Si le vehicule est utilisé dans des conditions extrêmes: conduite sur courte distance, ralenti prolongé, conduite dans la poussière. Réduisez l'intervalle d'entretien. Inspectez l'huile moteur de temps en temps et, si nécessaire, remplacez-la.
(2) Si le vehicule est utilisé dans des conditions extrêmes: conduite dans la poussière ou dans le sable, vérifie le filtré à air plus souvent. Si nécessaire, remplacez-le.
(3) Un entretien plus fréquent est conseillé si vous tractez souvent une remorque.
(4)* Reportez-vous à la section "Fluides, liquides de refroidissement et lubrifants recommends".
- Séparateur d'eau : Quand vous remplacez l'huile moteur, évacuez l'eau du séparateur d'eau.
| INTERVALLE DES ENTRETIENS ELEMENTS À ENTRETENIR | Kilomètres ou période en mois, selon la première échéance atteinte | ||||||||||
| x1,000 km | 1 | 10 | 20 | 30 | 40 | 50 | 60 | 70 | 80 | 90 | |
| x1,000 miles | 0.6 | 6 | 12 | 18 | 24 | 30 | 36 | 42 | 48 | 54 | |
| Mois | - | 6 | 12 | 18 | 24 | 30 | 36 | 42 | 48 | 54 | |
CHASSIS ET CAISSE
| Tuyau d'échévement & montants | - | I | I | I | I | I | I | I | I | I |
| Huile de freinage/d'embrayage (3)* | I | I | I | I | R* | I | I | I | R* | I |
| Frein à main/plaquettes de frein (avant et arrière) (4)* | - | I | I | I | I | I | I | I | I | I |
| Câble de frein & connexion (y compris servofrein) | I | I | I | I | I | I | I | I | I | I |
| Huile pour transmission manuelle (5)* | - | I | I | I | I | I | R* | I | I | I |
| Embrayage & pédale de frein jeu libre | - | I | I | I | I | I | I | I | I | I |
| Liquide différentiel avant et arrière (3)* | - | I | I | R* | I | I | R* | I | I | R* |
| Huile de boîte transfert (3)* | - | I | I | I | I | I | R* | I | I | I |
| Huile pour transmission automatique (6)* | - | I | I | I | I | I | R* | I | I | I |
Symboles du diagramme:
I - Contrcler ces elements ainsi que les pieces concernees. Si neccasse, reparer, nettoyer, redresser, regler ou replacer.
R - Remplacer ou changer.
-
- intervalles kilométrage (km) seulement
(3) Se référer aux "Huiles et liquides recommandés".
(4)* Un entretien plus fréquent est nécessaire si le vehicule est utilisé dans les conditions suivantes :
- Conduite sur courte distance - Ralenti prolongé - Poussière excessive
(5) Inspector le liquide de transmission manuelle tous les 10,000 km (verifier les fuites de liquide de temps en temps), puis le changer tous les 60,000 km.
(6) Changer le liquide de boîte automatique tous les 60,000 km en cas d'utilisation dans des conditions sévères:
(Vérifier les fuites de liquide de temps en temps)
- Embouteillages en ville avec température extérieur attignant régulièrement 32^ ( 90^ ) ou plus, ou
- Conduite en montagne ou sur terrain valonné, ou
- Attelage féquent d'une remorque ou
- Utilisation comme taxi, police, ou vehicule de livreaison
7-42 ENTRETIEN ET MAINTENANCE
| INTERVALLE DES ELEMENTS À ENTRETENIR | Kilomètres ou période en mois, selon la première échéance atteinte | ||||||||||
| x1,000 km | 1 | 10 | 20 | 30 | 40 | 50 | 60 | 70 | 80 | 90 | |
| x1,000 miles | 0.6 | 6 | 12 | 18 | 24 | 30 | 36 | 42 | 48 | 54 | |
| Mois | - | 6 | 12 | 18 | 24 | 30 | 36 | 42 | 48 | 54 | |
| Ecrous & boulons du châssis & de dessous de caisse serrés/assurés (6)* | I | I | I | I | I | I | I | I | I | I |
| Condition des pneus & pression de gonflage | I | I | I | I | I | I | I | I | I | I |
| Alignement incorrect des roues (7)* | Inspection en cas d'anomalie remarquée | |||||||||
| Volant & couplage | - | I | I | I | I | I | I | I | I | I |
| Huile de direction assistée et Durits (3)* | - | I | I | I | I | I | I | I | I | I |
| Protections transmission (8)* | I | I | I | I | I | I | I | I | I | I |
| Ceintures de sécurité, boucles & attaches | I | I | I | I | I | I | I | I | I | I |
| Lubrifier les verrous, les gonds & la fermeture capot | I | I | I | I | I | I | I | I | I | I |
| Graisse roulement roue | - | - | I | - | I | - | I | - | I | - |
| Graisse arbre porte hélice - avant/arrière (9)* | - | I | I | I | I | I | I | I | I | I |
Symboles du diagramme:
I - Contrcler ces elements asi que les pieces concernees. Si necessaire, reparer, nettoyer, redresser, regler ou replacer.
R - Remplacer ou changer.
(3) Se référer aux "Huiles et liquides recommends".
(6) ÀpRES avoir fait du hors-route, il faut inspecter avec soin le dessous de caisse du vehicule.
(7)^ Si nécessaire, permuter et équilibrer les roues.
(8) Àprous uneutilisation hors route,inspecter les soufflets de l'arbre de transmission.
(9)* Inspector laGRAisse de I'arbre portehélice tous les 5,000 km ou tous les 3 mois si vous conduisez sur tout le vehicule dans des conditions dificiles.
Hors-route ou sur route poussiereuse, ou
- Fréquence circulation urbaine où la température extérieure excède 32^ ( 90^ ) ou supérieur
- Conduite en montagne ou en terrain valonné.
PROGRAMME D'ENTRETIEN (ESSENCE)
L'entretien et la tenue du carnet d'entretien relèvent de la responsabilité du propriétaire. Celui-ci est invité à garder les justificatifs de l'exécution des entretiens nécessaires sur le vehicule conformément au programme d'entretien.
| INTERVALLE DES ENTRETIENS ELEMENTS À ENTRETENIR | Kilomètres ou période en mois, selon la première échéance atteinte | |||||||||
| x1,000 km | 1 | 15 | 30 | 45 | 60 | 75 | 90 | 105 | 120 | |
| x1,000 miles | 0.6 | 10 | 20 | 30 | 40 | 50 | 60 | 70 | 80 | |
| Mois | - | 12 | 24 | 36 | 48 | 60 | 72 | 84 | 96 | |
CONTROLE MOTEUR
| Courroies | I | I | I | I | I | I | I | I |
| Huile moteur (1)* (3)* | I | R** | R | R | R | R | R | R |
| Circuit de refroidissement | I | I | I | I | I | I | I | I |
| Liquide de refroidissement du moteur (3)* | I | I | I | I | R | I | I | R |
| Filtre à carburant (2)* | - | - | - | - | R | - | - | R |
| Conduites de carburant et connexions | I | I | I | I | I | I | I | I |
| Filtre à air (2)* | - | I | I | I | R* | I | I | R* |
| Avance à l'injection | - | I | I | I | I | I | I | I |
| Bougies d'allumage | - | - | R | - | R | - | R | R |
| Filtre charbon & lignes vapeur | - | - | - | I | - | - | I | - |
Symboles du diagramme:
I - Contrcler ces elements ainsi que les pieces concernees. Si neceassaire, reparer, nettoyer, redresser, regler ou remplacer.
R - Remplacer ou changer.
intervalles kilométrage (km) seulement
(1)* Si le vehicule est utilisé dans des conditions extrêmes: conduite sur courte distance, ralenti prolongé, conduite dans la poussière. Réduisez l'intervalle d'entretien.
(2) Si le vehicule est utilisé dans des conditions extrêmes: conduite dans la poussière ou dans le sable, vérifie le filtre à air plus souvent. Si nécessaire, remplacez-le.
(3) Se référer aux "Huiles et liquides recommendés".
** - Afin d'assurer longue vie du moteur et efficacité du freinage, il est recommandé de vidanger la première huile (mise à l'usine) au bout de 10,000 km.
7-44 ENTRETIEN ET MAINTENANCE
| INTERVALLE DES ENTRETIENS ELEMENTS À ENTRETENIR | Kilomètres ou période en mois, selon la première échéance atteinte | |||||||||
| x1,000 km | 1 | 15 | 30 | 45 | 60 | 75 | 90 | 105 | 120 | |
| x1,000 miles | 0.6 | 10 | 20 | 30 | 40 | 50 | 60 | 70 | 80 | |
| Mois | - | 12 | 24 | 36 | 48 | 60 | 72 | 84 | 96 | |
CHASSIS ET CAISSE
| Tuyau d'échévement & montants | - | I | I | I | I | I | I | I |
| Huile de freinage/d'embrayage (3)* | I | I | R* | I | R* | I | R* | I |
| Frein à main/plaquettes de frein (avant et arrière) (4)* | - | I | I | I | I | I | I | I |
| Câble de frein & connexion (y compris servofrein) | I | I | I | I | I | I | I | I |
| Huile pour transmission manuelle (5)* | - | I | I | I | R | I | I | R |
| Embrayage & pédale de frein jeu libre | - | I | I | I | I | I | I | I |
| Liquide différentiel avant et arrière (3)* | - | I | R* | I | R* | I | R* | R* |
| Huile de boîte transfert (3)* | - | I | I | I | R* | I | I | R* |
| Huile pour transmission automatique (6)* | - | I | I | I | R* | I | I | I |
Symboles du diagramme:
I - Contrcler ces elements asi que les pieces concernees. Si neccasse, reparer, nettoyer, redresser, regler ou remplacer.
R - Remplacer ou changer.
-
- intervals kilométrage (km) seulement
(3) Se référer aux "Huiles et liquides recommendés".
(4) Un entretien plus fréquent est nécessaire si le vehicule est utilisé dans les conditions suivantes :
- Conduite sur courte distance - Ralenti prolongé - Poussière excessive
(5) Inspector le liquide de transmission manuelle tous les 10,000 km (verifier les fuites de liquide de temps en temps), puis le changer tous les 60,000 km.
(6) Changer le liquide de boîte automatique tous les 60,000 km en cas d'utilisation dans des conditions sévères:
(Vérifier les fuites de liquide de temps en temps)
- Embouteillages en ville avec température extérieur attignant régulièrement 32^ ( 90^ ) ou plus, ou
- Conduite en montagne ou sur terrain ballonné, ou
- Attelage fréquent d'une remorque ou
- Utilisation comme taxi, police, ou vehicule de livreaison.
| INTERVALLE DES ENTRETIENS ELEMENTS À ENTRETENIR | Kilomètres ou période en mois, selon la première échéance atteinte | |||||||||
| x1,000 km | 1 | 15 | 30 | 45 | 60 | 75 | 90 | 105 | 120 | |
| x1,000 miles | 0.6 | 10 | 20 | 30 | 40 | 50 | 60 | 70 | 80 | |
| Mois | - | 12 | 24 | 36 | 48 | 60 | 72 | 84 | 96 | |
| Ecrous & boulons du châssis & de dessous de caisse serrés/assurés (6)* | I | I | I | I | I | I | I | I | I |
| Condition des pneus & pression de gonflage | I | I | I | I | I | I | I | I | I |
| Alignement incorrect des roues (7)* | Inspection en cas d'anomalie remarquée | ||||||||
| Volant & couplage | I | I | I | I | I | I | I | I | I |
| Huile de direction assistée et Durits (3)* | I | I | I | I | I | I | I | I | I |
| Protections transmission | I | I | I | I | I | I | I | I | I |
| Ceintures de sécurité, boucles & attaches | I | I | I | I | I | I | I | I | I |
| Lubrifier les verrous, les gonds & la fermeture capot | I | I | I | I | I | I | I | I | I |
| Graisse roulement roue | I | I | I | I | I | I | I | I | I |
| Graisse arbre portehélice - Avant/Arrière (8)* | I | I | I | I | I | I | I | I | I |
Symboles du diagramme:
I - Contrcler ces elements ainsi que les pieces concernees. Si neccasse, reparer, nettoyer, redresser, regler ou replacer.
R - Remplacer ou changer.
(3) Se référer aux "Huiles et liquides recommends".
(6) ÀpRES avoir fait du hors-route, il faut inspecter avec soin le dessous de caisse du vehicule.
(7) Si nécessaire, permuter et équilibrer les roues.
(8) Inspector laGRAisse de I'arbre portehélice tous les 5,000 km ou tous les 3 mois si vous conduisez sur tout le vehicule dans des conditions dificiles.
- Hors-route ou sur route poussièreuse, ou
- Fréquence circulation urbaine où la température extérieure excède 32^ ( 90^ ) ou supérieur.
- Conduite en montagne ou en terrain valonné.





8
ENTRETIEN DU VÉHICULE



8-2 ENTRETIEND VEHICULE
DETERGENTS
Suivre les recommandations du fabricant chaque fois que des détergents ou d'autres produits chimiques sont utilisés à l'intérieur ou à l'extérieur du vehicule. Certains détergents peuvent être toxiques ou inflammables et tout usageIMPROPE pourait provoquer des dommages corporels ou des dégats au vehicule.Lors du nettoyage de I'intérieur ou I'estérieur du vehicule, ne pas utiliser de solvant détergent volatil tel que I'acetone,les diluants,le white-spirit,les dissolvants ou encore des détergents tels que de la lessive, des agents de blanchiment,des agents réducteurs,sauf sils sont spécifiés dans les conseils de nettoyage du tissu pour I'elimination des taches.Ne jamais utiliser de tetrachlorure de carbone,d'essence,de benzène, de white-spirit pour le nettoyage. Ouvrir toutes les portes du vehicule pour la ventilation lorsque dequelconques détergents ou autres produits chimiques sont utilisés aI'intérieur de I'habitacle. Une surexposition à certaines vapeurs pourrait provoquer des problèmes de santé en cas d'utilisation dans de petits locaux non ventilés.
Afin d'éviter une éventuelle décoloration permanente des sièges de couleur claire, ne pas laisser les matériaux représentant des couleurs non stables en contact avec les matériaux du siècle jusqu'à ce que ceux-ci soient totalement secs. C'est le cas de certains types de vêtements de loisirs tels que les jeans de couleur, le velours côtelez, le cuir, le daim, etc. Il en va de même du papier d'emballagecadeau,etc.
NETTOYAGE ET ENTRETIEN DE L'INTERIEUR DE L'HABITACLE
Pour les matériaux modernes des garnitures interieures, il est impératif d'utiliser les techniques et produits de nettoyage appropriés. Tout non respect de cette Recommendation lors du premier nettoyage peut donner à lieu à la formation d'auréoles ou à la fixation de taches ou de saletés, lesquelles sont beaucoup plus difficiles à enlever lors d'un second nettoyage. La poussière et les particules de saletés qui s'amassent sur les tissus de l'habitacle doivent être enlevées fréquement à l'aide d'un aspirateur ou d'une Brosse douce. Nettoyer régulièrement le vinyle ou le curir des garnitures à l'aide d'un chiffon humide propre. Les taches et la saleté normale des garnitures peuvent être nettoyées à l'aide de détergent.
Entretien des ceintures de sécurité
S'assurer que les ceintures restent propres et seches.
- Ne nettoyer les ceintures de sécurité qu'a l'aide d'un savon doux et d'eau tiède.
- Ne pas décolorer ou teindre les ceintures vu que cela risque de les affaibir considérablement.
SURFACES VITREES
Les surfaces vitrées doivent être nettoyées régulièrement. L'utilisation d'un détermgent pour vitres ou d'un détermgent menager liquide permettra d'enlever les taches normales dues à la fumée de cigarette et les films de poussières que provoquent parfois les composants utilisés dans les vinyles et les plastiques de l'habitacle. Ne jamais utiliser de détermgent abrasif sur les vitrages du vehicule car cela risque de provoquer des griffes. Si des déterments abrasifs sont utilisés sur la face interne de la lunette arrière, les éléments du dégivrage électrique peuvent être endommagés. Eviter de placer des autocollants à l'intérieur de la lunette arrière, ceux-ci risquent de devoir être arrachés par la suite.
Nettoyage de l'extérieur du pare-brise Si le pare-brise n'est pas net après avoir utilisé le lava-glace ou si les balais des essuie-glaces vibrent lors du fonctionnement, il se peut que de la cire ou une autre matière se trouve sur le balai de l'essuie-glace. Nettoyer l'extérieur de l'essuie-glace à l'aide d'une poudre détergente ou d'un détergent équivalent non abrasif. Le pare-brise est propre si des gouttes ne se forment pas lors du rincege à l'eau.
ENTRETIEN ET NETTOYAGE DE L'EXTERIEUR DU VEHICULE
Lustre extérieur
Le lustre de la peinture du vehicule assure la beauté, l'éclat de la couleur, la brillance et la longévité de la carrosserie.
Nettoyage du vehicule
La meilleure façon de preserver le lustre du vehicule est de le nettoyer fréquemment.
Laver à l'eau tiède ou à l'eau froide.
Ne pas utiliser d'eau chaude ou laver le vehicule à la lumière directe du soleil. Ne pas utiliser de détergent chimique ou de savon puissant. Tous les détergents doivent être rincésrapidementde la surface et ne peuvent secher sur le lustre.
Les vehicules Ssangyong sont destinés à fonctionner dans des conditions climatiques normales et à résister aux éléments naturels.
Cependant, des conditions inhabituelles, telles que des lavages à haute pression, peuvent entrainer la déténstration d'eau à l'intérieur du vehicule.
8-4 ENTRETIEND VEHICULE
Polissage et cirage
Un polissage et un cirage périodiques sont recommandés pour enlever les résidus de surface du lustre de la peinture. Les produits agréés sont fournis par le concessionnaire Ssangyong.
Protection des pieces chromées à l'extérieur du vehicule
Les pièces chromées doivent être nettoyées régulièrement afin de conserver leur lustre. Un lavage à l'eau est généralement suffisant. Prendre des précautions particulières avec les jantes en aluminium. Afin d'évitier d'endommager le vernis de protection, ne jamais utiliser d'agent polissant pour les chromosomes, de vapeur ou de savon caustique pour nettoyer l'aluminium. L'application d'une cire, suivie d'une opération de lustrage, est recommandée pour toutes les pièces chromées.
Nettoyage des roues en aluminium et des enjojolieveurs
Pour préserver l'aspect initial des roues ou des enjoliveurs en les gardant propres et exempts de dépôts de saleté et/ou de sel routier, un nettoyage régulier est recommandé. Ne pas utiliser de détergent abrasif ou de Brosse de nettoyage car ils risquent d'endommager le lustre.
PROTECTION CONTRE LA CORROSION
Ce vehicule a ete concu pour résister a la corrosion. Des matériaux et des lustres de protection speciaux ont ete utilisés sur la plupart des pieces du vehicule lors de sa construction pour aider a conserver un aspect, une resistance et un fonctionnement fiables. Certaines pieces qui ne sont normalment pas visibles (telles que certaines pieces situées dans le bloc moteur et dans le bas de caisse du vehicule) sont telles que la rouille de surface n'affecte pas leur fiabilité. Par consequent, une protection contre la corrosion n'est pas nécessaire ou utilise sur ces pieces.
Dégats à la carrosserie
Si le vehicule est endommagé et nécessite des travaux de carrosserie ou le remplacement de pieces, vérifier si le réparateur applique le matériel au anti-corrosion approprié sur les pieces réparées ou remplacées afin de préserver la protection contre la corrosion (voir aussi le point "dégats au lustre" ci-après).
Dépôts de matières étrangères
Le chlorure de calcium et d'autres sels, les agents de salage, l'huile et le goudron routier, la sève des arbres, les déjections d'oiseau, les produits chimiques de cheminées industrielles et d'autres matières étrangères peuvent endommager le lustre du vehicule s'ils restent sur la surface peinte. Un nettoyage rapide ne peut généralement enlever complètement tous ces dépôts; D'autres détergents doivent être utilisés.
En cas d'utilisation de détergents chimiques, s'assurer qu'ils ne risquent pas d'endommager les surfaces peintes.
Dégats au lustre
Tous éclats de gravier, fissures ou griffes profondes dans le lustre doivent être réparésrapidement. La mise à nu du métal peut entrainer une corrosion rapide de celui-ci et entrainer des coûts de réparation importants. Les petits éclats et les petites griffes peuvent être réparés à l'aide de peintures pour retouches. Les zones plus importantes de dégats au lustre peuvent être rectifiées dans l'atelier de carrosserie et de peinture du revendeur.
Entretien du bas de caisse
Les matériaux corrosifs utilisés pour le dégivrage des routes et le contrôle de la poussière peuvent s'amasser dans le bas de caisse. Si ces matériaux ne sont pas enlevés, une corrosion (rouille) accélérée peut se produit sur les pieces du bas de caisse telles que les conduites d'alimentation, le chassin, le bas de caisse et le système d'échévement, même si ceux-ci ont été revêts d'une protection contre la corrosion.
Au moins chaque printemps, rincer tous les matériaux du bas de caisse à l'eau claire. Veiller à nettoyer toutes les zones où de la boue et d'autres débris sont susceptibles de s'amasser. Les sédiments situés dans des zones fermées du chassinis doivent être détachés avant d'être rincés. Si nécessaire, le concessionnaire Ssangyong peut assurer cet entretien.

ATTENTION
Lorsqu'un moteur est lavé, du carburant, de la graisse et des résidus d'huile sont également entrainés. Par conséquent,CHOISIR unquiement une station-service ou un concessionnaire Ssangyong qui possède un équipement séparateur d'huile dans l'installation de lavage des vehicules. Les huiles moteur, liquide de freinage, liquide de transmission, antigel, batterie et pneus usages doivent être éliminés en utilisant les installations locales agreées d'élimination des déchets ou par le revendeur qui est obligatoirement tenu de le faire lors de leur remplacement. En aucun cas, ces éléments ne peuvent être placés dans les déchets menagers et les fluides ne peuvent être déversés dans leségouts.Toute le monde doit être concenré par la protection de l'environnement et apporter sa contribution en vue de le préserver.





9
CHARACTERISTIQUES

9-2 CHARACTERISTIQUES
DONNEES D'IDENTIFICATION OFFICIEL DU VEHICULE
Le numero d'identification du vehicule est grave sur la plaque d'identification située du cote croit du tablier.
NUMERO DU MOTEUR
Moeur diesel
Le numero de moteur est grave sur le bloc cylindres en face de la pompe d'injection.
Moteur G32D
Le numero de moteur est grave sur le cotoé arriere bas de l'alternateur.



Moteur G23D
Le nombre de moteur est grave sur le côte arrière en haut gauche du bloc cylindres.
NUMERO DE CHASSIS
Le nombre de chassin est grave sur le cote avant droit de la poutrelle de chassin.


9-4 CHARACTERISTIQUES
TABLEAU DE LUBRIFICATION
| Lubrifiant | Capacité | Classification | |||
| Huile moteur | Diesel | D29ST | 7.5 ~ 9.5 L | Qualité classe** | API: CG grade ou supérieur, ACEA: B2, B3 ou B4 Feuille MB: 229.1/3 (préféritable) |
| Viscosité | Feuille MB No. 224.1 | ||||
| Essence | G23D | 6.0 ~ 7.5 L | Qualité classe** | API: CG grade ou supérieur, ACEA: A2/A3 Feuille MB: 229.1/3 (préféritable) | |
| G32D | 6.7 ~ 8.2 L | ||||
| Viscosité | Feuille MB No. 224.1 | ||||
| Refroidissant moteur (Mélange antigel et eau douce) | D29ST | 10.5 ~ 11 L | Feuille MB 325.0, BASF GLYSANTIN G05-11, HOECHST GENANTIN SUPER 8023/14 | ||
| G23D | 10 ~ 10.5 L | ||||
| G32D | 11 ~ 11.5 L | ||||
| Huile pour transmission manuelle | 4WD :3.6 L, 2WD : 3.4 L | ATF DEXRON® II, III, ATF S-2, S-3, S-4, TOTAL FLUID ATX | |||
| Huile de freinage/d'embrayage | Liquide frein: environ. 0.7 L | SAE J 1703, DOT 3 or DOT 4 | |||
| Liquide d'embrayage: environ. 0.3 L | |||||
| Huile de direction assistée | 1.0 L | ATF DEXRON® II, III | |||
| Huile pour transmission automatique (BTRA M74LE)* | 9.5 L | CASTROL TQ 95 | |||
| Huile de boîte transfert | Temps partiel | 1.2 L | ATF DEXRON® II, III, ATF S-2, S-3, S-4, TOTAL FLUID ATX | ||
| Permanent | 1.4 L | ||||
| Liquide essieu avant et arrière | Avant: 1.2 L, Arrière: 1.9 L | SAE 80W/90, API GL-5 | |||
| Graisse roulement roue | Correctement | SHELL Retinax “A” grade | |||
| Graisse arbre portehélice – avant/arrière | Correctement | ALVANIA EP#2 | |||
- Veillez contacter votre concessionnaire Sgangyong pour vous renseigner sur les liquides recommandés.
** Il ne faut accepter l'huile API ou ACEA que dans les cas ou MB 229.1 ou 229.3 ne sont pas disponibles; il est cependant recommandé de diminuier l'intervalle de changement de 30% .
HUILE MOTEUR
Classes de viscosité SAE
Il faut seLECTIONner les classes de viscosité SAE en accord avec la température moyenne saissonnière de l'air.
Si vous appliquez les classes SAE sur la base exacte des températures extérieures, il vous faudra frequently changer l'huile moteur. Il faut donc considérer les limites de température comme de simples références et la température réelle de l'air peut être supérieure ou inférieure pendant quelques temps.
Moteur
La viscosité doit être可以选择 en fonction de la température extérieure. Ne pas passer à une viscosité différente en cas de brèves variations de la température.

9-6 CHARACTERISTIQUES
CHARACTERISTIQUES
Tous les données s'appliquent aux vehicules avec les équipements de série. Les options supplémentaires pourraient modifier certaines de ces données. Pour plus d'information, veuillez contacter votre concessionnaire Ssangyong le plus proche.
| Critères | Modèle | D29ST | G23D | G32D | Sports(2WD) | Sports(4WD) | |
| Dimensions du vehicule (mm) | Longueur hors tout | 4656 | ← | ← | 4935 | ← | |
| Largeur hors tout | 1864 | ← | ← | ← | ← | ||
| Hauteur hors tout | 1735 | ← | ← | 1760 | ← | ||
| Hauteur hors tout | 2630 | ← | ← | 2755 | ← | ||
| Voies | Avant | 1510 | ← | ← | ← | ← | |
| Arrière | 1520 | ← | ← | ← | ← | ||
| Poids (kg) | Poids à vide | 1890(AT:1905) | 1835(AT:1850) | 1910(AT:1930) | 1775(AT:1787) | 1876(AT:1902) | |
| Poids total en charge | 2520 | ← | ← | ← | ← | ||
| Personnes | 5 | ← | ← | ← | ← | ||
| Performance | Vitesse maximale (km/h) | M/T : 156A/T : 156 | M/T : 176A/T : 171 | M/T : 190A/T : 188 | M/T : 151A/T : 156 | ← | |
| Pente maximale(tanq) | 0.986 | 0.970 | 0.871 | 0.985 | ← | ||
| Rayon minimum de braquage (m) | 5.7 | ← | ← | 5.8 | ← | ||
CHARACTERISTIQUES 9-7
| Critères Modèle | D29ST | G23D | G32D | Sports(2WD) | Sports(4WD) | ||
| Transmission (Manuel) | Gear ratio | 1er | 4.007 | ← | ← | ← | ← |
| 2ème | 2.365 | ← | ← | ← | ← | ||
| 3ème | 1.473 | ← | ← | ← | ← | ||
| 4ème | 1.000 | ← | ← | ← | ← | ||
| 5ème | 0.872 | ← | ← | ← | ← | ||
| Marche arrêté | 3.700 | ← | ← | ← | ← | ||
| Rapport de pont | 3.91 | 4.55 | 4.55 | 4.25 | ← | ||
| Transmission (Automatique) | Rapport de boîte | 1er | 2.741 | ← | ← | ← | ← |
| 2ème | 1.508 | ← | ← | ← | ← | ||
| 3ème | 1.000 | ← | ← | ← | ← | ||
| 4ème | 0.708 | ← | ← | ← | ← | ||
| Marche arrêté | 2.429 | ← | ← | ← | ← | ||
| Rapport de pont | 4.89 | 5.86 | 3.73 | 4.89 | ← | ||
9-8 CHARACTERISTIQUES
| Critères | Modèle | D29ST | G23D | G32D | Sports(2WD) | Sports(4WD) |
| Mateur | Cylindrée(cc) | 2874 | 2295 | 3199 | 2874 | ← |
| Alésage x Course(mm) | 89.0 x 92.4 | 90.9 x 88.4 | 89.9 x 84 | 89.0 x 92.4 | ← | |
| Taux de compression | 22:1 | 10.4:1 | 10.0:1 | 22:1 | ← | |
| Puisance maximale (ps/rpm) | 120/4000 | 110/6200 | 162/6500 | 120/4000 | ← | |
| Couple maximale (kgm/rpm) | 250/2250 | 210/2800 | 307/4700 | 250/2250 | ← | |
| Avance initiale | 18° | 7.5° | 8° | 18° | ← | |
| Pneus | Taille | P 235/75R 15(P 255/70R 15) | ← | P 255/70R 15 | P 235/70R 16(P 255/65R 16) | ← |
| Système d'alimentation | Réserveir à essence (L) | 80 | 72 | ← | 80 | ← |
| Système de refroidissement | Liquide de refroidissement(L) | 10.5 - 11.0 | 10.0 - 10.5 | 11.0 - 11.5 | 10.5 - 11.0 | ← |
CHARACTERISTIQUES 9-9
| Critères Modèle | D29ST | G23D | G32D | Sports(2WD) | Sports(4WD) | ||
| Lubrification | Huile moteur (L) | 9.5 | 7.5 | 8.2 | 9.5 | ← | |
| Système électrique | Batterie (V-AH) (MF) | 12 - 90 | ← | ← | ← | ← | |
| Alternateur (V-kw) | 12 - 2.2 | 12 - 1.2 | 12 - 1.8 | 12 - 2.2 | ← | ||
| Démarreur (V-A) | 12 - 75 | 12 - 115 | ← | 14 - 75 | ← | ||
| Embrayage | Dimension (mm) (diamètre extérieur x diamètre intérieur) | 240 x 155 | 225 x 150 | 240 x 155 | 240 x 155 | ← | |
| Freins | Roues avant | DISC | ← | ← | ← | ← | |
| Roues arrêté | DISC | ← | ← | ← | ← | ||
| Servofrein (inch) | Sans ABS | 8''+ 9'' | ← | ← | - | - | |
| ABS 5.3 | 8''+ 9'' | ← | ← | - | - | ||
9-10 CHARACTERISTIQUES
| Critères Modèle | D29ST | G23D | G32D | Sports(2WD) | Sports(4WD) | |
| Type de direction | Type (Direction assistée) | Type pignon et crémaillère | ← | ← | ← | ← |
| Rapport total de démultiplication | 19.94 : 1 | ← | ← | ← | ← | |
| Diamètre des roues (mm) | 396 ± 2 | ← | ← | ← | ← | |
| Carrossage (°) | 0° ± 30' | ← | ← | 0° ± 0.5° | ← | |
| Chasse (°) | 2°30' ± 30' | ← | ← | 2.5° ± 0.5° | ← | |
| Pincement | 0 - 4 mm | ← | ← | ← | ← | |

10
INDEX


10-2 INDEX
A
Accoudoir central* 1-34
Accoudoir lateraux 1-33
Air bag* 1-44
Allume-cigares 3-33
Ampoules de phare, route, codes et clignotants 7-36
Ampoules interieure et exterieure .... 7-37
Appel de phare 3-19
Appuis-tete 1-27
Attelage d'une remorque* 6-16
Avant d'entrée dans la voiture 1-2
Avant de demarrer le moteur 2-5
Avant de demarrer 1-3
Avertisseur sonore 3-34
B
Bloc-moteur 5-2
Bloc-moteur 7-2
Boite a fusibles dans l'habitacle 7-33
Boite a fusibles et relais dans le compartmentement moteur 7-34
Boite a gants 3-37
Boites a fusibles 7-32
Bougies d'allumage 7-20
Bouton de deverrouillage des portes .. 3-23
Bouton de réglage du rétroviseur .... 1-19
Bouton de verrouillage des vitres .... 1-16
C
Capot 1-49
Characteristiques des ampoules 7-35
Characteristiques 9-6
Ceinture a trois points 1-40
Ceinture abdominale 1-42
Ceinture pour enfant 1-38
Cendrier 3-33
Changement d'une roue 6-4
Clef avec transpondeur et eclairage integres* 1-4
Clefs 1-3
Climatisation semi-automatique 4-3
Climatisation automatique 4-9
Commande d'ouverture de la portedu reservoir a carburant 1-48
Commande des clignotants 3-19
Commande des feu de route 3-19
Commandedesfeux 3-18
Commande du reglage de la hauteur des phares* 3-32
Commande electrique des vitres 1-14
Commutateur d'essuie-glace 3-20
Commutateur d'essuie-glace et lave-glace arrriere 3-22
Commutateur du chauffage des sièges* 3-26
Commutateur du désembueur (sports) 3-25
Commutateur du lave-glace 3-21
Compte-tours 3-6
Compteur de vitesse 3-6
Compteur kilometrique/ totalisateur partiel 3-6
Conditions dangereuses de conduite .. 2-22
Conduire avec une transmission automatique* 2-7
Conduire avec une transmission manuelle. 2-7
Conseils de conduite pour transmission automatique* 2-11
Conseils de conduite 2-15
Conseils pour une conduite plus economique 2-21
Contact 2-3
Contacteur 4WD (4 roues motrices) ... 3-31
Contacteur de desembuage de lunette arriere et de retroviseur extérieur* 3-24
Contacteur de feuux anti-brouillard avant* 3-21
INDEX 10-3
Contacteur de feuix antibrouillard arriere 3-23
Contacteur de faux de détresse 3-31
Contacteur ECS / sport 3-23
Contrôle de vitesse de croisière 3-27
Courroies 7-21
Couverture bagages 1-52
Crocchetsbagages 3-39
D
Deflecteur automatique de mirroir de retroviseur d'interieur 1-21
Demarrer le moteur avec des cables de parallele 6-10
Demarrer le moteur 2-5
Déplier le siècle arrêté 1-32
Detergents 8-2
Différentiel à glissement limité (DGL) 3-24
Données d'identification officiel du vehicule 9-2
E
Eclairage de la boite a gants 3-37
Eclairage de la serrure* 1-9
Eclairage de seuil 3-35
Emplacement du levier (modèle 7 places) 6-3
Emplacement du levier :
modele sports 6-5
Entretien de la batterie 7-23
Entretien du turbocompresseur 5-5
Entretien et nettoyage de l'extérieur du vehicule 8-3
Entretien preventif 5-4
Équilibrage automatique (sports)* 1-14
Essuie-glaces 7-22
F
Feux stop et peux de recul 7-37
Filtrea air 7-18
Filtre a carburant. 7-20
Fluide de transmission automatique* ... 7-16
Fonctionnement des 4-roues
motrices 2-13
Frein a main 2-19
Frein a main. 7-25
Freinage 2-16
G
Galerie* 1-52
H
Huile de boite transfert 7-19
Huile de transmission manuelle 7-16
Huile moteur 7-7
Huile moteur 9-5
1
Inclinaison des dossiers de sieges arriere 1-28
Indicateur de mode power (puissance) 3-16
Indicateur de mode winter (hiver) .... 3-16
Indicateur de vitesses de boite automatique* 3-17
Indicateur EBD* 3-12
Instruments et commandes avec transmission automatique 3-3
Instruments et commandes avec transmission manuelle 3-2
Instruments 3-5
Introduction 5-3
J
Jauge de carburant 3-7
Jauge de temperature 3-7
10-4 INDEX
L
Lampe compartmenta bagages 3-35
Liquide de commande d'embrayage .... 7-14
Liquide de la direction assistee 7-17
Liquide de lave-glace 7-22
Liquide frein 7-13
List de verification du conducteur .... 7-6
M
Message d'avertissement airbag 1-47
Montre digitale 3-32
N
Ndicateur 4wd (4-roues motrices) ....... 3-17
Nettoyage et entretien de l'interieur de l'habitacle 8-2
Niveau de liquide de refroidissement .. 7-10
Numero de chassis 9-3
Numero du moteur 9-2
0
Ouies de ventilation 4-2
Ouverture/fermeture du hayon (dans le modele sports uniquement) 1-11
P
Pare-soileil additionnel* 3-36
Pare-soleil 3-36
Pedale d'embrayage 7-25
Pedale de frein 7-25
Periode de rodage 1-2
Plafonnier 3-34
Pochette de rangement derriere le siege avant 1-25
Pochettes a cartes 3-37
Poignées de maintient 3-38
Porte-gobelets (touchetype*) 3-36
Pot catalytique 7-26
Precautions d'entretien 7-5
Precautions pour les gaz d'échéppement (monoxyde de carbone) 2-21
Precautions relatives aux ceintures de
securite 1-35
Prise electrique auxiliaire 3-38
Procedure de passage d'urgence à une transmission automatique 2-11
Programme d'entretien (diesel) 7-40
Programme d'entretien (essence) .... 7-43
Propriétés cric 6-3
Protection contre la corrosion 8-4
R
Rappel de ceinture de sécurité 3-13
Reglage coulissant des sieges avant 1-22
Reglage coulissant du siege conducteur 1-25
Reglage de l'inclinaison d'assise du siege conducteur 1-26
Reglage de l'inclinaison des sieges avant 1-23
Reglage de l'inclinaison du siège conducteu* 1-27
Reglage de la ceinture en hauteur .... 1-43
Reglage du siege conducteur en hauteur 1-23
Reglage du siege conducteur en hauteur* 1-26
Relâche automatique du verrouillage des portes 1-8
Remarque sur la sécurité 7-6
Remorquage d'urgence 6-14
Remorquage du vehicule 6-13
Retroviseur extérieur 1-19
Retroviseur interieur 1-21
Roue de secours du vehicule à 7 sièges. 6-6
INDEX 10-5
Roue de secours, cric et trousse a outils 6-2
Roues et pneus 7-27
S
Selection des modes 2-10
Serrures de sécurité pour enfants .... 1-9
Serrures des portes 1-6
Siege conducteur chauffant 1-24
Siege electrique (conducteur)* 1-25
Sieges arriere rabattables 1-29
Support lombaire de siege 1-24
Surfaces vitrees 8-3
Systeme anti-blocage des freins (ABS)* 2-17
Systeme anti-patinage* (avec systeme de freinage abs).... 2-18
Systeme d'immobilisation 2-6
Systeme d'ouverture et fermeture a distance (REKES) 1-5
Système de verrouillage automatique des portes 1-8
Systeme de verrouillage central 1-8
Systeme electrique 7-31
T
T.O.D (torque on demand) systeme de repartition automatique de couple* .. 2-14
Tableau delubrification 9-4
Tailgate locks 1-10
Temoin abs* 3-11
Temoin d'ouverture des portes 3-12
Temoin de charge de la batterie 3-12
Temoin de clignotant 3-14
Temoin de degivrage de lunette arriere 3-14
Temoin de l'airbag* 3-13
Temoin de prechauffage (moteur diesel) 3-15
Temoin de pression d'huile 3-8
Temoin de reserve de carburant 3-8
Temoin des feu de route 3-14
Temoin du systeme de freinage 3-10
Temoin ECS/sport* 3-16
Temoin tcs* 3-15
Toit ouvrant electrique* 1-17
V
Ventilation et chauffage 4-2
Vide-poches en bois*: (uniquement sur le modele sports) 1-34
Volant inclinable 1-17
Voyant indicateur d'anomalie 3-9

MUSSO & MUSSO SPORTS GUIDE DE L'UTILISATEUR
PUBLIE PAR
INTERNATIONAL A/S TEAM
SSANGYONG MOTOR CO., LTD.
150-3, CHILGOI-DONG, PYUNGTAEK-SI
GYEONGGI-DO, 459-711 KOREA
TELEPHONE:82-31-610-2740
FACSIMILE :82-31-610-3762
AVERTISSEMENT :TOUS DROITS RÉSERVÉS
Imprimé par SSANGYONG Motor.Co,Ltd
Aucune page de ce guide ne peut etre
utilisée ou reproduite sans la permission
écrite. d'International A/S Team.
Notice Facile