TONDEUSE AUTOPORTEE SG15 - Tondeuse autoportée ISEKI - Notice d'utilisation et mode d'emploi gratuit
Retrouvez gratuitement la notice de l'appareil TONDEUSE AUTOPORTEE SG15 ISEKI au format PDF.
| Type de produit | Tondeuse autoportée |
| Caractéristiques techniques principales | Moteur à essence, transmission hydrostatique, largeur de coupe de 92 cm |
| Alimentation électrique | Moteur à essence, pas d'alimentation électrique externe requise |
| Dimensions approximatives | Longueur : 2,3 m, Largeur : 1,0 m, Hauteur : 1,1 m |
| Poids | Environ 250 kg |
| Compatibilités | Accessoires compatibles : kit de mulching, remorque, balai de jardin |
| Type de batterie | Non applicable (moteur à essence) |
| Tension | Non applicable (moteur à essence) |
| Puissance | Environ 15 CV |
| Fonctions principales | Coupe de gazon, mulching, ramassage des déchets |
| Entretien et nettoyage | Vérification régulière de l'huile, nettoyage du plateau de coupe, affûtage des lames |
| Pièces détachées et réparabilité | Disponibilité de pièces détachées, facilité de réparation grâce à un accès simple aux composants |
| Sécurité | Équipements de sécurité : frein de stationnement, protection des lames, signal sonore en marche arrière |
| Informations générales utiles | Idéale pour les jardins de taille moyenne à grande, garantie constructeur de 2 ans |
FOIRE AUX QUESTIONS - TONDEUSE AUTOPORTEE SG15 ISEKI
Téléchargez la notice de votre Tondeuse autoportée au format PDF gratuitement ! Retrouvez votre notice TONDEUSE AUTOPORTEE SG15 - ISEKI et reprennez votre appareil électronique en main. Sur cette page sont publiés tous les documents nécessaires à l'utilisation de votre appareil TONDEUSE AUTOPORTEE SG15 de la marque ISEKI.
MODE D'EMPLOI TONDEUSE AUTOPORTEE SG15 ISEKI
Ce manuel d'utilisation est destiné à vous fournir les renseignements nécessaires pour l'utilisation et l'entretien, quotidien et saissonnier, de votre tondeuse autoportée ISEKI.
Nous attirons votre attention sur les conseils de sécurité mentionnés dans ce manuel, afin de limiter les risques d'accident, bien que votre tondeuse soit munie d'un maximum de dispositifs de sécurité.
Un entretien suivi permet de limiter les frais de réparation et les pertes de temps. N'utilisez pour le remplacement de pieces détachées que des pieces d'origine ISEKI afin de conserver à votre tondeuse toutes ses qualités et sa sécurité. Adressez-vous à votre agent ISEKI.
Nous améliorons sans cesse la technicity et la qualité de nos produits; pour cette raison, des différences peuvent exister entre notre tondeuse et les indications portées dans ce manuel.
Les améliorations portées en italieque dans le texte sont destinées à attirer votre attention.

Attention
Ce sont des consignes de sécurité très importantes
Important
Ces instructions devront etre impere-tivement respectees pour eviter les pannes
Remarque
Ces paragraphs vous renseignent sur la(Meilleureutilisationpossible devoitrondeuse
CHARACTERISTIQUES
TRACTEUR
| Modèle | SG 15 | |
| Moteur | Modèle | E262 |
| Type | vertical, refroidi par eau, diesel, 4 temps | |
| Nombre de cylindres | 2 | |
| Cylindrée | 619 cm³ | |
| Puissance maximum | 15 CV DIN à 3300 t/mn, 9.5 kw | |
| Couple maximum | 3,5 kgf-m / 2400 t/mn | |
| Démarriage | électrique avec bougies de préchauffage | |
| Graissage | circulation d'huile entrainée par pompe | |
| Refroidissement | par eau sous pression | |
| Capacité du radiateur | 3 litres | |
| Carburant | Gazole | |
| Capacité du réservoir | 11 litres | |
| Puisance de la batterie | 12 V., 35 AH | |
| Dimensions | Longueur hors tout | 1690 mm |
| Largeur hors tout | 1020 mm | |
| Hauteur hors tout | 1140 mm | |
| Empattement | 1200 mm | |
| Voie | Avant | 770 mm |
| Arrière | 760 - 850 mm | |
| Poids | 350 kg | |
| Roues motrices | Propulsion arrière | |
| Avant | l6 x 6.50-8 | |
| Pneus | Arrière | 23 x 10.50-12 |
| Transmission | Transmission hydrostatique | |
| Garde au sol | 140 mm | |
| Mode de releavage | Système hydraulique | |
| Nombre de vitesse | Pas de changement de rapport, marche avant marche arrière | |
| Vitesses de déplacement - Marche avant (Min. - Max.) | 0 - 10,8 km/h | |
| 0 - 5,4 km/h | ||
| Entrainnement de la tondeuse | par cardan | |
| Embrayage de prise de force avant | par tension de courroie | |
| Freins | à tambours | |
PLATEAU TONDEUR
| Modèle | SSM 48 | |
| Type | à lames rotatives | |
| Largeur de coupe | 1220 mm | |
| Nombre de lames | 3 | |
| Dimensions | Longueur hors tout | 760 mm |
| Largeur totale | 1525 mm | |
| Hauteur totale | 270 mm | |
| Poids | 55 kg | |
| Hauteurs de coupe | 25 - 115 mm | |
| Réglage de hauteur de coupe | Régable en 7 positions par déplacement de goupilles | |
Ces renseignements peuvent ére rémodiés sans préavis.
IDENTIFICATION DE LA TONDEUSE
Réparation et pieces détachées
Lorsque vous contactez – toute agent Iseki pour une réparation ou une demande de pieces détaches, veuilles fournir impératifement les renseignements suivants:
- Modèle et numéro de chassin du tracteur
- Type et numero du moteur
- Modèle et numéro de série du plateau tondeur
Numéro de chassaiss
Il est frappé sur la traverse avant du chassin.

Type et numero de moteur
Le type de moteur est coule en relief dans le bloc cylindre, derrière la pompe à injection. Le numéro de moteur est frappé sous l'indication du type de moteur.

Modèle et numéro de série du dispositif de coupe (tondeuse)
La plaque est collée sur le côté droit du plateau tondeur.

TABLE DES MATIERES
POUR UNE UTILISATION EN Toute SECURITE 7
DESIGNATION DES PRINCIPAUX ELEMENTS 8
COMMANDES ET VOYANTS DE CONTROLE 9
MODE D'EMPLOI 11
Demarrage 11
Arrêt du moteur 12
Utilisation du tracteur 12
VERIFICATIONS AVANT UTILISATION 15
Contrôle toutes les 50 heures d'utilisation 20
Contrôle toutes les 100 heures d'utilisation 22
Contrôle toutes les 200 heures d'utilisation 23
Contrôle toutes les 300 heures d'utilisation 23
Contrôle toutes les 400 heures d'utilisation 24
Contrôle des fusibles et du câblage électrique 24
Remplissages et capacités 26
Tableau de periodicité des contrôleles 27
Points de fixation à vérifier avant chaque utilisation 28
SCHEMA DE CABLAGE ELECTRIQUE 29
TABLEAU DES PANNES ET REMEDES 30
POUR UNE UTILISATION EN Toute SECURITE

Avant d'utiliser la tondeuse autoportée pour la première fois:
- Lire attentivement le manuel d'instructions.
- Apprende comment utiliser et arrêté le tracteur.
- S'assurer que les dispositifs de sécurité fonctionnent correctement.
En cours de travail:
- Ne pas permettre la conduite du tracteur à des personnes non compétentes.
- Interdire aux enfants de monter sur l'appareil ou des s'approcher pendant le travail.
- Bien surveiller la zone d'évolution de la tondeuse. Pour traverser une route, s'assurer qu'il n'y ait aucune circulation.
Veiller à la sécurité à l'arrière du tracteur en reculant. - Ralentir suffisamment pour tourner; ne pas prendre de virage trop brusque.
- Ne pas utiliser le tracteur sur terrain glissant ou trop pentu.
- Avant d'arrête le moteur, s'assurer que la prise de force est débrayée.
- Ne pas descendre du tracteur sans avoir serré le frein de parking, arrêté le moteur et retire la clé de contact.
Utilisation sur une pente:
- Ne pas prendre de virage brusque; adapter la vitesse en fonction de la pente.
- Ne pas effectuer de démarrages ou d'arrêts brutaux.
- Sila tondeuse vient à caler, débrayer la prise de force et avancer doucement jusqu'à un endroit plat.
Remplissage du réservoir de gazole:
- Ne pas dévisser le bouchon de réservoir quand le moteur tourne ou quand il est trop chaud.
- Eviter de renverser du gazole pendant le remplissement.
- Essuyer immédiatement le gazole qui se serait répandu.
Entretien de la tondeuse autoportée
- Toujours arrêté le moteur pour intervenir sur le tracteur ou le dispositif de coupe.
- Ne pas modifier le réglage d'origine du régulateur.
- Contrôler le bon fonctionnement des dispositifs de sécurité du siège, du levier de commande de prise de force, de la pédale de frein et du système de releavage.
- Vérifier le serrage correct de l'ensemble de la boulonnerie.
- Attendre le refroidissement du moteur avant toute intervention.
- Prendre garde aux vêtements amples qui risquent détre happés par la courroie du ventilateur ou d'autres pièces en rotation.
- Ne pas effectuer de modification de la tondeuse autoportée sans autorisation.
- Maintenir l'appareil et ses accessoires en bon état de fonctionnement.
Remisage:
- Attendre le refroidissement complet du moteur avant de recouvrir l'appareil (avec une bache par exemple)
- Enlever l'herbe ou les feuilles mortes ajustur du moteur pour éviter les risques d'incendie.
- Les gaz d'échéppement sont dangereux. Démarrer le moteur dans un endroit aéré.
Protection contre le bruit:
- Il est recommandé de porter un protecteur d'oreilles pour une utilisation prolongée.


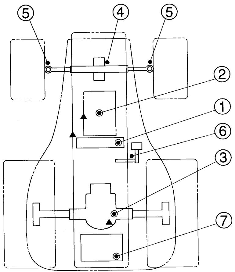
- Siège
- Levier d'embrayage de prise de force avant
- Volant de direction
- Prise de force avant
- Pédale de frein
- Levier de frein de parking
-
Pédale de marche avant
-
Pedale de marche arriere
- Levier d'accélérateur
- Pédale de contrôle de vitesse
- Commande de releverage
- Catadioptre
- Reservoir de gazole

- Contacteur a clé
- Levier d'accélérateur
-
Interrupteur d'éclairage (option)
-
Témoins de contrôle
- Levier d'embrayage de prise de force avant
CONTACTEUR A CLE

Attention :
S'assurer que la clé est enlevée quand le tracteur est inutilisé. Sinon n'importe qui, même un enfant, pourrait demarrer le moteur, ce qui est dangereux.

La préchauffage est nécessaire. S'assurer qu'il est effectué avant de démarrer le moteur. Les différentes positions de la clé de contact sont les suivantes :

Position préchauffage

Position arrêt: le moteur est arrêté etaucun élément électrique n'est en service.

Position contact: la clé reste dans cette position durant le fonctionnement. Tous les éléments électriques sont en service.

Position démarrage: le démarreur entraine le moteur
Important:
-
Un préchauffage de plus de 20 secondes peut endommager les bougies de préchauffage. Si le moteur refuse de démarrer, attende au moins 20 secondes avant une nouvelle tentative.
-
Relâcher la clé dés que le moteur a démarré.
LEVIER D'ACCELERATEUR

Le régime du moteur est contrôle par ce levier.
Le moteur est au ralenti quand le levier est en position (tortue) et accélééré quand on pousse ce levier vers la position (lièvre).
INTERRUPTEUR D'ECLAIRAGE (option)
Les phares sont allumés quand l'interrupteur est basculé vers le haut; ils sont éteints quand l'interrupteur est basculé vers le bas.
TEMOINS DE CONTROL

Témoin de charge:
s'allume quand la batterie ne charge pas. Il s'allume également quand la clé de contact est en position marche et doit s'eteindre après le démarrage du moteur.

Témoin de pression d'huile:
s'allume en cas de defaillance du circuit de graissage. Il s'allume également quand la clé de contact est en position marche et doit s'éteindre après le démarrage du moteur.

Témoin de température d'eau:
s'allume en cours de fonctionnement quand la temperture du moteur est trop élevé.
LEVIER D'EMBRAYAGE DE PRISE DE FORCE AVANT


Débrayé

Embrayé
La position de ce levier déterminé l'embrayage ou le débrayage de la prise de force.
Remarque:
Ce levier est muni d'un dispositif de sécurité de démarrage. Le démarrage du moteur n'est possible que lorsque le levier est en position débrayé
PEDALE DE FREIN
Cette pedale est munie d'un dispositif de sécurité de démarrage. Le démarrage du moteur n'est possible que lorsque la pedale est enforcée à fond.

LEVIER DE FREIN DE PARKING
Ce levier sert à immobiliser le tracteur à l'arrêt. Pour leMETTE en fonction,enfonce r fond la pedale de frein et tirer vers soi le levier. Pour libre r frein de parking,appuyer a fond sur la pedale,le levier se libre automatiquelement.

Important:
Ne jamais essayer de déplacer le tracteur lorsque le frein de parking est serré, sous peine d'endommager le dispositif.

Attention:
S^ assurer que le frein de parking est serre quand le tracteur est a l'arrêt.
COMMANDE DE RELEVAGE


Ce levier commande la descente et le relevage de la tondeuse.
Position basse

Position haute
PEDALE HST
Ces pédales permettent de contrôler la vitesse en marche avant et en marche arrière


La vitesse en marche avant augmente lorsque l'on appuie sur la pédale de gauche (interieure).

La vitesse en marche arriere augmente lorsque I'on appuie sur la pedale de droite (extérieure).
PEDALE DE CONTROLE DE VITESSE
Cette pedale permet de stabiliser la vitesse de déplacement en marche avant. Pour cela appuyer sur la pédale lorsque la vitesse désirée est atteinte.

MODE D'EMPLOI
DEMARRAGE
DEMARAGDU MOTEUR:

Attention:
Ne mettre le moteur en marche qu'a l'extérieur ou dans un local aere; les gaz d'échéppement sont dangereux.
Avant le démarrage du moteur, s'assurer que le levier d'embrayage de prise de force est en position débrayé, celui-ci comportant une sécurité de démarrage.
- Enfencer à fond la pédale de frein/embrayage.

Remarque:
Le moteur ne peut pas etre mis en route tant que la pedale n'est pas enfoncée a fond,elle-ci相对较uant un dispositif de sécurité de demarrage.
- Pousser le levier d'accelerateur en position (acceléré).
- Tourner la clé en position 00 (préchauffage) et la maintainir dans cette position pendant 5 à 10 secondes, selon la température ambiente.
Important:
Ne pas mainstreamir la clé en position préchauffage pendant plus de 20 secondes, sous peine d'endommager les bougies de préchauffage. Si le moteur ne démarre pas, attendre 20 secondes avant un nouvel essai.
Remarque:
La pompe à injection se déclenché quand la clé est en position contact. On peut s'en assurer en l'écoutant cliqueter.
- Tourner la clé de contact en position demarrage,de façon à faire entrainer le moteur par le démarreur.

Important:
Ne pas mainstreamir la clé en position démarrage pendant plus de 10 secondes. Si le moteur ne démarre pas, attendre au moins 20 secondes, puis répéter les § 3 et 4. Des démarrages répétés peuvent décharger rapidement la batterie.
- Relâcher la clé dés que le moteur est démarré.
- Avec avoir démarré le moteur, le laisser monter er température en positionnant le levier
d'accelerateur à demi-gaz.
Remarque:
Les voyants de charge et de pression d'huile s'allument quant la clé est en position contact, et doit s'eteindre des le démarrage du moteur.
ARRET DU MOTEUR
ARRET NORMAL:
- Ramener le levier d'accelerateur en position ralenti.

- Tourner la clé de contact en position × arrêt.


Attention:
Nepas oublier desteroler la cléde contact en quittant le tracteur pour éviter qu'un enfant ou une autre personne ne puisse lemettre en route.
ARRET D'URGENCE:
Tournier la clé de contact en position ÷ideontimes arrêt.
L'alimentation de gazole est alors interrompue et le moteurs s'arrêté.
Remarque:
Le circuit d'alimentation est muni d'un contact de coupure d'alimentation permettant ainsi l'arrêt moteur des que la clé est en position × arrêt.
UTILISATION DU TRACTEUR
- Mettre le tracteur en marche en suivant la procédure employée précédemment.
RELEVAGE DE LA TONDEUSE

Basculer le levier de releavage vers l'arrête c'est a dire sur la position haute.
Remarque:
Pour actionner le levier de rele-. vage, placer le levier d'accélérateur en position moyenne, légèrement au-dessus de l'horizontal.
DEMARRAGE DU TRACTEUR

Attention
Ne pas utiliser le tracteur avant d'avoir pris connaissance des conseils de sécurité mentionnés page 7.
- Appuyer sur la pédale de frein

Le frein de parking est concu pour se désenclencher automatiquement lorsque l'on appuie sur cette pédale. Vérifier que le frein de parking est bien débloqué.
Important
Lorsque le levier de frein de parking est engage, les pédales HST sont inopérantes. Dans cette configuration, ne pas forcer sur les pédales HST.
- Placer le levier d'accélérateur en position moyenne légèrement au-dessus de l'horizontal.

- Appuyer sur la pédale HST
(intérieure)progressivement et le tracteur commence à
avancer. Plus vous appuyez sur la pédale, plus la vitesse augmente.

- Appuyer sur la pedale (extérieure), le tracteur commence a reculer. Plus la pedale est enforcée, plus la vitesse augmente.


Attention:
Les pédales HST reviennent en position repos automatiquement lorsqu'on les relâche. Avant toute autre manoeuvre, attendre l'arrêt complet du tracteur.
- Avant de reculer, s'assurer des conditions de sécurité sur l'arrête du tracteur.
- En toutes circonstances, actionner les pédales progressivement. Un brusque coup de pédale, que ce soit en marche avant ou arrière est toujours dangereux.
- Proceder aux opérations de contrôle et de mise en route sur un terrain plat et dégagé avant de commencer le travail.
CONTRÔLE DE LA VITESSE

Le tracteur est équipé d'un système de contrôle de vitesse. La stabilisation de la vitesse est possible uniquement en marche avant et dans 5 gâmes de vitesse.
La vitesse dans chaque gamme est:
$$ \begin{array}{l} l e r e = 9, 5 k m / h \ 2 e = 2. 8 k m / h \ 3 e = 4, 9 k m / h \ 4 e = 6, 9 k m / h \ 5 e = 8, 7 k m / h \ \end{array} $$
COMMENT STABILISER LA VITESSE D'AVANCEMENT
Ce système est habituellement utilisé quand une vitesse de progression constante est nécessaire notamment durant la tonte.
La procédure est la suivante:
- Appuyer sur la pédale (marche avant) jusqu'à atteindre la vitesse désirée.

- Appuyer sur la pédale de contrôle de vitesse tout en mainte
nant la pression sur la pédale (marche avant).

Remarque:
Ce système fournit différents paliers de vitesses; besoin la plus adaptée au travail en actionnant la pedale de marche avant.
Important:
Etantdonnedeqela pedale de contrroledevitessepeutetreverrouillée sans dificulté, prendergarde de ne pas l'actionnertropbrusquement.
- Relacher la pédale d'accélérateur puis la pédale de contrôle de vitesse. La pédale de contrôle de vitesse se trouve ainsi verrouillée et le tracteur progesse à vitesse stabilisée.
- Pour déverrouiller la pedale de contrôle de vitesse, appuyer sur la pedale de frein. Le système de contrôle est alors hors service.


Attention:
N^ utiliser le système de contrôle de vitesse que sur terrain plat et dégagé. Il est conseillé d'utiliser ce système lorsque l'on est suffisamment familiarisé avec la machine.

Attention:
Nepas stationner le tracteur sur une pente.
ARRET DU TRACTEUR

- Ramener le levier d'accelerateur en position (ralenti).
- Appuyer sur la pédale de frein.
- Mettre la clé de contact sur position × (arrêt) pour couper le moteur.
- Serrer le frein de parking.

Attention:
Le tracteur doit normalement s'arreter lorsque l'on relâche la pédale HST. Si le tracteur ne s'arrête pas tout à fait, "pomper" sur la pédale HST.
Important:
Nepascouperimmediatementle moteurlorsqu'iltourneàhaut regime,sauf en casd'urgence. Aprees une longueutilisation, laisser tourneler moteur au ralenti 5a10 minutes avant de l'arreter.
VERIFICATIONS AVANT UTILISATION
PRISE D'AIR
a. Nettoyer la grille métallique fixée sur la face interne du capot.

b. Débarrasser les grilles d'entrée d'air de l'herbe et de la poussière.

c. Enlever la grille de radiateur et la nettoyer.

Important:
Des grilles d'entrée d'air obstruées peuvent provoquer une surchauffe du moteur.
CONTROLE DU NIVEAU D'HUILE


Sortir la jauge d'huile et l'essayer. La remetre dans son logement et la retirer pour controller le niveau d'huile qui doit'être compris entre la limite inférieure et supérieure.
Important:
Nepasreplird'huileau dela de la limitesupérieure,ela nuirait au bonfonctionnement du moteur.

Remarque:
Toujoursutiliser l'huile ISEKI
speciale pour moteurs ISEKI.
Demandencer conseil a son agent
ISEKI.
Important:
Pour compléter le replissage utiliser la même huile que celle déjà containue dans le circuit.
CONTROLE DU NIVEAU D'HUILE DE LA TRANSMISSION
Amener le tracteur sur une surface plane. Vérifier le niveau sur la jauge, l'huile étant froide. Compléter le niveau lorsque celui-ci est insuffisant puis lancer le moteur pour alimenter le circuit. Revrifier une nouvelle fois le niveau.

Important:
Pour compléter le replissage utiliser la même huile que celle déjà containe dans le circuit.
CONTROLE DU NIVEAU DE LIQUIDE DE REFROIDISSEMENT



Attention:
Ne jamais oter le bouchon du radiateur juste après utilisation du tracteur. La vapeur et l'eau bouillante pourrait vous brûler. Ouvrir le capot et enlever le bouchon de radiateur. Vérifier le niveau du liquide qui doit atteindre le bas de la goulotte de replissage. Compléter le niveau si nécessaire.
Important:
En hiver, utiliser de l'antigel ou du liquide spécial tontes saisons.
CONTROLE DU NIVEAU DE GAZOLE


Basculer le siège pour contrôler la jauge à carburant.
Capacité du réservoir : 11 litres

Attention:
Ne pas fumer niapprocher de flamme nuene nelfaisantle pleindecarburant.Le niveaune doit pasdépasser lebasde la goulotte deremplissage.
Important:
Utiliser exclusivement du gazole, jamais de fuel domestique ou d'essence. Un carburant inapproprié endommagerait lapompe à injection.
REGLAGE DU SIEGE
Le siège peut être régé en fonction de la taille de l'utilisateur.
- Basculer le siège vers l'avant et desserrer les deux molettes de fixation.
- Positionner le siège dans la position désirée en le faisant coulisser.
- Revisser les deux molettes et bien les bloquer.

PRESSION DES PNEUS
Important:
Respecter les pressions de gonflagepréconisées. Les surgonflage déteriore le pneu et en amoindrit les performances.
Pression : avant : 1 bar
arrière: 0,7 bar
Le moteur peut tournar à deux régimes maximum différents obtenus grâce à un levier servant de butée au cable d'accéléateur.
Pour une utilisation courante, employerer le réglage "L" de façon à réduire le bruit, la consommation et les vibrations.
Pour un travail difficile, par exemple en herbe haute ou en utilisant un collecteur d'herbe, il est préféRED d'utiliser le réglage


Le tracteur est livré d'origine avec le réglage "L".
- CHANGEMENT DE REGLAGE DE REGIME MAXIMUM
Faire basculer le levier de la position "L" à la position "H" et vice-versa.



Attention:
Pour effectuer ce réglage, tousiers arrêtier le moteur etsteroler la clé de contact pour plusde sécurité.
CONTROLE DE L'EMBRAYAGE DE LA PRESE DE FORCE AVANT
L'usure progressive de la courroie d'entrainment de la prise de force avant provoque un allongement de cette courroie et la tension de celle-ci peut devenir insuffisante, provoquant un rendement médiocre de la transmission et un risque de cassure de la courroie. La tension peut être réglée comme suit:
- Ouvrir le capot
- Le ressort du cable d'embrayage doit pouvoir s'étirer et se raccourcir correctement en déplaçant le levier d'embrayage de prise de force de la position embrayé, à la position debrayé.

- Si le dessort ne s'etire pas correctement, régler le cable d'embrayage.
Ecartement de 0,5 mm (levier en chaque spire : position embrayé)
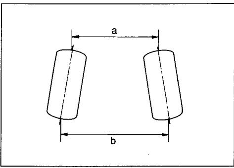
CONTROLE DE LA DIRECTION
- Vérifier le jeu de la direction en essayant de bouger doucement le volant à gauche et à droite. Le jeu doit être minime.
- Si le train avant présente un carrossage négatif ou positif, la direction sera moins efficace, le tracteur pourra "tirer" d'un côté ou de l'autre, ou le volant sera décentré.

La tolérance de carrossage (b - a) doit être de 2-4 mm.
Consulter un agent ISEKI pour effectuer ce réglage.
REGLAGE DES FREINS

Attention:
Un jeu excessif de la pedale de frein, problème pouvant survenir après de nombreuses heures d'utilisation, serait dangereux. En conséquence, le système de freinage doit toujours être vérifié et testé avant service. Tout une anomalie doit être corrigée immédiatement.

Resort de frein
Pédale de frein
Appuyer sur la pédale de frein jusqu'en butée. Vérifier si le ressort de frein est correctement tendu. Dans la négative, ajuster la longueur de la tringle de frein à l'aide du tendeur jusqu'à ce que 1'écart entre spires soit compris entre 1,0 et 1,5mm.
CONTROLEDELACOURROIDEVENTILATEUR

Attention:
Attendre le refroidissement du moteur et retirer la clé de contact pour effectuer le contrôle ou le réglage de la courroie de ventilateur.
Appuyer avec le doigt sur la courroie, entre la poulie du venti
lateur et l'alternateur. La courroie doit flechir de 5mm environ.


Fléchissement: 5 mm
Mode de réglage
a. Desserrer le boulon de fixation de l'alternateur.

b. Positionner l'alternateur pour obtenir une tension correcte de la courroie. Resserrer le boulon.
c. Si le fléchéissement de la courroie est correct, bloquer le boulon de l'alternateur.
- Une courroie endommagée doit être changée. Consulter un agent ISEKI.
COUPLE DE SERRAGE DES ECROUS DE FIXATION DES ROUES
Roues avant: 500 à 600 kg/cm
Roues arrriere: 550 à 700 kg/cm
CONTROLE DES DISPOSITIFS DE SECURITE DE DEMARRAGE
Un ensemble de dispositifs de sécurité permet une mise en route plus sure du moteur. Il est important de vérifier ces dispositifs avant chaque utilisation. Pour effectuer ces vérifications, il faut s'asseoir sur le siège.
- Contrôle du dispositif de sécurité du levier d'embrayage de prise de force
a. Mettre le levier d'embrayage de prise de force en position débrayé.

b. Tourner la clé de contact en position démarrage.

Le démarre ne doit pas fonctionner.
c. Appuyer sur la pédale de frein/ embrayage.

d. Tourner la clé de contact en position démarrage.

Le moteur doit demarrer
e. Mettre le levier d'embrayage de prise de force en position em-brayé

f. Appuyer sur la pédale de frein/ embrayage.
g. Tourner la clé de contact en position démarrage.
Le démarreur ne doit pas fonctionner.
- Contrôle du dispositif de de sécurité du siège
a. S'asseoir sur le siège.

b. Demarrer le moteur.
c. Mettre le levier d'embrayage de prise de force en position embrayé.
d. Se lever du siège, mais laisser la pédale de frein enforcée.

Le moteur doit s'arrête
e. Se rasseoir sur le siège.
f. Demarrer le moteur
g. Mettre le levier d'embrayage de prise de force en position débrayé.
h. Relacher la pédale de frein, se lever du siège.

Le moteur doit s'arrête

Attention:
- Toujours retirer la clé de contact avant toute intervention sur le tracteur.
- Debrancher la borne négative de la batterie avant toute intervention électrique.
Utiliser des dispositifs de levagesurs pour intervenir sous letracteur. - N'utiliser que des pieces détachées d'origine en cas de remplacement (demander à un agent ISEKI)
Ce manuel ne traite que de l'entretien et des interventions courantes. Les réparations plus importantes ne doivent être effectuées que par un agent ISEKI.
CONTROLE QUOTIDIEN AVANT CHAQUE UTILISATION
Se reporter à la page 15.
Organes à vérifier:
- Prises d'air
- Niveau d'huile
- Niveau de liquide de refroidissement
- Niveau de carburant
- Pression de gonflage des pneus
- Volant de direction
- Pédale de frein
Courroie de ventilateur - Serrage des écrous de roues arrêté
Dispositifs de sécurité d'arrêt moteur - Niveau d'huile de transmission.
CONTROLE TOUTES LES 50 HEURES
VERIFICATION DE LA BATTERIE

Attention:
- L'électrolyte est corrosif et provoque des brûlures. En cas de projection sur la peu ou les vêtements, laver immédiatement à grande eau.
- Ne pas avaler l'électrolyte. Se protégé les yeux et le visage.
- Ne pas fumer, ne pasapprocher de flamme neue en contrôlant la batterie.
1) Enlever le capot de batterie en devissant les boulons molettes de chaque cote.
2) Contrôler le niveau de l'électrolyte qui doit être légèrement plus haut que le sommet des plaques de batterie. Rajouter de l'eau distilled si nécessaire.

Important:
Le niveau correct d'électrolyte doit être maintainu. Un niveau inférieur endommage la batterie, un niveau trop élevé provoque des débordements et une corrosion des éléments voisins.
ENTRETIEN DE LA BATTERIE
a. La batterie perd de la puissance quand la température ambiente baisse. Aussi, il est important de veiller à son entretien pendant l'hiver.
b. Si le tracteurs est inutilisépendant une longue période, démonter la batterie et la stocker dans un endroit sec et à l'abri du soleil. Si la batterie reste montée sur le tracteur, débrancher la borne négative.
c. La batterie se décharge même quand elle n'est pas utilisé. Il faut donc la recharger périodique.
Important:
- Maintainir la batterie et les faisceaux electriques en bon etat deproprete pour eviter les risques de court-circuit et d'incendie.
- En cas de remplacement, utiliser une batterie de mêmes caractéristiques pour éviter des dégats électriques ou même un incendie.
Veiller au branchement correct de la batterie. Une inversion des pôles endommagerait le circuit électrique. - Une charge trop rapide de la batterie en réduit la longévité.
- Déposer la batterie pour la re-charger.
GRAISSAGE
Garnir chaque graisseur; utiliser une pompe à pression.
- Pivots de fuses de roues avant

- Pivot d'essieu avant

Articulation de la pédale de frein

VIDANGE DE L'HUIL MOTEUR
Important:
Vidanger l'huile moteur après les 50 premières heures defonctionnement, puis toutes les 200 heures de marche.
1) Effectuer la vidange quand le moteur est chaud pour faciliter l'écoulement.
2) Placer un écipient sous l'orifice de vidange et enlever le bouchon.

3) Enlever le bouchon de replissage d'huile.
4) Quand l'huile a fini de s'écouler, remetre le bouchon de vidange et regarnir avec de l'huile neuve.
Capacité du carter: 2,2 litres

5) Demarrer le moteur et le laisser tourner au ralenti quelques instants. Avec l'avoir arrêté, attendre quelques minutes et contrôler le niveau d'huile qui doit atteindre le maxi sur la jauge.
Important:
Utiliser exclusivement de l'huile ISEKI.
VIDANGDEL'HUILE DETRANSMISSION
Important:
Vidanger l'huile de transmission après les 50 premières heures de fonctionnement, puis toutes les 200 heures de marche.
1) Placer le tracteur sur un sol horizontal.
2) Enlever le capot de batterie en devissant les boulons molettes de chaque cote.
3) Placer un récipient sous l'orifice de vidange et enlever le bouchon.

4) Enlever le bouchon de replissage d'huile.
5. Remetre le bouchon de vidange lorsque l'huile a fini de s'écouler.
6. Remplir avec de l'huile neue jusqu'à atteindre le niveau indiqué sur la jauge.
Capacité : 6 litres

- Redémarrer le moteur et faire fonctionner la transmission quelque temps puis vérifier le niveau d'huile. Remplacer ou nettoyer le filtré à huile à chaque vidange.
Important:
Utiliser exclusivement de l'huile ISEKI.
REEMPLACEMENT DU FILTRE A HUILE DE TRANSMISSION
Il y a 2 filtrés à huile : l'un place sous le réserveir de gazole et l'autre à l'extrémité gauche du carter de transmission.
Important:
Les filtres doivent être changés après les premières 50 heures de fonctionnement et ensuite toutes les 200 heures de service.
Remarque:
Remplacer les filtrres lors de la vidange du circuit.
-
Cartouche placée sous le réservoir de gazole
-
Oter le capot arrriere et la batterie.
- En enlevant le filtré, une petite quantité d'huile coulera. Utiliser un petit récipient pour la recevoir.

Remarque:
Etantdonnedquele couvercle du filtren'estupportedequepar la tubulureducircuitduhuile,tenir fermementce couvercleau demontagedufiltré
- Enlever le filtré à l'aide d'une clé à filtrer en tournant dans le sens des aiguilles d'une montre.
- Placer un nouveau contrôle.
Celui-ci doit être à moins rémpli d'huile neue et la bague d'étanchéité doit en être préalablement enduite.
- Fixer le filtré à son couvercle en tournant dans le sens contraire des aiguilles d'une montre. Le visser manuellement jusqu'à serrage puis donner 3/4 de tour supplémentaire à l'aide de la clé.
- Filtre placé à l'arrête gauche du carter de transmission

- Soulever le chassis à l'aide d'un cric et enlever la roue arrêté gauche.
- Oter le boulon de fixation du filtrtre puis déposer le filtrtre ; le nettoyer dans un bain d'huile propre.
- Remetre le filtren en place en prenant garde de ne pas déformer la bague d'étanchéité.
- Remetre le boulon de fixation puis la roue.
- ÀpRES remplissageduc circuit avec del'huiledetransmission,demarrerle moteur et s'assurer qu'il n'y a pas de fuite au niveau desfiltres.
CONTROLE TOUTES LES 100 HEURES
NETTOYAGE DU FILTRE A AIR
- Contrôle du clapet caoutchouc du filtré à air.
Faire sorting les poussières accumulées à l'intérieur du clapet en caoutchouc en pinctant celui-ci entre les doigts. Le nettoyer si nécessaire.

- Contrôle et nettoyage de la cartouche.
a. Dévisser la vis à oreilles et sortir la cartouche.

b. Tapoterla cartouche pouren faire sourir la poussière.
c. En cas de fort encrasement, souffler l'intérieur à l'air compré en prenatal soit de ne pas la déformer.
Remonter la cartouche en sens inverse.

Lavage de la cartouche
Des poussières grasses nécessite n'estent le lavage de la cartouche. Faire tremper celle-ci dans une solution de détergent menager pendant 1/4 d'heure, rinceral'eau claire et secher. Prendre soit de ne pas abimer la cartouche en cas d'utilisation d'un jet d'eau.
Important:
- Ne jamais taper la cartouche contre le sol ou un mur pour ne pas la déformer.
- Bien repositionner la cartouche dans son logement au remontage.
- S^ assurer de la bonne fixation du couvercle de filtré afin d'eviter les entrées de poussière.
Remarque:
Au bout de 5 nettoyages, remplacer la cartouche par une neue. En cas de déformation, la remplacer également.
CONTROLE DU FILTRA AGZOLE
Le filtré à gazole estitué sous le capot de batterie. Vérifier l'etat de propreté de la cuve.
- S'il contient de l'eau dans sa partie basse, enlever la vis de purgege, évacuer l'eau et remettre la vis.

CONTROLE TOUTES LES 200 HEURES
REEMPLACEMENT DE L'HUILE MOTEUR
Se reporter au § “Contrôle toutes les 50 heures”.
CONTROLE TOUTES LES 300 HEURES
1) Placer le tracteur sur un sol horizontal.
2) Effectuer le remplacement quand le moteur est chaud. Sinon, le faire tourner quelques minutes au ralenti puis l'arrête.
3) Placer un récipient sous l'orifice de vidange et enlever le bouchon.
4) Ouvrir le capot et dévisser le
flanc avant droit de la carrosserie.
5) Dévisser le filtré à l'aide d'une clé spéciale, en tournant en sens inverse des aiguilles d'une montre.
6) Visser un filtrne neuf.
Important:
Pour monter le filtrne neuf, le visser jusqu'au contact du joint contre l'orifice et serrer de 3/4 detour.
7) Remetre le bouchon de vidange, ouvrir le bouchon de replissage et regarnir d'huile.
Capacité: 2,4 litres avec le changement de contrôle
8) Demarrer le moteur et le laisser tourner au ralenti quelques instants, et contrcler qu'il n'y ait pas de fuite autour du filtre ou du bouchon de vidange.
9) Arrêter le moteur et attendre quelques minutes pour contrôler le niveau de l'huile, et le compléter si nécessaire.
Important:
Nepas remplirdhuile audelade la limitesupérieure,ela nuirait au bonfonctionnement du moteur.
CONTROLE TOUTES LES 400 HEURES
REEMPLACEMENT DU FILTRE A GAZOLE
1) Arrêter le moteur et démonter le couvercle de batterie.
2) Vider le réservoir de gazole.

3) Enlever le collier du tuyau d'arrivée de gazole.
4) Démonter le filtré de son support et le remplaçer par un neuf.
Important:
En cas de problèmes d'alimentation dus au filtré à gazole, le changer avant l'échéance de son remplacement normal.
REEMPLACEMENTDULIQUIDEDEFREFROIDISSEMENT

Attention:
Ne jamais ouvrir le bouchon de radiateur quand le moteur est en marche, ou quand il est encore chaud, le liquide de refroidissement étant sous pression.
Attendre le refroidissement du moteur pour effectuer ces opérations.
Important:
Pendant la période hivernale, utiliser un mélange antigel selon les proportions fournies par le fabricant.
1) Arrêter le moteur et le laisser refroidir.
2) Placer un réseau sous le robinet de vidange du radiateur. Ouvrir le robinet.
Ouvrir le capot, enlever le bouchon de radiateur et laisser s'écouler le liquide de refroidissement.

3) Rincer l'intérieur du radiateur à l'aide d'un jet.
4) Laisser le radiateur se vider entiériment et refermer le robinet de vidange. Leregarnir de liquide.
Capacité:
3 litres
5) Remetre le bouchon dur radiateur et mesure le moteur en route pendant quelques minutes. L'arrête et le laisser refroidir et vérifier le niveau de liquide; en rajouter si nécessaire.
Important:
- Ne jamais rajouter de liquide froid dans un moteur encore chaud, souspeine d'endommager le bloc cylindre.
- Ne jamais mettre le moteur en route sans liquide de refroidissement.
CONTROLE DES FUSIBLES ET DU CABLAGE ELECTRIQUE
CONTROLE DES FUSIBLES
Important:
Toujoursutiliserdesfusiblesde memeampereagequelesfusibles d'origine.Desfusiblesd'ampereagesuperieurdetertioreraientlesfaisceauxetlescomposantselectriques.

Fusibles utilisés:
3 A : Pompe à injection
10 A: Solénoïde (bobine)
10 A:Relais et temoins de contrôle
10 A :Fusible de rechange
Important:
- Localiser et réparer la cause de la panne avant de replacer un fusible grillé.
- Ne pas remplaçer deFuse par du fil de fer ou du fil électrique
Fusible principal
L'ensemble du faisceau électrique est protégé par un fusible principal en forme de pontage et situé au dessus de la batterie.
Toujours localiser et réparer la cause de la panne avant de remplacer ce fusible.
N'utiliserqu'un fusible d'origine ISEKI.

Un fusible grillé se reconnait à sa décoloration et à la déformation de sa gaine.
CONTROLE DUCABLAGE ELECTRIQUE

Attention:
Pour éviter tout risque d'incident ou d'incendie, faire contrôle chaque année l'ensemble du câblage électrique par un agent ISEKI.
Important:
Réparer immédiatement tout cable dénudé avec du ruban adhésiif isolant.

Orifices de replissage
Points de vidange
Graisseurs
| REPERE | ORGANES CONCERNES | FLUIDES | CAPACITES |
| 1 | Radiateur | Eau + antigel en hiver ou liquide toutes saisons | 3,0 litres |
| 2 | Moteur | Huile moteur | 2,2 litres |
| 3 | Carter de transmission | Huile de transmission | 6,0 litres |
| 4 | Pivot d'essieu avant | Graisse | à la demande |
| 5 | Pivots de fusées de roues avant | Graisse | à la demande |
| 6 | Articulation de pédale de frein | Graisse | à la demande |
| 7 | Réserveoir | Gazole | 11.0 litres |
Utilisez l'huile préconisée par votre agent ISEKI.
: Contrôle, complément et réglage
:Remplacement
:Nettoyage
★ : S'adresser à un agent ISEKI
TABLEAU DE PERIODICITE DES CONTROLES
| Organe contrôle | Quoti-dien | Nombre d'heures de travail entre chaque intervention | Echéance suivante | Remarques | |||||||
| 50 | 100 | 150 | 200 | 250 | 300 | 350 | 400 | ||||
| MOTEUR | |||||||||||
| Huile moteur | ○ | ● | ● | Remplacer ttes les 200 h | Maintenir le niveau entre maxi et mini | ||||||
| Filtre à air | △ | △ | △ | △ | Nettoyer ttes les 100 h | ||||||
| Liquide de refroidissement | ○ | Vidanger tous les ans | Remplir jusqu'àucol du radiateur | ||||||||
| Gazole | ○ | Maintenir le plein en permanence | |||||||||
| Filtre à gazole | ○ | ○ | ○ | ○ | ● | Purger l'eau ttes 100 h Replacer ttes les 400 h | Le filtre doit être exempt de saletés | ||||
| Courroie de ventilateur | ○ | Fléchissement: 5 mm | |||||||||
| Niveau d'électrolyte de batterie | ○ | ○ | ○ | ○ | ○ | ○ | ○ | ○ | Vérifier ttes les 50 h | Maintenir les niveaux corrects | |
| Filtre à huile | ● | Remplacer ttes les 300 h | |||||||||
| CHASSIS | |||||||||||
| Huile de transmission | ○ | ● | ● | Vidanger après les 50 h, puis ties les 200 h | |||||||
| Filtre transmission | ● | ● | Remplacer ttes les 200 h | ||||||||
| Filtre d'aspiration | △ | △ | Nettoyer ttes les 200 h | ||||||||
| Jeu de pédale de frein | ○ | Vérifier qu'il soit dans les normes | |||||||||
| Embrayage de prise de force avant | ○ | Maintenir la tension suffisante | |||||||||
| Direction | ○ | Vérifier son bon fonctionnement | |||||||||
| Pression des pneus | ○ | Avant: 1 bar Arrière: 0,7 bar | |||||||||
| Carrossage de roues | ★ | Vérifier ttes les 300 h | |||||||||
| Fusées de roues avant | ★ | Vérifier ttes les 300 h | |||||||||
| Fixation de roues arrière | Tous les écrous doivent être bloqués | ||||||||||
| Organes électriques | ○ | Vérifier le fonctionnement correct | |||||||||
| Graissage | ○ | ○ | ○ | ○ | ○ | ○ | ○ | ○ | ○ | ||
| Boulonnerie | ○ | Vérifier le serrerage correct | |||||||||
| Prises d'air | △ | Ne doivent pas être obstruées | |||||||||
| Grille de radiateur | ○ | Ne doivent pas être obstruées | |||||||||
| Dispositifs de sécurité | ○ | Vérifier le bon fonctionnement | |||||||||
| Frein | ○ | ★ | ★ | Doivent fonctionner correctement | |||||||


SCHEMA DE CABLAGE ELECTRIQUE

TABLEAU DES PANNES ET REMEDES
MOTEUR
| Panne | Cause supposée | Remède |
| • Le démarre ne fonctionne pas | • La pédale de frein n'est pas enforcée à fond. • Le levier d'embrayage de prise de force avant est en position (*) embrayé. • Les cosses de batterie sont mal serrées. • La batterie n'est pas suffisamment chargée. • Faisceau électrique défectueux. • Contacteur à clé défectueux. • Démarreur défectueux • Dispositifs de sécurité défectueux | • Appuyer à fond. • Lebitset en position débrayé • Les fixer correctement. • La recharger. • Refaire le faisceau. • Consultant l'agent ISEKI. • Consultant l'agent ISEKI. • Consultant l'agent ISEKI. |
| • Le démarre fonctionne mais le moteur ne démarre pas. | • Réservoir de gazole vide. • La batterie n'est pas suffisamment chargée • Fuites aux durits de carburant. • Viscosité trop élevé de l'huile moteur • Filtre à gazole obstrué. • Préchauffage insuffisant | • Refaire le plein. • La recharger. • Vérifier les durits. • Vidanger et utiliser de l'huile de viscosité adaptée. • Le nettoyer. • Effectuer le préchauffagependant 5 à 10 secondes. |
| • Régime moteur irrégulier ou calages intempestifs. | • Présence d'air dans le circuit d'alimentation. • Mise à la masse incorrecte. • Filtre à gazole obstrué. • Filtre à air obstrué. • Faible débit de la pompe à injection. • Faible débit des injecteurs. | • Chercher la cause de la présence de l'air et purger le circuit. • Gratter la peinture et nettoyer les branchements de masse. • Le nettoyer. • Le nettoyer. • Consultant l'agent ISEKI. • Consultant l'agent ISEKI. |
| • Le moteur cogne | • Niveau d'huile moteur trop bas. • Surchauffe du moteur. • La température du liquide de refroidissement ne monte pas. • Faible débit de la pompe à injection. • Jeu des soupapes insuffisant. • Faible débit des injecteurs. | • Refaire le niveau d'huile. • Consultant l'agent ISEKI. • Consultant l'agent ISEKI. • Consultant l'agent ISEKI. • Consultant l'agent ISEKI. • Consultant l'agent ISEKI. |
| • Manque de puissance du moteur | • Réservoir de gazole vide. • Filtré à air obstrué. • Surcharge du moteur. • Carburant inapproprié. • Surchauffe du moteur. • Faible débit des injecteurs. • Manque de compression. • Jeu des soupapes insuffisant. • Faible débit de la pompe à injection. | • Refaire le plein. • Le nettoyer. • Réduire la vitesse ou la puissance des accessoires utilisés. • Vidanger le réservoir et refaire le plein avec du gazole. • Le laisser refroidir. • Consultant 1'agent ISEKI. • Consultant 1'agent ISEKI. • Consultant 1'agent ISEKI. • Consultant 1'agent ISEKI. |
| • Surchauffe du moteur | • Niveau de liquide de refroidissement trop bas • Courroie de ventilateur détenued. • Radiateur et grille obstrués. • Niveau d'huile moteur trop bas. • Prises d'air obstruées. • Surcharge du moteur • La lampe témoin de température d'eau ne fonctionne pas | • Rétablir le niveau. • La tendre suffisamment. • Les nettoyer. • Refaire le niveau. • Les nettoyer. • Réduire la vitesse et diminuer la charge. • Consultant 1'agent ISEKI. |
| • Le témoin de pression d'huile clignote | • Niveau d'huile moteur trop bas. • Viscosité trop faible de l'huile. • Le filtre à huile est obstrué. • La pompe à huile est défectueuse. • La sonde de pression d'huile est défectueuse. | • Refaire le niveau. • Vidanger et utiliser de l'huile avec un indice de viscosité adapté • Le replacer. • Consultant 1'agent ISEKI. • Consultant 1'agent ISEKI. |
| • Les fumées d'échap-pement sont blanches | • Le niveau d'huile est trop élevé. • Système d'injection défectueux. | • Ajuster le niveau. • Consultant 1'agent ISEKI. |
| • Les fumées d'échap-pement sont noires | • Carburant inadapté. • Circuit d'admission et d'échappement obstrués. • Injecteurs bouchés. • Système d'injection déréglé. | • Utiliser du gazole. • Nettoyer le filtre à air, vérifier le silencieux. • Consultant 1'agent ISEKI. • Consultant 1'agent ISEKI. |
| • Consommation de carburant excessive | • Gazole de mauvaise qualité. • Admission d'air bouchée. | • Utiliser du gazole de qualité. • Vérifier le filtre à air et la prise d'air. |
SYSTEME DE FREINAGE
| Panne | Cause supposée | Remède |
| • Surcharge du moteur. • Mauvais montage des accessoires. • Fuites de gazole. • Jeu des soupapes incorrect. • Injecteurs bouchés. • Système d'injection déréglé. • Montée en température du moteur incorrecte. | • Diminuer la charge du moteur. • Vérifier le montage. • Contrôler les durits de gazole. • Consulter l'agent ISEKI. • Consulter l'agent ISEKI. • Consulter l'agent ISEKI. • Consulter l'agent ISEKI. | |
| • Le tímoin de charge de la batterie clignote | • Faisceaux électriques défectueux. • Manque d'électrolyte dans la batterie. • Courroie de ventilateur détendue. • Alternateur défectueux. • Régulateur défectueux. | • Contrôler les faisceaux. • Refaire le niveau. • La retendre suffisamment. • Consulter l'agent ISEKI. • Consulter l'agent ISEKI. |
| • Freinage insuffisant | • Le tambour de frein est gras. • Les garnitures de frein sont humides ou grasses. • Réglage défectueux. • Garniture de frein usée. • Tringlerie de frein défectueuse. | • Le nettoyer. • Les sécher ou les nettoyer. • Consulter l'agent ISEKI. • Consulter l'agent ISEKI. • Consulter l'agent ISEKI. |
HST
| · Le moteur tourne mais le tracteur ne fonctionne pas | · Le frein de parking est serré · Régime moteur trop faible · Niveau d'huile transmission trop bas · Réglage incorrect de la timonerie de pédale HST · Ensemble HST défectueux | · Desserrer le frein · Augmenter le régime · Complétér le plein · Effectuer le réglage · Consulter l'agent ISEKI |
| · Le tracteur avance ou recule sans que les pédales HST soient actionnées | · Réglage incorrect de la timonerie de pédale HST · Réglage incorrect des butées de pédale HST | · Consulter l'agent ISEKI · Consulter l'agent ISEKI |
SYSTEME DE RELEVAGE
| · Le système ne fonctionné ni en position BASSE, ni en position haute | · Soupape de contrôle défectueuse · Pompe défectueuse | · Consultant l'agent ISEXI · Consultant l'agent ISEKI |
| Panne | Cause supposée | Remède |
| Fuites au niveau de la tubulure ou du cylindreRégime moteur trop faibleLa tondeuse n'est pas fixée sur son berceau | Consulter l'agent ISEKIAugmenter le régimeActionner le support tondeuse à la main, le levier de commande étant en position ↓ (basse) |
SYSTEME DE DIRECTION
| • La direction "tire" d'un côté ou est anormalement dure | • Pression des pneus insuffisante. • Graissage insuffisant des pivots de fusée. • Carrossage des roues exagéré. | • Rétablir la pression. • Graisser. • Régler |
| • Jeu du volant trop important | • Biellettes de direction dévissées. • Desserrage de l'ensemble de la boulonnerie de la direction. • Biellettes de direction faissées. | • Resserrer les écrous de fixation. • Consulter l'agent ISEKI. • Consulter l'agent ISEKI. |
CIRCUIT ELECTRIQUE
| · La batterie n'est pas chargée | · Fusible principal grillé. · Faisceau défectueux. · Alternateur défectueux. · Régulateur défectueux. · Courroie de ventilateur détendue. · Batterie trop faible. | · Rechercher la cause et replacer le fusible principal · Vérifier les connections, les mises à la masse, les courts-circuits... · Consulter l'agent ISEKI. · Consulter l'agent ISEKI. · La retende suffisamment. · Vérifier la fixation des bornes et le niveau d'électrolyte. |
TABLE DES MATIERES
POUR UNE UTILISATION EN Toute SECURITE 37
DESIGNATION DES PRINCIPAUX ELEMENTS 38
MONTAGE DE LA TONDEUSE SOUS LE TRACTEUR 39
MODE D'EMPLOI DE LA TONDEUSE 40
Avant de commencer a tandre 40
Réglage de la hauteur de coupe 40
Opérations de tonte 41
Arret de la tondeuse 42
Conseils d'utilisation 42
CONTROLE ET ENTRETIEN 44
HIVERNAGE DU DISPOSITIF DE COUPE 46
TABLEAU DES PANNES ET REMEDES 47
POUR UNE UTILISATION EN Toute SECURITE

AVANTD'UTILISER LATONDEUSE AUTOPORTEEPOUR TOUJOURS ETRE SUR DU BON ETAT DE LA TONDEUSE LA PREMIERE FOIS
- Lire attentivement le manuel d'instructions.
- Apprendre comment utiliser et arrêté la tondeuse.
- S'assurer que les dispositifs de sécurité fonctionnement correctement.
- Prendre connaissance des consignes de sécurité portées sur la tondeuse (autocollants aux endroits dangereux)
- Ne pas effectuer de modification de la tondeuse sans avoir consulté un agent ISEKI.
- Interdire l'usage de la tondeuse aux personnes non compétentes.
EN COURS DE TRAVAIL
- Interdire aux enfants de monter sur l'appareil ou des s'approcher pendant le travail.
- Ne pasapprocher de la tondeuse ni du systeme d'éjection en cours de travail.
- Toujours attendre l'arrêt complet du moteur pour intervenir sur la tondeuse (pour régler la hauteur de coupe par exemple). Retirer la clé de contact pour plus de sécurité.
- Toujours débrayer la prise de force avant, en dehors du travail de tonte.
VERIFICATIONS AVANT DE COMMENCER A TONDRE
- Débarrasser la surface à tandre des corps étrangers tels que pierres, branches, etc..
- Désterminer un "plan de tonte" avant de commencer. Localiser les obstacles tels que rochers, branches, monticules de terre qui peuvent provoquer de sérieux incidents.
- Choisir une hauteur de coupe en fonction du travail à effectuer, et seLECTIONner une vitesse d'avancement du tracteur adaptée à l'état du terrain.
-
Avancer à vitesse réduite sur un terrain accidenté.
-
Ne jamais utiliser la tondeuse sans les capots et protecteurs.
- S'assurer du serrage correct de l'ensemble de la boulonnerie, en particulier les écrous de fixation des couteaux.
LIRE ATTENTIVEMENT LA NOTICE CONCERNANT LE TRACTEUR

- Boftier renvoi d'angle
- Chape avant
- Roue
- Deflecteur
- Poulie tendeur
- Chape arrête
- Roue
Autres éléments importants:
Cardan
Couteaux etécrous de fixation
Courroie d'entrainment
Couvercle de courroie
MONTAGE DU DISPOSITIF DE COUPE SOUS LE TRACTEUR
- Mettre le tracteur sur une surface horizontal et serrer le frein de parking.
- Lever le berceau support à l'aide du levier de releavage.


Attention:
S'assurer au préalable que le levier d'embrayage de prise de force avant soit sur la position arrêt(1) pour éviter toute mise en route intempéstive de la tondeuse.
- Glisser la tondeuse sous le tracteur, contre les roues arrête.
Remarque:
Positionner les roues de la tondeuse en position hauteur de coupe minimum.

- Abaisser le berceau support jusqu'à la hauteur des chapes d'attelage de la tondeuse.

Important:
Etantdonnedeqle distributeur du système de levage est à simple effet,le berceau support peut être abaisse à la main.
- Avancer la tondeuse vers l'avant pour accrocher les chapes d'attelage sur les traverses du berceau.
Remarque:
Si les chapes d'attelage ne s'adaptent pas parfaitement aux traverses du berceau, dévisser les tirants avant du berceau et le régler vers l'avant ou l'arrête de façon à permettre l'accrochage parfait.

- Fixer la tondeuse sur le berceau avec deux goupilles de sécurité, et immobilisercelles-ci avec leurs anneaux-ressorts.


Attention:
Les anneaux ressorts des goupilles sont forts, les manipuler avec précaution.
- Reccorder le cardan de transmission à la prise de force du tracteur.


Important:
-
Il n'y a qu'une position possible d'emboitement de l'arbre cannelé dans le manchon. Ne pas chercher à l'emboiter de force.
-
S'assurer du positionnement correct de la goupille de verrouillage du cardan sur l'arbre de prise de force.


MODE D'EMPLOI DE LA TONDEUSE
AVANT DE COMMENCER A REGLAGE DE LA HAUTEUR DE TONDRE COUPE

Attention:
Bien étudier les modes d'emploi du tracteur et de la tondeuse avant de commencer à travailler.
- Monter la tondeuse à l'aide du levier de releavage.
- Enlever les goupilles des chapes de roues, positionner celles-ci à la hauteur désirée et remettre les goupilles en place.
Vérifier les points suivants avant la mise en route:
- Présence et fixation correcte de tous les capots.
- Bon état des couteaux et blocage des écrous de fixation.
- Bon état et tension suffisante de la courroie de transmission.
- Réglage approprié de la haupteur de coupe.

Le terrain doit être libre de toute personne ou obstacle: pierres, branches etc.. enfants, animauxdomestiques, etc...

Réfléchir au "plan de tonte" avant de démarrer.
-
La hauteur de coupe correspondant à chaque position des roues est indiquée sur un autocollant fixé sur le côte gauche du plateau tondeur.
-
Pousser doucement le levier d'embrayage de prise de force
POSITION DE ROUES
- Mettre le moteur en route.
Important:
Le moteur ne peut etre mis en route que si la pedale defrein est enfoncée a fond et le levier d'embrayage de prise de force en position débrayé.

- Abaisser la tondeuse à l'aide du levier de releavage.

- Pousser le levier d'accélérateur à micourse.


Important:
Dés que les couteaux commencent à tourner, pousser à fond le levier d'embrayage de prise de force pour éviter le patinage de la courroie.
Remarque:
Und dispositiF de sécurité empêche de monter ou descendre le plateau-tondeur quand les couteaux sont en mouvement.

Attention:
N'embrayerlaprisedeforceque lorsque la tondeuse est dans l'herbe ou le gazon.
- Accélérer à fond.

- Faire avancer le tracteur en appuyant progressivement sur la pédale HST de marche avant
ARRET DE LA TONDEUSE

Attention:
A la moindre anomalie de fonctionnement, arrêter immédiatement la tondeuse et le tracteur et inspecter le mecanisme.
- Ramener le levier d'embrayage de prise de force en position débrayé.

- Ramener le levier d'accelerateur en position ralenti
- Relacher la pédale HST et appuyer à fond sur la pédale de frein.
- Mettre la clé de contact sur arrêt pour arrêter le moteur X.
- Serrer le frein de parking, et retirer la clé de contact.

Important:
Le tracteur est équipé d'un dispositif de sécurité qui arrêté automatiquement le moteur lorsque l'utilisateur quitte son siège.
Cependant, couper quand même le contact, serrer le frein de parking et oter la clé de contact en quittant la machine. Le moteur peut toutefois continuer à tourner si le frein de parking est serré et la prise de force avant débrayée, ce qui permet à l'utilisateur de quitter le tracteur pour éçarter les obstacles tels que pierres, branchages, etc. durant la tonte.
CONSEILS D'UTILISATION
Important:
Utiliser le moteur a plein régime pendant la tonte.
- Choisir une vitesse d'avancement adaptée à la hauteur de l'herbe.
- Tenir les prises d'air en parfait état de propre.
METHODE DE TONTE
Pour tondre une grande surface,
proceder de la maniere suivante:
a. Faire deux ou trois passes à la périphérique de la surface, dans le sens des aiguilles d'une montre.

b. Continuer à tourner, mais en sens inverse, jusqu'àu centre du terrain.
On évite de cette façon de projet l'herbe sur les allées et le bourrage de la tondeuse. Le résultat est plus régulier.
PROTECTION DES PELOUSES
a. Il est préférible de tondre quand la pelouse est bien sèche, dans l'après-midi ou la soirée, ce qui permet également de moins encrasser la tondeuse.
b. Conserver la tondeuse en parfait etat de propriete.
c. Vérifier le tranchant des couteaux.
d. Des tontes féquentes permettent d'éviter d'avoir une pelouse trop haute.
e. Le gazon doit être coupé à environ 1/3 de sa hauteur, ce qui permet de conserver à la pelouse sa couleur verte et évite la prolifération des mauvaises herbes.
f. Une vitesse d'avancement réduite permet une tonte plus régulière; une vitesse trop élevée donne un médiocre résultat, surtout si le terrain est irrégulier.
g. Les virages courts et pris trop rapidement endommagent la pelouse. RÉduire suffisamment la vitesse pour tourner.
TONTE DE L'HERBE HAUTE
a. Tondre en deux passes.
Effectuer une première passepour réduire suffisamment lahauteur de l'herbe. Résilier ladeuxième passes à la hauteurdésirée en faisant chevaucher lespassages de 20 cm pour obtenirun résultat impeccable. On peutaussif faire la deuxième passe
perpendicularairement a la premiere.
b. Si on ne peut effectuer qu'une seuleonne,choisir une vitesse d'avancement suffisamment réduite. Il peut être nécessaire de n'utiliser que la moitié ou les 2/3 de la largeur de travail totale pour éviter de trop surcharger le moteur.
TONDE DE L'HERBE DETREMPEE OU SUR UN SOL MOUILLE
a. Si l'on peut éviter les traces des pneus dans le gazon, il faut attendre que le terrain et l'herbe soient secs.
b. Latontedel'herbe humide donne unehauteurdecoupeinférieurea celle initialementprevue.En tenir compte pour le réglage de la hauteur de coupe.
c. Pour éviter d'arracher le gazon ou d'enforcer le sol, éviter les démarrages et les virages brusques, et désir une vitesse d'avancement suffisamment réduite.
TONTE DE L'HERBE HUMIDE OU D'UNE PELOUSE RECOUVERTE D'HERBES SECHES
a. Choiser le sens d'avancement en fonction du vent pour éviter de projeter la poussière en direction de l'appareil et de l'utilisateur.
b. Nettoyer les prises d'air au fur et à mesure de leur encrassement.
Important: Ne jamais travailler avec les prises d'air obstruées sous
peine d'endommager le moteur.
CONTROLE ET ENTRETIEN
CONTROLE DU BOITIER DE RENVOID'ANGLE
Contrôler le niveau d'huile toutes les 50 heures, plus féquement en cas d'utilisation intensive. Remplir d'huile à l'aide d'un entonnoir jusqu'à débordement. Utiliser l'huile ISEKI spéciale pour transmission.
b. Demonter le protecteur de courroie.

c. Vérifier que la courroie soit sèche et en bon état. Si elle est grasse, humide ou encrassée, la nettoyer avec un chiffon sec. La replacer si elle est endommagée.

Remplacement de la courroie
CONTROLE ET REMPLACEMENT DELAC COURROIE DETRANSMISSION
Vérification avantutilisation
Vérifier la tension correcte de la courroie. L'espacement correct des spires du ressort de tension est de 1,00 à 1,20 mm.


Attention:
Un mauvais montage de la courroie en réduira la longévité et nuira au fonctionnement de la tondeuse.

Vérification de la courroie
a. Déposer la tondeuse en procédant dans l'ordre inverse du montage.
- Dévisser la tige de tension.

- Dégager la courroie usée des poulies et placer la courroie neuve.
Remarque:
Utiliser exclusivement une courroie d'origine type SB.92. S'adresser à un agent ISEKI.
- Régler la tension du ressort avec la tige de tension.
Remarque:
Pour obtenir une tension correcte, l'espacement des spires du reassert doit etre de 1,00 a 1,20 mm.
-
Bloquer les écrous de la tige de tension.
-
Remonter les protecteurs.
CONTROLE DES COUTEAUX

Attention:
Pour éviter des blessures aux mains, porter des gants pour intervenir sur les couteaux.
- Remonter au maximum la tondeuse. Vérifier l'usure et la défor
mation des couteaux.
- Des couteaux usés ou déformés doivent être replacés par des couteaux neufs.

a. Couteau neuf

b. Couteau émoussé

c. Couteau très usé très dangereux. A replacer sans délié.
Remarque:
Des couteaux dont l'extrémité est émoussa ne se chevauchent plus et laissent une bande de gazon non coupé entre eux.
Important:
- Les couteaux s'usent plusrapidement quand on tond trop rasou juste après un arrosage.
- Les extrémités des couteaux sont trempées. Le réaffutage détruit la trempe et l'usure est accélérée.
-
Pour obtenir des tontes efficaces, toujours replacer les couteaux usés par des neufs.
-
Contrôler l'équilibrage des couteaux et leur garde au sol.
Important:
Des couteaux déséquilibrés sont la cause de vibrations. Vérifier leur parfait équilibrage à l'aide d'un équilibreur de lame avant montage.
a. Débrayer la prise de force et vérifier que les couteaux tournent librement (bien arrêté le moteur avant ce contrôle)
b. Placer la tondeuse sur un sol horizontal et positionner les roues du plateau-tondeur à 85~mm

Si la tondeuse est légèrement de travers par rapport à l'axe du tracteur, ajuster sa position en réglant la fixation des tirants du berceau support.

c. Mesurer la garde au sol de chaque extrémité de couteau ennant la mesure au même endroit. Le couteau est déformé si la différence est de 2 mm ou plus, et doit être remplaced.
Porter des gants pour effectuer le remplacement des couteaux.
- Retourner la tondeuse.
- Aligner les couteaux et les immobiliser avec un madrier. Devisser les écrous.

- Retirer les couteaux usés et les remplacer par des neufs.
- Serrer provisoirement les écrous et contrôle la différence de hauteur entre chaque couteau. Utiliser des cales d'épaisseur pour obtenir une différence de hauteur de 1 mm maximum.


- Installer une rondelle d'appui sur chaque couteau et bloquer chaque écrou.
Couple spécífé: 1300 kg/cm
CONTROLEETREMPLACEMENT DESROUES
Le bon état des roues détermine une hauteur de coupe régulière. Vérifier leur bon état avant chaque saisson et replacer les roues déformées ou ne tournant pas librement.
HIVERNAGE DU DISPOSITIF DE COUPE
- Déposer la tondeuse du tracteur.
- Nettoyer entièrement la tondeuse, y compris la partie inférieure.
- Contrôler l'état de chaque élément. Chaque piece endommagée doit être réparée ou changée pour la saisson suivante.
- Detendre la courroie et la vérifier.
- Eliminer toute trace de corrosion et effectuer les retouches de peinture. Demander la peinture d'origine ISEKI.
- Ranger la tondeuse dans un endroit sec en la posant sur des madriers. la couvrir d'une bache.
TABLEAU DES PANNES ET REMEDES
| Pannes | Causes supposées | Remèdes |
| • Mauvaise éjection de l'herbe | • Courroie de transmission mal montée • Les couteaux sont montés à l'envers • L'herbe est trop humide • L'herbe est trop haute • Vitesse d'avancement trop élevé • Le moteur tourne trop lentement | • Vérifier et remonter correctement. • Les remonter correctement. • Tondre quand le terrain est sec. • Effectuer deux passes. • Réduire la vitesse. • Le faire tourner à plein régime. |
| • L'herbe n'est pas coupée | • La courroie patine ou est cassée • Ressort de tension cassé • Vitesse d'avancement trop élevé • Le moteur tourne trop lentement • Couteaux usés ou cassés | • Régler la tension ou replacer. • Remplacer. • Réduire la vitesse. • Le faire tourner à plein régime. • Remplacer. |
| • Hauteur de coupe irrégulière | • La tondeuse n'est pas parallèle au sol • Vitesse d'avancement trop élevé • Couteaux usés • Carter de tondeuse "bourré" d'herbe • Réglage en hauteur des roues différent de chaque côté • Herbe trop haute | • Régler le berceau support. • Réduire la vitesse. • Remplacer. • Le nettoyer. • Régler correctement. • Effectuer deux passes. |
| • La pelouse est scalpée par endroits | • Hauteur de coupe trop faible • La tondeuse n'est pas parallèle au sol • Les virages sont prise trop vite • Le sol est bosselé • Pression des pneus trop faible | • Régler correctement. • Régler le berceau support. • Réduire la vitesse en virage. • Tondre dans une autre direction. • Refaire la pression des pneus. |
| • Bruits et vibration excessifs | • Couteaux cassés ou déséquilibrés • Desserrage des écrous de couteaux spécifique. • Carter de tondeuse "bourré" d'herbe, ou corps étranger coincé derrière une poulie • Courroie cassée | • Remplacer. • Les rebloquer au couple • Nettoyer. • Remplacer. |
| • Le protecteur de couroie est déformé • Supports de couteaux défectueux • Pignons de boitier de renvoi d'angle abîmés | • Réparer. • Remplacer. • Réparer | |
| • Manque de puissance | • Le moteur tourne trop lentement • Vitesse d'avancement trop élevé • Corps étranger coincé entre un couteau et le support de couteau • Corps étranger coincé contre une poulie | • Le faire tourner à plein régime. •Réduire la vitesse. • Vérifier et nettoyer •Nettoyer. |
| • Les roues ne tournent pas | • Corps étranger pénétré dans l'alésage • Chapes de roues encrassées • Roues cassées ou fendues | • Nettoyer • Nettoyer • Remplacer |
| • Les couteaux ne tournent pas | • Ecrous de fixation desserrés • Corps étranger sous la tondeuse • Poulie cassée • Courroie cassée • Courroie détendue • Pignons du boitier de renvoi d'angle abîmés | • Les rebloquer au couple spécifique • Nettoyer • Remplacer • Remplacer • Régler la tension • Réparer |
| • Le relevage ne fonctionne pas | • Pompe de circuit HST défectueuse • Fuites dans le circuit HST ou au niveau du cylindre • Soupape de contrôle défectueuse • Régime moteur trop faible | • Consulter l'agent ISEKI • Consulter l'agent ISEKI • Consulter l'agent ISEKI • Augmenter le régime moteur |
BEAL 9205 03-1000
Printed in Japan
Notice Facile