SA370F - Tracteur agricole ISEKI - Notice d'utilisation et mode d'emploi gratuit
Retrouvez gratuitement la notice de l'appareil SA370F ISEKI au format PDF.
| Type d'appareil | Motoculteur |
| Marque | Non précisé |
| Modèle | Non précisé |
| Type de moteur | Essence, 4 temps |
| Puissance moteur | Non précisé |
| Nombre de vitesses | Non précisé |
| Largeur de travail | Environ 80-100 cm |
| Profondeur de travail | Non précisé |
| Poids | Environ 50-70 kg |
| Type de transmission | Manuelle |
| Nombre de fraises | 4 à 6 |
| Réservoir carburant | Non précisé |
| Type de guidon | Réglable |
| Utilisation | Labour, préparation du sol |
| Accessoires compatibles | Non précisé |
| Poignée de commande | Manuelle |
| Frein | Non précisé |
FOIRE AUX QUESTIONS - SA370F ISEKI
Téléchargez la notice de votre Tracteur agricole au format PDF gratuitement ! Retrouvez votre notice SA370F - ISEKI et reprennez votre appareil électronique en main. Sur cette page sont publiés tous les documents nécessaires à l'utilisation de votre appareil SA370F de la marque ISEKI.
MODE D'EMPLOI SA370F ISEKI
Ce manuel d'instructions comporte l'information nécessaire pour la commande et l'entretien de vos motobineuses et motoculteurs ISEKI et comprend surtout des prescriptions de sécurité pour le travail courant et saissonnier, pour lesquelles nous demandons votre attention particuliere. Bien que les motobineuses et motoculteurs ISEKI sont fabriqués avec la plus grande sécurité de travail possible en vue, il est impossible d'éçarter tout risque d'accidents. Voilà pourquoi nous vous avions de respecter rigoureusement les prescriptions de sécurité. Un entretien à temps prévient des defaults et évite des réparations chères ce qui vous permet d'économiser du temps et de l'argent. S'il faut réparer ou replacer des pieces, servez-vous toujours de pieces originales ISEKI. Ces pieces sont solides et elles sont spécialement concues pour votre motobineuse ou motoculteur ISEKI selon des specifications contrôlées. Notre distributeur est à même de vous livrer les pieces nécessaires. L'usage de pieces nonoriginalesabolira notre garantie normale. Consultez notre distributeur pour plus d'information.
Le contenu de ce manuel pourra dévier des normes concernant les motobineuses ou motoculteurs ISEKI déjà en votre possession. Cela s'explique par notre philosophie d'améliorer continuèlement nos normes techniques et qualitatives et de lesmettre immédiatement en pratique.

DANGER:
Faites surtout attention aux instructions dans le texte, precedées de cet averissement. Leur inobservation pourra entraîner des blessures graves.
EINFUHRUNG
Avant de commencer le travail: 10
Charge et décharge de la machine à l'aide d'un autre
vehicule: 10
Sur la voie publique: 10
Sur pentes: 10
Entree ou sorlie d'un champ: 12
Lors du travail: 12
Arreter la machine: 12
Interventions et garde du cultivateur: 12
USAGE NORMAL: 14
SIGNIFICATION DES AUTOCOLLANTS DE SECURITE
16
DESIGNATION DES PRINCIPAUX ELEMENTS 18
COMMANDES ET LEVIERS 24
COMMANDES DE DEMARRAGE 24
- CONTACTEUR D'ARRET MOTEUR 24
- ROBINET DE CARBURANT 24
POIGNEE DE LANCEUR 26
COMMANDE DES GAZ 26
COMMANDENDERICHISSEMENT 28
COMMANDES D'ARRET 28
- CONTACTEUR D'ARRET MOTEUR 28
COMMANDE D'EMBRAYAGE PRINCIPAL 28
COMMANDES DE CONDUITE 30
LEVIER DE CHANGEMENT DE VOTESSES 30
PLAQUE DE VERROUILAGE POUR MARCHE ARRIERE (SA580) 30
LEVIER DE CHANGEMENT DE VITESSES LENT/
RAPIDE 32
· PASSE-COURROIE 32
- LEVIERS DIRECTIONNELS (Modles SA360F, SA370F) 32
AUTRES COMMANDES 34
SA560, 570 en 580 34
LEVIER DE ROTATION DES MANCHERONS 34
BOUTON D'INCLINAISON DES MANCHERONS..34
COMMANDE DE CONDUITE
Modles SA360, 370 34
LEVIER DE CHANGEMENT DE VITESSES 34
COMMANDE DE CONDUITE Modèle SA350, 540 ... 36
LEVIER DE CHANGEMENT DE VITESSES 36
AUTRES COMMANDES 38
SA360 et 370 38
BOUTON DE ROTATION DES MANCHERONS .... 38
BOUTON D'INCLINAISON DES MANCHERONS...38
SA550 40
LEVIER DE ROTATION DES MANCHERONS 40
BOUTON D'INCLINAISON DES MANCHERONS..40
SA350, SA540, SA340 40
- REGLAGE DE POSITION DES MANCHERONS ... 40
LEVIER D'INCLINAISON DES MANCHERONS 42
VERIFICATIONS AVANT L'UTILISATION 44
UTILISATION DU MOTOCULTEUR 48
DEMARRAGE ET ARRET DU MOTEUR 48
DEMARRAGE DU MOTEUR 48
ARRET DU MOTEUR 50
CONDUITE 50
TABLEAU DE PERIODICITE DE CONTROLES 53
CARBURANT 58
HUILE MOTEUR 58
Huile moteur autiliser 58
HUILE DE TRANSMISSION 60
Huile de transmission à utiliser 60
FILTRE A AIR 62
SA560, SA570, SA370, SA360, SA550, SA350, SA540
SA340, SA530 62
MODELE SA 580 64
- Entretien du filtré à air 64
VIDANGE DU CIRCUIT D'ALIMENTATION
(CARBURANT) 64
CHARACTERISTIQUES 68
INHALTSVERZEICHNIS
Les prescriptions de sécurité suivantes, pour éviter tout risque d'accidents, sont imperatives.
AVANT DE COMMENCER LE TRAVAIL:
- Lisez attentivement ce manuel avant votre premier usage de la machine. Respectez surtout les prescriptions de sécurité, car leur inobservation pourra entraîner des blessures graves.
- Faites surtout attention aux instructions précédées des averissements libellés “Danger”, “Important” et “Remarque”.
- Faites attention aux étiquettes de sécurité collées sur la machine et respectez les instructions pour éviter des blessures.
- Accoutumez-vous à la commande de la machine et à sa façon d'arrêter.
- Ne travailliez jamais avec la machine lorsque vous estes fatigués ou maladies et lorsque vous avez pris des boissons alcoolisiées ou des medicaments somnifères.
- Si vous faites travailler quelqu'un d'autre avec la machine, expliquez-lui d'abord le fonctionnement de la machine et donnez-lui également ce manuel à lire.
- Ne laissiez jamais travailler les personnes suivantes avec la machine:
- Personnes non préparées à travailler avec la machine
- Personnes non capables de comprendre les instructions sur les etiquettes de sécurité
-Femmes enceintes - Enfants
Les reglements locaux pourront imposer des limites concernant I'age du chauffeur.
La machine est pourvue de différents systèmes de protection. Tous les planchers, panneaux et couvercles de protection doivent toujours etre a leurs

places et enonne condition. Les parties perdues ou endommagées doivent etre remplacées par des pièces originales Iseki.
Veillez a ce que la machine puisse fonctionner en toute sécurité pour éviter des blessures et des dégats.
- N'admettez jamais la présence d'autres personnes, et en particulier d'enfants et d'animaux, dans les environ de la machine lors du travail.
N'oubliez pas que le chauffeur ou l'utilisateur est responsable des accidents ou du danger causés par la machine à des tiers ou à leur propriété.
- Si vous travailliez ensemble avec d'autres personnes, donnez-leur jours un signe avant de faire un nouveau manoeuvre.
- Portez toujours des chaussures de sécurité et un pantalon. Ne travailliez jamais les pieds nus ou vétus de sandaies.
- Ne portez jamais des vêtements ou des accessoires lâches pour la commande, le réglage ou l'entretien de la machine; liez les cheveux longs, si non ils peuvent s'empêtre dans les parties rotatives ou être entrainés par des pièces sautantes. Prenez les mesures de sécurité nécessaires, telles que la mise d'un casque, de lunettes et de chaussures de sécurité, d'une protection acoustique, de gants, etc.
Il y a de l'entretien qu'il faut faire vous-même. Lisez attentivement le manuel et faites l'entretien nécessaire sans faute. Les pièces usées et endommagées doivent être remplacées par des pièces originales Iseki.
- Contrôlez avant le démarrage surtout si la lame et les boulons de fixation correspondants ne sont pas usés ou endommages et s'ils n'ont pas pris du jeu. En cas d'utilisation ou de dégats, remplacez toujours la lame ensemble avec les boulons, pourmaintenirla lame en balance.
- N'utilise jamais la machine pour des
travaux auxquels elle n'est pas destinée. Le travail pour lequel la motobineuse ou le motoculteur n'est pas destiné, pourra endomager la machine, abréger sa durée de fonctionnement ou au pire provoquer un accident grave.
Avant de commencer le travail:
a. Arretez le moteur de la machine jours avant de prendre de I'essence.
b. Ne démarrez jamais le moteur à l'intérieur, pour prévenir l'inhalation de gaz toxiques.
c. Contrôlez si l'embrayage n'est pas engagé et mettez le levier de changement de vitesse au point mort avant de démarrer le moteur.
d. Contrôlez si le terrain de travail est en toute sécurité, avant demettre en mouvement la machine.
Charge et décharge de la machine à l'aide d'un autre vehicule:
a. Utilisez des plates-formes antiglissantes, faites attention aux angles et positionnez-les bien paralleles.
b. Serrez le frein a main.
Sur la voie publique:
a. Ne transportez pas d'autres personnes sur la remorque.
b. Evitez des vitesse exagérées, des arrets brusques et des virages serrés.
c. Faites attention à ce que vous ne touchez rien et n'heurtez personne.
d. Respectez le code de la route en vigueur pour tous transports.
Surpentes:
a. Ne débrayez jamais ou ne mettez jamais le levier de changement de vitesse au point mort lors de la montée ou de la descente d'une pente.
b. Descendez d'une pente d'une vitesse suffisamment lente.
c. N'utilisez jamais l'éclabotage lors de la montée ou de la descente d'une pente.
Entrée ou sortie d'un champ:
a. Utilisez des planches pour monter ou descendre d'une pente ou pour traverser un fosse.
b. Dans le cas où le cultivateur est équipé d'outils supplémentaires, faites attention à ce que la machine reste en équilibre.
Lors du travail:
a. Ne travailliez jamais avec le cultivateur quand vous estes fatigues. Ne laissez pas detourner votre attention lors du travail.
b. Ne vous approchez pas trop des parties en mouvement.
c. N'admettez pas d'autres personnes dans la proximite de la machine lors du travail.
Arreter la machine:
a. Stoppez sur un plan horizontal, arre- tez le moteur.
b. S'il faut arrerter le cultivateur sur une pente, garez-le, I'avant dirigé vers la descente et bloquezlez roues.
Interventions et garde du cultivateur:
a. Contrôlez avant chaque intervention (nettoyage, remplacement de lames, ...) si le cultivateur est bien bloqué de sorte qu'il ne pourrait plus bouger.
b. Avec chaque intervention, remettez à leurs places tous le panneaux de protection, qui ont été enlevés.
c. Le moteur et I'echappement peuvent etre très chauds. Ne les touche pas juste après avoir travaillé avec la machine pour eviter le risque de brûlures.
d. Laissez refroidir suffisament le moteur, avant de couvrir le cultivateur.
1) Les motobineuses SA530, SA540 et SA340:
Les motobineuses SA530 et SA540 sont toutes équipées d'un outil de binage rotatif pour une(Meilleure cultivation de la terre.
2) Les motoculteurs SA550, SA560 FS, SA570 FS, SA580 FS, SA350, SA 360, SA360 F, SA370, SA370 F:
Les modèles mentionnés ci-dessus de motoculteurs ne sont destinés qu'aux applications déterminées par Iseki et son concessionnaire.
Tout autre usage n'est pas un usage normal. Dégats résultat d'un tel usage, ne seront pas couverts par le fabricant, mais incorberont entièrement à l'utilisateur.
Sous le terme d'usage normal est éga-lement entendu, l'observation des prescriptions de commande, d'installation et d'entretien recommandées par le fabricant.
Des autocollants portant le symbole 4 sont apposés aux endroits dangereux des appeareils.
(1) IMPORTANT Lirez la notice avant d'utiliser le motoculteur pour la première fois, afin de prendre connaissance des consignes de sécurité.
(2) DANGER Ne pas fumer, ne pasapprocher de flamme en manipulant le carburant.
(3) ATTENTION
- L'échémpement et les pièces entourantes sont très chauds après utilisation (100^ - 200^) . Ne les touchez pas pour risque de brûlures graves.
- Ne travailliez jamais avec la machine sans le couvercle de courroie. Arrêtez le moteur, avant d'enlever le couvercle pour le réglage ou le remplacement de la courroie.
(4) ATTENTION
Ne pasapprocher les pieds ou les mainsdescouteauxdefraisene rotation.Toujoursarrerle moteur avant chaqueintervention.
(1) Bauchon du réservoir
(2) Réservoir
(3) Echappement
(4) Moteur
(5) Mancheron
(6) Carter de transmission
(7) Protecteur de courroie
(8)Lanceur
(9) Bouchon de replissage d'huile moteur
(10) Robinet/filtre carburant
(11) Bouchon d'huile de transmission
(12) Filtre à air
(13) Poignée de lanceur
(14)Commandedenrichissement
(15) Contacteur d'arrêt moteur
(16)Commandedes gaz
(17)Commanded'embrayageprincipal
(18) Levier de réglage de déport de mancheron
(19) Molette de réglage de hauteur de mancheron
(20) Levier de changement de vitesses
(1) Bouchon du réservoir
(2) Réservoir
(3) Echappement
(4) Moteur
(5) Mancheron
(6) Carter de transmission
(7) Protecteur de courroie
(8)Lanceur
(9) Bouchon de remplissage d'huile mateur
(10) Robinet/filtre carburant
(11) Bouchon d'huile de transmission
(12) Filtre à air
(13) Poignée de lanceur
(14)Commanded'enrichissement
(15) Contacteur d'arrêt moteur
(16)Commandedesgaz
(17)Commanded'embrayageprincipal
(18) Levier de réglage de déport de mancheron
(19) Molette de réglage de hauteur de mancheron
(20) Levier de changement de vitesses

(1) Bouchon du réservoir
(2) Réservoir
(3) Echappement
(4) Moteur
(5) Mancheron
(6) Carter de transmission
(7) Protecteur de couroie
(8)Lanceur
(9) Bouchon de replissage d'huile moteur
(10) Robinet/filtre carburant
(11) Bouchon d'huile de transmission
(12) Filtre à air
(13) Poignée de lanceur
(14)Commanded'enrichissement
(15) Contacteur d'arrêt moteur
(16)Commandedes gaz
(17)Commandedembrayageprincipal
(18) Boulon de blocage de déport demancheron
(19) Molette de réglage de hauteur demancheron
(20) Levier de changement de vitesses
(21) Levier haute/petite vitesses
(22) Leviers directionnels (décrabotage)

SA360/SA370
Passe le moteur aux positions de fonctionnement et d'arrêt.
Arrêt: Poussez le levier d'interrupeur dans la direction de la flèche et le moteur s'arretera.
FUEL COCK
Le robinet permet d'ouvrir ou de fermer l'alimentation:
ON: ouvert
OFF: fermé

Toujours fermer le robinet quand le motoculteur est rangee pour eviter les risques de fuites et d'incendie.

BETÄTIGUNGSORGANE UND DEREN FUNKTIONEN
STARTEN
Zündschalter:
Pourmettrele moteur en route,rechercherle pointde compressionet tirerla poignee d'un coup secendirectionde la flèche.
(1) poignée de lanceur
(2) tirer

- THROTTLE LEVER
La position de la manette contrôle la vitesse de rotation du moteur:
MINI: la vitesse augmente quand la manette est poussees vers "maxi".
MAX: la vitesse diminue quand la manette est poussée vers "mini".
(1) manette


- Startschnur
- quand le moteur est froid, restirer à fond la commande d'enrichissement.
-ès le démarrage du moteur, repousser progressivement la commande d'enrichissement. - quand le moteur est déjà chaud, laisser la commande enfoncée.
(1) commande d'enrichissement
(2) position fonctionnement
(3) position demarrage


STOPPING CONTROLS
- ENGINE SWITCH
Tournez le levier dans la position "STOP" et le moteur s'arrête.
- COMMANDE D'EMBRAYAGE PRINCIPAL
L'embrayage...La puissance de moteur ne sera transmise que lorsque le levier est se rre en position "embrayé".
(1) débrayé
(2) embrayé
- Choke-knopf (Kaltstart)
1 1e et 2e vitesse dans la direction de la flèche (avant)
3 3e et 4e vitesse dans la direction de la flèche (avant)
1 1e et 2e vitesse dans la direc tion de la flèche (arrière)
Ce levier de changement de vitesses dispose de quatre vitesses avant et deux vitesses arrêté tout comme l'in-dique la grille de vitesses.

Attention:
Lorsque les mancherons sont tournés de l'autre côté, il faut également inverser le levier de changement de vitesses, sinon vous risquerez de vous tromper de vitesse, ce qui pourrait en.trainer un accident.

- REVERSE SHIFT LOCK PLATE (SA580)
(1) Wing nut
(2) Reverse shift lock plate
(3) Main speed shift lever
(4) Handlebars in normal position
(5) Handlebars in opposite position

Warning:
(1) Ecrou à oreilles
(2) Plaque de verrouillage pour marche arrière
(3) Levier de changement devitesses principal
(4) Mancherons en position normale
(5) Mancherons en position inversée

Attention:
Si le moteur est utilisé avec le mancheron inverse, il est nécessaire de faire pivoter de 180^ le levier de vitesse pour conserver une lecture correcte de la grille de vittesses.
De plus, lorsque le levier de vitesse est inverse, il est impossible de seLECTIONner les vitesse rapides, iciafin de limiter les risques d'accidents.
FAHREN
Lorsque les mancherons sont returnes en position normale, n'oubliez pas de rajuster la plaque de verrouillage dans sa position originale.

Sur les modèles F des motobineuses et motoculteurs, les différentes plages de vitesses sont réalisées en passant la courroie d'entrainment à la main.

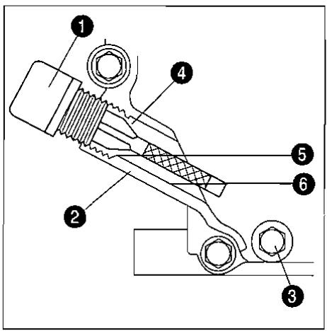
STEERING CLUTCH LEVERS (SA560, 570, 580, 360F, 370F)
- LEVIERS DIRECTIONNELS (Modèles SA360F, SA370F)
En serrer les leviers gauche ou droit, le motoculteur tournera a gauche ou a droite.
(1) sens du déplacement
(2) le levier gauche est serré
(3) le motoculteur tourne à gauche
(4) le levier droit est serré
(5) le motoculteur tourne à droite

Attention!
Si le motoculteur est utilisé avec les mancherons inversés, l'action des leviers directionnels sera également inversée: le motoculteur tournera à droite quand le levier gauche est serré, et vice versa.
BEMERKUNG
LEVIER DE ROTATION DES MANCHERONS
Les mancherons peuvent être inversés en serrant le levier. Le champ de rotation des mancherons est indiqué sur le dessin.
- BOUTON D'INCLINALISON DES MANCHERONS
Ce bouton permet de regler l'inclinaison des mancherons par échelon de 12^
(1) Bouton d'inclinaison des mancherons
(2) Levier de rotation des mancherons
COMMANDE DE CONDUITE Modèles SA360 , 370
LEVIER DE CHANGEMENT DE VITESSES
1 1ere vitesse avant
2 2eme vitesse avant
3 3eme vitesse avant
AR 1ere vitesse arriere R
Le levier de vitesses permet de selec tionner 3 vitesses avant et 1 vitesse arriere en fonctionnement normal, et 1 vitesse avant lente et 1 vitesse arriere lente en fonctionnement inversé.

Attention:
Lorsque les mancherons sont tournés de l'autre côté, il faut également inverser le levier de changement de vitesses, sinon vous risquerez de vous tromper de vitesse, ce qui pourrait en.trainer un accident.
DRIVING CONTROL
SA550,350,540,340,and 530
MAIN SPEED SHIFT LEVER

Low speed, Forward

.....Neutral

...... Reverse

COMMANDE DE CONDUITE Modèles SA350, 540
LEVIER DE CHANGEMENT DE VITESSES

...... marche avant lente

.....point mort

...... marche arriere

...... marche avant rapide
Le levier de vitesses permet de selec tionner 2 vitesses avant et 1 vitesse arrriere en fonctionnement normal, et 1 vitesse arrriere lente en fonctionnement inverse (SA350)

Attention!
quand les mancherons sont inversés, modifier la position de la plaque de verrouillage de marche arrêté pour éviter tout accident.
AUTRES COMMANDES SA360 et 370
- BOUTON DE ROTATION DES MANCHERONS
Les mancherons peuvent être tournés en tirant sur le bouton. Le champ de rotation des mancherons est indiqué sur le dessin.
Important:
Les mancherons ne pourront pas etre tournés hors du champ de rotation montré sur le dessin. Si les mancherons seront tournés au-delà des limites,les cables de commande seront endommages.
- BOUTON D'INCLINAISON DES MANCHERONS
Ce bouton permet de bloquer l'angle des mancherons en 3 positions.
(1) Bouton de rotation des mancherons
(2) Bouton d'inclinaison des mancherons

| ① | ② | ③ |
| 110° | 110° | 20° |
Les mancherons peuvent être tournés en tirant sur le levier. Le champ de rotation des mancherons est indiqué sur le dessin. Le champ de rotation est limité par un arrêt.
- BOUTON D'INCLINAISON DES MANCHERONS
Ce bouton permet de regler l'inclinaison des mancherons par échelon de 12^
(1) Bouton d'inclinaison des mancherons
(2) Levier de rotation des mancherons
SA350, 540, 340, and 530
SA350, SA540, SA340
- REGLAGE DE POSITION DES MANCHERONS
Les mancherons peuvent être tournés en poussant sur le levier. Le champ de rotation des mancherons est indiqué sur le dessin. Le champ de rotation est limité par un arrêt.
(1) Handlebar rotating lever
(2) Lock
(3) Free to rotate
(1) levier de réglage de déport
(2) verrouillé
(3) déverrouillé
Important:
Les mancherons ne pourront pas etre tournés hors du champ de rotation montré sur le dessin. Si les mancherons seront tournés au-delà des limites,les cables de commande seront endommages.

SA550
- Arretierknopf
Ce levier permet de bloquer la hauteur des mancherons en 3 positions.
(4) levier de réglage de hauteur
Note:
Sur le modele SA350,le déverrouillage pour déporter le guidon ne peut s'effectuer que si le levier de vitesse est place sur en fonctionnement normal et sur en fonctionnement inversé.
Holmenhoheneinstellung SA530, SA540, SA350, SA360F
- Ne jamais intervenir sur le motoculteur ou un accessoire quand le moteur est en marche.
- Attendre que le moteur soit refroidi avant de refaire le plein de carburant. Ne pas fumer niapprocher de flamme en manipulant le carburant.
Avant demettrele moteur en marche,controler les points suivants:
| Niveau d'huile moteur | Mettez la machine sur un sol plat (moteur horizontal) pour contrôle si le niveau d'huile se trouve entre les marques minimale et maximale | Contrôlez le niveau avant de commencer le travail et faites le vidange toutes les 50 heures de travail. (Dans le cas d'une nouvelle machine, faites le vidange après les premières 25 heures de travail.) |
| Filtre à air | Contrôlez si l'élement filtrant du filtre à air n'est pas colmaté. | Nettoyez-le toutes les 10 heures de travail ou chaque jour lorsque la machine a travaillée sous conditions poussièresuses. Autrement toutes les 50 heures. |
| Niveau de carburant | Contrôlez si le réservoir contient assez de carburant pour le travail. | Remplissez si nécessaire |
| Embrayage d'homme mort | Contrôlez si la courroie ne suit pas la poulie d'attaque quand l'embrayage est étêt. | Si tel est le cas, réparez le défaut en réglect l'arrêt de courroie. (Consultez votre agent.) |
| Contacteur d'arrêt | Le moteur s'arrête bien. | Sinon, consultez votre agent. |
| Leviers d'éclabotage | Contrôlez si les leviers fonctionnement de façon escomptée. | Sinon, réparez le défaut en réglect les câbles de commande ou en les échangeant. |

ACHTUNG
Eloigner les autres personnes de la zone de travail.
- Ne pasmettrele moteur en marchedans un local sans aeration,àcausedes gaz d'échéppement toxique.
DEMARRAGE DU MOTEUR
Remarque:
Faites les verifications nécessaires avant l'utilisation, voir page 44.
- Mettre le levier de changement de vitesse au point mort.
- Placer le contacteur d'arrêt sur marché (opposé à STOP)
- Ouvrir le robinet d'essence "ON."
- Pousser la commande des gaz aux 2/3 environ.
- Si le moteur est froid, tirer ou placer (suivant le modele) la commande d'enrichissement sur "ON".
- Saisir la poignee de lanceur, recherche en tirant douccment sur la corde le point de compression (legere resistance). Relacher la corde afin de reenclencher l'accrochage du lanceur le plus pres possible du lanceur, puis tirer d'un coup sec. Repeter cette opération jusqu'au demarrage du moteur.
Important:
a. Si le moteur n'a pas demarré après 3 tentatives, repousser la commande d'enrichissement pour éviter de noyer le cylindre.
b. Ne pas relacher brutalement la poignée de lanceur.
c. S'il faut demarrer un moyen deja chaud, laissez le bouton d'enrichissement dans sa position de conduite.
7. Dés le démarrage du moteur, repous-
INBETRIEBNAHME

ACHTUNG:
serprogressivementlacommanded'enrichissement.
STOPPING
- Mettre le levier de changement de vitesse au point mort.
- Laisser tourner le moteur au ralenti pendant quelques minutes pour équi-librer la température.
- Placer le contacteur d'arrêt sur "STOP"

Attention!
Ne pas appuyer brusquement sur le levier d'embrayage pour ne pas provoquer un mouvement brutal de l'appeil.
CONDUITE
- Ne déplacez les leviers de changement de vitesses qu'après le levier d'embrayage d'homme mort a eté dégagé.
- Tirez ou poussez le levier d'embrayage d'homme mort doucement en position "IN", et la machine commencer a se déplacer.

Attention:
- Un mouvement brusque sur le levier de l'embrayage de secours occasionnera le démarrage brusque de la machine, ce qui est très dangereux. Surtout en marche arrière, ralentissez le moteur et bougez le levier de l'embrayage lentement pour démarrer la machine doucement. Le démarrage brusque lancera les mancherons en haut, ce qui est également dangereux.
- Avant de déplacer les leviers de changement de vitesses, dégaze le levier de l'embrayage d'homme mort, c'est-à-dire, dégaze z'embrayage d'avance. Sinon, la machine demarrera brusquement, ce qui pourrait provoquer un accident.
: Contrôles, réglages
:Remplacement
:Nettoyage
★ : Consultant un agent ISEKI
| Elément à contrôler | Nombre d'heures entre chaque intervention | Échéance suivante | Observations | |||||||
| 20 | 50 | 100 | 150 | 200 | 250 | 300 | ||||
| MOTEURHuile | ○ | ● | ● | ● | ● | ● | ● | ● | replacer ttes les 50 heures | maintenir un niveau correct |
| Filtre à air | △ | △ | △ | △ | △ | △ | △ | △ | nettoyer toutes les 50 heures | en atmophère poussièreuse nettoyerttes les 10 heures |
| Filtre à carburant | △ | △ | △ | △ | △ | △ | △ | nettoyer toutes les 50 heures | ||
| Carburant | ○ | |||||||||
| Bougie | △ | △ | △ | nettoyer et régler toutes les 100 heures | ||||||
| Intérieur du réseau | nettoyer une fois par an | |||||||||
| Entrée d'air | ○ | ne doit pas être obstruées | ||||||||
| Lanceur | ○ | ne doit pas être encrassé | ||||||||
| Visserie | ○ | ○ | ○ | ★ | ○ | ★ | ○ | ★ | doit être correctement serrée | |
| Pièces diverses | ○ | verifier l'état général | ||||||||
| CHASSISHuile de transmission | ● | ● | ● | ● | replacer toutes les 100 heures | |||||
| Leviers de commande | ○ | Vérifier leur fonctionnement | ||||||||
| Goupilles | verifier leur mise en place | |||||||||
| Fuites d'huile | ○ | réparer immédiatement | ||||||||
| Réglage des câbles | ○ | ○ | ○ | ○ | ○ | ○ | ○ | |||
| Courroie | ○ | ○ | ○ | ○ | ○ | ○ | ○ | ○ | verifier la tension | |
| Pression des pneus | 1.2/cm2 | |||||||||
| Durit de carburant | replacer tous les 2 ans | |||||||||
| Câbles | replacer tous les 3 ans | |||||||||
| Faisceau (mise à la masse) | verifier régulièrement | replacer s'il est endommagé | ||||||||
Utiliser exclusivement du super sans plomb
(1) Bouchon du réservoir
Important:
N'utilisez jamais des carburants de mauvaise qualite ou melangés ade l'alcool.
- Capacités du réservoir:
0.8 litre (SA530)
1.5 litres (SA560, 550, 540)
2.4 litres (SA570)
2.5 litres (SA360, 350, 340)
4.0 litres (SA580)

Danger:
Ne faites pas de feu nu, ni d'étincelles en replissant le réservoir de carburant. Sinon, vous risquerez un incendie ou des brûlures.
ENGINE OIL
Huile moteur à utiliser:
Utilisez une huile moteur de bonne qualite: de la classe SC ou(Meilleure. Utilisez l'huile SAE30 en ete et SAE20 en hiver.
- Capacités du carter:
(1) jauge pour le niveau d'huile
(2) carter moteur
(3) bouchon de vidange
(4) orifice de remplissage
(5) limite supérieure
0.55 litre (SA560, 360, 550, 540, 340)
0.6 litre (SA570, 370)
1.1 litres (SA580)
0.32 litre (SA530)
(6) limite inférieure
0.35 litre (SA560, 550, 350, 540, 340)
0.35 litre (SA570, 370)
0.8 litre (SA580)
0.2 litre (SA530)


KRAFTSTOFF
Huile de transmission à utilise
Utilisez de l'huile pour engrenage hypoide de #90 ou de #80.
Capacité du carter
2.0 litres (SA560, 570, 580, 360F, 370F)
1.9 litres (SA360, 370)
0.9 litre (SA360, 370)
0.8 litre (SA550, 350, 540, 340, 530)
(1) bouchon de replissage
(2) orifice de replissage
(3) bouchon de niveau
(4) Bouchon de vidange
Important:
Enlevez le bouchon indicateur de niveau d'huile avant de replisser et contrôlez le niveau. N'oubliez pas de revisser l'indicateur de niveau après le replissage.
Le bouchon de replissage de certains modeles sert à la fois d'indicateur de niveau. N'oubliez pas de revisser le bouchon de replissage après avoir rempli le réservoir (SA550, 350, 540, 340, 530).
(1), (2), (3) bouchon de replissage orifice de replissage bouchon de niveau
(4) Bouchon de vidange
GETRIEBEÖL
- Nettoyer l'élément filtrant en mousse dans de l'essence, essorer et laisser sécher.
- Àprousséchage,imbiber l'élement avec de l'huile moteur avant de le remettre en place.
- Secouer la cartouche en papier, ou la dépoussierer à l'air compré.
- Nettoyer l'intérieur du boitant de filtre avant de remonter l'ensemble.
(1)Boftier
(2) Cartouche papier
(3) Element mousse
(4) Couvercle de boitier
Important:
a. Lors du lavage de l'objet en papier, ne frottez jamais l'objet en papier.
b. Ne lavez l'objet en mousse synthétique jamais avec du carburant mélangé au lubrifiant, sinon l'objet deviendra gluant et sera vite colmaté de poussière.
- Entretien du filtré à air
a. Lorsque le niveau d'huile dans le carter est insuffisant, replisssez-le d'huile moteur jusqu'à la marque de niveau.
b. Lorsque l'huile dans le carter est sale, faites le vidange.
c. Lavez un élément sale avec du kéro-sène et faites sécher. Puis enduisez-le d'huile moteur et pressez l'huile hors de l'élement avant le montage.
d. Le filtré à air est composé des parties suivantes:
(1) Couvercle
(2) Boite
(3) Élement
(4)Grille
(5) Joint d'étanchéité
(6) Element
(7) Carter
(8) Anneau

Attention:
Un filtré à air colmaté provoquera une augmentation de la consommation de carburant et l'usure précote de pieces dans le moteur, ce qui menera finalement à des problèmes au niveau du moteur. Alors, le filtré à air devra être maintenu dans un état propre.

- Dévisser la vis de purge se située sous la cuve du carburateur.
- Laisser s'écouler le carburant contenu dans le filtré et le carburateur.
Rebloquer la vis quand le carburant ne coule plus.
Important:
La vidange du circuit d'alimentation est nécessaire, si le motoculteur est inutilisé pendant une période assez longue.
CHARACTERISTIQUES Les caractéristiques sont susceptibles d'être modifiées sans préavis.
| Modèle | SA530 | SA540 | SA340 | ||
| CHASSIS | longueur hors tout | 1220 | |||
| (mm) | largeur hors tout | 570 | |||
| hauteur hors tout | 1000 | 1020 | 1D20 | ||
| Poids | (kg) | 31 | 42 | 43 | |
| MOTEUR | Modèle | FA76D | FEX91G | FEX91G | |
| Type | SV | OHV (soupapes en tête) | OHV (soupapes en tête) | ||
| Nombre de cylindres | 1 | ||||
| Cylindrée | (cm³) | 76 | 124 | 124 | |
| Carburant | super sans plomb | ||||
| Capacité du réservoir (litre) | 0.8 | 1.5 | 2.5 | ||
| Démarrage | lanceur | ||||
| EMBRAYAGE | tension de courroie | ||||
| TRANSMISSION | Primaire | courroie | |||
| Transmission | — | pignons et chaîne | — | ||
| NÔBRE DE RAPPORTS | Avant | 2 | 2 | 2 | |
| DE VITESSES | Arrière | aucun | 1 | aùcun | |
| SYTEME DE CHANGEMENT | (mm) | déplacement de courroie | pignon | déplacement de courroie | |
| DE VITESSES | |||||
| FRAISE ROTATIVE | Ø280 | ||||
| VITESSE DE ROTATION | avant lente | 70.6 | 81 | 93 | |
| DES FRAISES | rapide | 109.1 | 121 | 131 | |
| arrière | — | 47 | — | ||
| GARDE-BOUE | CHAPE D'ATTELAGE ARRIERE | OUI | |||
| OUI | |||||
| JAUGE DE CARBURANT | LAUTÉ | OUI | |||
| DEPORT DE MANCHERON | boulon | levier | levier | ||
| BARRE DE PROFONDEUR | pivotante | ||||
| NIVEAU SONORE (ISO 11094) | dB(A) | 79 | 82 | 82 | |
| VIBRATIONS (ISO 5349) | m/s | 10 | 21 | 21 | |
| Modèle | SA350 | SA550 | ||
| CHASSIS | Dimensions (mm) | longueur hors tout | 1340 | |
| largeur hors tout | 590 | |||
| hauteur hors tout | 1020 | |||
| Poids (kg) | 46 | |||
| MOTEUR | Modèle | FEX91G | ||
| Type | OHV (soupapes en tête) | |||
| Nombre de cylindres | 1 | |||
| Cylindrée (cm3) | 124 | |||
| Carburant | super sans plomb | |||
| Capacité du réservoir (litre) | 2.5 | 1.5 | ||
| Démarrage | lanceur | |||
| EMBRAYAGE | tension de courroie | |||
| TRANSMISSION | primaire | courroie | ||
| transmission | pignons et chaîne | |||
| DIAMETRE MAXI DES FRAISES | (mm) | a360 | ||
| REGLAGE DES MANCHERONS | hauteur | levier de rotation | ||
| départ | levier | dog seat | ||
| VITESSE DE ROTATION (tr/m) | avant | 1ère | 37 (courroie:asse) | |
| 2ème | 52 (courroie:hauste) | |||
| 3ème | 75 (courroie:asse) | |||
| 4ème | 106 (courroie:hauste) | |||
| arrière | 1ère | 19 (courroie:asse) | ||
| 2ème | 28 (courroie:hauste) | |||
| VITESSES DE ROTATION | lente:846 | |||
| DE PRESE DE FORCE | rapide:1187 | |||
| JAUGE DE CARBURANT | OUI | |||
| NIVEAU SONORE (ISO 11094) | dB(A) | 82 | ||
| VIBRATIONS (ISO 5349) | m/s | 21 | ||
| Modèle | SA560F-S | SA570F-S | SA580F-S | ||
| CHASSIS | Dimensions | longeur hors tout | 1750 | ||
| (mm) | largeur hors tout | 700 | |||
| hauteur hors tout | 1100 | ||||
| Poids | (kg) | 65 | 67 | 74 | |
| MOTEUR | Modèle | FE120G | FE161G | FE221G | |
| Type | OHV | ||||
| Nombre de cylindres | 1 | ||||
| Cylindrée | (cm3) | 124 | 171 | 249 | |
| Carburant | super sans plomb | ||||
| Capacité de réservoir | (liter) | 1.5 | 2.4 | 4 | |
| Démarrage | par lanceur | ||||
| EMBRAYAGE | tension de courroie | ||||
| REGLAGE DES MANCHERONS | Hauteur | réglable par pas de 12° | |||
| Deport | réglable deux directions pour levier | ||||
| VITESSES DE DPLACEMENT avant (km/h, with 4.00-7 tires) | 1ère | 0.85 (11.3 rpm) | ← | 0.63 (8.3 rpm) | |
| 2ème | 1.46 (19.3 rpm) | ← | 1.37 (18.1 rpm) | ||
| 3ème | 1.95 (25.8 rpm) | ← | 2.97 (39.3 rpm) | ||
| 4ème | 3.33 (44.2 rpm) | ← | 6.48 (86 rpm) | ||
| 5ème | 5.51 (73.1 rpm) | ← | — | ||
| 6ème | 9.43 (125.1 rpm) | ← | — | ||
| arrière | 1ère | 1.36 (18.1 rpm) | ← | 0.73 (9.7 rpm) | |
| 2ème | 2.34 (31.0 rpm) | ← | 1.61 (21.3 rpm) | ||
| VITESSES DE ROTATION DE PRESE DE FORCE (tr/min) | 773 | ||||
| NIVEAU SONORE (ISO 11094) | [dB(A)] | 85 | 85 | 89 | |
| VIBRATIONS (ISO 5349) | (m/s2) | 25 | 25 | 12 | |
| Modèle | SA360 | SA360F | SA370 | SA370F | ||
| CHASSIS | Dimensions(mm) | longueur hors tout | 1750 | |||
| largeur hors tout | 700 | |||||
| hauteur hors tout | 1100 | |||||
| Poids | (kg) | 60 | 62 | 62 | 62 | |
| MOTEUR | Modèle | FE120G | FE161G | |||
| Type | OHV (soupapes en tête) | |||||
| Nombre de cylindres | 1 | |||||
| Cylindrée | (cm³) | 124 | 124 | 171 | 171 | |
| Carburant | super sans plomb | |||||
| Capacité du réservoir | (litre) | 2.5 | 2.5 | 3.4 | 3.4 | |
| Démarriage | par lanceur | |||||
| EMBRAYAGE | tension de courroie | |||||
| REGLAGE DES MANCHERONS | Hauteur | réglable pour bouton | ||||
| Départ | réglable deux directions pour levier | |||||
| VITesses DE DEPLACEMENT avant(km/h, avec pneus 4.00x7 ) | 1ère | KM/H RPM1.013.31.4719.51.8224.22.6735.58.01107.311.85157.2 | ||||
| 2ème | ||||||
| 3ème | ||||||
| 4ème | ||||||
| 5ème | ||||||
| 6ème | ||||||
| arrêté | 1ère | 1.3518.12.026.3 | ||||
| 2ème | ||||||
| VITesses DE ROTATION (tr/min) | lente: 773 | |||||
| DE PRISE DE FORCE | rapide: 1132 | |||||
| JAUGE DE CARBURANT | OUI | |||||
| COMMANDE DE RELAIS | par déplacement de la courroie | |||||
| CHAPE D'ATTELAGE AVANT | OUI | |||||
| DECrabOTAGE | - à billes | - | - à billes | |||
| NIVEAU SONORE (ISO 11094) | dB(A) | 89 | ||||
| VIBRATIONS (ISO 5349) | m/s² | 25 | ||||
SPEZifikATIONEN
Notice Facile