DHG570XP1 - Hotte DE DIETRICH - Notice d'utilisation et mode d'emploi gratuit
Retrouvez gratuitement la notice de l'appareil DHG570XP1 DE DIETRICH au format PDF.
| Type d'appareil | Four encastrable |
| Capacité | Non précisé |
| Type de cuisson | Chaleur tournante, grill, convection naturelle |
| Puissance | Non précisé |
| Alimentation | Électrique |
| Commandes | Manettes et/ou boutons |
| Affichage | Non précisé |
| Fonctions spéciales | Décongélation, maintien au chaud |
| Nettoyage | Nettoyage manuel ou pyrolyse (selon modèle) |
| Dimensions (HxLxP) | Non précisé |
| Poids | Non précisé |
| Accessoires inclus | Grille, lèchefrite |
| Sécurité | Verrouillage enfant, arrêt automatique |
| Classe énergétique | Non précisé |
| Garantie | Non précisé |
FOIRE AUX QUESTIONS - DHG570XP1 DE DIETRICH
Questions des utilisateurs sur DHG570XP1 DE DIETRICH
0 question sur cet appareil. Repondez a celles que vous connaissez ou posez la votre.
Poser une nouvelle question sur cet appareil
Téléchargez la notice de votre Hotte au format PDF gratuitement ! Retrouvez votre notice DHG570XP1 - DE DIETRICH et reprennez votre appareil électronique en main. Sur cette page sont publiés tous les documents nécessaires à l'utilisation de votre appareil DHG570XP1 de la marque DE DIETRICH.
MODE D'EMPLOI DHG570XP1 DE DIETRICH
Vous venez d'acquérir une hotte DE DIETRICH et nous vous en remercions.
Nos équipes de recherche ont conçu pour vous une nouvelle génération d'appareils, qui par leur qualité, leur design et leurs évolutions technologiques en font des produits d'exception et révèlent un savoir-faire unique.
Avec des lignes modernes et raffinées, s'intègre harmonieusement dans votre cuisine et allie parfaitement la maîtrise technologique, les performances d'aspiration et le luxe esthétique.
Vous trouverez également dans la gamme des produits DE DIETRICH un vaste choix de fours encastrables, de tables de cuisson, de lave-vaisselle, de fours micro-ondes et de réfrigérateurs intégrables, que vous pourrez coordonner à .
Bien entendu, dans un souci permanent de satisfaire vos exigences vis-à-vis de nos produits, notre service consommateurs est à votre disposition et à votre écoute pour répondre à toutes vos questions ou suggestions (coordonnées à la fin de ce livret).
Grâce à ces “nouveaux objets de valeur” qui nous servent de repère dans nos vies de tous les jours, DE DIETRICH, référence de l'excellence, est une véritable invitation à un nouvel art de vivre.
La marque DE DIETRICH.
Important : avant toute opération d'installation et utilisation, veuillez prendre bonne note des instructions suivantes.
La distance minimum entre la surface de support des casseroles sur le plan de cuisson et la partie inférieure de la hotte doit être de 65 cm. Si les consignes pour l'installation du plan de cuisson indiquent une plus grande distance, il faut en tenir compte. L'air aspiré ne doit pas être canalisé dans un conduit qui est utilisé pour évacuer les fumées produites par des appareils alimentés par des sources d'énergie autres installations de chauffage central, radiateurs, chauffe-eau, etc.). Pour évacuer l'air qui doit être éliminé, respectez les prescriptions des autorités compétentes. De plus, l'air qui doit être évacué ne doit pas être déchargé dans une cavité du mur, à moins que cette cavité soit prévue pour ce but.
Prévoyez une aération de la pièce adéquate quand une hotte et des appareils alimentés par une énergie autre poêle à gaz, à huile, à charbon, etc.) sont utilisés en même temps. En effet, en évacuant l'air, la hotte pourrait créer une dépression dans la pièce. La pression négative de la pièce ne doit pas dépasser 0,04 mbar, évitant ainsi que la source de chaleur provoque un appel des gaz qui doivent être évacués. Il est donc nécessaire d'équiper la pièce de prises d'air alimentant un flux d'air frais constant.
Contrôl ; si le symbole () figure sur la plaque, suivre les instructions suivantes : cet appareil est construit pour appartenir à la classe d'isolation II ; il ne doit donc pas être relié à la terre.
Consult ; si le symbole () ne figure pas sur la plaque, suivre les instructions suivantes : ATTENTION : cet appareil doit être relié à la terre. Lors du raccordement électrique, s'assurer que la prise de courant est équipée d'une connexion de mise à la terre.
Lors du raccordement électrique, assurez-vous que les valeurs de tension correspondent à celles qui sont indiquées su de l'appareil, qui se trouve à l'intérieur de celui-ci. Si votre appareil n'a pas de câble flexible qui ne peut pas être séparé, ni de prise, ou bien d'autre dispositif qui garantisse le débranchement de tous les pôles du réseau avec une distance d'ouverture entre les contacts d'au moins 3 mm, ces dispositifs de séparation du réseau doivent alors être prévus dans l'installation fixe. Si votre appareil est muni d'un câble d'alimentation, positionnez l'appareil de manière à ce que la fiche soit accessible.
Avant de procéder à une opération d'entretien ou de nettoyage quelconque, débranchez l'appareil.
Utilisation
Évitez d'utiliser des matériaux qui provoquent des flammes à proximité de l'appareil.
Dans le cas de fritures, faites tout particulièrement attention au danger d'incendie que représentent les huiles et les corps gras.
À cause de son inflammabilité, l'huile usagée est particulièrement dangereuse. N'utilisez pas de grils électriques découverts.
Pour éviter tout risque d'incendie, suivez les instructions données concernant le nettoyage des filtres à graisse et sur la façon d'enlever les dépôts éventuels de graisse sur l'appareil.
Entretien
Un entretien soigné est une garantie de bon fonctionnement et de bon rendement de votre appareil dans le temps.
Faites beaucoup d'attention, surtout aux filtres antigraisse, et nettoyez-les périodiquement (au moins tous les deux mois). Retirez les filtres à graisse et lavez-les avec un détergent liquide à la main ou dans le lave-vaisselle (voir chapitre Entretien).
L'élimination des dépôts de graisse sur l'appareil doit être effectuée en fonction de son utilisation (au moins tous les 2 mois). Il faut éviter d'utiliser des produits contenant des abrasifs ou des corrosifs. Pour le nettoyage extérieur des appareils peints, utiliser un chiffon mouillé avec de l'eau tiède et un détergent neutre. Pour le nettoyage extérieur des appareils en acier, en cuivre et en laiton, il est conseillé d'utiliser des produits spécifiques et de suivre les instructions fournies sur le produit.
Pour le nettoyage de l'intérieur de l'appareil, utiliser un chiffon (ou un pinceau) imbibé d'alcool dénaturé.
Description des appareils
Les descriptions et caractéristiques figurant sur ce document sont données à titre d'information et non d'engagements. En effet, soucieux de la qualité de nos produits, nous nous réservons le droit d'effectuer, sans préavis, toutes modifications ou améliorations.
La hotte pourra être installée en version Recyclage, Évacuation ou avec moteur extérieur, selon le modèle que vous achetez. Modèles DHG556XP, DHG576XP, DHG577XP, DHG589 : ces modèles peuvent être installés en version Recyclage ou Évacuation, selon vos besoins.
Dans la version Recyclage (Fig. 1), l'air et les vapeurs convoyés par l'appareil sont épurés par le filtre à charbon et remis en circulation dans la pièce. ATTENTION : Pour la version Recyclage, vous devez utiliser le filtre à charbon qui purifie l'air remis en circulation dans la pièce.
Dans la version Évacuation (Fig. 2), les vapeurs et les odeurs de la cuisine sont évacuées directement vers l'extérieur par un tuyau à travers la paroi ou le plafond. Il n'est donc pas nécessaire d'utiliser le filtre à charbon.
Modèles DHG560XP-DHG570XP : ces modèles peuvent être installés uniquement en version avec moteur externe (Fig. 3) ; c'est-à-dire qu'il faut relier un moteur extérieur à l'appareil, qui opérera séparément, en utilisant l'appareil comme base de raccordement de l'air à évacuer.
Cet appareil est conforme à l'arrêté du 16.08.89 relatif à la limitation des perturbations radioélectriques (Directive CEE n. 76.889 modifiée par la Directive CEE 87.308).
Fig. 1
Fig. 2
Fig. 3
Installation
Il est conseillé de confier les opérations d'installation à des spécialistes.
Lire attentivement les indications au paragraphe "IMPORTANT" de la page n°3 de la notice d'utilisation.
Avant de procéder aux opérations de montage, pour manœuvrer plus aisément l'appareil, démontez les filtres à graisse : à l'aide de la poignée, pousser l'arrêt vers l'intérieur et tirer le filtre vers le bas (Fig. 4).
Fig. 4
Faites le trou nécessaire afin d'insérer l'appareil (Fig. 5). La base inférieure du meuble doit avoir une épaisseur de 16 mm. Contrôlez que les ailettes de fixation (Fig. 6) au meuble suspendu sont placées à une hauteur appropriée à l'épaisseur du bas de ce dernier. Si cette distance est inférieure à l'épaisseur, il faut l'augmenter en dévissant les 2 vis correspondantes à l'intérieur de l'appareil.
Installation en version recyclage
Prévoyez l'alimentation électrique. Insérez l'appareil dans le trou effectué (Fig. 5). Prévoyez le trou d'évacuation de l'air au sommet de votre placard (Fig. 1).
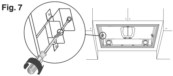
Serrez les deux vis qui se trouvent à l'intérieur de l'appareil (Fig. 7), jusqu'à ce que celui-ci soit parfaitement intégré. Évitez de serrer trop fort les vis de manière à ce que les petits étriers métalliques restent en bonne position.
Raccordez le tuyau de raccordement à la bride de sortie de l'appareil (le tuyau n'est pas fourni). Remontez les filtres antigraisse.
Effectuez le raccordement électrique de la hotte au moyen du câble d'alimentation.
Fig. 6
| MODELS | A |
| DHG556XP | 490mm |
| DHG576XP | |
| DHG589XP | |
| DHG560XP | |
| DHG577XP | 690mm |
| DHG570XP |
Fig. 5
Fig. 7
Installation en version évacuation et avec moteur externe
Prévoyez l'alimentation électrique et le trou d'évacuation de l'air (Fig. 2).
Insérez l'appareil dans le trou effectué (Fig. 5).
Serrez les deux vis qui se trouvent à l'intérieur de l'appareil (Fig. 7), jusqu'à ce que celui-ci soit parfaitement fixé. Évitez de serrer trop fort les vis afin que les petits étriers métalliques restent en bonne position.
Pour obtenir des conditions optimales, vous devez employer un tuyau d'évacuation qui ait une longueur suffisante avec le moins de courbes possible (l'angle maximum des courbes ne doit pas dépasser 90°). Sa matière doit être conforme à la réglementation en vigueur. La partie interne doit être le plus lisse possible.
De plus, nous vous conseillons d'éviter les changements brusques de section du tuyau (diamètre conseillé : 150 mm). L'appareil est livré avec un réducteur 150/125 mm.
Raccordez le tuyau pour l'évacuation de l'air à la bride de sortie de l'air de la hotte (Fig. 2) : utilisez un tuyau adéquat et bloquez-le sur la sortie de l'air à l'aide d'un collier métallique (le tuyau et le collier ne sont pas fournis).
Enlevez le filtre à charbon, en appuyant sur l'arrêt vers l'intérieur et en le faisant pivoter jusqu'à ce que les deux languettes sortent de leurs logements (Fig. 8).
Remontez les filtres antigraisse.
Fig. 8
Uniquement pour les modèles en version moteur externe (DHG560XP-DHG570XP) : e teur extérieur, en utilisant des borniers appropriés (Fig. 9). Enlevez l'élément A et le couvercle B du boîtier de raccordement. Fixez le câble de raccordement du moteur au boîtier de raccordement C. Remontez l'élément A et le couvercle B du boîtier de raccordement. L'autre extrémité du câble devra être fixée au bornier du moteur extérieur.
Fig. 10
Démontage de l'appareil
Retirer le ou les filtres antigraisse.
Pendant les opérations suivantes, veuillez toujours soutenir l'appareil. Dévisser les deux vis situées à l'intérieur de l'appareil (Fig. 7) ; déplacer les 2 languettes vers l'intérieur de l'appareil en utilisant les entailles appropriées (Fig. 10) ; extraire l'appareil de son siège.

Fonctionnement de l'appareil
Selon les modèles, l'appareil est muni des types suivants de commandes :
Commandes - Fig. 11
A) ON/OFF lampes. Cette touche s'utilise également pour la fonction alarme filtres à graisse et filtres à charbon.
Alarme filtres : Après 30 h de fonctionnement, le témoin lumineux L1 s'allume et reste allumé (c'est le moment de nettoyer les filtres à graisse). Après 120 h de fonctionnement, le témoin lumineux L1 s'allume et reste allumé (c'est le moment de remplacer les filtres à charbon si la hotte en est équipée). L'alarme des filtres s'active UNIQUEMENT avec le moteur ARRÊTÉ. L'alarme des filtres s'annule (remise à zéro du compteur HORAIRE) en maintenant la touche A enfoncée pendant 2 s. B) Appuyer sur la touche B pour actionner le moteur à la première vitesse. La vitesse est signalée par le témoin lumineux L2 allumé. En la maintenant enfoncée pendant 2 s, le moteur s'arrête. En appuyant une seule fois, avec le témoin lumineux allumé, on active la fonction "Arrêt temporisé" (le moteur de l'appareil s'arrête après 5 minutes) signalée par le témoin lumineux qui clignote. Pour désactiver la fonction "Arrêt temporisé", appuyer encore une seule fois. C) Appuyer sur la touche C pour actionner le moteur en deuxième vitesse. La vitesse est signalée par le témoin lumineux L3 allumé. En appuyant une seule fois, avec le témoin lumineux allumé, on active la fonction "Arrêt temporisé" (le moteur de l'appareil s'arrête après 5 minutes) signalée par le témoin lumineux qui clignote. Pour désactiver la fonction "Arrêt temporisé", appuyer encore une seule fois. D) Appuyer sur la touche D pour actionner le moteur en troisième vitesse. La vitesse est signalée par le témoin lumineux L4 allumé. En appuyant une seule fois, avec le témoin lumineux allumé, on active la fonction "Arrêt temporisé" (le moteur de l'appareil s'arrête après 5 minutes) signalée par le témoin lumineux qui clignote. Pour désactiver la fonction "Arrêt temporisé", appuyer encore une seule fois. E) Appuyer sur la touche E pour actionner le moteur en quatrième vitesse. La vitesse est signalée par le témoin lumineux L5 allumé. En appuyant une seule fois, avec le témoin lumineux allumé, on active la fonction "Arrêt temporisé" (le moteur de l'appareil s'arrête après 5 minutes) signalée par le témoin lumineux qui clignote. Pour désactiver la fonction "Arrêt temporisé", appuyer encore une seule fois.
ATTENTION : EN ACTIONNANT LA FONCTION “ARRÊT TEMPORISÉ”, LE MOTEUR S'ÉTEINT APRÈS 5 MINUTES. ATTENTION : QUAND LE TÉMOIN LUMINEUX L1 S'ALLUME, IL EST NÉCESSAIRE DE NETTOYER LES FILTRES ANTIGRAISSE OU DE REMPLACER LE FILTRE À CHARBON.

Commandes - Fig. 12
A) ON/OFF lampes. Cette touche s'utilise également pour la fonction alarme filtres à graisse et filtres à charbon. Alarme filtres : Après 30h de fonctionnement, le témoin lumineux L1 s'allume et reste allumé pendant 30" (c'est le moment de nettoyer les filtres à graisse). Après 120h de fonctionnement, le témoin lumineux L1 s'allume et reste allumé pendant 30" (c'est le moment de remplacer les filtres à charbon si la hotte en est équipée). L'alarme des filtres s'active UNIQUEMENT avec le moteur ARRÊTÉ. L'alarme des filtres s'annule (remise à zéro du compteur HORAIRE) en maintenant la touche A enfoncée pendant 2". B) La touche B permet d'activer ou de désactiver la fonction automatique (une fois le capteur activé, le témoin L2 s'allume). C) Appuyer sur la touche C pour actionner le moteur à la première vitesse. La vitesse est signalée par le témoin lumineux L3 allumé. En la maintenant enfoncée pendant 2" le moteur s'arrête. D) Appuyer sur la touche D pour actionner le moteur en deuxième vitesse. La vitesse est signalée par le témoin lumineux L4 allumé. E) Appuyer sur la touche E pour actionner le moteur en troisième vitesse. La vitesse est signalée par le témoin lumineux L5 allumé. F) Appuyer sur la touche F pour actionner le moteur en quatrième vitesse. La vitesse est signalée par le témoin lumineux L6 allumé.
SENSIBILITÉ DU CAPTEUR : la sensibilité du détecteur AUTO peut être adaptée aux exigences propres.
Modifier la sensibilité en appuyant en même temps sur les touches A et B. La sensibilité pré-réglée s'affiche grâce aux 4 témoins L3, L4, L5, L6 clignotants. Fixez la sensibilité désirée en utilisant les touches C, D, E ou F (touche C sensibilité minimale, touche F sensibilité maximale). Fixez une sensibilité minimale pour une table à gaz, moyenne pour la vitrocéramique, maximale pour l'induction.
ATTENTION : LORSQUE LE TÉMOIN LUMINEUX L1 S'ALLUME, IL EST NÉCESSAIRE DE NETTOYER LES FILTRES ANTIGRAISSE OU DE REMPLACER LE FILTRE À CHARBON.
FONCTION AUTOMATIQUE (elle s'active grâce à la touche B) : cet appareil est équipé d'un système complètement automatisé (ICS) qui permet de gérer toutes les fonctions de la hotte. Grâce au système ICS, l'air reste toujours propre et sans mauvaises odeurs dans la cuisine, et ce, sans nécessiter aucune intervention de la part de l'utilisateur. Les capteurs très sophistiqués réussissent à capter tous types d'odeurs, vapeurs, fumées ou chaleur dus à la cuisson. L'ICS capte également la présence anormale de gaz dans l'atmosphère.
Lorsque la fonction capteur est activée, les touches C, D, E, F n'activent que momentanément les vitesses, puis c'est au tour du mode AUTO d'imposer automatiquement les vitesses.
Fig. 12
Caractéristiques techniques - DHG556XP
- Moteur puissance : 155 W
- Tension réseau : 230-240V monophasé
- Éclairage : 2 ampoules halogènes de 20 W.
- Livré avec un cordon de 150 cm avec prise de courant.
- Poids brut : 11 kg
- Poids net : 8,5 kg.
- 2 litres antigraisse métalliques
Caractéristiques techniques - DHG576XP
- Moteur puissance : 250 W
- Tension réseau : 230-240V monophasé
- Éclairage : 2 ampoules halogènes de 20 W.
- Livré avec un cordon de 150 cm et une prise de courant.
- Poids brut : 11 kg
- Poids net : 8,5 kg
- 2 litres antigraisse métalliques
Caractéristiques techniques - DHG577XP
- Moteur puissance 250 W
- Tension réseau : 230-240V monophasé
- Éclairage : 2 ampoules halogènes de 20 W.
- Livré avec cordon de 150 cm avec prise de courant.
- Poids brut : 13,5 kg.
- Poids net : 10 kg
- 2 litres d'antigraisse métallique
Caractéristiques techniques - DHG589XP
- Moteur puissance : 350 W
- Tension réseau : 230-240V monophasé
- Éclairage : 2 ampoules halogènes de 20 W.
- Livré avec un cordon de 150 cm avec prise de courant.
- Poids brut : 12 kg
- Poids net : 9,5 kg
- 2 litres antigraisse métalliques
Caractéristiques techniques - DHG560XP
- Tension réseau : 230-240 V monophasé
- Éclairage : 2 ampoules halogènes de 20 W.
- Livré avec un cordon de 150 cm avec prise de courant.
- Poids brut : 8 kg
- Poids net : 6 kg.
- 2 litres antigraisse métalliques
Caractéristiques techniques - DHG570XP
- Tension réseau : 230-240 V monophasé
- Éclairage : 2 ampoules halogènes de 20 W.
- Livré avec un cordon de 150 cm avec prise de courant.
- Poids brut : 10,5 kg.
- Poids net : 8,5 kg
- 2 litres antigraisse métalliques




Branchement électrique
Lors du branchement électrique, s'assurer que la tension correspond bien à celle indiquée sur la plaque signalétique. Avant de procéder aux opérations de nettoyage ou d'entretien, couper le courant. Le branchement au réseau doit être réalisé par un installateur agréé, en se conformant à la norme en vigueur. Cet appareil est construit de façon à appartenir à la classe d'isolation I ; il est nécessaire de le relier à la terre.
Entretien
AVANT TOUTE INTERVENTION, IL FAUT COUPER L'ALIMENTATION DE LA HOTTE (PRISE DE COURANT OU INTERRUPTEUR).
Un entretien soigné assure un bon fonctionnement et un bon rendement dans le temps.
ATTENTION : LE MODÈLE DHG589XP EST ÉQUIPÉ D'UN CAPTEUR. ÉVITEZ DONC D'UTILISER DES PRODUITS À BASE DE SILICONE À PROXIMITÉ DE LA HOTTE POUR NE PAS ENDOMMAGER LE CAPTEUR.
Entretien de la carrosserie
Pour le nettoyage de la carrosserie de l'appareil, éviter l'emploi de produits contenant des abrasifs.
Entretien des filtres antigraisse
Les filtres antigraisse nécessitent un entretien régulier et il faut donc les nettoyer périodiquement, en moyenne tous les deux mois. Démontez les filtres antigraisse : à l'aide de la poignée, poussez l'arrêt vers l'intérieur et tirez les filtres vers le bas (Fig.13). Lavez-les avec un nettoyant ménager du commerce, puis rincez abondamment et séchez. Ce nettoyage peut être effectué dans un lave-vaisselle en ayant soin de ne pas mettre les filtres en contact avec de la vaisselle sale ou avec des couverts en argent.
Remontez les filtrres antigraisse.

Entretien du filtre à charbon
Si vous utilisez cet appareil en version recyclage, il sera nécessaire de remplacer le filtre à charbon en moyenne tous les six mois, selon l'emploi. Code filtre à charbon : AH4063U1.
Pour enlever le filtre à charbon, il faut d'abord démonter les filtres antigraisse (Fig.13). Puis, enlevez le filtre à charbon, en appuyant sur l'arrêt vers l'intérieur et en le faisant pivoter jusqu'à ce que les deux languettes sortent de leurs logements (Fig.14). Remplacez le filtre à charbon et remontez les filtres antigraisse.
Fig. 14
Remplacement des lampes halogènes
Pour remplacer les lampes halogènes, commencez par enlever les filtres antigraisse (Fig. 13). Ôtez le hublot (Fig. 15). Remplacez les lampes par des halogènes ayant les mêmes caractéristiques. ATTENTION : Ne pas toucher l'ampoule à mains nues.
Fig. 15
| MODELS | A |
| DHG556XP | 490mm |
| DHG576XP | |
| DHG589XP | |
| DHG560XP | |
| DHG577XP | 690mm |
| DHG570XP |
Fig. 5

DHG556XP, DHG576XP, DHG577XP, DHG560XP, DHG570XP
| MODELS | A |
| DHG556XP | 490mm |
| DHG576XP | |
| DHG589XP | |
| DHG560XP | |
| DHG577XP | 690mm |
| DHG570XP |
Abb. 5
Abb. 7
DHG556XP, DHG576XP, DHG577XP, DHG560XP, DHG570XP
| MODELS | A |
| DHG556XP | 490mm |
| DHG576XP | |
| DHG589XP | |
| DHG560XP | |
| DHG577XP | 690mm |
| DHG570XP |
Fig. 5
Fig. 7
DHG556XP, DHG576XP, DHG577XP, DHG560XP, DHG570XP
| MODELS | A |
| DHG556XP | 490mm |
| DHG576XP | |
| DHG589XP | |
| DHG560XP | |
| DHG577XP | 690mm |
| DHG570XP |
Fig. 5
Fig. 7
DHG556XP, DHG576XP, DHG577XP, DHG560XP, DHG570XP
| MODELS | A |
| DHG556XP | 490mm |
| DHG576XP | |
| DHG589XP | |
| DHG560XP | |
| DHG577XP | 690mm |
| DHG570XP |

Fig. 7
DHG556XP, DHG576XP, DHG577XP, DHG560XP, DHG570XP
| MODELS | A |
| DHG556XP | 490mm |
| DHG576XP | |
| DHG589XP | |
| DHG560XP | |
| DHG577XP | 690mm |
| DHG570XP |
Afb. 5

DHG556XP, DHG576XP, DHG577XP, DHG560XP, DHG570XP
Tout dépannage doit être effectué par un technicien qualifié.
Seuls les distributeurs de notre marque :
Connaissent parfaitement votre appareil et son fonctionnement.
Appliquent intégralement nos méthodes de réglage, d'entretien et de réparation.
Utilisez exclusivement les pièces d'origine.
Pour toute commande à votre distributeur, précisez-lui la référence complète de votre appareil (type de l'appareil et numéro de série).
Ces renseignements figurent sur la plaque signalétique fixée à l'intérieur de l'appareil.
Les descriptions et les caractéristiques apportées dans ce livret sont données uniquement à titre d'information et non d'engagement. En effet, soucieux de la qualité de nos produits, nous nous réservons le droit d'effectuer, sans préavis, toutes modifications ou améliorations nécessaires.
PIÈCES D'ORIGINE : demandez à votre vendeur que, lors d'une intervention d'entretien, seules des PIÈCES DÉTACHÉES CERTIFIÉES D'ORIGINE soient utilisées.

Relations consommateurs
Numéro de téléphone du service consommateurs Brandt :

(0,34 euro par minute) *
- Service fourni par Brandt Customer Service, société par actions simplifiée au capital de 2 500 000 euros, 5/7 Avenue des Béthunes, 95310 Saint-Ouen-l'Aumône, RCS Pontoise 440 303 303.
Notice Facile