AOC66314X - Four électrique ARTHUR MARTIN - Notice d'utilisation et mode d'emploi gratuit
Retrouvez gratuitement la notice de l'appareil AOC66314X ARTHUR MARTIN au format PDF.
| Type de produit | Four encastrable |
| Capacité | 70 litres |
| Type de cuisson | Chaleur tournante, grill, convection naturelle |
| Alimentation électrique | 230 V |
| Dimensions (L x H x P) | 60 x 60 x 55 cm |
| Poids | 35 kg |
| Classe énergétique | A |
| Fonctions principales | Programmation électronique, minuterie, nettoyage par catalyse |
| Entretien et nettoyage | Nettoyage par catalyse, surface lisse |
| Pièces détachées et réparabilité | Disponibilité des pièces détachées sur demande |
| Sécurité | Verrouillage de sécurité, porte froide |
| Compatibilités | Compatible avec les cuisines encastrables standards |
| Accessoires inclus | Grille, plat à rôtir |
FOIRE AUX QUESTIONS - AOC66314X ARTHUR MARTIN
Questions des utilisateurs sur AOC66314X ARTHUR MARTIN
0 question sur cet appareil. Repondez a celles que vous connaissez ou posez la votre.
Poser une nouvelle question sur cet appareil
Téléchargez la notice de votre Four électrique au format PDF gratuitement ! Retrouvez votre notice AOC66314X - ARTHUR MARTIN et reprennez votre appareil électronique en main. Sur cette page sont publiés tous les documents nécessaires à l'utilisation de votre appareil AOC66314X de la marque ARTHUR MARTIN.
MODE D'EMPLOI AOC66314X ARTHUR MARTIN
notice d'utilisation
Nous avons pensé à vous
lors de la conception de ce produit
Bienvenue dans le monde d'electrolux
Nous vous remercions de la confiance que vous nous témoignez en choisissant un appareil Electrolux qui, nous espérons, vous agréera agréablement au fil du temps.
Au travers d'une large gamme de produits de qualité, la volonté d'Electrolux est de vous rendre la vie plus agréable.
Vous en verrez quelquels exemples sur la couverture de cette notice.
Nous vous invitons à prendre quelques minutes pour découvrir ce guide qui vous permettra de profiter au mieux de tous les avantages de votre nouvel appareil.
Nous assurons que son utilisation vous offrira jour après jour satisfaction et sérénité.
Sommaire
Description de l'appareil 10
Programmateur électronique 11
Avant la première utilisation du four 14
Fonctions de cuisson 18
Programmation du four 19
Fonctions spéciales 22
Accessoires du four 26
Conseils d'utilisation 28
Guide des cuissons 31
Entretien et nettoyage 34
En cas d'anomalie de fonctionnement 44
Plaque signalétique 50
Garantie / service clientèle 51
Consignes de sécurité 45
Caractéristiques techniques 46
Raccordement électrique 47
Installation de l'appareil 49
Comment dire votre notice d'utilisation
Les symboles suivants vous guideront tout au long de la lecture de votre notice:

Instructions de sécurité

Descriptions d'opérations

Conseils et recommandations

Informations sur l'environnement

Cet appareil est conforme aux Directives Communitaires CEE suivantes :
2006/95 (Basse Tension) 89/336 (Compatibilité Électromagnétique) 93/68 (Directives Générales) et modifications successives.
Lors de sa fabrication, cet appareil a été construit selon des normes, directives et/ou décrets pour une utilisation sur le territoire français.
Pour la sécurité des biens et des personnes ainsi que pour le respect de l'environnement, vous devez d'abord dire impérativement les préconisations suivantes avant toute utilisation de votre appareil.

Pour éviter tout risque de dépréciation de l'appareil, transportez-le dans sa position d'utilisation muni de ses cales de transport (selon modèle).
Au déballage de celui-ci, et pour empêcher des risques d'asphyxie et corporel, tenez les matériaux d'emballage hors de la portée des enfants.

Pour éviter tout risque (mobilier, immobilier, corporel,...), l'installation, les raccordements (eau, gaz, électricité, évacuation selon modèle), la mise en service et la maintenance de votre appareil doivent être effectués par un professionnel qualifié.

Votre appareil a été conçu pour être utilisé par des femmes. Il est destiné à un usage domestique. Ne l'utilisez pas à des fins commerciales ou industrielles ou pour d'autres buts que ceux pour lesquels il a été conçu. Vous évitez ainsi des risques matériel et corporel.

Débranchez la prise de votre appareil (si elle existe) ou coupez le disjoncteur avant toute opération de nettoyage manuel. N'utilisez que des produits du commerce non corrosifs et/ou non inflammables.
Utilisez un chiffon ou une éponge humidifiée. Un nettoyage à l'eau ou à la vapeur risque de provoquer des infiltrations nuisibles au bon fonctionnement du produit et des dommages corporels.

Si votre appareil est équipé d'un éclairage, il est obligatoire de débrancher la prise de votre appareil (si elle existe) ou coupez le disjoncteur avant de procéder au changement de l'éclairage (ampoule, néon, etc.) pour éviter tout choc électrique ou électrocution.

Afin d'empêcher des risques d'explosion et d'incendie, ne placez pas de produits inflammables ou d'éléments imbibés de produits inflammables à l'intérieur, à proximité ou sur l'appareil.

Lors de la mise au rebut de votre appareil, et pour écarter tout risque corporel, mettez hors d'usage ce qui pourrait désigner un danger, par exemple : coupez le câble d'alimentation électrique au ras de l'appareil, cassez le dispositif de verrouillage et écrasez le raccordement gaz extérieur, s'ils existent. Informez-vous auprès des services de votre commune des endroits autorisés pour la mise au rebut de l'appareil.

Pendant et après le fonctionnement de l'appareil ;
- les côtés et la façade de l'appareil sont chauds,
- les récipients et leur contenu peuvent basculer,
- lorsque la porte du four est ouverte, les parois internes de porte et d'enceinte sont chaudes.

L'opération de nettoyage pyrolyse doit être effectuée en votre présence.
Veillez au bon entretien de l'appareil et à son bon fonctionnement.
Ne coupez pas l'alimentation du four et ne tentez pas d'ouvrir la porte.

Veuillez tenir compte de ces informations et éloigner les enfants pendant et après l'utilisation de votre appareil pour éviter tout risque matériel et corporel.
Le non-respect de ces avertissements peut provoquer des dommages corporels et/ou matériels (incendie,...).
Veuillez maintenant lire attentivement cette notice pour une utilisation optimale de votre appareil.
Veuillez lire attentivement ces remarques avant d'installer et d'utiliser votre appareil. Nous déclinons toute responsabilité en cas de dommages ou d'accident provoqués par l'appareil du fait du non-respect de ces avertissements.
Avertissements importants
Conservez cette notice d'utilisation avec votre appareil. Si l'appareil avait été vendu ou cédé à une autre personne, assurez-vous que la notice d'utilisation l'accompagne. Le nouvel utilisateur pourrait alors être informé du fonctionnement de celui-ci et des avertissements s'y rapportant. Ces avertissements ont été rédigés pour votre sécurité et celle d'autrui.
Utilisation
- Cet appareil a été conçu pour être utilisé par des adultes. Veillez à ce que les enfants n'y touchent pas et ne l'utilisent pas comme un jouet.
- À la réception de l'appareil, déballez-le ou faites-le déballer immédiatement. Vérifiez son aspect général. Faites les éventuelles réserves par écrit sur le bon de livraison ou sur le bon d'enlèvement dont vous garderez un exemplaire.
- Notre appareil est destiné à un usage domestique normal. Ne l'utilise pas à des fins commerciales ou industrielles ou pour d'autres buts que celui pour lequel il a été créé.
- Ne modifiez pas ou n'essayez pas de modifier les caractéristiques de cet appareil. Cela représente un danger pour vous.
- N'installez pas votre appareil sur un socle.
- Avant la première utilisation de votre appareil, faites-le chauffer une fois à vide. Assurez-vous alors que la pièce soit suffisamment aérée : VMC (Ventilation Mécanique Contrôlée) en fonctionnement ou fenêtre ouverte.
- Ne stockez pas de produits d'entretien ou de produits inflammables dans la cavité de four ou dans le tiroir (si votre appareil en est équipé) ou à proximité de l'appareil.
- Si vous utilisez un appareil électrique à fil à proximité de votre appareil (par exemple un batteur électrique), assurez-vous que le câble d'alimentation de cet appareil ne risque pas de toucher une surface chaude du four qui serait susceptible de fondre ou ne risque pas d'être coincé dans la porte du four.
- Pendant la cuisson, le four devient chaud. Veillez à ne pas toucher les éléments chauffants à l'intérieur du four. Au moment de l'ouverture de la porte du four, durant la phase de cuisson ou à la fin de cette dernière, faites attention à la bouffée d'air chaud qui sort du four.
- Surveillez attentivement la cuisson lors de la friture dans l'huile ou la graisse (pommes de terre frites, beignets,...) : les graisses surchauffées s'enflamment facilement.
- En plus du(des) accessoire(s) fourni(s) avec votre appareil, n'utilisez que des plats, des moules à gâteaux,... résistants à de hautes températures (suivez les instructions des fabricants).
- Ne tirez jamais votre appareil par la poignée de la porte du four.
- En enfournant ou en sortant vos plats du four, prenez la précaution de ne pas vous approcher du(des) élément(s) chauffant(s) et utilisez des gants thermiques de cuisine.
- Ne placez jamais de papier d'aluminium ou tout autre ustensile, plat et accessoire directement en contact avec la sole, la chaleur accumulée pourrait entraîner une dépréciation de l'émail et de l'appareil.
- N'employez jamais la lécheroite comme plat à rôtir. Pour éviter d'endommager les commandes de votre appareil, ne laissiez pas la porte ouverte lorsqu'il est en fonctionnement ou encore chaud.
- Après utilisation de votre four, éteignez-le au moyen de la commande Marche / Arrêt ①.
- Cet appareil n'est pas destiné à être utilisé par des enfants ou des personnes dont les capacités physiques, sensorielles ou mentales, ou le manque d'expérience et de connaissance les empêchent d'utiliser l'appareil sans risque lorsqu'ils sont sans surveillance ou en l'absence d'instruction d'une personne responsable qui puisse leur assurer une utilisation de l'appareil sans danger.
- Éloignez les jeunes enfants de l'appareil pendant son fonctionnement. Vous éviterez ainsi qu'ils se brûlent en touchant la façade chaude de votre appareil. Assurez-vous que les enfants ne manipulent pas les commandes de l'appareil.
- Avant de procéder au nettoyage de votre apparéil, vérifie qu'aucun élément n'est sous tension (si le four est en marche, éteignez-le au moyen de la commande Marche / Arrêt ①) et que les parois soient suffisamment refroidies.
- Nettoyez votre appareil après chaque utilisation afin de garantir un fonctionnement correct.
- N'utilisez jamais d'appareils à vapeur ou à haute pression pour nettoyer le four (exigences relatives à la sécurité électrique).
- Avant tout nettoyage ou intervention technique, assurez-vous que l'appareil est débranché électriquement et complètement refroidi.
- N'utilisez pas de produits abrasifs ou d'objets tranchants ou pointus pour nettoyer les verres de la porte du four, vous risquez de rayer la surface du verre. De ce fait, le verre pourrait ainsi, sous l'effet de variations de températures, se briser en éclats, s'il a été précédemment fragilisé.
- Les fourchettes et la broche du tournebroche sont pointues et tranchantes. Veillez à les manipuler avec précaution pour éviter tout risque de blessure (si votre appareil en est équipé).
Installation
- Les opérations d'installation et de branchement doivent être réalisées par un technicien qualifié.
- Les réparations ne doivent être effectuées que par un service après-vente qualifié. Une réparation non conforme peut être la cause de graves dommages. Si l'installation électrique de votre habitation nécessite une modification pour le branchement de votre appareil, faites appel à un électricien qualifié.
- Débranchez l'appareil ou enlevez le fusible correspondant à la ligne de branchement de l'appareil si celle-ci présente une quelconque anomalie.

Protection de l'environnement
Tous les matériaux marqués par le symbole sont recyclables. Déposez-les dans une déchetterie prévue à cet effet (renseignez-vous auprès des services de votre commune) pour qu'ils puissent être récupérés et recyclés.
Le symbole sur le produit ou son emballage indique que ce produit ne peut être traité comme déchet ménager. Il doit être remis au point de collecte dédié à cet effet (collecte et recyclage du matériel électrique et électronique). En procédant à la mise au rebut de l'appareil dans les règles de l'art, nous préservons l'environnement et notre sécurité, s'assurant ainsi que les déchets seront traités dans des conditions optimales. Pour obtenir plus de détails sur le recyclage de ce produit, veuillez prendre contact avec les services de votre commune ou le magasin où vous avez effectué l'achat.
En cas d'anomalie de fonctionnement, reportez-vous à la rubrique "EN CAS D'ANOMALIE DE FONCTIONNEMENT". Si malgré toutes les vérifications, une intervention s'avère nécessaire, le vendeur de votre appareil est le premier habilité à intervenir. A défaut (déménagement de votre part, fermeture du magasin où vous avez effectué l'achat...), veuillez consulter le Centre Contact Consommateurs qui vous communiquera alors l'adresse d'un Service Après Vente.
En cas d'intervention sur l'appareil, exigez du service après vente les pieces de rechange certifiées Constructeur. PIECE cattifiée CONSTRUCTEUR

Description de l'appareil

- Barre lumineuse
- Bandeau de commande
- Grill
- Eclairage du four
- Turbine de ventilation
- Orifice d'entrainement de la broche
- Plaque signalétique


Les commandes électroniques du four
- - Commande électronique MARCHE / ARRET
- -Commande électronique des fonctions de cuisson
- B - Commande électronique de la fonction "Chauffage rapide"
- Commande électronique Moins (temps ou température)
- Commande électronique Plus (temps ou température)
- Commande électronique de la fonction "Pyrolyse"
- Commande électronique de la fonction "Temps"
Les commandes électroniques
Toutes les fonctions du four sont contrôlées par un programmeur électronique. Vous pouvez sélectionner n'importe quelle combinaison de type de cuisson, de température de cuisson et de minuterie automatique à l'aide des commandes électroniques.
L'utilisation de l'appareil se fait à l'aide des touches sensitives Touch Control. Les commandes des fonctions sont activées lorsque vous appuyez sur les touches sensitives. Veillez à n'en toucher qu'une à la fois. Si vous appuyez plus longtemps sur la commande, la fonction de cuisson qui suit la fonction souhaitée sera sélectionnée.
La barre lumineuse
La barre lumineuse est située juste au-dessus du bandeau de commandes et peut être activée / désactivée en appuyant sur la commande Marche /
Arrêt ①
La barre lumineuse s'éteint automatiquement lorsque des temps de cuisson, qui ont été programmés (programmation d'une durée de cuisson ou programmation d'une heures de fin de cuisson), se sont écoulés.
Si l'éclairage du four s'éteint automatiquement, la barre lumineuse disparaît également.
Fonctions spéciales
Il est possible de sélectionner les fonctions suivantes en utilisant simultanément deux commandes :
- Verrouillage de sécurité pour les enfants : appuyez sur la commande de sélection et „-". Mode signal sonore : appuyez sur la commande de sélection et +
- Fonction 'Démo' : reportez-vous au paragraphe "Fonction 'Démo'" à la page 23.
Pour plus de détails, reportez-vous au chapitre "Fonctions spéciales".
Attention
En l'absence de courant électrique, le programmeur conserve toutes les données entrées dans la mémoire pendant 3 minutes environ. Passé ce délai, les données sont supprimées et devront être de nouveau entrées au rétablissement du courant électrique.
Commande électronique marche/arretMARCHE/ARRET
Le four doit être mis en fonctionnement avant de régler tout programme ou fonction de cuisson. Quand la commande ① est activée, l'éclairage du four s'allume et le symbole apparaît sur l'écran (Fig. 1).
Pour permettre l'arrêt du four, appuyez sur la commande ①. Tous les programmes ou fonctions de cuisson s'arrêtent, l'éclairage du four s'éteint et l'heure du jour uniquement est affichée sur l'écran. Il est always possible de mettre l'arrêt le four.
Fig. 1
Avant la première utilisation du four
Dès que l'appareil est raccordé électriquement pour la première fois, les informations sur le logiciel du four s'affichent pendant une minute, puis "12:00" s'affiche et le voyant clignote. Assurez-vous de bien régler l'heure du jour avant d'utiliser le four.

Pour régler l'heure du jour
- Appuyez sur la commande de la fonction Temps (2). Pendant que le symbole clignote à côté de celui de l'horloge (3), réglez l'heure du jour à l'aide des commandes "—" ou "+ (Fig. 2). Une fois le four mis à l'heure, le symbole continue de clignoter pendant 5 secondes puis disparaît. Ceci signifie que le réglage est mémorisé par le programmeur électronique.
- Si le symbole s'est arrêté de clignoter avant que vous n'ayez eu le temps de régler l'horloge, appuyez deux fois sur la commande de la fonction Temps. Le symbole se remet à clignoter. Ensuite, procédez comme indiqué au point 1.

Il est possible de régler l'heure du jour seulement quand le four est à l'arrêt.
Fig. 2
Fig. 3

Pour ouvrir la porte du four, empoignez toujours la poignée au centre (voir figure 3).

Avant la première utilisation de votre four, faites-le chauffer une fois à vide afin d'éliminer l'odeur de calorifuge et les graisses de protection utilisées lors de la fabrication.
Assurez-vous alors que la pièce soit suffisamment aérée (Ventilation Mécanique Contrôle en fonctionnement ou fenêtre ouverte).

Retirez tous les éléments d'emballage à l'intérieur et à l'extérieur du four avant de vous en servir.

Le four ne fonctionne qu'une fois mis à l'heure.
- Appuyez sur la commande ① pour permettre le fonctionnement du four.
- Appuyez deux fois sur la commande des fonctions de cuisson et sélectionnez la fonction "Cuisson 2 niveaux" (Fig. 4).
- Réglez la température à 250°C en utilisant la commande "+" (Fig. 4).
- Laissez le four fonctionner vide pendant environ 45 minutes.
- Ouvrez une fenêtre pour l'aération. Cette procédure doit être répétée avec la fonction "Grand grill" pendant 5 - 10 minutes environ.

Pendant ce temps, il peut se dégager une odeur désagréable. Ceci est absolument normal, et est causé par des résidus de fabrication.
Après avoir effectué cette opération, laissez le four se refroidir puis nettoyez la cavité avec une éponge.
Fig. 4
Avant de cuisiner pour la première fois, lavez soigneusement tous les accessoires.
Comment sélectionner une fonction de cuisson
- Mettez en fonctionnement le four en appuyant sur la commande ①.
- Appuyez sur la commande des fonctions de cuisson pour sélectionner la fonction désirée. Chaque fois que vous appuyez sur la commande, un symbole des fonctions s'allumera indiquant la fonction active à ce moment-là. À côté du symbole relatif à la fonction de cuisson sélectionnée, le numéro correspondant apparaîtra (Fig. 5).
- Pour chaque fonction de cuisson, l'affichage de la température indique la température pré-régée. Si la température pré-régée n'est pas celle voulue, appuyez sur les commandes "—" ou "+" pour régler la température par intervalles de 5 degrés.
Le symbole du thermomètre indique le niveau de température à l'intérieur du four.
Lorsque la température du four atteint le niveau réglé, le programmateur émet un bref signal sonore et le symbole du
thermomètre cessera de clignoter.
Fig. 5
Comment modifier la température et le temps de cuisson
- Utilisez les commandes “—” ou “+” pour modifier la température prédéfinie tandis que le symbole de l'affichage de température “○” clignote (Fig. 6). La température maximale pouvant être programmée est de 250°C (285°C pour la fonction Cuisson Traditionnelle).

En appuyant sur la commande des fonctions de cuisson , le symbole de l'affichage de température “ ” clignotera pendant environ 10 secondes, en indiquant la possibilité d'ajuster ultérieurement la température en utilisant les commandes “—” ou “+”.
- Utilisez les commandes “—” ou “+” pour modifier le temps et la durée de cuisson pendant que les voyants des fonctions de programmation clignotent.
Fig. 6
Fonctions de cuisson
Les symboles suivants indiquent, dans l'ordre, les fonctions de cuisson disponibles.

Cuisson traditionnelle
- La chaleur provient de l'élément chauffant supérieur et
inéfier. La température préétablie est de 200°C. Sélectionnez au maximum une température de 250°C.

CUISSONS2 NIVEAUX-Pour
cuire plusieurs plats en même temps, que vous disposerez sur différents niveaux. La température pré-régée est de 175°C.

GRAND GRIL - Le four dégage
une chaleur intense seulement par le haut. La température préréglée est de 250°C. La température minimum pouvant être programmée est de 200°C

GRIL avec tourne-broche - le corps de
La chauffe du grill est activée. Ensuite, le moteur du grill se met en service. Cette fonction convient également pour griller des volailles et des rôts sur le tourne-broche et des aliments peu écais, tels que biftecks, côtelettes et poissons. La température préréglée est de 250°C. La température minimum pouvant être programmée est de 200°C.

Cuisson VIANDE - la
La chaleur provient de l'élément chauffant supérieur et inférieur, et la fonction de Chauffage Rapide est automatiquement sélectionnée. La chaleur provenant de la sole est
Limitez afin que les projections ne brûlent pas sur la sole. La température préréglée est de 210°C.

GRIL TURBO - la chaleur provient seulement du GRIL et est
répartie par le ventilateur. La température préréglée est de 180°C. Sélectionnez au maximum une température de 200°C.

Maintiena UCAUD - pour
Le plats déjà cuits que vous souhaitez maintenau au chaud, sans toutefois en continuer la cuisson. La température préréglée est de 80°C. Le réglage de la température ne peut être modifié.

DECONGELATION - Avec
cette fonction, on met en marche la turbine qui, en faisant circuler l'air froid à l'intérieur du four, a pour effet de décongeler rapidement les aliments surgelés. Le réglage de la température ne peut être modifié

Pyrolyse-pour le nettoyage
pyrolytique du four. Au cours de celui-ci, les salissures résiduelles du four sont brûlées pour donner des cendres qui s'essuient facilement après refroidissement du four. Le four est chauffé à env. 500°C.
Pour activer la fonction Pyrolyse, suivez les instructions données au chapitre "Nettoyage à e-mail pyrolytique".
Comment régler le minuteur
- Appuyez sur la commande de la fonction Temps pour sélectionner la fonction Minuteur. Le voyant clignote et «0.00» s'affiche (Fig. 7).
- Appuyez sur la commande ^ + pour sélectionner le temps désiré. Le temps maximum est de 23 heures et 59 minutes. Après avoir terminé le réglage, le Minuteur attend quelques secondes avant de démarrer. Le voyant clignote pendant le temps programmé.
- Une alarme sonore retentit pour indiquer que le temps programmé s'est écoulé.
- Pour arrêter l'alarme sonore, appuyez sur n'importe quelle commande.

L'alarme sonore s'éteint automatiquement après approximativement une minute et l'heure du jour apparait sur l'écran.

Le four NE s'éteindra PAS s'il est en fonction.

La fonction Minuteur peut également être utilisée lorsque le four est éteint.
Pour visualiser ou modifier le réglage du minuteur
- Appuyez sur la commande de la fonction Temps jusqu'à ce que les voyants clignotent.
- Vous pouvez maintenant régler le minuteur à l'aide des commandes "—" ou,+
Fig. 7
Fig. 8
Pour annuler le réglage du minuteur
- Appuyez sur la commande de la fonction Temps jusqu'à ce que les voyants et clignotent.
- Appuyez sur la commande „—” jusqu'à „0.00" s'affiche (Fig. 8).
Pour programmer l'arrêt du four
- Mettez en fonctionnement le four, placez-y la préparation, sélectionnez une fonction de cuisson et régalez la température de cuisson, si nécessaire.
- Appuyez sur la commande de la fonction de Temps (1). Le symbole Durée de cuisson clignote et l'affichage du temps indique "0.00" (Fig. 9).
- Pendant que le symbole clignote, appuyez sur la commande ^ + afin de régler la durée désirée. La durée maximum est de 23 heures et 59 minutes. Le programmeur attend quelques secondes avant de démarrer.
- Lorsque le temps de cuisson est terminé, le four s'éteint automatiquement et une alarme sonore détent tandis que «0.00» s'affiche.
- Pour éteindre l'alarme sonore, appuyez sur la commande ①. Si vous appuyez sur une toute autre commande, l'alarme sonore s'éteint et l'écran affiche les symboles indiqués dans la figure 10. Pour remettre le four à zéro, appuyez sur la commande ①.
Pour annuler le temps de cuisson :
- Appuyez sur la commande de la fonction Temps ↓ jusqu'à ce que le symbole ▷ clignote.
- Appuyez alors sur la commande jusqu'à ce que l'affichage du temps indique „0.00" (Fig. 11).
Fig. 9
Fig. 10
Fig. 11
Pour programmer la mise en fonctionnement et l'arrêt du four
- Réglez la Durée de cuisson selon les instructions données aux points 1 à 3 du paragraphe précédent.
- Appuyez sur la commande de la fonction de Temps ↓ jusqu'à sélectionner la fonction "Fin de cuisson" et que le voyant correspondant → | clignote.
Le bandeau de commande affiche l'heure de fin de cuisson, c'est-à-dire, l'heure actuelle plus le temps de durée de cuisson (Fig. 12).
- Appuyez sur la commande „+“ pour régler l'heure de fin de cuisson souhaitée.
- Après avoir terminé le réglage, le programmeur attend quelques secondes avant de démarrer.
- Le four s'allume et s'éteint automatiquement en fonction de vos réglages. Lorsque la cuisson est terminée, une alarme sonore retentit.
- Pour éteindre l'alarme sonore, appuyez sur la commande ①.
Si vous appuyez sur une toute autre commande, l'alarme sonore cesse et l'écran affiche les symboles indiqués dans la figure 10.
Pour remettre le four à zéro, appuyez sur la commande ①.
L'alarme sonore s'éteint automatiquement après approximativement deux minutes. pour remettre le four à zéro, appuyez sur la commande ①.
Pour annuler le programme, il suffit de réinitialiser la Durée de cuisson comme décrite à la fin du paragraphe précédent.
Fig. 12
Fonction arrêt automatique
Cet appareil est équipé d'un système de sécurité pour l'arrêt automatique si on oublie de mettre à l'arrêt le four. En effet, le programmateur mettra à l'arrêt le four automatiquement si aucune commande n'est activée après un certain temps, selon le tableau suivant (Fig. 13).
| Si la température est: | le four s'éteindre: |
| 250°C | après 3 heures |
| 200°C jusqu'à 245°C | après 5,5 heures |
| 120°C jusqu'à 195°C | après 8,5 heures |
| moins de 120 °C | après 12 heures |
Verrouillage infantile
Pour éviter que les enfants ne mettent en fonctionnement le four, il est possible de verrouiller les commandes.
- Si le four est en fonctionnement, mettez à l'arrêt au moyen de la commande ①.
- Appuyez simultanément sur les commandes et "—", et maintenez-les appuyées environ 3 secondes. Le programmeur électronique émet un signal sonore et le message 'SAFE' s'affiche à l'écran (Fig. 14).
- Le four est maintenant verrouillé. Ni les fonctions du four, ni les températures ne peuvent être sélectionnées.
Pour déverrouiller le four :
Appuyez simultanément sur les commandes et "—" et maintenez-les appuyées pendant environ 3 secondes. Le programmeur électronique émet un signal sonore et le message 'SAFE' disparaît. Le four peut maintenant être mis en fonctionnement.
Fig. 13
Fig. 14
Chauffage rapide
Après avoir sélectionné la fonction de cuisson et réglé la température de cuisson, le four commencera à chauffer jusqu'à atteindre la température réglée.
La phase de chauffe du four dure 10-15 minutes environ, selon la fonction de cuisson et la température réglée.
Si on souhaite atteindre la température réglée en moins de temps, on peut utiliser la fonction Chauffage rapide.
- Allumez le four en appuyant sur la commande ①.
- Sélectionnez la fonction de cuisson et température comme décrite dans les pages précédentes.
- Réglez la température à l'aide des commandes „−” ou „+”.
- Appuyez sur la commande de sélection de la fonction de chauffage rapide B. La mention "FHU" apparaitra sur l'écran (Fig. 15).

En appuyant sur la commande des fonctions de cuisson , le symbole de l'affichage de température "o" clignotera pendant environ 10 secondes, en indiquant la possibilité d'ajuster ultérieurement la température en utilisant les commandes,— "ou,+".
- Lorsque la température du four atteint le niveau réglé, le programmeur émet un bref signal sonore et l'indication de la température régée apparaitra sur l'écran.
Cette fonction peut être utilisée en sélectionnant toutes les fonctions de cuisson et température.
Fig. 15
Chaleur résiduelle
Lorsque le "Temps de cuisson" est réglé, le four se met à l'arrêt automatiquement quelques minutes avant la fin du temps programmé et utilise la chaleur résiduelle pour terminer la cuisson des mets sans consommer d'énergie. Tous les réglages actifs sont affichés jusqu'à ce que le "Temps de cuisson" se soit écoulé.
Cette fonction ne s'active pas lorsque le "Temps de cuisson" est inférieur à 15 minutes.
Fonction 'démo
Cette fonction peut être utilisée pour démontrer la fonctionnalité du four dans les magasins sans aucune dépense d'énergie, à l'exception de l'éclairage du four et de la turbine de ventilation.
Cette fonction peut être activée seulement quand l'appareil est raccordé électriquement pour la première fois.
S'il y a une coupure d'électricité, au rétablissement du courant électrique, la fonction "Demo" peut être activée seulement si 12:00 et clignotent sur l'écran.
Pour activer la fonction "demo
- Appuyez sur la commande de la fonction de Temps pendant 2 secondes environ. Le système émettra un bref signal sonore.
- Appuyez simultanément sur les commandes et ^. Le système émettra un bref signal sonore et 12:00 s'affiche (Fig. 16).
En appuyant sur la commande "Marche/Arret" ①, le voyant apparaitra sur l'écran. Ceci signifie que la fonction "Demo" est active.
Fig. 16
Il est possible de sélectionner toutes les fonctions du four mais les éléments chauffants du four ne fonctionnent pas. Pour désactiver la fonction "Demo", répétez les opérations décrites ci-dessus.
En l'absence de courant électrique, le programmeur conserve toutes les données qui regardent la fonction "Demo" entrées dans la mémoire.
Mode de signal sonore
Cette fonction peut être utilisée pour activer un signal sonore ("bip") chaque fois qu'une commande est appuyée.
- Appuyez sur les commandes et "+" pendant 3 secondes environ. Le système émettra un bref signal sonore (Fig. 17).
Ensuite, le mode signal sonore est activé.
Pour désactiver cette fonction, répétez les opérations décrites ci-dessus.
Code erreur
Le programmeur électronique effectue constamment un test diagnostic du système. Si certains paramètres ne sont pas corrects, par exemple à cause d'une utilisation incorrecte du four, l'unité de contrôle désactivera les fonctions en cours d'utilisation et le code erreur correspondant apparaîtra sur l'écran d'affichage (lettre "F" suivie par des chiffres).
Pour plus de détails, reportez-vous au chapitre "En cas d'anomalie de fonctionnement".
Thermostat de sécurité
Il coupe l'alimentation de toutes les résistances du four en cas de surchauffe imputable à un usage incorrect de l'appareil ou à la panne de certains composants. En cas de déclenchement du thermostat, il faudra faire appel au service après-vente.
Fig. 17
Ventilateur de refroidissement
Le ventilateur sert à refroidir le bandeau de commandes et la poignée de la porte du four. Le ventilateur se met en marche quelques minutes après qu'on agit sur le sélecteur de fonctions. Afin d'éviter tout danger de surchauffe, une fois le four éteint, le ventilateur fonctionnera jusqu'à ce que la température atteigne des valeurs normales.
Accessoires du four
En plus des accessoires fournis avec votre appareil, nous vous conseillons de n'utiliser que des plats et des moules à gâteaux résistant à de hautes températures (suivez les instructions des fabricants).
Votre four est équipé de
1 plateau multi-usages 2 grilles support de plat 1 lèchefrite 1 tournebroche
Les préparations posées sur la grille de support de plat ne doivent pas excéder 7 à 8 kilogrammes.
Elle s'utilise pour la cuisson ou le réchauffage de pizza, de petits gâteaux individuels posés directement sur la plaque. Prenez la précaution de centrer le plateau multi-usages dans le four pour permettre une bonne circulation d'air et obtenir de bons résultats culinaires.
La grille support de plat
Elle permet de poser les plats (rotis, gratins, les moules à pâtisserie, etc.) ainsi que les grillades. Notre plat doit être centré sur la grille.
Si vous cuisez les aliments directement sur la grille, glissez la l'échefeite au gradin 1. Versez toujours un peu d'eau dans la l'échefeite.
La léchographie
Elle est utilisée pour recueillir le jus des grillades. Elle n'est pas prévue pour être utilisée comme plat de cuisson. Lorsque vous n'utilisez pas la lèchefrite, veillez à la retirer du four.


Le tournebroche
Il est composé de :
1 broche 1 poignée de broche amovible 2 fourchettes 1 support de broche
Les fourchettes et la broche du tournebroche sont pointues et tranchantes. Veillez à les manipuler avec précaution pour éviter tout risque de blessure.
Les cuissrons au tournebroche

Toutes les cuissons au tournebroche doivent être faites avec la porte du four fermée.

Les fourchettes et la broche du tournebroche sont pointues et tranchantes. Veillez à les manipuler avec précaution pour éviter tout risque de blessure.

La broche et son support sont très chauds après la cuisson. Utilisez des gants thermiques de cuisine.

Les parties accessibles de l'appareil peuvent être chaudes lors de l'utilisation du tournebroche. Éloignez les jeunes enfants.

- Vissez la poignée amovible sur la broche.
- Enfilez une fourchette sur la broche puis la pièce à rôtir en veillant à ce qu'elle soit bien centrée.
- Enfilez ensuite la seconde fourchette.
- Bloquez les fourchettes à l'aide des vis.
- Posez la broche sur le support et glissez l'ensemble au gradin 2.
- Engagez l'extrémité de la broche dans le carré d'entraînement du moteur (orifice sur la paroi de fond du four).
- Dévissez la poignée de la broche.
- Positionnez la l'échéfrite au gradin 1. Versez toujours un peu d'eau dans la l'échéfrite.
- Appuyez sur la commande et sélectionnez la fonction "Gril avec tournebroche"

10. L'affichage de température indique la température préréglée (250^). Si la température préréglée n'est pas celle voulue, appuyez sur les commandes "+" et "-", pour régler la température par intervalles de 5 degrés. La température minimum pouvant être programmée est de 200°C. 11. Vérifiez que la broche tourne.

Pour sortir la pièce :
- Appuyez sur la commande ① pour entreindre le four.
- Vissez la poignée amovible de broche.
- Sortez la brochure du four.
Conseils d'utilisation

Toutes les cuissons doivent être faites avec la porte du four fermée.

Tenez-vous à distance lorsqu'vous ouvrez la porte du four.
Le four est livré avec deux grilles pouvant être placées à quatre hauteurs. Les positions des grilles sont numérotées de bas en haut, comme indiqué sur l'illustration. Il est important de les positionner correctement.
Le préchauffage se fait sur le réglage de température besoini pour la cuisson :
- 8 minutes environ pour températures 50°C à 160°C
Nos conseils
Ne placez jamais d'objets sur la sole du four et ne recouvrez jamais cette partie d'aluminium pendant la cuisson. Cela pourrait entraîner une surchauffe qui affecterait la cuisson de vos mets et endommagerait de manière irréversible l'appareil. Placez toujours les plats, poêles résistantes à la chaleur et feuilles d'aluminium sur la grille de votre four, en hauteur.
Pour préserver la propriété de votre four, une feuille d'aluminium intercalée entre le plat et la grille support protégera la sole en cas de débordement. Afin de permettre une bonne circulation d'air, cette feuille ne doit pas couvrir la totalité de la surface de la grille.

- Piquez la peau des volailles et saucisses à l'aide d'une fourchette avant la cuisson. Vous éviterez ainsi le gonflement et l'éclatement de la peau. Laissez le moins de barde possible autour de vos rogis pour réduire les projections et obtenir un mets moins riche en graisse.
Ce four est équipé d'un système exclusif de cuisson qui crée une circulation naturelle d'air et la récupération continue des vapeurs de cuisson. Cet avantage permet de cuisiner dans un milieu constamment humide en maintenant les aliments tendres à l'intérieur et croustillants à l'extérieur. De plus, les temps de cuisson et les consommations d'énergie sont extrêmement réduits. La vapeur s'est créée durant la cuisson sort au moment de l'ouverture de la porte. Ce phénomène est absolument naturel.

Au moment de l'ouverture de la porte du four, durant la phase de cuisson ou à la fin de cette dernière, faire attention à la bouffée d'air chaud qui sort du four.
La formation éventuelle de condensation sur la vitre de la porte, sur les parois et sur le fond du four ne compromet pas le fonctionnement de l'appareil. Nous vous conseillons d'essuyer la condensation à la fin de la cuisson.

Pour réduire la condensation, assurez-vous que le four est bien chauffé avant de placer la nourriture dans la cavité du four. Un court préchauffage (à peu près 10 minutes) sera nécessaire avant toutes les cuissons.
Choix des récipients
L'épaisseur, la conductibilité, la couleur des récipients influencent les résultats culinaires. - Pendant la cuisson, certaines préparations augmentent de volume, en conséquence, CHOISSEZ vos récipients de manière à ce que la préparation crue laisse le tiers supérieur du moule libre.
Pour prévenir les projections graisseuses trop importantes, utilisez pour la cuisson des roits et des volailles, des plats à bords hauts et des cocottes en verre à feu munies de leur couvercle dont les dimensions sont proportionnées à la pièce à cuirir. - Réservez les plats en verre à feu pour vos gratins et vos soufflés.
Influence des récipients sur les résultats de cuisson au four
Sachez que :
À l'aluminium, les plats en terre cuite, la terre à feu, diminuent la coloration dessous et préservent l'humidité des aliments. Nous vous les conseillons pour les pâtisseries moelleuses, la cuisson des gratins, des rôts. B La fonte émaillée, le fer étamé, le verre et la porcelaine à feu, les récipients avec intérieur anti-adhésif et extérieur coloré, augmentent la coloration dessous et favorisent le dessèchement des aliments. Nous vous les conseillons pour les tartes, les quiches et toutes cuissons croustillantes qui doivent être aussi dorées dessous que dessus.

Avertissement: guide des cuissons
- Les températures du four ne sont représentées qu'à titre indicatif. Il pourra s'avérer nécessaire d'augmenter ou de baisser les températures en fonction des goûts et besoins individuels.
- Les temps de cuisson indiqués ne comprennent pas le préchauffage. Nous vous conseillons, en particulier pour les gâteaux, la pizza et le pain, de chauffer le four pendant environ 10 minutes avant de commencer la cuisson.
| Vous constatéz | Que faire? |
| Dessous trop pâle pas assez cuit ou dessus trop foncé | prénez un moule du type B ou descendez le moule d'un niveau |
| Dessous trop foncé, trop cuit ou dessus trop clair | prénez un moule du type A ou remontez le moule d'un niveau |
Guide des cuissons

Les temps de cuisson indiqués ne comprennent pas le préchauffage. Un court préchauffage (à peu près 10 minutes) est nécessaire avant toutes les cuissons.
| Poids (en gr.) | Préparations | CUISSSON TRADITION-NELLE | CUISSSON 2 NIVEAUX | Temps de cuisson en minutes | NOTES | ||
| Niveau 4 3 2 1 | Température °C | Niveau 4 3 2 1 | Température °C | ||||
| 1000500500250 | GâteauxPéris/levésPâté à sablésGâteau aufromage blancGâteau auxpommesStrudelTarte à la confitureCake aux fruitsGénéoiseChristmas cakeGâteau aux prunesPetits gâteauxBiscuitsMeringuesBunsPâtisserie : ChouxPAIN ET PIZZAPain blancPain de seiglePetits painsPizzaFLANSSoufflé de pâtesFlan de légumesQuichesLasagneCannelloni | 22150-1752150-175150-1751752175175150-175150-17521751751751752175200200200200200200200200200200200200200200200200200200200200200200200200200200200200200200200200200200 | 2(1 et 3)*2(1 et 3)*2(1 et 3)*2(1 et 3)*2(1 et 3)*12(1 et 3)*1(1 et 3)*1(1 et 3)*2(1 et 3)*2(1 et 3)*2(1 et 3)*2(1 et 3)*2(1 et 3)*2(1 et 3)*2(1 et 3)*2(1 et 3)*2(1 et 3)*2(1 et 3)*2(1 et 3)*2(1 et 3)*2(1 et 3)*2(1 et 3)*2(2 et 3)*2(1 et 3)*2(1 et 3)*2(1 et 3)*2(1 et 3)*2(1 et 3)*2(1 et 3)*2(1 et 3)*2(1 et 3)*2(1 et 3)*2(1 et 3)*2(1 et 3)*2(1 et 3)*2(1 et 3)*2(1 et3)*2(1 et 3)*2(1 et 3)*2(1 et 3)*2(1 et 3)*2(1 et 3)*2(1 et 3)*2(1 et 3)*2(1 et 3)*2(1 et 3)*2(1 et 3)*2(1 et 3)*2(1 et 3)*2(1 et 3)*2(1 et 3)2(1 et 3)*2(1 et 3)*2(1 et 3)*2(1 et 3)*2(1 et 3)*2(1 et 3)*2(1 et 3)*2(1 et 3)*2(1 et 3)*2(1 et 3)*2(1 et 3)*2(1 et 3)*2(1 et 3)*2(1 et 3)*2 (1 et 3)*2(1 et 3)*2(1 et 3)*2(1 et 3)*2(1 et 3)*2(1 et 3)*2(1 et 3)*2(1 et 3)*2(1 et 3)*2(1 et 3)*2(1 et 3)*2(1 et 3)*2(1 et 3)*2(1 et 3)*2(1 and 3)*2(1 and 3)*2(1 and 3)*2(1 and 3)*2(1 and 3)*2(1 and 3)*2(1 and 3)*2(1 and 3)*2(1 and 3)*2(1 and 3)*2(1 and 3)*2(1 and 3)*2(1 and 3)*2(1 and 3)*2(1 and 4)*2(1 and 4)*2(1 and 4)*2(1 and 4)*2(1 and 4)*2(1 and 4)*2(1 and 4)*2(1 and 4)*2(1 and 4)*2(1 and 4)*2(1 and 4)*2(1 and 4)*2(1 and 4)*2(1 and 4)*2(1 and 4)* | 45 ~ 6020 ~ 3060 ~ 8040 ~ 6060 ~ 8030 ~ 4045 ~ 6030 ~ 4040 ~ 6050 ~ 6025 ~ 3520 ~ 3090 ~ 12012 ~ 2015 ~ 2540 ~ 6030 ~ 4520 ~ 3520 ~ 3090 ~ 12012 ~ 2015 ~ 2540 ~ 5045 ~ 6035 ~ 4545 ~ 6040 ~ 55 | Dans un moule à gâteauDans un moule à gâteauDans un moule à gâteauDans un moule à painDans un moule à gâteauDans un moule à gâteauDans un moule à painSur plaque de cuissonSur plaque de cuissonSur plaque de cuissonSur plaque de cuissonSur plaque de cuisson | ||
Si vous souhaitez faire cuire plusieurs plats en même temps, il est conseillé de les placer aux hauteurs indiquées entre parenthèses.
Pour améliorer le brunissage pendant la cuisson en plusieurs niveaux en même temps, nous vous conseillons d'inverser le niveau de votre plat pendant les dernières 10-15 minutes.

Cuisson viandes
| Poids (en gr.) | Préparations | Niveau | Tempé-rature (°C) | Temps de cuisson | NOTES |
| 4321 | en minutes | ||||
| 1000 | Boeuf | 2 | 190 | 50 ~ 70 | Sur grille et l'echefrite |
| 1200 | Porc | 2 | 180 | 100 ~ 130 | Sur grille et l'echefrite |
| 1000 | Veau | 2 | 190 | 90 ~ 120 | Sur grille et l'echefrite |
| Rosbeef: | |||||
| 1500 | - saignant | 2 | 210 | 25 ~ 30 | Sur grille et l'echefrite |
| 1500 | - à point | 2 | 210 | 30 ~ 40 | Sur grille et l'echefrite |
| 1500 | - bien cuit | 2 | 210 | 35 ~ 45 | Sur grille et l'echefrite |
| 2000 | Epaule de porc | 2 | 180 | 120 ~ 150 | Avec la couenne - sur l'echefrite |
| 1200 | Jarret de porc | 2 | 180 | 100 ~ 120 | 2 pieces sur l'echefrite |
| 1200 | Agneau | 2 | 190 | 110 ~ 130 | Gigot sur l'echefrite |
| 1000 | Poulet | 2 | 190 | 60 ~ 80 | Entier sur l'echefrite |
| 4000 | Dinde | 1 | 180 | 210 ~ 240 | Entière sur l'echefrite |
| 1500 | Canard | 2 | 175 | 120 ~ 150 | Entier sur l'echefrite |
| 3000 | Oie | 1 | 175 | 150 ~ 200 | Entière sur l'echefrite |
| 1200 | Lapin | 2 | 190 | 60 ~ 80 | Ragoût - plat en terre sur grille |
| 1500 | Lièvre | 2 | 190 | 150 ~ 200 | Ragoût - plat en terre sur grille |
| 800 | Faisan | 2 | 190 | 90 ~ 120 | Entier - plat en terre sur grille |

Les temps de cuisson indiqués ne comprennent pas le préchauffage. Un court préchauffage (à peu près 10 minutes) est nécessaire avant toutes les cuissons.
La cuisson au grill
Fonctions n.3 "Grand Grill" ou n.4 "Grill" (sans utiliser le tournebroche)
| Préparations | Quantité | Gril | Temps cuisson L | |||
| Morceaux | Gr. | Niveau | Température °C | Dessus | Dessous | |
| Filet | 4 | 800 | 3 | 250 | 12 ~ 15 | 12 ~ 14 |
| Beefsteaks | 4 | 600 | 3 | 250 | 10 ~ 12 | 6 ~ 8 |
| Saucisses | 8 | - | 3 | 250 | 12 ~ 15 | 10 ~ 12 |
| Côtes de porc | 4 | 600 | 3 | 250 | 12 ~ 16 | 12 ~ 14 |
| Poulet (coupé en deux) | 2 | 1000 | 3 | 250 | 30 ~ 35 | 25 ~ 30 |
| Brochettes | 4 | - | 3 | 250 | 10 ~ 15 | 10 ~ 12 |
| Poulet (Blancs) | 4 | 400 | 3 | 250 | 12 ~ 15 | 12 ~ 14 |
| Hamburger | 6 | 600 | 3 | 250 | 10 ~ 15 | 8 ~ 10 |
| Poisson (Filets) | 4 | 400 | 3 | 250 | 12 ~ 14 | 10 ~ 12 |
| Sandwiches | 4-6 | - | 3 | 250 | 5 ~ 7 | - |
| Toast | 4-6 | - | 3 | 250 | 2~4 | 2 ~ 3 |
La cuisson au grill turbo

Sélectionnez au maximum une température de 200°C.
| Préparations | Poids (en gr.) | Grillade ventilée | Temps cuisson | ||
| Niveau | Témpe-rature °C | Dessous | Dessous | ||
| Roulé de dinde | 1000 | 3 | 200 | 20~30 | 30~40 |
| Poulet (couple en deux) | 1000 | 3 | 200 | 20~30 | 25~30 |
| Cuisses de poulet | - | 3 | 200 | 15~18 | 15~20 |
| Caille | 500 | 3 | 200 | 20~25 | 25~30 |
| Gratin de lé gumes | - | 3 | 200 | - | 20~25 |
| Coquilles St. Jacques | - | 3 | 200 | - | 15~20 |
| Maquereau | - | 3 | 200 | 10~15 | 15~20 |
| Tranches de poisson | 800 | 3 | 200 | 8~10 | 12~15 |
La cuisson au gril avec tournebroche
| Préparations | Quantité Gr. | Niveau 4 3 2 1 | Température °C | Temps deuisson (minutes) |
| Poulet | 1000 | 2 | 200 | 50/60 |
| Rotis | 800 | 2 | 200 | 50/60 |
Les températures du four ne sont représentées qu'à titre indicatif. Il pourra s'avérer nécessaire d'augmenter ou de baisser les températures en fonction des goûts et besoins individuels.
L'importance du volume des préparations à cuire et la grande variété des matériaux constituant les récipients de cuisson et les moules à pâtisserie peuvent vous amener à modifier les indications données dans les guides de cuisson. Seule votre expérience vous permettra de trouver le réglage convenant le mieux à vos habitudes culinaires.
Entretien et nettoyage

Avant chaque opération de nettoyage, débranchez l'appareil.

N'utilise jamais d'appareils à vapeur ou à haute pression pour nettoyer le four.
Bandeau de commandes
Utilisez une éponge humide additionnée d'eau savonneuse. Rincez et séchez soigneusement.
Principe
Les parois sont en émail spécial résistant aux hautes températures, d'aspect brillant et lisse au toucher. La température du four portée à 500°C environ entraîne la carbonisation de toutes les salissures (projections grasses, sucres, oeufs, pâtes,...).
Après un certain nombre de cuissons, un message apparait dans la fenêtre d'affichage pour vous rappeler qu'un cycle de nettoyage pyrolytique doit être activé. Le message "Pyro" s'affiche pendant 15 secondes et un signal sonore retentit au début et à la fin de ce début d'affichage.
Sélectionnez l'un des cycles de nettoyage pyrolytique en fonction du degré de salissure du four.
Ce message de rappel s'affiche à chaque mise à l'arrêt de l'appareil jusqu'à ce qu'un cycle de nettoyage pyrolytique soit effectué.
La sécurité
Pour votre sécurité, en cycle pyrolyse, un système de verrouillage condamne automatiquement la porte dès que la température du four dépasse 300°C. À partir de 300°C, la porte reste verrouillée même si le cycle de pyrolyse est stoppé (panne de secteur ou arrêt volontaire). Il faut attendre que le four refroidisse pour déverrouiller la porte. Pendant le cycle de nettoyage, un ventilateur de refroidissement fonctionne. La ventilation est maintenue après l'opération de nettoyage tant que le four n'est pas suffisamment refroidi.
Le cycle s'effectue uniquement sous le contrôle du programmateur électronique.
Si le four a été encastré sous une table de cuisson, lors du cycle de nettoyage par pyrolyse, n'utilise pas les zones de cuisson de la table de cuisson.
Entretien régulier
Après chaque cuisson salissante, pensez à retirer les projections avec une éponge.
Entretien périodique
Si votre four est peu sale (par exemple, après une ou deux cuissons seulement), utilisez la position Pyrolyse 1 (PI). Avec un cycle de nettoyage par pyrolyse, passez une éponge humide dans le four froid pour enlever les résidus blanchâtres. N'hésitez pas à nettoyer votre four aussi souvent que cela est nécessaire. Pour un nettoyage par pyrolyse renforcée, utilisez la position Pyrolyse 2 (P2). Vous pouvez effectuer le nettoyage par pyrolyse à la suite d'une cuisson pour bénéficier de la chaleur déjà accumulée dans le four. Le nettoyage par pyrolyse immobilise l'utilisation de votre appareil pendant 2 h à 3 h environ :
Pyrolyse 1 = 2 h,
Pyrolise 2 = 2 h 30 minutes

- Retirez tous les accessoires de four, qui supporteraient mal la température élevée pendant le cycle de nettoyage pyrolyse et risqueraient d'endommager votre four.
- Enlevez l'exécutant des salissures (débordements, graisse) qui entraînaient un dégagement de fumée trop important.
- Fermez la porte.
Départ immédiat

La porte du four est chaude pendant le cycle de nettoyage par pyrolyse, éloignez les jeunes enfants.

Si le four a été encastré sous une table de cuisson, lors du cycle de nettoyage par pyrolyse, n'utilisez pas les zones de cuisson de la table de cuisson.
- Appuyez sur la touche "Marche/Arrêt" ① pour allumer le four.
- Appuyez sur la commande des fonctions de cuisson et sélectionnez la fonction "Pyrolyse". Le symbole [ ] l'indication "Pyro" et "P1" (Pyrolyse 1 - durée: 2 h) s'affichent (Fig. 18).
- En même temps, le symbole indiquant les grilles |---| et l'indication "Pyro" clignotent sur l'écran et un signal sonore retentit (Fig. 19).

Avant d'activer la fonction pyrolitique, enlevez tous les accessoires de four (suivez les instructions dans le paragraphe précédent).
Si le four est très sale, nous vous recommandons d'augmenter la durée du cycle de nettoyage et de sélectionner la position Pyrolyse 2 (P 2 - durée: 2 h 30').

Le temps de cycle pyrolitique ne peut être changé.
Fig. 18
Fig. 19
- Pendant que le symbole clignote, appuyez sur les commandes n = n ou n + n pour sélectionner la position Pyrolyse 1 (P 1) ou Pyrolyse 2 (P 2) (Fig. 20).
- Lorsque vous avez choisi la fonction pyrolytique désirée, l'indication "Pyro" clignote sur l'écran en attendant la confirmation de commencer le cycle de nettoyage pyrolytique.
- Pour confirmer la position Pyrolyse que vous désirez, appuyez sur la commande [ ], l'indication "Pyro" devient fixe, l'éclairage du four s'éteint et le cycle de nettoyage démarre (Fig. 21).
Fig. 20
Fig. 21
- Lorsque la température du four atteint 300°C, le verrouillage de la porte est activé et le symbole correspondant s'affiche (Fig. 22).
- Au terme du cycle de nettoyage pyrolytique, le four s'arrête automatiquement et l'heure du jour s'affiche. Le symbole de verrouillage de la porte s'affiche toujours. Lorsque le four s'est refroidi, un signal sonore retentit et la porte se déverrouille.
- Pour arrêter le cycle de nettoyage pyrolytique à tout moment, appuyez sur la touche "Marche/Arrêt" ①.
Fig. 22
REMARQUE: L'indication du temps comprend le temps de refroidissement.

Si vous sélectionnez une fonction de cuisson, pendant que la fonction pyrolytique est activée, le cycle de nettoyage est interrompu.
Si le verrouillage de la porte est activé, il est impossible de sélectionner une fonction de cuisson quelconque jusqu'à ce que la porte se déverrouille.
Programmation du nettoyage pyrolytique (départ différé, arrêt automatique)
Si vous le désirez, vous pouvez programmer l'heure de début et de fin du cycle de nettoyage pyrolytique.
- Appuyez sur la touche "Marche/Arrêt" ① pour allumer le four.
- Appuyez sur la commande des fonctions de cuisson et sélectionnez la fonction "Pyrolyse". Le symbole, l'indication "Pyro" et "P1" (Pyrolyse 1 - durée: 2 h) s'affichent.
- En même temps, le symbole indiquant les grilles |---| et l'indication "Pyro" clignotent sur l'écran et un signal sonore retentit. Avant d'activer la fonction pyrolytique, enlevez tous les accessoires de four (suivez les instructions au-dessus).
- électionner la position Pyrolyse 1 (P 1) ou Pyrolyse 2 (P 2).
- À ce moment-là, appuyez sur la commande ↓ jusqu'à sélectionner la fonction "Fin de cuisson" (Fig. 23). L'indication du temps s'affiche, le voyant ▲ clignote.
- Pendant ce temps, appuyez sur les commandes "—" ou "+" pour sélectionner l'heure de fin du cycle pyrolytique.
- Après avoir sélectionné l'heure de fin, le programme s'active, l'indication "Pyro" devient fixe et l'éclairage du four s'éteint.
- Le cycle de nettoyage pyrolytique s'active selon le temps choisi.
- Après un moment, le verrouillage de la porte s'active et le symbole correspondant est affiché. 11. Au terme du cycle de nettoyage pyrolytique, le four s'arrête automatiquement et l'heure du jour s'affiche. Le symbole de verrouillage de la porte s'affiche toujours.
Lorsque le four s'est refroidi, un signal sonore retentit et la porte se déverrouille.
- Pour arrêter le cycle de nettoyage pyrolytique à tout moment, appuyez sur la touche "Marche/Arrêt" ①.
Fig. 23
Porte vitrée du four
Les vitres internes de la porte du four sont amovibles pour le nettoyage.

N'essayez pas d'extraire les panneaux internes tous en même temps.

Si le panneau en verre de la porte présente des éclats ou des rayures profondes, le verre est fragilisé et doit être remplacé pour éviter qu'il ne se brise. Prenez conseil auprès de votre Service Après-vente.
Nettoyer les vitres de la porte
Lavez-les à l'eau savonneuse tiède et à l'aide d'un linge doux, en prenant soin de bien les rincer et de les essuyer.

N'utilisez pas de produits abrasifs car ils peuvent endommager la surface résistante à la chaleur des panneaux de verre internes.

NE nettoyez PAS la porte du four tant que les panneaux en verre sont encore chauds. Si vous ne observez pas cette précaution, le verre risque de se briser.




Les trois panneaux de verre placés au milieu sont des verres spéciaux traités pour résister à la chaleur. Un panneau est marqué d'un petit pois, un autre d'une bande noire, le dernier n'est pas marqué.

Pendant le remontage des panneaux, il est important que vous les remettiez dans leur position initiale.

Pour vérifier si l'opération a été exécutée correctement (Fig. 6 pour le modèle AOC66313, Fig. 7 pour le modèle AOC66314):

lorsque vous insérez les trois panneaux de verre internes, assurez-vous que:
- la surface portant la bande doit être orientée vers l'intérieur du four, de manière à ce que vous perceviez la légère rugosité de la sénégraphie lorsque vous touchez la surface en vue;
- le petit trou est positionné vers le côté droit et dans la partie haute du panneau.



Le sens d'ouverture de la porte de ce four ne peut pas être changé.
Modèles en inox ou aluminium
Il est conseillé de nettoyer la porte du four à l'aide d'une éponge humide. Séchez ensuite avec un chiffon doux.
N'utilisez jamais de laine d'acier, d'acides ni de produits abrasifs car ils abîmeraient la surface de votre four.
Suivez la même procédure pour nettoyer le bandeau de commande de votre four.




Débranche l'appareil de l'alimentation, avant de remplacer l'ampoule.
Dévissez le globe puis l'ampoule (Fig. 24) et remplacez-la par un modèle identique apte à supporter des hautes températures (300^) et ayant les caractéristiques suivantes:
- Tension: 230 V 50 Hz
- Puissance : 40 W Culot : E14.
Révissez le globe.
Fig. 24
En cas d'anomalie de fonctionnement
Nous vous recommendons vivement de faire les vérifications suivantes sur votre appareil avant d'appeler un technicien du Service Après-Vente. Il se peut que le problème soit simple et que vous puissiez le résoudre vous-même.
| Symptômes | Solutions |
| • Les résultats de cis-son au four ne sont pas satisfaisants. | Vérifiez que: • la durée et la température de préchauffage sont correctes (voir chapitre "Guides des cissons"). • la température sélectionnée est adaptée. • la durée de cisson est adaptée. • la grille ou la l'échefrite est bien positionné dans le four. • le recipient de cisson est bien adapté. |
| • Le four fume. | Vérifiez que: • le four ne nécessite pas de nettoyage. • la préparation ne déborde pas. • il n'y a pas de projections excessives de graisse/jus de cisson sur les parois du four. • le réglage de la température est ajustée, plus particulièrement pour la cisson des viandes (voir chapitre "Guides des cissons"). Il est normale que le four fume lors de la première utilisation (voir chapitre "Conseils avant la première utilisation"). |
| • Le four ne chauffe pas. | Vérifiez que: • l'heure est régée (voir chapitre "Pour régler l'heure du jour"). |
| • Le four ne s'allume pas. | Vérifiez que: • les fusibles sont en bon état. • l'appareil est correctement branché. • il n'y a pas de coupure de courant. |
| • Le programmateur af-fiche "12.00". | • Réglez l'heure (voir chapitre "Pour régler l'heure du jour"). |
| • Le code erreur F... apparaît sur l'écran d'affichage duprogrammateur. | • Prenez note de ce code d'erreur et contactez le service après vente de votre magasin vendeur. |
Si après avoir vérifié ces différents points l'anomalie persiste, contactez le service après-vente de votre magasin vendeur.

Consignes de sécurité
Pour le bon fonctionnement de l'ensemble de cuisson encastré dans un meuble ou dans toute autre niche prévue à cet effet, il est indispensable que ces derniers possèdent les caractéristiques appropriées. - Encastrer l'appareil de façon à ce qu'il touche aux meubles de cuisine voisins. Cela dans le but d'éviter que l'on puisse entrer accidentellement en contact avec les parties électriques. - En outre, toutes les pièces de protection de l'appareil - ainsi qu'un éventuel panneau de protection, p. ex. lorsqu'il est placé à la fin ou au commencement des éléments de cuisine - devront être fixées de telle façon qu'elles ne pourront être enlevées qu'à l'aide d'un outil. - Il est opportun que l'appareil soit installé à une certaine distance de réfrigérateurs ou de congélateurs car la chaleur émise par le four pourrait nuire au bon fonctionnement de ces appareils.
Vérifiez :
- que la puissance de l'installation est suffisante,
- que les lignes d'alimentation sont en bon état,
- que le diamètre des fils est conforme aux règles d'installation,
- que l'installation fixe comporte un dispositif possédant des contacts à coupure omnipolaire ayant une distance d'ouverture des contacts d'au moins 3 mm.
L'installation et l'entretien doivent être effectués par un professionnel qualifié conformément aux textes réglementaires et règles de l'art en vigueur : NF C 15-100 - installations électriques à basse tension.

Notre responsabilité ne saurait être engagée en cas d'accidents ou d'incidents provoqués par une mise à la terre inexistante ou déficiente.
Caractéristiques techniques
| Raccordement électrique | 230 ~ V 50 Hz |
| Puissance électrique | 2,70 kW |
Four électrique
| Elément sole | 1,00 kW |
| Elément voute | 0,80 kW |
| Position "Cuisson traditionnelle" | 1,80 kW |
| Position "Cuisson 2 niveaux" | 1,85 kW |
| Puisance du grilleoir | |
| position "Gril avec tournebroche") | 1,65 kW |
| position "Grand grille") | 2,45 kW |
| position "Gril turbo") | 1,70 kW |
| Position "Maintien au chaud" | 1,80 kW |
| Chauffage Rapide | 2,71 kW |
| Eclairage de four | 0,040 kW |
| Puisance du moteur | |
| de tournebroche | 0,004 kW |
| Nettoyage pyrolyse | 2,45 kW |
| Moteur de turbine du four | 0,025 kW |
| Moteur de ventilateur | |
| de refroidissement | 0,025 kW |
| Nettoyage | Email pyrolytique |
Accessoires
2 grilles support
1 plateau multi-usages 1 lèchefrite 1 tournebroche
Intérieur du FOUR
| Hauteur | sous plan : 593 mm | Hauteur | 335 mm |
| en colonne : 580 mm | Largeur | 405 mm | |
| Largeur | 560 mm ÷ 570 mm | Profondeur | 400 mm |
| Profondeur | 550 mm | Volume utile | 56 litres |
Raccordement électrique
Avant de procéder au branchement, vérifie que :
- la puissance de l'installation est suffisante, les lignes d'alimentation sont en bon état.
- le diamètre des fils est conforme aux règles d'installation en vigueur,
- l'installation fixe de l'utilisateur compte un dispositif à coupure omnipolaire ayant une distance d'ouverture des contacts d'au moins 3 mm.
Votre four est livré avec un câble d'alimentation, section 3 × 1,5 ~mm^2.

Le four est équipé d'une plaque à bornes à 3 pôles dont les conducteurs sont prédéposés pour fonctionner en 230 V monophasé.

Comment procéder?
- Montez une prise normalisée, pour la charge indiquée sur la plaque signalétique. Le câble est muni de trois conducteurs. Celui de mise à la terre est repéré jaune/vert.
- La fiche doit être reliée à une prise de courant appropriée.

Le câble d'alimentation sera positionné de façon à ce qu'à aucun point sa température n'excède 50°C à la température ambiante.
- Après le branchement, les éléments chauffants seront essayés en les faisant fonctionner pendant 3 min environ.
Remarque:
Contrôlez sur la plaque signalétique la valeur de la puissance totale de raccordement pour établir la puissance du fusible.
Dans le cas d'une installation fixe, le raccordement au réseau doit être effectué par l'intermédiaire d'un interrupteur à coupure omnipolaire, ayant une distance d'ouverture des contacts d'au moins 3 mm.
Le conducteur de mise à la terre jaune-verte ne doit pas être coupé par l'interrupteur.
Le câble d'alimentation sera positionné de façon à ce que, en aucun point, sa température n'excède 50°C à la température ambiante.

Important :
L'appareil ne doit pas être raccordé à l'aide d'un prolongateur, d'une prise multiple ou d'un raccordement multiple (risque d'incendie). Vérifiez que la prise de terre est conforme aux règlements en vigueur.
Quel que soit le mode de raccordement, l'appareil doit être relié à la terre conformément aux règlements en vigueur.
Remplacement du câble d'alimentation
Si le câble de raccordement doit être remplacé, commandez-le auprès de votre magasin vendeur et faites-le remplacer par un electricien qualifié. Utilisez exclusivement des câbles H07RN-F, ou H05RN-F, ou H05RR-F, ou H05VV-F, ou H05V2V2-F (T90), ou H05BB-F.

- Dévissez et enlevez le capot de protection situé à l'arrière de l'appareil.
- Déconnectez le câble de la plaque à bornes (Fig. 25) positionnée sur la partie postérieure du four, et remplacez-le avec l'un des types mentionnés ci-dessus. Le conducteur de mise à la terre doit être relié à la borne.
- La longueur du conducteur de terre sera supérieure de 2 cm à celle des conducteurs de phase.
- Immobilisez-le à l'aide du serre-câble.
- Remontez et vissez le capot de protection situé à l'arrière de l'appareil.
- Montez une fiche normalisée, pour la charge indiquée sur la plaque signalétique. Le câble est muni de trois conducteurs. Celui de mise à la terre est repéré jaune/vert.
- La fiche doit être reliée à une prise de courant appropriée.
- Après le branchement, les éléments chauffants seront essayés en les faisant fonctionner pendant 3 mm env.
- Les câbles doivent être d'une section adaptée à la puissance de l'appareil et capables de supporter la température de fonctionnement.
Fig. 25
Mise en place de l'appareil

Les instructions suivantes sont destinées à l'installateur qualifié pour lui permettre d'exécuter les opérations d'installation et de branchement de la manière la plus sûre, tout en respectant la législation et les normes en vigueur. Le montage sur le meuble et l'installation électrique doivent être effectués uniquement par des techniciens spécialisés et agréés.



Fixation dans le meuble
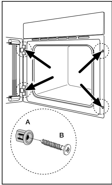
- Placer l'appareil dans la niche de meuble.
- Ouvrir la porte du four.
- Fixer le four à l'élément en plaçant les quatre supports "A" fournis avec l'appareil et qui s'encastrent exactement dans les orifices du châssis, puis insérer quatre vis en bois ("B").

Plaque signalétique
En appelant un Service Après-Vente, indiquez-lui le modèle, le numéro de produit et le numéro de série de l'appareil. Ces indications figurent sur la plaque signalétique située sur votre appareil.
La plaque est située sur la façade de l'appareil.

Garantie/service-clientèle
Conformément à la Législation en vigueur, Vote Vendeur est tenu, lors de l'acte d'achat de votre appareil, de vous communiquer par écrit les conditions de garantie et sa mise en œuvre appliquées sur celui-ci.
Sous son entière initiative et responsabilité, Votre Vendeur répondra à toutes vos questions concernant l'achat de votre appareil et les garanties qui y sont attachées.
N'hésitez pas à le contacter.
Pour tenir nos engagements, nous écoutons les consommateurs
Info Conso Electrolux est le lien privilégié entre la marque et ses Consommateurs. Il assure en permanence une double mission : satisfaire au moins vos exigences et tirer parti de cette proximité pour améliorer sans cesse les produits que nous vous proposons.
Avant l'achat
Toute une équipe répond avec clarté et précision à vos sollicitations concernant l’éventail de nos GAMES de produits et vous apporte des infos pour vous aider dans votre en fonction de vos propres besoins.
Après l'achat
Exprimez-vous sur la perception que vous avez de nos produits et votre satisfaction à l'usage. Mais interrogez aussi nos spécialistes sur l'utilisation et l'entretien de vos appareils. C'est alors que notre mission prend tout son sens. Écouter, comprendre, agir : trois temps essentiels pour tenir l'engagement de la marque dans le plus grand respect du Consommateur.
Dans le souci d'une amélioration constante de nos produits, nous nous réservons le droit d'apporter à leurs caractéristiques toutes modifications liées à l'évolution technique (décret du 24.03.78).
Info Conso
Electrolux

BP 50142 - 60307 Senlis Cedex
Tél.: 08 90 71 03 44 (0,15 € TTC/mn)
Fax:0344622154
E-MAIL: info.conso@electrolux.fr
Permanence téléphonique du lundi au vendredi
Pour toute question technique :
Centre de Contact Consommateurs
BP 20139 - 60307 SENLIS CEDEX
Tél.: 08 92 68 24 33 (0,34 € TTC/mn)
E-MAIL: ehp.consumateur@electrolux.fr
Permanence téléphonique du lundi au vendredi
Electrolux Home Products France S. A. S. au capital de 67 500 000 € - 552 042 285 RCS Senlis
| www.electrolux.com | ||
| Albania | +35 5 4 261 450 | Rr. Pjeter Bogdani Nr. 7 Tirane |
| Belgique/België/Belgien | +32 2 363 04 44 | Bergensesteenweg 719, 1502 Lembeek |
| Česká republika | +420 2 61 12 61 12 | Budějovická 3, Praha 4, 140 21 |
| Danmark | +45 70 11 74 00 | Sjøllandsgade 2, 7000 Fredericia |
| Deutschland | +49 180 32 26 622 | Muggenhofer Str. 135, 90429 Nürnberg |
| Eesti | +37 2 66 50 030 | Pärnu mnt. 153, 11624 Tallinn |
| España | +34 902 11 63 88 | Carretera M-300, Km. 29,900 Alcalá de Henares Madrid |
| France | www.electrolux.fr | |
| Great Britain | +44 8705 929 929 | Addington Way, Luton, Bedfordshire LU4 9QQ |
| Helias | +30 23 10 56 19 70 | 4, Limnou Str., 54627 Thessaloniki |
| Hrvatska | +385 1 63 23 338 | Slavonska avenija 3, 10000 Zagreb |
| Ireland | +353 1 40 90 753 | Long Mile Road Dublin 12 |
| Italia | +39 (0) 434 558500 | C.so Lino Zanussi, 26 - 33080 Porcia (PN) |
| Latvija | +37 17 84 59 34 | Kr. Barona iela 130/2, LV-1012, Riga |
| Lietuva | +370 5 2780609 | Ozo 10A, LT 08200 Vilnius |
| Luxembourg | +352 42 431 301 | Rue de Bitbourg, 7, L-1273 Hamm |
| Magyarország | +36 1 252 1773 | H-1142 Budapest XIV, Erzsébet királyné útja 87 |
| Nederland | +31 17 24 68 300 | Vennootsweg 1, 2404 CG - Alphen aan den Rijn |
| Norge | +47 81 5 30 222 | Rislokkvn. 2 , 0508 Oslo |
| Österreich | +43 18 66 400 | Herziggasse 9, 1230 Wien |
| Polska | +48 22 43 47 300 | ul. Kolejowa 5/7, Warszawa |
| Portugal | +35 12 14 40 39 39 | Quinta da Fonte - Edificio Gonçalves Zarco - Q 35 -2774-518 Paço de Arcos |
| Romania | +40 21 451 20 30 | Str. Garii Progresului 2, S4, 040671 RO |
| Schweiz - Suisse - Svizzera | +41 62 88 99 111 | Industriestrasse 10, CH-5506 Mögenwil |
| Slovenija | +38 61 24 25 731 | Gerbičeva ulica 98, 1000 Ljubljana |
| Slovensko | +421 2 43 33 43 22 | Electrolux Slovakia s.r.o., Electrolux Domace spotrebije SK, Seberíniho 1, 821 03 Bratislava |
| Suomi | www.electrolux.fi | |
| Sverige | +46 (0)771 76 76 76 | Electrolux Service, S.t Göransgatan 143, S-105 45 Stockholm |
| Türkije | +90 21 22 93 10 25 | Tarıbaşa caddesi no : 35 Taksim İstanbul |
| Rüssenia | +7 495 937 7837 | 129090 Moskva, Олимпийскайnpосnéт, 16, Бли "Олимник" |
| - | ES | DA | DE | EL | EN | FR | IT | NL | PT | SV | FI | S Electroux |
| 1 | Fabricante | Marke | Herstellung | Προμηθετιδης | Manufacturer | Fabricant | Costruttore | Fabrikant | Fabricante | Levantor | Tavarantoimitaja | AOC 68313AOC 68314 |
| 2 | Mouvetélo | Model | Modèle | Modell | Modell | Modell | Modell | Malli | ||||
| 3 | Classe de éci- necia energetica | Relativ ente- gifrobur | Energieeffiz- nzklassique | Tocin evengyianics | Energy effici- ency class | Classmate selon son efficacité energétique | Classe di effici- enza energetica | Energie-effi- cienieklasse | Classe de efici- enza energetica | Energieeffektiv- vitektklass | Energiat Hok- kuusluokka | A |
| 4 | - Calentamento conventional | - Traditiano opvarmming | - Convenzioneile Behezung | - Μαυβεκίπει | - Conventional | - Classique | - Convezione naturalae | - Convezioneel | - Convezioneal | - Convezioneal vamming | - Yli-alalampo | |
| 5 | - Convezione forzada | - Vamluit | - Um/Heiluft | -Mε καλορορία θεροία έλερε | - Forced air convection | - Convection forzea | - Convezione forzea | - Geforcede luchventcoce | - Convezione forcede ar | - Vamming med vammlt | - Kiertolima | |
| 6 | Comuno de energia Functio de ca- ontamento | - Energioriburg Opvarmming- function. | - Energieriburg Opvarmming- behezung: | Kerutvášetov evexyianics Δρεροία ένρενηνει | Energy consumption Heating function | Consummation d'énergie Fonction chauffage | Consommation di energie Fonction riscadamente: | Energeverbruk Verhing- fune: | Consuomeno de energia Função de aquecimento: | Energolfbrüukng Vammmung -funktion: | Energien- kulatus Kumummussa | |
| 7 | - Calentamento conventional | - Traditiano opvarmming | - Convenzioneile Behezung | - Μαυβεκίπει | - Forced air convection | - Convection forzea | - Convezione forzea | - Geforcede luchventcoce | - Convezioneal | - Convezioneal forcede ar | - Kiertolima | 0,79 kWh |
| 8 | - Convezione forzada | - Vamluit | - Um/Heiluft | -Mε καλορορία θεροία έλερε | - Steam | - Vapeur | - Vapor | - Stom | - Vapor | - Anja | - Höpyru | |
| 9 | Volume nelto (litros) | Netto- volumen (liter) | Netto- volumen (Litter) | Ωεροιεμεν γεκούς (Lithra) | Usable volum- le (litres) | Volume utile (litres) | Volume utile (litri) | Netto volume (liter) | Volume utile Litros | Volume util Litros | Anvandbar volm (liver) | Kay'totlaiuus (litraa) |
| 10 | Tempo - Pqueho - Medio - Grande | Type: - Lille - Mellenstort - Slort | Typ: -Klein -Mittel -Groß | Tótozo; -Mónkó; -Mezoúó; -Mycóúó | Size: -Small -Medium -Large | Type: - Faible volume -Volume moyen -Grand volume | Tip: -Piccolo -Medio -Grande | Tip: -paquero -midigloret -Croit | Tippo: -pequero -médio -grande | Tosteck: -Liten -Medistor -Stor | Koko: -Liten -Medistor -Stor | |
| 11 | Tempo di occolion corngana: normal. | Tildeberndingtved standard- lasting: | Kochzeit bei Standard- belastung: | Xpóvo; γu vitnoj πησησια πησησιανεν φοσίατια | Time to cook standard load: | Tempos de cuusson in charge normale: | Tempo necessario per cottura cancara normale: | Bereidings- lijd by stanz- disarbela- sting: | Tempo de cozeudura da carga-padro: | Tilagrandsdigt for an stan- dardiat: | Paistoika vakikoukormala: | |
| 12 | - Calentamento conventional | - Traditiano opvarmming | - Convenzioneile Behezung | - Μαυβεκίπει | - Conventional | - Classique | - Convezione naturalae | - Convezioneal | - Convezioneal | - Convezioneal vamming | - Yli-alalampo | 43 min. |
| 13 | - Convezione forzada | - Vamluit | - Um/Heiluft | -Mε καλο- φορία ένρενηνει δεροία έλερε | - Forced air convection | - Convection forzea | - Convezione forzea | - Geforcede luchventcoce | - Convezione forcede ar | - Vamming med vammlt | - Kiertolima | 41 min. |
| 14 | Superficie de la placce de occolion de mayor tamafo | Areollet of den starste bageplade | Größte des größsten Backbleaches | Hεμεκαίσηρη cπενεναίση κεντησιατος κεροίαςην | The area of the largest baking sheet | Aire de la surface de la plus grande plaque pour patissiere | Superfice di piano di cotta più grande | Ospervolkte van de grottoe pluri bakplaat | Área da superfice da major placra de pastelaria | Ytan for den stóstra bakplaten | Suunman levinpellina | 1130 cm2 |
| 15 | Ruido [dB (A) re 1 kW] | Lydelfekt- niveau (dB) (Sta) | Geräusch (dB) (A) re 1 kW | Eóροβεό (dB) (A) re 1 kW | Noise (dB (A) re 1 kW | Bruit (dB (A) re 1 kW | Rumore (dB (A) re 1 kW | Geluidsni- veau db (A) re 1 kW | Nivel de ruido db (A) re 1 kW | Buterniva dB (A) | Ääni (dB (A) re 1 kW |
www.electrolux.com
www.electrolux.fr
www.electroluxarthurmartin.fr
Notice Facile