DR1000 - Radio HAMA - Gratis gebruiksaanwijzing en handleiding
Vind de handleiding van het apparaat gratis DR1000 HAMA in PDF-formaat.
Download de handleiding voor uw Radio in PDF-formaat gratis! Vind uw handleiding DR1000 - HAMA en neem uw elektronisch apparaat weer in handen. Op deze pagina staan alle documenten die nodig zijn voor het gebruik van uw apparaat. DR1000 van het merk HAMA.
GEBRUIKSAANWIJZING DR1000 HAMA
-
Inhoudsopgave 2
-
Inleiding. 3
2.1Verklaringvanwaarschuwingssymboleninstructies 3
2.2Inhoudvandeverpakking. 3
- Veiligheidsinstructures 4
-
Informatie en instructies voor de ingebruikneming 4
-
Opbouw van de radio en de accessoires 5
5.1 Achteraanzicht. 5
5.2Vooraanzicht 6
- Bedieningsconcept 7
6.1Algemenebediening 7
6.2Favorietenbeheer 8
- Ingebruikname. 9
7.1 Deradioaansluiteneningebruiknemen 9
- Navigatie en regeling 10
8.1 Bedieningsopties. 10
8.2 Tijdinstellingen 10
8.3Schemweergave. 10
8.4Favorietenbeheer 10
9.DAB-radio. 11
9.1 Zenderlijst 11
9.2 Volledig zoeken 11
10.FM-radio. 1-1
11. Wekker. 12
Hartelijk dank dat u voor een product van Hama hebt gekozen. Neem deijd om de volgende aanwijzingen en instructies volledig door te lezen. Berg deze gebruiksaanwijzing verrolgens op een goedelek op zodat u hem als naslagwerk kurz gebruiken. Mocht u het toestel verkopen, geeft u dan ook deze gebruiksaanwijzingaandienieuweeigenaar.
2.1 Verklaring van waarschuwingssymbolen en instructies
Gevaar voor een elektrische schok

Ditsymbolouditudopgevaarbijaanrakingvanniet-geisoleerdeonderdelenvanhetproduct,welke möglich onder een zodanig gevaarlijke spanning staan, dat het geaar voor een elektrische schok aanwezigis.
Waarschuwing

Wordt gebruikt om veiligheidsinstrumentes te markeren of om op bijzondere gezaren en risico's te attenderen.
Aanwijzing

Wordt gebruikt om extra informatatie of belangrijke aanwijzingen te markeren.
2.2Inhoudvandeverpakking
- DigitaleradioDR1000
- N etadapter(12V/1A)
Gebruiksaanwijzing


3. Veiligheidsinstructies
- Het productisbedoeldvoorhuishoudelijk, Niet-commercialeelgebruik.
- B eschemhetproducttegenvuil,vochtenoverhittingengebruikhetalleenindrogeruimtes.
- Dit product dient, zoals alle elektrische producten, buiten het bereik van kinderen te worden gehonden!
- Laat het product Niet vallen en stel het Niet bloot aan zware schokken of stoten.
- G ebruikhetproductnietbuitendeindetechnischegevevensvermeldevermogensgrenzen.
- H etverpakkingsmaterialaalmagabsoluutnietinhandenvankinderenkomeninverbandmet verstikkingsgevaar.
- Voer het verpakkingsmateriaal direct en overeenkomstig de lokaal geldende afvoervoerschriften af.
- V erandernietsaanhetapparaat.Daardoorvervaltelkeaespraakopgarantie.
- Gebruik het product Niet in de onmiddelijkne nabijheid van de verwarming, andere warmtebronnen of indirectzonlicht.
- Gebruik het product Niet opplaaten waar elektronische producten Niet zichtogetstaan.
- G ebruikhetartikelalleeningematigdeklimatologischeomstandigheden.
- H etproductisalleenbedoeldvoorgebruikbinnenshuis.
- Gebruik het product Niet in een vochtige omgeving en vermijd spatwater.
- Legallekabelszodanigdatzegeenstruikelgevaaropleveren.
- K nikofklemdekabelniet.
- Trek, voor het loskoppelen van de kabel, direct aan de stekker en nooit aan de kabel.
Gevaar voor een elektrische schok

- O penhetproductnietengebruikhetnietmeerbijbeschadigingen.
- Gebruik het product Niet indien de adapter, deadapterkabel of de voedingskabel is beschadigd.
- Probeer het product zich te onderhonden of te repareren. Laat onderhoudswerkzaamheden doorvakpersoneeluitvoeren.
Waarschuwing

H ogegeluidsruk!
E r i s e enrisicoopgehoorbeschadiging.
V ermijdlangdurigluisterenopeeenhoogvolumineauomgehoorverliestevoorkomen.
- H oudhetgeluidsvolumeteallentijdeopeenverstandigniveau.Grotegeluidsvolumenkunnen—zelfskortstondig- t otgehoorbeschadigingleiden.
- De gebruikmaking van het product beperkt u in de waarneming van omgevingsgeluiden. Bedient u omdezeredentijdenshetebruikervangeenvoertuigenofmachines.
4. Informatie en instructies voor de ingebruikneming

Aanwijzing - Ontvangst optimaliseren
- Zo nodig moet u verschillende locaties testen om de best möglichke ontvangst te bereiken.
5. Opbouw van de radio en de accessoires
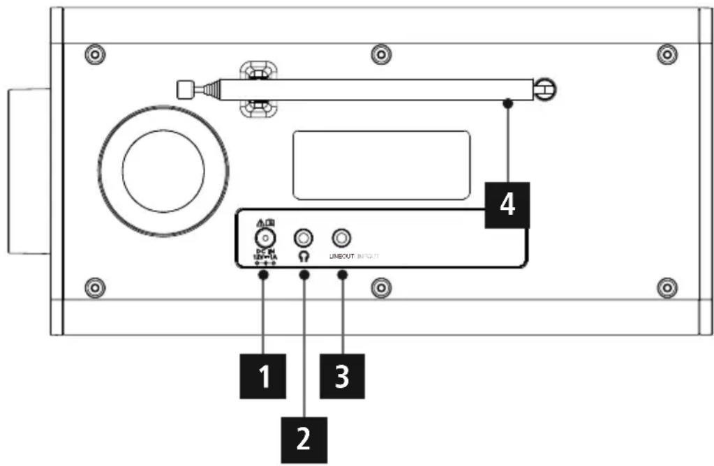
5.1 Achteraanzicht

| Nr. | Benaming | Functie |
| 1 | LichtnetaansluitingAansluitingvandemeegeleverdenetadaptervoordevoeding | |
| 2 | Koptelefoonaansluiting(3.5mm) | Analogeaansluitingmetdraadgebondenkoptelefooonmet3,5-mm jack-aansluiting |
| 3 | Line-Out(3.5mm) | Analogeverbindingmetexternaluidsprekersenandere audioapparatuurviaeen3,5-mmjack-kabel |
| 4 | AntenneAntennevoorontvangstvanDAB/FM-signalen | |
5.2Vooranzicht

| Nr. | Toets | Benaming |
| 1 | Favori te toets1 | |
| 2 | Favori te toets2 | |
| 3 | Favori te toets3 | |
| 4 | Favori te toets4 | |
| 5 | Aar on/od kelaar | |
| 6 | Radioave | |
| 7 | Auto fargf ezenderzoekfunctie | |
| 8 | Zende listonen | |
| 9 | ALARM | Wekkerinstellingenopenen |
| 10 | Navigatie/OK/Volume | |
| 11 | Display |
6.Bedieningsconcept
6.1 Algemene bediening
| Symbool | Benaming | Functie |
| Hand- s ymboolEén | keerdukken | |
| Hand - symbool | MeerdereKaren drukken | |
| Hand - symbool | Herhaaldelijk drukken | |
| Hand - symbool | 3 secondenginedrukt houden |
| Toets | Benaming | Functie |
| NAVIGATE | Draaiknop Navigatie | ·Navigatievoorwaartsinhuidigemenu ·Navigatieachterwaartsinhuidigemenu ·V erminderthetvolumevandehuidigeweergave ·V erhoogthetvolumevandehuidigeweergave |
| Draaiknop Druktoets | ·B evestigingstoetsomhemontenteelgemarkeerdemenuofde gemarkeerdefunctieteopenen | |
| ON/OFF | Aan-/uit-toets | ·De r adioaan-enuitzetten ·Lange druk op de toets: (ca. 8 seconden): Opent het instellingenmenu |
| RADIO | Radiotoets | ·W ij zigtdeinhoudsweergave Vandezenderinformatie ·Lange druk op de toets: (ca. 3 seconden): Gaat maar de FM-modus ·Geopende menu's worden gesloten en u keert terug maar het afspeelschem |
| SEARCH | Automatische zenderzoekfunctie | ·A utomatischezenderzoekfunctie |
| LIST | Zenderlijst openen | ·Opent de zenderlijst (DAB/DAB+) |
| ALARM | Wekkertoets | ·O pentdewekkerinstelleningen ·L angedrukopdetoets:Activeert/deactiveertwekker1 |
6.2 Favorietenbeheer
| Toets | Benaming | Functie |
| 1 | [1]-toets | ·Korte druk op de toets: Opslaglocatie voor favoriet 1 voor actueleafspeelmodusopenen ·Lange druk op de toets: Sla de huidige zender op de opslaglocatievoorfavoriet1op |
| 2 | [2]-toets | ·Korte druk op de toets: Opslaglocatie voor favoriet 2 voor actueleafspeelmodusopenen ·Lange druk op de toets: Sla de huidige zender op de opslaglocatievoorfavoriet2op |
| · | ||
| 4 | [4]-toets | ·Korte druk op de toets: Opslaglocatie voor favoriet 4 voor actueleafspeelmodusopenen ·Lange druk op de toets: Sla de huidige zender op de opslaglocatievoorfavoriet4op |
7.Ingebruikname
7.1 De radio aansluiten en in gebruik nemen
Waarschuwing

- Gebruik het product alleen met een goedgekeurd stopcontact dat op het openbare stroomnet is aangesloten. Het stopcontact moet in de buurt van het product zijn aangebracht en goed bereikbaar�.
- Het product met behulp van de schakelaar in/uit van het net scheiden - indien er geen schakelaar is, trektu de v oedingskabelaandestekkeruithetstopcontact.
- Let erop dat bij meervoudige stopcontacten de aangesloten verbruikers nicht het toegestane totale opgenomenvermogenoverschrijden.
-
Als u het product gedurende langere tijd Niet gebruikt, haal dan de stekker uit het stopcontact.
-
De voedingsadapter is geschikt voor een netspanning van 100-240 V en kan dus worden gezruikt in vrijwel alle elektriciteitsnetten op basis van wisselstroom. Let op: hiervoor kan een landspecifieke adapternodigzijn.
- Een bijbehorende productselectie vindt u op www.hama.com.






Wannerhetproductisaangeslotenophetstopcontact,vindtddeinitialisatieplaats. Deradiowordtgestart.
NAVIGATIE EN REGELI
8. Navigatie en regeling
Nadat de radio voor de eerste keer geinitialiseerd is, zet u hem indien nodig aan met de ON/OFF-toets (power-toets)omtebeginnenmethetinstellenvanhetproduct.Hieronderwordendebetreffende stappen kort toegelicht, nadere informatie is te vinden in de betreffende gedetailleerde hoofdstukken.
8.1 Bedieningsopties
Voordealgemenebedieningvanderadio,ziehetbedieningsconcept.
Deradiokanwordengebruiktmetdevolgendebedieningsopties:
1.Bedieningselementenophetapparaat
8.2Tijdinstellungen
Deradiokanwordenweergevenin12-uursformaat(am/pm)of24-uursformaat.
8.3 Schermweergave
Er worden drie verschillende weergaven van de display-inhoud ondersteund. Hier kurz u kiezen:tussen volledigetekstweergave,beeld-entektstweergaveenvolledigschemmetondertitels.
8.4Favorietenbeheer
Om de momenteel afgespeele de zender als favoriet op te slaan, houdt u een willekeurige favorietentoets gedurende 3 seconden ingedrukt. U kunt een erder opgeslagen favoriet selecteren door kort op een van defavorietententoetsentedrukken.
9.DAB-radio
Deze radio ontvangt alle gangbare frequencies voor digitale radio in het bereik van 174 MHz tot 240 MHz (band III, kanalen 5A tot en met 13F). De automatische DAB-zenderzoekfunctie begint vanzelf bij de eerste start in de DAB-modus. Zodra dit is voltooid, worden de huidige zenderlijst weergegeven.
U krijgt toegang tot de volgende door op een van de toetsen te drukken.
9.1Zenderlijst
De zenderlijst besteht een volledige weergave van alle radiozenders dieijdens de LASTE volledige zoekactiezijn g evonden.
Navigeer aan de gewenste zender die u wilt oproepen en bevestig dele ze keuze. De radio begint nu met deweergavevandebetreffendeender.
Er staat een ? voor zenders die momenteel Nieteer beschikkaar+zijn.
9.2Volledigzoeken
Alsdelocatievandereradioverandertofalsernieuwezenderskunnenwordenontvangen,ishet raadzaamhetzookennaarzendersopnieuwuitevoeren.Hethelefrequentiebereikwordtopnieuw doorzochtendezenderlijstwordtbijgewerkt.
10.FM-radio
- Als de gewenste zender Niet via DAB kan worden ontvangen,kest u ook zenders via FM ontvangen. Om de FM-ontvangst in te stellen, houdt u de [RADIO] (6) ca. 5 seconden ingedrukt.
- De instelling van de FM-ontvanger gaat open; u kunt deze bedieren door aan de knop te draaien. Doorlangzaamaandeknoptedraaien,wordtdefrequentieaangepastinstappenvan0,05MHz. Als u de knop sneller draait, wordt de freiuentie in stappen van 0,5 MHz aangepast.
- Als u de gewenste zender hebt ingesteld, bevestigt u de instelling door op de draaiknop te drukken.
- H etdisplaytoont"FM"opdeeersteregelomdeontvangstvanFM-radioaantegeven. Deingesteldefrequentiekanookaaneensneltoets(zie10.)wordentoegewezen.
- Als u de frequentie wilt aanpassen, drukt u nogmaals op de draaiknop (10) om de frequentie-insteling teactiveren.




WEKKER


11.Wekker
De radio heeft twee individuel instelbare wektijden.
12.1Instellingen
Wekker 1 en wekker 2 worden identiek geconfigureerd en makeh het vastleggen van twee afzonderlijke wektijdenmogelijk.
Druk op [ALARM] (9) om maar het menu met de instellenen te gaan. Selecteer wekker 1 of 2 met de draaiknop(10).Bevestiguwkeuzedooropdedraaiknop(10)tedrukken.
Stap1
Draiaandedraaiknop(10)omtewisselentussen"AAN"(wekkeractief)en"UIT"(wekker gedeactiveerd). Als u "UIT" selekteert, worden de instelling beeingd en keert u terug maar het startschem vanhetwekkernenu.
Stap2
Draai aan de draaiknop om deijd in uren te selecteren. Bevestig de selectie door op de draaiknop (10) te drukken. Herhaal verwolgens het instellingsproces om de wektijd in minuten te configureren.
Stap3
Kies nu de dagen waarop de wekker actief moet zich; u hebt de volgende opties om uit te kiezen: a) Dagelijks Dewekkerisvanmaandagtotzondagactief
b) Eenmalig De wekker is maar een keer actief, namelijk zodra de ingesteldeijd de volgende keerwordtbereikt.
c) Ma-vr De wekker is van maandag tot vrijdag actief
d)Za-zo Dewekkerisvanzaterdagtotzondagactief
e) Dagen kiezen Met deze selectie kommt u in een keuzemenu waar u de gewenste dag (maandag-zondag)vrijkuntkiezen. Alsereendagisgeselecteerd, danwordtditdooreen symbol(√) a angegeven.
Stap4
Kies nu of u gewekt wilt worden door een werktoon (geluid) of de radio (radio). Als u radio selecteert, kunt u kiezen+tussen favorieten 1 en 2 die via de sneltoetsen zich opgeslagen.
Stap5
Selecteer het volume waarmee u wilt worden geweekt. Bij deze instelling maakt het Niet UIT op welk volumederadiodelaatstekeerheeftgewerkt.
Aanwijzing

Met de toets [ALARM] (9) keert u'erug maar de vorige stap.
De instelling van de wekker is nu voltooid. Zodra de wekker actief is, kurz u de sluimerfunctie activeren door op de draaiknop te drukken. U kurz de sluimertijd wijzigen door herhaaldelijk op de draaiknop (10) te drukken. Met [ALARM] (9) deactiveert u de wekker.
Aanwijzing

U kurz wekker 1 activeren en deactiveren door [ALARM] (9) ingedrukt te houden. Deze snelkiesfunctie werktookalsderadiozichindestand-bymodusbevindt.
Als de wekker actief is, worden links van dearend het wekkersymbol weergegeven. Als de radio isuitgeschakeld,wordtlinksvandedatumhetwekkersymbolweergegeven.
Het symbol voor wekker 2 bevindt zich aan de rechterkant. Wekker 2 kan Niet met een sneltoets wordengeactiveerd.
12. Systeeminstallingen
Zorg ervoor dat de radio is ingeschakeld om toegang te krijgen tot de systeeminstelleningen.
HoudhiervoordeAAN/UITgedurende8 s econdeningedrukt.
12.1 Beeldschermstand-by
Selecteerenhelderheidsniveauauvoorhetdisplaydatindestand-bymodusmoetwordengebruikt.
12.2Tijndinstallingen
Deklokkanwordenweergegevenin12-uursformaat(am/pm)of24-uursformaat.
12.3Schemmweergave
Er worden drie verschillende weergaven van de display-inhoud ondersteund. Hier kurz u kiezen:tussen volledigetekstweergave,beeld-entektstweergaveenvolledigschermmetondertitels.
12.4Taalkeuze
Hierkaneenvandebeschikbare systeemtalenwordengeselecteerd.
12.5SW-versie
Dehuidigesoftwareversievanderadiowordtweergegeven.
12.6Fabrieksinstellungen
Met deze functie=kunt u uw radio softwarematig terugzetten op de fabrieksinstellungen. Bevestig de vraag met "JA" om de procedure te starten.
Aanwijizing

Problemen en storingen können möglich worden opgelost door de fabrieksinstellungen in te stellen. Deequalizer-instellen, uwfavorietenendeopgeslagennetworkkprofielenwordenechterwel permanentverwijderd.
Notice-Facile