DR1000 - Radio HAMA - Notice d'utilisation et mode d'emploi gratuit
Retrouvez gratuitement la notice de l'appareil DR1000 HAMA au format PDF.
| Caractéristiques techniques | Radio numérique DAB+/FM, écran LCD rétroéclairé, haut-parleur intégré de 2 W |
|---|---|
| Utilisation | Réception de stations de radio numériques et analogiques, réglage facile des stations, fonction réveil |
| Maintenance et réparation | Nettoyage régulier de la grille du haut-parleur, mise à jour du firmware si disponible |
| Sécurité | Utiliser uniquement avec l'adaptateur secteur fourni, éviter l'exposition à l'eau |
| Informations générales | Dimensions compactes, poids léger, idéal pour une utilisation à domicile ou en déplacement |
FOIRE AUX QUESTIONS - DR1000 HAMA
Téléchargez la notice de votre Radio au format PDF gratuitement ! Retrouvez votre notice DR1000 - HAMA et reprennez votre appareil électronique en main. Sur cette page sont publiés tous les documents nécessaires à l'utilisation de votre appareil DR1000 de la marque HAMA.
MODE D'EMPLOI DR1000 HAMA
2.1Explicationdessymbolesd'avertissementetdesremarques. 17
2.2 Contenu de I'emballage 17
- Consignes de sécurité 18
-
Informations et indications avant la mise en service 18
-
Présentation de la radio et des accessoires 19
5.1Vuearriere. 19
5.2Vue de face 20
6.Concept de fonctionnement 21
6.1 Fonctionnementgénéral 21
6.2Gestiondesfavoris 22
7.Mise en service 23
7.1 Connexionetmiseenservicedelaradio. 23
- Navigation et commande 24
8.1Optionsdefonctionnement 24
8.2 Paramétres horaires 24
8.3 Affichage à l'écran 24
8.4Gestiondesfavoris 24
- Radio DAB 25
9.1Listedesstations 25
9.2 Recherche complete. 25
10.RadioFM. 25
11. Réveil 26
- ParamÉtres systÉme. 27
12.1Veiledel'écran. 27
12.2 Paramètres horaires 27
12.3 Affichea a l'ecran 27
12.4Selectiondelalangue 27
12.5Versionlogicielle 27
12.6 Paramétres par défaut 27
- CaracteristiQues techniQues 28
2.Introduction
Nous vous remercions d'avoircision un produit Hama! Veuillez prendre le temps de dire l'ensemble des remarques et consignes suivantes. Veuillez conserver ce mode d'emploi à portée de main afin de pouvoir le consulter en cas de besoin. Transmettez-le au nouveau propriétaire avec l'appareil le cas échéant.
2.1 Explication des symboles d'advertisement et des remarques
RisQued'electrocution

Cesymboleindiqueunrisquedecontactavecdespartiesnonisolésduprouitsusceptiblesde conduire un c ourantelectriquecapabledeprovoqueruneelectrocution.
Avertissement

Ce symbole est utilisé pour indiquer des consignes de sécurité ou pour attirer votre attention sur des dangereursquesparticuliers.
RemarQue

Cesymboleestutilisépourindiquerdesinformationssupplémentairessoudesremarquesimportantes.
2.2 Contenu de l'emballage
- RadionumeriqueDR1000
B locsecteur(12V1A) - M oded'emploi


3. Consignes de sécurité
- Ce produit est destiné à une utilisation domestique non commerciale.
- Protégéz le produit de toute saleté, humidité, surchauffe et utilisez-le uniquement dans des locaux secs.
- Cet apparéil, comme tout apparéil électrique, doit être gardé hors de portée des enfants!
- Protégez le produit des secousses violentes et évitez tout chocol ou toute chute.
- N'utilise pas le produit en dehors des limites de puissance indiquées dans les caractéristiques techniques.
- Tenez les emballages d'appareils hors de portée des enfants, risque d'étouffement.
- R ecyclezlesmatériauxd'emballageconformémentauxprescriptionslocalesenvigueur.
- N'apportez aucune modification à l'appareil. Toute modification vous ferait perdre vos droits de garantie.
- N'utilise pas le produit à proximé immediate d'un chauffage, d'autres sources de chaleur ou à la lumière d'irectedusoleil.
N 'utilisezpasleproduittansdeszoneosoulesproduitsélectroniquesnesontpasautorisés. - U tilisezl'articledansdesconditionsclimatiquesmoderesuniquement.
- Le produit est exclusivement prévu pour une utilisation à l'intérieur d'un�除 un�除 un danger.
N 'utilisezpasl'appareildansunenvironnenthumideetevitezlesprojectionsd'eau. - Dispossez tous les cables de sorte à ce qu'ils ne représentent aucun de danger de trèbuchement.
- Nep liezpasetn'écrasepzpaslacable.
- Pour retirer le cable, tirez directement au niveau de la fiche et non du cable.
RisQued'électrocution

- Ne tentez pas d'ouvrir le produit en cas de détérioration et cèsez de l'utiliser.
- N'utilise pas le produit lorsque l'adaptateur, le cable de connexion ou le cable d'alimentation sont endommages.
- Ne tentez pas de réparer le produit vous-même ni d'effectuer des travaux d'entretien. Déléguez les travaux d'entretien à des techniciens qualifiés.
Avertissement

- Pression sonore elevée!
- I I existeunrisquedetroublesauditifs.
- Afin d'eviter toute perte d'audition, évitez l'écoute à un volume élevé pendant de longues périodes.
- Maintenez toujours le volume à un niveau raisonnable. Un volume excessif - même à courte durée - estsusceptibled'endommagervotre ou uie.
- L'utilisation du produit limite votre perception des bruits ambiants. N'utilisez donc pas le produit lorsquevousconduisezunvéculeoufaitesfonctionnerunemachine.

4. Informations et indications avant la mise en service
RemarQue - Optimisation de la reception

- Le cas échéant, testez différents endroits afin d'obtenir la meilleure réception possible.
5. Présentation de la radio et des accessoires
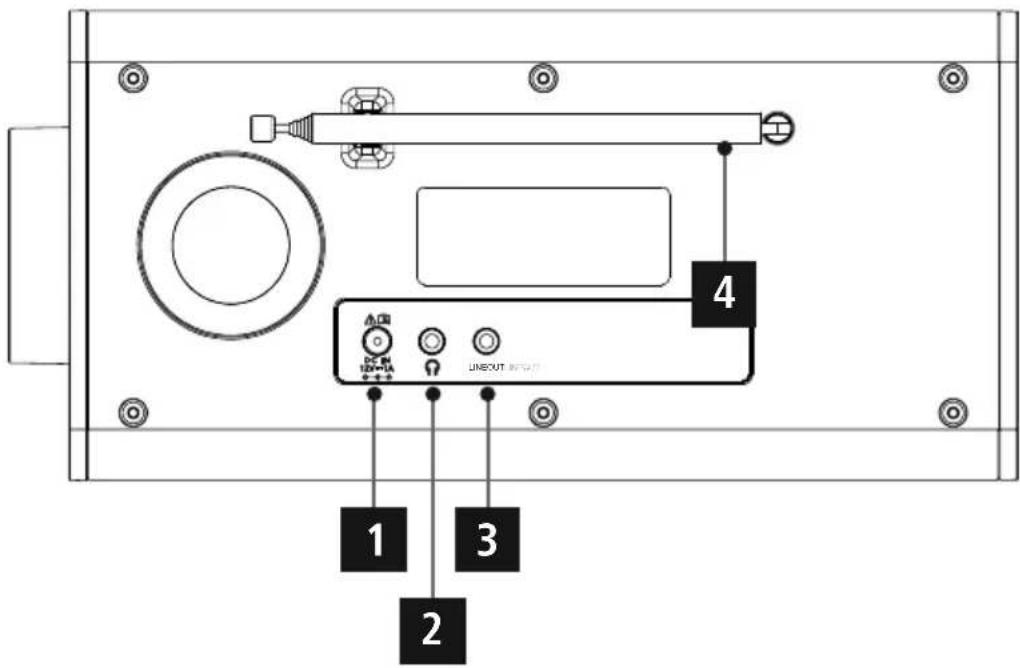
5.1VuearriEre

| NoDésignationFonction | |
| 1Raccordementausecteur | Connexiondel'adaptateursecteurfournipourl'alimentation électrique |
| 2Sortiecasque(3,5mm) | Connexion analogique avec casque filaire avec connecteur jack 3,5mm |
| 3 | Line-Out(Sortiedeligne)(3,5 mm) |
| 4AntenneAntennepourlaréceptionDAB/FM | |
5.2Vuedface

NoToucheDésignation
1Touchduavori1
2Touchcavori2
3Touch 3avori3
4Touchavori4
5Intercen/er marche/arret
6Eco noliterdio
7 SEARCH
8 LIST A
9Accedearglagesduréveil
10Navigation/OK/Volume
11Ecran
6. Concept de fonctionnement
6.1 Fonctionnement général
| SymboleDesignationFonction | |
| Symbole- m ainAppuyerunefois | |
| 2x | Symbole - main Appuyer à plusieurs reprises |
| Symbole- m ainAppuyerdefaçonnégétée | |
| 3s | Symbole - main Maintenir pendant 3 secondes |
| ToucheDésignationFonction | ||
| NAVIGATE | Boutonrotatif Navigation | • N avigationversl'avantdanslemenuactuel • N avigationversl'arrière d'anslemenuactuel • R éduitilevolumedelalecture en cours • A ugmentelevolumedelalecture en cours |
| Boutonrotatif ToucheOK | • T ouchedeconfirmationpourouvrirlemenuoulafonctionen surbrillance | |
| ON/OFF | Touchemarche/ arrêt | • A Ilumerétéindre l a r di o • Appui long sur la touche (envviron 8 secondes): ouvre le menu des paramètres |
| RADIO | Toucheradio | • Modifie l'affichage du contenu des informations de la station • Appui long sur la touche (envviron 3 secondes): permet de passer aumodeFM • Tous les menus ouverts sont fermés et vous revenez à l'écran de lecture |
| SEARCH | Recherche automatiquestations | • R échercheautomatiquedestations |
| LIST | Accédera l a list desstations | • Ouvre la liste des stations (DAB/DAB+) |
| ALARM | Touchederéveil | • Ouve l esréglagesduréveil • Appui long sur la touche: active/désactive le réveil 1 |
| ToucheDésignationFonction | ||
| 1 | Touche[1] | Appui bref sur la touche : accès à l'emplacement mémoire dufavori1 p ourdemodelecture a c t u e l eAppui long sur la touche : mémorisation de la station actuellesurl'emplacementmémoire d u f avoir1 |
| 2 | Touche[2] | Appui bref sur la touche : accès à l'emplacement mémoire dufavori2 p ourdemodelecture a c t u e l eAppui long sur la touche : mémorisation de la station actuellesurl'emplacementmémoire d u f avoir2 |
| : | ||
| 4 | Touche[4] | Appui bref sur la touche : accès à l'emplacement mémoire dufavori4 p ourdemodelecture a c t u e l eAppui long sur la touche : mémorisation de la station actuellesurl'emplacementmémoire d u f avoir4 |
7. Mise en service
7.1 Connexion et mise en service de la radio
Avertissement

- U tilisezceproduituniquementsurunepriseelectriquerelieeaureseauelectriquepublicet homologuee. La prise de courant doit etre situee a proximite de l'appareil et doit etre facilement accessible.
- Coupez l'appareil du secteur à l'aide de l'interrupteur - débranchez la prise de courant en cas d'absencé d'interrupteur.
- En cas de prises multiples, voirlez à ce que les apparèils consommateurs branchés ne dépassent pas lapuisanceabsorbétotaleadmissible.
-
Débranchezl'appareilsivousnel'utilisezpassurunepériodeprolongée.
-
Le bloc secteur convient pour une tension de réseau de 100 à 240 V et peut donc être utilisé dans presque tous les réseau électriques à courant alternatif. Veuillez toute fois note qu'un adaptateur peut être eventuellement nécessaire dans certains pays.
- L'entreprise Hama propose une gamme de produits adaptés sur www.hama.com.
1


2

30sec
3

Unefoisl'appareilbranchésurlaprise,l'initialisationalieu. Laradiodémarre.
NAVIGATIONNETCOMMANDE
8. Navigation et commande
Après avoir initiaisé la radio pour la première fois, allumez-la en utilisant la touche (ON/OFF) (touche d'alimentation), si nécessaire, pour commencer à configurer le produit. Les étapes correspondantes sont brievement expliquéesci-après,desinformationscoplémentairesssontdisponiblesdansleschapitres détailléscorrespondants.
8.1Optionsdefonctionnement
Pour le fonctionnement général de la radio, veuillez vous reporter au concept de fonctionnement.
Laradiopeutétre u tiliseaveclesoptionsdecommandesuivantes:
- Élémentsdecommmandedel'appareil
8.2 ParamÉtres horaires
Larodiopermetl'affichageenformat12heures(am/pm)ou24heures.
Trois représentations différentes du contenu de l'affichage sont prises en charge. Ici, vous pouze désirer entre l'affichage du texte intégral, l'affichage de l'image et du texte et le plein écran avec sous-titres.
Pour enregistrer la station en cours de lecture comme favori, appuyez sur n'importe qu'elle touche de favori pendant 3 secondes. En appuyant brievement sur l'une des touches de favoris, vous pouvez selectionnera n ouveauunfavoriprecedementenregistré.
9. RadioDAB
Cetteradiorecoittouteslesfréquencesderadiosnumériquescourantesdansuneplagede174
MHz à 240 MHz (bande III, canaux 5A à 13F). La recherche automatique de stations DAB démarre
automatiquelementrsdupremierlancementenmodeDAB.Desquecetteopérationestterminée,laliste
desstationsactuellesestaffiche.
Enappuyantsurl'undesboutons,vouspouvezaccederauxelementsssuivants.
9.1Listedes st a t i ons
La liste des stations offre un affichage complet de toutes les stations de radio qui ont ete trovues lors de la derniere recherche complete.
Naviguez jusqu'à la station à laquelle vous souhaitez acceder et confirmez cette seLECTION. La radio commerciale sà diffuserlastationcorrespondante.
Lesstationsquinesontplusdisponiblesactuellesmentsontprecededesparun?.
9.2 Recherche complète
Si l'emplacement de la radio change ou si de nouvelles stations peuvent etre reçues, il est conseilé de proceder à une nouvelle recherche de stations. L'ensemble de la gamme de fréquences est à nouveau recherche et la liste des stations est mise a jour.
10.RadioFM
- Si la station que vous souhaitez ne peut pas etre reue via DAB, vous pouze egalement recevoir des stations via FM. Pour parameter la reception FM, appuyez sur [RADIO] (6) et maintenez la pression pendantenviron5 s econdes.
- Le réglage du récepteur FM s'ouvre, il s'utilise en tournant le bouton de réglage. Si vous le tournez lentement, la fréquence estrégéeparincrémentde0,05MHz.
Tournezleboutonderéglageplusrapidementpourreglerlaféquenceparincrementde0,5MHz. - Lorsque vous avez trouve la station souhaitatione, confirmez le réglage en appuyant sur le bouton de réglage.
L'ecran affiche "FM" sur la première ligne pour indiquer la réception de la radio FM.
La fréquence programmee peut également être affectée à une touche de numérotation abrégée (voir 10).
- Si vous poulez régler la fréquence, appuyez à nouveau sur le bouton de réglage (10) pour activer le réglagedelafréquence.



11.Réveil
Laradiodisposedeuxheuresderéveildifferentes.
12.1Réglages
Réveil 1 et Réveil 2 sont configurés de manière identique et permettent l'enregistrement de deux heures déréveildifférentes.
Appuyez sur [ALARM] (9) pour ouvrir le menu des paramètres. Sélectionnez le réveil 1 ou 2 à l'aide du bouton de réglage (10). Confirmez votre sélection en appuyant sur le bouton de réglage (10).
Étape1
Tournez le bouton de réglage (10) pour passer de "ON" (alarme active) à "OFF" (alarme désactivée). Si vous sélectionnez "OFF", la configuration est terminée et vous revenez à l'écran de départ du menu du réveil.
Étape2
Tournez le bouton de réglage pour sélectionner le temps en heures, confirmez la sélection en appuyant sur le bouton de réglage (10). Repétez ensuite la procédure de réglage pour configurer la durée de l'alarmeenminutes.
Étape3
Selectionnez à présent les jours où lereveil doit être actif ; vous avez ici les options suivantes :
a)touslesjours Lereveilestactifdulundiaudimanche
b) une fois Le réveil n'est actif qu'une seule fois, à savoirès la prochaine heures programmee.
c) lun - ven Le réveil est actif du lundi au vendredi
e) selectionner les jours Cette selection vous permet d'acceder a un menu de selection ou
vouspourrezchoisirlibrementlejoursouhaite(lundi-dimanche).Si
unjourestselectionné,ilestindiquéparunsymbole(√).
Étape4
Choisissez à présent si vous voulez êtrereveillé par une sonnerie (son) ou par la radio (radio). Lorsque vous sélectionnez Radio, vous pouze désir entre les favors 1 et 2 enregistrés sur les touches de numération abrogée.
Étape5
Selectionnez le volume auquel vous souhaitez estreveille. Le volume dernierement regle pour la radio ne joueaucunrolepourcereglage.
RemarQue

Avec la touche [ALARM] (9), vous revenez à l' étape précédente.
Le réglage du réveil est maintainant terminé. Une fois que le réveil est actif, vous pouvez l'activer en appuyantsurleboutonderéglagepourlafonctionderépetitiondel'alarme.Appuyezplusieursfois sur le bouton de réglage (10) pour modifier la durée de la répetition du réveil. Avec [ALARM] (9), vous désactivezleréveil.
RemarQue

Vouspouvez activer et desactiver lereveil 1 en maintainant la touche [ALARM] (9) enfoncée. Cette fonctiondenumérotationabregéefonctionnégalementlorsquelaradioestenmodedeville.
Si le réveil est actif, le symbole du réveil s'affiche à gauche de l'heure. Si la radio est étente, le symboleduréveils afficheà g auchedeladate.
Le symbole du réveil 2 se trouve donc sur le côte droit. Le réveil 2 ne peut pas être activé par une touchedenumérotationabrégée.
PARAMETRESSYSTEME
12. ParamÉtres systÉme
Pouraccederauxparametresdusysteme,assurez-vousquelaradioestallumee. Appuyez ensuite sur le bouton ON/OFF et maintenez-le enforcé pendant 8 secondes.
12.1 Veille de I'ecran
Selectionnez un niveau de luminosité pour l'écran qui sera appliqué en mode de veille.
12.2 ParamÉtres horaires
Laradiopermetl'affichageenformat12heures(am/pm)ou24heures.
12.3 Affichageal'ecran
Trois représentations différentes du contenu de l'affichage sont prises en charge. Ici, vous pouzeCHOISER entre I'affichage du texte intégral, I'affichage de I'image et du texte et le plein écran avec sous-titres.
12.4 Sélection de la langue
Vouspouvezselectionnericil'unedeslanguesexistantesdusystème.
12.5 Versionlogicielle
Laversionactuelledulogicieldaradios'affiche.
12.6 ParamÉtres par défaut
Cette fonction vous permet de réinitialiser votre radio aux paramètres d'usine du point de vue logiciel. Confirmez la question en sélectionnant "OUI" pour lancer le processus.
RemarQue

Les problèmes et les dysfonctionnements peuvent eventuèlement être réparés avec le rétablissement desparamètrespardéfaut.
Tous les prérglages, comme l'égaliser, les favorsis et les profils reseaux, sont cependant irrévocablements supprimés.
13. CaracteristiQues techniQues
| Caracteristiques techniques | |
| Écran4,0"(10,16cm)TFT | |
| Enceinte | Enceinte pleine gamme (5 W RMS) |
| Alimentationénélectricité | 12,0V1-0A 1 2,0W |
| Langues prises en charge | Néerlandais, Français, Anglais |
| Contenade l'emballage | Radionumérique,blocsecteur |
| Connexionsaudio | |
| SortiesCasque3,5mm,sortedeligne |
| Sources | F | |
| DAB/DAB+ (174,928-2 39,2MHz) | ✓ | 4 |
| FM (87,5-1 08MHz) | ✓ | |
1.Tableofcontents
-
Table of contents 30
-
Introduction 31
Notice Facile