FS 913 M - Oven FRANKE - Gratis gebruiksaanwijzing en handleiding
Vind de handleiding van het apparaat gratis FS 913 M FRANKE in PDF-formaat.
Veelgestelde vragen - FS 913 M FRANKE
Gebruikersvragen over FS 913 M FRANKE
0 vraag over dit apparaat. Beantwoord die u kent of stel uw eigen vraag.
Stel een nieuwe vraag over dit apparaat
Download de handleiding voor uw Oven in PDF-formaat gratis! Vind uw handleiding FS 913 M - FRANKE en neem uw elektronisch apparaat weer in handen. Op deze pagina staan alle documenten die nodig zijn voor het gebruik van uw apparaat. FS 913 M van het merk FRANKE.
GEBRUIKSAANWIJZING FS 913 M FRANKE
NL Gebruikershandleiding Multifunctionele oven Touch
Over deze handleiding 122
Gebruik 122
Veiligheidsgegevens 122
Correcte installatie en plaatsing 123
Gebruik 123
Onderhoud en reiniging 124
Reparatie 124
Buiten bedrijf stellen 124
Gegevens voor energiebesparing 124
Overzicht 125
Oven 125
Bedieningspaneel 126
Menupictogrammen op display 126
Eerste keer inschakelen 129
Display instellen 129
Werking 130
Koken in handmatige modus 130
Eindtijd van bereiding instellen 132
Timer instellen 132
Gebruik van temperatuursonde 133
Aansluiting 133
Handmatige kookprogramma's 134
Kooktabel 136
Geteste bereidingen 138
Complete menoprogramma's 139
Compleet vleesmenu 139
Compleet vleesmenu - lage stand 141
Compleet vismenu 143
Compleet vismenu - lage stand 145
Compleet menu 4 Pizza's en Brood 147
Compleet menu 4 Pizza's en Brood - lage stand 148
Menu Wellness 148
Reiniging en onderhoud 149
Algemene aanbevelingen 149
Gebruik de zelfreinigingsfunctie 149
Oven reinigen 150
Ovendeur reinigen 150
Ovendeur verwijderen 150
Ovendeur bevestigen 150
Glaspanelen van ovendeur reinigen 150
Zijframes en telescopische geleiders reinigen 152
Ovenlamp vervangen 152
Onderhoud en reparatie 153
Verwijdering 153
Klantenservice 153
Bedankt voor het kiezen van een Franke-product.
Voordat u deze oven gebruikt moet u zorgvuldig de instructies en het advies in deze handleiding lezen. Hierdoor gebruikt u de oven op de juiste manier en zorgt u voor een langdurige probleemloze werking. Bewaar deze gebruikershandleiding voor latere naslag.
Frames by Franke is een uiterst geavanceerde oven die thuis en professioneel koken kan revolutioneren. De al beproefde Dynamic Cooking Technology (DCT) is geügraded met een touchscreen HD-display, waardoor u elk kookproces met een simpele handeling kunt programmeren, plannen en bedienen.
Met Frames by Franke heeft u alle keuze:
U kunt besluiten om "old style" te koken, waarbij u wordt geholpen door de ultieme technologische upgrades van de oven.
Of u kunt genieten van voorgeprogrammeerde recepten en complete menu's die uw dagelijkse kookproces makkelijker, sneller en gezonder maken.
U kunt kiezen uit de volgende opties:
HANDMATIG - Koken in handmatige modus en het systeem, de temperatuur en tijd naar voorkeur instellen. AUTO - Koken in automatische modus en genieten van een groot aantal recepten en complete menu's.
ECO COOKING – Koken in automatische of ecologische modus en genieten van een groot aantal gezonde recepten en complete menu's.
Een technologische en esthetische upgrade die ontwerp en prestaties perfect combineert. Frames by Franke biedt een stuk elegantie die overal past en dankzij de kwaliteitsmaterialen en aandacht voor details in elk Franke-product uitmuntende betrouwbaarheid garandeert.
oVer DeZe HanDLeIDInG
Deze gebruikershandleiding is van toepassing op diverse modellen van het apparaat. Het is daarom mogelijk dat enkele van de beschreven kenmerken en functies niet op uw specifieke model van toepassing zijn.
Lees de gebruikershandleiding zorgvuldig vóór gebruik.
▶ Bewaar deze gebruikershandleiding.
- Gebruik het in deze gebruikershandleiding beschreven apparaat uitsluitend volgens het bedoelde gebruik.
Symbool Betekenis

Waarschuwingssymbool. Waarschuwing tegen risico's op letsel.
▷ Veiligheidsacties en waarschuwingen om letsel of schade te voorkomen.
▶ Actiestap. Een actie die moet worden ondernomen.
■ Resultaat. Resultaat van één of meer actiestappen.
√ Voorwaarde waaraan moet worden voldaan voordat de volgende actie uitgevoerd kan worden.
GeBrUIk
De oven is exclusief ontworpen voor niet-professioneel, huishoudelijk gebruik.
De oven levert professionele prestaties in de eigen keuken. Het is een zeer veelzijdig apparaat waarmee veilig en eenvoudig diverse kookmethoden kunnen worden toegepast.
VeILIGHeIDSGeGeVenS
▷ Lees de gebruikershandleiding en veiligheidsgegevens zorgvuldig vóór gebruik van de oven.
▷ Bewaar de handleiding voor latere naslag.
De fabrikant kan niet aansprakelijk worden gesteld voor mogelijke schade als gevolg van een onjuiste installatie en onjuist, onzorgvuldig of onredelijk gebruik van het apparaat.
De elektrische veiligheid van de oven is uitsluitend gegarandeerd als die volgens de geldende richtlijnen is aangesloten op een aardingssysteem.
Om een veilige en efficiënte werking van dit elektrische apparaat te garanderen:
▷ Neem uitsluitend contact op met erkende servicecentra.
▷ Wijzig geen functies van het apparaat.
Kinderen van 8 jaar of ouder en personen met fysieke, zintuiglijke of verstandelijke beperkingen of met beperkte ervaring of kennis mogen het apparaat niet gebruiken of reinigen, uitgezonderd indien ze toezicht hebben van of worden geïnstrueerd door een persoon die verantwoordelijk is voor hun veiligheid.
Kinderen onder 8 jaar mogen het apparaat niet gebruiken of reinigen, zelfs niet onder toezicht. Dit apparaat is geen speelgoed.
▷ Houd kinderen weg van het apparaat en het verpakkingsmateriaal.
▷ Laat geen kinderen bij het apparaat zonder toezicht.
▷ Laat kinderen niet met het apparaat spelen.
▷ Laat kinderen het apparaat of functies tijdens en onmiddellijk na gebruik niet aanraken.
Correcte installatie en plaatsing
Indien de oven permanent wordt aangesloten op het elektriciteitsnet:
Zorg ervoor dat het apparaat uitsluitend wordt geïnstalleerd door de klantenservice, een elektricien of getraind personeel met de juiste kennis/opleiding.
Zorg ervoor dat het apparaat op zo'n manier is geïnstalleerd dat het kan worden ontkoppeld van het elektriciteitsnet, met een afstand die voldoet aan volledige ontkoppeling bij overspanning in categorie III.
▷ Zorg ervoor dat het apparaat rechtstreeks op het stopcontact is aangesloten.
- Zorg ervoor dat er geen adapters, meervoudige stopcontacten en verlengkabels worden gebruikt om het apparaat aan te sluiten.
▷ Zorg ervoor dat het apparaat niet wordt blootgesteld aan weersinvloeden (regen, zon).
Gebruik
Gebruik het apparaat uitsluitend om eten te bereiden en koken.
Gebruik ovenwanten bij het plaatsen van kookgerei in de oven of wanneer u dat eruit haalt.
▷ Lees de handleidingen van de kookapparaten die worden gebruikt met de oven bij gebruik van het apparaat.
Plaats geen stroomkabels van andere elektrische apparaten op hete delen van de oven.
Gebruik de oven niet om voorwerpen in op te slaan.
Gebruik geen brandbare vloeistoffen nabij de oven.
Gebruik uitsluitend de temperatuursonde die voor deze oven wordt aanbevolen.
Risico op oververhitting en gebreken van de oven door geblokkeerde ventilatie!
▷ Bedek de binnenwanden van de oven nooit met aluminiumfolie, vooral niet onder in de oven.
Zorg ervoor dat de doorluchting van de ventilator of de openingen boven de ovendeur niet zijn geblokkeerd.
Schade aan het emaille van de oven door onjuist gebruik van pannen of schalen!
Plaats tijdens het koken nooit pannen of schalen rechtstreeks onder in de oven.
- Plaats pannen en schalen uitsluitend op de rekken of lekbakken op een van de vijf beschikbare niveaus in de oven.

Risico op brandwonden!
Het oven en zijn toegankelijke (onder)delen worden tijdens gebruik zeer heet.
▷ Raak de opwarmelementen in de oven niet aan.

Risico op brandwonden!
Het uiteinde van het handvat op de deur kan heter zijn door de stroming van hete lucht.
▷ Houd bij het openen en sluiten van de deur altijd het handvat in het midden vast.
▷ Zorg ervoor dat de bedieningsknoppen altijd in de uit-stand staan als de oven niet wordt gebruikt.

Risico op elektrische schokken door adigd apparaat!
▷ Schakel niet een beschadigd apparaat in.
▷ Schakel de zekering uit in de zekeringkast.
▷ Neem contact op met de klantenservice.

Risico op elektrische schok!
▷ Raak het apparaat niet aan met vochtige lichaamsdelen.
▷ Gebruik het apparaat niet blootsvoets.
▷ Trek niet aan het apparaat of de stroomkabel om de oven uit het stopcontact te halen.
Onderhoud en reiniging
Vóór onderhoud of reiniging:
▷ Ontkoppel het apparaat van de stroomtoevoer door bijvoorbeeld de zekering in de zekeringkast uit te schakelen.
De oven bevat een speciaal emaille dat makkelijk te reinigen is. Franke raadt echter aan om het regelmatig te reinigen om te voorkomen dat er vuil of etensresten achterblijven.
Gebruik geen grove schurende materialen of scherpe metaalschrapers om de glazen onderdelen van de ovendeur te reinigen, aangezien ze krassen op het oppervlak veroorzaken en het glas kunnen breken.
Gebruik geen stoomreinigers of rechtstreekse waterstralen.

Risico op elektrische schok door gende vloeistof!
Het apparaat bevat elektronische componenten.
▷ Zorg ervoor dat er geen vloeistoffen in het apparaat dringen.
Gebruik geen stoom onder druk om het apparaat te reinigen.
Gebruik geen natte doek om onderdelen te reinigen.
Reparatie
▷ Zorg ervoor dat uitsluitend gekwalificeerd personeel het apparaat installeert of repareert.
▷ Neem in de volgende gevallen contact op met een door de fabrikant erkend servicecentrum of gekwalificeerd personeel:
- Bij twijfel over de intactheid van het product onmiddellijk na het uitpakken
- Tijdens installatie (volgens de fabrieksinstructies)
- Twijfels over de juiste werking van het apparaat
- Storing of slechte werking
- Vervangen van het stopcontact indien niet compatibel met de stekker van het apparaat
- Schade aan de stroomkabel of noodzaak tot het vervangen van de stekker of het stopcontact
Buiten bedrijf stellen
▷ Bel het servicecentrum of gekwalificeerd personeel indien de oven niet langer wordt gebruikt en wordt ontkoppeld van het elektriciteitsnet.
GeGeVenS Voor enerGleBeSParInG
De modi SLOW COOKING en HETE LUCHT
verbruiken minder energie dan de andere beschikbare kookfuncties.
▷ Open de ovendeur zo weinig mogelijk.
▷ Verwarm de oven zo snel mogelijk voor.
▷ Verwarm de oven uitsluitend voor als dit noodzakelijk is voor een goed resultaat.
Als een recept met gratin langer dan 30 minuten wordt opgewarmd met restwarmte, moet u 5-10 minuten vóór het einde het apparaat uitschakelen.
oVerZICHT
Oven

1 Bedieningspaneel
2 Handvat voordeur
3 Glas voordeur
4 Verlichting
5 Sleuven voor rekken en lekbakken
6 Koelventilator (achterkant)
Ventilator
Om de temperatuur bij de deur, het bedieningspaneel en de zijkanten te verlagen, is uw Franke-oven uitgerust met een ventilator die automatisch wordt geactiveerd als de oven heet wordt. Als de ventilator aanstaat wordt lucht tussen het voorpaneel en de ovendeur uit de oven afgevoerd. De snelheid van de lucht die wordt afgevoerd is geoptimaliseerd om ervoor te zorgen dat het niet stoort en geluid tot een minimum beperkt.
De ventilator blijft na het koken aanstaan totdat de oven voldoende is afgekoeld. Zo worden keukenunits beschermd.
Sleuven voor rekken en lekbakken

flowchart
graph TD
A["①"] --> B["②"]
B --> C["③"]
C --> D["④"]
D --> E["⑤"]
E --> F["⑥"]
F --> G["↑"]
style A fill:#f9f,stroke:#333
style G fill:#f9f,stroke:#333
Worden gebruikt voor het juist positioneren van de rekken en lekbakken in 5 vooraf ingestelde posities (afhankelijk van model; 1 tot 5 vanaf onderen). De kooktabel (pagina 136) vermeldt de beste positie voor elk kookproces.
Accessoires Beschrijving

Kan gebruikt worden voor het opvangen van sappen of voor het koken van voedsel rechtstreeks op de lekbak.
Lekbakken moeten als ze niet gebruikt worden uit de oven worden verwijderd. De lekbakken zijn gemaakt van geëmailleerd staal geschikt voor „AA“-voedselklasse.
Rek
Wordt gebruikt voor het ondersteunen van pannen, gebakvormen en alle andere bakken dan de verstrekte lekbakken of voor het bereiden van vlees en vis, vooral met de grill- en turbogrillfuncties, roosteren van brood etc. Voedsel moet niet in direct contact komen met het rek.
Bedieningspaneel

text_image
1 2 3 18-11 MANUAL AUTO ECO COOKING1 Toets
2 Display
3 Menupictogrammen
Toets Toetsnaam Functie

Aan/Uit Start/stop de oven:
Kort indrukken.
Oven uitschakelen:
▶ Druk enige seconden op.

Veiligheid/ vergrendeling
Start een veiligheidsprocedure om toevallige onderbrekingen van uw kookprogramma te voorkomen. Kinderslot activeren:
Kort indrukken.
Procedure / kinderslot ontgrendelen:
Indrukken en 2 seconden vasthouden.

Terug Terug naar vorige menu.

Bevestigen/aan Uw activiteiten en het programma bevestigen:
Kort indrukken.
Programma onderbreken:
▶ Druk en kies tussen Xen . √
Menupictogrammen op display
Hoofddisplay

text_image
18:11 1 2 3 MANUAL AUTO ECO COOKING 18:11 ECO COOKING WELLNESS SETUP1 Actuele tijd
2 Menupictogram
3 Menunaam
| Menupictogram Menunaam Functie | ||
![]() | HANDMATIG | Koken in handmatige modus |
![]() | AUTO | Koken in automatische modus |
![]() | ECO-BEREIDING | Dit menu bevat de volgende programma's:Recepten Eco en Compleet menu EcoKoken met minder energieverbruik door het plaatselijke elektricite-itsnet op de meest ecologische manier te gebruiken. De recepten in dit menu zijn hetzelfde als in de AUTO-modus, maar met een lager energieverbruik voor het kookproces.- In het programma RECEPTEN kunt u uitsluitend op één niveau koken.- In het programma COMPLEET MENU kunt u op vier niveaus koken. |
![]() | WELLNESS | In dit menu wordt het volgende programma aangeboden: WellnessVlees-, vis- en groentehoofdgerecht bereiden op een natuurlijke manier en met een laag vetgehalte. Dit programma vereist langer koken met een lage temperatuur binnen in het voedsel (rond 100°C) zonder toevoeging van olie of andere vetten. Hierdoor worden de oorspron-kelijke voedingswaardes van het voedsel (mineralen, vitaminen etc.) en natuurlijke smaak behouden.- In het programma WELLNESS kunt u uitsluitend op één niveau koken. |
![]() | INSTELLINGEN | In dit menu kunt u het display instellen, bv. tijd, taal, helderheid en contrast. |
![]() | RECEPTEN | In dit menu kunt u uit diverse categorieën recepten kiezen, bv. pasta, groente, vlees, vis, gebak, brood of pizza. |
![]() | COMPLEET MENU | In dit menu kunt u kiezen uit diverse programma's voor complete menu's, bv. vleesmenu, vismenu, 4 pizza's, brood op 4 bakplaten. |
DISPLAY Handmatige modus

text_image
1 2 3 MANUAL 18:11 155 14 160°C 00h 15m 165 01 16 SYSTEM TEMPERATURE DURATION1 Menunaam
2 Menubalk
3 Actuele tijd
4 Secties met programma-instellingen (grijs: actieve instelling)
5 Sectienaam
RECEPTEN, COMPLEET MENU, WELLNESS-display

text_image
1 RECIPIES 18:11 VEGETABLES PASTA MEAT1 Menunaam
2 Actuele tijd
3 Recept of compleet menu met voorbeeldafbeelding en -naam De modus ECO-BEREIDING is hetzelfde, maar de menunaam vermeldt ECO aan het einde.
Display submenu
Dit submenu verschijnt bij het aanraken van elk display in de bovenste menubalk.

text_image
MANUAL 18:17 1 2 3 160°C 00h 30m 18:41 ° PROGRAM TEMPERATURE TRAY INFO TIME1 Actuele tijd. Het thermometer-pictogram verschijnt als de oven aanstaat, opwarmt of is geprogrammeerd.
2 Functiepictogrammen
3 Display van kookprogrammaparameters
Pictogram Pictogramnaam Functie
![]() | Verlichting uit Schakel de interne verlichting aan/uit |
![]() | Terug Verlaat het submenu en ga terug naar het vorige menu |
![]() | Klok resetten Reset de kooktijd en -duur van het kookproces |
![]() | Eindtijd instellen Stel de eindtijd van het kookproces in |
![]() | Timer Stel een alarmtijd in |
Als u de kooktijd heeft geprogrammeerd met een uitgestelde start, vermeldt het display de totale kooktijd en de eindtijd van het kookproces.
eerSTe keer InSCHakeLen
Eerste keer de oven gebruiken:
▶ open de voordeur en zorg ervoor dat de oven leeg is. Verwijder alle accessoires.
Zorg ervoor dat er een goede doorluchting is, bijvoorbeeld door een open deur of raam.
▶ Druk op Ⓐ om de oven te starten.
Hierna verschijnt het hoofddisplay.
▶ Druk op
▶ Selecteer in de sectie SYSTEEM het programma MULTI-COOKING.
▶ Selecteer in de TEMPERATUUR-sectie de maximumtemperatuur (270 °C).
▶ Selecteer in de sectie DUUR 00 ^u 40 ^m .
▶ Start de oven terwijl hij leeg is op maximumtemperatuur met de deur volledig open.
De geur die hierbij vrijkomt is het gevolg van de verdamping van stoffen die worden gebruikt om de oven te beschermen in de periode tussen fabricage en de feitelijke installatie.
Na 40 minuten stopt de oven automatisch en is die gebruiksklaar.
DISPLaY InSTeLLen
Dit hoofdstuk vermeldt hoe u uw displayfuncties volgens uw voorkeuren moet instellen.
Instellen starten
▶ Druk op
■ Het menu INSTELLINGEN met diverse opties verschijnt.
Tijd instellen
▶ Druk op TIJD EN DATUM.
▶ Stel via de lijst de uren, minuten en seconden in.
Taal instellen
▶ Druk op TAAL.
▶ Kies in de lijst uw voorkeurstaal.
Schermhelderheid instellen
▶ Druk op HELDERHEID DISPLAY.
▶ Stel de helderheid van het bedieningspaneel in door een van de segmenten op de balk te kiezen.
Volume van alarmsignaal instellen
▶ Druk op GELUID.
▶ Stel het volume in door een van de segmenten op de balk te kiezen.
Klokweergave instellen
▶ Druk op KLOKWEERGAVE.
▶ Kies uw favoriete display: analoge of digitale klok.
Display uitschakelen
Het display kan automatisch worden uitgeschakeld als de oven wordt uitgedaan. Als deze optie wordt geactiveerd is de klok niet zichtbaar.
▶ Druk op DISPLAY UIT.
Instellen beëindigen
▶ Druk om het instellen te bevestigen op
■ Het hoofdmenu verschijnt. Uw instellingen worden opgeslagen.
werkInG
▶ Raadpleeg de kooktabel om op de beste manier gebruik te maken van uw Franke-oven.
Koken in handmatige modus
In handmatige modus kookt u door het volgens uw voorkeuren instellen van het programma, de temperatuur en duur.
▶ Druk op
■ Het menu HANDMATIG verschijnt met diverse secties:
Sectie Beschrijving
| SYSTEEM | Selecteer uit diverseprogramma's (zie hoofdstukHandmatige kookprogramma's) |
| TEMPERATUUR | Selecteer de vereistetemperatuur van min. 50 °Ctot max. 270 °C (in programmasLOW COOKING: 230 °C) |
| DUUR | Selecteer de uren en minuten |
In elke sectie: Selecteer het programma, temperatuur en duur.
▶ Plaats het bereide voedsel in de oven en sluit de deur.
▶ Druk op om te bevestigen.
■ Het kookprogramma begint.
Het programma annuleren:
▶ Druk op en op . √
Het menu AUTO met submenu's verschijnt:
- RECEPTEN
In dit menu kunt u uit diverse categorieën recepten kiezen, bv. pasta, groente, vlees, vis, gebak, brood of pizza.
- COMPLETE MENU'S
In dit menu kunt u kiezen uit diverse programma's voor complete menu's, bv. vleesmenu, vismenu, 4 pizza's, brood op 4 bakplaten.
Voorbeeld programma recept
Druk op
▶ Druk op PASTA en daarna op CANNELLONI.
■ De samenvatting van het recept verschijnt:
Sectie Beschrijving
| HOEVEELHEID | Selecteer het gewicht van het voedsel in het verticale menu |
| INFO | Automatische instellingen van temperatuur, programma en display van de optimale positie voor de bakplaat |
| TIJD | Automatische instellingen van kookduur |
Druk op HOEVEELHEID en selecteer het gewicht van het voedsel.
▶ Plaats het bereide voedsel in de oven en sluit de deur.
▶ Druk op 🔒 om te bevestigen.
■ Het kookprogramma begint.
Het programma annuleren:
▶ Druk op en op . √
De volledige recepten (ingrediënten en voorbereiding) staan op onze website:
- http://recipes.franke.com
Voorbeeld programma compleet menu
▶ Druk op
▶ Druk op VLEES.
■ De samenvatting van het complete menu verschijnt:
| Sectie Beschrijving | |
| PROGRAMMA | Automatische instellingen van kookprogramma |
| TEMPERATUUR | Automatische instellingen van temperatuur |
| BAKPLAAT INFO | Automatische display van de optimale positie voor de bakplaat |
| TIJD | Automatische instellingen van kookduur |
▶ Plaats het bereide voedsel in de oven en sluit de deur.
▶ Druk op 🔒 om te bevestigen.
■ Het kookprogramma begint.
Druk op om het programma te annuleren en bevestig door te drukken op.
De volledige recepten (ingrediënten en voorbereiding) staan op onze website:
- http://recipes.franke.com
Koken in modus eco-bereiding
In de modus eco-bereiding kunt u op ecovriendelijke wijze koken. U kunt diverse recepten en complete menu's gebruiken die goed zijn voor uw gezondheid en welzijn.
In dit menu zijn de recepten hetzelfde als in de AUTO-modus, maar met een lager energieverbruik voor het kookproces.
▶ Druk op
Het menu ECO-BEREIDING met submenu's verschijnt:
- RECEPTEN
In dit menu kunt u uit diverse categorieën recepten kiezen, bv. pasta, groente, vlees, vis, gebak, brood of pizza.
- WELLNESS
In dit menu kunt u uit diverse categorieën recepten kiezen, bv. lamsvlees, varkensvlees, gevogelte, vis, kalfsvlees en groenten.
- COMPLETE MENU'S
In dit menu kunt u kiezen uit diverse programma's voor complete menu's, bv. vleesmenu, vismenu, 4 pizza's, brood op 4 bakplaten.
Voorbeeld programma recept
▶ Druk op
▶ Druk op PASTA en daarna op CANNELLONI.
■ De samenvatting van het recept verschijnt:
Sectie Beschrijving
| HOEVEELHEID | Selecteer het gewicht van het voedsel in het verticale menu |
| INFO | Automatische instellingen van temperatuur, programma en display van de optimale positie voor de bakplaat |
| TIJD | Automatische instellingen van kookduur |
Druk op HOEVEELHEID en selecteer het gewicht van het voedsel.
▶ Plaats het bereide voedsel in de oven en sluit de deur.
▶ Druk op 🔘 om te bevestigen.
■ Het kookprogramma begint.
Het programma annuleren:
▶ Druk op en op . √
De volledige recepten (ingrediënten en voorbereiding) staan op onze website:
- http://recipes.franke.com
Voorbeeld programma wellness
Met dit programma kunt u vlees-, vis- en groente-hoofdgerecht op een natuurlijke manier bereiden en met een laag vetgehalte. Het vereist langer koken met een lage temperatuur binnen in het voedsel (rond 100°C) zonder toevoeging van olie of andere vetten. Hierdoor worden de oorspronkelijke voedingswaardes van het voedsel (mineralen, vitaminen etc.) en natuurlijke smaak behouden.
▶ Druk op
▶ Druk op GROENTEN.
■ De samenvatting van het complete menu verschijnt:
| Sectie Beschrijving | |
| PROGRAMMA | Automatische instellingen van kookprogramma |
| TEMPERATUUR | Automatische instellingen van temperatuur |
| BAKPLAAT INFO | Automatische display van de optimale positie voor de bakplaat |
| TIJD | Automatische instellingen van kookduur |
▶ Plaats het bereide voedsel in de oven en sluit de deur.
▶ Druk op om te bevestigen.
■ Het kookprogramma begint.
▶ Druk op 📋 on op o √ net programma te annuleren.
De volledige recepten (ingrediënten en voorbereiding) staan op onze website: - http://recipes.franke.com
Voorbeeld programma compleet menu
▶ Druk op
▶ Druk op VLEES. ■ De samenvatting van het complete menu verschijnt:
| Sectie Beschrijving | |
| PROGRAMMA | Automatische instellingen van kookprogramma |
| TEMPERATUUR | Automatische instellingen van temperatuur |
| BAKPLAAT INFO | Automatische display van de optimale positie voor de bakplaat |
| TIJD | Automatische instellingen van kookduur |
▶ Plaats het bereide voedsel in de oven en sluit de deur.
▶ Druk op 🔒 om te bevestigen.
■ Het kookprogramma begint.
▶ Druk op en op o net programma te annuleren.
De volledige recepten (ingrediënten en voorbereiding) staan op onze website:
- http://recipes.franke.com
Eindtijd van bereiding instellen
In handmatige kookmodus
▶ Druk op
■ Het menu HANDMATIG verschijnt met diverse secties.
Druk boven aan het display waar de tijd staat vermeld (bv. 18:11).
■ Het display submenu verschijnt.

text_image
MANUAL 18:11 160°C 3 00h 30m 18:41 PROGRAM TEMPERATURE TRAY INFO TIME▶ Druk op
▶ Stel in het verticale menu de uren, minuten en seconden in.
▶ Bevestigen met
■ De oven staat nu in standby-modus.
De oven berekent de begintijd op basis van de kooktijd of het kookprogramma en de ingestelde eindtijd. Het kookproces begint op de berekende begintijd.
Timer instellen
De timer kan worden gebruikt bij alle kookmodi en werkt onafhankelijk van een functie.
Druk boven aan het display waar de tijd staat vermeld (bv. 18:11).
■ Het display submenu verschijnt.

text_image
MANUAL 18:11 160°C 00h 30m 18:41 PROGRAM TEMPERATURE TRAY INFO TIME▶ Druk op
▶ Stel in het verticale menu de uren, minuten en seconden in.
Druk wederom boven aan het display waar de tijd staat vermeld (bv. 18:11).
▶ Druk op √m te bevestigen.
■ De timer loopt op de achtergrond.
Er klinkt een geluid als hij afloopt.
GeBrUIk Van TemPeraTUUrSonDe
Met de temperatuursonde die bij uw Franke-oven wordt geleverd, bent u er bij het vlees bakken zeker van dat het kookproces op het juiste moment wordt onderbroken, i.e. als de opgemeten kerntemperatuur van het vlees overeenkomt met de ideale temperatuur. Hierdoor is het niet langer noodzakelijk om de kooktijden in te stellen en het vlees continu te controleren.
De temperatuursonde kan niet worden geactiveerd via kookmodi, (GRILL, CIRCULATIEGRILL) of vooraf ingestelde kookrecepten.
! Waarschuwing!
Gebruik uitsluitend de temperatuursonde die voor deze oven wordt aanbevolen.
Aansluiting
Het wordt aangeraden om de temperatuursonde aan te sluiten vóór het kookproces en met de oven nog koud om brandwonden te voorkomen.
Zorg ervoor dat de sonde goed is aangesloten op de connector om een stabiele en correcte temperatuurmeting te garanderen.
Het aansluitpunt van de sonde staat afgebeeld.

▶ Steek de punt na het aansluiten in het vlees en zet de oven aan.
Om de temperatuur goed te kunnen lezen, moet de punt van de sonde zich zo dicht mogelijk bij het midden van het vlees bevinden.
▶ Selecteer de kookmodus en -temperatuur.
- Het pictogram -icht op, wat een correcte aansluiting van de sonde betekent.
- Als het einde van het kookproces via EINDE onmiddellijk wordt weergegeven, betekent het dat de sonde niet volledig is ingestoken. Steek de sonde correct in.
De geselecteerde oventemperatuur moet geschikt zijn voor het vereiste gelijkmatige koken (een te hoge temperatuur kan de buitenkant van het vlees verbranden). Het koken wordt altijd onderbroken als de temperatuursonde een temperatuur van 65 °C binnen in het vlees meet, onafhankelijk van de gekozen oventemperatuur. Op deze vooraf ingestelde temperatuur wordt het vlees medium gebakken. Als een ander kookproces (rare of well-done) is vereist, kan deze vooraf ingestelde waarde als volgt worden aangepast:
Druk op de knop <, selecteer en bevestig met √.
- Gebruik binnen 15 seconden de knoppen + en - om te verhogen of te verlagen. Er kan een keuze gemaakt worden tussen 35 °C en 95 °C.
HanDmaTIGe kookProGramma'S
| Programma Beschrijving | |
![]() | HETE LUCHTDeze energiebesparende kookfunctie (1500 Watt) is geschikt voor vele hoofdgerecht. De kooktijden zijn langer maar de warmteverdeling is optimaal, waardoor met minder energieverbruik uitstekende resultaten worden behaald. |
![]() | BOVEN- EN ONDERWARMTEDeze traditionele functie is ideaal voor alle hoofdgerecht, voor het bakken van brood en taarten en koken van gebraad en lamsvlees. |
![]() | WARME LUCHTDit is een traditionele functie die wordt gebruikt voor vlaaien, hartige taarten, desserts en braden bij het koken op twee niveaus. |
![]() | PIZZADe verwarmingselementen worden gecombineerd om onder in de oven zeer geconcentreerde warmte te creëren. Deze functie is ideaal voor het bakken van pizza op één niveau waarbij warmte van onderen is vereist. Het kookproces is snel en perfecte resultaten zijn gegarandeerd (gebruik SNEL VERWARMEN bij voorverwarmen en schakel dan Pizza-modus in). |
![]() | SNEL VERWARMENDeze zeer krachtige functie schakelt de DCT-booster in. Binnen korte tijd worden hoge temperaturen bereikt. Deze functie is geschikt voor het traditioneel braden van grote stukken vlees (bv. lamsbout, gebraden speenvarken, varkens-/kalfspoot, overgebakken ham). |
![]() | MULTI-COOKINGDeze functie gebruikt alle verwarmingselementen van de oven (DCT en traditioneel). In tegenstelling tot COMPLEET MENU warmt deze functie vooral onder in de oven op, wat ideaal is voor koken op 4 niveaus (brood, 4 pizza's, hartige taarten). |
![]() | COMPLEET MENUDe combinatie van DCT-technologie en traditionele verwarmingselementen zorgt voor een geleidelijke warmteverdeling, vooral op het bovenste niveau, wat ideaal is voor het koken van grote hoeveelheden voedsel op 2-3 niveaus. |
![]() | ALLROUNDERDit is de ideale functie voor beginnende koks. De combinatie van DCT-technologie en traditionele verwarmingselementen zorgt voor een gelijke warmteverdeling, waardoor diverse soorten voedsel kunnen worden opgewarmd met een beperkte gelijke vermogensopname. |
![]() | SLOW COOKINGDe ingestelde temperatuur is 120^ met de interne koelventilator ingeschakeld om te koken op een lager vermogen (1000 Watt).De kooktijden zijn langer waardoor er op een fijne en geleidelijke manier wordt gekookt (bv. kooktype „wellness“). Deze functie is geschikt voor het voorverwarmen van de oven, voordat het bereide voedsel erin wordt gezet. |
Programma Beschrijving

LAGE TEMPERATUUR
De functie Lage temperatuur is ideaal om voedsel langere tijd op lage temperatuur te koken. Hierdoor worden de fijnheid en organoleptische eigenschappen behouden.
U kunt vlees, vis en groente koken, waarbij de originele smaak en voedingswaarden blijven behouden.

ECO BRADEN
Deze functie vermindert het energieverbruik van de oven tijdens het koken. Dit kan niet bij alle hoofdgerecht worden ingesteld.

BBQ
De traditionele grill en bovenste verwarmingselementen worden ondersteund door DCT. Warmte wordt uitsluitend boven in de oven gegenereerd, waarbij het voedsel gelijkmatig wordt opgewarmd. Deze functie is geschikt voor malse of kleine stukjes vlees en hamburgers.

GRILL
Deze functie gebruikt uitsluitend de bovenste grill en is ideaal voor het roosteren van brood, vlees of vis.

CIRCULATIEGRILL
De warmte wordt gegenereerd door de grill en verspreid door de achterste ventilator. Ideaal voor het koken van grote stukken vlees en gevogelte.

ONTDOOIEN
De ingestelde temperatuur is 25°C met de interne koelventilator ingeschakeld. Deze functie is geschikt voor het langzaam ontdooien van voedsel of om de oven na het koken af te koelen.

DEEG RIJZEN
De ingestelde temperatuur is 30°C met de interne koelventilator uitgeschakeld. Dit is ideaal om deeg te laten rijzen.

BORDEN VERWARMEN
De ingestelde temperatuur is tussen 55°C en 80°C. Deze functie is geschikt voor het opwarmen van gekookt maar koud voedsel of om borden of voedsel warm te houden.

ZELFREINIGING
Deze functie is uitsluitend beschikbaar bij ovens met pyrolytische reiniging, zoals een FS913P.
De oven warmt op tot 450° Celsius en wordt automatisch gereinigd.
kookTaBeL
De instructies in de kooktabel bestaan uit kookprocessen die zijn uitgevoerd door professionele chefs. Ze dienen uitsluitend als richtlijn en kunnen naar persoonlijke smaak worden aangepast.
| Gekozen functie | Soort voedsel of recept Gewicht (kg) | Positie (niveau) | Voor-verwarmings-tijd (min.) | Temperatuur (°C) | Duur (minuten) | |
| SLOW COOKING | Sint-Jakobsschelpen | 0,5 | 3 of 4 | 8 | 170 | 17-20 |
| Groentetaart 1 3 of 4 8 175 17-20 | ||||||
| Gebakken pastahoofdge-recht | 1,8 2 of 3 9,5 195 38-40 | |||||
| Cannelloni | 1,3 | 2 of 3 | 10 | 195 | 40-45 | |
| Rosbief | 1,3 | 2 of 3 | 10 | 195 | 70-74 | |
| Vis in papillot | 0,4 | 4 of 5 | 8 | 200 | 48-55 | |
| Koekjes | 0,8 | 2 of 3 | 8 | 165 | 40-45 | |
| Appeltaart | 1,6 | 2 of 3 | 10 | 180 | 65-70 | |
| VENTILATOR | Pizzastukken | 1,3 | 4 of 3 | 7 | 200 | 40-45 |
| Gebakken groenten | 1 | 2 of 3 | 8 | 190 | 20-25 | |
| Gevulde pannenkoeken | 1,3 | 3 of 4 | 8 | 200 | 30-35 | |
| Hamburgers | 180 g | 3 of 4 | 8 | 180 | 10-12 | |
| Gebraden varkensvlees | 1,3 | 2 of 3 | 12 | 200 | 85-95 | |
| Baars | 0,8 | 3 of 4 | 8 | 200 | 38-48 | |
| Vis in zoutkorst | 0,8 | 2 of 3 | 6 | 190 | 40-43 | |
| Taarten | 1,3 | 3 of 4 | 8,5 | 180 | 60-65 | |
| PIZZA | Brood | 1 | 2 of 3 | 8 | 180 | 25-30 |
| Pizza met dunne korst | 0,2 | 2 of 3 | 8 | 190 | 8-15 | |
| Focaccia-pizza | 1,3 | 2 of 3 | 10 | 185 | 20-23 | |
| Focaccia | 1,3 | 2 of 3 | 8 | 185 | 18-23 | |
| Geroosterd knoflookbrood | 0,4 | 4 of 5 | 10 | 190 | 9-13 | |
| ALLROUNDER | Cannelloni | 1,3 | 2 of 3 | 10 | 195 | 35-45 |
| Parmigiana-hoofdgerecht (gebakken) | 1,3 | 3 of 4 | 8,5 | 190 | 30-37 | |
| Vlees- en groentetaart | 1,8 | 2 of 3 | 10 | 180 | 50-65 | |
| Gegratineerde groenten | 1,2 | 2, 3 of 4 | 7,5 | 195 | 20-23 | |
| Gebakken aardappelen | 1,5 | 2 of 3 | 8 | 190 | 40-46 | |
| Dorade | 0,8 | 2 of 3 | 10 | 180 | 30-37 | |
| Konijn (stukjes) | 1,1 | 2 of 3 | 8 | 175 | 65-80 | |
| Broodcake | 0,9 | 2 of 3 | 10 | 175 | 50-65 | |
| COMPLEET MENU | Kaastaart | 0,8 | 2 of 3 | 6,5 | 180 | 23-28 |
| Groentetaart | 1,5 | 2 of 3 | 8 | 190 | 35-40 | |
| Gebakken tomaten | 9 st. | 2 of 3 | 7,5 | 200 | 20-22 | |
| Gebraden kalfsvlees | 1,3 | 1, 2 of 3 | 8,5 | 190 | 105-115 | |
| Jonge haan | 0,4 | 2 of 3 | 7,5 | 200 | 28-35 | |
| Kabeljauw | 1,5 | 2 of 3 | 7,5 | 190 | 28-38 | |
| zeeduivel | 0,7 | 2 of 3 | 8 | 190 | 23-28 | |
| Soesjes | 0,9 | 2 of 3 | 6 | 200 | 13-18 | |
| MULTI-COOKING | Groot rustiek brood | 1,5 | 3 of 4 | 8 | 210 | 38-48 |
| Groentetaartje | 0,8 | 2, 3 of 4 | 7,5 | 180 | 15-22 | |
| Pastahoofdgerecht | 1,3 | 2 of 3 | 9,5 | 190 | 32-40 | |
| Pilafrijst | 1 | 2 of 3 | 10 | 190 | 15-22 | |
| zwaardvis | 0,8 | 2 of 3 | 8 | 200 | 30-35 | |
| Kipstukken | 1 | 2 of 3 | 7,5 | 175 | 40-45 | |
| Croissants | 12 st. | 3 of 4 | 6 | 180 | 15-20 | |
| Bladerdeeg | 0,8 | 2, 3 of 4 | 6,5 | 165 | 18-22 | |
| SNEL VERWAR-MEN | Gegratineerde courgette | 1,4 | 1, 2 of 3 | 6 | 190 | 15-19 |
| Gegratineerde tortellini | 1 | 2 of 3 | 5,5 | 175 | 17-23 | |
| Aardappelbollen | 1,5 | 1 of 2 | 5 | 180 | 15-25 | |
| Kebab | 1 | 1, 2 of 3 | 8,5 | 190 | 22-28 | |
| Kippenvleugels | 1 | 2 of 3 | 7,5 | 175 | 18-23 | |
| Worsten | 15 st. | 2 of 3 | 5,5 | 180 | 13-15 | |
| Chocoladedessert | 9 st. | 2 of 3 | 3 | 210 | 7-9 | |
| Muffins | 9 st. | 1 of 2 | 4,5 | 190 | 15-22 | |
| BBQ | Omelet | 1,8 | 2 of 3 | 4 | 190 | 22-45 |
| Vistaart | 1,8 | 2, 3 of 4 | 5,5 | 185 | 30-32 | |
| Geitenspiesjes | 1 | 2 of 3 | 6 | 200 | 8-15 | |
| Varkensribben | 1,8 | 1 of 2 | 8 | 195 | 32-42 | |
| Hamburgers | 180 g | 1, 2 of 3 | 3 | 195 | 6-8 | |
| Forel | 0,8 | 1, 2 of 3 | 6,5 | 200 | 37-42 | |
| zoet gevulde pannenkoeken | 12 st. | 1 of 2 | 5,5 | 190 | 7-15 | |
| Kleine croissants | 12 st. | 1 of 2 | 4 | 185 | 15-17 | |
GeTeSTe BereIDInGen
- In overeenstemming met de norm EN / IEC 60350.
Deze tabellen zijn samengesteld voor de controle-instanties om het beoordelen en testen van diverse apparaten mogelijk te maken.
Kooktabel lezen
De tabel geeft aan welke functie het beste kan worden gebruikt om voedsel tegelijkertijd op één of meerdere niveaus op te warmen.
De kooktijden verwijzen naar het plaatsen van het voedsel in de oven zonder voorverwarmen (indien vereist).
Temperaturen en kooktijden zijn geschatte waarden en afhankelijk van de kwaliteit van het voedsel en het gebruikte kookgerei.
Gebruik in eerste instantie de aanbevolen waarden en als het eindresultaat niet is zoals verwacht, kunt u de duur verlengen of verkorten. We raden aan om de bijgeleverde accessoires te gebruiken, zoals cakevormen en een donkere metalen ovenbak. Volg de voorkeurstabel waarin de geleverde items worden vermeld die op diverse niveaus kunnen worden geplaatst.
De vermelde niveaus verwijzen naar de niveaus zonder schuifgeleiders (graag verwijderen).
Tegelijkertijd diverse menu's opwarmen
De aanbevolen ventilatiefuncties zorgen ervoor dat u op meerdere niveaus tegelijkertijd kunt koken. Bij het koken op één niveau kunt u ook de statische functie gebruiken.
| Recept | Functie | Voorverwarmen | Niveau (van laag naar hoog) | Temperatuur (°C) | Tijd (minuten) | Accessoires / Opmerkingen |
| Zandgebak BOVEN- EN ON-DERWARMTE | ✓ | 4 160 22-26 Niveau 4: platte lekbak | ||||
| Kleine taar- ten | BOVEN- EN ON-DERWARMTE | ✓ | 3 | 170 | 33-38 | Niveau 3: diepe lekbak |
| ALLROUNDER | ✓ | 3 150 24-28 Niveau 4: diepe lekbak | Niveau 3: diepe bak | |||
| ALLROUNDER | ✓ | 3-4 | 150 | 24-28 | Niveau 4: platte lekbakNiveau 3: diepe lekbak | |
| Biscuit zon- der toege- voegd vet | BOVEN- EN ON-DERWARMTE | ✓ | 2 170 43-48 Niveau 2: bakblik op rek | |||
| ALLROUNDER | ✓ | 2 | 170 | 28-32 | Niveau 2: bakblik op rek | |
| Appeltaart | BOVEN- EN ON-DERWARMTE | ✓ | 1 | 190 | 60-70 | Niveau 1: bakblik op rek |
| MULTI-COOKING | ✓ | 1 | 180 | 50-55 | Niveau 1: bakblik op rek | |
| Twee ap-peltaarten | MULTI-COOKING | ✓ | 1 | 180 | 50-55 | Niveau 1: 2 bakblikken op rek |
| Hartige taarten | BOVEN- EN ON-DERWARMTE | ✓ | 2 | 165 | 25-30 | Niveau 2: bakblik op rek |
| ALLROUNDER | ✓ | 2 | 165 | 28-35 | Niveau 2: bakblik op rek | |
| Grillen | Bij het koken van voedsel rechtstreeks op het rek moet u de lekbak op de trede daaron-der plaatsen.Hierdoor worden etensresten opgevangen en de oven schoon gehouden. | |||||
| Geroosterde sandwich | GRILL √ | (5 min.) | 5 80 2–3 Niveau 5: rek | Houd de deur tijdens de gehele kooktijd geslo-ten. | ||
| Burgers | BBQ | nee | 4 | 200 | 20 | Niveau 4: rekNiveau 3: lekbakNa 10 min. omdraaien |
ComPLeTe menUProGramma'S

flowchart
graph TD
A["1"] --> B["S"]
C["2"] --> B["S"]
D["3"] --> E["1"]
F["4"] --> G["1"]
H["5"] --> I["2"]
J["6"] --> K["2"]
L["1"] --> M["D"]
1 Sleuven
2 Inschuifhoogte
3 Ovenruimte
Voorbeeld:
S Voorgerecht
1 1e hoofdgerecht
2 2e hoofdgerecht
D Dessert
Kijk voor meer gegevens over gewichten en inschuifhoogten op onze website: http://recipes.franke.com
Compleet vleesmenu
Vleesmenu 1
| Voedsel | Recepten | Inschuifhoogte | Progressieve extractietijd | Gewicht (recept) | FRANKE-accessoire voor gebruik |
| Voorgerecht | HARTIGE GRUYÈRESOE-ZEN | 6 | 28 min. | 20 st. 300 g | Platte lekbak |
| 1e hoofdgerecht | RUNDVLEESCANNELLONI | 4 | 41 min. | 1100 g | Bakblik op grill |
| Dessert | CHOCOLADE-CHILITAART | 1 | 51 min. | 800 g | Bakblik op diepe lekbak |
| 2e hoofdgerecht | GEVULDE PARELHOEN | 2 | 98 min. | 1450 g | bakblik op grill |
Vleesmenu 2
| Voedsel Recepten Inschuifhoogte Progressieve | extractietijd | Gewicht (recept) | FRANKE-accessoire voor gebruik | ||
| Voorgerecht | GEVULDE COUR-GETTES | 6 18 min. 16 st. 700 | g | Platte lekbak | |
| Dessert | APPELTAART 1 34 min. 800 g Bakblik op diepe lekbak | ||||
| 1e hoofdgerecht | LASAGNE MET PESTO 4 44 min. 1600 g Bakblik op grill | ||||
| 2e hoofdgerecht | KIPGEHAKTBROOD MET DOPERWTEN & ASPERGES | 2 54 min. 1100 g | Bakblik op grill | ||
Vleesmenu 3
| Voedsel Recepten Inschuifhoogte Progressieve | extractietijd | Gewicht (recept) | FRANKE-accessoire voor gebruik | ||
| Voorgerecht | GEGRATINEERDE VENKEL | 6 22 min. | 800 g Bakblik op grill | ||
| 1e hoofdgerecht | GNOCCHI | 4 | 29 min. | 650 g | Bakblik op grill |
| Dessert | PRUIMENTAART | 1 | 51 min. | 580 g | Bakblik op diepe lekbak |
| 2e hoofdgerecht | EVERzWIJN IN SAUS | 3 | 55 min. | 900 g | Platte lekbak |
Vleesmenu 4
| Voedsel Recepten Inschuifhoogte Progressieve | extractietijd | Gewicht (recept) | FRANKE-accessoire voor gebruik | ||
| Voorgerecht | SPINAZIETAARTJE | 6 | 19 min. | 800 g | Bakblik op grill |
| 1e hoofdgerecht | PASTEI MET POLENTA EN GROENTEN | 4 | 25 min. | 1200 g | Bakblik op grill |
| 2e hoofdgerecht | KALKOEN GEVULD MET ASPERGES | 3 | 29 min. | 870 g | Platte lekbak |
| Dessert | zOETE FOCACCIA | 1 | 32 min. | 1100 g | Bakblik op diepe lekbak |
Vleesmenu 5
| Voedsel | Recepten | Inschuifhoogte | Progressieve extractietijd | Gewicht (recept) | FRANKE-accessoire voor gebruik |
| Voorgerecht | GEVULDE COUR-GETTEBLOEMEN | 6 | 17 min. | 600 g | Bakblik op grill |
| 1e hoofdgerecht | PAPPARDELLE MET COURGETTES | 4 | 23 min. | 1100 g | Bakblik op grill |
| 2e hoofdgerecht | GEBRADEN KALFSVLEES | 3 | 28 min. | 900 g | Platte lekbak |
| Dessert | RICOTTA-KANEEL-PUDDING | 1 | 41 min. | 850 g | Bakblik op diepe lekbak |
Vleesmenu 6
| Voedsel | Recepten Inschuifhoogte Progressieve | extractietijd | Gewicht (recept) | FRANKE-accessoire voor gebruik | |
| Voorgerecht | AARDAPPELKOEKJES | 6 | 23 min. | 800 g | Platte lekbak |
| 1e hoofdge-recht | GEVULDE PASTA | 4 | 38 min. | 1100 g | Bakblik op grill |
| Dessert | KASTANJETAART | 1 | 38 min. | 900 g | Bakblik op grill |
| 2e hoofdge-recht | LAMSBOUT | 3 | 78 min. | 800 g | Diepe lekbak |
Vleesmenu 7
| Voedsel | Recepten Inschuifhoogte Progressieve | extractietijd | Gewicht (recept) | FRANKE-accessoire voor gebruik | |
| Voorgerecht | GEVULDE PAPRIKA'S | 6 | 25 min. | 600 g | Bakblik op grill |
| 1e hoofdge-recht | EIERNOEDELS MET HAM & KAAS | 4 34 min. 1300 g | Bakblik op grill | ||
| Dessert | DUITSE TAART | 1 | 54 min. | 850 g | Bakblik op diepe lekbak |
| 2e hoofdge-recht | KIP MET DRUIVEN | 3 | 79 min. | 1450 g | Platte lekbak |
Vleesmenu 8
| Voedsel | Recepten | Inschuifhoogte | Progressieve extractietijd | Gewicht (recept) | FRANKE-accessoire voor gebruik |
| Voorgerecht | OLIJVEN-TOFOE-BALLETJES | 6 | 28 min. | 850 g | Platte lekbak |
| 1e hoofdgerecht | PASTA GEVULD MET VLEES | 4 35 min. 1100 g | Bakblik op grill | ||
| 2e hoofdgerecht | GEBRADEN KALFSVLEES | 2 38 min. 900 g | Bakblik op grill | ||
| Dessert | MARMERCAKE | 1 | 65 min. | 1326 g | Bakblik op diepe lekbak |
Compleet vleesmenu - lage stand
Vleesmenu 1 - lage stand
| Voedsel | Recepten | Inschuifhoogte | Progressieve extractietijd | Gewicht (recept) | FRANKE-accessoire voor gebruik |
| Voorgerecht | HARTIGEGRUYÈRESOEzEN | 6 45 min. 20 st. 300 | g | Platte lekbak | |
| 1e hoofdgerecht | RUNDVLEESCANNELLONI | 4 | 58 min. | 1100 g | Bakblik op grill |
| Dessert | CHOCOLADE- CHILITAART | 1 | 65 min. | 800 g | Bakblik op diepe lekbak |
| 2e hoofdgerecht | GEVULDE PARELHOEN | 2 | 98 min. | 1450 g | Bakblik op grill |
Vleesmenu 2 - lage stand
| Voedsel Recepten Inschuifhoogte Progressieve | extractietijd | Gewicht (recept) | FRANKE-accessoire voor gebruik | ||
| Voorgerecht | GEVULDE COUR-GETTES | 6 45 min. 16 st. 700 | g | Platte lekbak | |
| Dessert | APPELTAART | 1 | 56 min. | 800 g | Bakblik op diepe lekbak |
| 1e hoofdgerecht | LASAGNE MET PESTO 4 70 min. 1600 g Bakblik op grill | ||||
| 2e hoofdgerecht | KIPGEHAKTBROOD MET DOPERWTEN & ASPERGES | 2 82 min. 1100 g Bakblik op grill | |||
Vleesmenu 3 - lage stand
| Voedsel Recepten Inschuifhoogte Progressieve | extractietijd | Gewicht (recept) | FRANKE-accessoire voor gebruik | ||
| Voorgerecht | GEGRATINEERDE VENKEL | 6 45 min. 800 g Bakblik op grill | |||
| 1e hoofdgerecht | GNOCCHI | 4 | 45 min. | 650 g | Bakblik op grill |
| Dessert | PRUIMENTAART | 1 | 60 min. | 580 g | Bakblik op diepe lekbak |
| 2e hoofdgerecht | EVERzWIJN IN SAUS | 3 | 74 min. | 900 g | Platte lekbak |
Vleesmenu 4 - lage stand
| Voedsel Recepten Inschuifhoogte Progressieve | extractietijd | Gewicht (recept) | FRANKE-accessoire voor gebruik | ||
| Voorgerecht | SPINAZIETAARTJE | 6 | 38 min. | 800 g | Bakblik op grill |
| 1e hoofdgerecht | PASTEI MET POLENTA EN GROENTEN | 4 | 52 min. | 1200 g | Bakblik op grill |
| 2e hoofdgerecht | KALKOEN GEVULD MET ASPERGES | 3 | 56 min. | 870 g | Platte lekbak |
| Dessert | zOETE FOCACCIA | 1 | 56 min. | 1100 g | Bakblik op diepe lekbak |
Vleesmenu 5 - lage stand
| Voedsel | Recepten | Inschuifhoogte | Progressieve extractietijd | Gewicht (recept) | FRANKE-accessoire voor gebruik |
| Voorgerecht | GEVULDE COUR-GETTEBLOEMEN | 6 43 min. 600 g | Platte lekbak | ||
| 1e hoofdgerecht | PAPPARDELLE MET COURGETTES | 4 48 min. 1100 g | Bakblik op grill | ||
| 2e hoofdgerecht | GEBRADEN KALFSVLEES | 3 56 min. 900 g | Bakblik op grill | ||
| Dessert | RICOTTA-KANEEL-PUDDING | 1 | 58 min. | 850 g | Bakblik op diepe lekbak |
Vleesmenu 6 - lage stand
| Voedsel Recepten Inschuifhoogte Progressieve | extractietijd | Gewicht (recept) | FRANKE-accessoire voor gebruik | ||
| Dessert | KASTANJETAART | 1 | 42 min. | 900 g | Bakblik op diepe lekbak |
| Voorgerecht | AARDAPPELKOEKJES | 6 | 49 min. | 800 g | Platte lekbak |
| 1e hoofdgerecht | GEVULDE PASTA | 4 | 60 min. | 1100 g | Bakblik op grill |
| 2e hoofdgerecht | LAMSBOUT | 3 | 96 min. | 800 g | Bakblik op grill |
Vleesmenu 7 - lage stand
| Voedsel Recepten Inschuifhoogte Progressieve | extractietijd | Gewicht (recept) | FRANKE-accessoire voor gebruik | ||
| Voorgerecht | GEVULDE PAPRIKA'S | 6 | 52 min. | 600 g | Platte lekbak |
| 1e hoofdgerecht | EIERNOEDELS METHAM & KAAS | 4 | 65 min. | 1300 g | Bakblik op grill |
| Dessert | DUITSE TAART | 1 | 65 min. | 850 g | Bakblik op diepe lekbak |
| 2e hoofdgerecht | KIP MET DRUIVEN | 3 | 86 min. | 1450 g | Bakblik op grill |
Vleesmenu 8 - lage stand
| Voedsel Recepten Inschuifhoogte Progressieve | extractietijd | Gewicht (recept) | FRANKE-accessoire voor gebruik | ||
| Voorgerecht | OLIJVEN-TOFOE-BALLETJES | 6 | 56 min. | 850 g | Platte lekbak |
| 1e hoofdgerecht | PASTA GEVULD MET VLEES | 4 | 58 min. | 1100 g | Bakblik op grill |
| 2e hoofdgerecht | GEBRADEN KALFSVLEES | 2 | 58 min. | 900 g | Bakblik op diepe lekbak |
| Dessert | MARMERCAKE | 1 | 65 min. | 1326 g | Bakblik op grill |
Compleet vismenu
Vismenu 1
| Voedsel Recepten Inschuifhoogte Progressieve | extractietijd | Gewicht (recept) | FRANKE-accessoire voor gebruik | ||
| Voorgerecht | zWAARDVISSPIEzEN | 6 | 22 min. | 600 g | Platte lekbak |
| 1e hoofdgerecht | PASTA MET RADICCHIO & GARNALEN | 4 | 27 min. | 1200 g | Bakblik op grill |
| Dessert | PERENTAART | 1 | 44 min. | 950 g | Bakblik op grill |
| 2e hoofdgerecht | zEEBAARS IN PAPILLOT | 2 50 min. 800 g Bakblik op grill | |||
Vismenu 2
| Voedsel Recepten Inschuifhoogte Progressieve | extractietijd | Gewicht (recept) | FRANKE-accessoire voor gebruik | ||
| Voorgerecht | zALMTAART | 6 | 35 min. | 1200 g | Platte lekbak |
| 1e hoofdgerecht | VISPASTEI | 4 | 41 min. | 1200 g | Bakblik op grill |
| Dessert | MARGHERITA TAART | 1 | 45 min. | 890 g | Bakblik op diepe lekbak |
| 2e hoofdgerecht | DORADE IN PAPILLOT | 2 | 45 min. | 800 g | Bakblik op grill |
Vismenu 3
| Voedsel Recepten Inschuifhoogte Progressieve | extractietijd | Gewicht (recept) | FRANKE-accessoire voor gebruik | ||
| Voorgerecht | GEVULDE ANSJOVIS | 6 | 25 min. | 400 g | Platte lekbak |
| 2e hoofdgerecht | TONGROLLETJES | 2 | 32 min. | 600 g | Bakblik op grill |
| 1e hoofdgerecht | VERMICELLI-TIMBAALTJES | 4 46 min. 1300 g | Bakblik op grill | ||
| Dessert | YOGHURTCAKE | 1 | 46 min. | 680 g | Bakblik op diepe lekbak |
Vismenu 4
| Voedsel Recepten Inschuifhoogte Progressieve | extractietijd | Gewicht (recept) | FRANKE-accessoire voor gebruik | ||
| Voorgerecht | KABELJAUW MET ARTISJOKKEN | 6 | 24 min. | 900 g | Platte lekbak |
| Dessert | HONINGCAKE | 1 | 30 min. | 800 g | Bakblik op diepe lekbak |
| 1e hoofdgerecht | SPAGHETTIPAPILLOT | 4 | 34 min. | 1200 g | Bakblik op grill |
| 2e hoofdgerecht | DORADE MET KAP-PERTJES | 3 45 min. 800 g | Bakblik op grill | ||
Vismenu 5
| Voedsel Recepten Inschuifhoogte Progressieve | extractietijd | Gewicht (recept) | FRANKE-accessoire voor gebruik | ||
| Dessert | ANANASTAART | 1 | 22 min. | 300 g | Bakblik op diepe lekbak |
| Voorgerecht | GEBAKKEN ARTISJOKKEN | 6 29 min. 500 g | Bakblik op grill | ||
| 1e hoofdgerecht | RISOTTO MET SCAMPI EN PADDENSTOELEN | 4 | 32 min. | 1100 g | Bakblik op grill |
| 2e hoofdgerecht | CALAMARI MET DOPERWTEN | 3 40 min. 900 g | Platte lekbak | ||
Vismenu 6
| Voedsel Recepten Inschuifhoogte Progressieve | extractietijd | Gewicht (recept) | FRANKE-accessoire voor gebruik | ||
| Voorgerecht | zOUTE KABELJAUW-BALLETJES | 6 21 min. 600 g Platte lekbak | |||
| 1e hoofdgerecht | LASAGNE MET zEEVRUCHTEN & DOPERWTEN | 4 38 min. 1300 g Bakblik op grill | |||
| 2e hoofdgerecht | zONNEVIS | 3 | 42 min. | 1100 g | Bakblik op grill |
| Dessert | CITROENCAKE 1 48 min. 800 g Bakblik op diepe lekbak | ||||
Vismenu 7
| Voedsel Recepten Inschuifhoogte Progressieve | extractietijd | Gewicht (recept) | FRANKE-accessoire voor gebruik | ||
| Voorgerecht | HOUTSNIP | 6 | 14 min. | 400 g | Platte lekbak |
| 2e hoofdgerecht | GEVULDE zALM | 3 | 22 min. | 800 g | Bakblik op grill |
| Dessert | CITRUSVRUCHTENTAART | 1 | 36 min. | 700 g | Bakblik op diepe lekbak |
| 1e hoofdgerecht | RIJST, AARDAPPELEN & MOSSELEN | 4 42 min. 1400 g Bakblik op grill | |||
Vismenu 8
| Voedsel | Recepten | Inschuifhoogte | Progressieve extractietijd | Gewicht (recept) | FRANKE-accessoire voor gebruik |
| Voorgerecht | SINT-JAKOBSSCHEL-PEN MET PREI | 6 24 min. 550 g | Bakblik op grill | ||
| 1e hoofdgerecht | TAGLIATELLE MET zEEVRUCHTEN | 4 | 28 min. | 750 g | Bakblik op grill |
| 2e hoofdgerecht | SCHORPIOENVIS IN SAUS | 2 34 min. 700 g per | 2 st. | Platte lekbak | |
| Dessert | CITROENTAART | 1 | 34 min. | 600 g | Bakblik op diepe lekbak |
Compleet vismenu - lage stand
Vismenu 1 - lage stand
| Voedsel | Recepten | Inschuifhoogte | Progressieve extractietijd | Gewicht (recept) | FRANKE-accessoire voor gebruik |
| Voorgerecht | zWAARDVISSPIEzEN | 6 | 42 min. | 600 g | Platte lekbak |
| 1e hoofdgerecht | PASTA MET RADICCHIO & GARNALEN | 4 | 50 min. | 1200 g | Bakblik op grill |
| Dessert | PERENTAART | 1 | 52 min. | 950 g | Bakblik op diepe lekbak |
| 2e hoofdgerecht | zEEBAARS IN PAPILLOT | 2 65 min. | 800 g | Bakblik op grill |
Vismenu 2 - lage stand
| Voedsel Recepten Inschuifhoogte Progressieve | extractietijd | Gewicht (recept) | FRANKE-accessoire voor gebruik | ||
| Dessert | MARGHERITA TAART | 1 | 50 min. | 890 g | Bakblik op diepe lekbak |
| Voorgerecht | zALMTAART | 6 | 53 min. | 1200 g | Platte lekbak |
| 1e hoofdgerecht | VISPASTEI | 4 | 57 min. | 1200 g | Bakblik op grill |
| 2e hoofdgerecht | DORADE IN PAPILLOT | 2 | 59 min. | 800 g | Bakblik op grill |
Vismenu 3 - lage stand
| Voedsel Recepten Inschuifhoogte Progressieve | extractietijd | Gewicht (recept) | FRANKE-accessoire voor gebruik | ||
| Voorgerecht | GEVULDE ANSJOVIS | 6 | 48 min. | 400 g | Platte lekbak |
| 2e hoofdgerecht | TONGROLLETJES | 2 | 48 min. | 600 g | Bakblik op grill |
| Dessert | YOGHURTCAKE | 1 | 54 min. | 680 g | Bakblik op diepe lekbak |
| 1e hoofdgerecht | VERMICELLI-TIMBAALTJES | 4 | 57 min. | 1300 g | Bakblik op grill |
Vismenu 4 - lage stand
| Voedsel Recepten Inschuifhoogte Progressieve | extractietijd | Gewicht (recept) | FRANKE-accessoire voor gebruik | ||
| Voorgerecht | KABELJAUW MET ARTISJOKKEN | 6 | 45 min. | 900 g | Platte lekbak |
| Dessert | HONINGCAKE | 1 | 48 min. | 800 g | Bakblik op diepe lekbak |
| 1e hoofdgerecht | SPAGHETTIPAPILLOT | 4 | 59 min. | 1200 g | Bakblik op grill |
| 2e hoofdgerecht | DORADE MET KAPPERTJES | 3 62 min. | 800 g | Bakblik op grill | |
Vismenu 5 - lage stand
| Voedsel Recepten Inschuifhoogte Progressieve | extractietijd | Gewicht (recept) | FRANKE-accessoire voor gebruik | ||
| Dessert Voorgerecht | ANANASTAART | 1 | 32 min. | 300 g | Bakblik op diepe lekbak |
| Voorgerecht | GEBAKKEN ARTISJOK-KEN | 6 48 min. 500 g | Bakblik op grill | ||
| 1e hoofdgerecht | RISOTTO MET SCAMPI EN PADDENSTOELEN | 4 54 min. 1100 g | Bakblik op grill | ||
| 2e hoofdgerecht | CALAMARI MET DOPERWTEN | 3 | 62 min. | 900 g | Platte lekbak |
Vismenu 6 - lage stand
| Voedsel Recepten Inschuifhoogte Progressieve | Gewicht(recept) | FRANKE-accessoire voorgebruik | ||
| extractietijd | ||||
| Voorgerecht | zOUTE KABELJAUW-BALLETJES | 6 39 min. 600 g Platte lekbak | ||
| 1ehoofdgerecht | LASAGNE METzEEVRUCHTEN &DOPERWTEN | 4 54 min. 1300 g Bakblik op grill | ||
| 2ehoofdgerechtDessert | zONNEVIS 3 54 min. 1100 g Bakblik op grill | |||
| Dessert | CITROENCAKE 1 54 min. 800 g Bakblik op diepe lekbak | |||
Vismenu 7 - lage stand
| Voedsel Recepten Inschuifhoogte Progressieve | extractietijd | Gewicht (recept) | FRANKE-accessoire voor gebruik | ||
| Voorgerecht | HOUTSNIP | 6 | 32 min. | 400 g | Platte lekbak |
| 2e hoofdgerecht | GEVULDE zALM | 3 | 35 min. | 800 g | Bakblik op grill |
| Dessert | CITRUSVRUCHTENTAART | 1 | 53 min. | 700 g | Bakblik op diepe lekbak |
| 1e hoofdgerecht | RIJST, AARDAPPELEN & MOSSELEN | 4 58 min. 1400 g Bakblik op grill | |||
Vismenu 8 - lage stand
| Voedsel | Recepten | Inschuifhoogte | Progressieve extractietijd | Gewicht (recept) | FRANKE-accessoire voor gebruik |
| Voorgerecht | SINT-JAKOBSSCHEL-PEN MET PREI | 6 | 45 min. | 550 g | Platte lekbak |
| 1e hoofdgerecht | TAGLIATELLE MET zEEVRUCHTEN | 4 50 min. | 750 g Bakblik op grill | ||
| Dessert | CITROENTAART | 1 | 50 min. | 600 g | Bakblik op diepe lekbak |
| 2e hoofdgerecht | SCHORPIOENVIS IN SAUS | 2 59 min. 700 g per | 2 st. | Bakblik op grill | |
Compleet menu 4 Pizza's en Brood
Menu 4 Pizza's
| Voedsel | Recepten | Inschuifhoogte | Progressieve extractietijd | Gewicht (recept) | FRANKE-accessoire voor gebruik |
| 1 | PIzzA MARGHERITA | 6 | 21 min. | 600 g | Platte lekbak |
| 2 | PIzzA MET SPEK EN OLIJVEN | 4 | 25 min. | 600 g | op grill |
| 3 | PIzzA MET TONIJN EN UIEN | 3 | 25 min. | 600 g | op grill |
| 4 | PIzzA MET GROENTEN 1 25 min. 600 g Diepe lekbak | ||||
Menu Brood
| Voedsel Recepten Inschuifhoogte Progressieve | extractietijd | Gewicht (recept) | FRANKE-accessoire voor gebruik | ||
| 1 | BROOD/PlzzA | 6 | 25 min. | 500 g | Platte lekbak |
| 2 | BROOD/PlzzA | 4 | 27 min. | 500 g | op grill |
| 3 | BROOD/PlzzA | 2 | 27 min. | 500 g | op grill |
| 4 | BROOD/PlzzA | 1 | 27 min. | 500 g | Diepe lekbak |
Compleet menu 4 Pizza's en Brood - lage stand
Menu 4 Pizza's
| Voedsel Recepten Inschuifhoogte Progressieve | extractietijd | Gewicht (recept) | FRANKE-accessoire voor gebruik | |
| 1 | PIzzA MET zWARTE OLIJVEN 6 33 min. 600 g Platte lekbak | |||
| 2 | PIzzA MET HAM EN CHAM- 1 33 min. 600 g Diepe lekbak PIGNONS | |||
| 3 | PIzzA MET GROENTEN 3 42 min. 600 g op grill | |||
| 4 | PIzzA MET TONIJN EN UIEN 4 42 min. 600 g op grill | |||
Menu Brood
| Voedsel Recepten Inschuifhoogte Progressieve | extractietijd | Gewicht (recept) | FRANKE-accessoire voor gebruik | ||
| 1 | BROOD/PlzzA | 1 | 49 min. | 500 g | Diepe lekbak |
| 2 | BROOD/PlzzA | 2 | 49 min. | 500 g | op grill |
| 3 | BROOD/PlzzA 4 53 min. 500 g op grill | ||||
| 4 | BROOD/PlzzA | 6 | 55 min. | 500 g | Platte lekbak |
Menu Wellness
| Voedsel Recepten Inschuifhoogte Progressieve | extractietijd | Gewicht (recept) | FRANKE-accessoire voor gebruik | ||
| 1 | LAM/VARKEN/SCHAAP | 3 | 194 min. | 1550 g | Platte lekbak |
| 3 | VIS | 3 | 92 min. | 1100 g | Platte lekbak |
| 2 | GEVOGELTE | 3 | 138 min. | 600 g | Platte lekbak |
| 4 | KALFSVLEES | 3 | - | - | Platte lekbak |
| 5 | GROENTEN | 3 | 75 min. | 900 g | Platte lekbak |
reInIGInG en onDerHoUD
Voordat u begint met reinigen en onderhoud:
▷ Lees de algemene veiligheidsgegevens over reinigen in de sectie „Veiligheidsgegevens“.
▷ Oven uitschakelen.
- Afhankelijk van hoe de oven is geïnstalleerd: Ontkoppel de oven of schakel de stroomtoevoer uit via de elektrische hoofdschakelaar, door bijvoorbeeld de zekering van de oven in de zekeringkast uit te schakelen.
Algemene aanbevelingen
Vlekken in de oven van diverse kookproducten (sauzen, suiker, proteïnen en vet) worden altijd veroorzaakt door morsen en spatten. Spatten gebeurt tijdens het koken en is vaak het gevolg van koken op te hoge temperaturen. Morsen gebeurt tijdens het opwarmen van schalen die te klein zijn of doordat het volume aanzienlijk stijgt tijdens het koken. Deze problemen kunnen worden voorkomen door diepe schalen te gebruiken of de lekbak die bij de oven is meegeleverd.
Het roestvrijstaal en de geëmailleerde delen van de oven blijven zo goed als nieuw als ze regelmatig met water of speciale reinigingsmiddelen worden gereinigd.
▷ Zorg ervoor dat de oven is afgekoeld voordat u begint met reinigen.
Gebruik geen stoomreinigers of rechtstreekse waterstralen.
Gebruik geen grove schurende materialen of scherpe metaalschrapers om de glazen onderdelen van de ovendeur te reinigen. Ze kunnen krassen op het oppervlak veroorzaken en het glas breken.
Gebruik geen schuursponsjes, staalwol, zoutzuur of andere producten die krassen of beschadigingen op het oppervlak kunnen veroorzaken.
▷ Reinig de geëmailleerde oppervlakken en ovenruimte uitsluitend met heet water en niet-schurende reinigingsmiddelen.
▷ Gebruik een goede glasreiniger voor het glas.
Gebruik de zelfreinigingsfunctie
Deze functie is uitsluitend beschikbaar bij ovens met pyrolytische reiniging, zoals een FS913P.
De functie ZELFREINIGING maakt het reinigen van de oven tot een snel en makkelijk proces. De temperatuur die wordt bereikt in het kookgedeelte (480°C) carboniseert alle voedsel en vetresten.
Tijdens dit proces zullen sommige resten gaan gloeien; dit is een normaal fenomeen als gevolg van onmiddellijke verbranding.
Als de functie ZELFREINIGING is geactiveerd wordt de ovendeur na de eerste twee cycli afgesloten en kan niet worden geopend. Het hangslot-pictogram licht op.
De verduistering van het lcd-display tijdens het pyrolytische reinigingsproces is een voorzorgsmaatregel die wordt ingeschakeld door de hoge temperaturen.
Vóór reiniging
In de oven achtergebleven accessoires kunnen de juiste circulatie van warmte op de wanden beperken of door de hoge temperaturen beschadigd raken.
▷ Verwijder alle accessoires (lekbakken, sleuven, telescoopgeleiders).
▷ Laat niets in de oven achter.
▷ Verwijder etensresten met een vochtige spons.
Gebruik geen reinigingsmiddelen of ander specifiek schoonmaakmiddel.
▷ Belemmer niet de luchtcirculatie aan de voorkant van de oven.
▷ Leg niets op het handvat.
De oppervlakken kunnen tijdens een pyrolytisch reinigingsproces zeer heet worden.
▷ Houd kinderen uit de buurt.
▶ Reinig het interne glaspaneel met water en zeep.
▶ Start de ZELFREINIGING via het display.
Na reiniging
▶ Reinig het interne glaspaneel met een glasreiniger.
▶ Droog na het reinigen zorgvuldig alle delen van de oven.
Oven reinigen
Het is makkelijker om eventuele vlekken te verwijderen terwijl de oven nog warm is en de vlekken nog vers.
Zorg ervoor dat de oven is afgekoeld voordat u begint met reinigen.
▶ Reinig de geëmailleerde oppervlakken en de oven met heet water en niet-schurende reinigingsmiddelen.
▶ Droog na het reinigen zorgvuldig alle delen van de oven.
Ovendeur reinigen
Zorg ervoor dat de oven is afgekoeld voordat u begint met reinigen.
Om het reinigen makkelijker te maken kan de deur worden verwijderd (bekijk hoofdstuk „Ovendeur verwijderen“).
▶ Sleut de deur half.

Ovendeur verwijderen
▶ Open de ovendeur volledig.

De scharnieren zijn uitgerust met twee verwijderbare sloten.
▶ Om het scharnier te ontkoppelen moet u het slot optillen en de deur aan de zijkanten bij de scharnieren vasthouden.
▶ Draai de twee sluithaken omlaag.
Zorg ervoor dat de sluithaken compleet omlaag staan.

text_image
CAMPOOvendeur bevestigen
Na het reinigen moet de ovendeur weer worden bevestigd.
▶ Schuif de scharnieren in hun groeven.
Draai de twee sluithaken (gebruikt als scharnierbevestigingen) omhoog.
WAARSCHUWING! Schade aan oven door verkeerde behandeling!
▷ Probeer nooit de deur te sluiten als één of twee blokken gedeeltelijk of volledig open zijn.
▶ Sluit the ovendeur.
Glaspanelen van ovendeur reinigen
De ovendeur en glaspanelen kunnen worden verwijderd om het glaspaneel zorgvuldig te kunnen reinigen.
De ovendeur heeft 3 glaspanelen:
- binnenpaneel (bij de opening)
- tussenpaneel (in de ovendeur)
- buitenpaneel
Het binnen- en tussenpaneel kunnen voor reiniging worden verwijderd.
De binnenkant van het buitenpaneel kan worden gereinigd als het binnen- en tussenpaneel worden verwijderd.
Verwijderen en reinigen van binnenpaneel
Zorg ervoor dat de oven is afgekoeld voordat u begint met reinigen.
▶ Open de ovendeur volledig.

Draai de twee zwarte blokken (met het woord CLEAN, aan de onderkant van de deur) 180°, zodat ze in de uitsparingen van de oven vallen.

- Zorg ervoor dat de zwarte blokken volledig gedraaid worden.
■ De blokken klikken op hun plek.
WAARSCHUWING! Schade aan oven door verkeerde behandeling!
Als de blokken niet volledig zijn gedraaid, zal het verwijderen van het glaspaneel ervoor zorgen dat de ovendeur onmiddellijk sluit.
▷ Probeer nooit de deur te sluiten als één of twee blokken het glaspaneel gedeeltelijk of volledig hebben bevrijd.
▶ Druk het binnenpaneel (1) zorgvuldig richting oven. Til daarna het binnenpaneel (2) op.
■ De twee zwarte blokken voorkomen dat de deur sluit.

▶ Reinig het binnenpaneel.
Verwijder en reinig het binnenpaneel van de ovendeur
Na het verwijderen van het binnenpaneel kan het tussenpaneel worden verwijderd.
- Til het tussenpaneel aan beide kanten zorgvuldig uit de rubbers.
▶ Reinig het binnenpaneel.
Verwijderen en reinigen bovenranden van glaspanelen
Om het reinigen makkelijker te maken kunnen de bovenranden van de ovendeur worden verwijderd. De bovenranden zijn bevestigd met twee schroeven, één rechtsboven en één linksboven aan de binnenkant van de ovendeur. Het is uitsluitend mogelijk om de bovenranden te verwijderen als het binnenpaneel is verwijderd.
▶ Draai de bevestigingsschroeven in de bovenste hoeken van de ovendeur los.
▶ Verwijder de bovenrand.
▶ Reinig de bovenrand.
Glaspanelen bevestigen
De juiste positie van de bevestigde glaspanelen wordt aangegeven door de woorden GEHARD GLAS, dat perfect leesbaar moet zijn.
▶ Plaats de bovenrand vóór bevestiging weer terug.
▶ Plaats het tussenpaneel vóór bevestiging terug op zijn plek in de rubbers.
▶ Plaats het binnenpaneel weer terug.
▶ Draai de twee bevestigingsblokken weer terug op hun oorspronkelijke plek.
▶ Sluit the ovendeur.
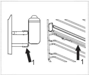
Zijframes en telescopische geleiders reinigen
De zijframes en telescopische geleiders kunnen uit de oven worden verwijderd zodat ze grondig kunnen worden gereinigd.
Telescopische geleiders verwijderen
Druk met de telescopische geleider in gesloten positie stevig (1) op het midden van het rooster waar de onderkant van de geleider op rust.

▶ Til de telescopische geleider (3) omhoog terwijl u (2)die richting de andere kant van de oven eruit haalt.
▶ Verwijder de telescopische geleiders.

Zijframes verwijderen
▶ Buig het dwarsstuk dat gekoppeld is aan de geleidingsbus neerwaarts en verwijder het uit de sleuf.
Druk het zijframe opwaarts en verwijder het uit de twee bovenhaken.
Reiniging
▶ Reinig de zijframes en telescopische geleiders.
Houd na het reinigen het zijframe gekanteld en steek de zijframes in de twee respectievelijke geleiders bovenaan.
▶ Buig het dwarsstuk dat gekoppeld is aan de geleidingsbus opwaarts en schuif het in de sleuf.
▶ Plaats de telescopische geleiders terug.
Ovenlamp vervangen
Franke-ovens zijn uitgerust met twee rechthoekige lampen. Een vervangende lamp moet aan de volgende technische specificaties voldoen:
- Temperatuurbestendigheid: 300 °C
- Netspanning: 220-240 V, 50/60 Hz
- Vermogen: 40 W
- Aansluiting: G9
WAARSCHUWING! Schade aan de lamp door verkeerde behandeling!
▷ Raak de lampen niet met blote handen aan.
Gebruik een doek of een vel keukenpapier.
WAARSCHUWING! Risico op elektrische schok!
▷ Zorg ervoor dat de oven is uitgeschakeld voordat u de lamp vervangt.
⚠️ WAARSCHUWING! Elektrische schok door verkeerde behandeling!
▷ Schakel de oven uit.
- Afhankelijk van hoe de oven is geïnstalleerd: Ontkoppel de oven of schakel de stroomtoevoer uit via de elektrische hoofdschakelaar, door bijvoorbeeld de zekering van de oven in de zekeringkast uit te schakelen.
▶ Verwijder de glazen kap door hem voorzichtig met een platte schroevendraaier los te maken.
▶ Verwijder de lamp uit zijn behuizing.
▶ Vervang de lamp.
▶ Zet de glazen kap weer terug.
onDerHoUD en reParaTle
▷ Zorg ervoor dat het onderhoud van elektrische componenten uitsluitend wordt uitgevoerd door de fabrikant of klantenservice.
Zorg ervoor dat beschadigde kabels uitsluitend door de fabrikant of klantenservice worden gerepareerd.
▶ Als u contact opneemt met de klantenservice moet u de volgende gegevens bij de hand hebben:
- soort storing
-modelnummer (Art.) - serienummer (S.N.)
Deze gegevens staan vermeld op het typeplaatje.
Softwareversie
Deze optie bevat technische gegevens die nuttig zijn voor de klantenservice bij een elektrische storing.
▶ Druk op
■ Het menu INSTELLINGEN met diverse opties verschijnt.
▶ Druk op SOFTWAREVERSIE.
■ De softwaregegevens verschijnen.
Demo
Deze optie kan uitsluitend worden geactiveerd door monteurs.
Hiermee kunnen de displayfuncties worden bekeken zonder de opwarmingselementen te activeren. Het is nuttig bij beurzen of productpresentaties.
VerwijDerInG

Het symbool op het product of de verpakking geeft aan dat het apparaat niet als huishoudelijk afval mag worden verwijderd.
Door het zorgvuldig afvoeren van het apparaat helpt u schadelijke gevolgen voor het milieu en de gezondheid te voorkomen.
Meer gegevens over de recycling van het apparaat zijn beschikbaar bij de bevoegde instantie, plaatselijke afvalverwerkingsdienst of de verkoper van het apparaat.
▷ Verwijder het apparaat dat moet worden weggegooid via een speciaal afvalverzamelpunt voor elektronische en elektrische apparaten.
Dit is in overeenstemming met het wettelijke besluit artikelnr. 15 gedateerd 25 juli, implementatie van de richtlijnen 2002/95/EC, 2002/96/EC en 2003/108/
EC in verband met het verminderen van gevaarlijke stoffen die worden gebruikt in elektrische en elektronische apparaten en bij afvalverwijdering.
Het doorgekruiste afvalbaksymbool op het apparaat geeft aan dat het aan het einde van de levensduur niet kan worden verwijderd als huisvuil.
Daarom moet de gebruiker het apparaat aan het einde van zijn levensduur naar een geschikt recyclingcentrum voor elektronisch en elektrotechnisch afval brengen, of retourneren aan de dealer bij de aankoop van een nieuw, soortgelijk apparaat.
Een goed gescheiden afvalinzameling van afgedankte apparaten voor verdere recycling, behandeling en milieuvriendelijke verwijdering helpt een potentieel negatieve impact op het milieu en de gezondheid te voorkomen en bevordert de recycling van de gebruikte materialen.
kLanTenSerVICe
Bekijk de contactgegevens van uw land op de achterpagina of op onze website:
- www.franke.com
TeCHnISCHe GeGeVenS
Productidentificatie
Type: OE-9D
Model: FS 913 M BK DCT TFT
▶ Bekijk het typeplaatje op het product.

Dit apparaat voldoet aan de volgende EC-richtlijnen:
- 2006/95/EC (lage spanning)
- 2004/108 EEC (elektromagnetische compatibiliteit)
De energie-efficiëntieklasse (volgens 2009 / 60350-50304 / EN) wordt bepaald door de werkingsmodi: energiebesparend en statics.
Verwijder om het volume te berekenen, indien van toepassing, de binnenkant van het geleidingsdraad (volgens richtlijn 2009 / 60350-50304 / EN).
Parameter Waarde
| Werkafmetingen van de oven (mm) | 480 x 370 x 405(B x H x D) |
| Netspanning en frequentie | 220-240 V, 50/60 Hz |
| Totale vermogen en zekering | 2900 W, 16 A |
Waarden van stroom- en verwarmingselement
| Radiaalmotor 27 ... 40 W | |
| Lamp 40 W (2x) | |
| Tangentiële ventilator 15 ... 35 W | |
| Boven 520 W / 124 V | |
| Onder 1250 W | |
| Grill 2100 W | |
| DCT- | 2650 W |
| verwarmingselementen | |
| Parameter | Symbool | Waarde | Maateenheid |
| Modelnummer | FS-CR | 913-982 DCT | |
| Type oven | ingebouwd | ||
| Gewicht | M | 41 | kg |
| Aantal ovenruimten | 1 | ||
| Warmtebron van elke ovenruimte | elektrisch | ||
| Volume van elke ovenruimte | V | 74 | l |
| Het energieverbruik dat vereist is om een standaard hoeveelheid in de ruimte van een elektrische oven op te warmen tijdens een cyclus in convectiemodus voor elke ovenruimte. | EC elektrische ovenruimte | 1,12 | kWh/cyclus |
| Het energieverbruik dat vereist is om een standaard hoeveelheid in de ruimte van een elektrische oven op te warmen tijdens een cyclus in modus geforceerde luchtcirculatie voor elke ovenruimte. | EC elektrische ovenruimte | 0,53 | kWh/cyclus |
| Energie-efficiëntieverhouding van elke ovenruimte | EEI ovenruimte | 61 | |
| Modelnummer FS 913 P DCT | |||
| Type oven ingebouwd | |||
| Gewicht M 43 kg | |||
| Aantal ovenruimten 1 | |||
| Warmtebron van elke ovenruimte elektrisch | |||
| Volume van elke ovenruimte | V | 74 | I |
| Het energieverbruik dat vereist is om een standaard hoeveelheid in de ruimte van een elektrische oven op te warmen tijdens een cyclus in convectiemodus voor elke ovenruimte. | EC elektrische ovenruimte | 1,12 | kWh/cyclus |
| Het energieverbruik dat vereist is om een standaard hoeveelheid in de ruimte van een elektrische oven op te warmen tijdens een cyclus in modus geforceerde luchtcirculatie voor elke ovenruimte. | EC elektrische ovenruimte | 0,70 | kWh/cyclus |
| Energie-efficiëntieverhouding van elke ovenruimte | EEI ovenruimte | 81 | |
| De fabrikant voert continu productverbeteringen door. Daarom kunnen de tekst en afbeeldingen in deze handleiding zonder kennisgeving zijn gewijzigd. | Meer technische gegevens zijn beschikbaar op: - www.franke.com | ||
InDICe
Introduzione 159
Franke Nederland B.V.
5700 AD Helmond
Phone +31 492 585 111
SimpelGids




















