FS 913 M - Forno FRANKE - Manuale utente e istruzioni gratuiti
Trova gratuitamente il manuale del dispositivo FS 913 M FRANKE in formato PDF.
Domande frequenti - FS 913 M FRANKE
Domande degli utenti su FS 913 M FRANKE
0 domanda su questo apparecchio. Rispondi a quelle che conosci o fai la tua.
Fai una nuova domanda su questo apparecchio
Scarica le istruzioni per il tuo Forno in formato PDF gratuitamente! Trova il tuo manuale FS 913 M - FRANKE e riprendi in mano il tuo dispositivo elettronico. In questa pagina sono pubblicati tutti i documenti necessari per l'utilizzo del tuo dispositivo. FS 913 M del marchio FRANKE.
MANUALE UTENTE FS 913 M FRANKE
IT Istruzioni per l'uso Forno multifunzione con pannello di comando touch
TaBLe of ConTenTS
Introduction 5
About this manual 6
Intended use 6
Safety information 6
Informazioni sulle istruzioni per l'uso 160
Utilizzo 160
Informazioni per la sicurezza 160
Corretta collocazione e installazione 161
Uso corretto 161
Manutenzione e pulizia 162
Riparazione 162
Messa fuori servizio 162
Informazioni sul risparmio energetico 162
Vista d'insieme 163
Fomo 163
Pannello di comando 164
Simboli dei menu sul display 165
Prima accensione 167
Configurazione del display 167
Funzionamento 168
Cottura in modalità manuale 168
Cottura in modalità automatica 168
Cottura in modalità Cottura Eco 169
Programmazione di un'ora di fine cottura 170
Impostazione del timer 170
Utilizzo della sonda per la carne 171
Collegamento 171
Programmi di cottura manuale 172
Tabella delle cotture 174
Cotture testate 176
Programmi Menu completo 178
Menu completo Carne 178
Menu Completo Carne - Consumo energetico ridotto 180
Menu completo Pesce 183
Menu completo Pesce - Consumo energetico ridotto 185
Menu completo 4 pizze e pane 187
Menu completo 4 pizze e pane - Consumo energetico ridotto 187
Menu Wellness 188
Pulizia e cura 189
Raccomandazioni generali 189
Utilizzo della funzione Pulizia automatica 189
Pulizia della cavità del forno 190
Pulizia della porta del forno 190
Rimozione della porta del forno 190
Montaggio della porta del forno 190
Pulizia dei pannelli di vetro della porta del forno 190
Pulizia delle griglie laterali e delle guide telescopiche 192
Sostituzione della lampada del forno 192
Manutenzione e riparazione 193
Smaltimento 193
Servizio di assistenza 193
Dati tecnici 194
InTroDUZlone
Gentile cliente,
grazie per aver scelto un prodotto Franke.
Prima di utilizzare questo forno, La preghiamo di leggere attentamente le istruzioni e le raccomandazioni contenute in queste istruzioni per l'uso. In tal modo potrà utilizzare il forno al meglio e garantire il perfetto funzionamento del forno per gli anni a venire.
Conservi questo libretto per consultazioni future.
Frames by Franke è un forno di nuova generazione pensato per rivoluzionare la cucina casalinga e professionale.
La già testata Dynamic Cooking Technology (DCT) è stata migliorata con un display touchscreen HD che consente di programmare, pianificare e controllare qualsiasi processo di cottura con un semplice tocco del display.
Con Frames by Franke può scegliere come crede.
Potrà decidere di cucinare in "vecchio stile" con l'aiuto delle più avanzate innovazioni tecnologiche offerte dal forno.
Oppure potrà approfittare di ricette e menu completi già memorizzati e preimpostati che renderanno la Sua vita di tutti i giorni più semplice, più rapida e più sana.
Queste sono le opzioni a Sua disposizione:
MANUALE - Cottura in modalità manuale con impostazione di sistema, temperatura e durata come meglio si desidera.
AUTO - Cottura in modalità automatica approfittando di una grande varietà di ricette e menu completi già pronti.
COTTURA ECO – Cottura in modalità automatica o ecologica con una grande varietà di ricette e menu completi perfetti per la Sua salute.
Avanzamento tecnologico ed estetico in grado di combinare perfettamente design e prestazioni, Frames by Franke è un oggetto elegante adatto a qualsiasi ambientazione e garantisce una straordinaria affidabilità grazie alla qualità dei materiali utilizzati e all'attenzione per i dettagli tipica di tutti i prodotti Franke.
InformaZlonI SULLe ISTrUZlonI Per L'USo
Queste istruzioni per l'uso sono valide per diversi modelli del dispositivo. È quindi possibile che alcune delle caratteristiche e funzioni qui descritte non siano disponibili nel modello specifico acquistato.
Leggere attentamente le istruzioni per l'uso prima di utilizzare il dispositivo.
▶ Conservare le istruzioni per l'uso.
▶ Utilizzare il dispositivo descritto in queste istruzioni per l'uso solo conformemente all'uso previsto.
Simbolo Significato

Avviso di pericolo. Avviso di pericolo di lesioni.
▷ Azioni in sicurezza e avvertenze per evitare lesioni o danni.
▶ Azione. Specifica un'azione che deve essere compiuta.
■ Risultato. Risultato di una o più azioni.
√ Presupposto che deve essere soddisfatto prima di eseguire l'azione successiva.
UTILIZZo
Il forno è stato progettato esclusivamente per l'utilizzo non professionale in ambito domestico.
Il forno è concepito per offrire prestazioni professionali nel contesto domestico. È un dispositivo altamente versatile che consente di scegliere con facilità e in sicurezza diversi metodi di cottura.
InformaZlonl Per La SICUreZZa
Leggere attentamente le istruzioni per l'uso e le informazioni per la sicurezza prima di utilizzare il forno.
▷ Conservare le istruzioni per l'uso per consultazioni future.
Il produttore non risponde dei danni che possono verificarsi a causa di un'installazione non corretta e di un utilizzo del dispositivo non corretto, non adeguato o irragionevole.
La sicurezza elettrica del forno è garantita solo quando il dispositivo è collegato a un sistema di messa a terra in conformità alle disposizioni vigenti.
Per garantire il funzionamento sicuro ed efficiente di questo dispositivo elettrico:
Contattare unicamente centri di assistenza autorizzati.
▷ Non modificare le funzioni del dispositivo.
I bambini dagli 8 anni di età e persone con capacità fisiche, sensoriali o mentali limitate o con esperienza o conoscenza limitate non possono utilizzare né pulire il dispositivo, tranne nel caso in cui siano sorvegliati e istruiti da una persona responsabile della loro sicurezza.
Bambini di età inferiore a 8 anni non possono utilizzare né pulire il dispositivo anche se sorvegliati. Questo dispositivo non è un giocattolo.
▷ Tenere il dispositivo e il materiale di imballaggio lontani dalla portata dei bambini.
▷ Non lasciare bambini incustoditi nelle vicinanze del dispositivo.
▷ Non consentire ai bambini di giocare con il dispositivo.
▷ Non consentire ai bambini di toccare il dispositivo o i suoi comandi durante o immediatamente dopo l'uso.
Corretta collocazione e installazione
Se il forno deve rimanere sempre collegato alla rete di alimentazione elettrica:
Accertarsi che il dispositivo sia installato unicamente dal servizio di assistenza, da un elettricista o da personale addestrato in possesso dell'adeguata conoscenza/istruzione.
Accertarsi che il dispositivo sia installato in modo tale da consentirne lo scollegamento dall'alimentazione elettrica con una distanza di apertura dei contatti in grado di assicurare lo scollegamento completo nelle condizioni di sovratensione di categoria III.
Accertarsi che il dispositivo sia collegato direttamente alla presa di alimentazione.
- Non utilizzare adattatori, prese multiple o cavi di prolunga per collegare il dispositivo.
Accertarsi che il dispositivo non sia esposto agli agenti atmosferici (pioggia, sole).
Uso corretto
Utilizzare il dispositivo solo per preparare e cuocere alimenti.
- Quando si introducono contenitori all'interno del forno o li si estrae da esso, utilizzare guanti da forno.
Se si utilizzano altri dispositivi per la cottura insieme al forno, rispettare le indicazioni contenute nei rispettivi libretti di uso dei dispositivi.
▷ Non posizionare cavi elettrici o altri elettrodomestici sulle parti calde del forno.
▷ Non utilizzare la cavità del forno per riporre oggetti.
▷ Non utilizzare liquidi infiammabili nelle vicinanze del forno.
▷ Utilizzare unicamente la sonda di temperatura consigliata per questo forno.
Rischio di surriscaldamento e malfunzionamento del forno per via della ventilazione bloccata!
Non coprire mai le pareti interne del forno con pellicola di alluminio, in particolare la parte inferiore della cavità del forno.
▷ Non ostruire la ventilazione della ventola o le aperture di raffreddamento al di sopra della porta del forno.
Danni alle superfici smaltate interne del forno a causa di utilizzo non corretto di casseruole o contenitori!
Durante la cottura, non collocare mai casseruole o contenitori direttamente sul fondo della cavità del forno.
▷ Posizionare casseruole e contenitori solo sulle griglie o sulle leccarde disponibili nella cavità del forno, collocate su uno dei cinque ripiani disponibili.
Pericolo di ustioni!
Il forno e le sue parti accessibili assumono temperature molto elevate durante l'uso.
▷ Non toccare gli elementi riscaldanti all'interno del forno.
Pericolo di ustioni!
Le estremità della maniglia della porta possono avere una temperatura più elevata a causa dell'aria calda che sfoga all'esterno.
▷ Nell'aprire o nel chiudere la porta afferrare sempre la maniglia al centro.
Accertarsi sempre che le manopole di comando siano in posizione OFF quando il forno non è in uso.
Rischio di scossa elettrica a causa del dispositivo danneggiato!
▷ Non accendere un dispositivo danneggiato.
▷ Disattivare il fusibile nella scatola dei fusibili.
Contattare il servizio di assistenza.
Rischio di scossa elettrica!
▷ Non toccare il dispositivo con parti del corpo bagnate.
▷ Non utilizzare il dispositivo a piedi nudi.
▷ Non tirare il dispositivo o il cavo di alimentazione per scollegare il dispositivo dalla presa di alimentazione.
Manutenzione e pulizia
Prima di effettuare operazioni di manutenzione o pulizia:
▷ Scollegare il dispositivo dall'alimentazione, per es. disattivare il fusibile nella scatola dei fusibili.
Il forno utilizza uno speciale smalto, facile da tenere pulito. Tuttavia, Franke consiglia di pulirlo frequentemente per evitare che con la cottura lo sporco e i residui delle cotture precedenti formino incrostazioni.
Non utilizzare materiali abrasivi a grana grossa o raschietti affilati di metallo per pulire le parti in vetro della porta del forno, in quanto potrebbero graffiare la superficie e provocare la rottura del vetro.
▷ Non utilizzare pulitrici a vapore o getti diretti di acqua.

Rischio di scossa elettrica a causa della razione di liquidi!
Il dispositivo contiene componenti elettrici.
Accertarsi che non penetrino liquidi all'interno del dispositivo.
▷ Non utilizzare vapore pressurizzato per pulire il dispositivo.
▷ Non utilizzare un panno umido per pulire gli elementi di comando.
Riparazione
▷ Consentire solo a personale qualificato di installare o riparare il dispositivo.
Contattare un centro di assistenza autorizzato dal costruttore o personale qualificato nei casi seguenti:
- Subito dopo il disimballaggio, nel caso in cui vi siano dubbi in merito all'integrità del dispositivo
- Durante l'installazione (come da istruzioni del produttore)
- Dubbi in merito al corretto funzionamento del dispositivo
- Malfunzionamento o funzionamento non ottimale
- Sostituzione della presa di corrente se incompatibile con il connettore del dispositivo
- Danni al cavi di alimentazione o necessità di sostituire il cavo di alimentazione o il connettore
Messa fuori servizio
Se il forno non verrà più utilizzato, contattare il centro di assistenza o personale qualificato per scollegarlo dall'alimentazione.
InformaZlonl SUL rISParmlo enerGeTiCo
Le modalità operative COTTURA DELICATA e COTTURA VENTILATA LENTA consumano meno
energia delle altre funzioni di cottura disponibili.
▷ Evitare di aprire spesso la porta.
▷ Preriscaldare il più rapidamente possibile.
▷ Preriscaldare la cavità del forno solo se il risultato di cottura dipende da questa operazione.
Se una ricetta per un piatto gratinato utilizza il calore residuo per più di 30 minuti, spegnere il dispositivo 5-10 minuti prima della fine della cottura.
VISTa D'InSleme
Forno

1 Pannello di comando
2 Maniglia porta frontale
3 Vetro porta frontale
4 Illuminazione
5 Guide per griglie e leccarde
6 Ventola di raffreddamento (lato posteriore)
Ventola di raffreddamento
Per ridurre la temperatura in corrispondenza della porta, del pannello operativo e dei lati, il forno Franke è munito di una ventola di raffreddamento che viene automaticamente attivata quando il forno si riscalda. Con la ventola di raffreddamento accesa, l'aria viene sfogata all'esterno del forno tra il pannello frontale e la porta del forno. La velocità dell'aria espulsa è stata ottimizzata in modo da non creare disturbi in cucina e mantenere la rumorosità a un livello minimo. Per proteggere i mobili della cucina, la ventola di raffreddamento continua a funzionare finché il forno non si è sufficientemente raffreddato.
Guide per griglie e leccarde

flowchart
graph TD
A["①"] --> B["②"]
B --> C["③"]
C --> D["④"]
D --> E["⑤"]
E --> F["⑥"]
style A fill:#f9f,stroke:#333
style F fill:#f9f,stroke:#333
style B fill:#f9f,stroke:#333
style C fill:#f9f,stroke:#333
style D fill:#f9f,stroke:#333
style E fill:#f9f,stroke:#333
style F fill:#f9f,stroke:#333
Usate per posizionare correttamente le griglie e le leccarde in 5 posizioni predeterminate (a seconda del modello; numerazione da 1 a 5 partendo dal basso). La Tabella delle cotture (pagina 174) indica il posizionamento migliore per ciascun tipo di cottura.
Accessori Descrizione

Di norma utilizzata per raccogliere i succhi degli alimenti grigliati o per cucinare pietanze direttamente su di essa.
Se non utilizzate, le leccarde devono essere rimosse dal forno. Le leccarde sono realizzate in acciaio smaltato di grado alimentare "AA".
Griglia
Utilizzata per l'appoggio di tegami, stampi per dolci e qualsiasi altro contenitore diverso dalle leccarde in dotazione, o per cucinare carne e pesce principalmente con le funzioni grill e turbo grill, per tostare il pane, ecc. Gli alimenti non devono entrare in contatto diretto con la griglia.
Pannello di comando

text_image
1 2 3 18-11 MANUAL AUTO EEO COOKING1 Tasto
2 Display
3 Simboli dei menu
Tasto Nome tasto Funzione
![]() | Acceso/Spento Avvio/arresto del funzionamento del forno:► applicare una breve pressione.Spegnimento del forno:► premere più a lungo. | |
![]() | Sicurezza/Blocco | Avvia la procedura di sicurezza per evitare interruzioni accidentali del pro-gramma di cottura. Attivazione del blocco bambini:► applicare una breve pressione.Sblocco della procedura/del blocco bambini:► premere e tenere premuto per 2 secondi. |
![]() | Indietro Ritorna al menu precedente. | |
![]() | Conferma/Esegui | Convalida delle operazioni effettuate e conferma del programma:► applicare una breve pressione.Interruzione del programma:► Premere e scegliere tra ✗ . √ |
Simboli dei menu sul display
Schermata principale

text_image
18:11 1 2 3 MANUAL AUTO ECO COOKING 18:11 ECO COOKING WELLNESS SETUP
text_image
18:11 ECO COOKING WELLNESS SETUP| Simbolo del menu | Nome del menu | Funzione |
![]() | MANUALE | Cottura in modalità manuale |
![]() | AUTO | Cottura in modalità automatica |
![]() | COTTURA ECO | Questo menu offre i seguenti programmi:Ricette Eco e Menu completi EcoCottura a consumo energetico ridotto che utilizza l'alimentazione elettrica domestica disponibile nel modo più ecologico possibile. Le ricette di questo menu sono le medesime della modalità AUTO, ma con una cottura a minore consumo energetico.- Nel programma RICETTE è possibile cuocere su un solo livello.- Nel programma MENU COMPLETO è possibile cuocere su quattro livelli. |
![]() | WELLNESS | Questo menu offre il seguente programma: WellnessCottura di piatti di carne, pesce e verdure in modo completamente naturale e con pochi grassi. Questo programma richiede una cottura prolungata a bassa temperatura all'interno dell'alimento (attorno ai 100 °C) senza aggiunta di olio o altri grassi. In tal modo è possibile conservare il valore nutrizionale originario dell'alimento (minerali, vitamine, ecc.) ed esaltarne i sapori naturali.- Nel programma WELLNESS è possibile cuocere su un solo livello. |
![]() | IMPOSTA-ZIONE | In questo menu è possibile configurare il display: ora, data, lingua, luminosità e contrasto. |
![]() | RICETTE | In questo menu è possibile scegliere tra diverse categorie di ricette, per es. pasta, verdura, carne, pesce, torte, pane o pizza. |
![]() | MENU COM-PLETO | In questo menu è possibile scegliere tra diversi programmi per menu completi, per es. menu carne, menu pesce, 4 pizze, pane in 4 vassoi. |
SCHERMATA modalità Manuale

text_image
1 MANUAL 18:11 155 14 160°C 00h 15m 165 01 16 SYSTEM TEMPERATURE DURATION 3 4 51 Nome del menu
2 Barra dei menu
3 Ora corrente
4 Sezioni con le impostazioni del programma (grigio: impostazione attiva).
5 Nome sezione
SCHERMATA RICETTE, MENU COMPLETO, WELLNESS

text_image
1 RECIPIES 18:11 VEGETABLES PASTA MEAT1 Nome del menu
2 Ora corrente
3 Ricetta o menu completo con immagine esemplificativa e nome Nella modalità COTTURA ECO la schermata è identica, ma al nome del menu è aggiunta in fondo la parola ECO.
Schermata sottomenu
Questo sottomenu compare quando si tocca la barra superiore dei menu di qualsiasi schermata.

text_image
MANUAL 18:11 1 2 3 160°C 00h 30m 18:41 PROGRAM TEMPERATURE TRAY INFO TIME1 Ora corrente. Il simbolo del termometro compare quando il forno è in funzione, si sta riscaldando o è programmato.
2 Simboli delle funzioni
3 Visualizzazione dei parametri del programma di cottura
Simbolo Nome del simbolo Funzione
![]() | Luce spenta Accende/spegne l'illuminazione interna | |
![]() | Indietro Esce dal sottomenu e torna al menu precedente | |
![]() | Azzeramento cronometro | Azzera il tempo di cottura e la durata dopo che la cottura è stata iniziata |
![]() | Impostazione ora di fine cottura | Imposta un'ora di fine cottura |
![]() | Timer Imposta un'ora di allarme | |
Se si è programmata la durata della cottura con un ritardo di accensione, il display visualizza il tempo di cottura totale e l'ora in cui la cottura sarà terminata.
PrIma aCCenSlone
Se si utilizza il forno per la prima volta:
▶ Aprire la porta e assicurarsi che il forno sia vuoto. Rimuovere tutti gli accessori.
Accertarsi che la stanza sia ben aerata, per es. aprire porte e finestre.
▶ Premere Ⓐ per accendere il forno.
Dopo l'accensione, compare la schermata principale.
Premere
▶ Nella sezione SISTEMA selezionare il programma MULTI COOKING.
▶ Nella sezione TEMPERATURA selezionare la temperatura massima (270 °C).
▶ Nella sezione DURATA selezionare 00 h 40m.
▶ Far funzionare il forno da vuoto alla massima temperatura con la porta completamente aperta
L'odore percepibile nel corso di questa operazione è dovuto all'evaporazione di sostanze utilizzate per proteggere il forno nel periodo di tempo che intercorre tra la produzione e l'effettiva installazione. Al termine dei 40 minuti, il forno si spegne automaticamente ed è pronto per essere utilizzato.
ConfIGUraZlone DeL DISPLaY
Questo capitolo illustra come impostare le funzioni del display secondo le proprie esigenze.
Avvio della configurazione
Premere
■ Compare il menu IMPOSTAZIONE con diverse opzioni.
Configurazione dell'ora
▶ Premere ORA E DATA.
▶ Scegliere ora, minuti e secondi facendo scorrere la lista.
Configurazione della lingua
▶ Premere LINGUA.
▶ Scegliere la propria lingua facendo scorrere la lista.
Configurazione della luminosità del display
▶ Premere LUMINOSITÀ DISPLAY.
Impostare la luminosità del pannello di comando selezionando uno dei segmenti della barra.
Configurazione del volume del segnale acustico di allarme
Premere SUONO.
▶ Impostare il volume selezionando uno dei segmenti della barra.
Configurazione del tipo di orologio del display
▶ Premere TIPO OROLOGIO DISPLAY.
▶ Selezionare la visualizzazione desiderata: orologio analogico o orologio digitale.
Spegnimento del display
Il display può spegnersi automaticamente quando viene spento il forno. Con questa opzione selezionata, l'orologio non è visibile.
Termine della configurazione
▶ Per confermare la configurazione, premere
■ Compare il menu principale. Le impostazioni sono state salvate.
fUnZlonamenTo
▶ Per utilizzare il forno Franke al meglio, consultare la Tabella delle cotture.
Cottura in modalità manuale
Nella modalità manuale si effettua la cottura impostando un programma, la temperatura e la durata secondo le proprie preferenze.
Premere
■ Compare il menu MANUALE con diverse sezioni:
Sezione Descrizione
| SISTEMA | Selezione tra diversi programmi (vedere il capitolo Programmi di cottura manuale) |
| TEMPERATURA | Selezione della temperatura necessaria da min 50 °C a max 270 °C (nel programma COTTURA DELICATA: 230 °C) |
| DURATA | Selezione della durata di cottura in ore e minuti |
In ciascuna sezione: selezionare il programma, la temperatura e la durata.
Collocare il cibo preparato nella cavità del forno e chiudere la porta.
▶ Premere per confermare.
■ Il programma di cottura si avvia.
Per arrestare il programma:
▶ Premere ▶ premere . √
Cottura in modalità automatica
Nella modalità automatica esistono numerose ricette e menu completi.
Premere
Compare il menu AUTO con i rispettivi sottomenu:
- RICETTE
In questo menu è possibile scegliere tra diverse categorie di ricette, per es. pasta, verdura, carne, pesce, torte, pane o pizza.
- MENU COMPLETI
In questo menu è possibile scegliere tra diversi programmi per menu completi, per es. menu carne, menu pesce, 4 pizze, pane in 4 vassoi.
Esempio di programma di ricetta
| Premere |
| Premere PASTA, quindi premere CANNELLONI. Compare il sommario della ricetta: |
Sezione Descrizione
| QUANTITÀ | Selezione del peso del cibo da cucinare dal menu verticale |
| INFO | Impostazione automatica di temperatura, programma e visualizzazione della posizione ottimale per il vassoio/leccarda |
| TEMPO | Impostazione automatica della durata di cottura |
▶ Premere QUANTITÀ e selezionare il peso del cibo.
▶ Collocare il cibo preparato nella cavità del forno e chiudere la porta.
▶ Premere 🏠 per confermare. ■ Il programma di cottura si avvia.
Per arrestare il programma:
▶ Premere e premere . √
I dettagli delle ricette (ingredienti e preparazione) sono disponibili sul nostro sito web: - http://recipes.franke.com
Esempio di programma di menu completo
▶ Premere
▶ Premere CARNE.
■ Compare il sommario del menu completo:
Sezione Descrizione
| PROGRAMMA | Impostazione automatica del programma di cottura |
| TEMPERATURA | Impostazione automatica della temperatura |
| INFO VASSOIO | Visualizzazione automatica della posizione ottimale per il vassoio/leccarda |
| TEMPO | Impostazione automatica della durata di cottura |
▶ Collocare il cibo preparato nella cavità del forno e chiudere la porta.
▶ Premere 🏠 per confermare.
■ Il programma di cottura si avvia.
▶ Per arrestare il programma, premere 🖼 confermare premendo √.
I dettagli delle ricette (ingredienti e preparazione) sono disponibili sul nostro sito web:
- http://recipes.franke.com
Cottura in modalità Cottura Eco
Nella modalità Cottura Eco si può beneficiare di un modo di cucinare ecocompatibile, con numerose ricette e menu completi perfetti per la propria salute e il proprio benessere.
In questo menu le ricette sono le medesime della modalità AUTO, ma con una cottura a minore consumo energetico.
Premere
Compare il menu COTTURA ECO con i rispettivi sottomenu:
- RICETTE
In questo menu è possibile scegliere tra diverse categorie di ricette, per es. pasta, verdura, carne, pesce, torte, pane o pizza.
- WELLNESS
In questo menu è possibile scegliere tra diverse opzioni di ricette, quali agnello, maiale, pecora, pollame, pesce, vitello e verdure.
- MENU COMPLETI
In questo menu è possibile scegliere tra diversi programmi per menu completi, per es. menu carne, menu pesce, 4 pizze, pane in 4 vassoi.
Esempio di programma di ricetta
Premere
▶ Premere PASTA, quindi premere CANNELLONI.
■ Compare il sommario della ricetta:
| Sezione Descrizione | |
| QUANTITÀ | Selezione del peso del cibo da cucinare dal menu verticale |
| INFO | Impostazione automatica di temperatura, programma e visualizzazione della posizione ottimale per il vassoio/leccarda |
| TEMPO | Impostazione automatica della durata di cottura |
▶ Premere QUANTITÀ e selezionare il peso del cibo.
▶ Collocare il cibo preparato nella cavità del forno e chiudere la porta.
▶ Premere 🏠 per confermare.
■ Il programma di cottura si avvia.
Per arrestare il programma:
▶ Premere 🏠 premere . √
I dettagli delle ricette (ingredienti e preparazione) sono disponibili sul nostro sito web:
- http://recipes.franke.com
Esempio di programma di menu Wellness
Questo programma consente di cuocere pietanze di carne, pesce e verdure in modo completamente naturale e con pochi grassi. Richiede una cottura pro-lungata a bassa temperatura all'interno dell'alimento (attorno ai 100 °C) senza aggiunta di olio o altri grassi. In tal modo è possibile conservare la bontà nutrizionale originaria dell'alimento (minerali, vitami-ne, ecc.) e di esaltarne i sapori naturali.
Premere
▶ Premere VERDURE.
■ Compare il sommario del menu completo:
| Sezione Descrizione | |
| PROGRAMMA | Impostazione automatica del programma di cottura |
| TEMPERATURA | Impostazione automatica della temperatura |
| INFO VASSOIO | Visualizzazione automatica della posizione ottimale per il vassoio/leccarda |
| TEMPO | Impostazione automatica della durata di cottura |
| ► Collocare il cibo preparato nella cavità del forno e chiudere la porta.► Premere ▶ per confermare.■ Il programma di cottura si avvia.► Per arrestare il programma, premere ▶ e premere √. | |
I dettagli delle ricette (ingredienti e preparazione) sono disponibili sul nostro sito web:
- http://recipes.franke.com
Esempio di programma di menu completo
Premere
▶ Premere CARNE.
■ Compare il sommario del menu completo:
Sezione Descrizione
| PROGRAMMA | Impostazione automatica del programma di cottura |
| TEMPERATURA | Impostazione automatica della temperatura |
| INFO VASSOIO | Visualizzazione automatica della posizione ottimale per il vassoio/leccarda |
| TEMPO | Impostazione automatica della durata di cottura |
▶ Collocare il cibo preparato nella cavità del forno e chiudere la porta.
▶ Premere 🏠 per confermare.
■ Il programma di cottura si avvia.
▶ Per arrestare il programma, premere 📋 premere √.
I dettagli delle ricette (ingredienti e preparazione) sono disponibili sul nostro sito web:
- http://recipes.franke.com
Programmazione di un'ora di fine cottura
Nella modalità di cottura manuale
▶ Premere
■ Compare il menu MANUALE con diverse sezioni.
Premere la zona della parte alta del display dove viene visualizzata l'ora (per es. 18:11).
■ Compare la schermata del sottomenu.

text_image
MANUAL 18:11 160°C 00h 30m 18:41 ° PROGRAM TEMPERATURE TRAY INFO TIME
▶ Scegliere ora, minuti e secondi facendo scorrere il menu verticale.
▶ Confermare con
■ Il forno è ora in modalità stand-by.
Il forno calcola l'ora di accensione sulla base del tempo di cottura scelto o del programma di cottura e dell'ora di fine cottura preimpostata. La cottura avrà inizio all'ora di accensione calcolata.
Impostazione del timer
Il timer può essere utilizzato in tutte le modalità di cottura, è indipendente da qualsiasi funzione.
Premere la zona della parte alta del display dove viene visualizzata l'ora (per es. 18:11).
■ Compare la schermata del sottomenu.

text_image
MANUAL 18:11 160°C 3 00h 30m 18:41 PROGRAM TEMPERATURE TRAY INFO TIMEPremere
▶ Scegliere ora, minuti e secondi facendo scorrere il menu verticale.
Premere nuovamente la zona della parte alta del display dove viene visualizzata l'ora (per es. 18:11).
▶ Premere √er confermare.
■ Il timer funziona in background.
Al temine del tempo impostato, si ode un suono.
UTILIZZo DeLLa SonDa Per La Carne
La sonda per la carne fornita con il forno Franke consente di cuocere la carne con la certezza che il processo di cottura verrà interrotto nel momento giusto, ovvero quando la temperatura misurata nel "cuore" della carne corrisponderà alla temperatura della cottura ideale. In questo modo non è più necessario impostare i tempi di cottura e controllare ripetutamente la carne.
La sonda per la carne non può essere attivata nelle modalità di cottura 📄, 📋GRILL, GRILL
VENTILATO), né nelle ricette a cottura preimpostata.
Cautela!
▷ Utilizzare unicamente la sonda di temperatura consigliata per questo forno.
Collegamento
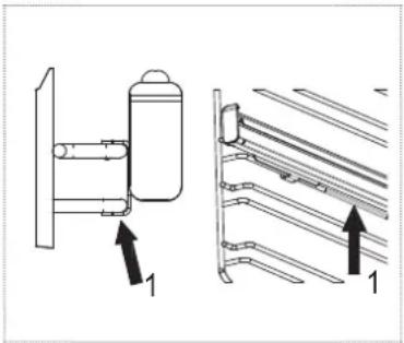
Si consiglia di collegare il connettore della sonda prima dell'inizio della cottura e a forno freddo, al fine di evitare ustioni.
Accertarsi che il connettore sia perfettamente inserito nell'attacco per garantire la stabilità e la corretta lettura della temperatura della carne.
Il punto di collegamento della sonda è indicato nella figura.

Dopo avere collegato la sonda, inserire la punta nella carne e accendere il forno.
Per una corretta lettura della temperatura la sonda deve essere inserita in modo che la punta sia il più possibile vicina al centro della carne.
▶ Selezionare la modalità di cottura e la temperatura.
■ Si accenderà il simbolo — per indicare che la sonda è stata collegata correttamente.
■ Se compare subito il messaggio di fine cottura FINE significa che il connettore non è completamente inserito. Inserire correttamente il connettore.
La temperatura del forno selezionata deve essere adatta alla cottura uniforme necessaria (una temperatura troppo elevata potrebbe bruciare la parte esterna della carne). La cottura viene comunque sempre interrotta quando la sonda rileva una temperatura di 65 °C all'interno della carne, indipendentemente dalla temperatura del forno selezionata. A questa temperatura preimpostata, infatti, la carne è cotta al punto. Se si desidera un altro tipo di cottura (al sangue o ben cotta), questo valore preimpostato può essere modificato nel modo seguente:
▶ Premere il pulsante <, selezionare 📄 e confermare con √
▶ Entro 15 secondi utilizzare i pulsanti + e - per aumentare o diminuire la temperatura. È possibile selezionare una temperatura compresa tra 35 °C e 95 °C.
ProGramml DI CoTTUra manUaLe
| Programma Descrizione | |
![]() | COTTURA VENTILATA LENTAQuesta funzione di cottura a risparmio energetico (1500 Watt) è adatta in generale a una grande varietà di pietanze. I tempi di cottura sono più lunghi, ma la distribuzione del calore è ottimale e ciò garantisce risultati eccellenti con un basso consumo energetico. |
![]() | STATICOQuesta funzione tradizionale è adatta a tutti i piatti, per cuocere pane e torte, ma anche arrosti e agnello. |
![]() | STATICO VENTILATOFunzione tradizionale utilizzata per flan, torte salate, dessert e arrosti o per cucinare su due ripiani. |
![]() | PIZZAGli elementi riscaldanti vengono combinati per creare un'elevata concentrazione di calore nella parte bassa del forno. Questa funzione è ideale per cucinare la pizza, che richiede calore dal basso su un solo ripiano. La cottura è rapida e sono garantiti risultati perfetti (per il preriscaldamento utilizzare la modalità COTTURA VELOCE e per la cottura passare alla modalità Pizza). |
![]() | COTTURA VELOCEQuesta funzione molto potente sfrutta l'effetto booster del DCT. Consente di raggiungere temperature elevate in breve tempo. Questa funzione è adatta per la cottura tradizionale di grandi tagli di carne (per es. cosciotto di agnello, maialino da latte arrosto, stinco di maiale/vitello, prosciutto al forno). |
![]() | MULTI COOKINGQuesta funzione utilizza tutti gli elementi riscaldanti del forno (DCT e tradizionali).Diversamente dalla funzione MENU COMPLETO, questa funzione crea calore prevalentemente nella parte bassa del forno ed è quindi ideale per cuocere su 4 ripiani (pane, 4 pizze, torte salate). |
![]() | MENU COMPLETOLa combinazione della tecnologia DCT con i tradizionali elementi riscaldanti crea una distribuzione di calore graduale, prevalentemente verso il ripiano più in alto, ed è ideale per cuocere grandi quantità di alimenti su 2–3 ripiani. |
![]() | COTTURA FACILITATAQuesta è la funzione ideale per i cuochi principianti. La combinazione della tecnologia DCT con i tradizionali elementi riscaldanti crea una distribuzione equilibrata del calore che consente di cucinare una grande varietà di cibi con consumo energetico istantaneo limitato. |
![]() | COTTURA DELICATALa temperatura è regolata a 120 °C con la ventola interna di raffreddamento accesa per cuocere a bassa potenza (1000 Watt).I tempi di cottura sono più lunghi, il che consente una cottura molto delicata e uniforme (per es. cottura di tipo "wellness"). Questa funzione è adatta per il preriscaldamento del forno prima di introdurvi il cibo preparato. |
Programma Descrizione

BASSA TEMPERATURA
La funzione Bassa temperatura è ideale per cucinare alimenti a bassa temperatura con tempi più lunghi per preservare la tenerezza dell'alimento e le sue proprietà organolettiche. È così possibile cucinare carne, pesce e verdure conservandone il sapore originale e i valori nutrizionali.

RISPARMIO ENERGETICO
Questa funzione riduce il consumo di energia da parte del forno durante la cottura, ma non è adatta a tutti i tipi di alimenti.

BBQ
Gli elementi riscaldanti tradizionali superiori e il grill sono assistiti dal DCT. Il calore è generato solo nella parte alta del forno ed è irradiato uniformemente sulla superficie dell'alimento. Questa funzione è adatta a tagli di carne piccoli o teneri e agli hamburger.

GRILL
Questa funzione utilizza il grill superiore ed è ideale per tostare il pane e per rosolare la carne o il pesce.

GRILL VENTILATO
Il calore è generato dal grill e distribuito dalla ventola posteriore. Ideale per cucinare grandi tagli di carne e pollame.

SCONGELAMENTO
La temperatura è regolata a 25 °C con la ventola interna di raffreddamento accesa. Questa funzione è adatta a scongelare gli alimenti lentamente o a raffreddare il forno dopo una cottura.

LIEVITAZIONE
La temperatura è regolata a 30 °C con la ventola interna di raffreddamento spenta. In questo modo si creano le condizioni ideali per la lievitazione degli impasti.

SCALDA VIVANDE
La temperatura è regolata tra 55 °C e 80 °C. Questa funzione è adatta per riscaldare alimenti cotti e freddi o per tenere in caldo i piatti o le pietanze senza alterarne la cottura.

PULIZIA AUTOMATICA
Questa funzione è disponibile solo nei forni con funzione di pulizia pirolitica, come il forno FS913P. Il forno si riscalda fino a 450 °C e viene automaticamente pulito.
TaBeLLa DeLLe CoTTUre
Le istruzioni riportate nella Tabella delle cotture sono il risultato di test di cottura condotti da una squadra di cuochi professionisti. Sono fornite unicamente a titolo di guida e possono essere modificate in base ai gusti personali.
| Funzione selezionata | Tipo di alimento o ricetta Peso (kg) | Posizione ripiano (livello) | Tempo di pre-riscaldamento (minuti) | Temperatura (°C) | Durata (minuti) | |
| COTTURA DELICATA | Capesante | 0,5 | 3 o 4 | 8 | 170 | 17-20 |
| Torte salate 1 3 o 4 8 175 17-20 | ||||||
| Pasta al forno | 1,8 | 2 o 3 | 9,5 | 195 | 38-40 | |
| Cannelloni | 1,3 | 2 o 3 | 10 | 195 | 40-45 | |
| Roast-beef | 1,3 | 2 o 3 | 10 | 195 | 70-74 | |
| Pesce al cartoccio | 0,4 | 4 o 5 | 8 | 200 | 48-55 | |
| Biscotti | 0,8 | 2 o 3 | 8 | 165 | 40-45 | |
| Torta di mele | 1,6 | 2 o 3 | 10 | 180 | 65-70 | |
| VENTOLA | Pizza a fette | 1,3 | 4 o 3 | 7 | 200 | 40-45 |
| Verdure al forno | 1 | 2 o 3 | 8 | 190 | 20-25 | |
| Crespelle ripiene | 1,3 | 3 o 4 | 8 | 200 | 30-35 | |
| Hamburger | 180 g | 3 o 4 | 8 | 180 | 10-12 | |
| Arrosto di maiale | 1,3 | 2 o 3 | 12 | 200 | 85-95 | |
| Branzino | 0,8 | 3 o 4 | 8 | 200 | 38-48 | |
| Pesce al sale | 0,8 | 2 o 3 | 6 | 190 | 40-43 | |
| Crostate | 1,3 | 3 o 4 | 8,5 | 180 | 60-65 | |
| PIZZA | Pane | 1 | 2 o 3 | 8 | 180 | 25-30 |
| Pizza sottile | 0,2 | 2 o 3 | 8 | 190 | 8-15 | |
| Pizza focaccia | 1,3 | 2 o 3 | 10 | 185 | 20-23 | |
| Focaccia | 1,3 | 2 o 3 | 8 | 185 | 18-23 | |
| Pane tostato all'aglio | 0,4 | 4 o 5 | 10 | 190 | 9-13 | |
| COTTURA FACILITATA | Cannelloni | 1,3 | 2 o 3 | 10 | 195 | 35-45 |
| Parmigiana al forno | 1,3 | 3 o 4 | 8,5 | 190 | 30-37 | |
| Pasticcio di carne o di verdure | 1,8 | 2 o 3 | 10 | 180 | 50-65 | |
| Verdure al gratin | 1,2 | 2 o 3 o 4 | 7,5 | 195 | 20-23 | |
| Patate intere al forno | 1,5 | 2 o 3 | 8 | 190 | 40-46 | |
| Orata | 0,8 | 2 o 3 | 10 | 180 | 30-37 | |
| Coniglio (a pezzi) | 1,1 | 2 o 3 | 8 | 175 | 65-80 | |
| Plum cake | 0,9 | 2 o 3 | 10 | 175 | 50-65 | |
| Funzione selezionata | Tipo di alimento o ricetta | Peso (kg) | Posizione ripiano (livello) | Tempo di pre-riscaldamento (minuti) | Temperatura (°C) | Durata (minuti) |
| MENU COM- PLETO | Tortini al formaggio | 0,8 | 2 o 3 | 6,5 | 180 | 23-28 |
| Torte salate | 1,5 | 2 o 3 | 8 | 190 | 35-40 | |
| Pomodori gratinati | 9 pz. | 2 o 3 | 7,5 | 200 | 20-22 | |
| Arrosto di vitello | 1,3 | 1 o 2 o 3 | 8,5 | 190 | 105-115 | |
| Galletto | 0,4 | 2 o 3 | 7,5 | 200 | 28-35 | |
| Merluzzo | 1,5 | 2 o 3 | 7,5 | 190 | 28-38 | |
| Coda di rospo | 0,7 | 2 o 3 | 8 | 190 | 23-28 | |
| Bignè alla panna | 0,9 | 2 o 3 | 6 | 200 | 13-18 | |
| MULTI COO- KING | Grande pagnotta di pane casereccio | 1,5 3 o 4 | 8 210 | 38-48 | ||
| Tortini di verdure | 0,8 | 2 o 3 o 4 | 7,5 | 180 | 15-22 | |
| Pasta al forno | 1,3 | 2 o 3 | 9,5 | 190 | 32-40 | |
| Riso pilaf | 1 | 2 o 3 | 10 | 190 | 15-22 | |
| Pesce spada | 0,8 | 2 o 3 | 8 | 200 | 30-35 | |
| Pollo a pezzi | 1 | 2 o 3 | 7,5 | 175 | 40-45 | |
| Croissant | 12 pz. | 3 o 4 | 6 | 180 | 15-20 | |
| Pasta sfoglia | 0,8 | 2 o 3 o 4 | 6,5 | 165 | 18-22 | |
| COTTURA VELOCE | Verdure al gratin | 1,4 | 1 o 2 o 3 | 6 | 190 | 15-19 |
| Tortellini al gratin | 1 | 2 o 3 | 5,5 | 175 | 17-23 | |
| Gnocchi di patate | 1,5 | 1 o 2 | 5 | 180 | 15-25 | |
| Spiedini di carne | 1 | 1 o 2 o 3 | 8,5 | 190 | 22-28 | |
| Ali di pollo | 1 | 2 o 3 | 7,5 | 175 | 18-23 | |
| Salsicce | 15 pz. | 2 o 3 | 5,5 | 180 | 13-15 | |
| Bonet al cioccolato | 9 pz. | 2 o 3 | 3 | 210 | 7-9 | |
| Muffin | 9 pz. | 1 o 2 | 4,5 | 190 | 15-22 | |
| BBQ | Omelette | 1,8 | 2 o 3 | 4 | 190 | 22-45 |
| Pasticcio di pesce | 1,8 | 2 o 3 o 4 | 5,5 | 185 | 30-32 | |
| Spiedini di carne di capra | 1 | 2 o 3 | 6 | 200 | 8-15 | |
| Costolette di maiale | 1,8 | 1 o 2 | 8 | 195 | 32-42 | |
| Hamburger | 180 g | 1 o 2 o 3 | 3 | 195 | 6-8 | |
| Trotta | 0,8 | 1 o 2 o 3 | 6,5 | 200 | 37-42 | |
| Crespelle dolci ripiene | 12 pz. | 1 o 2 | 5,5 | 190 | 7-15 | |
| Mini croissant | 12 pz. | 1 o 2 | 4 | 185 | 15-17 | |
CoTTUre TeSTaTe
- In conformità alla norma EN / IEC 60350
Queste tabelle sono state create per gli enti di controllo al fine di facilitare la verifica e il test dei vari dispositivi.
Come leggere la Tabella delle cotture
La tabella suggerisce la funzione ideale da utilizzare per un particolare alimento cotto su uno o più ripiani contemporaneamente.
I tempi di cottura si riferiscono al momento di introduzione dell'alimento nel forno, preriscaldamento (se necessario) escluso.
Le temperature e i tempi di cottura sono valori approssimativi e dipendono dalla qualità dell'alimento e dal tipo di accessori utilizzati.
Inizialmente utilizzare i valori consigliati, e se il risultato di cottura non è come previsto, aumentare o ridurre il tempo di cottura. Si consiglia di utilizzare gli accessori forniti, teglie per torte e leccarde di metallo di colore scuro. Seguire la tabella di selezione che elenca gli articoli forniti e su quale ripiano devono essere posizionati.
I livelli indicati si riferiscono ai ripiani senza guide di scorrimento (da rimuovere).
Cottura contemporanea di alimenti diversi
Utilizzando le funzioni ventilate consigliate, è possibile cucinare contemporaneamente su ripiani diversi. Se si cucina su un solo ripiano è possibile utilizzare anche la funzione statica.
| Ricetta Funzione Preriscaldamento Livello | (dal basso verso l'alto) | Temperatura (°C) | Tempo (minuti) | Accessori/note | ||
| Pasta frolla STATICO | ✓ | 4 160 22-26 Livello 4: leccarda piatta | ||||
| COTTURA FACI-LITATA | ✓ | 3-5 | 150 | 35-40 | Livello 5: leccarda piattaLivello 3: leccardaprofonda | |
| Piccole torte STATICO | ✓ | 3 170 33-38 Livello 3: leccarda | profonda | |||
| COTTURA FACI-LITATA | ✓ | 3 150 24-28 Livello 4: leccarda pro-fondaLivello 3: leccardaprofonda | ||||
| COTTURA FACI-LITATA | ✓ | 3-4 | 150 | 24-28 | Livello 4: leccarda piattaLivello 3: leccardaprofonda | |
| Pan di Spagna senza grassi | STATICO | ✓ | 2 | 170 | 43-48 | Livello 2: teglia da fornosulla griglia |
| COTTURA FACI-LITATA | ✓ | 2 | 170 | 28-32 | Livello 2: teglia da fornosulla griglia | |
| Torta di mele STATICO | ✓ | 1 190 | 60-70 Livello 1: teglia da fornosulla griglia | |||
| MULTI COOKING | ✓ | 1 | 180 | 50-55 | Livello 1: teglia da fornosulla griglia | |
| Due torte di mele | MULTI COOKING | ✓ | 1 | 180 | 50-55 | Livello 1: 2 teglie da forno sulla griglia |
| Torte lievitate | STATICO | ✓ | 2 165 25-30 Livello 2: teglia da fornosulla griglia | |||
| COTTURA FACI-LITATA | ✓ | 2 | 165 | 28-35 | Livello 2: teglia da fornosulla griglia | |
| Cottura con grill | Se si cucinano gli alimenti direttamente sulla griglia, posizionare la leccarda sul ripianosottostanteper raccogliere i residui di cottura e mantenere pulito il forno. | |||||
| Toast | GRILL | ✓(5 minuti) | 5 | 80 | 2-3 | Livello 5: grigliaTenere la porta del fornochiusa per tutto il tempodi cottura. |
| Hamburger | BBQ | no | 4 | 200 | 20 | Livello 4: grigliaLivello 3: leccardaGirare l'hamburger dopo10 minuti |
ProGramml menU ComPLeTo

flowchart
graph TD
A["1"] --> B["S"]
C["2"] --> D["1"]
E["3"] --> F["2"]
G["4"] --> H["D"]
I["5"] --> J["1"]
K["6"] --> L["1"]
1 Guide
2 Posizione ripiano
3 Cavità del forno
Esempio:
S Starter (Antipasto)
1 Primi piatti
2 Secondi piatti
D Dessert
Per informazioni su pesi e posizioni, visitare il nostro sito: http://recipes.franke.com
Menu completo Carne
Menu Carne 1
| Piatto Ricette Posizione | ripiano | Tempi di estrazione progressivi | Peso (ricetta) | Accessorio FRANKE da utilizzare | |
| Antipasto | BIGNÈ ALLA CREMA DI GRUVIERA | 6 28 min n. 20 | g 300 | Leccarda piatta | |
| Primi | CANNELLONI AL RIPIENO DI CARNE | 4 | 41 min | g 1100 | Teglia da forno sulla griglia |
| Dessert | TORTA DI CIOCCOLATO E PEPERONCINO | 1 51 min g 800 | Teglia da forno su leccarda | profonda | |
| Secondi | FARAONA RIPIENA | 2 | 98 min | g 1450 | Teglia da forno sulla griglia |
Menu Carne 2
| Piatto Ricette Posizione | ripiano | Tempi di estrazione progressivi | Peso (ricetta) | Accessorio FRANKE da utilizzare | |
| Antipasto | ZUCCHINE RIPIENE AI FORMAGGI | 6 18 min n. 16 | g 700 | Leccarda piatta | |
| Dessert | TORTA DI MELE | 1 | 34 min | g 800 | Teglia da forno su leccarda profonda |
| Primi | LASAGNE AL PESTO DI CARNE | 4 | 44 min | g 1600 | Teglia da forno sulla griglia |
| Secondi | POLPETTONE DI POLLO PISELLI ASPARAGI | 2 | 54 min | g 1100 | Teglia da forno sulla griglia |
Menu Carne 3
| Piatto Ricette Posizione | ripiano | Tempi di estrazione progressivi | Peso (ricetta) | Accessorio FRANKE da utilizzare | |
| Antipasto | FINOCCHI GRATINATI ALLA VODKA | 6 22 min g 800 Teglia da forno sulla griglia | |||
| Primi | GNOCCHI ALLA ROMANA | 4 29 min g 650 Teglia da forno sulla griglia | |||
| Dessert | PLUM CAKE 1 51 min g 580 Teglia da forno su leccarda | profonda | |||
| Secondi | CINGHIALE IN SALSA | 3 | 55 min | g 900 | Leccarda piatta |
Menu Carne 4
| Piatto Ricette Posizione | ripiano | Tempi di estrazione progressivi | Peso (ricetta) | Accessorio FRANKE da utilizzare | |
| Antipasto | TORTINO DI SPINACI | 6 | 19 min | g 800 | Teglia da forno sulla griglia |
| Primi | PASTICCIO POLENTA E VERDURE | 4 25 min g 1200 | Teglia da forno sulla griglia | ||
| Secondi | TACCHINO CON ASPARAGI | 3 29 min g 870 | Leccarda piatta | ||
| Dessert | FOCACCIA DOLCE | 1 | 32 min | g 1100 | Teglia da forno su leccarda profonda |
Menu Carne 5
| Piatto Ricette Posizione | ripiano | Tempi di estrazione progressivi | Peso (ricetta) | Accessorio FRANKE da utilizzare | |
| Antipasto | FIORI DI zUCCA RIPIENI | 6 | 17 min | g 600 | Teglia da forno sulla griglia |
| Primi | PAPPARDELLE & zUCCHINE | 4 | 23 min | g 1100 | Teglia da forno sulla griglia |
| Secondi | ARROSTO DI VITELLO | 3 | 28 min | g 900 | Leccarda piatta |
| Dessert | BUDINO RICOTTA E CANNELLA | 1 41 min g 850 Teglia da forno su leccarda | profonda | ||
Menu Carne 6
| Piatto | Ricette Posizione | ripiano | Tempi di estrazione progressivi | Peso (ricetta) | Accessorio FRANKE da utilizzare |
| Antipasto | CESTINI DI PATATE | 6 | 23 min | g 800 | Leccarda piatta |
| Primi | zITE RIPIENE | 4 | 38 min | g 1100 | Teglia da forno sulla griglia |
| Dessert | CASTAGNACCIO | 1 | 38 min | g 900 | Teglia da forno sulla griglia |
| Secondi | COSCIOTTO D'AGNELLO ALLA FRANCESANA | 3 78 min g 800 Leccarda profonda | |||
Menu Carne 7
| Piatto | Ricette Posizione | ripiano | Tempi di estrazione progressivi | Peso (ricetta) | Accessorio FRANKE da utilizzare |
| Antipasto | PEPERONI IMBOTTITI | 6 | 25 min | g 600 | Teglia da forno sulla griglia |
| Primi TAGLIOLINI PROSCIUTTO E FONTINA | 4 34 min g 1300 Teglia da forno sulla griglia | ||||
| Dessert TORTA ALLA TEDESCA | 1 54 min g 850 Teglia da forno su leccarda | profonda | |||
| Secondi POLLO ALL'UVA REGINA | 3 79 min g 1450 Leccarda piatta | ||||
Menu Carne 8
| Piatto | Ricette Posizione | ripiano | Tempi di estrazione progressivi | Peso (ricetta) | Accessorio FRANKE da utilizzare |
| Antipasto | PANZEROTTI TOFU E OLIVE | 6 28 min | g 850 Leccarda piatta | ||
| Primi | SCHIAFFETTONI | 4 | 35 min | g 1100 | Teglia da forno sulla griglia |
| Secondi | ARROSTO DI VITELLO SAN SECONDO | 2 38 min g 900 Teglia da forno sulla griglia | |||
| Dessert | TORTA MARMORIZ-zATA | 1 | 65 min | g 1326 | Teglia da forno su leccarda profonda |
Menu Completo Carne - Consumo energetico ridotto
Menu Carne 1 - Consumo energetico ridotto
| Piatto | Ricette Posizione | ripiano | Tempi di estrazione progressivi | Peso (ricetta) | Accessorio FRANKE da utilizzare |
| Antipasto | BIGNÈ ALLA CREMA DI GRUVIERA | 6 45 min n. 20 | g 300 | Leccarda piatta | |
| Primi | CANNELLONI AL RIPIENO DI CARNE | 4 | 58 min | g 1100 | Teglia da forno sulla griglia |
| Dessert | TORTA DI CIOCCOLATO E PEPERONCINO | 1 65 min g 800 Teglia da forno su leccarda | profonda | ||
| Secondi | FARAONA RIPIENA | 2 | 98 min | g 1450 | Teglia da forno sulla griglia |
Menu Carne 2 - Consumo energetico ridotto
| Piatto Ricette Posizione | ripiano | Tempi di estrazione progressivi | Peso (ricetta) | Accessorio FRANKE da utilizzare | |
| Antipasto | zUCCHINE RIPIENE AI FORMAGGI | 6 45 min n. 16 | g 700 | Leccarda piatta | |
| Dessert | TORTA DI MELE 1 56 min g 800 Teglia da forno su leccarda | profonda | |||
| Primi | LASAGNE AL PESTO DI CARNE | 4 70 min g 1600 Teglia da forno sulla griglia | |||
| Secondi | POLPETTONE DI POL-LO PISELLI ASPARAGI | 2 82 min g 110 0 Teglia da forno sulla griglia | |||
Menu Carne 3 - Consumo energetico ridotto
| Piatto Ricette Posizione | ripiano | Tempi di estrazione progressivi | Peso (ricetta) | Accessorio FRANKE da utilizzare | |
| Antipasto | FINOCCHI GRATINATI ALLA VODKA | 6 45 min g 800 Teglia da forno sulla griglia | |||
| Primi | GNOCCHI ALLA ROMANA | 4 45 min g 650 Teglia da forno sulla griglia | |||
| Dessert | PLUM CAKE | 1 | 60 min | g 580 | Teglia da forno su leccarda profonda |
| Secondi | CINGHIALE IN SALSA | 3 | 74 min | g 900 | Leccarda piatta |
Menu Carne 4 - Consumo energetico ridotto
| Piatto Ricette Posizione | ripiano | Tempi di estrazione progressivi | Peso (ricetta) | Accessorio FRANKE da utilizzare | |
| Antipasto | TORTINO DI SPINACI | 6 38 min g 800 | Teglia da forno sulla griglia | ||
| Primi | PASTICCIO POLENTA E VERDURE | 4 | 52 min | g 1200 | Teglia da forno sulla griglia |
| Secondi | TACCHINO CON ASPARAGI | 3 56 min g 870 | Leccarda piatta | ||
| Dessert | FOCACCIA DOLCE | 1 | 56 min | g 1100 | Teglia da forno su leccarda profonda |
Menu Carne 5 - Consumo energetico ridotto
| Piatto Ricette Posizione | ripiano | Tempi di estrazione progressivi | Peso (ricetta) | Accessorio FRANKE da utilizzare | |
| Antipasto | FIORI DI zUCCA RIPIENI | 6 43 min g 600 Leccarda piatta | |||
| Primi | PAPPARDELLE & zUCCHINE | 4 48 min g 1100 Teglia da forno sulla griglia | |||
| Secondi | ARROSTO DI VITELLO SAN SECONDO | 3 56 min g 900 Teglia da forno sulla griglia | |||
| Dessert | BUDINO RICOTTA E CANNELLA | 1 58 min g 850 Teglia da forno su leccarda | profonda | ||
Menu Carne 6 - Consumo energetico ridotto
| Piatto Ricette Posizione | ripiano | Tempi di estrazione progressivi | Peso (ricetta) | Accessorio FRANKE da utilizzare | |
| Dessert | CASTAGNACCIO | 1 | 42 min | g 900 | Teglia da forno su leccarda profonda |
| Antipasto | CESTINI DI PATATE 6 49 min g 800 Leccarda piatta | ||||
| Primi | zITE RIPIENE | 4 | 60 min | g 1100 | Teglia da forno sulla griglia |
| Secondi | COSCIOTTO D'AGNELLO ALLA FRANCESCA | 3 96 min g 800 Teglia da forno sulla griglia | |||
Menu Carne 7 - Consumo energetico ridotto
| Piatto Ricette Posizione | ripiano | Tempi di estrazione progressivi | Peso (ricetta) | Accessorio FRANKE da utilizzare | |
| Antipasto | PEPERONI IMBOTTITI 6 52 min g 600 Leccarda piatta | ||||
| Primi | TAGLIOLINI PROSCIUTTO E FONTINA | 4 | 65 min | g 1300 | Teglia da forno sulla griglia |
| Dessert | TORTA ALLA TEDESCA | 1 | 65 min | g 850 | Teglia da forno su leccarda profonda |
| Secondi | POLLO ALL'UVA REGINA | 3 | 86 min | g 1450 | Teglia da forno sulla griglia |
Menu Carne 8 - Consumo energetico ridotto
| Piatto Ricette Posizione | ripiano | Tempi di estrazione progressivi | Peso (ricetta) | Accessorio FRANKE da utilizzare | |
| Antipasto | PANzEROTTI TOFU E OLIVE | 6 56 min | g 850 Leccarda piatta | ||
| Primi | SCHIAFFETTONI | 4 | 58 min | g 1100 | Teglia da forno sulla griglia |
| Secondi | ARROSTO DI VITELLO SAN SECONDO | 2 | 58 min | g 900 | Teglia da forno su leccarda profonda |
| Dessert | TORTA MARMORIZZATA | 1 | 65 min | g 1326 | Teglia da forno sulla griglia |
Menu completo Pesce
Menu Pesce 1
| Piatto Ricette Posizione | ripiano | Tempi di estrazione progressivi | Peso (ricetta) | Accessorio FRANKE da utilizzare | |
| Antipasto | SPIEDINI DI PESCE SPADA ALL'ANETO | 6 22 min g 600 Leccarda piatta | |||
| Primi | RIGATONI RADICCHIO E GAMBERI | 4 27 min g 1200 Teglia da forno sulla griglia | |||
| Dessert | TORTA DI PERE 1 44 min g 950 Teglia da forno sulla griglia | ||||
| Secondi | BRANzINO AL CAR-TOCCIO | 2 50 min g 800 Teglia da forno sulla griglia | |||
Menu Pesce 2
| Piatto Ricette Posizione | ripiano | Tempi di estrazione progressivi | Peso (ricetta) | Accessorio FRANKE da utilizzare | |
| Antipasto | SFOGLIA DI SALMONE | 6 35 min g 1200 Leccarda piatta | |||
| Primi | PASTICCIO DI PESCE | 4 | 41 min | g 1200 | Teglia da forno sulla griglia |
| Dessert | TORTA MARGHERITA | 1 | 45 min | g 890 | Teglia da forno su leccarda profonda |
| Secondi | ORATA AL CARTOCCIO | 2 45 min g 800 Teglia da forno sulla griglia | |||
Menu Pesce 3
| Piatto Ricette Posizione | ripiano | Tempi di estrazione progressivi | Peso (ricetta) | Accessorio FRANKE da utilizzare | |
| Antipasto | ALICI RIPIENE | 6 | 25 min | g 400 | Leccarda piatta |
| Secondi | INVOLTINI DI SOGLIOLA | 2 32 min g 600 Teglia da forno sulla griglia | |||
| Primi | TIMBALLO DI VERMICELLI | 4 46 min g 1300 Teglia da forno sulla griglia | |||
| Dessert | TORTA ALLO YOGURT | 1 46 min g 680 Teglia da forno su leccarda | profonda | ||
Menu Pesce 4
| Piatto Ricette Posizione | ripiano | Tempi di estrazione progressivi | Peso (ricetta) | Accessorio FRANKE da utilizzare | |
| Antipasto | CARCIOFI AL BACCALA' | 6 24 min g 900 Leccarda piatta | |||
| Dessert | PANDOLCE AL MIELE | 1 30 min g 800 Teglia da forno su leccarda | profonda | ||
| Primi | LINGUINE AL CARTOCCIO | 4 34 min g 1200 Teglia da forno sulla griglia | |||
| Secondi | SARAGO AI CAPPERI | 3 45 min g 800 Teglia da forno sulla griglia | |||
Menu Pesce 5
| Piatto Ricette Posizione | ripiano | Tempi di estrazione progressivi | Peso (ricetta) | Accessorio FRANKE da utilizzare | |
| Dessert | CROSTATA ALL'ANANAS | 1 22 min g 300 Teglia da forno su leccarda | profonda | ||
| Antipasto | FRITATTA DI CARCIOFI | 6 29 min g 500 Teglia da forno sulla griglia | |||
| Primi | RISOTTO SCAMPI E CHAMPIGNON | 4 32 min g 1100 Teglia da forno sulla griglia | |||
| Secondi | CALAMARI E PISELLI 3 40 min g 900 Leccarda piatta | ||||
Menu Pesce 6
| Piatto Ricette Posizione | ripiano | Tempi di estrazione progressivi | Peso (ricetta) | Accessorio FRANKE da utilizzare | |
| Antipasto | POLPETTE DI BACCALA' | 6 21 min g 600 Leccarda piatta | |||
| Primi | LASAGNE ALLO SCOGLIO E PISELLI | 4 38 min g 1300 Teglia da forno sulla griglia | |||
| Secondi | SAN PIETRO ALL'ISOLANA | 3 42 min g 1100 Teglia da forno sulla griglia | |||
| Dessert | TORTA PARADISO 1 48 min g 800 Teglia da forno su leccarda | profonda | |||
Menu Pesce 7
| Piatto Ricette Posizione | ripiano | Tempi di estrazione progressivi | Peso (ricetta) | Accessorio FRANKE da utilizzare | |
| Antipasto | WOODCOCK | 6 | 14 min | g 400 | Leccarda piatta |
| Secondi | SALMONE RIPIENO | 3 | 22 min | g 800 | Teglia da forno sulla griglia |
| Dessert | CROSTATA DI AGRUMI | 1 | 36 min | g 700 | Teglia da forno su leccarda profonda |
| Primi | RISO PATATE E COZZE | 4 | 42 min | g 1400 | Teglia da forno sulla griglia |
Menu Pesce 8
| Piatto Ricette Posizione | ripiano | Tempi di estrazione progressivi | Peso (ricetta) | Accessorio FRANKE da utilizzare | |
| Antipasto | CAPESANTE AI PORRI | 6 | 24 min | g 550 | Teglia da forno sulla griglia |
| Primi | TAGLIATELLE MARE E PAPRICA | 4 | 28 min | g 750 | Teglia da forno sulla griglia |
| Secondi | SCORFANO IN SALSA | 2 34 min | g 700 in 2 pz. | Leccarda piatta | |
| Dessert | TORTA AL LIMONE | 1 | 34 min | g 600 | Teglia da forno su leccarda profonda |
Menu completo Pesce - Consumo energetico ridotto
Menu Pesce 1 - Consumo energetico ridotto
| Piatto Ricette Posizione | ripiano | Tempi di estrazione progressivi | Peso (ricetta) | Accessorio FRANKE da utilizzare | |
| Antipasto | SPIEDINI DI PESCE SPADA ALL'ANETO | 6 42 min g 600 Leccarda piatta | |||
| Primi | RIGATONI RADICCHIO E GAMBERI | 4 50 min g 1200 Teglia da forno sulla griglia | |||
| Dessert | TORTA DI PERE 1 52 min g 950 Teglia da forno su leccarda | profonda | |||
| Secondi | BRANzINO AL CARTOCCIO | 2 65 min g 800 Teglia da forno sulla griglia | |||
Menu Pesce 2 - Consumo energetico ridotto
| Piatto Ricette Posizione | ripiano | Tempi di estrazione progressivi | Peso (ricetta) | Accessorio FRANKE da utilizzare | |
| Dessert | TORTA MARGHERITA | 1 | 50 min | g 890 | Teglia da forno su leccarda profonda |
| Antipasto | SFOGLIA DI SALMONE | 6 53 min g 1200 Leccarda piatta | |||
| Primi | PASTICCIO DI PESCE | 4 | 57 min | g 1200 | Teglia da forno sulla griglia |
| Secondi | ORATA AL CARTOCCIO | 2 59 min g 800 Teglia da forno sulla griglia | |||
Menu Pesce 3 - Consumo energetico ridotto
| Piatto Ricette Posizione | ripiano | Tempi di estrazione progressivi | Peso (ricetta) | Accessorio FRANKE da utilizzare | |
| Antipasto | ALICI RIPIENE | 6 48 min g 400 Leccarda piatta | |||
| Secondi | INVOLTINI DI SOGLIOLA | 2 48 min g 600 Teglia da forno sulla griglia | |||
| Dessert | TORTA ALLO YOGURT | 1 54 min g 680 Teglia da forno su leccarda | profonda | ||
| Primi | TIMBALLO DI VERMICELLI | 4 | 57 min | g 1300 | Teglia da forno sulla griglia |
Menu Pesce 4 - Consumo energetico ridotto
| Piatto Ricette Posizione | ripiano | Tempi di estrazione progressivi | Peso (ricetta) | Accessorio FRANKE da utilizzare | |
| Antipasto | CARCIOFI AL BACCALA' | 6 45 min g 900 Leccarda piatta | |||
| Dessert | PANDOLCE AL MIELE 1 | 48 min g 800 Teglia da forno su leccarda | profonda | ||
| Primi | LINGUINE AL CARTOCCIO | 4 59 min g 1200 Teglia da forno sulla griglia | |||
| Secondi | SARAGO AI CAPPERI 3 | 62 min g 800 Teglia da forno sulla griglia | |||
Menu Pesce 5 - Consumo energetico ridotto
| Piatto Ricette Posizione | ripiano | Tempi di estrazione progressivi | Peso (ricetta) | Accessorio FRANKE da utilizzare | |
| Dessert | CROSTATA ALL'ANANAS | 1 32 min g 300 Teglia da forno su leccarda | profonda | ||
| Antipasto | FRITATTA DI CARCIOFI | 6 48 min g 500 Teglia da forno sulla griglia | |||
| Primi | RISOTTO SCAMPI E CHAMPIGNON | 4 54 min g 1100 Teglia da forno sulla griglia | |||
| Secondi | CALAMARI E PISELLI | 3 | 62 min | g 900 | Leccarda piatta |
Menu Pesce 6 - Consumo energetico ridotto
| Piatto Ricette Posizione | ripiano | Tempi di estrazione progressivi | Peso (ricetta) | Accessorio FRANKE da utilizzare | |
| Antipasto | POLPETTE DI BACCALA' | 6 39 min g 600 Leccarda piatta | |||
| Primi | LASAGNE ALLO SCOGLIO E PISELLI | 4 54 min g 1300 | Teglia da forno sulla griglia | ||
| Secondi | SAN PIETRO ALL'ISOLANA | 3 54 min g 1100 Teglia da forno sulla griglia | |||
| Dessert | TORTA PARADISO | 1 54 min g 800 Teglia da forno su leccarda | profonda | ||
Menu Pesce 7 - Consumo energetico ridotto
| Piatto Ricette Posizione | ripiano | Tempi di estrazione progressivi | Peso (ricetta) | Accessorio FRANKE da utilizzare | |
| Antipasto | WOODCOCK | 6 | 32 min | g 400 | Leccarda piatta |
| Secondi | SALMONE RIPIENO | 3 | 35 min | g 800 | Teglia da forno sulla griglia |
| Dessert | CROSTATA DI AGRUMI | 1 53 min g 700 Teglia da forno su leccarda | profonda | ||
| Primi | RISO PATATE E COzzE | 4 | 58 min | g 1400 | Teglia da forno sulla griglia |
Menu Pesce 8 - Consumo energetico ridotto
| Piatto Ricette Posizione | ripiano | Tempi di estrazione progressivi | Peso (ricetta) | Accessorio FRANKE da utilizzare | |
| Antipasto | CAPESANTE AI PORRI | 6 | 45 min | g 550 | Leccarda piatta |
| Primi | TAGLIATELLE MARE E PAPRICA | 4 50 min g 750 Teglia da forno sulla griglia | |||
| Dessert | TORTA AL LIMONE 1 50 min g 600 Teglia da forno su leccarda | profonda | |||
| Secondi | SCORFANO IN SALSA 2 59 min g 700 in 2 | Teglia da forno sulla griglia | |||
| pz. | |||||
Menu completo 4 pizze e pane
Menu 4 pizze
| Piatto Ricette Posizione | ripiano | Tempi di estrazione progressivi | Peso (ricetta) | Accessorio FRANKE da utilizzare | |
| 1 | PIZZA MARGHERITA 6 21 min g 600 Leccarda piatta | ||||
| 2 | PIZZA BACON E OLIVE | 4 | 25 min | g 600 | sulla griglia |
| 3 | PIZZA TONNO CIPOLLA | 3 | 25 min | g 600 | sulla griglia |
| 4 | PIZZA VERDURE | 1 | 25 min | g 600 | Leccarda profonda |
Menu Pane
| Piatto Ricette Posizione | ripiano | Tempi di estrazione progressivi | Peso (ricetta) | Accessorio FRANKE da utilizzare | |
| 1 | PANE | 6 | 25 min | 500 g | Leccarda piatta |
| 2 | PANE | 4 | 27 min | 500 g | sulla griglia |
| 3 | PANE | 2 | 27 min | 500 g | sulla griglia |
| 4 | PANE | 1 | 27 min | 500 g | Leccarda profonda |
Menu completo 4 pizze e pane - Consumo energetico ridotto
Menu 4 pizze
| Piatto Ricette Posizione | ripiano | Tempi di estrazione progressivi | Peso (ricetta) | Accessorio FRANKE da utilizzare | |
| 1 | PIZZA OLIVE NERE | 6 33 min g 600 | Leccarda piatta | ||
| 2 | PIZZA PROSCIUTTO FUNGHI | 1 | 33 min | g 600 | Leccarda profonda |
| 3 | PIZZA VERDURE | 3 | 42 min | g 600 | sulla griglia |
| 4 | PIZZA TONNO CIPOLLA | 4 | 42 min | g 600 | sulla griglia |
Menu Pane
| Piatto Ricette Posizione | ripiano | Tempi di estrazione progressivi | Peso (ricetta) | Accessorio FRANKE da utilizzare | |
| 1 | PANE | 1 | 49 min | 500 g | Leccarda profonda |
| 2 | PANE 2 49 min 500 g sulla griglia | ||||
| 3 | PANE 4 53 min 500 g sulla griglia | ||||
| 4 | PANE 6 55 min 500 g Leccarda piatta | ||||
Menu Wellness
| Piatto Ricette Posizione | ripiano | Tempi di estrazione progressivi | Peso (ricetta) | Accessorio FRANKE da utilizzare | |
| 1 | ARROSTI | 3 | 194 min | g 1550 | Leccarda piatta |
| 3 | PESCE INTERO 3 92 min g 1100 Leccarda piatta | ||||
| 2 | POLLAME INTERO | 3 | 138 min | g 600 | Leccarda piatta |
| 4 | POLLAME/SELVAGGINA A PEzzl | 3- | - | Leccarda piatta | |
| 5 | VERDURE | 3 | 75 min | g 900 | Leccarda piatta |
Prima di effettuare qualsiasi intervento di pulizia e cura:
Leggere le informazioni generali per la sicurezza riguardanti la pulizia al capitolo "Informazioni per la sicurezza".
▷ Spegnere il forno.
- In base a come è installato il forno: Scollegare la spina del forno o spegnere il dispositivo con l'interruttore principale dell'impianto elettrico, per es. disattivare il fusibile nella scatola dei fusibili.
Raccomandazioni generali
Le macchie sulla base del forno dovute ai vari prodotti utilizzati nelle cottura (salse, zucchero, proteine e grassi) sono sempre provocare da versamenti e schizzi. Gli schizzi che si verificano durante la cottura sono solitamente il risultato di una cottura a temperatura troppo elevata. I liquidi si versano invece quando i contenitori di cottura sono troppo piccoli o per via di una errata valutazione degli aumenti di volume durante la cottura. Questi problemi possono essere evitati utilizzando contenitori di cottura profondi o la leccarda profonda in dotazione al forno.
Le parti del forno in acciaio inossidabile e smaltate rimarranno come nuove se pulite regolarmente con acqua o detergenti speciali.
Prima di iniziare la pulizia, accertarsi che il forno sia freddo.
▷ Non utilizzare pulitrici a vapore o getti diretti di acqua.
Non utilizzare materiali abrasivi a grana grossa o raschietti affilati di metallo per pulire le parti in vetro della porta del forno, in quanto potrebbero graffiare la superficie e provocare la rottura del vetro.
▷ Non usare mai spugnette abrasive, lana di acciaio, acido muriatico o altri prodotti che potrebbero graffiare o lasciare segni sulla superficie.
Per la pulizia delle superfici smaltate e della cavità del forno utilizzare solo acqua calda e detergenti non abrasivi.
Per il vetro, utilizzare un detergente per vetri di marca.
Utilizzo della funzione Pulizia automatica
Questa funzione è disponibile solo nei forni con funzione di pulizia pirolitica, come il forno FS913P.
La funzione PULIZIA AUTOMATICA trasforma la pulizia del forno in una procedura rapida, facile e istantanea. La temperatura raggiunta nella cavità di cottura (480 °C) carbonizza qualsiasi residuo di alimenti e grassi. Durante questo processo, alcune particelle di residui possono divenire incandescenti: si tratta di un fenomeno naturale dovuto alla combustione istantanea.
Se viene attivata la funzione PULIZIA AUTOMATICA, la porta del forno viene bloccata dopo i primi due minuti di ciclo e non può essere aperta. Si accende il simbolo del lucchetto.
L'oscuramento del display LCD durante il processo di pulizia pirolitica è una funzione protettiva precauzionale del display attivata dalle elevate temperature utilizzate.
Prima della pulizia
Gli accessori lasciati nel forno possono impedire la corretta circolazione del calore su tutte le superfici o possono rimanere danneggiati dalle temperature elevate.
Rimuovere tutti gli accessori (leccarde, griglie, guide di scorrimento, guide telescopiche).
▷ Non lasciare alcun oggetto all'interno del forno.
▶ Eliminare i residui di cibo con una spugna umida.
▷ Non utilizzare mai detergenti né altri prodotti di pulizia specifici.
▷ Non ostruire la circolazione dell'aria nell'area di fronte al forno.
▷ Non lasciare alcun oggetto sulla maniglia della porta.
Durante il processo di pulizia pirolitica le superfici possono diventare molto calde.
▷ Tenere lontani i bambini.
▶ Pulire il pannello di vetro interno con una soluzione di acqua e sapone.
Avviare la funzione PULIZIA AUTOMATICA sul display.
Dopo la pulizia
▶ Pulire il pannello di vetro interno con un detergente per vetri.
▶ Dopo la pulizia, asciugare accuratamente tutte le parti del forno.
Pulizia della cavità del forno
È più semplice eliminare le macchie quando il forno è ancora caldo e le macchie si sono appena formate.
Prima di iniziare la pulizia, accertarsi che il forno sia freddo.
▶ Pulire le superfici smaltate e la cavità del forno con acqua calda e detergenti non abrasivi.
Dopo la pulizia, asciugare accuratamente tutte le parti del forno.
Pulizia della porta del forno
Prima di iniziare la pulizia, accertarsi che il forno sia freddo.
La porta del forno può essere smontata per facilitare la pulizia del forno (vedere il capitolo "Rimozione della porta del forno").
Rimozione della porta del forno
▶ Aprire completamente la porta del forno.

I cardini sono muniti di due fermi di blocco mobili.
▶ Per liberare il cardine sollevare il fermo e afferrare la porta lateralmente vicino ai cardini.
▶ Ruotare i due ganci di blocco verso il basso.
Accertarsi che i ganci di blocco siano ruotati completamente verso il basso.

▶ Chiudere la porta per metà.
▶ Tirare la porta verso l'esterno.

Montaggio della porta del forno
La porta del forno deve essere rimontata dopo la pulizia.
▶ Infilare i cardini nei rispettivi alloggiamenti.
▶ Ruotare i due ganci di blocco (utilizzati come attacchi per i cardini) verso l'alto.
CAUTELA! Danni al forno a causa di manovre non corrette!
Non cercare mai di chiudere la porta quando uno o entrambi i fermi di blocco sono parzialmente o completamente aperti.
▶ Chiudere la porta del forno.
Pulizia dei pannelli di vetro della porta del forno
Per consentire la pulizia completa dei pannelli di vetro è possibile smontare la porta del forno e i pannelli di vetro stessi.
La porta del forno presenta 3 pannelli di vetro:
- pannello di vetro interno (prossimo alla cavità)
- pannello di vetro intermedio (all'interno della porta del forno)
- pannello di vetro esterno
Per la pulizia è possibile smontare il pannello di vetro interno e il pannello di vetro intermedio.
L'interno del pannello di vetro esterno può essere pulito quando il pannello di vetro interno e quello intermedio sono stati rimossi.
Rimozione e pulizia del pannello di vetro interno della porta del forno
Prima di iniziare la pulizia, accertarsi che il forno sia freddo.
▶ Aprire completamente la porta del forno.

▶ Ruotare i due fermi di blocco neri (con la parola CLEAN, sul fondo della porta) di 180° in modo da inserirli nelle apposite sedi nella struttura del forno.

- Accertarsi di ruotare completamente i fermi neri.
■ I fermi di blocco si innestano nella posizione corretta con un clic.
CAUTELA! Danni al forno a causa di manovre non corrette!
Se i fermi non vengono ruotati completamente, la rimozione del pannello di vetro provocherà la chiusura immediata della porta del forno.
Non cercare mai di chiudere la porta quando uno o entrambi i fermi di blocco hanno liberato parzialmente o completamente il pannello di vetro.
▶ Spingere con cautela il pannello di vetro interno (1) verso il forno. Quindi sollevare il pannello di vetro interno (2).
■ I due fermi di blocco neri impediscono la chiusura della porta del forno.

▶ Pulire il pannello di vetro interno.
Rimozione e pulizia del pannello di vetro intermedio della porta del forno
Dopo aver smontato il pannello di vetro interno è possibile rimuovere il pannello di vetro intermedio.
▶ Estrarre con cautela il pannello di vetro intermedio dalle guarnizioni in gomma su entrambi i lati.
▶ Pulire il pannello di vetro intermedio.
Rimozione e pulizia delle finiture superiori dei pannelli di vetro
Per una pulizia più accurata, è possibile rimuovere i listelli di finitura superiori della porta del forno.
I listelli di finitura sono fissati con due viti, una nell'angolo superiore destro e una nell'angolo superiore sinistro all'interno della porta del forno. I listelli di finitura superiore possono essere smontati solo se il vetro interno è stato rimosso.
▶ Svitare le viti di fissaggio nell'angolo superiore destro e nell'anglo superiore sinistro della porta del forno.
▶ Rimuovere il listello di finitura superiore.
▶ Pulire il listello di finitura superiore.
Montaggio dei pannelli di vetro
La posizione corretta dei pannelli di vetro montati è indicata dalle parole TEMPERED GLASS, che devono essere perfettamente leggibili.
Se smontato, rimontare in posizione il listello di finitura superiore del vetro.
Se smontato, rimontare in posizione il pannello di vetro intermedio all'interno delle guarnizioni in gomma.
▶ Riposizionare il pannello di vetro interno.
▶ Ruotare i due fermi di blocco del vetro per riportarli nella posizione originale.
▶ Chiudere la porta del forno.
Pulizia delle griglie laterali e delle guide telescopiche
Le griglie laterali e le guide telescopiche possono essere rimosse dal forno per essere pulite accuratamente.
Smontaggio delle guide telescopiche
▶ Con la guida telescopica in posizione chiusa, premere con forza (1) al centro del ripiano grigliato dove appoggia il fondo della guida.

▶ Sollevare la guida telescopica (3) e tirarla contemporaneamente (2) verso l'altro lato del forno.
▶ Rimuovere le guide telescopiche.

Smontaggio delle griglie laterali
▶ Piegare verso il basso la traversa innestata nella bussola di fissaggio e rimuoverla dalla scanalatura.
▶ Spingere la griglia laterale verso l'alto ed estrarla dai due ganci superiori.
Pulizia
▶ Pulire le griglie laterali e le guide telescopiche.
Al termine della pulizia, tenere le griglie laterali inclinate e inserirle nelle due rispettive griglie sulla parte superiore.
▶ Piegare verso l'alto la traversa innestata nella bussola di fissaggio e inserirla nella scanalatura.
▶ Inserire le guide telescopiche.
Sostituzione della lampada del forno
I forni Franke sono muniti di due lampade rettangolari. La lampada di ricambio deve soddisfare le seguenti specifiche tecniche:
- Resistenza alle temperature: 300 °C
- Tensione: 220-240 V, 50/60 Hz
- Potenza: 40 W
- Attacco: G9
CAUTELA! Danni alla lampada a causa di manovre non corrette!
▷ Evitare di toccare le lampade con le mani nude.
▷ Utilizzare un panno o un foglio di carta cucina.

AVVERTIMENTO! Possibilità di scossa ca!
Prima di sostituire la lampada accertarsi che il forno sia spento.

AVVERTIMENTO! Scossa elettrica a causa novre non corrette!
▷ Spegnere il forno.
- In base a come è installato il forno: Scollegare la spina del forno o spegnere il dispositivo con l'interruttore principale dell'impianto elettrico, per es. disattivare il fusibile nella scatola dei fusibili.
▶ Rimuovere la copertura in vetro facendo leva con un cacciavite a lama piatta.
▶ Rimuovere la lampada dal supporto.
▶ Sostituire la lampada.
▶ Rimontare la copertura in vetro.
manUTenZlone e rlParaZlone
Accertarsi che la manutenzione dei componenti elettrici sia effettuata unicamente dal produttore o dal servizio di assistenza.
▷ Assicurarsi che i cavi danneggiati siano sostituiti unicamente dal produttore o dal servizio di assistenza.
▶ Quando si contatta il servizio di assistenza si prega di fornire le seguenti informazioni:
- tipo di guasto
- modello del dispositivo (Art.)
- numero di serie (S.N.)
Queste informazioni sono riportate sulla targhetta di identificazione.
Versione software
Questa opzione contiene le informazioni tecniche utili per il servizio di assistenza in caso di intervento sul comando elettronico.
▶ Premere

■ Compare il menu IMPOSTAZIONE con diverse opzioni.
▶ Premere VERSIONE SOFTWARE.
■ Compaiono le informazioni sul software.
Demo
Questa opzione può essere attivata unicamente dai tecnici del servizio di assistenza.
Essa consente di navigare tra le funzioni disponibili sul display senza attivare gli elementi riscaldanti. È utile in situazioni quali manifestazioni fieristiche o presentazioni del prodotto.
SmaLTImenTo

Questo simbolo sul prodotto o sulla confezione indica che il dispositivo non deve essere smaltito con i normali rifiuti domestici.
Lo smaltimento adeguato del dispositivo contribuisce a evitare conseguenze dannose per l'ambiente e la salute.
Maggiori informazioni sul riciclaggio del dispositivo possono essere ottenute dall'autorità competente, dal servizio di smaltimento rifiuti locale o dal fornitore del dispositivo.
▷ Smaltire il dispositivo presso un punto di raccolta rifiuti specializzato per dispositivi elettrici ed elettronici.
Smaltimento ai sensi dell'articolo del Decreto legislativo n. 15 datato 25 luglio, Applicazione delle direttive 2002/95/CE, 2002/96/CE e 2003/108/
CE, riguardanti la riduzione delle sostanze pericolose utilizzate nei dispositivi elettrici ed elettronici, e lo smaltimento dei rifiuti".
Il simbolo del bidone dei rifiuti barrato presente sul dispositivo indica che al termine della sua vita utile il prodotto non deve essere smaltito insieme ai comuni rifiuti domestici.
Quindi, quando il dispositivo raggiunge la fine della sua vita operativa, l'utilizzatore deve conferirlo a un apposito centro di riciclaggio di rifiuti elettrici ed elettronici oppure restituirlo al negoziante in caso di acquisto di un nuovo dispositivo di tipo equivalente. L'adeguata raccolta differenziata del dispositivo rottamato per il successivo riciclaggio, trattamento e smaltimento ecocompatibile contribuisce a evitare un impatto potenzialmente negativo sull'ambiente e sulla salute e facilita il riciclaggio dei materiali utilizzati nella produzione del dispositivo.
SerVIZIo DI aSSISTenZa
Contattare l'indirizzo per il proprio paese riportato sul retro o sul nostro sito:
- www.franke.com
DaTI TeCnICI
Identificazione del prodotto
Tipo: OE-9D
Modello: FS 913 M BK DCT TFT
- Consultare la targhetta di identificazione applicata sul prodotto.

Questo dispositivo è conforme alle seguenti direttive CE:
- 2006/95/CE (Bassa tensione)
- 2004/108 EEC (Compatibilità elettromagnetica)
La classe di efficienza energetica (ai sensi della 2009 / 60350-50304 / EN) è determinata con il dispositivo nelle modalità operative: Risparmio Energetico e Statico.
Per calcolare il volume, rimuovere, se presente, il lato interno delle griglie laterali (ai sensi della 2009 / 60350-50304 / EN).
Parametro Valore
| Dimensioni di lavoro del forno (mm) | 480 x 370 x 405(L x A x P) |
| Tensione e frequenza di alimentazione | 220-240 V, 50/60 Hz |
| Potenza nominale e fusibile | 2900 W, 16 A |
Dati elettrici e degli elementi riscaldanti
| Motore radiale 27 ... 40 W |
| Lampadina 40 W (2x) |
| Ventola tangenziale 15 ... 35 W |
| Elemento superiore 520 W / 124 V |
| Elemento inferiore 1250 W |
| Grill 2100 W |
| Elementi riscaldanti DCT 2650 W |
| Parametro | Simbolo | Valore | Unità di misura |
| Identificazione modello | FS-CR | 913-982 DCT | |
| Tipo forno | a incasso | ||
| Peso del dispositivo | M | 41 | kg |
| Numero di cavità | 1 | ||
| Fonte di calore di ogni cavità | elettrica | ||
| Volume di ogni cavità | V | 74 | l |
| Consumo energetico necessario per riscaldare un carico standard in una cavità di un forno elettrico durante un ciclo in modalità a convezione, per ogni cavità | EC cavità elettrica | 1,12 | kWh/ciclo |
| Consumo energetico necessario per riscaldare un carico standard in una cavità di un forno elettrico durante un ciclo in modalità a circolazione forzata, per ogni cavità | EC cavità elettrica | 0,53 | kWh/ciclo |
| Indice di efficienza energetica per ogni cavità | EEI cavità | 61 | |
| Identificazione modello FS 913 P DCT | |||
| Tipo forno a incasso | |||
| Peso del dispositivo M 43 kg | |||
| Numero di cavità 1 | |||
| Fonte di calore di ogni cavità elettrica | |||
| Volume di ogni cavità | V | 74 | l |
| Consumo energetico necessario per riscaldare un carico standard in una cavità di un forno elettrico durante un ciclo in modalità a convezione, per ogni cavità | EC cavità elettrica | 1,12 | kWh/ciclo |
| Consumo energetico necessario per riscaldare un carico standard in una cavità di un forno elettrico durante un ciclo in modalità a circolazione forzata, per ogni cavità | EC cavità elettrica | 0,70 | kWh/ciclo |
| Indice di efficienza energetica per ogni cavità | EEI cavità | 81 | |
| Il produttore apporta continui miglioramenti ai prodotti. Per questo motivo, il testo e le illustrazioni di queste istruzioni per l'uso possono cambiare senza preavviso. | Maggiori informazioni sui dati tecnici sono disponibili sul sito:- www.franke.com | ||
www.franke.com
Argentina
Industrias Spar San Luis S.A.
Buenos Aires 1008
Phone +54 11 4311 7655
Belgium
Franke N.V.
9400 Ninove
Phone +32 54 310 111
ManualeFacile
























