PAI6105E - Fornuis PROGRESS - Gratis gebruiksaanwijzing en handleiding
Vind de handleiding van het apparaat gratis PAI6105E PROGRESS in PDF-formaat.
Veelgestelde vragen - PAI6105E PROGRESS
Questions des utilisateurs sur PAI6105E PROGRESS
0 question sur cet appareil. Repondez a celles que vous connaissez ou posez la votre.
Poser une nouvelle question sur cet appareil
Download de handleiding voor uw Fornuis in PDF-formaat gratis! Vind uw handleiding PAI6105E - PROGRESS en neem uw elektronisch apparaat weer in handen. Op deze pagina staan alle documenten die nodig zijn voor het gebruik van uw apparaat. PAI6105E van het merk PROGRESS.
GEBRUIKSAANWIJZING PAI6105E PROGRESS
Veiligheidsinformatie
Veiligheidsvoorschriften
Beschrijving van het product 5
Dagelijks gebruik 6
Nuttige aanwijzingen en tips 9
Onderhoud en refiging 10
Probleemoplo@sing
Montage
Technische informatie 14
Milieubescherming
Wijzigingen voorbehouden.
VEILIGHEIDSINFORMATIE
Lees zorgvuldig de meegeleverde instructies voor installmentie en gebruik van het apparaat. De fabrikant is Niet verantwoordelijk voor letsel en schade verooorzaakt door een foutieve installmentie. Bewaar de instructies van het apparaat voor toekomstig gelebruik.
Veiligheid van kinderen en kwetsbare mensen
! Waarschuwing! Gevaar voor verstikking, letsel of permanente invaliditeit.
- Dit apparaat kan worden gebruikt door kinderen van 8年龄段 en ouder en door mensen met beperkte lichamelijke, zintuig-lijke of verstandelijkke vermogens of een gebrek aan ervaringen kennis, indien zij onder toezicht staan van een volwasse- ne of van iemand die verantwoordelijk is voor hun vergilheid.
- Laat kinderen nicht met het apparaat spelen.
- Houd alle verpakkingsmaterialen uit de buurt van kinderen.
- Houd kinderen en huisdieren uit de buurt van het apparaat als het in werkung is of afkoelt. Het apparaat is heet.
- Als het apparaat is uitgerust met een kinderbeveiliging, raden wij aan dit te activeren.
- Reiniging en onderhoud mag nicht worden uitgevoerd door kinderen zonder toezicht.
Algemene veiligkeit
- Het apparaat en de toegankelijke onderdelen ervan worden heetijdens gebruik. De verwarmingselementen nicht aanraken.
-
Bedien het apparaat Niet met een externe timer of een apart afstandbedieningssystem.
-
Zonder toezicht koken op een kookplaat met vet of olie kan gevaarlijk+zijn en brandgevaar opleveren.
- Probeer brand nooit met water te blussen, maar schakel inplaats waarvan het apparaat uit en bedek de vlam, d.w.z. met een deksel of blusdeken.
- Bewaar geen voorwerpen op de kookplaten.
- Gebruik geen stoomreiniger om het apparaat schoon te maken.
- Metalen voorwerpen, zoals messen, vorken, lepels en dek-sels mogen Niet op de kookplaat worden geplaatst, aange-zien ze heet+kunnen worden.
- Als de glaskeramische oppervlakte gebarsten is, schakel het apparaat dan uit om het risico op elektrische schokken te voorkomen.
- Schakel het kookplaatelement uit na elk gebruik met de bedieningstoetsen. Vertrouv nicht op de pandetector.

VEILIGHEIDSVOORSCHRIFTEN
Montage

Waarschuwing! Alleen een erkende installmenttechnicus mag het apparaat installereren.
- Verwijder alle verpakkingsmaterialen.
- Installer en gebruik geen beschadigd apparatus.
- Volg de installment-instructies op die+zijn meegeleverd met het apparatus.
- Houd de minimumafstand maar andere apparaten en units in acht.
- Wees voorzichtig met het verplaatsen van het apparaat, het is zwaar. Draag algijd veiligheidshandschoenen.
- Dicht de oppervlakken af met kit om te voorkomen dat ze gaan opzetten door vocht.
- Bescherm de bodem van het apparaat gegen stoom en vocht.
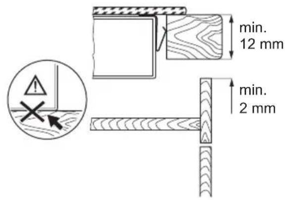
- Installeer het apparaat Niet naast een deur of onder een raam. Dit voorkomt dat hete pannen van het apparaat vallen als de deur of het raam worden geopend.
- Als het apparaat geinstalleerd is boven lades zorg er dan voor dat de ruimte tus
sen de onderkant van het apparaat en de bovenste lade voldoende is voor luchtcirculation.
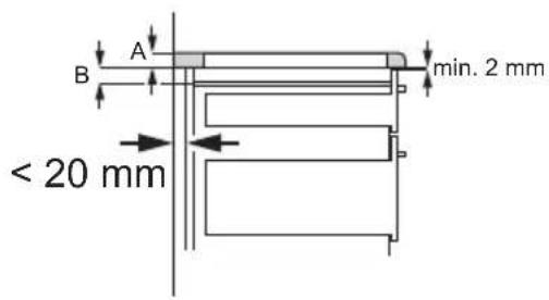
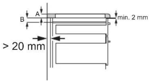
- Zorgervoordat er een ventilatieruimte van 2 mm vrij is tussen het werkblad en de voorkant van de onderste unit. De garantie dekt geen schade veroorzaakt door het gebrek aan een adequate ventilatieruimte.
- De onderkant van het apparaat kan het worden. Wij raden aan om een onbrandbaar scheidingspaneel teplaatsen onder het apparaat om te voorkomen dat de onderkant kan worden aangeraakt.
Aansluiting aan het elektriciteitsnet

Waarschuwing! Gevaar voor brand en elektrische schokken.
- Alle elektrische aansluitingen要去en door een gediplomeerd elektromonteur worden gemaakt.
- Dit apparaat要去 worden aangesloten op een geaard stopcontact.
-
Verzeker u ervan dat de stekkeruit het stopcontact is getrokken,voordat u welke werkzaamheden dan ook uitvoert.
-
Gebruik de juiste stroomkabel.
- Voorkom dat de stroomkabels verstrikt raken.
- Zorg ervoor dat de stroomkabel of stekker (indien van toepassing) het haree apparaat of heet kookgerei Niet aanraakt als u het apparaat op de nabijgelegen contactdozen aansluit
- Zorg ervoor dat het apparaat correct is geinstalleerd. Losse en onjuiste stroom-kabels of stekkers (indien van toepassing) können ervoor zorgen dat de contact-klem te heet worden.
Zorg ervoor dat er een schokbescherming worden geinstalleerd. - Zorg ervoor dat het snoer Niet worden belast door trekken.
- Zorg dat u de hoofdstekker (indien van toepassing) of kabel nicht beschadigt. Neem contact op met de service-afdeling of een elektromonteur om een beschadigde hoofdkabel te verrangen.
- De elektrische installmentie要去en isolatieapparaat bevattenwaardoor het apparaat volledig van het lichtnet afgesloten kan worden. Het isolatieapparaat要去en contactopening hebben met een minimale bredte van 3mm
- Gebruik alleen de juiste isolatie-apparaten: stroomonderbrekers, zekeringen (schroefzekeringen moeten uit de houder worden verwijderd), aardlekschakelaars en contactgevers.
Gebruik

Waarschuwing! Gevaar op letsel, brandwonden of elektrische schokken.
- Gebruik dit apparaat in een huishoudelijkke omgeving.
- De specificatie van het apparaat mag nicht worden veranderd.
- Bedien het apparaat Niet met een externtimer of een apart afstandbedieningsssystem.
- Laat het apparaatijdens het gebruik Niet onbeheerd anschter.
Bedien het apparaat Niet met natte handen of als het contact maakt met water. - Leg geen bestek of deksels van steelpannen op de kookzones. Deze können heet worden.
-
Zet de kookzone op "uit" na elk gebruik.
Vertrouv Niet alleen op de pandetector. -
Het apparaat mag nicht worden gebruikt als werkblad of aanrecht.
- Als er een scheur in het oppervlak zit, trek dan de stekker uij het stopcontact om elektrische schokken te voorkomen.
- Gebruikers met een pacemaker要去en een afstand van minimaal 30~cm bewaren van de inductiekookzones als het apparaat in werkig is.

Waarschuwing! Brand- of explosiegevaar.
- Verhitte vetten en olie+kunnen ontvlambare damp afgeven. Houd vlammen of verwarmde voorwerpen uit de buurt van vet en olie als u er mee kookt.
- De dampen die hete olie afgeeft kunnen spontane ontbranding verooorzaken.
- Gebruekte olie die voedselresten bevat kan brand verooorzaken bij een lagere temperatuur dan olie die voor de eerste keer worden gebruikt.
- Plaats geen ontvlambare producten of items die vochtig zijn door ontvlambare producten in, bij of op het apparaat.
- Probeer nicht om een brand te blussen met water. Haal het apparaat uit het stopcontact en dek de vlammen af met een deksel of blusdeken.

Waarschuwing! Risico op schade aan het apparaat.
- Zet geen heet kookgerei op het bedie-ningspaneel.
- Laat kookgerei niedroogkoken.
- Laat geen voorwerpen of kookgerei op het apparaat vallen. Het oppervlak kan beschaden.
- Activeer de kookzones nicht met leeg kookgerei of zonder kookgerei erop.
- Geen aluminiumfolie op het apparaat leggen.
- Pannen van gietijzer, aluminium of met beschadigde bodems kuren krassenveroorzaken in het glaskeramiek. Til deze voorwerpen.altijd op als u ze要去 verplaatsen op de kookplaat.
Onderhoud en reiniging

Waarschuwing! Risico op schade aan het apparaat.
- Reinig het apparaat regelmatig om te voorkomen dat het materiaal van het oppervlakchteruitgaat.
-
Gebruik geen waterstralen of stoom om het apparaat te reinigen.
Maak het apparaat schoon met een vochtige, zachte doek. Gebruik alleen neutrale schoonmaakmiddelen. Gebruik geen schuurmiddelen, schuursponsjes, oplosmiddelen of metalen voorwerpen. -
Neem contact met uwplaatselijke overheid voor informatatie m.b.t. correcte afvalverwerking van het apparaat.
- Haal de stekker uit het stopcontact.
- Snijd het netsnoer van het apparaat af en gooit dit weg.
Verwijdering

Waarschuwing! Gevaar voor letsel of verstikking.
1 Inductiekookzone
2 Inductiekookzone
3 Inductiekookzone
4 Bedieningspaneel
5 Inductiekookzone
Indeling bedieningspaneel

Gebruik de tiptoetsen om het apparaat te bedieren. De displays, indicatielampjes en geluiden tonen welke functies worden gebruikt.
| Tippoets -functie | ||
| 1 | ① | Het apparaat in- en uitschakelen. |
| 2 | ® | Het bedieningspaneel vergrendelen/ontgrendelen. |
| 3 | || | De functie STOP+GO in- en uitschakelen. |
| 4 | Indicatielampjes timer voor de kook-zones | Geeft aan voor welke kookzone u deijd instelt. |
| 5 | Het timerdisplay Geeft deijd in minutes | weer. |
| 6 | P | De Powerfunctie inschakelen. |
| 7 | Een kookstanddisplay De kookstand weergeven. | |
| 8 | Een bedieningsstrip Het instellen van de kookstand. | |
| 9 | +/- | Deijd verlungen of verkorten. |
| 10 | ◎ | Kookzone instellen. |
Kookstanddisplays
| Display (weergave) Beschrijving | |
| 0 | De kookzone is uitgeschakeld. |
| 1 - 9 | De kookzone worden gebruikt. |
| ü | De ||functie is in werking. |
| A | De automatische verwarmingsfunctie is in werking. |
| P | De Powerfunctie is in werking. |
| E + cijfer | Er is een storing. |
| H | Er is nog een kookzone heet (restwarmte). |
| L | Slot/kinderbeveiliging is in werking. |
| F | Het kookgerei is nicht geschikt of teklein, of er is geen kookgerei op de kookzone geplaatst. |
| - | De functie Automatische uitschakelen is in werking getreden. |
Restwarmte-indicatie

Waarschuwing! H
Verbrandingsgevaar door restwarmte!
De inductiekookzones creeren de voor het koken benodigde warmte direct in de bodem van de pan. Het glaskeramiek worden verwarmd door de warmte van de paffen.
DAGELIJKS GEBRUK
In- en uitschakeling
Raak 1 seconde aan om het apparaat in- ofuit te schakelen.
Automatische uitschakeling
De functie schakelt het apparaat automatischuit als:
-
Alle kookzones uitgeschakeld zijn ( ).
-
U de kookstand nicht instelt nadat u het apparaat hebt ingeschakeld.
-
U iets hebt gemorst of iets longer dan 10 seconden op het bedieningspaneel hebt gelegd (een pan, doek, etc.). Er klinkt zes koer een geluidssignaal en het apparaat wordenuitgeschakeld. Verwijder het voorworp of reinig het bedieningspaneel.
-
Het apparaat wordt te heet (b.v. als een pan droogkookt). Wacht totdat de kookzone is afgekoeld voordat u het apparaat weeurt kunget gebruiken.
- U ongeschickt kookgerei gebruikt. Het symbolism F gaat branden en na 2 minuten schakelt de kookzone automatischuit.
- U een kookzone Niet uitschakelt of de kookstand verandert. Na enigeijd gaat branden en worden het apparaat uitgeschakeld. Zie hieronder.
- De verhouding:tussenwarmte-instelling en tijden van de automatische uitschakelingsfunctie:
6 uur
- 3 -4 -5 uur
- [5] - 4 uur
- 6 -9 -1,5 uur
De kookstand
Raak de bedieningsstrip aan bij de gewenste kookstand. Beweeg uw vinger over de bedieningsstrip om de instelling te wijzigen. Laat Niet los voordat de juiste kookstand is bereikt. Het display toont de kookstand.

U kunt een gewenste kookstand sneller verkrijgen als u de functie Automatisch opwarmen inschakelt. Deze functie schakelt even de hoogste kookstand in (zie diagram) en verlaagt dan maar de gewenste kookstand. De functie Automatisch opwarmen starten voor een kookzone:
- Raak P aan (Verschijnt dan in het display).
- Selecteer meteen de benodigde kookstand. Na 3 seconden verschijnt op het display.
Verander de kookstand om de functie te stoppen.

Powerfunctie
De Powerfunctie maakt meer vermogen beschikbaar voor de inductiekookzones. De Powerfunctie kan een beperkteijd worden ingeschakeld (zie het hoofdstuk Technische informatie). Daarna wordt de inductiekookzone automatisch teruuggeschakeld maar de hoogste kookstand. Raak P aan om de functie in te schakelen; gaat branden. Wijzig de kookstand om de kookstand uit te schakelen.
Vermogensbeheer
Het vermogensbeheer verdweit het vermogen tussen twee kookzones die een paar vormen (zie afbeelding). De powerfunctie verhoegt het vermogenaar het maximale niveau voor een kookzone per paar. De kracht in de tweede kookzone neemt automatisch af. Het warmte-instellingsdisplay van de verlaagde zone verandert tussen twee niveaus.

Timer
Timer met aftelfunctie
Gebruik de timer met aftelfunctie om in te stellen hoe lang de kookzone.Deze keer wordt gebruikt.
Stel de timer in nadat u de kookzone hebt geselecteerd.
U kunt de kookstand voor of na het instellen van de timer selecteren.
- De kookzone instellen:raak herhaaldelijk aan totdat het controelampje van een benodigde kookzone aan gaat.
- De timer in- of uitschakelen: raak + of - van de timer aan om deijd in te stellen ( 00 - 99 minutes). Als het lampje van de kookzone langzamerGaat knippen ren, worden deijd afgeteld.
- De timer uitschakelen: stel de kookzone in met en raak -aan om de timeruit te schakelen. De resterendeijd teft af tot . Het indicatielampje van de kookzone gaatuit.
- Resterendeijd weergeven: selecteer de kookzone met . Het indicatielampje van de kookzone gaat sneller knipperen. Op het display worden de resterendeijd weergeven.
Als deijd verstreken is, klinkt er een geldidssignaal en knippert 00. De kookzone wordenuitgeschakeld.
- Het geluidssignaal stopzetten: Aanraken van
Kookwekker
U kunt de timer gebruiken als kookwekker als de kookzones uitgeschakeld+zijn. Raak 品 aan.Raak pf aan om deijd in te stellen. Als deijd verstreken is, klinkt er een geluidssignaal en knippert 00.
- Het geluidssignaal stopzetten: Aanraken van
STOP+GO
De STOP + GO-functie stelt alle kookzones in op de laagste instelling ( ).
Als STOP + GOloopt, kurz u de warmte-instelling nicht wijzigen.
De STOP + GO functie stopt de timerfungtie nicht.
- Raak voor het inschakelen van deze functie aan. Het symbol Gaat branden.
- Raak voor het uitschakelen van deze functie || aan. De kookstand die u erder hebts ingesteld, worden weergegeven.
Slot
Wanneer de kookzones in gebruik zijn,kest u het bedieningspaneel vergrendelen,maar Niet ① .Hiermee worden voorkomen dat de kookstand per ongeluk worden veranderd.
Stel eerst de kookstand in.
Raak om deze functie te starten aan.
Het symbol L versuschijnt gedurende vier seconden.
De timer blij aan.
Raak om deze functie te stoppen ① aan. De kookstand die u erder hebt ingesteld, worden weergegeben.
Als u het apparaat stopt, stopt deze functie ook.
De kinderbeveiling
Deze functie voorkomt dat het apparaat onbedoeld worden gezruikt.
De kinderbeveiling inschakelen
- Schakel het apparaat in met ① . Stel geen kookstand in.
- Raak 4 seconden aan. Het symbol gaat branden.
- Schakel het apparaat UIT met ①.
De kinderbeveiliging uitschakelen
Schakel het apparaat in met ① . Stel geen kookstand in. Raak 4 secon den aan. Het symbol发展格局 branden.
- Schakel het apparaat UIT met ①.
De kinderbeveiliging gedurende een kooksessie onderdukken
-
Schakel het apparaat in met ① . Het symbolism [L] gaat branden.
-
Raak 4 seconden aan. Stel de kookstand in binnen 10 seconden. U kunth het apparaat bedieren.
-
Als u het apparaat uitschakelt met ①, gaat de kinderbeveiliging werk werken.
NUTTIGE AANWIJZINGEN EN TIPS
INDUCTIEKOOKZONES
Bij een inductiekookzone zorgt een sterkelektro-magnetisch veld ervoor dat de pan erg snel heet worden.
Kookgerei voor inductiekookzones
Belangrijk! Gebruik de inductiekookzones met geschichte paffen.
Material van het kookgerei
- correct: gietijzer, staal, geëmailleerd staal, roestvrij staal,meerlaagse bodem (aangemerkt als geschikt voor inductie door de fabrikant).
- incorrect: aluminium, koper, messing, glas, keramiek, porselein.
Een pan is geschikt voor een inductiekookplaat als...
- ...een beetje water zeer snel kookt op een zone die is ingesteld op de hoogste kookstand.
...een magneet blijt plakken aan de bodem van de pan.
i De bodem van het kookgerei moet zo dik en vlak möglichk+zijn.
Lawaai tijdens gebruik
Als u dit hoor:
- krakend geluid: de pan is gemaakt van verschillende materialen (sandwich-constructie).
- fluitend geluid: bij gebruik van een ofmeer kookzones met een hoge kookstand en als de pan is gemaakt van verschillende materialen (sandwich-constructie)
- Zoemen: als u hoge kookstanden gelebrukt.
- Klikken: er treedt elektrische schakeling op.
- Sissen, zoemen: de ventilator werkt.
Deze geluiden zijn normal en hebben niets met een defect te make.
Energie bespare
Energie bespare
- Doe indien möglich als tijd een deksel op het kookgerei.
- Zet het kookgerei op de kookzone voor dat u deze inschakelt.
- Gebruik de restwarmte om het eten warm te houden of te smelten.
i De efficientie van de kookzone
De efficientre van de kookzone heeft betrekking op de diameter van het kookgerei. Kookgerei met een diameter diekleiner is dan het minimum, ontvangt slechts een deel van het vermogen dat door de kookzone worden gegenereerd. Zie het hoofdstuk Technische gegevens voor de minimale diameters.
Om energia te besparen schakelt het verwarmingselement van de kookzone eerderuit dan het signaal van de timer met aftelfunctie klinkt. Het verschil in werkingsstijd hangt af van het niveau van de kookstand en de lengte van de bereiding.
De voorbeelden van kooktoepassingen
De relatie:tussen het stroomverbruik van de warmte-instelling en de kookzone is nicht linear.
Wanner u de warmte-instelling verhoogt, is dit nicht proportioneel met de toename in stroomverbruik van de kookzone.
Het betekent dat de kookzone met de medium warmte-instelling minder dan de helft van het vermogen gebruikt.
i De gegevens in de volgende tabel die-nen slechts als richtlijn.
| Ver-war-min-gs-stand | Gebruik om: Tijd Tips Nominaal | stroomver-bruik | ||
| 1 | Het door u gekooke te en warm te houden | haar behoefte Leg een deksel op de pan. 3 % | ||
| 1 - 2 Hollandaisesaus, smelten: boter, chocolde, gelatine | 5 - 25 min Meng | het geheel van tijd tot tijd. | 3 - 5 % | |
| 1 - 2 Stollen: luchtige omeletten, gebakken eieren | 10 - 40 min Met | deksel bereiden. 3 - 5 % | ||
| 2 - 3 Zachtjes aan de kook bred-gen van rijst en gerechten op melkbasis, reeds bereide gerechten opwarmen | 25 - 50 min Voeg | minstens tweemaal zoveel vloeistof toe als rijst, melkgerechten tijdens het bereiden tussendoor roeren. | 5 - 10 % | |
| 3 - 4 Stomen van groenten, vis en vlees | 20 - 45 min Enkele eetlepels vloeistof toevoegen | 10 - 15 % | ||
| 4 - 5 Aardappelen stomen | 20 - 60 min | Gebruik max. ¼ l water voor 750 g aardappelen | 15 - 21 % | |
| 4 - 5 Bereiden van grotere hoe-veelheden voedsel, stoof-schotels en soepen | 60 - 150 min Tot | 3 l vloeistof plus ingrediën | 15 - 21 % | |
| 6 - 7 Lichtjes braden: kalfsoester, cordon bleu van kalfsvlees, koteletten, rissoles, wors-tjes, lever, roux, eieren, pan-nenkoeken, donuts | zoals nodig Halverwege de vereidings-tijd omdraaien. | 31 - 45 % | ||
| 7 - 8 Door-en-door gebraden, rösties, lendenbiefstukken, steaks | 5 - 15 min Halverwege de vereidings-tijd omdraaien. | 45 - 64 % | ||
| 9 Aan de kook brengen van water, pasta koken, aanbraden van vlees (gou-lash, stoofvlees), frituren van friet | 100 % | |||
| P | Aan de kook brengen van grote hoeveelheden water. Het vermogensbe-heer is ingeschakeld. | |||
ONDERHOUD EN REINIGING
Reinig het apparaat telkens na gebruik Gebruik algijd kookgerei met een schone bodem.
Krassen of donkere vlekken in de glaskeramiek hebben geen invloed op de werking van het apparatus.
Vuil verwijderen:
-
- Verwijder direct: gesmolten plastic, gesmolten folie en suikerhoudende gerechten. Anders kan het vuil het apparaat beschadigen. Gebruik een speciale schraper voor de glazenplaat. Plaats de schraper schuin op de glazenplaat en verwijder resten door het blad over het oppervlak te schuiven.
-
Verwijder nadat het apparaat voldoende is afgekoeld:kalkvlekken, waterkringen, vetvlekken, glimmende metaalachtige verkleuringen. Gebruik
een special schoonmaakmiddel voor glaskeramiek of roestvrij sta
- Reinig het apparaat met een vochtige doek en een beetje afwasmiddel.
3. Wrijf het apparaat ten slotte droog met een schone doek.
PROBLEEMOPISSING
| Probleem Mogelijk | oplossing | |
| U kunt het apparaat Niet in-schakelen of bedieren. | Schakel het apparaat opnieuw | in en stel de kookstand binnen 10 seconden in. |
| U hebt twee of meer tiptoetsen | tegelijk aangeraakt. | Raak slechts=eén tiptoets tege-lijk aan. |
| De STOP+GO-functie is in | werking. | Raadpleeg het hoofdstuk "Da-gelijks gelebruik". |
| Er bevindt zich water of vet- | spatten op het bedieningspa-neel. | Reinig het bedieningspaneel. |
| Er klinkt een geluidssignaal en het apparaat worden uitgeschä-keld. | U hebt een ofmeer tiptoetsen afgedekt. | Verwijder het voorwerp van de tiptoetsen. |
| Er werkblinkt een geluidssignaal als het apparaat uit is. | ||
| Het apparaat worden uitgeschä-keld. | U hebtiets op de tiptoets① gezet. | Verwijder het voorwerp van de tiptoets. |
| De restwarmte-indicatie gaat Niet aan. | De kookzone is Niet heet, om-dat hij slechts kortstondig is gebruikt. | Als het lang duurt alvorens de kookzone voldoende heet is, neem dan contact op met de klantenservice. |
| De automatische opwarmfunc-tie start Niet. | Kookzone is heet. Laat de kookzone voldoende afkoelen. | |
| De hoogste kookstand is inge- | steld. | De hoogste kookstand heeft hetzelfde vermogen als de au-tomatische opwarmfunctie. |
| De kookstand schakeltussen twee kookstanden. | Het stroombeheer is ingescha-keld. | Zie "Energiebeheer". |
| De sensorvelden worden warm. | Het kookgerei is te groot of staat te dicht bij het bedie-ningspaneel. | Plaats groter kookgerei op de achterste kookzones indien no-dig. |
| gaard branden. | De automatische uitschakeling is in werking getreden. | Schakel het apparaat uit en weein. |
| gaard branden. | De kinderbeveiliging of toets-blokkering is actief. | Raadpleeg het hoofdstuk "Da-gelijks gelebruik". |
| gaard branden. | Geen kookgerei op de kookzo-ne. | Zet kookgerei op de kookzone. |
| Incorrect kookgerei. Gebruik het juiste kookgerei. | ||
| De diameter aan de bodem van | het kookgerei is te Klein voor de kookzone. | Zet het kookgerei op een klei-nere kookzone. |
| Probleem Mogelijk | Oplossing | |
| Een een getal gaan branden. | Er heeft zich een bout in het apparaat voorgedaan. | Ontkoppel het apparaat enige tijd van de stroomtoevoer. Ont-koppel de zekering uit het elektrische system van het huis. Sluit het apparaat opnieuw aan. Als Eweer staat branden, neem dan contact op met de klantenservice. |
| E4gaat branden. | Er is een storing opgetreden in het apparaat, waar er kook-gerei is drooggekookit. De over-verhittingsbeveiliging voor de kookzones en de Automatische uitschakeling+zijn actief. | Schakel het apparaat uit. Ver-wijder het hare kookgerei. Schakel na ongeveer 30 se-conden de kookzone opnieuw in. Als het kookgerei het probleem was, dan moet het fou-bericht van het display verdwij-nen, maar de restwarmte-indi-catie kan aanblijven. Laat het kookgerei voldoende afkoelen en controllerer in het hoofdstuk "Kookgerei voor inductiekook-zone" of het kookgerei geschikt is voor inductiekookplaten. |
Als u door het volgen van de bovenstaande suggesties het probleem Niet kunt oplossen, dient u contact op te nemen met uw vakhandelaar of de klantenservice. Geef de gegevens door van het typeplaatje, een driecijferige code voor de glaskeramiek (bevindt zich op de hoek van het glazen oppervlak) en de foumtelding die worden weergegeven.
Controller of u het apparaat op de juiste manier gebruikt hebt. Bij onjuist gebruik van het apparaat worden het bezoek van de technicus van de klantenservice of de vakhandelaar in rekening gebracht, zelfs tijdens de garantieperiode. De instructies over de klantenservice en de garantiebepalingen vindt u in het garantieboekje.
MONTAGE

Waarschuwing! Raadpleeg de hoofdstukken Veiligheid.

Voor montage
Noteer voor montage van het apparaat de onderstaande informatie van het typepla-tje. Het typeplaatje bevindt zich aan de onderkant van de behuizing van het apparaat.
Model
Productnumber (PNC)
- Serienummer (S.N.).
Inbouwapparatuur
- Inbouwapparaten mogen alleen worden gezbruikt nadat zij ingebouwd�n in ge
schikte inbouwunits of werkbladen die aan de normen voldoen.
Aansluitkabel
- Het apparaat is voorzien van een aansluitsnoer.
- Vervang de beschadigde voedingskabel door een speciale kabel (type H05BB-F Tmax 90^ of hoger). Neem contact op met een klantenservice bij u in de buurt.
Assemblage



B
A
12 mm
28 mm
38 mm
57 mm
41 mm
31 mm


B
A
12 mm
28 mm
38 mm
57 mm
41mm
31 mm





Vermogen van kookzones
| Kookzone Nom | inaal ver-mogen (max warmte-instel-ling) [W] | Powerfunctie ingeschakeld [W] | Maximale duur van de Power-functie [min] | Minimale dia-meter van het kookgerei [mm] |
| Rechtsachter — 180 mm | 1800 W 2500W 10 145 | |||
| Rechtsvoor — 145 mm | 1400 W 125 | |||
| Linksachter — 180 mm | 1800 W 145 | |||
| Linksvoor — 210 mm | 2200 W 3200W 10 180 | |||
Het vermogen van de kookzones kan enigszins afwijkken van de gegevens in de
MILIEUBESCHERMING
Het symbol op het product of op de verpakking wijst erop dat dit product Niet als huishoudafval mag worden behandeld, maar moet worden afgegeven bij een verzamelpunt waar elektrische en elektronische apparatuur worden gerecycled. Als u ervoor zorgt dat dit product op de juiste manier wordt verwijderd, voorkomt u mogelijkke negatieve gevolgen voor mens en milieuu die zich zouden+kennen voordoen in geval van verkeerde afvalverwerking. Voor gedetailleerdere informatie over het recyclen van dit product, kunt u contact
tabel. Het verandert met het materiaal en de afmetingen van het kookgerei.
opnemen met de gemeente, de gemeentereiniging of de winkel waar u het product hebt gekocht.
Verpakkingsmaterialiaal
De verpakkingsmaterialen zijn milieuvriendelijk en herbruikbaar De kunststof onderdelen zijn gemarkeerd, bijv.: >PE<, >PS< , enz. Gooi het verpakkingsmaterialiaal weg in de juiste afval-container bij uwplaatselijke afvalverwerkingsdienst.
CONTENTS
Safety information 16
SimpelGids