MAJA PLUS - Houtkachel PANADERO - Gratis gebruiksaanwijzing en handleiding
Vind de handleiding van het apparaat gratis MAJA PLUS PANADERO in PDF-formaat.
Questions des utilisateurs sur MAJA PLUS PANADERO
0 question sur cet appareil. Repondez a celles que vous connaissez ou posez la votre.
Poser une nouvelle question sur cet appareil
Download de handleiding voor uw Houtkachel in PDF-formaat gratis! Vind uw handleiding MAJA PLUS - PANADERO en neem uw elektronisch apparaat weer in handen. Op deze pagina staan alle documenten die nodig zijn voor het gebruik van uw apparaat. MAJA PLUS van het merk PANADERO.
GEBRUIKSAANWIJZING MAJA PLUS PANADERO
GEBRUKS- EN ONDERHOUDSAANWIJZINGEN. p. 16
INSTRUÇOÉS DE UTILIZACHO E MANUTENÇAO p.20
Brandhout: milieuviendelijke energie
Brandhout is een verwangbare energia die voldoet aan de energie- en milieueisen van de 21s teuw.
In de loop van zijn leven groeit eenBoom dankzij zonnelicht, water, mineralzouten en CO2. Hij verzamelt opituurlijke wijze de zonne-energie en geeft ons de zuurstof die nodig is om te leven.
De hoeveelheid CO2 die tijdens het stoken van hout worden uitgestoten is Niet groter dan die vrijkomt door naturulijke ontbinding. Daarom hebden we te makeen met een energiesoort die de natuurlijke cyclus van miljoenen jaren respecteert. De verbranding van hout verhoogt de CO2-emissie in het milieu Niet, waardoor het een milieuvriendelijkerenergie is die nicht bijdraagt aan het broeikaseffect.
In once kachels wordt het brandhout schoon en zonder afvalstoffen gestoekt. Houtas is mest van hoge kwaliteit en rijk aan mineraalzouten. Door een houtkachel te kopen helpt u het milieu, heeft u een goedkope verwarming en geniet u van de gezellige vlammen die geen andere verwarming u kan bieden.
ONDERHOUD- EN GEBRUIKSAANWIJZING
U hebt een product gekocht van het merk PANADERO. Naast het juiste onderhoud, vergen once kachels een installmentie conform de geldige wetgeving. Onze producten voldoen aan de Europese norm EN 13240:2001 en A2:2004, maar het is erg belangrijk dat de consument de kachel volgens de hierna genoemde aanbevelingen op juiste wijze weet te gebruiken. Om die reden dient u deze handleiding voór het installereren van ons product zorgvuldig te lezen en once onderhoud- en gebruiksaanwijzingen in acht te nemen.
- Zet de eerste pijp op de rookafvoer van de kachel en volg deze positie bij de rest van de pijpen.
- Zet het kapje op de staatste pijp als deze zich buitenshuis bevindt.
INSTALLATIE
- U heeft een houtkachel gekocht met een brandkamer voorzien van vermiculiet.
Verwijder in geen geval deze stukken in vermiculiet uit de kachel. - Alle lokale regelgeving, inclusief de nationale en Europese, dienen in acht te worden genomen bij de installmentie van het toestel.
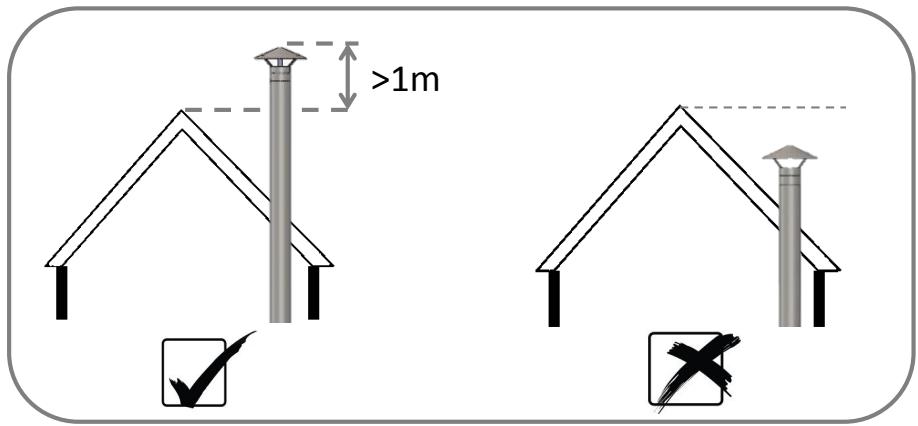
- De installmentieClient zo verticaal mogelijk te zijn. Vermijd het gebruik van kniestukken en omleidingen. Wordt de installmentie op een gemetselde schoorsteenpijp aangesloten, dan wordt aanbevolen dat de pijpen tot aan de afvoer maar buiten reiken. Wordt de installmentie alleen met pijpen uitgevoerd, dan dient deze minimaal over 3 strekkende meter te beschikken.
- Opgelet: De installmentie van deze kachel dient door een gekwalificierdevakman te worden uitgevoerd. Bedek de ventilatieopengen niet.
- Opgelet: deceptive kachel dient in een goed geventileerd vertrek te worden geinstalleerd.
- De pijpen dienen te worden afgedicht met een vuurvaste kit om te voorkomen dat het roet door de naden komt.
- Zet de kachel Niet dicht bij brandbare wanden. De kachel dient op een onbrandbare vloer te worden geinstalleerd, anders dient onder de kachel een planta te worden aangebracht die het hele oppervlak van de kachel bedekt en aan de zijkanten 15 cm en aan de voorkant 30 cm uitsteekt.
- Terwijl de kachel brandt, dient elk hittegevoelig materiaal ervan te worden verwijderd: meubels, gordijnen, papier, kleding, etc. De minimale veiligheidsafstandussen de kachel en brandbare materialen worden aangeduid op de LASTE bladzijde van deze handledeiding.
- Het apparaat moet toegankelijk zijn voor de reiniging van de kachel zich, van het rookkanaal en van de schoorsteen. Als u van plan bent om de kachel dicht bij een onbrandbare wand teplaatsen, raden wij aan om een minimale afstand te bewaren zodate de kachel gemakkelijk schoongemaaakt kan worden.
- Het apparaat is nicht geschikt om op een schoorsteensystem dat met andere apparaten worden geedeeld aan te sluiten.
- Het apparaat要去en vloer met het juiste draagvermogen worden geinstalleerd. Als de reeds bestaande constructie Niet aan deze voorafgaande vereiste voldoet, dienen
de passende maatregelen te worden getroffen om hier wel aan te voldoen (bijvoorbeeld een lastverdeelplaat).
BRANDSTOF
- Gebruik droog brandhout als brandstof en zorg ervoor dat de vochtigheidsgraad ervan nicht hoger dan 20% is. Houd er rekening mee dat een stuk brandhout met een vochtigheidsgraad van 50% of 60% Niet verwarmt, zeer slecht brandt, veel teer voortbrengt, overdreven veel waterdamp uitstoet en overmatige afzettingen op het apparaat, het glas en het rookkanaalveroorzaakt. Ook kannen geperste houtbriketten worden gebruikt.
- Steek het vuur aan met aanmaakblokjes of met behulp van papier of dunne takjes. Gebruik voor het aansteken van het vuur nooit alcohol of soortgelijke producten.
- Verbrand geen huisvuil, plastic materiaal of vette producten die het milieu verruilen en brandgevaar+kunnenveroorzaken doorverstopping van het rookkanaal.
WERKING
- De eerste keren dat u de kachel gezruikt is het normal dat er rook ontstaat. Dit komt doordat er bepaalde componenten van de hittevaste verf verbranden en tegelijkertijd blift het pigment aan de kachel plakken. Daarom worden aanbevolen om de kamer ruimschoots te ventileren totdat de rook verwijnt.
- De kachel dient nicht met open deur te werkken.
- Het apparaat is ervoor bestemd om discontinu, met tussentijds bijvullen van brandstof, te functioneren.
- Voor het aansteken van de kachel worden aanbevolen om papier, aanmaakblokjes en dunne takjes of stukjes brandhout te gebruiken. Zodra het vuur begint te branden, dienen twee houtsblokken van 2,5 à 3 kg te worden toegevoegd. Bij het aanmaken要去en de trekkleppen van de kachel geheel geopend zijn. Zo nodig kan het ook van nut� om in het begin de asla te openen.
- Sluit, zodra het vuur goed brandt, de asla volledig (als u deze van tevoren heeft geopend) en regel de intensiteit van het vuur door de trekkleppen in meerde of mindere mate te sluiten.
- Om het nominate vermogen van deze kachel te bereiken, dient om het uur onceveer 2 kg brandhout (twee stukken van een kilo) in het apparaat te worden gelegd. De houtblokken dient uiets van elkaar gezehden, horizontally neer te leggen, zodat ze goed hunnen branden. Het apparaat dient Niet bijgevuld te worden, totdat de vorige lading opgestookt en alleen nog gloeendi houtskool over is.
- Voor een langzame verbranding dient de intensiteit van het vuur met de trekkleppen te worden geregeld. Deze moot nooit geblokkeerd zich, zodate er voldoende luchttoevoer is.
- Het is normal dat de messing onderdelen, na de eerste keren dat de kachel wordt aangestoken, een koperachtige kleur krijgen.
- Het is normal dat de glasvezelpakking van het glas na verloop van tijd losraakt. Hoewel de kachel zonder deze pakking ook kan functioneren, worden aanbevolen omhaar elk seizoen te verrangen.
- De onderste la is bedoeld voor het verwijderen van de as. Leeg de asla vaak en wacht nicht totdat hij te vol zit om te voorkomen dat het rooster kapot gaat. Wees voorzichtig met de as. Deze kan na 24 pau nog steeds warm+zijn.
- Om ervoor te waken dat er geen rook vrijkomt, is het better om de deur van het apparaat Niet
bruusk open te make. Open de deur van de kachel nooit zonder eerst de trekklep te hebben geopend. Open de deur alleen om de kachel met de geschikte brandstof bij te vullen.
- Het glas, de messing onderdelen en het apparaat in het algemeen+kennen zeer hoge temperaturen aannemen. Wees voorzichtig. Verbrandingsgevaar! Gebruik de bij de kachel meegeleverde want om die onderdelen te hanteren.
- Houd kinderen van de kachel verwijderd om te voorkomen dat ze zichijdens het gebruik konnen verbranden.
- Als bij het opstarten problemen ontstaan (tussenseizoen, koude schoorsteen, etc.), dan kan vuur worden aangestoken met gekreukeld papier. Hiermee worden de inbedrijstelling van de kachel vereenvoudigd.
- Sluit bij oververhitting de trekkleppen om de intensiteit van het vuur te reduceren.
- Sluit bij een slechte werkking de trekkleppen en raadpleeg de fabrikant.
- Om de beste prestaties van het apparaat te verkrijgen, open bij het aanzetten alleen de primaire lucht en zodra het vuur goed brandt (1 à 2 minutes), sluit de toevoer van de meeste primaire lucht en LAST slechts een zeerkleine opening om een langzame verbranding op peil te houden.
ONDERHOUD
- Het is gewenst om het glas regelmatig schoon te makeem om te voorkomen dat het zwart wordt van de roetaanzetting. Er zijn speciale reinigingsmiddelen hiervoor in de handel. Gebruik nooit water. Probeer nooit een werkende kachel schoon te makeem.
- Ook is het belangrijk om de rookkanalen van het apparaat regelmatig schoon te makeen en te controlleren of deze Niet verstocht�n, alvorens het apparaat, nadat deze een langeperiode Niet is gebruikt, opnieuw aan te makeen. Aan het begin van elk seizoen is het belangrijk dat eenvakman de installmentie een onderhoudsbeurt geeft.
- Bij schoorsteenbrand, indien möglichk, de trekkleppen dichtdoen en onmiddelijk contact opnemen met de autoriteiten.
- Elk reserveonderdeel dat u nodig heeft dient door ons te zich aanbevolen.
- Het koord voor het glas is onderhevig aan slijtage. Indien dit het geval is, dient u dit te verwangen voor een nieuw koord.
GARANTIE
Deze kachel is een met zorg vervaardigd product van topkwaliteit. Als er desondanks schade ontstaat, neem dan eerst contact op met uw leverancier. Als hij het probleem Niet kan oplossen, za hij contact met ons opnemen en ons zo nodig de kachel toezenden. Ons bedriij verrangt de eerste tweeJAar na de aankoopdatum elk defect onderdeel Gratis. De verzendkosten zijnECHter voor rekening van de klant.
Aangezien dit apparaat is getest door een gecertificerd laboratorium worden de volgende onderdelen Niet gedekt door de garantie:
-Glas
Gietijzeren rooster
- Vermiculiet
- Handvat, Knoppen, etc
In de verpakking vindt u een kwaliteitst controleblad. Wij verzoeken u dit in geval van een klacht waar de leverancier te sturen.
| - Hoogte | 800 mm |
| - Breedte | 800 mm |
| - Diepte | 458 mm |
| - Gewicht | 142 Kg |
| - Deurtje houtinvoer | 607 x 273 mm |
| - Rookafvoer | 200 mm |
| - Romp in 5 mm dik staal | |
| - Gietijzeren rooster | |
| - Hittevaste verf, bestand gegen 800 °C | |
| - Keramisch glas 750 °C | |
| - Houtblokken tot 60 cm |
| - Nominal colorisch vermogen | 7.2 kW |
| - Rendement | 78,9 % |
| - CO-emissie | 0.096 % |
| - Minimale choorsteentrek voor nominaal vermogen | 12 Pa |
| - Rookgasdebiet | 7,6 g/s |
| - Rookgastemperatuur | 246°C |
| - Minimale afstand brandbare materialen | 40 cm side 100 cm frontaal |
| - Verwarmingsvolume (ca.) | 250 m3 |
| CE EN 13240: 2001 & A2: 2004 | H. L. DE M. C. U. E. P. I. CAMPOLLANO P.A. CAMPOLLANO AVENIDA 5°, 13-15 02007 ALBACETE -SPAIN |
| HOUTKACHEL "MAJA PLUS".......... 13 ONAFHANKELIJKE KACHEL VOOR VASTE BRANDSTOF CERTIFICATE N° 30-12098 PRESTATIEVERKLARING.......... 11223 AANGEMELDE INSTANTIE.......... 1015 | |
| Nominaal vermogen.......... 7.2 kW Rendement.......... 78,9% CO-emissie verbrandingsproducten.......... 0.096% Rookgastemperatuur.......... 246 °C Afstand van brandbare materialen 40 cm side 100 cm frontaal Brandstofsoorten.......... Brandhout en briketten | |
INSTRUÇÉS DE UTILIZAZão E DE MANUTENÇAO
Geen enkel deel van MAJA PLUS, bevat een materiaal te kennen als schadelijk.
POSITION DES RAUCHROHRS
FOD Volksgezondheid, Veiligheid van de Voedselketen en Leefmilieu, Directoraat-general Leefmilieu
KB 12 oktober 2010 tot regeling van de minimale eisen van rendement en emissieniveauaus van verontreinigende stoffen voor verwarmingsapparaten voor vaste brandstoffen
| Fabrikant: | |
| Naam van de fabriekant | PANADERO DENIA SL |
| Adres van de fabriekant | AVENIDA 5 NORTE 13-15 02007 ALBACETE SPAIN |
| Naam van zijn mandataris in de Europese Unie | PANADERO DENIA SL |
| Product(en): | ||
| Soort brandstof | Vernieuwbaar | |
| Soort product | Met vaste brandstof gestookte voorzetkachel | |
| Vermogen | 7.2 | KW |
| Model | MAJA PLUS | |
| Type | 11223 | |
| EC-nummer | PANADERO DENIA S.L. | |
| Emissieniveaua: | ||
| CO Continuous | % or mg/Nm3 | NBN EN 13240 |
| CO Non Continuous | .096 % or mg/Nm3 | NBN EN 13240 |
| PM Continuous | % or mg/Nm3 | NBN EN 13240 |
| PM Non Continuous | 32 % or mg/Nm3 | NBN EN 13240 |
| EFF Continuous | % | NBN EN 13240 |
| EFF Non Continuous | 78.9 % | NBN EN 13240 |
| Bijkomende gegevens: | |
| Naam van de erkende instantie | STROJIRENSKY ZKUSEBNI USTAVLaboratorium |
| Verslag N° | 30-12098 |
| Coördinaten van de person die ertoe gemachtigd is om de verklaring te ondertekenen | Miguel PANADERO |
| Plaats en datum van de verklaring | 08-10-2013 ALBACETE |
| Milieu-informatie betreffende de aanbevolen vaste brandstoffen | Gebruik droog brandhout als brandstof en zorg ervoor dat de vochtigheidsgraad ervan nicht hoger dan 20% is. Houd er rekening mee dat een stuk brandhout met een vochtigheidsgraad van 50% of 60% nicht verwarmt, zeer slecht brandt, veel teer voortbrengt, overdreven heel waterdamp uitstoot en overmatige afzettingen op het apparaat, het glas en het rookkanaal peroorzaakt. Ook hunnen geperste houtbriketten worden gebruikt. |
| Milieu-informatie betreffende de af te raden vaste brandstoffen | Verbrand geen huisvuil, plastic materiaal of vette producten die het milieu verruilen en brandgevaar kunnen peroorzaken door verstopping van het rookkanaal. |
Met deze verklaren we dat de reeks toestellen hierna vermeld, in overeenstemming is met hetype-model beschreiben in de EG verklaring van overeenstemming, en dat ze geprodueerd en verdelijk wordt volgens de eisen van het koninklijk besluit van 12oktober 2010 tot regeling van de minimale eisen van rendement en emissionateus van verontreinigende stoffen voor verwarmingsapparaten voor vaste brandstoffen.





TÜV Rheinland®
CERT
ISO 9001
HIJO DE MIGUEL
PANADERO
P.I. CAMPOLLANO
A V E N I D A 5^ ,13-15
02007 ALBACETE - SPAIN
Telf.: (+34) 967 59 24 00
Fax: (+34) 967 59 24 10
panadero@panadero.com
SimpelGids