MULTI-DMM MT-52 - Digitale multimeter VOLTCRAFT - Gratis gebruiksaanwijzing en handleiding
Vind de handleiding van het apparaat gratis MULTI-DMM MT-52 VOLTCRAFT in PDF-formaat.
Download de handleiding voor uw Digitale multimeter in PDF-formaat gratis! Vind uw handleiding MULTI-DMM MT-52 - VOLTCRAFT en neem uw elektronisch apparaat weer in handen. Op deze pagina staan alle documenten die nodig zijn voor het gebruik van uw apparaat. MULTI-DMM MT-52 van het merk VOLTCRAFT.
GEBRUIKSAANWIJZING MULTI-DMM MT-52 VOLTCRAFT
Deze geleurikaanwijzing hoort bij dit product. Er staan belangrijke aanwijzingen in betreffende de ingebruikname en gelebruik, ook als u dit product doorgeeft aan derden.
Bewaar deze handleiding zorgvuldig, zodat u deze later nog eens kunt nalezen!
U vindt een opsomming van de inhoud in de inhoudsopgave met aanduiding van de paginanummers op pagina 95.




Einführung
Sehr gehrter Kunde,
Wijden kanten u hartelijk voor het aanschaffen van dit Voltcraft®-product. Hiermee heeft u een uitstekend apparat in huis gehaal.
U hebt een kwaliteitproduct aangeschaft dat ver boven het gemiddelde uitsteekt. Een product uit een merkfamilie die zich op het gebied van meet-, laad-, en voedingstechniek met name onserscheidt door specifie vakkundigheid en permanente innovatie.
Met Voltcraft® worden gecompilieerde taken voor u als kieskeurige doe-het-zelver of als professionele gebruiker al gauw kinderspel. Voltcraft® biedt u betrouwbare technologie met een buitengwoon gunstige verhoudng van prijs en prestaties.
Wij zijn ervan overtuigd: uw keuze voor Voltcraft is tegelijkkortijd het begin van een langdurige en prettige samenwerking.
Veel plezier met uw nieuwe Voltcraft®-product!
Inhoudsopgave
Inleiding 94
Voorgeschreiben gebruik 96
Bedieningselementen 97
Veiligheidsvoorschriften 98
Productbeschrijving 100
Leveringsomvang 100
Displaygegevens en symbolen 101
Meetbedrijf 102
a) Meetapparaat inschakelen 102
b) Spanningsmeting "V" 103
g) Capaciteitsmeting 108
h) Contactloze AC-netspanningsdetectie "NCV" 109
i) Frequentiemeting 109
j) Pulsbreedtemeting 110
k) Kamertemperatuur- en luchtvochtigheidmeting 110
I) Temperatuurmeting met contactsensor 111
m) Geluidsniveaumeting 111
n) Belichtingsmeting 112
RANGE-toets 113
REL-toets 114
Hz%-toets 114
HOLD-toets 114
MODE-toets 114
Auto-Power-Off-functie 114
Displayverlichting 114
Reiniging en onderhoud 115
Algemeen 115
Reiniging 115
Meetapparaatopenen 116
Vervangen van zekeringen 116
Plaatsen/vervangen van de batterij 117
Afvalverwijdering 118
Verwijdering van lege batterijen 118
Verhelpen van storingen 119
Voorgeschreve gebruik
- Meting en weergave n de elektrische grotheden binnen het bereik van de overspanningscategorie III (tot max. 600V t.o.v. aardpotentiaal, volgens EN 61010-1) en alle lagere categorieen. Het meeteaparaat en de toebehorenogen moot in de overspanningscategorie CAT IV (vb. aan de bron van de laaqspanningsinstallatie) worden ingezet.
- Meten van gewijk- en wisselspanningen tot max. 600 V
- Meten van gewijk- en wisselstromen tot max. 10 A
- Meten van waarstanden tot 40 MZ
- Doorgangstest (< 50 Ohm akoestisch)
- Diodetest
Capaciteitsmeting tot 100 F
Frequentiemeting tot 10 MHz - Pulsbreedteweergave in %
- Temperatuurmeting met externe K-typesensor van -20 tot +1300 °C
- Temperatuurmeting met interne sensor van 0 tot +50 °C
- Meten van de relatieve luchtvochtigheid van 33 - 99%
- Meten van de belichtingssterkte tot 40000 lux
- Meten van het geluidsniveau van 35 - 100 dBC (voorde orienteringsmeting)
- Contactloze wisselspanningsdetectie "NCV"
De meetuffuncties worden gekozen via een draaischakelaar. Behvale in de omgeveingsmeetgebieten temperatuur, luchtvochtighinde, geluidsniveau en belichtssterkte is bij alle meetfuncties de automatische meetgebiedselectie (Autorange) actiek.
De beiden stroommetingen zijn met keramische groß vermogenzekeringen beveilig gegen overbelastung. De spanning in het meetcircuit mag 600 V zich overschrijden
De multimeter werk met een gangbare, 9V alkalische blokbattery. Het gebruik is alleen toegestaan met de aangeveen batterijtypen.
Het meetatapparaat mag in geopende toestand of met open batterijvak niert worden gebruikt. Metingen in vochtige ruimten of onder ontunstige omstandigheden zijn nicht toegestaan. Ongunstige omstandigheden zich:
Vocht of hoge luchtvochtigheid,
- stof en brandbare gassen, dampen of oplosmiddelen,
- onweer resp. weersomstandigheden zoals sterk elekrostatische velden enz.
Gebruik voor het meten alleen de meegeleverde meetsnoeren resp. meetaccessoires, die op de specificaties van de multimeter afgestemd zijn.
Een andere topepassing dan hierboven beschren ven leiden tot beschadiging van het product. Daarnaast bestaat het risico van bijv. kortsluiting, brand of elektrische schokken. Het complete product mag Niet worden verandered of omgebouwd!
Lees deze handleiding zorgvuldig door en bewaar deze voor toekomstig gebruik.
De verilgheidsvoorschriften dieren absolut in acht te worden genomen!
Bedieningselementen
(zie uiktkappagina)
1 Display
A Hoofdvenster met meeteenheid en bijkomende functies
B Symbol voor batterij verrangen
C Permanente weergave van de relatieve luchtvochtigheid in procent
D Permanente weergave van de luchttemperatuur in graden Celsius
2 RANGE-toets
3 REL-toets
4 MODE-toets
5 Draaischakelaar
6 10 A-Meetbus
7 A / mA -meetbus
8 COM-Meetbus (referentiepotentiaal "minus")
9 VΩ-Meetbus(bij gelinge groote "plus")
10 Lichttoets voor displayverlichting
11 Hz/%-toets voor functieomschakeling in het spannings-, stroom- en freiendentiebereik
12 HOLD-toets
13 NCV-lichtindicator voor AC-spanningsdetectie
14 Sensoropening voor kamertemperatuurmeting (relatieve luchtvochtigheid en temperatuur)
15 Lichtsensor
16 Sensoropening voor geluidsniveauameting
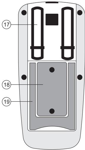
17 Kleinstallatie voor meetpuntbevestiging
18 Batterijvak
19 Inklapbare standardaard
Veiligheidsvoorschriften

Lees voor de ingruikneming de volledige gruiksaanwijzing door, deze bevat belangrlijke aanwijzingen voor het juste gruik.
Bij schade verooraaktd door het net Niet opvolgen van de gebruksaanwijzig, vertelt hetrecht op garantiel! Voor verrolschade die hieruit ontstaat, waar je nift aansprakelijk?
Voor materielle schade of personoijl letsel,verooraakt door ondeskundig gebruik of het net opolgen van de veiligheidsaanwijzingen, anavaarden wij geen aansprakelijkheid! In dergelseigeGVallenvert hetrecht op garatie.
Het apparaat heeft de fabriek in veilgheidstechnisch perfecte staat verlaten.
Volg de instructies en waarschuwingen in de gebruiksaanwijzing op om deze status van het apparaat te handhaven en een veilige werkig te garanderen!
Let op de volgende symbolen:

Een uitroepteken in een driehoek wijst op belangrijke instructies in deze gebruksaanwijzing die absolut opgevolgd dienen te worden.

Een bliksemschicht in een driehoek waarschuwt voor een elektrische schok of een veiligheidsbeperking van elektrische onderden in het apparaat.

Het "hand"-symbool vindt u bij bijzondere tips of instructies voor de bediening.

Dit apparatus is CE-goedgekeurd en voldoet aan de moodzakelijkte Europese richtlijnen.

Beschermingsniveau 2 (dubbele of versterkte isolatie)
CAT II
Overspanningscategorie II voor hetuming aan elektrische en elektronische apparaten, die via een netstekker worden voorzien van spanning. Deze categorie omvat ook alle Kleinere categorie (biv. CAT I voor het meten van signaal- en stuurspanningen).
CAT III
Overspanningscategorie III voor metingen in de gebouwinstallatie (b.v. stopcontacten of onderverdelingen). Deze categorie omvat ook allekleinere categoryen (bijv. CAT II voor het meten aan elektrische apparaten).

Aardpotential
Om veiligeids- en keuringsredenen (CE) is het eigenmachtig ombouwen en/of veranderen van het apparatusaat Niet toegestaan.
Raadpleeg een vakman wanner u twijfelt over de werkig, veiligheid of aansluiting van het apparaat.
Meetapparaten en accessoires zichen geen spelelgoed; houd deze buiten bereik van kinderen!
In industrielle omgevingen dienen de Arbovoorschriften ter voorkoming van ongevallen met betrekking tot elektrische installaties en bedrijsmiddelen in acht te worden genommen.
In scholen, opledingscentra, hobbyruimten en werkplaatsen moet door geschoold personeel voldoende toezicht worden gehonden op de bediening van meetapparaten.
Zorg bij elké spanningsmeting dat het meetapparaat zich Niet binnen het stroommeetbereik bevindt.
De spanningussen aandsluitpuntenen het meetatapparaat en aardpotentiaal mag nicht hoger zich aan 600 V DC/AC in CAT III.
Vór elke wisseling van het meetbereik moeten demeetstiften van hetmeetobject worden verwijderd.
Wees vooral voorzichtig bij de omgang met spanningen >50V wissel- (AC) resp. >75V gelijsk spanning (DC)! Weeds bij deze spanningen kutn u door het aanraken van elektrische geleiders een levensgevaarlike elektrische schok krijgen.
Controlleroor elke meting uw meetapparaat en de meetsnoeren op beschadiging(en). Voer in geen geval metingen uit als de beschemmende isolatie beschadigd (gescheurd, verwijdend enz.) is.
Om een elektrische schok te voorkomen, dient u ervoor te zorgen dat u de te meten aansluitingen/ meetpunten tijden de meting nicht, ook nicht indirect, aanraakt. Pakijdens het meten nicht boven de voelbare handgreeparkeringen op de meetstiften vast.
Gebruik de multimeter nooit kort voor,ijdens, of kort na een onweersbui (blikseminslag! / energierijke overspannings!). Zorg dat uw handen, schoenen, kleding, de vloer, schakelingen en onderdelen van de schakeling enz. absolut droogelijk.
Vermijd een gebruik van het apparaat in de onmiddelijkte buurt van sterke magnetische of elektromagnetische velden en zendaantennes of HF-generatoren. Daardoor kan de meetwaarde worden vervalst.
Wanneer kan worden aangenomen dat een veilig gebruik Niet更是 mogelijk is, mag het apparaat而不是更要leen gebruikt en要去 het worden beveiligd tegen onbedoeld gebruik. U mag ervan uitgaan dat een veilig gebruik Niet更是 mogelijk is indien:
- het apparaat zichtaar is beschadigd,
- het apparaat Niet meer functioneert en
- het product gedurende langereijd onder ongunstige omstandigheden is opgeslagen of
- het apparaatijdens transport zwaar is belast.
Schekel het meetapparaat nooit onmiddelijk in, nadat het van een koude maar een warme ruimte is gebracht. Hoort het condenswater dat wordget gevormd, kan het apparaat onder bepaalde omstandigheden beschadigd raken. Laat het apparaat uitzeschakeld op kamtertemperatuurkommen.
Laat het verpakkingsmateriaal Niet acheloois liggen. Dit kan voor kinderen gevaarlijk spelgoed zich.
Neem ook de veiligheidsvoorschriften in de afzonderlijke hoofdstukken in acht.
Productbeschrijving
De meetwaarden worden op de multimeter (hierna DMM genoormd) digital weergegeven. Het display van de DMM bestaat uit 4000 counts (count =kleinst möglichke displaywaarde). De meting van spanning en stroom gebeur als effectief gemiddelde.
Het metapparaat bevat 4 omgevingsmeetfunctions voor relatieve luchtvochtigheid, temperatuur (luchten sensormeting), lineair geluidsniveau (voor de oriendenter van geluidsbronnen) en verlichtingssterkte. De belichtingsensor bevat een IR-filter die enkel het zichtbare Lichtspectrum meet.
Een displayverlichting kan bij slechte Lichtverhoudingen worden ingeschakeld.
Als de DMM 30 minutes nicht wird bediend, wird het apparaat automatisch uitgeschakeld. Deze functie spaar de batterij en verlangt de gebruksduur. Het meetapparaat is bestem voor hobbygebruik maar ook voor professione toepassingen.
Voor een betere affleesbaarheid kan de DMM worden neergezet met de standard aan de achechterzijde.
De meetleidingen zijn aan de stekkers en meetpunten van een transportbeschermingskap voorzien. Verwijder.Deze voor u de meetleiding gebruikt.
Draaischakelaar (4)
De afzonderliche meetfunctione worden gekozen via een draaischakelaar. De automatische bereikskeuze ist actief wannere het symbol "Auto" worden weergegeven. Hierbij worden altdt het geschikte meetbereik ingesteld.
Het meetapparaat is op stand "OFF"uitgeschakeld. Schakel het meetapparaat altduiit als u het Niet gebruikt.

Leveringsomvang
Multimeter
9V-blokbatterij
Veiligheidsmeetsnoeren
Draadtemperatuursensor (K-type, meetbereik -20 tot + 230 °C)
K-type-adapterstekker
Gebruiksaanwijzig
Displaygegevens en symbolen
Dit is een lijst van alle voorkomende symbolen en gegevens op de MT-52.
Auto duidt "automatische keuze van het meetbereik" aan.

Symbool voor de displayverlichting

Symbool voor de ingebouwde zekeringen
OL of I Overload = overbelasting; het meetbereik werk overschreten
OFF Schakelstand "Meetapparaat uit"

Batterij verwangen-symbol; de batterij zo snel möglichEVrvangen om meetfouten te vermijden!

Symbool voor de diodetest

Symbool voor de akoestische doorgangsmeter

Symbool voor het geluidsdrukmeetbereik (C-karakteristiek = linearair)

Capaciteitsmeetbereik

Wisselspanningsgrootheid voor spanning en stroom

Gelijkspanningsgrotheid voor spanning en stroom

Polariteilsaanduiding bij minpotentiaal

Millivolt (exp.-3)

Volt (eenheid van elektrische spanning)

Micro-ampere (macht -6)

Milli-ampere (exp.-3)

Ampère (eenheid van elektrische stroomsterkte)

Ohm (eenheid van elektrische waarstand)

Kilo ohm (macht 3)

Mega ohm, (macht 6)

Hertz (eenheid van freiquentie)

Pulsigte in % (pulspauze)

Eenheid van temperatuur (°Celsius)

Eenheid van geluidsniveau (decibel)

Eenheid en meetbereik van de belichtingssterkte
%RH Relatieve luchtvochtigheid
nF Nanofarad (exp.-9) eenheid van elektrische capacititeit
F Microfarad (macht-6)
mF Millifarad (exp.-3)
Meetbedrijf

Zorg dat de max. toegestane ingangswaarden in geen geval worden overschreden. Raak schakelingen en schakelieten dan noan als aanthrop een hogere spanning dan 50 V ACRns of 75 V DC kan staan! Levensgevaarlijk!
Controleer voor aanvang van de meting de aangesloten meettoebehoren op beschadigingen, zoals smeden, scheuren of afnellingen. Defecte meettoebehoren mognet hier不断增强发展格局! Levensgevaarlijk!
Pakijdens het meten de meetsoeren Niet boven de tastbare handgreeparkeringen vast.
Het meten mag alleen worden uitgevoerd als de batterij- en zekeringsvak gesloten zich.

Er mogen altijd alle die meetsoeren op het meetaparraat aangesloten zich, die nodig zich voor de meting. Verwijder om veilgheidsredenen alle Niet benodigde meetsoeren uith het apparatus.

Verschijt "OL" of "I" (voor Overload = overloop) in het display, dan heeft u het meetbereik overschreten.
a) Meetapparaat inschakelen
Draai de schakelaar op de betreffende meetfungtie (4). Draai de schakelaar op de stand "OFF" om het apparaat uit te zetten. Schakel hetmeetapparaat altijd uit als u het Niet gebruikt.

Voordat u het meetaparaat kut gebruiken, moeten erst de meegeleerde batterij geplaatst worden. Het plaatsen en verrangen van de batterijen worden in het hoofdstub "Onderhoud en reining" beschren.
b) Spanningsmetting "V"
Het spanningsbereik "V AC/DC" bezit een ingangsweerstand van >10 MOhm.
Voor het meten van wisselspanning "V AC" gaat u als volg te werk:
Schakel de DMM in en kies de meetfunctie
- Steck het rode meetsnoer in de V-meetbus (9); het zwarte meetsnoer in de COM-meetbus (8).
- Maak nu met de beiden meetstiften contact met het meet-object (contactdofo, schakeling, enz.).
- De huidige meetwaarde worden op het display weergegeven.
- Verwijder na het meten de meetsoeren van hetmeetobject en schakel de DMM uit.

Via de toets "Hz%" (11) kan de weergave maar frequente (Hz) en pulsinglette (U%) worden omgeschakeld. Met elk erke drukken, schakelt u de functie om. Autorange worden gedaeactiveerd.
Het mV-AC-meetbereik kan uitsluitend via de manuele meetbereikkeuke (toets "RANGE") worden geselecteerd.

Voor het meten van gelifikspanninger "V-DC" gaat u als volgt te werk:
- Schakel de DMM in en kies de meetfungte "V=".
- Steck het rode meetsnoer in de V-meetbus (9); het zwarte meetsnoer in de COM-meetbus (8).
- Maak nu met de beiden meetstiften contact met het meetobject (battenj, schakeling, enz.). De rode meetstift komt overeen met de pluspool, de zwarte meetstift met de minpool.
- De betreffende polaritie van de meetwaarde worden samen met de actuèle meetwaarde op het display weergeveen.

Zodra bij de gelijkspanning een min *o" voor de meetwaarde verschijnt, is de gameten spanning negafet (of de meetsnoeren zijn verwisseld).
- Verwijder na het meten de meetsoeren van hetmeetobject en schakel de DMM uit.

Via de toets "Hz%" (11) kan de weergaveশ particulte (H z) en pulslengthe ( %) worden omgeschakeld. Met elke keer drukken, schakelt u de functie om. Autorange worden gedeactiveerd. Dit maakt de contrôle van een möglichke bromspanning (overgeladen wisselspanning) möglichk. Bij een zuivere gelijkspanning is de frequente en %-aanduiding "nul". Zonder meetsignaal kuren spookwaarden worden weergegeven. Deze verdwijnen van zodra een gelijkspanning worden gemeten.
c) Stroommeting "A"

De spanning in het meetcircuit mag 600V Niet overschrijden.
Meet op het bereik 10A in geen geval stromen van meer dan 10 A resp. in het /μAmA-gebied stromen groter dan 400mA : anders spreken de zekeringen aan.
Metingen in het >5 A-gebied mogen max. 30 seconden duren, en worden uitgevoerd met een interval van 15 minutes.
Begin de stroommetting alsild met het grootste meetbereik en wissel indien nodig aan een kleiner meetbereik. Voor een meetbereik alsild de stroom op de schakeling uitschaken. Alle stroommeetbereiken gezekerd en dus bevallid gegen overbelasting.
Voor het meten van gelijktroom "A/DC" gaat u als volgt te werk:
- Schakel de DMM in en kies de meetfungtie "A". In de tablet kannne de verschilnde meetfungties en de möglichke meetbereiken bekeken worden. Selecteer een meetbereik en de bijbehorende meetbussen. Op het scherm verschijnt "DC"
| Meetfungtie | Meetbereik | Meerbussen |
| μA | <4000 μA | COM + μAmA |
| mA | 4mA – 399 mA | COM + μAmA |
| 10A | 400 mA – 10 A | COM + 10A |

- Steek de rode meetkabel in de A / mA of 10A-meetbusen Het zwarte meetsnoer stopt u in de COM-aansluiting.
- Maak nu met de beiden meeststellen in series contact met het meetobject (batterij, schakeling, enz.). De betreffende polariteit van de meetwaarde worden samen met de meetwaarde op het display weergegeven.

Is er bij een gegliktroommetting voor de meetwaarde een "-(min)-teken te zien, dan is de getemden stroom tegendestof (zoij de meetsnoeren verwisseld).
Verwijder na het meten de meetsnoeren van het meetobject en schakel de DMM uit.

Via de toets "Hz%" (11) kan de weergave maar freiagentie (Hz) en pulslengte (%) worden omgeschakeld. Met elke keer drukken, schakelt u de functie om. Autorange worden gedaeactiveerd. Dit maakt de contrôle van een möglichbrie bromsgnaal (overgeladen freiagentie) mogelijk. Bij een zuivere gelijkstroom is de freiagentie en % -aanduiding "nul". Zonder meetsignaal konnen spookwaarden worden weergegeven. Deze verdwijnen van zodra een gelijkstroom worden gemeten.
Voor het meten van wisselstroom "AAC" gaat u als volgt te werk:
- Schakel de DMM in en kies de meetfunctie "A".
In de tabel können de verschlende meetuffuncties en de möglichke meetbereiken bekeken worden. Selecteer een meetbereik en de bijbehorende meetbussen. Op het scherm verschijt "DC"
| Meetfungtie | Meetbereik | Meerbussen |
| μA | <4000 μA | COM + μAmA |
| mA | 4mA – 399 mA | COM + μAmA |
| A | 400 mA – 10 A | COM + 10A |
- Steek de rode meetkabel in de A / mA of 10A-meetbussen Het Zwarte meetsnoer stopt u in de COM-aansluiting.
- Druk op de toets "MODE" om het net AC-meitbereik om te schakelen. Op het display verschijnt "AC". Door nogmaals op de knok te drukken, worden wever geschakhestend enz.
- Maak nu met de beiden meetstiften in series contact met hetmeetobject (stroomkring, schakeling, enz.). De meetwaarde worden op het display weergegeven. Het aansluijtprincipe komt overeen met de DC-meting.
- Verwijder na het meten de meetsnoeren van het meetobject en schakel de DMM uit.

Via de toets "Hz" (11) kan de weergave waar:frequentie (Hz) en pulslente (%) worden omgeschakeld. Met elke keer drukken, schakelt u de functie om. Autorange wordt gedeac-tiveerd.
d) Weerstandsmeting

Controller of alle te meten schakeldelen, schakelingen en componenten evenals andere meetobjecten absolut u spanningloos en ontladen zich.
- Schakel de DMM in en kies de meetfunctie
- Steek het roode meetsnoer in de Ω meetbus (9), het zwarte in de COM-aansluiting (8).
- Controller de meetingsnoeren op doorgang door beiden meetstiften met elkaar te verbinden. Nu moet zich een werstandswaarde van ca. 0-0,5 ohm stehen (de eigenaerstand van de meetsnoeren).
Sluit nu de beiden meetstiften aan op hetmeetobject. De meetwaarde wordt op het display weergeveen, mits het meetobject Niet hoogohmig of onderbroken is. Wacht tot de displaywaarde gestabiliseerd is. Bij waarstanden >1 MOhm kan dit enkele seconden duren.
Zodra "OL" (voor Overload = overbelasting) op het display verzuchtijt, heb u het metbereik overschrende of is het meetircuit onderbroken. - Verwijder na het meten de meetsoeren van het.meetobject en schakel de DMM uit.


Wanneer u een onderstandsmetting uitvoert, moet u erop leten dat de meepunten waar u de meetstiften mee in contact brengt voor het meten, vrij zijn van voel, oliie, soldeerhars en dergelijke. Dergelijke omstandigheden kannen het meetresultaat verversal.
e) Diodetest

Controller of alle te meten schakeldelen, schakelingen en componenten evenals andere meetobjecten absolut uant spanningloos en ontladen zijn.
- Schakel de DMM in en kies de meetfunctie
- Steck het rode meetsnoer in de V-meetbus (9); het zwarte meetsnoer in de COM-meetbus (8).
Druk op de toets "MODE" om de meet functie om te schaken. Op het display verschijt het symbol voor de diodelest. Door nogmaals op de knop te drukken, worden de volgende meetfunctie ingeschakeld. - Controller de meetsoeren op doorgang door beiden meetstiften met elkaar te verbinden. Nu moet zich een waarde van ca. 0 V instellen.
- Sluit nu de beiden meetsnoeren aan op het meetobject (diode).
Op het display wordt de doorlaatspanning "UF" in volt (V) weergegeven. Als "OL" verschijnt, wordt de diode in sperrichting (UR) gemeten of is de diode defect (onderbreking). Voer ter controle een meting door met omgekeerde polarieteit. - Verwijder na het meten de meetsnoeren van het meetobject en schakel de DMM uit.

f) Doorgangstest

Controller of alle te meten schakeldelen, schakelingen en componenten evenals andere meetobjecten absolutunt spanningloos en ontladen zijn.
Schakel de DMM in en kies de meetfunctie
- Druk 2x op de toets "MODE" om de meet functie om te schakelen. Op het display verschijt het symbol voor de doorgangsmeting. Door nogmaals op de knop te drukken, worden de eerste meet functie ingeschakend.
- Steck het rode meetsnoer in de V-meetbus (9); het zwarte meetsnoer in de COM-meetbus (8).
- Als doorgang worden een meetwaarde < 50 ohm herkend; hierwij klinken een piepton. De onderstandswaarde worden tot max. 399.9 Ohm aangeduid.
Zodra "OL" (voor Overload = overbelasting) op het display verzucht, heb u het meetbereik overschrende of is het meteicircuit onderbroken.
- Verwijder na het meten de meetsoeren van het metobject en schakel de DMM uit.

g) Capaciteitsmeting

Controller of alle te meten schakeldelen, schakelingen en componenten evenals andere meetobjecten absolut uant spanningloos en ontladen zijn.
- Schakel de DMM in en kies de meetfunctie "CAP".
- Steck het rode meetsnoer in de V-meetbus (9); het zwarte meetsnoer in de COM-meetbus (8).
- Verbind de probe met het element.
Zodra "OL" (voor Overload = overbelasting) op het display verzuchtje, hebt u het meetbereik overschreten of is het meetcircircuit onderbroken. - Verwijder na het meten de meetsoeren van het meetobject en schakel de DMM uit.

Houd rekening met de juiste polarite van de elektrolycondensatoren!
Let erop om zo kort maybe meetleidingen te gebruizen. Lange meetleidingen kann tot meetwaardeafwijkingen leiden.

h) Contactloze AC-netspanningsdetectie "NCV"

De "NCV"-detector bevindt zich aan de bovenkant van de behuizing en reageert enkel op wisselspanning van 200 tot 1000 V/AC.
Deze functie dient alleon smel naar wisselse spanningsvoerende leidingen en kabels te zoeken. Voor werken aan stroomleidingen moet de spanningsvrijheid met de traditionelle contactestmethode (spanningzeker) worden gecontroleerd!
- De meetledingen zijn nicht nodig.
- Schakel de DMM in en kies een willekeurige meetfunctie. De contactloze spanningsdetectie is bij alle meetfuncties actief.
- Voer het DMM met de "NCV"-sensor (bovenste behuizingrand) langs het testobject. De detectiediepte reikt van ca. 3 cm bij 230 V/AC tot ca. 8 cm bij 1000 V/AC.
- Als een spanningsvoereende leiding worden ontdek, beginde "NCV"-lichtindicator (13) op te hachten.
- Schakel de DMM na het meten UIT.

Bij afgeschermde leidingen, te diep ligngende leidingen of gewrongen aders kan de weergave negatief worden boenvloed.

i) Frequentiemeting
- Schakel de DMM in en kies de meetfunctie "Hz".
- Steck het rode meetsnoer in de V-meetbus (9); het zwarte meetsnoer in de COM-meetbus (8).
- Maak nu met de身处 meetstiften contact met het meet-object (generator, signala, enz.).
- De huidige meetwaarde worden op het display weergegeven.
- Verwijder na het meten de meetsoeren van het meetobject en schakel de DMM uit.

j) Pulsbreedtemeting
De pulsbreedtemeting maar het meten van de positieve halve golf van een meetsignaal möglich. De verhouding van de positieve halve golven tot het gehele sigmaal worden weergegeven. Bij symmetrische signalen (vb. sinus) is de positieve en negatie halve golf even lang. Op het display wordt ca. 50% weergegeven.
- Schakel de DMM in en kies de meetfungtie "Hz".
- Steck het rode meetsnoer in de V-meetbus (9); het zwarte meetsnoer in de COM-meetbus (8).
- Druk op de toets "MODE" om de meetfungtie om te schaeken. Op het display verschijnt het symbol "%". Door nogmaals op de knop te drukken, worden de eerste meetfungtie ingeschaken.
- Maak nu met de byeke meetstiften contact met het meet-object (generator, signaln, enz).
- De huidige meetwaarde worden op het display weergegeven.
- Verwijder na het meten de meetsnoeren van het meetobject en schakel de DMMuit.

k) Kamertemperatuur- en luchtvochtigheidmeting
Het DMM maakt het möglich om de kamertemporatuur en de relatieve luchtvochtigheid te meten via vast ingebouwde sensoren. De beiden meetwaarden worden bij meegetebruik permanent in het bovenste displaybereik getoond.

De sensoren liggen in het apparaat en reageren naargelang de bouwwizeients vertraagd op meetwaardeveranderingen. Wacht minst. 30 minutes tot het apparaat zich aan de omgevingstepmateruur heb eaan gapeast. Wij raden u aan ca. 2 uur te wachten om exacte meetwaarden te bekommen.
Voor het meten gaat u als volgt te werk:
- Demeetleidingen zichn nicht nodig.
- Schakel de DMM in en kies een willekeurige meetfunctie.
- Op de display verwischt linksboven de relative luchtvoctighieid in \%RH" en rechts de kamertemperatureur in °C".
Wacht tot de weergegeven waarde gestabiliseerd is. Dit kan tan tot 2(uur duren. - Schakel de DMM na het meten UIT.




Omwille van de lange meetijd typisch aan de bouwwijze kan het bij een te korte meetduur tot afwijkingenussen de weergegeven en de "werkelijke" temperatuur, resp. luchtvochtigheid komen. Het apparaat mag.daarom Niet worden gebruikt wanneer de meting uiterst naukeurig要去en (biv. temperatuurcontrole voor kaliteitis controle, enz.).
I) Temperatuermeting met contactsensor

Een contactmetting is enkel toegelaten bij spanningsvrije objecten. Stroomstootgevaar! De meegeeverde draadsensor is naargelang het bouwtype alleen voor een meetbereik van-20 tot +230^ geschikt. Via optionele K-type-thermosensoren kan het totale meetbereik van de DMM worden gebruikt.
Voor het meten gaat u als volgt te werk:
- Schakel het DMM in e kies naargeling de gewenste resolu-tie het meetbereik "1 ^ C " of 0,1^
- Steek de K-type-meetadapter volgens de juiste polariteit in de bussen "V" (+) en "COM"(-).
- Verbind de sensor met de meetadapter. Houd rekening met de juiste polariteit. De polariteit is op de stekker aangeduid.
- Breng de sensortip maar het meetobject. De meeetwaarde worden in het hoofdvenster in ^ C weergegeven.
- Schakel de DMM na het meten UIT.


De gemeten temperatur mag enkel aan de sensortip worden gelegd. Het meetaparaat要去ch in het gespecifieerde omgevingsbereik boenden om foutieve metingen te vermijden.
m) Geluidsniveauaumeting
De geluidsniveauaumeting dient voor de orienteringsmeting om geluidsbronnen te identificieren. Een waardenende metging voor de documentatie, etc. is Niet möglich. Het geluidsniveau worden linear gemeten (karakteristiek "C"), i.e. alle tone (lage en hoge tonen) worden op bezelfde manier gewaardeerd. U krintg zo freientre-onaflankelijk meetwaarden die een vergelijking vereenvoudigen.
De meetopening voor het geluid bevindt zich linksboven (16). Tijdens de meting is het aanbevolen het meetapparaat in eenrechtserhoek t.o.v. de geluidsbron af te stellen.

Draagijdens de meting in een luide omgeving altijd passende gehoorbescherming om gehoorschade te vermijden.
Voor het meten gaat u als volgt te werk:
- Demeetleidingen zichn nicht nodig.
- Schakel de DMM in en kies de meetfunctie "dBC".
- Richt het DMM met de meetopening (16) maar de geluidsbron. Afstand minst. 1 m.
- De meetwaarde worden op het hoofddisplay weergegeven.
- Schakel de DMM na het meten UIT.

Een sterke wind (>10m / s) kan het meetresultaat negatief beinvloeden.


n) Belichtingsmeting
De belichtingsmetting dient voor de controle van delichtomstandigheden in woon- en werkruimten etc.
De lichtsensor bevat een spectraalfilter die alleen het zichbarelicht voor de meting doorlaat.
De belichtingssensor bevindt zich middenboven (15). Tijdens de meting ist het aanbevolen het meetaparaat in een rechterhoek t.o.v. de lichtbron af te stellen.

Vermijd visuelse contact met erg sterke lichtbronnen. Dit kan tot gezichtstoornissen leiden. Houd met het DMM voloende afstand tot warme lichtbronnen.
Voor het meten gaat u als volgt te werk:
- Demeetleidingen zichn nicht nodig.
- Schakel de DMM in en kies de meetfunctie "Lux".
- Richt het DMM met de lichtsensor (15) maar de lichtbron.
- De meetwaarde word op het hoofdventen weergevegen. Als in het middelste schermsegment "1" worden weergevegen, dan ward het meetbereik overschrenden. Schakel de draaischakelaar in de volgende meetfunctie "Lux x10". De weergevegen meetwaarde moet nu met een facto 10 worden vermenigvulidig.
- Schakel de DMM na het meten UIT.


In bijlage een babel van de aanbevolen belichtingssterktes volgens de gegevens van de internationale commissie voor belichting.
| Plaats: | aanbevolen belichtssterknte in Lux: |
| Kantoort | |
| vergaderzaal | 200 - 750 |
| kantoort | 700 - 1500 |
| technisch tekenen | 1000 - 2000 |
| fabriek | |
| goedereningang, inpakafdeling | 150 - 300 |
| visuale controles in productielen | 300 - 750 |
| inspectiewerken | 750 - 1500 |
| montagelijk | 1500 - 3000 |
| hotel | |
| ingang, garderobe | 100 - 200 |
| receptione, kassa | 200 - 1000 |
| grootwarenhuis | |
| trappen | 150 - 200 |
| etalages | 750 - 1500 |
| ziekenhuis | |
| ziekenkamer, opslag | 100 - 200 |
| onderzoeksruiimte | 300 - 750 |
| operatiezaal, spodopname | 750 - 1500 |
| school | |
| auditorium, aula | 100 - 300 |
| klaslokaal | 200 - 750 |
| werk- en tekenruimtes | 500 - 1500 |
RANGE-toets
De RANGE-toets staat het nogelijk om bij spannings-, stroom- en waerstandsmetting het meetbereik manuele to selecteren. In alle andere meetfunctionis deze toets nicht actief.
Elk drucken op de toets deactieveert de autorange-functione (aanduiding "Auto" dooft uih) et schakeel nathet het volgend hogeere meetbereik. Na het gotoeste meetbereik worden optiewau hem het klinste begonnen.
Om de manuele meetbereikselectie uit te schakelen, houdt u de "RANGE"-toets ca. 2s gedrukt. Op het display verschijnt kort "Auto".
REL-toets
De REL-toets maaktelijk een referentiewaardermeting möglich. Een aangeduige meetwaarde kan op nul worden gezet, om vb. bij lage-ohmmetingen de inwendige wonderstand van de meetleidingen nicht mee in de meting to betrekken.
Elke drukken deaktveert de Autorange-functionie (aanduiding "Auto" dooft uit). Het symbol "REL" word te weergeeven.
Om de REL-functionu ite schakelein drukt u op de "REL"-toets. Om de Autorange-functionie te activeren, houdt u de "RANGE"-toets ca. 2s aedrutt. Oo het display beschritt korte "Auto".
Hz-%-toets
De Hz%-toets maakt de directe omschaeling na越发entiaanduiding in de spannings- en stroomeetbereisen ko meglik. Door.Deze opnieuw in te drukken worden daarupe na der pulsemeting 念 ^ 念 omeschapelk.
Nogmaals drukken schakelt terug nad de normale weergave. Met elke keer drukken, schakelt u de functie om.
In de meetfungtie "Hz" worden via deze toets waar pulsmeting % omgeschakeld.
HOLD-toets
De HOLT-toets staat het möglich om de actuèle meetwaarde manuel vast te houden. Bij geactiveerde functie worden "HOLT" op het display weergegeven. Door de toets opnieuw in te drukken worden het aparraat veer uitgeschakeld.
MODE-toets
De MODE-toets maakt het möglich omussen desubmenu's te schaken. Met elk erke drukken, schakelt u de functie om.
- Bij stroommeting (μA, mA, 10A) geeburt de omschakeling van AC (wisselstroom) maar DC (gelijskstroom).
Bij weerstandsmeting gebeurt de omschakelingaar diodemeting en akoestische continuiteitstest.
Auto-Power-Off-functie
Het DMM schakelt zichzelf na ca. 30 minutes automatisch uit, wanner ge Toets de de draaischakelaar biendedi verw. Deze functie beschernt en spaar de batterij en verlenot de gebruikduaar.
Om de DMM na een automatische uitschakeling weer in te schakeken, bedient u de draaischakelaar of drukt u op een willekeurige toets (behale de lichttoets (10)).
Displayverlichting
Het display kan bij onvoloendelicht worden verlicht. Druk op de toets * (10) in het meetbereik om en uit te schaken. De belichting blift zolang ingeschaken tot ze manuele wordt uigeschaken of het DMM automatisch na ca. 30 minuten wordt uigeschaken.
Reiniging en onderhoud
Algemeen
Om de nauwkeurigheid van de multimeter over een langereperiode te konnen garanderen, moet het apparaat jaarlijks worden geijkt.
Afegezieen van een incidente renigingsbout het verwangen van de batterij is het apparaat onderhoudsvrijn.
Het verzangen van batterij en zekeringen vindt u verderop in de gebruiksaanwijzing.

Controleur regelmatig de technische verilghe van het apparaat en de meetsnoeren, b.v. op beschadiging van de behuizing of aknellen van de snoeren enz.
Reiniging
Neem altijd de volgende veiligheidsvoorschriften in acht voordat u het apparaat gaat schoonmaken:

Bij het openen van deksels of het verwijderen van onderdelen, ook wanneer dit handmatig möglich is, hunnen spanningvoerende delen worden blootgelegd.
Vór reiniging of reparatie moeten de aangsleten snoeren van het meetapparaat en van alle metobjecte worden gezchemiden. Schakel de DMM uit.
Gebruik voor het schoonmaking geen carbonhoudende schoonmaakmiddelen, benzine, alcohol of soortgelijke producten. Hierdoor word het oppervliak van het meetapparaat aangetast. Bovendien zijn de dampen schadelijk voor de gezondheid en explosief. Gebruik voor de reiniging ook geen scherp gereedschap, schroevendraaiers of staalborstels en dergelijke.
Gebruik een schone, pleasvrijde, antistatische enicht vochigte schoonmaakdoek om het product te reiigen. Laat het apparaat goed drogen voordat u het weein gebruik neemt.
Meetapparaatopenen

Vór het openen要去e aangesloten snoeren van het meetapparaat en van alle metobjecten worden geschienen. Schakel de DMM uit.
Voor het openen gaat u als volgt te werk:
Koppel alle meetsoeren van het meetapparaat los en schakel het UIT.
- Maak de beiden batterijschroeven (18) aan de achterkant los en verwijder.Deze.
Trek het batterijdeksel (18) in een hoek van 90^ van het meetapparaat weg.
- Het batterijvak is nu toegankelijk.
- Verwijder de opstelbeugel en maak alle gezehuizingsschroeven los.
- Haal de behuizing paralleluitelkaar.Letaarbijopdatdeze Nietkantelt.
- Nu kunt u bij de zekeringen.
- Sluit de behuizing af in omgekeerde volgorde en schroef het batterij- en zekeringsvak vast.
- Hetmeetapparaat is nu weeer klaar voor gebruik.




Vervangen van zekeringen
De stroommeibereiken zijn beveiligd met hoogspanningszekeringen. Als er geen meting in dit bereik更是 möglich is, moet de zekering worden verrangen.
Voor het verwangen gaat u als volgt te werk:
- Ontkoppel de aangesloten meetsnooren van het meetcircuit en van uw meetapparaat. Schakel het meetaparaat uit.
- Sluit de behuizing Zoals in hoofdstuk "Meetapparaat openen" beschreiben.
- Vervang de defecte zekering door een neue zekering van hetzelfde type en nominale stroomsterkte.
De zekeringen haben de volgende waarden:
| Zekering | F1 | F2 |
| Waarde | FF 500 mA/660V | F10A H 600V |
| Afmeting | 5 x 20 mm | 6.3 x 32 mm |
- Sluit de behuizing waar zorgvuldig.

Het gebruik van herstelde zekeringen of het overbruggen van de zekeringhouser is om veiligheidsreden Niet togeteastan. Dit kan leiden tot brandt of lichtboogexplosies. Gebruik het meetapparaat in geen veal in geopende toestand.
Plaatsen en verrangen van de batterij
Voor het被抓ruik van het meetapparaat is een 9V-batterij (b.v. 1604A) noodzakelijk. Bij de erste ingebruinkeming of wonneer het symbol voor verranging van batterijen op het display verschijnt,要去ennieuwe, volle batterijen worden geplaatst.
Voor hetplaatsen/vervangen gaat u als volgt te werk:
- Ontkopple da aingesloten meetsnsoeren van het meetcircuit en van uw metapparaat. Schakel het meetapparaat uit.
- Sluit de behuizing zoals in hoofdstuk "Meetapparaat openen" beschreiben.
- Vervang de lege batterij voor een nieuwe van hetzelfde type. Plaats een nächste batterij volgens de juiste poolrichting in het batterijvak (18). Let op de polariteitgevevens in het batterijvak.
- Sluit de behuizing waar zorgvuldig.

Gebruik het meetaparraat in geen geval in geopende toestand. ILEVENSGEVAARLIJKI
Laat geen lege batterijen in het meetaparraat aangezien zichs batterijen die gegen lekken zijn beveiligd, kunnen corroderen, waardoor chemaliën vrij kunnen komen die schadelijk bijn voor uw gezendheid of schade voorzoeken aan het apparatusaat.
Laat batterijnen nicht achteloons rodslingeren. Deze krunten door kinderen of huisdieren worden ingeslikt. Raadpleeg bij insilsken onmiddelfiek een arts.
Verwijder de batterijen als u het apparaat gedurende langere tijd Niet gebruikt, om lekkage te voorkomen.
Lekkende of beschadigde batterijnen konnen bij huidicont contact bijtende wonden voorzaken. Draag waarom in dit gewal beschemmerte handsochoenen.
Let op, dat batterijen nicht worden kortgesloten. Gooi geen batterijen in het vuur.
Batterijenogensnierwordonopgeladenofgedemonteerd.Erbestaatexplosiege-vaar.

Een geschikte alkalinebatterij is onder het volgende bestelnummer verkrijgbaar:
Bestelnr. 65 25 09 (1x bestellen a.u.b.).
Gebruik uitsluitend alkalinebatterijen,onden deze krachtig zich en een lange gebruksdur hebden.
Afvalverwijdering

Oude elektronische apparaten kuren gerecycled worden en horen nicht thuis in het huisvuil. Indien het apparaat onbruikbaar is geworden, dient het in overeenstemming met de geldende wettelijk voorschriften te worden afgevoerd waar de gemeentelijke verzamelplaatsen. Afvoer via het huisvuil is Niet toegestaan.
Verwijdering van verbruike batterijen!
Als eindverbruiker bent u conform de KCA-voerschriften wettelijk verpflicht om alle lege batterijen en accu's in te leveren; afvoeren via het huisvui is niet togeteastan!

Batterijen/accu's die schadelijkke stoffen bevatten, worden gemarkeeerd door nevenstaande symbolen. Deze symbolen duiden erop dat afvoer via het huisvuil verboden is. De aanduidingen voor irriterend werkende, zware metalen zich: Cd = cadmium, Hg = kwik, Pb = lood. Lege batterijen/accu'sukt u+. Gratis inlevenere bij de verzamelplaatsen van uw gemeente, once filalen of andere verkoopputen van batterijen/accu's!
Zo voldoet u aan uw wettelijkke verplichtingen en draagt u bij aan bescherming van het milieu!
Verhelpen van storingen
U heeft met de DMM een product aangeschat dat volgens de neuewste stand der techniek is ontwikkend enveilig is in het gebruik. Toch kanien zich problemen of storingen voordoen. Hieronder vindt u enkele maatregelen om eventuale storingen eenvoudig zich te verhelpen:

Neem altiqd de veiligheidsinstructies in acht!
| Storing | Mogelijk oorzaak | Mogelijk oplossing |
| De Multimeter werkst Niet. | Is de batterij leeg? | Controler de toestand. Vervang de batterijen. |
| Geen verandering van meetwaarden. | Is een verkeerde meetfunctionie actief (AC/DC)? . | Controler of de individatie (AC/DC) en schakel de functie indien nodig om. |
| Werden de verkeerde meetbussen gebruikt? | Vergelijk de aansluiting met de informatatie in de gebruiksaanwijzing. | |
| Is de zekering defect? | Controler de zekeringen. | |
| Is de "HOLD"-functie actief? | Druk op de toets "HOLD". |

Andere reparations dan hierboven beschreiben, mogen uitsluitend door een erkende vakman worden uitgevoed. Bry vragen over het gebruik van het meetapparaat staat once technische helpdesk onder het volgende telefoonnummer ter beschikking:
Voltcraft®, 92242 Hirschau, Lindenweg 15, Tel.nr. +49 (0)180 / 586,582 7.
Technische gegevens
Weergave 4000 counts (tekens)
Meetsnelheid ca. 3 metingen/seconde
Lengte meetsnoeren...elk ca. 80 cm
Meetimpedantie >10MΩ (V-bereik)
Voedingsspanning .9V-blokBatterij
Werkomstandigheden. .0 tot 40^ (< 70%) rF
Gebruikshoogte max. 3,000 m
Opslagtemperatuur. -10^ tot +60^ (< 80%) rF
Gewicht. ca. 335 g
Afmetingen (Ixbxh) 170 x 78 x 48 (mm)
Overspanningscategorie...CAT III 600 V, verontreinigingsgraad 2
Meettolerancies
Weergave van de nauwkeurigheid in ± (% van de afezing + weergavefouten in counts (= aantal kleinste positions)). De nauwkeurigheid geld 1aar lang bij een temperatur van +23^ (± 5^) , bij een rel. luchtvochtigheid van minder dan 70% , Niet condenserend.
Gelijkspanning (DC)
| Bereik | Resolutie | Nauwkeurigheid |
| 400 mV | 0.1 mV | ±(1,0 % + 4) |
| 4 V | 0.001 V | |
| 40 V | 0.01 V | |
| 400 V | 0.1 V | ±(1,5% + 4) |
| 600 V | 1 V | |
| Verdere tips | Overbelastingbeveiliging 600 V | |
Wisselspanning (AC)
| Bereik | Resolutie | Nauwkeurigheid |
| 400 mV | 0.1 mV | ±(1,5% + 15) |
| 4 V | 0.001 V | ±(1,0% + 4) |
| 40 V | 0.01 V | |
| 400 V | 0.1 V | ±(1,5% + 4) |
| 600 V | 1 V | ±(2,0% + 4) |
| Verdere tips | Frequentiebereik 50 - 400 Hz;effectief gemiddelde bij sinus spanning;overlastbescherming 600 V400 mV bereik alleen via manuele bereikselectie! | |
Gelijkstroom (DC)
| Bereik | Resolutie | Nauwkeurigheid |
| 400 μA | 0.1 μA | ±(1,0% + 2) |
| 4000 μA | 1 μA | |
| 40 mA | 0.01 mA | |
| 400 mA | 0.1 mA | ±(1,2% + 2) |
| 10 A | 0.01 A | ±(2,0% + 5) |
| Verdere tips | Overbelastingbeveiliging: Zekeringen; 500 mA 660 V, 10 A 600 V meetijdbegrenzing >5 A: max. 30 s met Pauze van 15 min | |
Wisselstroom (AC)
| Bereik | Resolutie | Nauwkeurigheid |
| 400 μA | 0.1 μA | ±(1,2% + 2) |
| 4000 μA | 1 μA | |
| 40 mA | 0.01 mA | |
| 400 mA | 0.1 mA | ±(1,5% + 2) |
| 10 A | 0.01 A | ±(2,0% + 5) |
| Verdere tips | Overbelastingbeveilig: Zekeringen; 500 mA 660 V, 10 A 600 V meetijdbegrenzing >5 A: max. 30 s met Pauze van 15 min; freiendentebereik 50 - 400 Hz | |
Weerstand
| Bereik | Resolutie | Nauwkeurigheid |
| 400 Ω | 0.1 Ω | ±(1,5% + 4) |
| 4 kΩ | 0.001 kΩ | ±(1,5% + 2) |
| 40 kΩ | 0.01 kΩ | |
| 400 kΩ | 0.1 kΩ | |
| 4 MΩ | 0.001 MΩ | ±(2,0% + 2) |
| 40 MΩ | 0.01 MΩ | ±(2,5% + 2) |
| Verdere tips | Overbelastingsbeveiliging 600V; meetspanning: ca. 0.28 V | |
Capaciteit
| Bereik | Resolutie | Nauwkeurigheid |
| 50 nF | 0.01 nF | ±(5,0% + 20) |
| 500 nF | 0.1 nF | ±(3,0% + 5) |
| 5 μF | 0.001 μF | |
| 50 μF | 0.01 μF | |
| 100 μF | 0.1 μF | ±(4,0% + 5) |
| Verdere tips | Overbelastingsbescheming 600 V | |
Frequentie
| Bereik | Resolutie | Nauwkeurigheid |
| 5 Hz | 0.001 Hz | ±(1,2% + 3) |
| 50 Hz | 0.01 Hz | |
| 500 Hz | 0.1 Hz | |
| 5 kHz | 0.001 kHz | |
| 50 kHz | 0.01 kHz | |
| 500 kHz | 0.1 kHz | |
| 10 MHz | 0.01 MHz | ±(1,5% + 4) |
| Verdere tips | Overlastbeveiliging 600 V; gevoeligheid: <1 Mhz: >0,5 V; >1 MHz: >3 V | |
Temperatuurcontactsensor type K
| Bereik | Resolutie | Nauwkeurigheid |
| -20 tot +400 °C | 0.1 °C | ±(3,0% + 3) |
| -20 tot +1300 °C | 1 °C |
Kamertemperatuur en relatieve luchtvochtigheid
| Bereik | Resolutie | Nauwkeurigheid |
| 0° tot +50 °C | 0.1 °C | ±(3,0% + 3) |
| 33 - 99 %rF | 1 %rF | ±(3,0% + 5) |
Belichtingssterkte
| Bereik | Resolutie | Nauwkeurigheid |
| 4000 lux | 1 lux | ±(5% + 10) |
| 40000 lux | 10 lux | ±(3,0% + 5) |
| Nauwkeurigheid bij kleurtemperatuur van 2856 K, herhaalnauwkeurigheid: ± 2%; Temperaturstabilititeit: ±0,1 % per °C;lichtsensor: silicium-foto-diode met spectraalfilter | ||
Geluidsniveau
| Bereik | Resolutie | Nauwkeurigheid |
| 35 – 100 dB | 0.1 dB | ±5 dB |
| Nauwkeurigheid bij 94 dB en 1 kHz sinus; freiagentiebereik: 30 Hz – 10 kHz;Waardering: karakteristiek “C” (lineair); tjidwaardering: vast; microfoon: condensator microfoon | ||
Diodetest
| Testspanning | ca. 1.5 V |
| Teststroom | ca. 1 mA |
| Resolutie | 0,001 V |
| Nauwkeurigheid | ±(10% + 5) |
| Overbelastingsbeveiliging: 600 V | |
Akoest. Doorgangsmeter
<100 continu geluid, testspanning ca. 0.5 V, overbelastingsbeveiliging 600 V
NCV:
Detectiebereik:200-1,000V/AC

Zorg dat de max. toegestane ingangswaarden in geen geval worden overschreten. Raak schalkening en schaldekelen Niet aan als aanthropen een hogere spanning dan 25 V ACRs of 35 V DC kan staan! Levensgevaarlijk!
VOLTCARAFT IM INTERNET http://www.voltcraft.de
D Impressum
NL Colofon in once gebruksaanwijzingen
Deze gebruksaanwijzing is een publicatie van de firma Voltcraft, Lindenweg 15, D-92242 Hirschau/Duitsland. Tel. +49 180/586 582 7 (volt.ukt.de).
Alle rechten, vertaling inebregpen, voorbehonden. Reproductions van weke aard dan ook, bijvoorbeef fotokopie, microverfilming of de registrale in elektronische gegevensverwerkingsapparatuur, vereisen de schrifliekte toestemming van de uitgever. Nadruk, ook van uittreksels, verboden.
Deze gebruksaanwijzing voldoet aan de technische stand bij het in druk bezorgen. Wijziging van techniek en uitrusting voorbehonden.
SimpelGids