HC60NG - Thermostaat HONEYWELL - Gratis gebruiksaanwijzing en handleiding
Vind de handleiding van het apparaat gratis HC60NG HONEYWELL in PDF-formaat.
Download de handleiding voor uw Thermostaat in PDF-formaat gratis! Vind uw handleiding HC60NG - HONEYWELL en neem uw elektronisch apparaat weer in handen. Op deze pagina staan alle documenten die nodig zijn voor het gebruik van uw apparaat. HC60NG van het merk HONEYWELL.
GEBRUIKSAANWIJZING HC60NG HONEYWELL
Installatie en gebruik
- Algemene veiligheidsinstructies 29
1.1. Installatie van de relaismodule HC60NG 29 - Overzicht 30
2.1. Kit Y6630D1007 30
2.2. Afzonderlijk geleverde toestellen 30 - Installatie 30
3.1. Installatie relaismodule HC60NG 30
3.1.1. Aansluitingen voor R6660D, HC60NG 31
3.2. Installatie ruimtebediening HCW 80 32 - Controles 33
4.1. Systemetest 33
4.2. Test RF transmissie 33 - Teach-in (uitsluitend voor afzonderlijk geleverde componenten) 33
5.1. Rf verbinding met de relaismodule HC60NG..... 33
5.2. Mislukte teach-in 33 - Verlies van communicatie 33
- Resetten van de relaismodule HC60NG volgens de fabrieksinstelling 33
- Bijzondere kenmerken van de ruimtebediening HCW 80. 34
8.1. Bediening 34
8.2. Begrenzing van het instelbereik 34
8.3. Vaste regelparameters 34 - Vervanging batterijen 34
- Bijlage 35
10.1. Hulp in geval van problemen 35
10.2. Specifications HCW 80 35
10.3. Specifications HC60NG 35
10.4. Definiéring van toestel en functie volgens EN 60730-1 35
10.5. Directieve 2002/96/EC - Afval van elektrische en elektronische apparatuur 35
1. Algemene veiligheidsinstructies
1.1. Installatie van de relaismodule HC60NG
GEVAAR

Levensgevaar wegenselektrocutie!
Blote contacten staan onder spanning.
Zorg ervoor dat het toestel nicht onder spanning staat.
Laat het werk over aan gekwalificeerd personeel.
Houd bij de installatione rekening met de geldende reglementering.
WAARSCHUWING

Onvoldoende gegevens- overdracht!
Interferentie van de relaismodule HC60NG door metalen voorwerpen of andere draadloze toestellen.
- Plaats het toestel op een afstand van minstens 30~cm van metalen voorwerpen, zoals wandkasten of ketelbehuzingen, en dit volgens de DECT standard, enz.
Niet monteren op metalen wandkasten.
WAARSCHUWING

Beschadiging aan het toestel!
Kortsluiting wegens vocht.
Monteer het toestel op eenplaats die beschermd is gegen vocht.
WAARSCHUWING

Beschadiging van de componenten!
Schade aan de elektronische componenten wegene electrostatische ontladingen.
Raak de componenten nicht aan.
Raak erst een geaard metalen voorwerp aan, zodate uw lichaam ontladen worden van staatische elektricitit.
2. Overzicht
De ruimtebediening HCW 80 worden gebruikt voor de intelligente regeling van de ruimteteperatuur, in combinatie met de relaismodule HC60NG. Deze kan toegepast worden voor ketels op gas of olie, voor gemotoriserde afsluiters of elektrische verwarmingsinstallaties. Er is geen draadverbinding met de ruimtebediening HCW 80 vereist. Dankzij de eenvoudige HCW 80 analoge gebruikers-interface voorzien van een schaal die de absolute insteltemperatuur weergeeft, kan deze ruimteteperatuur gemakkelijk worden aangepast. De ruimtebediening en de relaismodule werken op basis van betrouwbare RF communicatietechnologie, op een freiendentie van 868 MHz.

De HCW 80 en de HC60NG zijn reeds met elkaar verbonden. Zij worden geleverd als een vooringestelde kit, voor snelle installmentie (plug en play).

Fig. 1: Toepassing van de draadloze kamerthermostat
2.1. Kit Y6630D1007
1 HCW 80 (ruimtebediening)
1 HC60NG (R6660D1009, relaismodule)
- 2 AA batterijen, 1,5 V, type LR6

De kit Y6630D1007 is reeds Vooringesteld. De ruimtebediening HCW 80 is reeds verbonden met de relaismodule HC60NG. Teach-in is nicht nodig voor deze kit.
2.2. Afzonderlijk geleverde toestellen

Afzonderlijk geleverde toestellen moeten met elkaar verbonden worden zoals beschreiben in hoofdstuk 5 "Teach-in (uitsluitend voor afzonderlijk geleverde componenten)". Teach-in betekent dat de HCW 80 en de HC60NG RF-verbonden要去en zijn voor communicatie.
3. Installatie
3.1. Installatie relaismodule HC60NG

Fig. 2: Plaatsing van de relaismodule HC60NG
Volg de installmenteschema's voor het installereren en het verbinden van de voeding met de HC60NG relaismodule.

Fig. 3: Openen van de behuizing

Fig. 4: Verwijderen van de afdekking van de aansluitingen

Fig. 5: Aansluiten van de voeding op de relaismodule

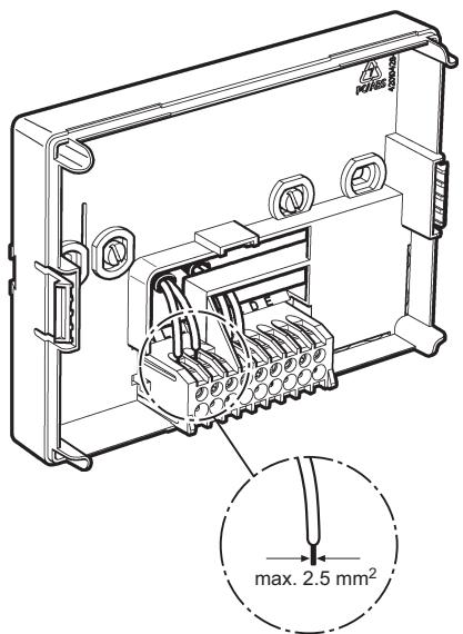
Fig. 6: Aansluiting van de bedrading
3.1.1. Aansluitingen voor HC60NG (R6660D1009)

VOORZICTIG
Foutieve aansluiting!
Installeer volgens deplaatselijke reglementering.
Hou de beperkingen in acht aangaande omgevingstemperatuur en stroom (zie label HC60NG).

De groene LED op de ontvanger geeft een verwarmingsverzoek aan van de thermostat, NIET dat de verwarming is ingeschakeld; dit hangt af van de programmering.

VOORZICTIG
Foutieve aansluiting!
Honeywell aanvaardt geen
aansprakelijkheid voor verlies of
schade als gevolg van eventuele fouten
of onvolkomenheden in deze schets.
Dit is slechts een ruwe schets, geen officieel bedradingschema.
Dit schema要去en worden gelezen in samenhang met deevt. gebruiksaanwijzing van de ketel of boiler.



Fig. 7: Aansluitschema HC60NG

a. Rechtstreekse ketelsturing

b. Combi-ketel

c. Zoneventiel

h. Koelingstoestel
Fig. 8: Aansluitschema HC60NG

Fig. 9: Sluiten van de afdekkap en de behuizing
3.2. Installatie ruimtebediening HCW 80

WAARSCHUWING
Onvoldoende gegevens-overdracht!
Interferentie van de radioontvanger van het toestel door metalen voorwerpen of andere draadloze toestellen.
Zorg voor voldoende afstand van metalen voorwerpen.
- Plaats het toestel op minstens 1m van radioapparatuur zoals draadloze (hoofd)telefoons, volgens de DECT standarde, enz.
Zoek een andereplaats, indien de RF interferentie Niet kan opgelost worden.

Fig. 10: Plaatsen van de ruimtebediening HCW 80
- Plaats de ruimtebediening HCW 80 waar deze要去 komen.
Neem de behuizing van de ruimtebediening HCW 80 weg (zie Fig. 11 De behuizing wegnemen).

Fig. 11 De behuizing wegemen
Duid de boorgaten aan volgens het boorschema (zie Fig. 12).

Fig. 12: Boorschema (maten in mm)
Boor de gaten.
Schroef der ruimtebediening vast.
Breng de bijgevoegde AA batterijen aan volgens de juiste polariteit (zie Fig. 13: Polariteit batterij, en zendknop).

Fig. 13: Polariteit batterij, en zendknop
i Wanneer de rode LED van de ruimtebediening HCW 80 knippert, dienen de batterijen verrangen te worden (zie hoofdstuk 9 "Vervanging batterijen").
- Plaats de behuizing in de bovenste stand en trek ze maar beneden (zie Fig. 14: Plaatsen van de behuizing in de correcte stand).

Fig. 14: Plaatsen van de behuizing in de correcte stand
4. Controles
4.1. Systememtest
Stel de temperatuur van de ruimtebediening HCW 80 op 30^
Indien de kamertemperatuur < 30^ zal de relaismodule HC60NG aangeschakeld zich.
Stel de temperatuur van de ruimtebediening HCW 80 op 5^
Indien de kamertemperatuur >5^ zal de relaismodule HC60NG uitgeschakeld zich.
4.2. Test RF transmissie
De ruimtebediening HCW 80 kan een testsignaal waar de bijhorende relaismodule HC60NG sturen om de signalsterkte te testen.
Houd de teach-in knop van de HCW 80 ingedrukt gedurende minstens 15 sec, en dit tot de rode LED van de HCW 80 UIT is.
De HCW 80 is nu in de testmode en zendt om de 5 sec een testsignaal UIT.
De LED van de HCW 80 knippert kortstondig bij elk test-signal, dat de HCW 80 uitzendt.
De veldsterkte worden aangeduid door het knipperen van de rode LED van de HC60NG (1 = voldoende, 5 = sterk).
- Indien de draadloze communicatie nicht werkt, verander dan de HCW 80 vanplaats.
i
De testmodus worden automatisch beeindigd na 5 min. De testmodus kan eveneens worden beeindigd door de batterijen te verwijderen of door de teach-in knop in te drukken.
5. Teach-in (uitsluitend voor afzonderlijk geleverde componenten)
De teach-in is nodig indien de relaismodule HC60NG en de ruimtebediening HCW 80 vooraf Niet verbonden zijn bvb. bijijke afzondelijktoestellen, of bijervanging.
5.1. Rf verbinding met de relaismodule HC60NG
Bij het aansluiten van de voedingsspanning op de HC60NG za de rode LED beginnen te knipperen: 0,1 sec aan / 0,9 sec UIT.
Indien dit Niet het geval is, reset de HC60NG, zie hoofdstuk 7 "Resetten van de relaismodule HC60NG volgens de fabrieksinstelling".
Houd de teach-in knop van de HC60NG gedurende 5 sec ingedrukt om in de teach-in modus te komen.
Wanner de rode LED 0,5 sec aan / 0,5 secuit knippert, bevestigt dit dat de teach-in modus is geactiveerd.
Druk de teach-in knop van de HCW 80 in om het verbindingssigmaaal aan de HC60NG te sturen.
De rode LED van de HC60NG gaat uit, ter bevestiging van een geslaagde teach-in operatie.
De teach-in modus wirdt automatisch beeindigd na 5 min.
5.2. Mislukte teach-in
Indien de teach-in mistrukt is:
Zie hoofdstuk 5.1 "Rf verbinding met de relaismodule HC60NG".
Verbeter de dataverdracht.
Verbeteren van de dataoverdracht
Bij de keuze van deplaats waar de toestellen moeten komen, dient de afstand van deze toestellen tot andere draadloze apparatuur zoals draadloze (hoofd)telefoons, enz. minstens 1 m bedragen, en dit overeenkomstig de DECT standard.
- Installee de toestellen nicht op een plaat waar zich metalen wandconnectoren bevinden, en zorg ervoor dat ze zich op minstens 30~cm van de warmtegenerator bevinden.
Verplaats de ruimtebediening HCW 80 indien nodig.
6. Verlies vancommunicatie
Indien er gedurrende 1(uur geen RF communicatie is,dan gaat de rode LED van de relaismodule HC60NG aan, om aan te Geven dat er gedurrende het的那一ste uur geen RF signalenmeer ontvangen werden.
Indien de RF communicatie hersteld is, zal de relaismodule HC60NG automatisch terugkeren maar de normale werking.
Zie hoofdstuk 10.1 "Hulp in geval van problemen" voor de mogelijkkeoorzaak en oplossing.
7. Resetten van de relaismodule HC60NG volgens de fabrieksinstelling
Houd de knop van de HC60NG ingedrukt gedurende minstens 15 sec.
Wanner de rode LED snel knippert (1/9 aan/uit) is het resetten geslaagd.
i Na het resetten volgens de fabrieksinstelling verliest de HC60NG de communicatie met de HCW 80. Zie hoofdstuk 5 "Teach-in (uitsluitend voor afzonderlijk geleverde componenten)" voor een neue teach-in.
8. Bijzondere kenmerken van de ruimtebediening HCW 80
8.1. Bediening
De kamertemperatuur kan gemakkelijk worden ingesteld, d.m.v. een kiesschijf. Het instelbereik gaat van 10^ tot 30^ , incl. deinstelling voor de vorstbeveiliging * ( 5^ ). De HCW 80 simuleert een mechanischethermostat met de volgende LED aanduiding:
De rode LED van de HCW 80 zal gedurende 4 sec. aan+zijn, indien de afwijking tussen het instelpunt en de kamertemperatuur >1^ . Indien de afwijking < 1^ , zal de rode LED knipperen gedurende 4 sec. De relaismodule HC60NG zal respectievelijk aan of uit+zijn.

Fig. 15: ruimtebediening HCW 80 (installingen op de schaal in ^ C )
- Selecteer de gewenste kamertemperatuur met behulp van de kiesschijf (zie Fig. 15).
8.2. Begrenzung van het instelbereik
U kan het regelbereik van de kiesschijf beperken.
Haal de behuizing weg (zie Fig. 11, pag. 32).

Fig. 16: Het regelbereik beperken
Om het regelbereik te beperken,plaats de twee smalle pinnen in de gaten van de kiesschijf (zie Fig. 16). Orienteer u op de basis van de binnenste schaal:
In Fig. 16, waar de pinnen zodanig aangebracht dat de kiesschijf slechts kan worden ingesteld binnen het bereik van 19^ tot de vorstbeveilging (ondergrens) en 19^ tot 30^ (bovengrens), rond de waarde van 19^ .
Draai de kiesschijf in klokwijzerszin, tot ze stopt.
Controller of de kiesschijf in de positie staat zoals in Fig. 15.
- Indien vereist,plaats de aanpassing terug in, 180^ gedraaid, totdat het de getoonde positie heeft.
Draai de kiesschijf maar positie 19.
- Plaats de behuizing in de bovenste stand en trek ze waar beneden (zie Fig. 14, pag. 32).
8.3. Vaste regelparameters
De volgende parameters worden gebruikt voor de regeling:
| Parameter | Fabrieksinstelling | Opmerking |
| Minimum aanijd | 1 minuut | Minimum AANijd binnen een cyclus (schakeling) |
| Aantal schakelingen per(uur) | 6 schakelingen per(uur) | Pulsbreedte modulatie per(uur |
9. Vervanging batterijen
Vervang de batterijen indien de rode LED van de ruimtebediening HCW 80 flikkert en als het toestel zich nicht in de testmodus befindt.
Verwijder de behuizing van de HCW 80 (zie Fig. 11, pag. 32).
Verwijder debatterijen.

Lege batterijen Niet met het gewone huisvuil meegeven, maar wel volgens deplaatselijkke wetgeving rond special afval.
Altijd beiden batterijen samen verrangen. Gebruik uitsluitend 1,5 V batterijen van het type LR06, AA.
- Plaats de neue batterijen met de juiste polariteit in het batterijcompartment (zie Fig. 13, pag. 7).
- Plaats de behuizing aan in de bovenste stand en trek ze waar beneden (zie Fig. 14, pag. 32).
10. Bijlage
10.1. Hulp in geval van problemen
| Probleem | Oorzaak | Remedie |
| Teach-in mislukt | Batterijen verkeerd ingebracht | Breng de batterijen correct in. |
| Radio verbinding werkt nicht | Verwijder möglichke bronnen van interferentie (metaal, draadloze toestellen). Verplaats het toestel. Herhaal de teach-in. | |
| HC60NG reageert nicht op veranderingen van het instelpunt op de HCW 80 | HC60NG en HCW 80 Niet verbonden | Reset de HC60NG. Volg de teach-in procedure zoals beschreiben in hoofdstuk 5. |
| Na de teach-in is de rode LED aan en de groene LED knippert elke 3 sec | Teach-in procedure Niet correct/ onvolledig | Herhaal de teach-in. |
| Plaatsing van HCW 80 Niet correct | Herhaal de teach-in bij ca. 1 m afstand:tussen HCW 80 en HC60NG. | |
| Rode LED van de HC60NG is aan | Verlies in communi-catie | Verplaats de HCW 80 (zie hoofdstuk 3.2). |
| RF signaal geblokkeerd | ||
| Batterijen van de HCW 80 leeg | Vervang de batterijen van de HCW 80 (zie hoofdstuk 9). | |
| HC60NG en HCW 80 Niet verbonden | Volg de teach-in procedure zoals beschreiben in hoofdstuk 5. |
10.2. Specificities HCW 80
| Batterijen | 1,5 V, type LR06, AA |
| Frequentie | 868.3 MHz (transmitter) |
| Werkingstemperatuur | 0 °C tot 50 °C |
| Opslagtemperatuur | -20 °C tot 70 °C |
| Vochtigkeit | 5 % tot 90 % relatieve vochtigkeit |
| IP klasse | 30 |
10.3. Specificities HC60NG
| Electrisch | |
| Voeding ontvanger | 230 V AC (+10 %, -15 %), 50 Hz |
| Type schakelaar | SPDT potentialvrij omschakelcontact |
| Uitgang | 24–230 V AC, 10 A resistief, 3 A inductief, 0,6 p.f. |
| Toegang kabel (enkel ontvanger) | Via de weiterzijde (montage op wandkast), vanonder rechts |
| RF | |
| RF band | ISM (868.0–868.6) MHz, 1 % duty cycle |
| RF communicates bereik | 30 m in een residentièle omgeving |
| RF communicates technologie | Korte, snelle transmissies om de zendingstijd te minimisieren en botsingen te voorkomen |
| Blokkeerimmuniteit | Ontvanger classe 2 (ETSI EN300 220-1 versie 1.3.1) |
| RF verbindings-methode | Verbinding gerealiseerd in de fabriek, met de HCW 80 (uitsluitend kit Y6630D1007) |
| Omgeving & Standaarden | |
| Werkingsterperatureuur | 0 tot 40 °C indien belasting relais <8 A 0 tot 30 °C indien belasting relais >8 A |
| Toegelaten omgevings-temperatuur | -20 tot 55 °C |
| Vochtigkeit | 0 tot 90 % relatieve vochtigkeit, nicht-condenserend |
| IP classe | 30 |
| Voldoet aan de volgende standaarden | EN 60730-1 (1995), EN 55014-1 (1997), EN 55014-2 (1996), ETSI EN 300 220-3 (2000), ETSI EN 301 489-3 (2000) |
10.4. Definiéring van toestel en functie volgens EN 60730-1
- Doel van het toestel: temperatuurregeling
Toestel voldoet aan beschemingsklasse 2 - Onafhankelijk installeerbaar regelsystem met vaste installmentie
- Actietype 1,8
- Temperatuur bij kogeldruk hardheidstest voor de behuizingscomponenten is 75^ en voor voedingscomponenten zoals aansluitklemmen 125^
EMC uitgesturde interferentiestest bij 230V 50 HZ maximum - Vervuilingsgraad 2
- Nominale spanning 4000 V (overeenkomstig overspanningscategorie III)
- Software klasse A
10.5. Directieve 2002/96/EC - Afval van elektrische en elektronische apparatuur

Op het einde van de levensduur van het product, het samen met zich verpakking binnenbrengen in een overeenkomstig recycleercentrum.
Het afgedankte toestel nicht met het huisvuil meegeven.
Het product nicht verbranden.
Notice-Facile