DHD556ZE1 - Afzuigkap DE DIETRICH - Gratis gebruiksaanwijzing en handleiding
Vind de handleiding van het apparaat gratis DHD556ZE1 DE DIETRICH in PDF-formaat.
Questions des utilisateurs sur DHD556ZE1 DE DIETRICH
0 question sur cet appareil. Repondez a celles que vous connaissez ou posez la votre.
Poser une nouvelle question sur cet appareil
Download de handleiding voor uw Afzuigkap in PDF-formaat gratis! Vind uw handleiding DHD556ZE1 - DE DIETRICH en neem uw elektronisch apparaat weer in handen. Op deze pagina staan alle documenten die nodig zijn voor het gebruik van uw apparaat. DHD556ZE1 van het merk DE DIETRICH.
GEBRUIKSAANWIJZING DHD556ZE1 DE DIETRICH
De eventuele ingrepen in de machine要去en worden uitgevoerd :
-of door uw vakhandelaar,
- of door een andere gekwalificeerd technicus van dit merk.
Tijdens het telefoneren, dient u de complete referentie op te gezven van uw machine (model, type, serialummer). Deze informatatie staat op het typeplaatje op de machine.
PT 6/SERVIçoPOS-VENDA
De eventuele ingrepen in de machine要去en worden uitgevoerd :
-of door uw vakhandelaar,
- of door een andere gekwalificeerd technicus van dit merk.
Tijdens het telefoneren, dient u de complete referentie op te gezven van uw machine (model, type, serialummer). Deze informatatie staat op het typeplaatje op de machine.
PT 6/SERVIçoPOS-VENDA
De eventuele ingrepen in de machine moeten worden UITgevoerd :
-of door uw vakhandelaar,
- of door een andere gekwalificeerd technicus van dit merk.
Tijdens het telefoneren, dient u de complete referentie op te gezven van uw machine (model, type, serialummer). Deze informatatie staat op het typeplaatje op de machine.
PT 6/SERVIçoPOS-VENDA
De eventuele ingrepen in de machine要去en worden uitgevoerd :
-of door uw vakhandelaar,
- of door een andere gekwalificeerd technicus van dit merk.
Tijdens het telefoneren, dient u de complete referentie op te gezven van uw machine (model, type, serialummer). Deze informatatie staat op het typeplaatje op de machine.
PT 6/SERVIçoPOS-VENDA
U hebt een afzuigkap van DE DIETRICH aangeschaft. Wij wilten u hier graag voor bedanken.
EN 46
Onze onderzoeksteams haben voor u een neue generatie apparaten ontworpen die uitzonderlijk is door de kwaliteit, het ontwerp en de technologische vooruitgang. Bovendien getuigen ze van een unieke knowhow.
ES 68
Uw neue afzuiqkap van DE DIETRICH kan harmonieus ingepast worden in uw keuken en combineert perfect de prestatie van het koken en het gebruiksgemak. Wij hebben ernaar gestreefd u een uittstkend product te bieden.
IT 90
In het gamma van DE DIETRICH producten vindt u ook een ruime keuze aan inbouwovens, magnetrons, kookplaten, fornuizen, vaatwassers en koelkasten die u kunt afstemmen op uw nieuwe afzuigkap van DE DIETRICH.
NL 112
Uiteraard streven wij ernaar zo goed möglichk aan uw wensen ten aanzien van onze producten te voldoen. Daarom staat onze klantenservice voor u klaar en luistert maar u om al uw vragen te beantwoorden of uw suggesties te noteren (gegevens acheer in dit boekje).
PT 134
Kijk op unsere site www.dedietrich-electromenager.com waar u, naast nuttige en aanvullende informatie, ook de LASTe niedwigheden kunt vinden.
DE DIETRICH
Nieuwe waardeobjecten
Wij streven voortdurendaar verbetering van onsze producten.Daarom behouden wij ons hetrecht voor om aan de technische, functionele of esthetische kenmerken van onsze producten wijzigingen aan te brengen die in verband staan met technische ontwikkelingen.
Belangrijk: Vóör installment
Vóor installmente en gebruik van uw apparaat deze installmente- en gebruiksgids aandachtig in. U zult snel gewend raken aan de werking.
www.dedietrich-electromenager.com
INHoud
NL
1/BESTEMD VOOR DE GEBRUIKER
Veiligheidsaanwijzingen 114
· Milieubescherming 115
- Beschrijving van het apparaat 116
2 / INSTALLATIE VAN HET APPARAAT
- Gebruik met afvoer 117
- Gebruik met luchtzuivering 117
·Elektrische aansluiting 118
Montage van de afzuigkap 119
Montage van de schouw
^ Afvoer maar buitenlucht 120
Luchtzuivering 121
3 / GEBRUIK VAN HET APPARAAT
Beschrijving van de bedieningen 122
- Selectie kookplaat 123
- Verlichting 124
Overgaan op automatische modus 124
Overgaan op manuele modus 124
- Onmiddelijk stopzetten in manuele modus 125
- Uitgesteld stopzetten in manuele modus 125
Wijzigingijdensuitgesteldstopzetten 125
- Stopzetten van de afzuiigkap stand "OFF" 126
Cassette verzadigd 126
Luchtzuivering modus 126
·Afvoer modus 127
- Koolfilter verzadigd 127
- Auto stop ventilator 127
- Auto stop verlichting 127
4 / ONDERHOUD EN REINIGING VAN HET APPARAAT
- Reiniging van de filtercassettes 128
- Vervanging van het kooffilter 128
- Reiniging van de buitenkant 129
Vervanging van de lamp 129 - Onderhoud van het apparaat 130
5/PROBLEMEN EN OPLOSSINGEN 131
6/SERVICEDIENST 132
NL 1/BESTEMD VOOR DE GEBRUIKER
Belangrijk
Bewaar deze gebruiksaanwijzing in de nabijheid van het apparaat. Indien het apparaat aan een ander persoon worden verkocht of gegeven, dient u de gebruiksaanwijzing hierbij Niet te vergeten. Wij vragen u kennis te nemen van de aanwijzingen alvorens het apparaat te installereren en te gebruiken. Zij zich voor uw veiligheid en die van anderen opgesteld.
VEILIGHEIDSAANWIJZINGEN
-Dit apparaat is bestemd voor huishoudelijk gebruik.
- Dit apparaat dient door volwassenen te worden gebruikt.
Waak ervoor dat kinderen het Niet aanraken of als spelgoed gebruiken. Zorg ervoor dat zich de bedieningen van het apparaat Niet gebruiken.
-Pak het apparaat onmiddelijk bij ontvangstuit ofThat het uitpakken. Controller de algemene staat.Schrijf eventueel voorbehoud op de leveringsbon waarvan u een exemplaar behoudt.
-Het apparaat is bestemd voor normala huishoudelijk gebruik. Niet gebruiken voor commerciale of industrielle doelen of andere doel-einden waarvoort het Niet is ontworpen.
- De technische gegevens van het apparaat Niet wijzigen of proberen te wijzigen. Dit kan gevaarlijk zijn.
-Laat reparations uitsluitend door een erkend vakman uitvoeren.
-Trek altijd de stekker uit het stopcontact voor reiniging of onderhoud van de afzuigkap.
-Zorg voor een goede ventilatie wanner u tegelijkkertijd met de afzuigkap apparaten gebruikt die door een andere energiebron dan elektriciteit worden voorzien. Zo zuijt de afzuigkap geen stookgas aan.
Flambeer nooit gerechten onder de afzuigkap en LAST nooit een gasvuur branden zonder dat u er een pan op zet (de vlammen worden door de afzuigkap aangezogen en konnen het apparaat beschadigen).
- Frituren onder de afzuigkap mag, maar enkel indien u hierbij toezicht blijft honden
Olie en vet op hoge temperatuur konnen vlam vatten. - Regelmatig de afzuigkap reinigen en de filters verrangen. De ophoping van vet kan brand veroorzaken.
-Het gebruik van een afzuigkap boven een fornuis dat met brandstof zoals hout, houtskool enz. werk, is verboden. - Gebruik nooit stoom- of hoge druk appar
ten voor het reinigen van de afzuigkap (eisen
met betrekking tot de elektrische veilighheid)
Wij streven immer waar verbetering van onsze Produkten en behouden ons dan ook hetrecht voor de technische, functionele en esthetische kenmerken van onsze Produkten te wijzigen om deze aan de新模式 technische evolutie aan te passen. - Om de referenties van het apparaat in de toekomst makkelijk terug te vinden raden wij u aan deze op de paginga "Servicedienst en Klantenrelatie" te schrijven.
(Op deze pagina worden tevens aangegeven waar u de referenties op het apparaat kutn vinden.)
Let op!
Indien uw keuken worden verwarmd met een toestel dat op een schouw is aangeslo ten (kachel...), dient u de afzuigkap met luchtzuivering te installeren. Gebruik de afzuigkap nooit zonder de filtercassettes. Gebruikt u in een bepalde ruimte geleijktijd eig een afzuigkap en apparaten die op gas of een andere brandstof werken, zorg dan voor voldoende ventilatie in de ruimte.
1 / BESTEMD VOOR DE GEBRUiker
NL
MILIEUBESCHERMING
-
Het verpakkingsmateriaal van dit apparaat is recyclebaar. Doe mee aan de recycling en draag bij aan de bescherming van het milieu door dit materiaal in de hiervoor bestemde gemeente-containers te deponeren.
Uw apparaat bevat tevens vele recyclebare materialen. Daarom is het voorzien van dit logo wat aangeeft dat de gebruike apparaten van ander afval dienen te worden geschieren. De recycling van de apparaten die door uw fabrikant worden georganiseerd worden op deze manier onder de Beste omstandigheden uitgevoerd, overeenkomstig de Europese richtlijn 2002/96/CE betreffende elektrisch en elektronisch afval. Informeer bij uw gemeente of bij uw verkoper maar de dichtstbijzijnde inzamelplaats voor uw oude apparaten. -
Wij danken u voor uw bijdrage aan de bescherming van het milieu.

Let op!
De installmente dient te worden uitgevoerd door erkende installateurs en vakmannen.

Let op!
Vór het eerste gebruik van de filterkassette verwijdert u de beschemfolie.
NL 1 / BESTEMD VOOR DE GEBRUiker
- Trek de stekker uit het stopcontactijdens de installmentie of bij een eventuele tussenkomst.
- Controller of de netspanning overeenkomt met de spanning die staat aangegeven op het identificatieplaatje aan de binnenkant van de afzuigkap.
- Indien door de elektrische installmentie van uw woning een wijziging moet worden aangebracht voor de aansluiting van uw apparaat, dient u een beroep te doen op een erkendvakman.
- Indien de afzuigkap met afvoer worden gebruikt, dient u het apparaat Niet aan te sluiten op het afvoerkanaal voor rookgassen (verwarmingsketel, open haard, enz...) of een mechanische ventilatie.
- Het afvoerkanaal, ongeacht welke, mag nicht uitkomen op zolder.
- Installee de afzuiigkap op minstens 70 cm van een elektrische, gas of gemengde kookplaat.
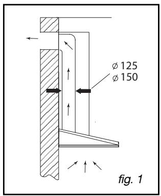
- GEBRUK MET AFVOER
U beschikt over een afvoer maar de buitenlucht
(fig. 1)
Uw afzuigkap kan hierop worden aangesloten met behulp van een afvoerbuis (minimum 0 125 mm, geëmailleerd, aluminium, soepel of van onontvlambaar materiaal). Indien de diameter van de buis minder dan 125 mm bedraagt, bent u verplicht voor de luchtzuivering modus te kiezen.

- GEBRUK MET LUCHTZUIVE-RING
U beschikt Niet over een afvoer maar de buitenlucht
(fig. 2)
Al once apparaten können met luchtzuivering worden geinstalleerd.
Gebruik in dit geval een actieve-kooffilter die de geuren filtert.
(Zie Hoofdstuk 4: Vervanging van het koolfilter.)

NL 2 / INSTALLATIE VAN HET APPARAAT
De stekker uit het contact halen bij installmentie of onderhoud van het apparaat, de zekeringen afluiuten of verwijdersen.
De elektrische aansluiting dient te worden uitgevoerd voordat het apparaat in het meubel worden geplaatst.
Controller of:
- het vermogen van de installmentie voldoende is, -de voedingskabels in goede staat zich
- de diameter van de kabels overeenkomstig de installmenteregels is.
Let op! Ditt appear
Dit apparatusiert geleverd met een voedingskabel H 05 VVF met 3 geleiders van 0,75mm^2 (1 fasedraad +1 nulleider + aarding). Het moot worden aangesloten op een elektriciteitsnet van 220-240 V~ monofasig via een genormaliseerd stopcontact overeenkomstig de norm CEI 60083, dat na de installmentie toegankelijk dient te blijven, overeenkomstig de installmenteregels.
Onze aansprakelijkheid verralt bij een ongeval ten gevolge van een afwezige of foue aarding. De zekering van de installmentie dient 10 of 16 A te bedragen. Vervang een beschadigde voedingskabel.altijd veiligheidshalte door een voedingskabel die u bij de serviceddienst kunt kopen.
Let op! Indien de
Indien de elektrische installmente van uw woning voor de aansluiting van uw apparaat gewijzigd moet worden, dient u een beroep te doen op een erkend vakman.
Let op!
Indien de afzuigkap een willekeurig probleem vertoont trek dan de stekker uit het stopcontact of verwijder de zekering die overeenkomt met de aansluitingskabel van het apparatusat.
2 / INSTALLATIE VAN HET APPARAAT
NL
- MONTAGE VAN DE AFZUIGKAP
! Let op! De instal
De installmentie dient overeenkomstig de geldende befalingen voor de ventilatie van de installmentieplaats te worden uitgevoerd. In Frankrijk worden deze befalingen in het DTU 61.1 van het CSTB aangegeven. Lucht mag Niet worden afgevoerd in een afvoerknaal voor rookgassen van apparaten die gas of andere brandstof gebruiken. Het gebruik van ongebruekte afvoerbuizen is enkel na raadpleging van een erkendvakman toegelaten.
De minimale afstand tussen de kookplaat en de onderzijde van de afzuigkap dient 70~cm te bedragen. Indien in de gebruiksaanwijzing van de kookplaat een minimale afstand van meer dan 70~cm staat vermeld, dient u deze aanwijzing toe te passen.
Trek een horizontale lijn op minimaal 70 cm boven de kookplaat (A/fig.1).
Trek een verticale lijn (B/fig.1) op de muur, gencentreerd in verhouding tot de kookplaat, vanaf het plafond tot de horizontale lijn (A).
- Knip de boormal volgens de stippellijnuit. U heeft nu 2 delen, C1 en C2 (fig.1).
- Plaats mal C2 (fig.1) op de muur door de lijn die het midden van de afzuiigkap voorstelt op de verticale lijn B (fig.1) te leggen.
- Plaats mal C1 (fig.1) gegen de muur en gegen het plafond.
- Boor 6 gaten. Druk de 6 pennen in de gaten.
-Schroef de wee schroeven aan de bovenkant van de afzuiigkap (D/fig.1) aan maar LAST 5 mm uitsteken.
-Haak de afzuigkap op de twee schroeven (D/fig.2).
- Verwijder de filtercassettes (F/fig.3).
-Schroef de twee schroeven aan de onder- kant aan (E/fig.3).
Advies
Alvorens de 4 schroeven D en E volledig vast te draaien, controeert u eerst of de afzugkap perfect hangt.



NL 2 / INSTALLATIE VAN HET APPARAAT
- MONTAGE VAN DE SCHOUW
- Afvoer maar buitenlucht
- Bevestig de metalen schouwsteun met behulp van de twee schroeven gegen de muur en gegen het plafond (fig.1).
-Zet de terugslagklep op de motoruitgang (fig.2).Hiermee worden voorkomen dat lucht van buiten maar binnen komt.
-In geval van een buis met een diameter van 125 mm dient u de bijgesloten adapter te gebruiken (fig.3).
Bij gebruik van een afvoerbuis met een buitendiameter van minder dan 125 mm dient u de luchtzuivering op uw afzugkap te installeren.
- Schuif het uiteinde van de buis op de motoruitgang (fig.4).
-Bereid de telescopische schouw voor en zorg ervoor dat de luchtspleten Niet zichtaar zichn (fig.4).
Schuif de elementen zoveel möglichk in elkaar.
- Bevestig het bovenste element van de schouw (B/fig.4) op de metalen schouwsteun (A/fig.4) met de twee schroeven (G/fig.4).
- Pas de lenghte van de telescopische schouw aan door het onderste element te verlagen en in de bovenzijde van de afzuigkap te schuiven.


A Schouwsteun
Telescopische schouw
C Bulis
D Adapter
E Terugslagklep
Motoruitgang
G Schroeven voor steun van schouw

2 / INSTALLATIE VAN HET APPARAAT
NL
Luchtzuivering
- Verwijder der terugslagklep (fig.1).
- Bevestig de plastic rookdeflector gegen de muur en gegen het plafond, met de tweeschroeven (fig.2). Centreer de deflector in verhouding tot de verticale lui op de muur (fig.2).
Zet het ene uiteinde van de buis op de deflector en het andere uiteinde op de motoruitgang (fig.3). - Plaats de luchtspelen maar boven zodate zich喆baar�n (B/fig.3).
- Bevestig het bovenste element van de schouw (C/fig.3) op de rookdeflector (A/fig.3) met behulp van de twee schroeven (F/fig.3).
- Pas de lenghte van de telescopische schouw aan door het onderste element te verlagen en in de bovenzijde van de afzuigkap te schuiven.


A Rookdeflector
B Luchtspleten
Telescopische schouw
Buis
E Steun motor
F Schroeven voor steun van schouw
Advies Voor een
Voor een optimaal gebruik van uw afzuigkap raden wij u de aansluiting op een buis met een diameter van 150~mm (niet bijgeleverd) aan. Beperk zoveel möglich het aantal gebogen buiselementen en de lenghte van de buis. Bij gebruik van een afzuigkap met afvoer maar de buitenlucht, dient u voor voldoende ventilatie met frisse lucht te zorgen om onderdruk in de kamer te vermijden.

NL 3 / GEBRUK VAN HET APPARAAT
BESCHRIJVING VAN DE BEDIENINGEN


A Controlelampje automatische werking
Controlelampje cassette verzadigden luchtzuiveringsfilter
Bedieninglicht en variatie van delichtintensiteit
Aansluting
Bij het aansluiten van de afzuiigkap dient deze op stand OFF te staan.

Advies
Deze installmentiegids en gebruiksaanwijzing is geldig voor meerdere modellen. Er kunk-xleine verschillen bestaanCUSenuwapparaatendebeschrijvinginen deze gids.
3 / GEBRUK VAN HET APPARAAT
NL
- SELECTIE KOOKPLAAT
Om uw kookplaat te selecteren zet u de afzuigkap op OFF door kort op de bediening % te drukken.
AUTO






Vervolgens drukt u gelijktijdig enkele secon-den op en
De drie controleampjes beginnen te knippen- ren.
Druk opniew kort op de bediening om het aantal verlichte controelampjes te verkrijgen dat overeenkomt met uw type kookplaat, zie tabel hieronder:





Inductiekookplaat
Glaskeramische kookplaat
Gaskookplaat
Inductie/gas kookplaat
Kookplaat met gietijzeren platen
Inductie/glaskeramische kookplaat


















Om uw type kookplaat te bevestigen drukt u enkele seconden op tot de drie contro- lampjesuit gaan.
AUTO








NL 3 / GEBRUK VAN HET APPARAAT
VERLICHTING
Druk kort op om de lamp van de afzuigkap aan te doen.
U kunt de intensiteit van de verlichting regelen door te blijven drukken op

OVERGAAN OP AUTOMATISCHE MODUS
Druk enkele seconden op
Het contrôlelampje "Auto" knippert en geeft aan dat de afzuiigkap in de automatische modus staat.

OVERGAAN OP MANUELE MODUS
Met de manuele modus kurz u de snelheid van het afzuiigen van 1 tot 5 manueel regelen.
Door kort op te drukken zet u de afzugkap op snelheid 1.
Het controelampje brandt.
Elke keer dat u opniew op drukt verhoogt u de slelheid tot 5. Door opniew kort op te drukken gaat u weer terug maar slelheid 1.

3 / GEBRUK VAN HET APPARAAT
NL
ONMIDDELLIJK STOPZETTEN IN MANUELE MODUS
Om uw afzuigkap in manuele modus stop te zetten, drukt u kort op %
De afzuigkap stopt en het controelampje gaatuit.

UITGESTELD STOPZETTEN IN MANUELE MODUS
U kunt uw afzuigkap uitgesteld stopzetten in manuele modus.
Door enkele seconden op te drukken kunt u deze uitgesteld stopzetten.
Het controelampje knippert dan tot de afzuigkap stopt.
De afzuigkap stopt automatisch na 10 min.

WIJZIGING TIJDENS UITGESTELD STOPZETTEN
Indien u de afzuigkap wilt gebruiken voor het einde van het uitgesteld stopzetten, drukt u kort op ^日 , het controelampje stopt met knipperen en blijft verlicht.
U kurz opniew de gewenste snelheid kiezen.

NL 3 / GEBRUK VAN HET APPARAAT
STOPZETTEN VAN DE AFZUIG-KAP STAND "OFF"
De afzuigkap is in automatische modus en u wenst het stop te zetten.
Druk kort op %
Het controlampje "Auto" gaat UIT.

CASSETTE VERZADIGD
Wanneer het contrôlelampje aan gaat, betekent dit dat de cassettes gereinigd moeten worden (dit is möglichk in de vaatwasser).
Druk enkele seconden geleiktijdig op en om de functie "verzadiging" te ontgrendelen.
Het controleampje gaat UIT.

LUCHTZUIVERING MODUS
Uw afzigkap werkt met luchtzuivering, stel\ deze als volgt in:
Druk enkele seconden gewiktijdig op % en . Het controlelampje is verlicht of knippert.
Om de luchtzuivering modus in te stellen drukt u kort op tot het controelampje is verlicht (knippert).
Bevestig de instelling door op % te drukken.

3 / GEBRUK VAN HET APPARAAT
NL
- AFVOER MODUS
Uw afzuigkap werkt met een afvoer maar de buitenlucht, stel deze als volat in:
Druk kort geleiktijdig op % en
Het controleampje is verlicht of knippert.
Om de afvoer modus in te stellen drukt u kort op tot het controelampje brandt (knippert nicht).
Om deze installing te wijzigen drukt u kort op en de staat van het contrôlelampje verandert. Om deze/Newe installing te bevestigen, drukt u op %.

KOOLFILTER VERZADIGD
Als de afzuiigkap in luchtzuivering modus staat. Het controlelampje knippert, het geeft aan dat het koolfilter verrangen dient te worden (het wordt aanbevolen het filter elke 6 maanden te verrangen).
Om het controelampje uit te doen , drukt u enkele seconden gelijktijdig op de toetsen en
Het controelampje stopt met knipperen.

- AUTO STOP VENTILATOR
Als u de afzuigkap vergeet uit te zetten, gaat\ deze automatisch na 9 uur uit. De afzuigkap\ staat dan in stand OFF.
- AUTO STOP VERLICHTING
Als u het Licht vergeet uit te zetten, gaat dit automatisch na 9CLR uit.
NL 4 / ONDERHOUD EN REINIGING VAN HET APPARAAT

Let op!
Trek de stekker uit het stopcontact voor onderhoud en reiniging van het apparaat. Door regelmatig onderhoud van het apparaat garandeert u de goede werkig, het goede resultaat en de duurzaamheid.

Let op!
! Het Niet in acht nemen van de reinigingsinstructies van het apparaat en de filters kan brand veroorzaken. U dient de onderhoudsaanwijzingen strikt in acht te nemen.
- REINIGING VAN DE FILTERCASSETTES
Reinig deze na 30 eer gebruik, of minstens een keer per maand. Zij kuren rechtop in een vaatwasser worden geplaatst.
Gebruik een borstel, warm water en een zacht reinigingsmiddel. Afspoelen en zorgvuldig drogen alvorens hen wee terug te zetten in de afzuigkap.
- Demontage van de filtercassette (fig.1)
Draai het handvat van de filtercassette.
- Laat de filtercassette maar beneden kantelen.

- VERVANGING VAN HET KOOLFILER
Vervang het na ongeveer 120 gebruiksuren.
- Verwijder de filtercassettes (fig.2).
- Plaats het neue kooffilter op de cassette aan de binnenzijde van de afzuigkap.
-Schuif de 2 dwarstangen aan iedere kant van de filtercassette. - Doe deze handling op alle filtercassettes.

4 / ONDERHOUD EN REINIGING VAN HET APPARAAT
NL
- REINIGING VAN DE BUITENKANT
Gebruik zeepwater voor de reiniging van de buitenkant van de afzuigkap. Geen schuurmiddel of schuursponsjes gebruiken.
- VERVANGING VAN DE LAMP

Trek de stekker van de afzuigkap uit het stopcontact (of zet de beveiligingsschakelaaruit) alvorens het lampje te verrangen.
Model met halogenlamp
-Verwijder het verlichtingskapje (fig.1).
-Vervang de halogeenlamp G4-20W-12V.
-Zet alles wee terug in omgekeerde volgorde.

NL 4/ONDERHOUD EN REINIGING VAN HET APPARAAT

Let op!
Trek de stekker van de afzuigkap uit het stopcontact (of zet de beveiligingsschakelaar), olvorens het lampje te verrangen.
- ONDERHOUD VAN HET APPARAAT
| ONDERHOUD | HOE | TE GEBRUIKEN PRODUCTEN/ACCESSOIRES |
| Kap en accessoires | Gebruik nooit metalen sponsjes, schuurmiddelen of te harde bor-stels. | Om de behuizing van de afzuiq-kap en de verlichtingskap te reini-gen, gezruikt uuitsluitend huis-houdelijkke reinigingsmiddelen (verdund in water). Spoel ze ver- volgens met zuiver water af en veeg ze met een zachte doek droog. |
| Filtercassette | Dit filter vangt vette damp en stof op. Dit element is bijzonder belangrijk voor de doeltreffend-heid van uw afzuiqkap. In geval er vlekken blijven bestaan=kunt u een Niet schurende crème gebruiken. Met helder water afspoelen. | Met een huishoudelijk reinigings-product. De filtercassette verzol- gens goed afspoelen en drogen. Het kan rechtop in een vaatwas- ser worden geplaatst. (Niet met vies vaatwerk of silver- bestek in aanraking latent:komen) |
| Actieve-koolfilter | Dit filter houdt geuren gegen en dient naargelang de intensiteit van het gebruik van uw afzuiqkap一年多ijks te worden verrangen. Bestel deze filters bij uw verkoper (referentie op het identificatie- plaatje aan binnenzijde van de afzuiqkap) en noteer de verran- gingsdatum. |
Voor het onderhoud van het apparaat bevelen wij u de Clearit producten aan.

De expertise van professionals in Dienst van particulieren
Clearit bildet professionele producten en oplossingen voor het dagelijkke onderhoud van uw elektrische apparaten en van uw keuken.
Deze producten, alsmede accessoires, zich te krijgen bij uw verkoper.
5 / PROBLEMEN EN OPLOSSINGEN
NL
| PROBLEMEN | OPLOSSINGEN |
| De afzuigkap werkt nicht... | Controler of: • er geen stroomstoring is. • een snugheid is geselecteerd. |
| De afzuigkap werkt nicht voldoende... | Controler of: • de geselecteerde snugheid voldoende is voor de hoeveelheid vrijkomende rook en stoom. • de keuken voldoende is geventileerd. • het koolfilter in goede staat is (voor afzuigkap met luchtzuivering). |
| De afzuigkap is plotse-ling gestopt | Controler of: • er geen stroomstoring is. • de veiligheidsschakelaar Niet is ingeschakeld. |
DE 6/KUNDENDIENST
De eventuele ingrepen in de machine要去en worden uitgevoerd :
-of door uw vakhandelaar,
- of door een andere gekwalificeerd technicus van dit merk.
Tijdens het telefoneren, dient u de complete referentie op te gezven van uw machine (model, type, serialummer). Deze informatatie staat op het typeplaatje op de machine.
PT 6/SERVIçoPOS-VENDA
De eventuele ingrepen in de machine要去en worden uitgevoerd :
-of door uw vakhandelaar,
- of door een andere gekwalificeerd technicus van dit merk.
Tijdens het telefoneren, dient u de complete referentie op te gezven van uw machine (model, type, serialummer). Deze informatatie staat op het typeplaatje op de machine.
SimpelGids