DHD556ZE1 - Capucha DE DIETRICH - Manual de uso y guía de instrucciones gratis
Encuentra gratis el manual del aparato DHD556ZE1 DE DIETRICH en formato PDF.
| Tipo de dispositivo | Campana extractora decorativa |
| Modo de instalación | De pared o isla |
| Material | Acero inoxidable |
| Dimensiones (An x Pr x Al) | No especificado |
| Caudal de extracción | No especificado |
| Niveles de potencia | Varias velocidades |
| Tipo de filtración | Filtros de grasa metálicos |
| Iluminación | LED o halógeno |
| Nivel de ruido | No especificado |
| Control | Manual o electrónico |
| Función de recirculación | Opcional |
| Potencia eléctrica | No especificado |
| Color | Acero inoxidable |
| Accesorios incluidos | No especificado |
| Garantía | No especificado |
Preguntas frecuentes - DHD556ZE1 DE DIETRICH
Questions des utilisateurs sur DHD556ZE1 DE DIETRICH
0 question sur cet appareil. Repondez a celles que vous connaissez ou posez la votre.
Poser une nouvelle question sur cet appareil
Descarga las instrucciones para tu Capucha en formato PDF gratis! Encuentra tus instrucciones DHD556ZE1 - DE DIETRICH y toma tu dispositivo electrónico nuevamente en la mano. En esta página están publicados todos los documentos necesarios para el uso de su dispositivo. DHD556ZE1 de la marca DE DIETRICH.
MANUAL DE USUARIO DHD556ZE1 DE DIETRICH
ES MANUAL DE UTILIZACION
IT MANUALE D'USO
NL GEBRUKSAANWIZING
PT GUIA DE UTILIZACAO
Hotte décor
Las intervenciones que requirelaquinadeferan ser efectuadas:
- por el revendedor,
- o porrialquier profesionai qualificado depositario de la marca.
Al llamar,mentione la referencia completa de laquina (modelo, tipo y numero de series).
Estos datos figuran en la plaza de identificacion situada en laquina.
IT 6 / SERVIZIO POST VENDITA
Las intervenciones que requirelaquinadeferan ser efectuadas:
- por el revendedor,
- o porrialquier profesionai qualificado depositario de la marca.
Al llamar,mentione la referencia completa de laquina (modelo, tipo y numero de series).
Estos datos figuran en la plaza de identificacion situada en laquina.
IT 6 / SERVIZIO POST VENDITA
Estimado cliente, estimada cliente:
DE 24
Acaba de comprar una campana extractor DE DIETRICH y queremos darle las gratias porarlo.
EN 46
Nuestros equipos de Investigación han dibnado para usted esta nuevo generación de aparatos que, por su calidad, su estética, sus functions y su desarrollo technologicalo, constituyen productos exceptionales, exponentes de nuestro saber.
ES 68
Su nuevo campana extractor DE DIETRICH se integrará con armonía en su cocina y combinará los resultados de aspiración y la calidad de uso. Hemos querido-ofrecerle un producto optimo.
NL 112
Tambén encontrará en la gama de productos DE DIETRICH, una amplia selección de hornos, hornos microondas, cocinas, lavavajillas y frigoríficos integrables, queURTADAR con suresha campana extractora DE DIETRICH.
PT 134
Por supuesto, nuestro servicios al consumidor, siempre con el objevtivo de satisfacer lo mejor possible sus exigencias para con nuestros productos, está a su disposicion y a su escucha para responder a todas sus preguntas o sugerencias (vea la direccion al final del manual).
Le invitamos a visitarnos en nuestra頁a web www.dedietrich-electromenager.com, donde encontrará las ultimas innovaciones y otheras informaciones útiles y adiciones.
DE DIETRICH
Los nuevo objetivos de valor
Con el objetivo de melhorar constantemente nuestros productos, nos reservamos el derecho de efectuar modificaciones en sus caracteristicas sociales,ionales o estéticas vinculadas con los avances技术和icos.
Important:
7: Antes deponer en marcha su aparato, lea atentamente este manual de instalacion yutilizacion para familiarizarse lo masrapidamente possible con su funcionalemento.
www.dedietrich-electromenager.com
INDICE
ES
1 / A LA ATENCIón DEL USUARIO
- Consignas de seguridad 70
- Proteccion del medio ambiente 71
- Descripción del aparato 72
2 / INSTALLACION DEL APARATO
- Utilización en version evacuación 73
- Utilización en version reciclaje 73
- Conexión electrica 74
Montaje de la campana extractor 75
Montaje de la chimenea
Evacuación exterior 76
^ Reciclaje 77
3 / UTILIZACION DEL APARATO
- Descripción de los mandos 78
-Selección del tipo de placata 79
·Illuminación 80 - Paso a modo automático 80
- Paso a modo manual 80
- Parada inmediata en modo manual 81
- Parada retardada en modo manual 81
- Modificación durante la parada retardada 81
- Parada de la campana posicion "OFF" 82
- Saturación del modulo 82
- Modo reciclaje 82
- Modo evacuacion 83
- Saturación del filtró de carbono 83
- Parada automática del ventilador 83
- Parada automática de la iluminación 83
4 / MANTENIMIENTO Y LIMPIEZA DEL APARATO
·Limpieza de los filtros modulares 84
- Ambio del filtro de carbono 84
- Limpieza de la superficie exterior 85
- Ambio de la bombilla 85
- Mantenimiento del aparato 86
ES 1 / A LA ATENCIón DEL USUARIO
Conserve este manual con el aparato. Si debe vender o ceder el aparato a另一边 persona, asegürese de que elmanual deutilizacion va con el.Porfavor,lea这些 consejos antes de instalar y'utilizar el aparato.Han sido redactados pensando en suseguidad y la de los demas.
- CONSIGNAS DE SEGURIDAD
- Este aparato ha sido disnado para ser realizado por particulares en sus domiciliois.
- Este aparatoDebe ser utilisé por niños.
Tenga cuidado de que los niños no lo toquen y lo'utilcen como un juguete. Asegúrese de que no manipulen los mandos del aparato.
-Cuando reciba el aparato, desembalelo o hagalo desembalar inmediamente. Compruebe su aspecto general. Si tiene reservas que signalar, hagalo por写道 en el albaran de entrega y quedese con un ejemplar.
-Su aparato está destinado a un uso domés-tico normal. No lo usa con fines commerciales o industriales o conthers fines que no sean aquellos para los que ha sido diseñado. -
No modifie o intente modifier las caractéristicas del aparato. Podría suponer un peligro par usted.
-Las reparaciones deben ser realizadas exclusivamente por un especialista autorizzato. -
Desconecte siempre la campana extractora antes de limpiarla o realizar el mantenimiento.
-Ventile adecuadamente la habitacion si la campana funciona al mesmo tiempo queothers aparatos alimentados con una fuente de energia que no sea la electricidad. Ello es para que la campana no aspire los gases de combustion.
-
No se pueda flambear alimentos o tener encendidos los fuegos de gas sin ningún recipiente bajo la campana (las llamas aspiradas podrán deteriorar el aparato).
-
Cuando estáfriendodebajo del aparato,deferabigilaroconstamente.Losaceites y grasas calentadashaftunaalta temperaturacouldencoger fuego.
-
Respete la Frequencia de limpieza y cambio de los filtros. La acumulación de depósitos de grasa pourrait provocar un incendio.
- No puede functionar encima de un fuego a base de combustible (madera, carbo...).
- No utilise aparatos de vape o a alta presión para limiar el aparato (exigencias relativas a la seguridad electrica).
- Con el objetivo de mejorar siempre nuestros productos, nos reservamos el Derecho de aplicar modificaciones a sus caracteristicas Tecnicas, superficies o estéticas, provocadas por los avances技术和.
- Para que pueda encontrar fácilmente las referencias de su aparato, le acontejos que las anote en la頁 "Servicio Técnico y Servicio al Consumidor".
(Esta頁igna también le explicado encontrarlas en el aparato).
Atencion Si la cocina
Si la cucina calienta con un aparato connectado a una chimenea (por exemple, una estufa), se debe instalar la campana en version reciclaje. No utilise la campana sin los filtros modulares.
Hay que prever una ventilacion adecuada.
cuando se utilise una campana extractora
de cocina al mesmo tiempo queothers aparatos que funciona con gas u other combustible.
1 / A LA ATENCIón DEL USUARIO
ES
PROTECCION DEL MEDIO AMBIENTE
- Los materiales realizados para el embalaje de este aparato son reciclables. Participe en su reciclaje y contribuya asi a conservar el medio ambiente tirandolos a los contenedores municipales previstos para ellos.
-
Su aparato también contiene materiales reciclables, por lo que está marcado con este logotipo que le indica que los aparatos desechados no deben mezclarse conOthers residuos. Actuando asi, el reciclaje de los aparatos que organize su fabricante se efectuara en las mejoras conditiones posibles, de acuerdo con la directiva europea 2002/96/CE sobre los residuos de equipos electricos y electronicos.Consulte en su ayuntamento o a su vendedor para poderononde se encontrarlos+puntos de recogida de aparatos desechados mas cercanos a su domicilio.
-
Le damos las gratías por su的合作ación en la protección del medio ambiente.
Atencion La instalac
Atencion Antes de utiliser por primera vez el filtro modular, retire lapellicula protectora.
ES 1 / A LA ATENCION DEL USUARIO
- DESCRIPCION DEL APARATO

A Aberturas
C Carcasa
B Chimenea
Mandos
2 / INSTALLACION DEL APARATO
ES
- El aparato debe estar desconectado al instalarlo o al realizarrialquier intervencion en el.
- Compruebe que la tension de la red corresponde a la tension indicada en la placar de caracteristicas que se enquiryra en el inferior de la campana.
- Si la instalacion electrica de su campana obliga a efectuar una modificacion para poder connectar el aparato, llame a un electricistariallicado.
- Si la campana se usa en version evacuacion, no conecte el aparato a un conductor de evacuacion de humos de combustion (caldera, chimenea, etc.) o a una VMC (ventilacion mecanca controlada.
- El conductor de evacuación, searialsea, no debe desembocar en los bajos del tejado.
- Instale la campana a una distancia de seguridad de al menos 70cm de la plac de coccción electrica, de gas o mixta.
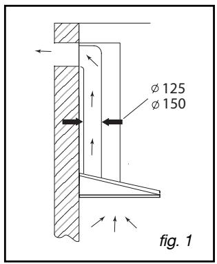
- UTILIZACION EN VERSIONEN VACUACION
Si tiene una calidad hacía el exterior
(fig. 1)
Su campana se pueda conectar a ella mediana un conducto de evacuation ( minimo 125 mm, esmaltado, de aluminio o de material iniflammable). Si el conducto Tiene un diametro inferior a 125~mm , pase obligatoriamente al modo reciclaje.

- UTILIZACION EN VERSION RECLAJE
Si no Tiene unaitters al exterior
(fig. 2)
Todoos{nuestrosaparatospresentanla posibididaddefuncionar enmode reciclaje.
En este caso,añada un filtro de carbono activo que retendra los olores.
(verbapitulo 4: Cambio del filtro de carbono)

ES 2 / INSTALLACION DEL APARATO
- CONEXION ELECTRICA
Al efectuar la instalacion y las operaciones de mantenimiento, el aparato deben estar desconnectado de la red electrica y los fusibles estarán cortados y quitados.
La connexion électrique se deben realizar antes de colocar el aparato en el mueble.
Compruebe que:
- la potencia de la instalacion es suficiente,
- las lineas de alimentacion estan en buena estado,
- el diametro de los cables es conforme con las normas de instalacion.
Atencion Este apara
Este aparato se suministra con un cable de alimentacion H 05 VVF a 3 conductores de 0,75mm^2 (neutro, fase y tierra) que se debe conectar a la red de 220 - 240 V -monofasia mediana una toma de corrente normalizada CEI 60083 que deben estar accesible una vez efectuada la instalacion, de acuerdo con las normas de instalacion.
No asumiremos ninguna responsabilidad en caso de producirse un accidente debido a una toma de tierra inexistente o Incorrecta. El fusible de su instalacion deben ser de 10 o 16 A. Si el cable de alimentacion estuviera dañado, llame al serviceo posventa para evaporar todo peligro.
Atencion Si necesita
Si necesita modifier la instalacion electrica de su habitacion para poder conectar el aparato, llame a un electricistariallicado.
Atencion Si la campa
Si la campana tieneequalquier anomalia,desconecte el aparato oquite el fusible correspondiente a la linea de conexión del aparato.
2 / INSTALLACION DEL APARATO
ES
MONTAJE DE LA CAMPANA EXTRACTORA
Atencion
La instalacion debe ser conforme a las normatas vigilentes para la ventilacion de los locales.En Francia,dichas normatas vienen indicadas en el DTU 61.1 del CSTB.En particular,el aire evacuado no debe ser enviado un conducto utilizedo para evacuar el humo de aparatos queutilicen gas u other combustible.Los conductos en desuso solo peuvent ser realizados con el acuerdo de un especialista competente.
La distancia minima entre la zona de cocción y la parte más baja de la campana deben ser de 70 cm. Si las instrucciones de la placar instalada bajo la campana indicaran una distancia mayor que 70 cm, es esta la que se deben tener en cuenta.
-Trace unamarcahorizontalauna distancia minima de70cmde la zona de cocccion. (A/fig.1).
- Trace una raya vertical (B/fig.1) en la pared, centrada con disrespect a la plaza de coccción y que baje desde el techo hasta lamarca horizontal precedente (A).
- Corte la plantilla de perforación sugiuendo las MARCAS indicadas para Obtener 2 partes, C1 y C2 (fig.1).
-Coloque la plantilla C2 (fig.1) contra la pared, superponiendo la marca que representa el eje de la campana sobre la raya vertical B (fig.1) antes trazada.
-Coloque la plantilla C1 (fig.1) contra la pared, hacer tope contra el techo.
-Taladre los 6 orificios. Introduzca las 6 clavijas.
- Atornille los dos tornillos de la parte superior de la campana (D/fig.1)每一天o soprepasar 5 mm.
- Enganche la campana extractor a los dos tornillos (D/fig.2).
- Quite los filtros modulares (F/fig.3).
- Atornille los dos tornillos de la parte inferior (E/fig.3).

Consejo
Antes de apretar Completely los
4 tornillos D y E, ajuste el nivel de la campana



ES 2 / INSTALLACION DEL APARATO
- MONTAJE DE LA CHIMENEA
- Fije contra la pared, con los dos tornillos, el soporte metálico de la chimenea, apoyándolo contra el techo (fig.1).
- Coloque la valvula de retencion en la calidad del motor (fig.2). La valvula de retencion permite obstruir la entrada de aire procedente del exterior.
-Si el diametro del conducto tiene 125~mm -utilice el adaptordo que se suministra (fig.3). Si suconducto tiene menos de 125~mm es obligatorio que conecte la campana en modo reciclaje. - Encaje el extremo del conductor en la calidad del motor (fig.4).
- Prepare su chimenea telescopia teniendo cuidado de disimilar las aberturas (fig.4). Encaje las chimeneas una en另一边 lo máximo possible.
- Fije la parte superior de la chimenea (B/fig.4) al soporte metalico de la chimenea (A/fig.4) con los dos tornillos (G /fig.4).
- Ajuste la longitudud de la chimenea telescópica bajo la parte inferior y encajándola en la parte alta de la campana.


A Soporte de Chimenea
B Chimenea telescópica
Conducto
D Adaptador
B Valvula de retencion
F Salida motor
G Tornillo de sujeción de la chimenea

2 / INSTALLACION DEL APARATO
ES
Reciclaje
- Quite la valvula de retencion (fig.1).
-Fije contra la pared, con los dos tornillos (fig. 2), el deflector de humano de plástico, apoyándolo contra el techo. Tenga cuidado de centrar el deflector conarto a la raya vertical traza da en la pared (fig.2). - Encaje un extremo del conductor en el deflector y el othero extremo en la calidad motor (fig 3).
- Prepare la chimenea teniendo cuidado de colocar las aberturas hacía abajo para que estén visibles (B/fig.3).
- Fije la parte superior de la chimenea (C/fig.3) en el deflector de homo (A/fig.3) con los dos tornillos (F/fig.3).
-Ajuste la longitud de la chimenea telescopica bajo la parte inferior y encajandola en la parte alta de la campana.


A Defector de humo
B Aberturas
Chimenea telescopica
Conducto
Sopportemotor
F Tornillo de sujeción de la chimenea
Consejo
Para encontrar una utilizacion optima del aparato, le acontejamos conectarlo a unconducto de 150~mm de diametro (no suministrado). Limitar al maximum el numero de codos y la longitud del conducto. Si la campana funciona en evacuation exterior, es conveniente asegurarse de que隐身que sufficiente para que no se cree depresion en la habitacion.

ES 3/UTILIZACION DEL APARATO
- DESCRIPCION DE LOS MANDOS


A Piloto funciona automático
Piloto saturación modulo y bajo recic-claje
F Mando luz y variación de la intensidad luminosa
- Puesta en tensión
Cuando se pone en tensión, la campana está en posición OFF.
Consejo Esta guía o
Esta guia de instalacion y uso de varios modelos. Podria haber ligeras diferencias en detailles y equipuestos entre su aparato y las descripciones que se presentan.
3 / UTILIZACION DEL APARATO
ES
- SELECTION DEL TIPO DE PLACA
Para seleccionar el tipo de plac,pongla la campana en modo OFF pulsando brevemente el mando %
AUTO







Después, efectue una pulsación prolong-gada en y al mesmo tiempo.
Los tres pilotos se pondrán intermitentes.
Pulse brevamente el mando para que queden iluminados el número de pilotos correspondiente a su tipo de plac, de acuerdo con el suiviente cuadro:






Placa Inducción
Placa Vitroceramica
Placa Gas
Placa mixta induccion/gas
Placa con fuegos defundacion
Placa mixta induccion / vitroceramica


















Para invalidate el tipo de plac, efectue una pulsacion larga en y se apagaran los tres pilotos.
AUTO







ES 3/UTILIZACION DEL APARATO
- ILUMINACION
Pulse brevamente para encender la bombilla de la campana.
Puede modifier la intensidad de la iluminacion si continua pulsando

- PASO A MODO AUTOMÁTICO
Efectueuna pulsacionlargena n %
El piloto "Auto" parpadea,indicando que la campana está en modo automatico.

El modo manual permite elegirmanualmente la velocidad de aspiracion de la campana entre 1 y 5.
Pulsando brevemente se pone en velocidad 1.
El piloto se enciende.
Cada vez que se pulsa brevamente augmentará la velocidad hastarugar a 5, pulsando de nuevo brevemente se vuela a la velocidad 1.

3 / UTILIZACION DEL APARATO
ES
PARADA INMEDIATA EN MODO MANUAL
Para parar la campana que está en modo manual, pulse brevamente %.
La campana se para y el piloto se apaga.

PARADA RETARDADA EN MODO MANUAL
Puede activar la parada retardada de la campana cuando este en modo manual.
Efectuandouna pulsacionlargena en consecuira la parada retardada.
El piloto parpadea hasta que separe la campana.
La campana se para automatamente al cabo de 10 min. de funciona.


- MODIFICACION DURANTE LA PARADA RETARDADA
Si desea utiliser la campana antes de que finalice la parada retardada, pulse brevamente yel piloto deja de parpadear quendo encendido.
Ya puede elegir de nuevo la velocidad que desee.


ES 3/UTILIZACION DEL APARATO
Se encontrar en el modo automatico y desear par la campana.
Pulse brevemente %
El piloto "Auto" se apaga.

SATURACION DEL MODULO
Cuando se enciende el piloto , quiere:)
puede meter en el lavavajillas).
Efectue una pulsacion larga en y al本身就是 tiempo para desbloquear la funciona "saturacion".
El piloto se apaga


- MODO RECICLAJE
La campana está en reciclaje, configurée en modo reciclaje:
Efectue una pulsacion larga en % y al mismo tiempo. El piloto queda encendido o intermitente.
Para configurar en modo reciclaje pulse breve para que el piloto se encienda (intermitente).
Valide la configuración pulsando %


3 / UTILIZACION DEL APARATO
ES
- MODO EVACUACION
La campana posee una evacuación al exterior, configuréla en modo evacuación:
Pulse brevamente y al"Myso tempo.
El piloto se enciende o parpadea.
Para configurar en modo evacuacion, pulse brevemente para que el piloto se encienda (intermitente).
Para modifier esta configuración, pulse brevamente y el piloto cambiará de estado. Para confirmar laewsua configuración, pulse %

SATURACION DEL FILTRO DE CARBONO
Cuando la campana está en modo reciclaje. El piloto parpadea,indicando que hay que cambiar el filtro de carbono (le aconsejamos que cambie los filtros cada 6这点).
Para apagar el piloto , efectue una pulsacion prolongada en los mandos y alismo tiempo.
El piloto deja de parpadear.

PARADA AUTOMÁTICA DEL VENTILADOR
Si se olvida de apagar la campana, esta se parará al cabo de 9 horas de funciona. El funciona pasado a modo OFF.
PARADA AUTOMÁTICA DE LA ILUMINACION
Si se olvida de apagar la luz, esta se apagará al cabo de 9 horas de funcionaimiento.
ES 4 / MANTENIMIENTO Y LIMPIEZA DEL APARATO
Atencion
Desconecte el aparato antes de proceder al mantenimiento y limpieza del aparato. Un mantenimiento periodico es una garantía de buen funciona, buen rendimiento y duración.
Atencion
No Respectar las instrucciones de limpieza del aparato y los filtros可以更好 incasionar incendios. Respete estrectamente las instrucciones deostenimiento.
- LIMPIEZA DE LOS FILTROS MODULARES
Se deben limpar cada 30 horas de uso o aproximamente una vez al mes como是最imo. La limpieza se pueda hacer en el lavavajillas, en posicion vertical.
Utilice un cepillo, agua caliente y un detergente suave. Aclarélos y sequelos con cuidado antes de volverlos a colocar.
- Desmontaje del filtro modular (fig. 1)
-Gire el asa integrada del filtro modular.
-Inclineelfiltrmodularhaciaabajo.

CAMBIO DEL FILTRO DE CARBONO
Cambiolo cada 120 horas de uso aproximamente.
- Quite los filtros modulares (fig.2).
- Coloque los filtros de carbono en el modulo en el lado interior de la campana.
- Encaje las 2 varillas de sujeción a todos los del filtro modular.
- Repita esta operación con todos los filtros modulares.

4 / MANTENIMIENTO Y LIMPIEZA DEL APARATO
ES
- LIMPIEZA DE LA SUPERFICIE EXTERIOR
Para limpar el exterior de la campana utilise agua con jabón, pero no use cremas pararegar, ni estropajos.
- CAMBIO DE LA BOMBILLA
Atencion
Antes de realizarrialquier intervencion,debera dejar la campana sin tension,bien desenchufandola o bien actionando el disyuntor.
Modelo con bombilla halógena
- Quite la tulipa (fig. 1).
- Bombilla halógena G4-20W-12V.
-Vuela a colocar el Conjunto realizando las operaciones en sentido inverso.

ES 4 / MANTENIMIENTO Y LIMPIEZA DEL APARATO
Atencion Ante de re
7! Antes de realizarrialquier intervencion,debera dejar la campana sin tension,bien desenchufandola o bien actionando el disyuntor.
MANTENIMIENTO DEL APARATO
| MANTENIMIENTO | QUE DEBE HACER | PRODUCTOS/ACCESORIOS A EMPLEAR |
| Carcasa y accesorios | No utilise nunca estropajos metálicos, productos abrasivos o ceipillos demasiadouros. | Para limpar el chasis y ojo de buey de iluminación, utilise exclusi-vamente productos de limpieza del commercio diluidos en agua, aclare después con agua ySEQe con un trapo suave. |
| Filtro modular | Este filtro retiene los vapeores gra-sos y el polvo. Es el elemento que garantiza una parte importante de la eficacia de la campana. Si hubiera manchas persistentes, utilise una crema no abrasiva y aclare con agua limpia. | Límpielo con un producto de lim- pieza del commercio, aclárela abun-dantamente y séquela. La limpieza se pueda hacer en el lavavajillas, en posición vertical (Noponer encontacto con la vajilla sucía o con cubiertos de plata) |
| Filtro carbono activo | Este filtro retiene los olores y se debeCambiar al menos una vez al año, enfunciónde su uso.Pida这些东西iltros a su vendedor (conla referencia indicada en la placacaracterística que seencuentra en el interior de la cam-pana) y anote la Fecha del cambio. |
Para Maintener el aparato en buena estado, le recomendamos que utilize los produits de manutenimiento Clearit.

Los conocimientos y la experiencia de los profesionales al service de los particulares
Clearit le propone produits professionnelles y SOLUTIONES adecuadas para el mantenimiento cotidiano de sus aparatos electrodomesticos y su cucina.
LosURTARo en laventa en su distribuidor habitual, unto con toda una linea de productos accesarios y consumibles.
| SINTOMAS | SOLUTIONES |
| La campana no func- na... | Compruebe que: • No hay un corte de corriente. • Se ha selección una velocidad. |
| El rendimiento de la cam- pana es insufiente... | Compruebe que: • La velocidad del motor que ha seleccióndo es suficiente para la cantidad de homo y el vapor de agua producido. • La cucina está suficientamente ventilada para que pueda entrada aire. • Elentieth de carbono no está gastado (campa- na en version reciclaje). |
| La campana se ha para- do cuando está esta fun- cionando. | Compruebe que: • No hay un corte de corriente. • No se ha activado el dispositivo de corte omnipolar. |
DE 6/KUNDENDIENST
Las intervenciones que requirelaquinadeferan ser efectuadas:
-por el revendedor,
- o porrialquier profesionai qualificado depositario de la marca
Al llamar,mentione la referencia completa de laquina (modelo, tipo y numero de series).
Estos datos figuran en la plac de identificacion situada en laquina.
IT 6 / SERVIZIO POST VENDITA
Las intervenciones que requirelaquinadeferan ser efectuadas:
- por el revendedor,
- o porrialquier profesionai qualificado depositario de la marca.
Al llamar,mentione la referencia completa de laquina (modelo, tipo y numero de series).
Estos datos figuran en la plaza de identificacion situada en laquina.
IT 6 / SERVIZIO POST VENDITA
Las intervenciones que requirelaquinadeferan ser efectuadas:
- por el revendedor,
- o porrialquier profesionai qualificado depositario de la marca.
Al llamar,mentione la referencia completa de laquina (modelo, tipo y numero de series).
Estos datos figuran en la plaza de identificacion situada en laquina.
IT 6 / SERVIZIO POST VENDITA
Estimado(a) Cliente,
DE 24
O exaustor para automaticamente après 10 min. de funciona.

Se se esquecer de apagar a luz, esta apagar-se-á automaticamente après 9 horas de functiónamento.
PT
Las intervenciones que requirelaquinadeferan ser efectuadas:
-por el revendedor,
- o porrialquier profesionai qualificado depositario de la marca.
Al llamar,mentione la referencia completa de laquina (modelo, tipo y numero de series).
Estos datos figuran en la plaza de identificacion situada en laquina.
ManualFácil