DHD556ZE1 - Exaustor de cozinha DE DIETRICH - Manual de utilização gratuito
Encontre gratuitamente o manual do aparelho DHD556ZE1 DE DIETRICH em formato PDF.
Perguntas dos utilizadores sobre DHD556ZE1 DE DIETRICH
0 pergunta sobre este aparelho. Responda às que conhece ou faça a sua.
Faça uma nova pergunta sobre este aparelho
Baixe as instruções para o seu Exaustor de cozinha em formato PDF gratuitamente! Encontre o seu manual DHD556ZE1 - DE DIETRICH e retome o controlo do seu dispositivo eletrónico. Nesta página estão publicados todos os documentos necessários para a utilização do seu dispositivo. DHD556ZE1 da marca DE DIETRICH.
MANUAL DE UTILIZADOR DHD556ZE1 DE DIETRICH
Qualquer intervenção no seu aparecido deve ser realizada:
-querpelo seurevendedor,
-quer por othero profisional qualificado autorizzato pela marca.
Ao chamá-los, indique a referencia completeness do seu aparelho (modelo, tipo e número de série).
Estas informacoes figuram na placac de identificacao fixada no aparelho.
NL 6/SERVICEDIENST
Qualquer intervenção no seu aparecido deve ser realizada:
-querpelo seurevendedor,
-quer por othero profisional qualificado autorizo pelamarca.
Ao chamá-los, indique a referencia completeness do seu aparelho (modelo, tipo e número de série).
Estas informacoes figuram na placar de identificacao fixada no aparelho.
99636281_ML_A.qxp 25/07/2005 14:12 Page 45
NOTE
De Dietrich

FR 02
Dear Customer,
DE
Qualquer intervenção no seu aparecido deve ser realizada:
-querpelo seurevendedor,
-quer por othero profisional qualificado autorizzato pela marca.
Ao chamá-los, indique a referencia completeness do seu aparelho (modelo, tipo e número de série).
Estas informacoes figuram na placac de identificacao fixada no aparelho.
NL 6/SERVICEDIENST
Qualquer intervenção no seu aparecido deve ser realizada:
-querpelo seurevendedor,
-quer por othero profisional qualificado autorizo pelamarca.
Ao chamá-los, indique a referencia completeness do seu aparelho (modelo, tipo e número de série).
Estas informacoes figuram na placar de identificacao fixada no aparelho.
99636281_ML_A.qxp 25/07/2005 14:13 Page
NOTE
De Dietrich

FR 02
5/ANOMALIASDEFUNCTIONAMENTO 87
6/SERVICIO TECNICO 88
PARADA DE LA CAMPANA POSICION "OFF"
5 / ANOMALIÁS DE FUNCIONAMENTO
ES
Qualquer intervenção no seu aparecido deve ser realizada:
-querpelo seurevendedor,
-quer por othero profisional qualificado autorizzato pela marca.
Ao chamá-los, indique a referencia completeness do seu aparelho (modelo, tipo e número de série).
Estas informacoes figuram na placar de identificacao fixada no aparelho.
NL 6/SERVICEDIENST
Qualquer intervenção no seu aparecido deve ser realizada:
-querpelo seurevendedor,
-quer por othero profisional qualificado autorizo pelamarca.
Ao chamá-los, indique a referencia completeness do seu aparelho (modelo, tipo e número de série).
Estas informacoes figuram na placar de identificacao fixada no aparelho.
99636281_ML_A.qxp 25/07/2005 14:15 Page B9
NOTE
De Dietrich

FR 02
Cara/Caro CLIENTE,
DE 24
COLLEGAMENTO ELETTRICO
5 / ANOMALIE DI FUNZIONAMENTO
IT
Qualquer intervenção no seu aparecido deve ser realizada:
-querpelo seurevendedor,
-quer por othero profisional qualificado autorizzato pela marca.
Ao chamá-los, indique a referencia completeness do seu aparelho (modelo, tipo e número de série).
Estas informacoes figuram na placac de identificacao fixada no aparelho.
NL 6/SERVICEDIENST
Qualquer intervenção no seu aparecido deve ser realizada:
-querpelo seurevendedor,
-quer por othero profisional qualificado autorizzato pela marca.
Ao chamá-los, indique a referencia completeness do seu aparelho (modelo, tipo e número de série).
Estas informacoes figuram na placar de identificacao fixada no aparelho.
99636281_ML_A.qxp 25/07/2005 14:16 Page 11
NOTE
De Dietrich

FR 02
Geachte klant,
DE 24
Qualquer intervenção no seu aparecido deve ser realizada:
-querpelo seurevendedor,
Ao chamá-los, indique a referencia completeness do seu aparelho (modelo, tipo e número de série).
Estas informacoes figuram na placac de identificacao fixada no aparelho.
NL 6/SERVICEDIENST
Qualquer intervenção no seu aparecido deve ser realizada:
-querpelo seurevendedor,
-quer por othero profisional qualificado autorizo pelamarca.
Ao chamá-los, indique a referencia completeness do seu aparelho (modelo, tipo e número de série).
Estas informacoes figuram na placar de identificacao fixada no aparelho.
99636281_ML_A.qxp 25/07/2005 14:17 Page 133
NOTE
De Dietrich

FR 02
Acabou de adquirir um exaustor DE DIETRICH e gostaríamos de lhe agradecer desde ja a sua preferência.
EN 46
As{nossas equipas de investigacaoconceberamuma nova geração deaparelhos a pensar em si,quePGA sua qualidade,estetica, funcoes e evoluções Tecnologicas se tornam produits exceptionais, reveladores do nosso saber-fazer.
ES 68
O seu novo exaustor DE DIETRICH integra-se harmoniosamente na sua cozinha e alia perfeitamente os mais altos desempenhos de coze-dura com a faculdade de'utilização. Foi/DDso deseso oferecer-lhe um produits de excellência.
IT 90
Na gama de electrodométricos DE DIETRICH encontrará igualmente uma vasta seleção de artigos de encastrar, tais como fornos, microondas, placas de cozinha, fogões, miguiças de lavar louça e frigoríficos integraveis, que poderá combinar com o seu novo exaustor DE DIETRICH.
NL 112
No intuito permanente de satisfazer o melhor possivel as suas exigências em relação aos��ros produits, o"Ourso service de Apoio ao Consumidor encontrar-se, naturalmente, à sua disposicao e a sua escuta para responder a todas as suas perguntas ou sugestões (morada e n.° de telegramne no fim deste guia).
PT 134
Para mais informações de caractérutilecomplementaroupara tomar acontecimiento das{nossas mais recentes inovações, consulte o:.
noso sitewww.dedietrich-electromenager.com.
DE DIETRICH
Novos objectos de valor
Com a preocupaçao de melhorar constanmente os outros produits, reservamo-nos o direito de modifier as respectivas caracteristicas tecnicas, funcaoais ou estéticas por motivos ligados à sua evolucao.
Important:
7: Antes de por o aparelho a functionar, leia este guia de instalacao e de utilizesao com atencao para se familiarizar mais rapidamente com o seu functiimento.
www.dedietrich-electromenager.com
INDICE
PT
1 / INFORMAÇões DESTINADAS AO UTILIZADOR
- Instruções de segurarca 136
- Protecao do ambiente 137
- Descrição do aparecido 138
2 / INSTALLação DO APARELHO
- Utilização na versão de evacuação 139
- Utilização na versão de reciclagem 139
Ligaçao eletrica 140
Montagem do exaustor decorativo 141
Montagem da chaminé Evacuaçao exterior 142
^ 念 Reciclagem 143
3 / UTILIZACHO DO APARELHO
- Descrição dos comandos 144
- Selecao do tipo de placar 145
·Illuminação 146
Passagem para o modo automatico 146
Passagem para o modo manual 146
Paragem imediata em modo manual 147
Paragem diferida em modo manual 147 - Modificacao durante a paragem diferida 147
Paragem do exaustor na posicao "OFF" 148 - Saturação da Cassete 148
- Modo reciclagem 148
- Modo evacuação 149
- Saturação do filtró de carvão 149
Paragem automatica do ventilador 149 - Paragem automatica da iluminação 149
4 / MANUTENÇA O LIMPEZA DO APARELHO
- Limpeza dos filtros cassete 150
- Substituição do FILTER de carvão 150
- Limpeza da superficie exterior 151
- Substituicao da lampada 151
- Manutenção do exaustor 152
5/ANOMALIAS DE FUNCIONAMENTO 153
6/SERVIçoPOS-VENDA 154
PT 1/INFORMAÇOES DESTINADAS AO UTILIZADOR
mente com o aparelho. Se o aparelho for vendido oucedido a other persona, tenha o cuidado de remeter igualmente o guia de utilizesao. Antes de instalar e deutilizar o exaustor, tome conheicao dos presentes conselhos, poi these foram elaborados para a sua seguranca e a das otheras.
INSTRUÇÉS DE SEGURANÇA
-
Este exaustor foi concebido para uma utilização por particulares na sua Habitação.
-
A sua'utilisation deve ser efectuada porculos.
Assegure-se de que as crianças não mexem no aparecido e não outilizar como brinquedo. Assegure-se de que as crianças não manipulam os comandos do exaustor. - Quando receiveber o exaustor,(desembale-o ou mande-o desembalar imeditamente. Verifique o seu aspecto geral. Aponte as eventuais reservas por escrito na guia de remessa e guarde um exemplar da mesma.
- Este exaustor destiná-se a uma'utilisation dométrica normal. Não o utilize para fins commerciais ou industriais, nem para fins differsentes daqueles para os quais eles foram concebido.
- Não modifie nen tente modifier as caractécticas deste aparelho, País也是如此 representar um perigo para si.
- As reparações devem ser efectuadas exclusivamente por um técnico homologado.
- Desligue sempre o exaustor antes de proce
-Ventile conveniently a cozinha em caso de funciona simultaneo do exaustor com outros apareiros funcionando com fontes de energia differente da electricidade, isto para que o exaustor não aspire os gazes de combustao. - É interdita a realização, por baixo do exaustor, de receitas "flambé" ou de fazer acontecer os bicos de gás sem recipientes, (as chamas aspiradas são susceptíveis de deteriorar o
aparelho).
- As frituras efectuadas sob o aparelho devem ser alvo de una vigilência constante. O oleo e as gorduras aquecidas a temperatu- ras bastante elevadas poder incendiar-se.
- Respeite a frequência de limpeza e de substituição dos filtros. A Accumulação de gordura pode occasionar a deflagração de incêndios.
- Não é autorizzato o functimento por cima de um foco de combustível (lenha, carão, etc.).
- Nunca utilize aparehos a vapor ou de alta pressão para limpar o aparecido (requisitos relativos à segurarça electrica).
-Com a preocupaçao de melhorar constante-mente os)nossos produits, reservamo-nos o direito de modifieras respectivas caracteristicas Tecnicas,funcionais ou estéticas por motivos ligados à sua evolucao专业技术e. - Para no futuro encontrar fácilmente as referências do aparecido, aconseihamos a que as aponte na网页 "Serviço Pós-Venda e Relações com o Consumidor".
(Esta páginà también lhe indica onde encontrar as referencia no aparelho).
Atença No caso d
No caso de a cozinha ser aquecida com um aparheiro ligado a uma chamé (ex.: fogão de sala), é necessário instalar o exaustor na sua versão de reciclagem. Não utilize o exaustor sem os filtros cassete.
Dever-se-á prever uma ventilação adequada da cozinha sempre que o exaustor está utilizesimtaneamente comaparelhos queutilizam gás ou outro combustivel qualquer.
1 / INFORMAÇões DESTINADAS AO UTILIZADOR
PT
PROTEÇÃO DO AMBIENTE
-
Os materiais de embalagem deste aparelho são recicláveis. Por也是如此, participe na reciclagem dosleasedores contribuua,assim,para a protecção do ambiente,depositando-os nos contentores municipais previstos para esteefeito.
-
O seu aparelho contentem muito inumeros materiais reciclaveis. Por esta razão, está marcado com este símbolo a fim de lhe indicar que os aparhos usados não devem ser misturados com os restantes resíduos. A reciclagem dos aparhos organizada pelo fabricante está, poi, efetuada nas melhores condições, de acordo com a directa europeia 2002/96/CE sobre os resíduos de equipamentos electricos e electrónicos. Dirija-se à-camera municipal da sua residência ou ao seu revendedor para conhecer os pontos de recolha de aparhos usados, localizados mais perto da sua residência.
-Agradecemos, desde ja,a sua collaborationa na protecao do ambiente.
Atencao
A instalação do exaustor é reservada aos instaladores e tecnicos especializados.
Atenção
Antes da primeira'utilisation do filtró cassette, retire a pelúcia de proteção.
PT 1/INFORMAÇOES DESTINADAS AO UTILIZADOR
DESCRICAÇÃO DO APARELHO

A Orificios
B Chaminé
Campanula
Comandos
2 / INSTALLação DO APARELHO
PT
- O exaustor deve estar desligado durante a sua instalação ou em caso de intervenção.
- Verifique se a tensão da rede elétrica corresponde à tensão Mentionada na placá de caractéristicas situada no interior do exaustor.
- Se a instalacao eletrica da sua residencia necessitar de uma alteracao para a ligation do exaustor, contacte um electricista qualificado.
- Se o exaustor for utilizes na sua versao de evacuação, não o ligue a uma conduita de evacuação de fumes de combustão (caldeira, chamé, etc.) ou a umsysteme de ventilação meçânia controlada.
- A conduça de evacuação, está de que tipo for, não deve ir desembocar a águas furtadas.
- Instale o exaustor a uma distência minima de segurança de 70 cm em relação à placá de cozinha eletrica, a gás ou mista.
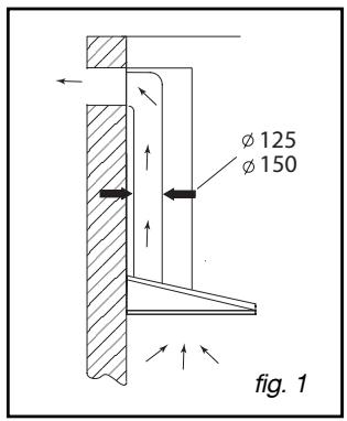
- UTILIZACAO NA VERSão DE EVACUACão
A sua instalacao possui uma saida para o exterior
(fig. 1)
O exaustor pode ser ligado a esta saida através de um tubo de evacuação (diámetro minimo de 125 mm, esmaltado, em aluminio, flexível ou em material não inflamçavel). Se o tubo tiver um diámetro inferior a 125 mm, passe obligatoriamente para o modo reciclagem.

- UTILIZAZão NA VERSão DE RECICLAGEM
A sua instalacao não possui saída para o exterior
(fig. 2)
Todoosnossoparemapellos tema possiblidadedefuncionarmodoreciclagem.
Neste caso, acrescente um FILTER de carvão activo que capta para os cheiros.
(Ver capítulo 4: substituição do FILTER de carvão.)

PT 2 / INSTALLação DO APARELHO
LIGAÇAO ELECTRICA
Durante a instalacao e as operacoes de manutencao, o exaustor deve ser desligado da corrente electrica e os fusiveis devem ser cortados ou retirados.
A ligaçao eletrica deve ser realizada antes de o aparelho ser instalado no armário.
Verificar se:
- a instalação tem uma potência suficiente,
- as linhas de alimentação está em bom estado,
- o diametro dos fios está conforme com as regras de instalacao.
Atença Este apare
Este aparelho é vendido com um cabo eletrico H 05 VVF de 3 condutores de 0,75mm^2 (neutro, fase e terra), devendo este ser ligado a uma rede monofásica de 220-240 V atraves de uma tomada eletrica normalizada CEI 60083, que, de acordo com a regras de instalação, deve ficar acessível antes a instalação.
Declinamos qualquer responsabilitadede casode acidente occasionado poruma ligaaoa terra inexistente ou Incorrecta.O fusivel da sua instalacao deve ser de 10 ou 16A.Se o cabo eletrico estiver danificado,contacte o service pos-venda a fim de evitar qualquer perigo.
Atença Se a instal
Se a instalacao eletrica da sua residencia necessitar de uma alteracao para a ligaao do exaustor, contacte um electricista qualificado.
Atença Se o exaus
Se o exaustor aparecer qualquer anomalia, desligue o aparelho ou retire o fusivel correspondente à LINHA de ligação do mesmo.
2 / INSTALLação DO APARELHO
PT
MONTAGEM DO EXAUSTOR DECORATIVO

Atença
A instalacao devestrupr os requisitos dos regulamentos em vigor para a ventilacao dos locais.Em Franca,estes regulamento sao indicados no DTU 61.1 do CSTB. Designamente, o ar evacuado nao devese enviado para una conduita realizada para a evacuationo de fumos de aparelhos a gas ouutilizingoodroscombustiveis.Autilizaço de tubos desaftadosso pode ser feitaaposacordo de um especialista competente.
A distência minima entre a placá de cozinha e a parte mais baixa do exaustor deverá ser de 70 cm. Se as instruções da placá de cozinha instalada sob o exaustor especificarem uma distência superior a 70 cm, esta deverá ser levada em consideração.
-
Faça um traco horizontal no minimo a 70 cm da placá de cozinha ou do fogão (A/fig.1).
-
Faça um traco vertical (B/fig.1) na parede, centrado em relação ao fogão ou a placá de cozinha e que váz do tecto às lo limito do traco horizontal anterior (A).
-
Recorte o Modelo de realização dos furos pela红线 pontilhada para obter 2 partes, C1 e C2 (fig.1).
-Coloque o Modelo C2 (fig.1) na parede de maneira a sobrepor o coisa que representa o eixo do exaustor sobre o coisa vertical B (fig.1) feito anteriorsme .
-Coloque o modelos C1 (fig.1) na parede, encostando-o ao tecto.
-
Faça os 6 furos. Fixe as 6 buchas.
-
Aperte osinous parafusos da parte de cima do exaustor (D/fig.1),deixando 5mm por aparafusar.
-Fixe o exaustor por meio dos 2 parafusos (D/fig.2).
-
Retire os filtros cassette (F/fig.3).
-
Aperte osinous parafusos da parte de baixo (E/fig.3).

Conselho
Antes de aparafusar totalmente os 4 parafusos D e E, ajuste o nível do exaustor.



PT 2 / INSTALLação DO APARELHO
MONTAGEM DA CHAMINÉ
- Evacuação exterior
- Coloque o suporte metalico da chaminé na parede, encoste-o ao tecto e fixe-o com osinous parafusos (fig.1).
-Monte a valvula de retencao na saida do motor (fig.2).Esta valvula de retencao permite obtruir a entrada de ar vindo do exterior. - Se possuir um tubo com 125mm de diametro, utilize o adaptordo fornecido (fig.3). Se o tubo exterior for inferior a 125~mm ,e obligatorio ligar o exaustor em modo de reciclagem.
- Encaixe a extremidade do tubo na safda do motor (fig.4).
- Prepare a chamételescópica, tendo o cuidado de dissimilar os orificios (fig.4). Encaixe ao máximo as chamínes uma dentro da outras.
- Fixe a parte superior da chaminé (B/fig.4) ao suporte metalico da mesa (A/fig.4), utilizingo osinous parafusos (G/fig.4).
- Ajuste o comprimento da chamételescópica baixando a parte inferior e encaixe-a no topo do exaustor.


A Suporte da chaminé
Chamételesópica
C Tubo
D Adaptador
E Valvula de retencion
F Saldadomotor
C Parafusos de fixação da chaminé

2 / INSTALLação DO APARELHO
PT
Reciclagem
- Retire a válvula de retenção (fig.1).
- Coloque o deflector plácico de fumos contra a parede, encoste-o ao tecto e fixe-o com osinous parafusos (fig.2).Nao se esquecer de centrar o deflector em relaço ao traco vertical feito na parede (fig.2).
- Encaixe uma extremidade do tubo no deflector e a outras extremidade na saida do motor (fig.3).
- Prepare a chamé, tendo o cuidado de deixar os orificios virados para cima, de modo a ficarem visíveis (B/fig.3).
- Fixe a parte superior da chaminé (C/fig.3) ao deflector de fumos (A/fig.3) com o auxilio dos dois parafusos (F/fig.3).
- Ajuste o comprimento da chamételescópica baixando a parte inferior e encaixe-a no topo do exaustor.


A Deflector de fumos
Orificios
Chamételesçopica
D Tubo
E Suporte do motor
F Parafusos de fixação da chaminé
Conselho Para uma uti
Para uma'utilisation ideal do exaustor, aconselhamos que a ligation sera efectuada a um tubo com 150~mm de diametro (vendido separamente). Limitar ao maximum o numero de cotovelos e o comprimento do tubo. Se o exaustor funciona com a evacuação exterior, convém assegurar-se da existência de uma entrada de ar exterior suficientemente grande para fazer colocar a cozinha em depressão.

PT 3 / UTILIZACHO DO APARELHO
- DESCRIÇÃO DOS COMANDOS


A Sinal luminoso de funciona automatico
B Sinal luminoso de funciona manual
Sinal luminoso de saturação da cassette e do FILTER de reciclagem.
Comando automatico ou comando "off"
Comando manual
Comando da luz e da variacao de intensidade luminosa
- Ligação eletrica
Aquando da ligação eletrica, o exaustor encontrar-se na posicao OFF.

Conselho
Este guia de instalacao e de utilicao é valido para diversos modelos,elo que é possivel que constate algumas��enias diferencas de detalhes e de equipamentos entre o seu exaustor e as presentes descriacoes.
3 / UTILIZACHO DO APARELHO
PT
- SELEÇÃO DO TIPO DE PLACA
Para seleccionar o seu tipo de plac, coloque o exaustor no modo OFF através de um leve toque no comando %
AUTO






Depois, prima longamente os botões ao mesmo tempo.
OsTRSinsaisluminosocomeamapiscar. Voltara premirbrevamente ocommando , de modo a que o numero de sinais luminosos correspondentes ao seu tipo de placase se acendam,deacordo como quadroabaixo:




Placa de Indução
Placa Vitroceramica
Placa a Gás
Placa mista inducao/gas
Placa com grelas em ferro fundido
Placa mista indução/vitrocerâmina



Para(valido) o seu tipo de plac, premir longamente o botao e os tres sinais luminosos apagam-se.






PT 3 / UTILIZACão DO APARELHO
- ILUMINACAO
Premir brevemento botao para acender a luzdo exaustor.
É possével alterar a intensidade da iluminação, premindo longamente o botão

PASSAGEM PARA O MODO AUTOMÁTICO
Prima longamente o botão %
O sinal luminoso "Auto" pisca e indica que o exaustor se encontrar efectivement no modo automatico.

PASSAGEM PARA O MODO MANUAL
O modo manual permite escolhermanualmente a velocidade de aspiracao do exaustor,compreendida entre 1 e 5.
Premir brevemento botao para obter a velocidade 1.
O sinal luminoso acende-se.
Cada vez que o botão é premido breve, a velocidade augente até 5 e um novo toque breve no botão可以使 voltar a velocidade 1.

3 / UTILIZACHO DO APARELHO
PT
PARAGEM IMEDIATA EM MODO MANUAL
Para parar o exaustor que se encontra em modo manual, prima brevemente o botão %. O exaustor para e o sinal luminoso apaga-se.

PARAGEM DIFERIDA EM MODO MANUAL
É possível obter a paragem diferida do exaustor quando thise se encontrar em modo manual. Para obter esta paragem diferida, premir longamente o botão
O sinal luminoso o meça então a piscar até o exaustar parar.
- MODIFICAÇÃO DURANTE A PARAGEM DIFERIDA
Se desejar usar o exaustor antes do fim da paragem diferida, prima brevamente o botão . O sinal luminoso para de piscar e permanece fixo.
É possível seleccionar de novo a velocidade pretendida.

PT 3 / UTILIZACão DO APARELHO
PARAGEM DO EXAUSTOR NA POSICAO "OFF"
O exaustor está no modo automatico e pretende-se desligá- lo.
Prima breve o botão %
O sinal luminoso "Auto" apaga-se.

SATURAÇÃO DA CASSETE
Quando o sinal luminoso se acende,ippo significica que as cassetes devem ser limpas (e possivel lavá-las na máquina de lavar louça).
Para desactivar a funcao "saturacao", prima longamente os botoes e ao mesmo tempo.
O sinal luminoso apaga-se.

- MODO RECICLAGEM
O exaustor está em reciclagem, por isto configu-gure-o para o modo reciclagem:
Premir longamente os botões % e ¶ ao mesmo tempo. O sinal luminoso acende-se ou começa a piscar.
Para estabelec o modo reciclagem, prima brevamente o botao para o sinal luminoso ficar aceso (a piscar).
Validate a configuração premindo o botão %.

3 / UTILIZACHO DO APARELHO
PT
- MODO EVACUÇÃO
O exaustor possui uma evacuação exterior, poriso configure-o para o modo evacuação:
Prima breve os botões % e aço mesmo tempo.
O sinal luminoso fica fixo ou a piscar.
Para estabelec o modo evacuação, prima brevamente o botão para o sinal luminoso ficar aceso (sem piscar).
Para alterar esta configuraçao, premir breve-mente o botao e o sinal luminoso muda de estado. Para confirmar a nova configuraçao, prima o botao %.

- SATURAÇÃO DO FILTRO DE CARVÃO
Se quando o exaustor está em modo reciclagem, o sinal luminoso piscar,ippo significaca que é necessario mudar o filtro de carvão (aconselhamos que mude os filtros de 6 em 6 vezes).
Para apagar o sinal luminoso , prima longamente as teclas e ao mesmo tempo.
O sinal luminoso para de piscar.

PARAGEM AUTOMÁTICA DO VENTILADOR
Se se esquecer de desligar o exaustor, este parará automaticamente après 9 horas de func. ionamento. O exaustor passa para o modo OFF.
PARAGEM AUTOMÁTICA DA ILUMINAÇÃO
4 / MANUTENÇÃO E LIMPEZA DO APARELHO
Atenção
Desligue o aparelho, antes de proceder à sua limpeza e manutenção. Uma manutenção períddica do aparelho é uma garantia para o seu devido funciona, bom rendimento e durabilitad.
Atença
O não cumprimento das instruções de limpeza do aparelho e dos filtros pode provocar incéndios. Respeite absolutamente as instruções de manutenção.
- LIMPEZA DOS FILTROS CASSETE
Os filtros cassete devem ser limpos après 30 horas de'utilisation ou no minimum uma vez por mês. A sua limpeza pode ser efectuada na区内aquina de lavar louça (colocados na vertical).
Lave-os com uma escova, agua quente e um detergente suave. Passe-os por agua e seque-os cuidadosamente antes de os voltar a instalar.
- Desmontagem do filtro cassete (fig.1)
-
Rode a pega integrazione doattro cassette.
-
Oscile o filtro cassette para baixo.

- SUBSTITUÇÃO DO FILTRO DE CARVÃO
Substitua o FILTER de carvão antes 120 horas de utilizesao aproximamente.
- Retire os filtros cassette (fig.2).
- Coloque o filtro de carvão sobre o filtro cassete na parte interna do exaustor.
- Encaixe as 2 barras de mantimento emondheim os lados do futuro cassete.
- Faça está的操作ação em todos osirosfiltros cassete.

4 / MANUTENÇÃO E LIMPEZA DO APARELHO
PT
- LIMPEZA DA SUPERFÍCIE EXTERIOR
Para limpar a parte exterior do exaustor, utilize agua com um detergente suave diluido, mas não utilize cremes abrasivos nem o esfregao das esponjas.
- SUBSTITUÇÃO DA LÁMPADA
Atenção
Antes de efectuar qualquer intervencao, deslige o exaustor da corrente electrica, quer retirando a ficha da tomada, ou actionando o disjuntor.
Modelo com lampada de halogeneo
- Retire o vigia de illuminação (fig.1).
-Mude a lampada de halogeneo G4-20W12V.
-Torne a instalar todos os elementos, efectuando as operacoes no sentido inverso.

PT 4/MANUTENÇÃO E LIMPEZA DO APARELHO
Atenção
Antes de efectuar qualquer intervencao, deslige o exaustor da corrente electrica, quer retirando a ficha da tomada, ou actionando o disjuntor.
- MANUTENÇÃO DO EXAUSTOR
| MANUTENÇÃO | COMO PROCEEDER | PRODutos/ACCESSORIOS A UTILizar |
| Campânula e acessórios | Nunca utilize esfregões metálicos, produits abrasivos ou escovas demasiado duras. | Para limpar a parte exterior e o viga de illuminação, utilize exclu-samentecks农产品 de limpeza dométricos vendidos no comércio diluidos em água, em seguida enchágue com água limpa e seque com um pano macio. |
| Filtro cassete | Este filtro absorve os vapeores gordurosos e as poeiras. Este elemento desempenha uma importante funcão na eficácia do exaustor. Se houver manchas persistentes, utilize um detergente creme não abrasivo e passe por água limpa. | Com um produto de limpeza dométrico vendido no comércio, em seguida enchágue e seque. A sua limpeza pode ser efetuada na区内a inadeva de lavar loiça colocações na vertical. (Não pôr em contacto com loiça suja ou talheres de prata) |
| Filtro de carvão activo | Este filtró absorve os cheiros e delve ser substituído pelo menos todos os anos em funcão da sua'utilização. Encomende filtros no seu reven-dedor (atraves da referência indi-cada na placac de characteristicssituada dentro do exaustor) e anote a data de substituição. |
Para preservar o seu aparelho, recomendamos a utilização de produits de limpeza Clearit.

A mestria dos professionais ao service dos particulares
A Clearit propoe-lhe produits professionais e soluções adequadas para a limpeza diária dos seušs electrodomésticos e da sua cozinha.
Encontre no seu revendedor habitual os diversos produits esta marca bem como uma vasta gama de acessórios e consumíveis.
5 / ANOMALIAS DE FUNCIONAMENTO
PT
| SINTOMAS | SOLUTIONES |
| O exaustor não funciona... | VerIFICAR se: • não há nenhum corte de electricidade. • FOI realmente selecionada uma velocidade. |
| O rendimento do exaustor é insufiente... | VerIFICAR se: • a velocidade selecionada do motor é suficiente para a quantidade de fumo e de vapor libertada. • a ventilação da cozinha é suficiente para permitir a tomada de ar. • o FILTER de carvão não está gasto (exaustor na versão de reciclagem) |
| O exaustor parou durante o seu funciona. | VerIFICAR se: • não há um corte de electricidade. • o dispositalo de corte ominoplar não se acti-vou. |
DE 6/KUNDENDIENST
Qualquer intervenção no seu aparecido deve ser realizada:
-querpelo seurevendedor,
-quer por othero profisional qualificado autorizzato pela marca.
Ao chamá-los, indique a referencia completeness do seu aparelho (modelo, tipo e número de série).
Estas informacoes figuram na placac de identificacao fixada no aparelho.
NL 6/SERVICEDIENST
Qualquer intervenção no seu aparecido deve ser realizada:
-querpelo seurevendedor,
-quer por othero profisional qualificado autorizzato pela marca.
Ao chamá-los, indique a referencia completeness do seu aparelho (modelo, tipo e número de série).
Estas informacoes figuram na placar de identificacao fixada no aparelho.
99636281_ML_A.qxp 25/07/2005 14:18 Page 155
ManualFácil