DHD556ZE1 - Cappa da cucina DE DIETRICH - Manuale utente e istruzioni gratuiti
Trova gratuitamente il manuale del dispositivo DHD556ZE1 DE DIETRICH in formato PDF.
Questions des utilisateurs sur DHD556ZE1 DE DIETRICH
0 question sur cet appareil. Repondez a celles que vous connaissez ou posez la votre.
Poser une nouvelle question sur cet appareil
Scarica le istruzioni per il tuo Cappa da cucina in formato PDF gratuitamente! Trova il tuo manuale DHD556ZE1 - DE DIETRICH e riprendi in mano il tuo dispositivo elettronico. In questa pagina sono pubblicati tutti i documenti necessari per l'utilizzo del tuo dispositivo. DHD556ZE1 del marchio DE DIETRICH.
MANUALE UTENTE DHD556ZE1 DE DIETRICH
D Mando automatico o mando "off"
B Piloto funcionamanual
E Mando manual
Ha appena acquistato una cappa DE DIETRICH e per ciò La ringrażiamo.
EN 46
Il nostro gruppo di ricerca ha studiato per lei una nuova generatione di elettrodomestici, che per la loro qualità, il loro design, le loro funzioni e ed evoluzioni technologiche sono da considerarsi prodotti eccezionali frutto di una conoscenza unica.
ES 68
La sua nuova cappa DE DIETRICH si integra armoniosamente nella sua cucina e combina perfettamente prestazioni straordinarie allafacilityàdi uso. Abbiamo voluto offrirle un prodotto di eccellenza.
NL 112
Troverà inoltre nella gamma dei prodotti DE DIETRICH, un'ampia scelta di fornì, fornì a microonde, piani cottura, cucine a gas, lavastoviglie e frigoriferi che potr'à integrare e coordinare con la sua nuova cappa DE DIETRICH.
PT 134
Nella costante preoccupazione di soddisfare al meglio le sue esigenze nei confronti dei nostri prodotti, il nostro servizio consumatori è oviamente a sua disposizione per rispondere a qualsiasi domanda e per ascabtare i suggerimenti (indirizzi e numero in fondo al libretto).
Visitando il nostro sito www.dedietrich-electromenager.com trovera tutte le informazioni utili e complementari relative ai nostri prodotti.
DE DIETRICH
I nuovi oggetti di valore
Al fine di migliorare costamente i nostri prodotti, ci riserviamo il diritto di apportare le modi fiche tecniche, funzionali o estetiche necessarie alla loro evoluzione.
Important:
Prima di usare il suo elettrodomestico per la prima volta, raccomandiamo di leggere con attenzione il manuale per l'installazione e l'utilizzo per prendere dimestichezza più rapidamente col suo funzionamento.
www.dedietrich-electromenager.com
SOMMARIO
IT
1/ALLATTENZIONE DELL'UTENTE
Prescrizioni di sicurezza 92
- Tutela dell'ambiente 93
- Descrizione dell'apparecchio 94
2 / INSTALLAZIONE DELL'APPARECCHIO
- Utilizzo in versione evacuazione 95
Utilizzato in versione ricircolo 95 - Collegamento elettrico 96
Montaggio della cappa 97
Montaggio del camino Evacuatione esterna 98
^ Ricircolo 99
3 / UTILIZZO DELL'APPARECCHIO
- Descrizione dei comandi 100
- Selezione del tipo di piano cottura 101
- Illuminazione 102
Passaggio alla modalità automatica 102
Passaggio alla modalità manuale 102 - Spegnimento immediato in modalità manuale 103
- Spegnimento ridardato in modalità manuale 103
Modifica durante lo spegnimento ridardato 103 - Spegnimento della cappa in posizione "OFF" 104
- Saturazione cassette 104
- Modalità ricircolo interno 104
- Modalità evacuazione 105
- Saturazionechio a carbone 105
- Spegnimento automatico ventilatore 105
- Spegnimento automatico illuminazione 105
4 / MANUTENZIONE E PULIZIA DELL'APPARECCHIO
Pulizia dei filtri cassetta 106
- Sostituzione del filtro carbone 106
·Pulizia della superficie esterna 107
- Sostituzione della lampadina 107
- Manutenzione dell'apparechchio 108
5/ANOMALIE DI FUNZIONAMENTO 109
6/SERVIZIO POST VENDITA 110
IT 1/ALL'ATTENZIONE DELL'UTENTE
Importante Conservi queste istruzioni insieme al suo apparecchio. Se l'apparechio dovesse essere venduto o ceduto ad altre persone, assicurarsi che sua accompagnato delle sue istruzioni. La preghiamo di leggere attendamente quosti consigli prima di installare e utilizzare il suo apparecchio. Sono stati redatti per la sicurezza sua e di chi le sta intorno.
PRESCRIZIONI DI SICUREZZA
- Questo appearecchio è stato concepito per un impiego non professionale all'interno di normali abitazioni.
-L'apparecchio deveseissereutilizzatoesclusi vamente da persone adulte.
Faccia in modo che i bambini non vi possano accedere o utilizzato come un giocattolo. Si assicuri che i bambini non possano toccare i comandi dell'apparecchio.
-Al momento del ricevimento, apra immedi- tamente l'imballo dell'apparecchio e verifichi il suo aspetto complessivo. Esprima eventuali riserve per iscritto sulla distinta di trasporto di cui conserverà una copia.
-L'apparecchio è destinato ad un uso domestico normale. Non delve essere utilizzato a fini commerciali o industriali, o altri scopi se non quelli per cui è stato progettato.
- Non modificare o tentare di modificare le caratteristiche dell'apparecchio perché ciò potrebbe rappresentare un rischio per la sua persona.
-Le riparazioni devono essere effettuate esclusivamente da un technician autorizzato.
- Scollegare sempre il cavo della cappa prima di procedere alla sua pulizia o manutenzione.
- Provveda ad areare correttamente la stanza in caso di uso simultaneo della cappa ad altri appearecchi alimentati da另一tra fonte di energia che non sua quella elettrica. Ciò eviterà che la cappa aspiri gas di combustione.
- É vietato cuocere pietanze al flambé oppure far funzionare i fornelli gasenza ricoprirli con pentole al di sotto della cappa (le fiamme aspi-rate rischierebbero di deteriorare l'apparecchio).
-Le frutture effettuate除去 l'apparecchio devono essere sorvegliate costamente.
Gli oli e i grassi ad altissime temperature posso- sono prendere fuoco.
-Rispettare la frequenza di pulizia e di sostituzione dei filtri consigliata. L'accumulo di depositi di grasso cui provocare incendi.
-Non e permesso l'uso della cappa sopra ad un fuoco prodotto da legno o carbone.
-Non è permesso utilizzato apparecchi a vapore o ad alta pressione per la pulizia del'apparecchio (norme relative alla sicurezza elettrica).
-Nel costante tentativo di migliorare i nostri prodotti, ci riserviamo il diritto di apportare qualsiasi modifica alle loro caratteristiche tec-niche, funzionali o estetiche, paralleamente all'evoluzione tecnica.
Per ritrovare disponibile in futuro i codici di prodotto dell'apparecchio, le consiglio di annotarli nella pagina "Servizio post-vendita e relazioni consumatori".
(Questa pagina le spiegheraanche dove trovare i codici sull'apparecchio).
Attenzione In caso di cui
In caso di cucina riscaldata con un apparecchio collegato ad un camino (ad es: stufa cucina economica) occorre installare la cappa in versione ricircolo interno. Non utilizzate la cappa alla i filtri metallici. Una ventilazione corretta della stanza va prevista quando una cappa da cucina è utilizzata simultaneamente ad apparecchi che utilizzato gas o un'alto combustibile.
1/ALL'ATTENZIONE DELL'UTENTE
IT
TUTELA DELL'AMBIENTE
- I materiali utilizzati per l'imballaggio di quello apparecchio sono riciclabili. Partecipate al loro riciclaggio e contribuire in tal modo alla tutela dell'ambiente gettandoli negli appositi contentitori previsti a tal scopo.
-
Il vosto appearecchio contieneanche parecchi materiali riciclabili.Riporta pertanto thiso logo, che sta ad indicare che gli elettrodomestici usati non vanno mischiati con altri rifiuti. Il risciclaggio degli elettrodomestici che il vosto costruttore organizza verrareosi effettuato nelle migliorioni condizioni, conformmente alla direttiva europea 2002/96/CE sui rifiuti di appearecchiature elettriche ed elettroniche. Rivolgetevi al vosto Comune o al vosto rivenditore per conoscere il punto di raccolta per apparecchi usati più vicino a casa vostra.
-
Vi ringraziamo per il vostro contributo alla tutela dell'ambiente.
Attenzione
L'installazione deve essere effettuata da installatori e personale qualificato.
Attenzione Al primo utiliz
Al primo utilizzato del filtro cassetta, togliete la pellicola di protezione.
IT 1/ALL'ATTENZIONE DELL'UTENTE
DESCRIZIONE DELL'APPARECCHIO

A Presedaria
C Copertura
B
Camino
D
Comandi
2 / INSTALLAZIONE DELL'APPARECCHIO
IT
- L'apparecchio deve essere scollegato durante l'installazione o in caso di intervento.
-
Verificare che la tensione della rete elettrica corrisponda alla tensione riportata sulla targhetta all'interno della cappa.
-
Se l'impianto elettrico della sua abitazione richiede una modifica per il collegamento del suo appearecchio, si rivolga ad un elettricista qualificato.
- Se la cappa è utilizzata in modalità evacuazione, non colleghi l'apparecchio ad un condotto d'évacuation per fumi di combustione (caldaia, camino, ecc...) o ad un sistema di aerazione meccanica.
- In qualsiasi caso il condotto d'evacuation non deve uscire sul fatto.
- Installare la cappa ad una distanza di sicurezza di almeno 70 cm dal piano di cottura elettrico, a gas o misto.
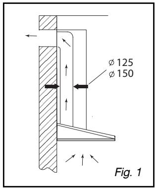
- UTILIZZO IN VERSIONE EVACUAZIONE
Uscita verso l'esterno
(Fig. 1)
La sua cappa può essere collegata a tale uscita mediante un condotto di evacuatione (diam. min. 125~mm smaltata, in alluminio, flessibile o in materiale non infiammabile). Se il condotto è inferiore a 125~mm di diametro, bisogna passare obbligatoriamente alla modalità ricircolo.

- UTILIZZO IN VERSIONE RICIRCOLO
Senza uscita verso l'esterno
(Fig. 2)
Tutti i nostri appearecchi hanno la possibilità di funzionare in modalità ricircolo interno.
In quello caso,aggiungete unattro al carbone attivo che tratterrà gli odori.
(Vedi Capitolo 4: Sostituzione del filtro carbone.)

IT 2 / INSTALLAZIONE DELL'APPARECCHIO
Durante l'installazione e le fasi di manutenzione l'apparecchio deve essere scollegato e i fusibili devono interrotti o staccati.
L'allacciamento elettrico va effettuato prima della collocazione dell'apparecchio nel mobile.
Verificare che:
- la potenza dell'impianto sua sufficiente,
- i cavi di alimentazione siano in buono stato,
- il diametro dei fili sia conforme alle normativede l'impianto.
Attenzione L'apparecchi
L'apparecchioiene consecnato con un cavo d'alimentazione H 05 VVF a 3 conduttori di 0,75mm^2 (neutro, fase e terra). Va collegato ad una rete di 220-240 V monofasica tramite presa di corrente normalizzata CEI 60083 che deve restare accessibile除去 l'installazione, conformmente alle normative dell'impianto.
In caso di incidente consequences a mancata messa a terra la nostra responsabilità non è coinvolta Il fusibile per l'installazione deve essere di 10 o 16 A. Se il cavo di alimentazione è danneggiato, chiamate il servizio post-vendita onde evitare eventuali rischi.
! Attenzione Se l'impianto
Se l'impiano elettrico della sua abitazione richiede una modifica per il collegamento dell'apparecchio, rivolgersi ad un elettricista qualificato.
Attenzione
Se la cappa presenta una qualsiasi anomalia scollegare l'apparecchio o eliminare il fusibile corrispondente alla linea di collegamento dell'apparecchio.
2 / INSTALLAZIONE DELL'APPARECCHIO
IT
- MONTAGGIO DELLACAPPA
Attenzione
L'installatione deve essere conforme alla normativa in vigore per la ventilazione dei locali. In Francia tale normativa è indica nel DTU 61.1 del CSTB. Nello specifico l'aria evacuata non può ritornare in un condotto utilizzato per evacuire fumi di apparecchi a gas o altri combustibile. L'utilizzo dei condotti adibiti ad altre uso può avvenir soltantoto dopo parere positivo di un technician competente.
La distanza minima tra il piano di cottura e la parte più Bassa della cappa deve essere di 70~cm . Se le istruzioni del piano di cottura installato sotto la cappa specificano una distanza superiore di 70~cm , va presa in considerazione quest'ultima.
- Tracciare un segno orizzontale ad almeno 70 cm dal piano cottura (fig.1).
- Tracciare un segno verticale (B/fig.1) sul muro, concentrato rispetto al piano di cottura e che parte dal soffitto e arrivata al segno orizzontale precedente (A).
- Tagliare la sagoma di perforazione secondo la punteggiatura individata, in modo da ottenere due parti, C1 e C2 (fig.1).
- Posizione are la sagoma C2 (fig.1) sul muro sovrapponendo il fatto che rappresenta l'asse della cappa al fatto verticale B (fig.1) tracciato in precedenza.
-Posizionare la sagoma C1 (fig.1) contro il muro e nel corrispettivo contro il soffitto. - Praticare 6 fori. Inflate i 6 tasselli.
-Avvitare le due viti dall'alto della cappa. lasciandole spuntare per 1 mm. - Appendere la cappa aspirante alle due viti (fig.2).
- Togliere i filtri cassetta (F/fig.3).
- Avvitare le due viti dal basso (E/fig.3).



@ Consiglio
Prima di serrare completeness le 4 viti D e E, regolare il livello della cappa.
IT 2 / INSTALLAZIONE DELL'APPARECCHIO
- MONTAGGIO DEL CAMINO
Evacuatione esterna
- Fissare contro il muro in appoggio sul soffitto, il supporto del camino in metallo mediante le due viti (fig.1).
-Montare la valvola di non ritorno sull'uscita del motore (fig.2).Tale valvola di non ritorno permette di ostruire l'ingresso d'aria che proviene dall'esterno.
-In caso di condotto con diametro superiore a 125 mm,utilizzare l'adattatore in dotazione (fig.3).
Se il condotto esterno è inferiore a 125 mm, è obbligatorio collegare la vostra cappa in modalità ricircolo.
-Incastrare l'estremita del condotto sull'uscita motore (fig.4)
- Prepare il camino telescopico avendo cura di nascondere le prese d'aria (fig.4).
Inserire i camini l'uno dentro l'altro il più possibile.
- Fissare la parte superiore del camino (B /fig.4) al supporto camino metallico (A/fig.4) con le due viti (G /fig.4).
- Aggiustare la lunghezza del camino telescopico facendo scendere la parte inferiore e inserendola nella parte superiore della cappa.


A Supporto camino
B Camino telescopico
C Condotto
D Adattatore
E Valvola di non ritorno
F Uscita motore
G Viti di sostegno del camino

2 / INSTALLAZIONE DELL'APPARECCHIO
IT
Ricircolo
- Togliere la valvola di non ritorno (fig.1).
- Fissare contro il muro, appoggiandolo sul soffitto, il deflettore plastico del fumo con le due viti (fig.2). Centrare il deflettore rispetto al segno verticale tracciato sul muro (fig.2).
-Incastrare un'estremita del condotto sul deflettore e l'altra estremita sull'uscita motore (fig.3) - Prepare il camino ponendo le prese d'aria.
verso il basso in modo che siano visibili (fig.3). - Fissare la parte superiore del camino (C/fig.3) sul deflettore del fumo (A/fig.3)con le due viti (F/fig.3).
- Aggiustare la lunghezza del camino telescopico facendo scendere la parte inferiore e inserendola nella parte superiore della cappa.

Fig. 1

A Deflettore del fumo
B Présé d'aria
C Camino telescopico
D Condotto
E Supporto motore
F Viti di sostegno del camino
Consiglio Per un utilizzo ottimale del suo apparecchio, le consigliamo l'allciamento ad un condotto diametro 150~mm (non in dotazione). Limitare al massimo il numero di gomiti e la lunghezza del condotto. Nel caso in cui la cappa funzioni in evacuatione esterna, è miglior garanti un ricambio di aria fresca sufficiente per evitare di abbassareccessamente la pressione della stanza.

IT 3 / UTILIZZO DELL'APPARECCHIO
- DESCrizIONE DEI COMANDI


Consiglio Questo mar
A Spia funzionamento automatico
Spia funzionamento manuale
Spia saturazione cassetta e filtrodi ricircolo
Comando automatico o Comando "OFF"
Comando manuale
F Comando luce e variazione dell'intensita luminosa
- Accensione
All'accensione la cappa è in posizione OFF.
Questo manuale d'installazione e d'utilizzo è valido per più modelli. E' possibile che ci siano delle lievi differenze di dettagli e di dotazioni tra il suo appearecchio e le descrizioni presentate.
3 / UTILIZZO DELL'APPARECCHIO
IT
- SELEZIONE DEL TIPO DI PIANO DI COTTURA
Per selezionare il suo tipo di piano di cottura,mettere la cappa in modalità OFF premendo il pulsante %
AUTO







Poi effettuare una pressione simultanea e prolongata dei tasti e
Le tre spiè si metteranno a lampeghiare.
Premere nuovamente il tasto in modo da ottenere il numero di spie accese che corrispondono al suo tipo di piano di cottura, secondo la tabella che segue.






Piano cottura a induzione
Piano cottura in vetroceramica
Piano cottura a gas
Piano cottura combinato gas/elettrico
Piano cottura a piastre in ghisa
Piano cottura combinato induzione/vetro


















Per confermare il piano di cottura corretto, premere a lungo su e le tre spie si spe-gneranno.
AUTO







IT 3 / UTILIZZO DELL'APPARECCHIO
- ILLUMINAZIONE
Premere brevamente il tastingo per accen-dere la lampadina della cappa.
E' possible modificare l'intensità dell'illumina-zione tenendo premuto

PASSAGGIO ALLA MODALITA AUTOMATICA
Premere a lungo %
La spia "Auto" lampeggia e indica che la cappa è in modalità automatica.

PASSAGGIO ALLA MODALITA MANUALE
La modalità manuale permette di scegliere la velocità di aspirazione della cappa da 1 a 5, manualmente.
Premere brevamente per andare alla velocità 1.
La spia si accende.
Ogni ulteriore breve pressione del tasto fa augmentare la velocità fino a 5 e una nuova pressione del tasto permette di ritornare alla velocità 1.

3 / UTILIZZO DELL'APPARECCchio
IT
- SPEGNIMENTO IMMEDIATETO IN MODALITA MANUALE
Per spegnere la cappa in modalità manuale, premere brevamente il tasting.
La cappa si arrresta e la spia si spelne.

- SPEGNIMENTO RITARDATO IN MODALITA' MANUALE
E' possible far partire lo specnimento ritardato della cappa quando si è in modalità manuale.
Una pressione prolongata del tasto permette di ottenerere quello spegnimento ridardato.
In tal caso la spia lampeggera fino allo spegnimento della cappa.
La cappa si spegne automaticamente durante 10 min. di funzionamento.


- MODIFICA DURANTE LO SPEGNIMENTO RITARDATO
Se desidera utilizzato la sua cappa prima della fine dello spegnimento ridardato, prema brevemente il tasting : la spia smetterà di lampeggiare e restera accesa fissa.
E' possible scegliere nuovamente la velocità desiderata.


IT 3 / UTILIZZO DELL'APPARECCHIO
- SPEGNIMENTO DELLA CAPPA IN POSIZIONE "OFF"
Se si è in modalità automatica e si desidera spegnere la cappa.
Premere breve il tasting %
La spia "Auto" si spegne.

SATURAZIONE CASSETTE
Quando la spia si accende, vuol dire che le cassette devono essere pulite (possono essere lavate in lavastoviglie).
Premere contemporaneamente e per sbloccare la funzione "saturazione".
La spia si spelne.


- MODALITA RICIRCOLO INTERNO
La sua cappa è in ricircolo, per configurarla in modalità ricircolo, premere a lungo contemporaneamente % e .La spia è accesa o lampeggia.
Per configurare la modalità ricircolo interno premere per avere la spia accesa (lampeggiante).
Confermare la configurazione premendo %


3 / UTILIZZO DELL'APPARECCHIO
IT
- MODALITA EVACUAZIONE
La sua cappa possie de un'evacuazione esterna, per configurarla in modalità evacuatione.
Premere contemporaneamente % e
La spia è accesa o lampeggia.
Per configurare la modalità evacuatione pre-mere brevamente per accendere (non lampeggiante) la spia
Per modificare tale configurazione, premere brevamente il tasto e la spia cambiera. Per confirmare la nuova configurazione, premere %

SATURAZIONE FILTRO A CARBONE
In caso di modalità ricircolo内的o. La spia lampeggia,indicando che bisogna sostituire il filtrato a carbone (consigliamo di sostituirlo agli 6 mesi).
Per spagnere la spia , premere a lungo i tasti e contemporaneamente.
La spia smettera di lampeggiare.

- SPEGNIMENTO AUTOMATICO VENTILATORE
Se si dimentica di spegnerla, la sua cappa si spegnerà dopo 9 ore di funzionamento, passando in modalità OFF.
- SPEGNIMENTO AUTOMATICO ILLUMINAZIONE
Se si dimentica di spegnere la luce esta si spegnerà automaticamente dopo 9 ore di funzionamento.
IT 4/MANUTENZIONE E PULIZIA DELL'APPARECCHIO
Attenzione
Scollegare l'apparecchio prima di procedere alla manutenzione e la pulizia dell'apparecchio. Una regolare manutenzione del suo apparecchio è una garanzia di buon funzionamento, buon rendimento e di durata.
Attenzione
Il mancato rispetto delle istruzioni di pulizia dell'apparecchio e dei filtri cui provocare incendi. E' quindi importante rispetto scrupolosamente le norme di manutenzione.
PULIZIA DEI FILTRI CASSETTA
I filtri vanno puliti anni 30 ore di utilizzo circa o una volta al mese minimo. Tale pulizia più essere effettuata alla lavastoviglia in posizione verticale.
Utilizzare un spazzola, acqua calda e un detergente delicato. Sciacquare e asciugare accuratamente i filtri prima di riposizionarli.
- Smontaggio del filtro cassetta (Fig. 1)
- Girare la manopola integrata del filtro cassetta.
-Fare scendere il negro cassetta versus il basso.

SOSTITUZIONE DEL FILTRO CARBONE
Sostituire agli 120 ore di utilizzo circa.
- Togliere i filtri cassetta (fig.2).
- Posizione ilhetto carbone sulla cassetta nel dato interno della cappa.
-Incastrare i 2 tiranti di sostegno su agli latodelchio cassetta. - Effettuare tale operazione su tutti i filtri cassetta.

Fig. 2
4 / MANUTENZIONE E PULIZIA DELL'APPARECCHIO
IT
PULIZIA DELLA SUPERFICIE ESTERNAT
Per la pulizia esterna della cappa utilizzato acqua e sapone e non creme detersive o spugne abrasive.
SOSTITUZIONE DELLA LAMPADINA
Attenzione Prima di effettuare qualiasi intervento spagnere la cappa togliendo la presa oppure azionando l'interruttore.
Modello con lampadina alogena
Togliere la base (Fig.1).
-Sostituire la lampadina alogena G4 - 20W -12W.
Ripositionare il gruppo effettuatinge le operazioni in senso inverso.

IT 4 / MANUTENZIONE E PULIZIA DELL'APPARECCHIO
Attenzione
Prima di effettuare qualiasi intervento spegnere la cappa togliendo la presa oppure azionando l'interruttore.
- MANUTENZIONE DELL'APPARECHHIO
| MANUTENZIONE | COME PROCEDURE | PRODOTTI/ACCESSORI DA UTI-LIZZARE |
| Copertura e accessori | Non utilizzato mai spugne metal-liche, prodotti abrasivi o spazzo-le troppo dure. | Per pulire le parti metalliche e l'oblo di illuminazione utilizzato esclusivamente detergenti per uso domestico in commercio diluiti in acqua, sciacquare con acqua corrente e asciugare con un panno morbido. |
| Filtro cassetta | Questo filtrato trattiene i vapori grassi e la polvere. E' l'elemento principale che garantisce l'efficac-cia della Vostra cappa.In caso di macchie persistenti, uti-lizzare una crema non abrasiva e risciacquare con acqua corrente. | Con un detergente per uso domestico in commercio, risciac-quate poi abbondamente ed asciugate. Tale pulizia può effettuata alla lavastoviglia in posizione verticale.(Non mettere in contatto stoviglia sporche o coperti in argento.) |
| Filtro in carbone attivo | Questo filtrato trattiene gli odori e delve essere sostituito almeno agli anno in funzione dell'utilizzo.Ordrinare quetti filtri presso il rivenditore di fiducia (riportando il codice indicate sulla targhetta situata all'interno della cappa) e annotare la data di sostituzione. |
Per preservare il suo appearecchio, le consigliamo di utilizzato prodotti di manutenzione Clearit.

L'esperienza dei professionisti al servizio dei privati
Clearit propone prodotti professionali e soluzioni adatte alla manutenzione quotidiana del suo elettrodomestici e della cucina.
Li troverà in vendita presso il suo rivenditore di fiducia insieme alla linea di prodotti accessori e consumabili.
| SINTOMI | SOLUZIONI |
| La cappa non funzio... | Verificare che: • non c'è interruzione di corrente. • è stata selezionata una velocità. |
| La cappa ha un rendimento scarso... | Verificare che: • La velocità motore selezionata è sufficiente per la quantità di fumo e di vapori liberata. • La cucina è sufficientemente areata per permettere una presa d'aria. • Ilhetto a carbone non è consumato (cappa in versione ricircolo). |
| La cappa si è spenta nel corso del normale funzionamento. | Verificare che: • non c'è interruzione di corrente. • il disposativo di interruzione onnipolare non è scattato. |
DE 6/KUNDENDIENST
-quer por及其他 profisional qualificado autorizzato nella marca.
ManualeFacile