DHD556ZE1 - Dunstabzugshaube DE DIETRICH - Kostenlose Bedienungsanleitung
Finden Sie kostenlos die Bedienungsanleitung des Geräts DHD556ZE1 DE DIETRICH als PDF.
Questions des utilisateurs sur DHD556ZE1 DE DIETRICH
0 question sur cet appareil. Repondez a celles que vous connaissez ou posez la votre.
Poser une nouvelle question sur cet appareil
Laden Sie die Anleitung für Ihr Dunstabzugshaube kostenlos im PDF-Format! Finden Sie Ihr Handbuch DHD556ZE1 - DE DIETRICH und nehmen Sie Ihr elektronisches Gerät wieder in die Hand. Auf dieser Seite sind alle Dokumente veröffentlicht, die für die Verwendung Ihres Geräts notwendig sind. DHD556ZE1 von der Marke DE DIETRICH.
BEDIENUNGSANLEITUNG DHD556ZE1 DE DIETRICH
DE BETRIEBSANLEITUNG
EN GUIDE TO INSTALLATION
Dekor-Dunstabzugshaube
Decorative Hood
Campana extractora decorativa
Cappa arredamento
Designafzuigkap
Exaustor decorativo
De Dietrich


FR 02
Lieber Kundin, lieber Kunde,
DE 24
Sie haben soeben eine DE DIETRICH Dunstabzugshaube erworben, und wir danken Ohnen dazu.
EN 46
Unsere Forschungsteams haben für Sie diese neue Generation von Geräten entwickelt, die durch Qualität, Ästhetik, ihre Funktionen und technische Fortentwicklung Ausnahmeprodukte sind, die unser Know-how zeigen.
ES 68
Ohre neue DE DIETRICH Dunstabzugshaube fegt sich harmonisch in ihre Kuche ein und verbindet perfekte Leistungen beim Kochen und Backen mit einfacher Benutzung. Wir wollen Ohnen ein exzellentes Produkt anbieten.
IT 90
In der DE DIETRICH Produktpalette finds Sie auch eine breite Auswahl an einbaufähigen Backöfen, Mikrowellenherden, Kochfeldern, Kuchenherde, Geschirrspulier die Sie mit ihrer neuen DE DIETRICH Dunstabzugshaube abstimmten können.
NL 112
Mit der ständigen Bemühung um bestmögliche Erfüllung ihrer Forderungen an unsere Produkte steht ihren natürlich unser Verbraucherservice zur Verfügung, der auf alle ihre Fragen und Vorschläge eingeht (Adresse am Schluß diesen Büchleins).
PT 134
Sie können uns auch im Internet unter www.dedietrich-electroma-ger.com besuchen, wo Sie unsere jungsten Innovationen sowie nützliche und ergänzende Informationen finden.
DE DIETRICH
Die neuen Wertobjekte
Da wir unsere Produkte ständig verbessern möchten, behalten wir uns das Recht vor, ihre technischen, Funktionellen und ästhetischen Merkmale zu verändern, damit sie mit der technischen Weiterentwicklung Schritt halten.
Wichtig:Bitte Ies
Bitte lesen Sie vor der Inbetriebnahme des Gerätes dieser Einbau- und
Gebrauchsanleitung aufmerksam durch, damit Sie sich sehr rasch mit seinem Betrieb vertraut machen können.
www.dedietrich-electromenager.com
INHALT
DE
1/ FÜR DEN BENUTZER
- Sicherheitshinweise 26
Umweltschutz 27
Gerätebeschreibung 28
2 / INSTALLATION DES GERÄTS
- Benutzung mit Abluftbetrieb 29
Benutzung mit Umluftbetrieb 29 - Stromanschluss 30
Montage der Dunstabzugshaube 31
Montage des Kamins
° Abluft ins Freie 32
。Umluft 33
3 / BENUTZUNG DES GERÄTS
- Beschreibung der Bedienelemente 34
Wahl der Art des Kochfeldes 35 - Beleuchting 36
- Übergang in den Automatik-Modus 36
- Übergang in den Manuell-Modus 36
- Sofortabschaltung im Manuell-Modus 37
- Zeitverschobene Abschaltung im Manuell-Modus 37
- Änderung während der zeitverschobenen Abschaltung 37
Abschaltung der Dunstabzugshaube POSITION "OFF" 38 - Sattigung der Kassette 38
Umluftbetrieb 38
Abluftbetrieb 39 - Sattigung des Kohlefilters 39
- Automatische Abschaltung des Ventilators 39
- Automatische Abschaltung der Beleuchtung 39
4 / PFLEGE UND REINIGUNG DES GERÄTS
- Reinigung der Filterkassetten 40
Austausch des Kohlefilters 40 - Reinigung der Aussenfläche 41
Austausch der Lampe 41
Pflege des Geräts 42
5/FUNKTIONSSTÖRUNGEN 43
6/KUNDENDIENST 44
DE 1/FÜR DEN BENUTZER
Wichtig
These Betriebsanleitung mit dem Gerät aufbewahren. Sollte das Gerät an eine andere Person verkauf oder veräussert werden, sicheregen, dass sie auch die Betriebsanleitung gekommen. Vor der Installation und Benutzung des Geräts sollen folgende Ratschläge zur Kenntnis genommen werden. Sie sind für die Sicherheit des Benutzers und anderer Personen verfasst worden.
SICHERHEITSHINWEISE
-
Dieses Gerät ist für die Benutzung durch Privatpersonen in ihrem Haushalt konzipiert worden.
-
Dieses Gerät muss von Erwachsenen benutzt werden.
Bitte darauf auf achten, dass Kinder es nicht berühren und als Spielzeug benutzen. Sich vergewissern, dass sie die Bedienelemente des Geräts nicht berühren.
-
Das Gerät beim Empfang+Ausspacken oder ausspacken lassen. Sein allgemeines Aussehen prüfen. Eventuelle Vorbehalte schriftlich auf dem Lieferschein vermerken, und ein Exemplar davon behalten.
-
Das Gerät ist für den normalen Haushaltsgebrauch bestimmt. Es nicht für kauf-mannische oder industrielle oder andere Zwecke als diejenigen benutzen, für die es konzipiert worden ist.
Die Merkmale theses Gerats nicht verändern oder versuchen, sie zu verändern. Dies wurde eine ernste Gefahr für alle darstellen.
- Reparaturen dürfen nur von einem zugelassenen Fachmann durchgeführt werden.
Die Dunstabzugshaube vor dem Reinigen oder der Pflege immer vom Stromnetz trennen.
-
Bei gleichzeitigem Betrieb der Dunstabzugshaube und anderer nicht mit Strom betriebener Geräte den Raum angemessen belüften. Dies, damit die Dunstabzugshaube keine Verbrennungsgase ansaugt.
-
Es ist verboten, unter der Dunstab-zugshaube Gerichte zu flambieren oder die Gaskochstellen einzuschalten, ohne dass ein Kochgeschirr darauf auf staat (die angesaugten
Flammen konnten das Gerät beschädigen).
-Frittiervorgänge unter der Dunstab-zugshaube,müssen ständig überwacht werden.
Die auf sehr hohe Temperaturen aufgeheiten Ole und Fette konnen Feuer fangen.
Die Häufigkeit der Reinigung und des Ersatzes der Filter einhalten. Die Ansammlung von Fettablagerungen kann einen Brand auslösen.
- Der Betrieb über einer Brennstoff-Feuerstelle (Holz, Kohle, usw.) ist nicht zulassig.
-Niemals Dampf- oder Hochdruckgeräte zur Reinigung des Geräts benutzten (Forderungen bezüglich der elektrischen Sicherheit).
- Bei der Sorge um die ständige Verbesserung unserer Produkte gehalten wir uns das Recht vor, ihre technischen, Funktionellen oder aesthetischen Merkmale im Zusammenhang mit der technischen Fortentwicklung zu ändern.
-Fur das spätere leichte Auffinden der Produktreferenzen des Gerats raten wir, sie auf der Seite „Kundendienst und Kundenbeziehungen" zu notieren.
(Auf dieser Seite wird auch erklärart, wo sie sich auf dem Gerät befinden.)
Achtung In einer Ki
In einer Kuche, die mit einem an einen Kamin angeschlossenen Gerät (z.B.:
Ofen) beheizt wird, muss die
Dunstabzugshaube als Umlufthaube installiert werden. Die Dunstabzugshaube damit nicht ohne die Filterkassetten benutzt werden.
Wenn die Dunstabzugshaube in der Kuche gleichzeitig mit Geräten benutzt wird, die mit Gas oder einem anderen Brennstoff betrieben werden, muss eine angemessene Belüftung des Raums vorgesehen werden.
1/ FÜR DEN BENUTZER
DE
UMWELTSCHUTZ
- Die Verpackungsmaterialien thises Gerats sind recyclebar. Entsorgen Sie sie in den von den Gemeinden eigens zur Verfugung gestelltten Containern und tragen Sie auf diese Weise zu ihrem Recycling und zum Umweltschutz bei.
-
Ihr Gerät enthalt zahlreiche recyclingfähige Materialien. Es wurde deshalb mit diesen Zeichen versehen, um Sie darauf hinzuweisen, dass diese Geräte nach ihrem Gebrauch nicht mit dem übrigen Hausmüll entsorgt werden dürfen. Das von ihrer Hersteller in die Wege geleitete Recycling kann somit in Übereinstimmung mit der europäischen Richtlinie 2002/96/CE über Elektro- und Elektronik-Altgeräte unter optimalen Bedingungen erfolgen. Ihr Gemeindebehörden oder ihr Handler informieren Sie bisher über die zu ihrer Wohnort am nachsten liegenden Sammelstellen.
-
Wir danken Ihnen für ihren Beitrag zum Umweltschutz.
Achtung
Der Einbau des Kochfeldes muß von qualifizierten Installauren und Technikern vorgenommen werden.
Achtung
Vor der ersten Benutzung der Filterkassette die Schutzfolie abziehen.
DE 1/FÜR DEN BENUTZER
- GERÄTEBESCHREIBUNG


Ansaugöffnungen

Gehäuse

Kamin

Bedienelement
2 / INSTALLATION DES GERÄTS
DE
- Das Gerät muss während der Installation oder bei einem eventuellen Eingriff vom Stromnetz getrennt sein.
- Prüfen, dass die Netzspannung dem auf dem Geräteschild in der Dunstabzugshaube angegebenen Spannungswert entspricht.
- Wenn die Stromanlage der Wohnung fur den Anschluss des Geräts geändert werden muss, sich an einen qualifizierten Elektriker wenden.
- Wenn die Dunstabzugshaube im Abluftbetrieb betrieben wird, das Gerät an kein Abzugsrohr für Verbrennungsrach (Heizkessel, Kamin, usw. ...) oder an eine kontrollierte mechanische Belüfung ausschiessen.
- Das Abzugsrohrarfwie auchimmer nicht in den Dachboden fuhren.
- Die Dunstabzugshaube zur Sicherheit in mindestens 70 cm Entfernung von einer elektrischen, Gas- oder gemischten Kochstelle installieren.
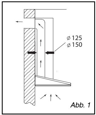
BENUTZUNG MIT ABLUFTBETRIEB
Bei vorhandenem Abzug ins Freie
(Abb. 1)
Die Dunstabzugshaube kann daran angeschlossen werden vermittels eines emaillierten, aus Aluminium bestehenden, flexiblen oder aus unbrennbarem Material bestehenden Abzugstrohrs (Mindest-Ø 125 mm). Wenn das Rohr weniger als 125 mm Querschnitt hat, unbedingt in den Umluftbetrieb übergeben.

BENUTZUNG MIT UMLUFTBE-TRIEB
Wenn kein Abzug ins Freievorhanden ist
(Abb. 2)
Alle unsere Geräte können auch im Umluftbetrieb betrieben werden.
In thisem Fall muss ein Aktivkohlefilter eingesetzt werden, das die Gerüche zurückhalt.
(Siehe Kapitel 4: Austausch des Kohlefilters.)

DE 2 / INSTALLATION DES GERÄTS
STROMANSCHLUSS
Bei der Installation und den Pflegevorgängen muss das Gerät vom Stromnetz abgetrennt werden, die Schmelzsicherungen müssen abgeschaltet oder herausgenommen werden. Der Stromanschluss wird hergestellt, bevordas Gerät in das Möbel eingeschoben wird. Prufen, ob:
- die Leistung der Installation ausreicht,
- die Versorgungsleitungen in gutem Zustand sind,
- der Drahtequerschnitt mit den Installationsregeln übereinstimmt.
Achtung Dieses Ge
Versorgungskabel H 05 VVF mit 3 Leitern mit 0.75mm^2 (Nulleiter, Phase und Erdung) gefelert. Es muss vermittels einer Normsteckdose IEC 60083 an ein Stromnetz mit 220 - 240 V einphasig angeschlossen werden, die auch nach der Installation gemass Einbauregeln zugänglich bleiben muss.
Wir können im Fall eines Unfalls nach einer nicht vorhandenen oder nicht ordnungsgemassen Erdung nicht haftbar gemacht werden. Die Sicherung der Anlagen muss 10 oder 16 A betragen. Wenn das Anschlusskabel beschädigt ist, den Kundendienst rufen, um jegliche Gefahr auszuschlieben.
Achtung Wen die:
Wenn die Stromanlage der Wohnpung fur den Anschluss des Gerats eine Änderung erfordert, einen qualifizierten Elektriker heranziehen.
Achtung! Wenn die I
Wenn die Dunstabzugshaube irgendeine Anomalie aufweist, das Gerät vom Strom trennen oder die Schmelz-sicherung hersausnehmen, die der Anschlussleitung des Geräts entspricht.
2 / INSTALLATION DES GERÄTS
DE
MONTAGE DER DUNSTABZUGSHAUBE

Achtung
Die Installation muss die geltenden Bestimmungen für die Belüftung von Räumen einhalten. In Frankreich werden diese Regel in der DTU 61.1 des CSTB angegeben. Insbesonderearf die Abzugsluft nicht in eine Leitung geschickt werden, die fur den Rauchabzug von Geräten benutzt wird, die mit Gas oder einem anderen Brennstoff betrieben werden. Die Verwendung eines stillgelegten Abzugsröhrs kann nur mit der Erlaubnis eines kompetenten Fachmanns erfolgen.
Der Abstand zwischen dem Kochfeld und dem niedrigsten Teil der Dunstabzugshaube muss 70~cm betragen. Wenn in der Betriebsanleitung des unter der Dunstabzugshaube installierten Kochfelds ein großerer Abstand als 70~cm vorgegeben ist, muss dies berücksichtigt werden.
-In mindestens 70 cm Abstand uber dem Kochfeld an der Wand einen waagerechten Strich ziehen. (A/Abb.1).
Einen vertikalen Strich (B/Abb. 1) an der Wand mittig im Verhältnis zum Kochfeld und von der Decke bis zur Grenze des vorstehenden waagrechten Strichs (A) ziehen.
Die Bohrschablone nach der gestrichelten Linie schneiden, um 2 Teile zu erhalten, C1 und C2 (Abb. 1).
Die Schablone C2 (Abb. 1) and der Wand plazieren und den die Achse der Dunstab-zugshaube darstellenden Strich auf den vertikalen Strich legen (Abb. 1), der vorher gezeichnet worden war.
Die Schablone C1 (Abb. 1) gegen die Wand und im Anschlag gegen die Decke plazieren.
Die 6 LÖcher bohren. Die 6 Dübel einsetzen.
Die beiden Schrauben ober an der Dunstabzugshaube einschrauben (D/Abb. 1) und sie 5mm überstehen setzen.
Die Dunstabzugshaube an den beiden Schrauben aufhängen. (D/Abb. 2).
Die Filterkassetten herausnehmen (F/Abb. 3).
Die beiden Schrauben unter einschrauben (E/Abb. 3).

Ratschlag
Vor dem endgültigen Festziehen der 4 Schrauben D und E das Niveau der stabzugshaube justieren.



DE 2 / INSTALLATION DES GERÄTS
- MONTAGE DES KAMINS
Abluft ins Freie
Die Metallhalterung des Kamins mit den beiden Schrauben an die Wand mit Stoss an der Decke befestigen (Abb. 1).
- Die Rücklaufklappe auf den Motorausgang montieren (Abb. 2). Mit dieser Rücklaufklappe kann der Eintritt der von aussenCOMMenden Luft versperrt werden.
- Im Fall eines Rohrs mit 125 mm Querschnitt den gefelften Adapter benutzen (Abb. 3).
Wenn das Außenrohr einen Durchmesser von unter 125 mm aufweist, muss die Dunstab-zugshaube unbedingt im Umluftbetrieb angeschlossen werden.
- Das Rohrende auf den Motorausgang schiben (Abb. 4).
- Den TeleskopkaminVBoreiten und damit die Ansaugolfungen sorgfaltig verstecken (Abb.4).
Die Kaminteile so welt wie möglich ineinander-schieben.
- Den oberen Kaminteil (B/Abb. 4) mit den beiden Schrauben (G/Abb. 4) auf der Metallhalterung des Kamins befestigen.
Die Länge des Telekopkamins justieren, bzw. den unteren Teil herunterziehen und in den oberen Teil der Dunstabzugshaube einschieben.
A Kaminhalterung
B Teleskopkamin
C Rohr
D Adapter
E Rücklaufventil
F Motorausgang
G Halteschraube des Kamins



2 / INSTALLATION DES GERÄTS
DE
Umluft
- Die Rücklaufklappe entfern (Abb. 1).
-Mit den beiden Schrauben den Kunststoffrauchablenker an der Wand mit Stoss an der Decke befestigen (Abb. 2). Darauf achten, den Ablenker im Verhältnis zum vertikalen Strich an der Wand zu zentrieren (Abb. 2).
-Ein Ende des Rohres auf den Ablenker und das andere Ende auf den Motorausgang schiben (Abb. 3).
-
Den KaminVBorbereiten und darauf achten, dass die Ansaugolfungen nach oben weisen, damit sie sightbar sind. (B/Abb. 3).
-
Den oberen Teil des Kamins (C/Abb. 3) auf den Rauchablenker (A/Abb. 3) mit den beiden Schrauben (F/Abb. 3) befestigen.
Die Länge des Teleskopkamins anpassen, indem derunte Teil heruntergezogen und in den oberen Teil der Dunstabzugshaube eingeschoben wird.


A Rauchablenker
B Ansaugolfungen
Teleskopkamin
D Rohr
Motorträger
F Halteschraube des Kamins
Ratschlag
Wir empfehlen für die optimale Nutzung des Geräts den Anschluss an ein Rohr mit 150 mm Querschnitt (nicht mitgeliefert).
Möglichst weniger Winkelstücke und ein möglichst kurzes Rohr verwenden. Beim Abluftbetrieb der Dunstabzugshaube muss für ausreichende Frischluftzufuhr gesorgt werden damit vermieden wird, den Raum unter Unterdruck zu setzen.

DE 3 / BENUTZUNG DES GERÄTS
BESCHREIBUNG DER BEDIENELEMENTE


A Lampe fur Automatikbetrieb
B Lampe fur Manuell-Betrieb
Lampe für Sättingung der Kassette und Umluftfilter
Automatic-Steuerung oder "OFF" Steuerung
Manuell-Steuerung
F Lichtsteuerung und Variation der Lichtstärke
- Einschaltung
Bei der Einschaltung ist die Dunstabzugshaube in POSITION OFF.
Ratschlag
These Installations- und Benutzungsanleitung gilt für mehrere Modelle. Zwischen this dem Gerät und den gegebenen Beschreibungen können keine Unterschiede im Detail und bei der Ausrüstung zum Vorschein kommt.
3 / BENUTZUNG DES GERÄTS
DE
WAHL DER ART DES KOCHFELDES
Für die Wahl der Art des Kochfeldes die Dunstabzugshaube mit kurzem Drücken des Bedienelements in den OFF Modus versetzen.

Dann ein langer Druck gleichzeitig auf und
Die drei Lampen beginnen zu blinken.
Erneuter kurzer Druck auf das Bedien-element um die Anzahl leuchtender Lampen zu betrinnen, die der Art des Kochfeldes entsprechen, wie nachstehend gezeigt:

Induktions-Kochfeld
Glaskeramisches Kochfeld
Gaskochfeld
Gemischtes Kochfeld Induktion/Gas
Kochfeld mit Platten aus Gusseisen
Gemisches Kochfeld Induktion/Glaskeramik

Zum Bestätigen der Art des Kochfeldes lange auf drücken, die drei Lampen verlöschen.

DE 3/BENUTZUNG DES GERÄTS
- BELEUCHTUNG
Zum Anzünden der Lampe der Dunstabzugshaube kurzer Druck auf Mit fortgesetztem Drücken von kann die Lichtstarke verändert werden.

- UBERGANG IN DEN AUTOMATIK-MODUS
Lange auf % drücken.
Die Lampe „Auto" blinkt und gibt an, dass die Dunstabzugshaube wirklich im Automatik-Modus ist.

- UBERGANG IN DEN MANUELL-MODUS
Im Manuell-Modus kann die Ansaugeschwindigkeit der Dunstabzugshaube manuell von 1 bis 5 gewählt werden.
Bei kurzem Drucken von ist man in Drehzahl 1.
Die Lampe goes an.
Mit jedem weiteren kurzen Drücken auf steigt die Drehzahl bis auf 5, und mit erneutem kurzem Drücken auf kehrt man zur Drehzahl 1 zurück.

3 / BENUTZUNG DES GERÄTS
DE
- SOFORTABSCHALTUNG IM MANUELL-MODUS
Zum Abschalten der Dunstabzugshaube im Manuell-Modus kurz auf % drucken.
Die Dunstabzugshaube schaltet ab, und die Lampe verlöscht.

ZEITVERSCHOBENE ABSCHALTUNG IM MANUELL-MODUS
Die zeitverschobene Abschaltung der Dunstabzugshaube kann ausgelöst werden, wenn sie im Manuell-Modus ist.
These zeitverschobene Abschaltung wird mit langemücken von erzielt.
Die Lampe blinkt bis zur Abschaltung der Dunstabzugshaube.
Die Dunstabzugshaube schaltet nach 10 Min. Betrieb automatisch ab.

ÄNDERUNG WÄHREND DER ZEITVERSCHOBEN ABSCHALTUNG
Wenn die Dunstabzugshaube vor dem Ende der zeitverschobenen Abschaltung benutzt werden soll, kurz drucken, die Lampe blinkt dann nicht mehr, sondern leuchtet ständig.
Die gewünschte Drehzahl kann erneut gewählt werden.

DE 3 / BENUTZUNG DES GERÄTS
- ABSCHALTUNG DER DUNSTAB-ZUGSHAUBE IN POSITION "OFF"
Die Dunstabzugshaube soll ab dem
Automatik-Modus abgeschaltet werden.
Kurz % drücken.
Die Lampe „Auto" verlöscht.

SÄTTIGUNG DER KASSETTE
Wenn die Lampe aufleuchtet, gibt sie an, dass die Kassetten gereinigt werden müssen (sie können in den Geschirrspul er gegeben werden).
Langer Druck gleichzeitig auf und zur Freigabe der Funktion, Sattigung".
Die Lampe verlöscht.

- UMLUFTBETRIEB
Die Dunstabzugshaube ist im Umluftbetrieb, sie soll in den Umluftbetrieb konfiguriert werden:
Langer Druck gleichzeitig auf % und . Die Lampe leuchtet oder blinkt.
Zum Konfigurieren in den Umluftbetrieb kurz auf drücken, damit die Lampe leuchtet (blinkt).
Mit Drücken von \% die Konfiguration bestätigen.

3 / BENUTZUNG DES GERÄTS
DE
- ABLUFTBETRIEB
Die Dunstabzugshaube hat Abluft ins Freie, sie soll in den Abluftbetrieb konfiguriert werden:
Kurzer Druck gleichzeitig auf % und
Die Lampe leuchtet oder blinkt.
Zum Konfigurieren in den Abluftbetrieb kurz auf drucken, damit die Lampe ständig leuchtet (nicht blinkt).
Zum Ändern dieser Konfiguration kurz auf drücken, und die Lampe wechselt den Zustand. Zur Bestätigung der neuen Konfiguration auf % drucken.

SÄTTIGUNG DES KOHLEFILTERS
Wenn die Dunstabzugshaube im Umluftbetrieb ist. Die Lampe 念 blinkt, sie gibt an, dass das Kohlefilter ausgetauscht werden muss (wir empfehlen, die Filter alle 6 Monate auszu-tauschen).
Zum Abschalten der Lampe die Tasten Lange und gleichzeitig drücken.
Die Lampe blinkt nicht mehr.

AUTOMATISCHE ABSCHALTUNG DES VENTILATORS
Wenn das Abschalten der Dunstabzugs-haube versehentlich vergessen wird, schaltet sie nach 9 Betriebsstunden automatisch ab. Die Dunstabzugshaube Goes in den OFF-Modus.
AUTOMATISCHE ABSCHALTUNG DER BELEUCHTUNG
Wenn das Abschalten des Lichts versehentlich vergessen wird, schaltet es nach 9 Betriebsstunden ab.
DE 4/PLFEGE UND REINIGUNG DES GERÄTS
Achtung
Das Gerät vor der Pflege und Reinigung vom Stromnetz abtrennen. Die regelmässige Pflege des Geräts ist eine Garantie für richtig Betrieb, gute Leistung und Dauerhaftigkeit.
Achtung
7: Wenn die Anweisungen zur Reinigung des Geräts und der Filter nicht eingehalten werden, kann dies zu Bränden führen.itte die Pflegeanweisungen streng befolgen.
- REINIGUNG DER FILTERKASSETTEN
Sie müssen ca. alle 30 Betriebsstunden oder mindestens einmal im Monat gereinigt werden. Sie konnen im Geschirrspuler in senkrechter Position gereinigt werden.
Eine Bürste, heisses Wasser und ein sanfes Reinigungsmittel verwenden. Sie abspulen und sorgfältig abrocknen, bevor sie wieder eingesetzt werden.
Ausbau der Filterkassette (Abb. 1)
- Den integrierten Griff der Filterkassette dren.
Die Filterkassette nach unten kippen.

AUSTAUSCH DES KOHLEFILTERS
Ihn ca. alle 120 Betriebsstunden ersetzen.
Die Filterkassetten entfern (Abb. 2).
- Das Kohlefilter auf die Filterkassette an der Innenseite der Dunstabzugshaube plazieren.
Die 2 Haltespindeln beidseitig der Filter-kassette einschieben.
- Diesen Vorgang bei allen Filterkassetten wiederholen.

4 / PLFEGE UND REINIGUNG DES GERÄTS
DE
- REINIGUNG DER AUSSENFLÄCHE
Für die Reinigung der Aussenfläche der Dunstabzugshaube Seifenwasser benutzen, aber keine Scheuercremes oder Scheuerschwämme.
AUSTAUSCH DER LAMPE
Achtung
Vor jedem Eingriff muss die Dunstabzugshaube vom Stromnetz getrennt werden, entweder durch Ziehen des Netzsteckers oder durch Betätigten des Überlastschalters.
Modell mit Halogenlampe
Die Leuchtblende entfernen (Abb. 1).
Die Halogenlampe G4-20W-12 V austauschen.
- Das Ensemble wieder einsetzen und damit die Vorgänge in umgekehrter Reihenfolge wiederholen.

DE 4/PLFEGE UND REINIGUNG DES GERÄTS
Achtung
Vor jedem Eingriff muss die Dunstabzugshaube vom Stromnetz getrennt werden, entweder durch Ziehen des Netzsteckers oder durch Betätigten des Überlastschalters.
PFLEGE DES GERÄTS
| PFLEGGE | WIE VORGEHEN | ZU VERWENDENDE PRODUKTE/ZUBEHÖR |
| Gehäuseund Zubehör | Niemals Metallkratzer, Scheuer-mittel oder zu harte Bürstenbenutzten. | Für die Reinigung von Gehäuseund Leuchtblende ausschließlichhandelsübliche in Wasser gelösteReinigungsmittel, und dann mitklarem Wasser abspüssen und mit einem weichen Lappen trocknen. |
| Filterkassette | Dieses Filter bindet Fettdämpfeund Staubpartikel. Es ist ein wich-tiges Element zur Sicher-stellungeines wichtigen Teils derWirksamkeit der Dunstabzugshaube.Bei hartnackigen Flecken eine nicht scheuernde Creme an-wen-den und dann mit klarem Wasserabspüssen. | Mit einem handelsüblichenHaushaltsprodukt, dann reichlichabspüssen und trocknen. Diese Reinigung kann im Geschirr-spüler in vertikaler Position erfol-gen.(Nicht mit schmutzigem Geschirroder mit Silberbesteck inBerührung bringen). |
| Aktivkohlefilter | Dieses Filter bindet die Gerücheund muss je nach Nutzungsgradmindestens einzeln jährlichgewechselt werden.Diese Filter beim Fachhändlerbestellen (mit der Produkt-referenz auf dem Geräteschild imInneren der Dunstabzugshaube),und das Datum des Austauschsnotieren. |
Zur Erhaltung des Geräts empfehlen wir die Pflegeprodukte Clearit.

Die Erfahrung der Profis im Dienst der Privatpersonen
Clearit bietet professionelle Produkte und geeignete Lösungen für die tägliche Pflege von Haushaltsgeräten und Kuchen an.
Sie sind beim gewohnten Wiederverkäfer zu finden, ebenso wie ein ganzer Fächer von Produkten, Zubehör und Betriebsmitteln.
5 / FUNKTIONSSTÖRUNGEN
DE
| SYMPTOME | Lösungen |
| Die Dunstabzugshaube faktioniert nicht ... | Prüfen, ob: · kein Stromausfall vorliegt; · wreaklich eine Drehzahl gewählt wurde. |
| Die Dunstabzugshaube zeigt ungenügende Leistung ... | Prüfen, ob: · die gewährte Motordrehzahl für die abgegebene Rauch- und Dampfmenge ausreicht; · die Küche ausreichend beluftet ist, damit eine Luftzufahr möglich ist; · das Kohlefilter nicht verbraucht ist (Dunstabzugshaube im Umluftbetrieb). |
| Die Dunstabzugshaube hat während des Betriebs abgeschelt. | Prüfen, ob: · kein Stromausfall vorliegt; · die omnipolare Abschaltvorrichtung nicht ausgeschelt hat. |
DE 6/KUNDENDIENST
Eingriffe an Ihr hem Gerat dürfen nur:
-von Ihrem Handler oder
- von einem sonstigen Fachmann und Vertragshandler der Marke durchgeführt werden.
Geben Sie bei der Meldung einer Störung die vollständige Typenbezeichnung Ihres Gerätes an (Modell, Typ, Seriennummer). Diese Angaben finden Sie auf einem an Ihrrem Gerät angebrachten Schild.
EN 6/ AFTER-SALES SERVICE
Eingriffe an Ihr hem Gerät dürfen nur:
-von Ihrem Handler oder
- von einem sonstigen Fachmann und Vertragshandler der Marke durchgeführt werden.
Geben Sie bei der Meldung einer Störung die vollständige Typenbezeichnung Ihres Gerätes an (Modell, Typ, Seriennummer). Diese Angaben finden Sie auf einem an Ihrrem Gerät angebrachten Schild.
EN 6/ AFTER-SALES SERVICE
Eingriffe an Ihr hem Gerat dürfen nur:
- von Ihrem Handler oder
- von einem sonstigen Fachmann und Vertragshandler der Marke durchgehrt werden.
Geben Sie bei der Meldung einer Störung die vollständige Typenbezeichnung Ihres Gerätes an (Modell, Typ, Seriennummer). Diese Angaben finden Sie auf einem an Ihrrem Gerät angebrachten Schild.
EN 6/ AFTER-SALES SERVICE
Eingriffe an Ihr hem Gerat dürfen nur:
-von Ihrem Handler oder
- von einem sonstigen Fachmann und Vertragshandler der Marke durchgeführt werden.
Geben Sie bei der Meldung einer Störung die vollständige Typenbezeichnung Ihres Gerätes an (Modell, Typ, Seriennummer). Diese Angaben finden Sie auf einem an Ihrrem Gerät angebrachten Schild.
EN 6/ AFTER-SALES SERVICE
ELEKTRISCHE AANSLUITING
Eingriffe an Ihr hem Gerät dürfen nur:
-von Ihrem Handler oder
- von einem sonstigen Fachmann und Vertragshandler der Marke durchgeführt werden.
Geben Sie bei der Meldung einer Störung die vollständige Typenbezeichnung Ihres Gerätes an (Modell, Typ, Seriennummer). Diese Angaben finden Sie auf einem an Ihrrem Gerät angebrachten Schild.
EN 6/ AFTER-SALES SERVICE
Eingriffe an Ihr hem Gerät dürfen nur:
- von Ihrem Handler oder
- von einem sonstigen Fachmann und Vertragshandler der Marke durchgeführt werden.
Geben Sie bei der Meldung einer Störung die vollständige Typenbezeichnung Ihres Gerätes an (Modell, Typ, Seriennummer). Diese Angaben finden Sie auf einem an Ihrrem Gerät angebrachten Schild.
EinfachAnleitung