PAM3001E - Cucina PROGRESS - Manuale utente e istruzioni gratuiti
Trova gratuitamente il manuale del dispositivo PAM3001E PROGRESS in formato PDF.
| Caratteristiche tecniche | Piano cottura elettrico con forno, 4 zone di cottura, capacità del forno di 60 litri, classe energetica A. |
|---|---|
| Utilizzo | Ideale per la cottura di vari piatti, con comandi semplici e intuitivi. |
| Manutenzione e riparazione | Pulizia facile grazie alla superficie liscia, pezzi di ricambio disponibili, consultare il manuale per le istruzioni di risoluzione dei problemi. |
| Sicurezza | Sistema di sicurezza per evitare il surriscaldamento, protezione per bambini, spie luminose di funzionamento. |
| Informazioni generali | Dimensioni compatte, design moderno, garanzia di 2 anni, consumo elettrico ottimizzato. |
Domande frequenti - PAM3001E PROGRESS
Questions des utilisateurs sur PAM3001E PROGRESS
0 question sur cet appareil. Repondez a celles que vous connaissez ou posez la votre.
Poser une nouvelle question sur cet appareil
Scarica le istruzioni per il tuo Cucina in formato PDF gratuitamente! Trova il tuo manuale PAM3001E - PROGRESS e riprendi in mano il tuo dispositivo elettronico. In questa pagina sono pubblicati tutti i documenti necessari per l'utilizzo del tuo dispositivo. PAM3001E del marchio PROGRESS.
MANUALE UTENTE PAM3001E PROGRESS
Informazioni di sicurezza 33
Istruzioni di sicurezza 35
Installazione 37
Descrizione del prodotto 38
Utilizzo quotidiano 39
Consigli e suggerimenti utili 39
Pulizia e cura 40
Risoluzione dei problemi 40
Dati tecnici 42
Efficienza energetica 42
Con riserva di modifiche.
INFORMAZIONI DI SICUREZZA
Leggere attendamente le istruzioni fornite prima di installare e utilizzare l'apparecchiatura. I produttori non sono responsabili di eventuali lesions o danni derivanti da un'installazione o un uso scorretti. Conservare sempre le istruzioni in un luogo sicuro e accessibile per poterle consultare in futuro.
Sicurezza dei bambini e delle persone vulnerabili
- Questa apparecchiatura既可以 essere usata da bambini a partire dagli 8 anni e da adulti con limitate capacità fisiche, sensoriali o mentali o con scarsa esperienza o conoscenza sull'uso dell'apparecchiatura, solamente se sorvegliati o seistruiti relativamente all'uso dell'apparecchiatura e se hanno compreso i rischi coinvolti.
- I bambini di età compresa fra i 3 e gli 8 anni e le persone con disabilità diffuse e complesse vanno tenuti lontani a meno che non vi sia una supervisione continua.
- Tenere lontani i bambini al di sotto dei 3 anni se non costamente supervisionati.
Non consentire ai bambini di giocare con l'apparecchiatura. - Tenere gli imballaggi lontano dai bambini e smaltirli in modo adeguato.
- Tenere i bambini e gli animali domestici lontano dall'apparecchiatura durante il funzionamento o raffreddamento. Le parti accessibili sono incandescenti.
-
Se l'apparecchiatura ha un dispositivo di sicurezza per i bambini sarebbe opportuno attivarlo.
-
I bambini non devono eseguire interventi di pulizia e manutenzione sull'apparecchiatura alla essere supervisionati.
Avverenze di sicurezza generali
- AVVERTENZA: L'apparecchiatura e le parti accessibili si riscaldano molto durante l'uso. Abbiate cura di non toccare gli elementi riscaldanti.
- Non utilizzato un timer esterno o un sistema di controllo remotoDistincto permettereinfunzione l'apparecchiatura.
- AVVERTENZA: Non lasciare mai il piano di cottura incustodito durante la preparazione di cibi in quanto olio e grassi potrebbero provocare un incendio.
- Non tentare MAI di spegnere un incendio con dell'acqua; spegnere l'apparecchiatura e coprire le fiamme ad es. con un coperchio o una coperta di protezione dal fuoco.
- ATTENZIONE: Il processo di cottura deve essere sorvegliato. Un breve processo di cottura deve essere supervisionato alla soluzione di continuità.
- AVVERTENZA: Pericolo di incendio: Non conservare nulla sulle superfici di cottura.
- Oggetti metallici quali coltelli, forchette, cucchiai e coperchi non dovrebbero essere posti sulla superficie del piano di cottura in quanto possono divertare caldi.
- Non usare una pulitrice a vapore per pulire l'apparecchiatura.
- Se il cavo di alimentazione è danneggiato, deve essere sostituito dal produttore, da un technique autorizzato o da una persona qualificata per evitare situazioni di pericolò.
- AVVERTENZA: Servirsi unicamente di protezioni per il piano cottura progettate dal produttore dell'apparecchiatura o indicate dallo stesso nelle istruzioni d'uso, ad esempio accessori idonei o le protezioni del piano cottura incorporate nell'apparecchiatura. L'uso inadaguato delle protezioni può causare incidenti.
ISTRUZIONI DI SICUREZZA
Installazione

AVVERTENZA! L'installazione dell'apparecchiatura deve essere eseguita da personale qualificato.

AVVERTENZA! Vi é il rischio di ferirsi o danneggiare l'apparecchiatura.
- Rimuovere tutti i materiali di imballaggio.
Non installare outilizzare l'apparecchiatura se è danneggiata. - Attenersi alle istruzioni fornite insieme all'apparecchiatura.
- É necessario rispetto la distanza minima dalle及其他 apparecchiature.
- Prestare sempre attenzione in fase di spostamento dell'apparecchiatura, dato che è pesante. Usare sempre i quanti di sicurezza e le calzature adeguate.
- Proteggere le superfici di taglio con un materiale di tenuta per evitare che l'umidità causi dei rigonfiamenti.
Proteggere la base dell'apparecchiatura da vapore e umidità.
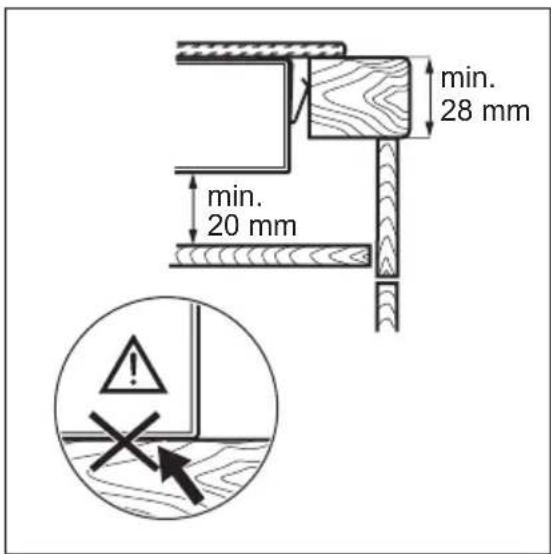
Non installare l'apparecchiatura accanto ad una porta o sotto una finestra, per evitare che pentole calde cadano dall'apparecchiatura quando la porta o la finestra sono aperte. - Se l'apparecchiatura viene installata sopra dei cassetti, assicurarsi che lo spazio, tra la base dell'apparecchiatura e il cassetto superiore, sia sufficiente per il ricircolo d'aria.
- La base dell'apparecchiatura può sorriscaldarsi. Verificare di installare un pannello di separazione in compensato, nel materiale della struttura della cucina o in altri materiale non infiammabile sotto all'apparecchiatura al fine di evitare l'accesso dal basso.
- Il pannello di separazione deve coprire completamente l'area fatto al piano cottura.
Collegamento elettrico

AVVERTENZA! Rischio di incendio e scossa elettrica.
- Tutti i collegamenti elettrici devono essere realizzati da un elettricista qualificato.
- L'apparecchiatura deve disporre di una messa a terra.
- Prima di qualsiasi intervento, è necessario verificare che l'apparecchiatura sia scollegata alla rete elettrica.
- Verificare che i parametri sulla targhetto siano compatibili con leindicazioni elettriche dell'alimentazione.
- Verificare che l'apparecchiatura sa installata correttamente. L'allenamento di un collegamento elettrico o di una spina (ove previsti) può provocare il surriscaldamento del terminale.
- Utilizzare il cavo di alimentazione appropriato.
- Evitare che i collegamenti elettrici si aggrovigliino.
- Assicurarsi che la protezione da scosse elettriche sia installata.
- Utilizzare il morsetto fermacavo sul cavo.
- Assicurarsi che il cavo di alimentazione o la spina (ove prevista) non sfiori l'apparecchiatura calda o pentole calde quando si collega l'apparecchiatura alle prese vicine.
Nonutilizzare prese multiple e prolonghe. - Accertarsi di non danneggiare la spina o il cavo (ove previsti). Contattare il nostro Centro Assistenza autorizzato o un elettricista qualificato per sostituire un cavo danneggiato.
- I dispositivi di protezione da scosse elettriche devono essere fissati in modo tale da non poter essere disattivati perché l'uso di attrezzi.
- Inserire la spina di alimentazione nella presa solo al termine dell'infallazione. Verificare che la spina di alimentazione
rimanga accessibile dopo l'installazione.
- Nel caso in cui la spina di corrente sia allentata, non collegarla alla presa.
Non tirare il cavo di alimentazione per scollegare l'apparecchiatura. Tirare sempre alla spina.
Servirsi unicamente di dispositivi di isolamento adeguati: interruptori automatici, fusibili (quelli a tappo devono essere rimossi dal portafusabile), sganciatori per correnti di quasto a terra e rele.
L'impiano elettrico deve essere dotato di un dispositivo di isolamento che consenta di scollegare l'apparecchiatura alla presa di corrente a tutti i poli. Il dispositivo di isolamento deve avere una larghezza dell'apertura di contatto non inferiore ai 3mm
Utilizzo

AVVERTENZA! Rischio di lesioni, ustioni o scosse elettriche.
Rimuovere tutti i materiali di imballaggio, le etichette e la pellicola protettiva (ove presente) prima del primo utilizzato.
- Questa apparecchiatura è stata prevista unicamente per un uso domestico.
- Non modificare le specifiche tecniche dell'apparecchiatura.
- Accertarsi che le fessure di ventilazione non siano ostruite.
Non lasciare mai l'apparecchiatura incustodita durante il funzionamento.
- Impostare la zona di cottura su "off" dopo agli utilizzato.
Non appoggiare posate o coperchi sulle zone di cottura. Possono divertare roventi.
Non mettere in funzione l'apparecchiatura con le mani umide o quando c'è un contatto con l'acqua.
Non utilizzare l'apparecchiatura come superficie di lavoro o come piano di appoggio.
- Un alimentto immerso nell'olio molto caldo perché provocare degli schizzi.

AVVERTENZA! Pericolo di incendio ed esplosioni.
- Grassi e olio caldi possono rilasciare vapori infiammabili. Mantenere fiamme o oggetti caldi lontani da grassi e olio quando li si utilizza per cucinare.
- I vapori rilasciati da un olio molto caldo possono provocare una combustione spontanea.
- L'olio usato, che può contenere residui di cibo, può liberare delle fiamme ad una temperatura inferiore rispetto ad un olio utilizzato per la prima volta.
Non appoggiare o tenere liquidi o materiali infiammabili, ne oggetti lavormente incendiabili sull'apparecchiatura, al suo interno o nelle immeditate vicinanze.

AVVERTENZA! Vi è il rischio di danneggiare l'apparecchiatura.
Non pogiare pentole calde sul pannello dei comandi.
- Non esporre al calore pentole vuote.
- Fare attenuation a non lasciar cadere oggetti o pentole sull'apparecchiatura. La superficie si potrebbe danneggiare.
Non mettere in funzione le zone di cottura in assenza di pentole o con pentole vuote.
Non appoggiare la pellicola di alluminio direttamente sull'apparecchiatura.
Non usare la piastra calda per la cottura diretta. Va usata con tegami adeguati allo scopo.
- L'apparecchiatura è destinata solo alla cottura. Non deve essere utilizzata per altri scopi, come per esempio il riscaldamento di un ambiente.
Non lasciare che sostenze acide, come per esempio aceto, succo di limone od anticalcare vengano a contatto con il piano di cottura. Si potrebbero formare delle macchie apache.
Manutenzione e pulizia

AVVERTENZA! Non togliere pulsanti, manopole o guarnizioni dal pannello dei comandi. L'acqua potrebbe penetrare nell'apparecchiatura e causare danni.
- Pulire regolarmente l'apparecchiatura per evitare il deterioramento dei materiali che compongono la superficie.
- Disattivare l'apparecchiatura e lasciarla raffreddare prima di procedere con la pulizia.
- Scollegare l'apparecchiatura alla rete elettrica prima di eseguire le operazioni di manutenzione.
Non nebulizzare acqua néutilizzare vapore per pulire l'apparecchiatura. - Pulire l'apparecchiatura con un panno inumidito e morbido. Utilizzato solo detergenti neutri. Non usare prodotti
INSTALLAZIONE

AVVERTENZA! Fare riferimento ai capitoli sulla sicurezza.
Prima dell'installazione
Prima di installare il piano di cottura, annotare l'informazione riportata di seguito presente sulla targhetta dei dati. La targhetta dei dati è applicata sul lato inferiore del piano di cottura.
Modello
PNC
Numero di série
Piani di cottura da incasso
Utilizzare esclusivamente piani di cottura da incasso solo dopo l'installazione in idonei piani di lavoro e mobili da incasso conformi alle norme.
Cavo di collegamento
- Il piano di cottura è fornito con un cavò di collegamento.
brasivi, spugnette abrasive, solventi od oggetti metallici.
Assistenza Tecnica
Per riparare l'apparecchiatura contattare il Centro di Assistenza Autorizzato.
- Utilizzare esclusivamente ricambi originali.
Smaltimento

AVVERTENZA! Rischio di lesioni o soffocamento.
Rivolgersi all'autorità municipale per informazioni su come smaltire correttamente l'electrodomestico.
- Staccare la spina dall'alimentazione elettrica.
- Tagliare il cavo elettrico dell'apparecchiatura e smaltirlo.
- Per sostituire il cavo di alimentazione danneggiato, usare quello tipo di cavo: H05V2V2-F che supporta una temperatura di 90^ o superiore. Contattare il Centro di Assistenza locale.
Montaggio




DESCRIZIONE DEL PRODOTTO
Disposizione della superficie di cottura

1 Zona di cottura
Spia di accensione
3 Manopole di regolazione
Manette de commande
| Simbo- lo | Funzione |
| 0 Posizione di spegnimento | |
| Simbo- lo | Funzione |
| -3 | Livelli di potenza |
Calore residuo

AVVERTENZA! Il calore
residuo cui essere causa di
ustioni.
UTILIZZO QUOTIDIANO

AVVERTENZA! Fare riferimento ai capitoli sulla sicurezza.
Prima diutilizzare l'apparecchiatura
Sistemare le pentole contenenti l'acqua su ciascuna zona di cottura, impostare la posizione massima ed avviare il piano di cottura per 10 min. Questo serve per bruciare i residiui nell'apparecchiatura. Successivement, far funzionare l'apparecchiatura sulla posizione minima per 20 minuti. Durante quello periodo l'apparecchiatura può produrre un odore sgradevole e fumo. Non si tratta di un'anomalia. Accertarsi che il flusso d'aria sia sufficiente.
Utilizzo della piastra elettrica di cottura rapida
Un punto rosso in mezzo alla piastra indica una piastra elettrica di cottura
rapida. Una piatra elettrica di cottura si riscalda più rapidamente delle piastre normali. I puntiRossi sono dipintisulle piastre. Possono deteriorarsi durante l'uso e possono addirittura scomparire completamente dopo un certo lasso di tempo. Ciò non compromette il corretto funzionamento del piano di cottura.
Livello di potenza
Per impostare o modificare il livello di potenza, ruotare la manopola sul livello di potenza corretto. Portare la manopola sulla posizione di spento per spegnere l'apparecchiatura.
La spia di controllo si aziona quando una o più zone di cottura sono attive. Specnendo le zone di cottura, la spia si disattiva.
CONSIGLI E SUGGERIMENTI UTILI

AVVERTENZA! Fare riferimento ai capitoli sulla sicurezza.
Pentole

Il fondo delle pentole dovrebbe essere il più possibile spesso e piano.
Verificare che le basi della pentola siano asciutte prima di collocarla sulla superficie del piano cottura.

ATTENZIONE! Non usare pentole in ghisa, teglie in terracotta o coccio, grill o piastre tostapane. L'acciaio inox cui brunire se sottoposto ad eccessivo riscaldamento.
Esempi di impiego per la cottura
| Livello di po-ten-za: | Applicazione: |
| ● | Trasmissione del calore |
| 1 Cottura delicata a fuoco lento | |
| ● | Cottura a fuoco lento |
| Livel- lo di po- ten- za: | Applicazione: |
| 2 Frittura/rosolatura | |
| ● | Portare a ebollizione |
| 3 Portare a ebollizione/frittura velo- ce/frittura in olio abbondante | |
PULIZIA E CURA

AVVERTENZA! Fare riferimento ai capitoli sulla sicurezza.
Informazioni generali
- Pulire il piano di cottura dopo agli impiego.
- Usare sempre pentole con il fondopulito.
- I graffiti o le macchie scure sulla superficie non compromettono il funzionamento del piano di cottura.
Acciaio inox
- Per i bordi in acciaio inox del piano di cottura, usare agenti per la pulizia specifici.
-
Il bordo in acciaio inox della piastra cui cambiare colore a causa della temperatura elevata.
-
Lavare le parti in acciaio inox con acqua e asciugarle con un panno morbido.
Pulizia della piasta elettrica di cottura
- Utilizzare detergente in polvere od un panno apposto.
- Pulire il piano di cottura con un panno umido e una piccola quantità di detergente.
- Scaldare la piastra di cottura ad una bassa temperatura e lasciare asciugare.
- Per conservare le piastre di cottura in buono stato, strofinarle regolarmente con olio per macchina da cucire. Togliere le traccce di olio con carta assorbente.
RISOLUZIONE DEI PROBLEMI

AVVERTENZA! Fare riferimento ai capitoli sulla sicurezza.
Cosa fare se...
| Problema Causa possibile Rimedio | ||
| Non è possibile attivare il piano di cottura o metterlo in funzione. | Il piano di cottura non è collegato a una fonte di alimen-tazione elettrica o non è collegato correttamente. | Accertarsi che il piano di cottura sia collegato corret-amenti alla rete elettrica.Fare riferimento allo schema di collegamento. |
| È scattato il fusabile. Verificare se l'anomalia di | funzionamento è dovuta al fusabile. Nel caso in cui il fu-sabile continui a scattare, ri-volgersi ad un elettricista qualificato. | |
Se non è possibile trovare una soluzione...
Qualora non sia possibile trovare una soluzione al problema, contattare il rivenditore o il Centro di Assistenza Autorizzato. Fornire i dati riportati sulla targhetta dei dati. Assicurarsi di aver acceso il piano di cottura correttamente. In caso di azionamento errato dell'apparecchiatura, l'intervento del tecnico del Centro di Assistenza o del
rivenditore potrè essere effettuato a pagamentoanche durante il periodo di garanzia. Leistruzioni relative al Centro di Assistenza e alle condizioni di garanzia sono continue nel libretto della garanzia.
Etichette fornite con il sacchetto degli accessori
Attaccare le etichette adesive come indicato di seguito:

A. Attaccarla sul Foglietto di garanzia ed inviare esta parte (ove prevista).
B. Attaccarla sul Foglietto di garanzia e conservare但这a parte (ove prevista).
C. Attaccarla sul libretto di istruzioni.
DATI TECHNICI
Caratteristiche tecniche zone di cottura
| Zona di cottura | Potenza nominale (impostazio- ne di calore massima) [W] | Diametro della zona di cottura [mm] |
| Anteriore cen- trale | 1000 145 | |
| Posteriore cen- trale | 1500 180 |
Per risultati di cottura ottimali,utilizzare pentole con un diametro non superiore alla zona di cottura.
EFFICIENZA ENERGETICA
Informazioni sul prodotto conformmente a EU 66/2014 valido solo per il mercato UE
| Identificativo modello PAM3001E | ||
| Tipo di piano di cottura Piano di cottura | da incasso | |
| Numero di zone di cottura 2 | ||
| Tecnologia di calore Piasta elettrica | ||
| Diametro delle zone di cot- tura circulari (Ø) | Anteriore centrale | 14,5 cm |
| Posteriore centrale | 18,0 cm | |
| Consumo di energia per zona di cottura (EC electric cooking) | Anteriore centrale | 194,9 Wh / kg |
| Posteriore centrale | 194,9 Wh / kg | |
| Consumo di energia del piano di cottura (EC elec- tric hob) | 194,9 Wh / kg | |
EN 60350-2 - Apparecchiature elettriche per la cottura per uso domestico - Parte 2: Piani di cottura - Metodi per la misurazione delle prestazioni
Risparmio energetico
È possibile risparmiare energia quotidianamente durante la cottura seguendo i suggerimenti che seguono.
- Quando si riscalda l'acqua,utilizzare solo la quantità necessaria.
- Se possibile, coprire sempre le pentole con il coperchio.
- Prima di attivare la zona di cottura, sistemare la pentola.
-
Il fondo della pentola deve ave lo stesso diametro della zona di cottura.
-
Sistemare le pentole più piccole sulle zone di cottura più piccole.
- Posizione are le pentole direttamente al centro della zona di cottura.
Utilizzare il calore residuo per mantenere caldi i cibi o fonderli.
CONSIDERAZIONI SULL'AMBIENTE
Riciclare i materiali con il symbolo.
Buttare l'imballaggio negli apposti
contentitori per il riciclaggio. Aiutare a
proteggere I'ambiente e la salute umana e a riciclare rifiuti derivanti da
apparecchiature elettriche ed elettroniche.
Non smaltire le apparecchiature che riportano il symbolo insieme ai normali rifiuti domestici. Portare il prodotto al punto di riciclaggio più vicino o contattare il comune di residenza.
ManualeFacile