GW14766 - Attuatore elettrico Gewiss - Manuale utente e istruzioni gratuiti
Trova gratuitamente il manuale del dispositivo GW14766 Gewiss in formato PDF.
Domande frequenti - GW14766 Gewiss
Domande degli utenti su GW14766 Gewiss
0 domanda su questo apparecchio. Rispondi a quelle che conosci o fai la tua.
Fai una nuova domanda su questo apparecchio
Scarica le istruzioni per il tuo Attuatore elettrico in formato PDF gratuitamente! Trova il tuo manuale GW14766 - Gewiss e riprendi in mano il tuo dispositivo elettronico. In questa pagina sono pubblicati tutti i documenti necessari per l'utilizzo del tuo dispositivo. GW14766 del marchio Gewiss.
MANUALE UTENTE GW14766 Gewiss
Attuatore 1 canale 16 A Easy - da incasso
1 channel 16 A Easy actuator - flush-mounted Actionneur 1 canal 16 A Easy - encastrable Actuador de 1 canal 16 A Easy - empotable 1-Kanal Antrieb 16 A Easy - für Unterputzmontage

GW 10766 GW 12766 GW 14766


A

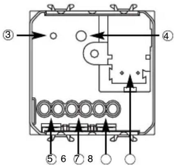
① Pulsante commande locale - Local command button - Bouton de commande locale - Pulsador mando local - Taste lokale Steuerung
② LED stato uscita -LED output status -LED etat de la sortie -LED de estado de salute -LED Status Ausgang
③ LED di programmazione - Programming LED - LED de programmation - LED de programación - Programmier-LED
Tastodiplagrammazione-Programmingkey-Touche deprogrammation- Tecla de programacion-Programmiertaste
5 Uscita NA - NO output - Sortie NO - Salida NA - Ausgang NO
⑥ Comune - Common - Commun - Común - Allgemein
⑦ Uscita NC - NC output - Sortie NF - Salida NC - Ausgang NC
8 Terminali bus - Bus terminal - Borniers bus - Terminales bus - Busanschlüsse

B
INDICE
pag.
AVVERTENZE GENERALI 4
DESCRIZIONEGENERALE 5
INSTALLAZIONE 7
PROGRAMMAZIONE CON CONFIGURATORE EASY 9
IN SERVIZIO 12
DATI TECHNICI 13
AVVERTENZE GENERALI
Attenzione! La sicurezza dell'apparecchio è garantita solo attendendosi alle istruzioni qui riportate. Pertanto è necessario leggerle e conservarle. I prodotti Chorus devono essere installati conformmente a quanto previsto alla norma CEI 64-8 per gli apparecchi per uso domestico e similare, in ambienti non polverosi e dove non sia necessaria una protezione speciale contro la penetrazione di acqua.
L'organizzazione di vendita GEWISS è a disposizione per chiarimenti e informazioni tecniche.
Gewiss SpA si riserva il diritto di apportare modifiche al prodotto descritto in quello manuale in qualsiasi momento e alla alcun preavviso.
Contenuto della confezione
n. 1 Attuatore 1 canale 16 A Easy - da incasso
n.1 Morsetto bus
n. 1 Coperchietto con vite
n. 1 Manuale di installmente e uso
In breve
L'attuator 1 canale 16 A Easy - da incasso permette di attivare/disattivare un carico elettricoattraverso un relèda 16 A provvisto di 1 contatto di uscita in scambio (1 NA/NC). Il lavoro di commutazione del relèpuò giungere da dispositivi di lavoro o sensori del sistema di Home Automation, tramite il bus KNX/EIB, oppure essere generato localmente mediating il pulsante frontale.
L'attuator è alimentato alla linea bus ed è dotato di LED verde per la segnalazione di stato dell'uscita. Il dispositivo invia sul bus informazioni sullo stato del relè (ON = incontrato NA chiuso, OFF = incontrato NA aperto) all'accensione, alla ricezione di un lavoro ed in caso di lavoro da pulsante locale.
L'attuatore permette il dato ON/OFF del carico comandato, l'esecuzione di comandi temporizzati, la gestione di scenari e l'esecuzione di comandi prioritari per la forzatura dello stato dell'uscita.
Le varie modalità di funzionamento sono fruibili contemporaneamente.
Ciò significica, ad esempio, che il dispositivo può accenderere e spegnere una luce, oppure accenderla e spegnerla automaticamente dopo che è trascorso un dato tempo prefissato, semplicitamente in funzione del commando ricevuto.
Il disposativo viene posizionato in scatole da incasso standard, montato su supporti della serie Chorus nelle spazio di due moduli.
Funzioni
L'attatore può essere configurato con il configuratore Easy per svolgere una delle seguenti funzioni:
ATTIVAZIONE E DISATTIVAZIONE CARICHI
Il canale dell'attuatore attiva o disattiva il carico elettrico quando riceve dei comandi ON/OFF inviati, ad esempio, da un'interfaccia contatti o da una pulsantiera configurate in modalità Commutazione ciclica ON/OFF o Gestione fronti. Il LED verde si illumina per indicate che il contatto del relè è chiuso.
DESCRIZIONEGENERALE
ESECUZIONE COMANDI TEMPORIZZATI
L'attuatore attiva il carico elettrico collegato per il tempo determinato dal valore del parametro Tempo attivazione e lo disattiva al suo scadere. Questa è l'impostazione, ad esempio, per la luce scale. Se durante il periodo di attivazione l'attuator riceve un nuovo lavoro ON con temporizzazione, il conteggio del tempo riparte dall'inizio.
Alla ricezione di un dato OFF o all'attivazione di uno scenario comprehende il dato di OFF dell'attuator, il relè viene disattivato e il conteggio annullato.
Con il parametro Tempo di preavviso si può abilitare il preavviso allo spegnimento: in questo caso il relè si aprirà brevamente (la luce si spegne momentaneamente) quando al termine della temporizzazione mancherà il tempo definito dal parametro. Sarà così possibile, se necessario, inviare un nuovo dato ON con temporizzazione prima che la luce si spenga. Il LED verde si illumina quando il contatto NA del relè è chiuso.
ESECUZIONE COMANDI PRIORITARI
L'attuatore commuta il relè nello stato (ON o OFF) trasmesso dal dispositivo che invia il commando prioritario. Finché non riceve un commando di revoca della forzatura, l'attuatore ignora tutti gli altri comandi ricevuti, inclusi quelli dei pulsanti frontali.
Se non vengono ricevuti altri comandi, al termine della forzatura l'attuatore torna nelle stato precedente l'attivazione della stessa. In caso contrario lo stato assunto è quello corrispondente all'ultimo dato ricevuto durante la forzatura.
Il LED verde si illumina quando il contatto NA del relè è chiuso.
GESTIONE SCENARIO
L'attuator è in grado di memorizzare ed eseguire fino ad 8 scenari, ad ognuno dei quali è associato lo stato ON o OFF del relè. Non è possible associare ad uno scenario un'attivazione temporizzata.
Prima di procedere alla memorizzazione di uno scenario è necessario comandare l'uscita dell'attuatori dello stato desiderato (ON/OFF), ad esempio mediating il pulsante locale.
II LED verde si illumina quando il contatto NA del relè è chiuso.

ATTENZIONE: l'installazione del dispositivo deve essere effettuata esclusivamente da personale qualificato, segundo la normativa vigente e le linee guida per le installazioni KNX/EIB.
Avvertenze per l'installazione KNX/EiB
- La lunghezza della linea bus tra l'attatore 1 canale 16 A Easy e l'alimentatore non deve superare i 350 metri.
- La lunghezza della linea bus tra l'attuator 1 canale 16 A Easy e il più lontano disposativo KNX/EIB da commandare non deve superare i 700 metri.
- Per evitare segnali e sovratensioni non voluti, non dar vita se possibile a circuiti ad anello.
- Mantenere una distanza di almeno 4mm tra i cavi singolarmente isolati della linea bus e quelli della linea elettrica (figura C).
- Non danneggiare il conduttore di continuità elettrica della schermatura (figura D).

ATTENZIONE: i cavi di segnale del bus non utilizzati e il conduttore di continuità elettrica non devono mai toccare elementi tanto tensione o il conduttore di terra!
Concessioni elettriche

ATTENZIONE: disinserire la tensione di rete prima di connettere il dispositivo alla rete elettrica!
La figura B在哪的 schema delle connessioni elettriche.
- Connettere il filo rosso del cavo bus al morsetto rosso (+) del terminale e il filo nero al morsetto nero (-). Al terminale bus si possono collegare fino a 4 linee bus (fili dello stesso colore nelle stesso morsetto) (figura E).
- Isolare lo schermo, il conduzione di continuità elettrica e i rimanenti fili bianco e giallo del cavo bus (nel caso in cui si utilizzzi un cavo bus a 4 conduttori), che non sono necessari (figura D).
- Inserire il morsetto bus negli apposti piedini del dispositivo. Il corretto sense di insertizione è determinato delle guide di fissaggio. Isolare il morsetto bus using l'apposto coperchietto, che deve essere fissato al dispositivo con la sua vite. Il coper chietto garantisce la separazione minima di 4 mm tra i cavi di potenza e i cavi bus (figura F).
- Collegare il caricoagli apposti morsetti a vite posti sul retro dell'attuatore (figura G), controlling di non superare i limiti di corrente specificati nei Dati tecnici.
Inizializzazione con unità base Easy
- Alimentare il dispositivoattraverso il bus.
-
Far acquire il dispositivo dal systema con una delle seguenti procedure:
-
Acquisizione automatica (il dispositivo ha ancora le impostazioni di fabbrica):
-
scegliere nell'unità base Easy il menu "Applicazione →Nuova funzione" o "Applicazione →Edita funzione": il disposivo viene riconosciuto automaticamente.
-
Acquisizione manuale (le impostazioni di fabbrica sono state modificate):
-
scegliere nell'unità base Easy il menu "Applicazione →Cerca dispositivo";
- premere brevamente (< 2 secondi) il tasting di programmazione. Il LED di programmazione si illuminerà durante il processo di acquisizione (figura A).
Il disposizione acquisito dall'unità base Easy viene elencato, con il numero assegnato, nei canali dei menu "Applicazione Nuova funzione" o "Applicazione Edita funzione".
Inizializzazione con Easy Controller
- Alimentare il disposativoattraverso il bus.
- Far acquire il dispositivo dal systema con una delle seguenti procedure:
Acquisizione automatica:
- selezionare il dato "Cerca/Configura" o "Scansione" del dato "Impianto";
Acquisizione manuale:
- selezionare il menu "Aggiungi disposativo" del menu "Impianto";
- premere brevamente (< 2 secondi) il tasting di programmazione. Il LED di
programmazione si illuminerà durante il processo di acquisizione (figura A).
Il dispositivo acquisito viene elencato con un numero assegnato, codice prodotto ed elenco dei canali nella vista "Dispositivi".
Completamento
Inserire il dispositivo in un supporto Chorus, facendo attenzione che il pulsante di lavoro locale si trovi in alto.
Completare eventually il supporto con altri dispositivi Chorus o copritori e fissarlo al contentitore prescelto (scatola da incasso, scatola da parete, etc.). Applicare la placca di finitura.
PROGRAMMAZIONE CON CONFIGURATORE EASY
Programmare l'attuatore tramite l'unità base Easy (codice GW 90 831) o con Easy Controller (GW 90 837 / GW 90 838 / GW 90 840).
Il canale dell'attuatore, da utilizzato nella funzione che si desidera creare, cui sono esse rie selezionato a scelta:
- premendo il pulsante di lavoro locale: il canale corrispondente verra evidenziato nell'elenco dei canali;
- direttamente dall'elenco dei canali.
Dopo la selezione dei dispositivi è possible create le funzioni.
| Nomi delle funzioni | |
| pulsante attivazione o disattivazione del carico | |
| fronti attivazione o disattivazione del carico | |
| modo temporizzato attivazione del carico con temporizzazione | |
| comando prioritario attuazione di comandi prioritari | |
| scenario attuazione degli scenari |
Per ulteriori informazioni sulle procedure di programmazione fare riferimento alla documentazione dell'unità base Easy o dell'Easy Controller.
Parametri di configurazione (Easy)
Dopo la creazione della funzione desiderata è possible impostare i parametri di funzionamento dell'attuatore.
I parametri disponibili, in relazione alla funzione realizzata, sono elencati nelle tabelle sottoriportate.
Il valore sottolineato indica il valore di default.
| Funzione: modo temporizzato | |
| Parametro: tempo attivazione | |
| non attivo nessuna tempo | izzazione |
| 1 secondo relè attivato per | 1 secondo |
| 2 secondi relè attivato per | 2 secondi |
| 3 secondi relè attivato per | 3 secondi |
| 5 secondi relè attivato per | 5 secondi |
| 10 secondi relè attivato per | 10 secondi |
| 15 secondi relè attivato per | 15 secondi |
| 20 secondi relè attivato per | 20 secondi |
| 30 secondi relè attivato per | 30 secondi |
| 45 secondi relè attivato per | 45 secondi |
| 1 minuto relè attivato per | 1 minuto |
| 1.25 minuti relè attivato per | 75 secondi |
| 1.5 minuti relè attivato per | 1,5 minuti |
| 2 minuti relè attivato per | 2 minuti |
| 2.5 minuti relè attivato per | 2,5minuti |
| 3 minuti relè attivato per | 3 minuti |
| 5 minuti relè attivato per | 5 minuti |
| 15 minuti relè attivato per | 15 minuti |
| 20 minuti relè attivato per | 20 minuti |
| 30 minuti relè attivato per | 30 minuti |
| 1 ora relè attivato per | 1 ora |
| 2 ora relè attivato per | 2 ora |
| 3 ora relè attivato per | 3 ora |
| 5 ora relè attivato per | 5 ora |
| 12 ora relè attivato per | 12 ora |
| 24 ora relè attivato per | 24 ora |
PROGRAMMAZIONE CON CONFIGURATORE EASY
| Funzione: modo temporizzato | |
| Parametro: tempo di preavviso | |
| nessun preavviso nessun | preavviso |
| 15 secondi preavviso 15 | secondi prima della disattivazione del relè |
| 30 secondi preavviso 30 | secondi prima della disattivazione del relè |
| 1 minuto preavviso 1 minuto | prime prima della disattivazione del relè |
Uso del pulsante di commando locale
Il pulsante di lavoro locale (figura A) consente di effettuire la commutazione ciclica ON/OFF, invertendo lo stato del relè ad agli sua pressione. Se l'attuator è comandabile in modo temporizzato da almeno un dispositivo KNX/EIBanche il pulsante di lavoro locale invia un lavoro temporizzato.
Nel caso in cui sia attivo un dato prioritario, i dati locali non sono eseguiti.

ATTENZIONE: i pulsanti di lavoro locale sono funzionanti solo se è presente la tensione del BUS.
Comportamento alla caduta e al ripristino dell'alimentazione bus
Se la tensione del bus scende sotto i 18 V dc per più di 1,5 ms il relè commuta in OFF (contatto NA aperto, contatto NC chiuso).
Al ripristino della tensione del bus, il rele rimane in condizione OFF.
Manutenzione
Il disposativo non necessita di manutenzione. Per un'eventuale pulizia adoperare un panno asciutto.
Comunicazione Bus KNX/EIB
Alimentazione Tramite bus KNX/EIB, 29 V dc SELV
Cavo bus KNX/EIB TP1
Assorbimento corrente dal bus 5 mA max
Elementi di lavoro 1 tasto miniatura di programmazione
1 pulsante di lavoro locale del relè
Elementi di visualizzazione 1 LED rosso di programmazione
1 LED verde di segnalazione stato uscita
Elementi di attuazione 1 relè 16 A con contatto NA/NC libero
da tensione
Contatto di uscita 1 NA/NC da 16 A (AC1) / 10 A (AC15) - 250 V ac
Corrente max per tipologia carico Carico resistivo: 16 A
Lampade a incandescenza: 10 A
Lampade fluorescenti non rifasate: 4 A
Lampade fluorescenti con alimentatori elettronici: 4 A
Non adatto per lampade fluorescenti rifasate e per
lampade a scarica, per il lavoro delle quali si
raccomanda l'uso del relè di appoggio
Ambiente di utilizzo Interno, luoghi asciutti
Temperatura di funzionamento -5 ÷ +45 °C
Temperatura di stoccaggio -25 ÷ +70^ C
Umidità relativa Max 93% (non condensante)
Connessione al bus Morsetto ad innesto, 2 pin 1 mm
Connessioni elettriche Morsetti a vite, sezione max cavi: 2,5 mm
Grado di protezione IP20
Dimensione 2 moduli Chorus
Riferimenti normativi Direttiva bassa tensione 2006/95/CE
Direttiva compatibilità elettromagnetica 2004/108/CE
EN50428, EN50090-2-2
Certificazioni KNX/EIB
CONTENTS
GENERAL INFORMATION 16
GENERAL DESCRIPTION 17
INSTALLATION 19
PROGRAMMING WITH THE EASY CONTROLLER 21
IN SERVICE 24
TECHNICAL DATA 25
GENERAL INFORMATION
① Connessione dispositorivo bus
Bus device connection - Connexion dispositif bus - Conexión dispositivo bus Anschluss Busvorrichtung
② Connessione cavo bus
Bus device connection - Connexion cable bus Conexión cable bus - Anschluss Buskabel


G
Ai sensi dell'articolo 9 comma 2 della Direttiva Europea 2004/108/CE e dell'articolo R2 comma 6 della Decisione 768/2008/CE si informa che responsabile dell'immissione del prodotto sul mercato Comunitario è:
ManualeFacile