TT110 - Giradischi LENCO - Manuale utente e istruzioni gratuiti
Trova gratuitamente il manuale del dispositivo TT110 LENCO in formato PDF.
Questions des utilisateurs sur TT110 LENCO
0 question sur cet appareil. Repondez a celles que vous connaissez ou posez la votre.
Poser une nouvelle question sur cet appareil
Scarica le istruzioni per il tuo Giradischi in formato PDF gratuitamente! Trova il tuo manuale TT110 - LENCO e riprendi in mano il tuo dispositivo elettronico. In questa pagina sono pubblicati tutti i documenti necessari per l'utilizzo del tuo dispositivo. TT110 del marchio LENCO.
MANUALE UTENTE TT110 LENCO
L'utilizzo di controli o regolazioni o l'esecuzione di procedure diverse da quella specificate cui potà causare l'esposizione a radiazioni pericolose.
PRECAUZIONI PRIMA DELL'USO
CONSERVARE QUESTE ISTRUZIONI:
- Non coprire o bloccare le aperture di ventilazione. Quando si posizione il dispositorio su uno scaffale, lasciare uno spazio libero di 5 cm (2") attorno all'intero perimetro.
- Installare secondo quando riportato nel manuale fornito.
- Tenere il dispositivo lontano da sorgenti termiche come radiatori, termosifoni, stufe, candele e altri prodotti che generano calore o fiamme libero. Il dispositivo più essere utilizzato solo in climi moderati. Evitare ambienti estremamente freddi o caldi. Working temperature between 0^ and 35^ .
- Evitare l'uso del dispositivo in presenza di forti campi magnetici.
- Le scariche elettrostatiche possono interferire con il normale utilizzo di questo dispositivo. In tal caso, è sufficiente ripristinare e riavviare il dispositivo seguito il manuale di istruzioni. Durante la trasmissione di file, maneggiarlo con cura e operare in un ambiente privo di elettricità statica.
- Avviso! Non inseire mai oggetti nel prodottoattraverso le presed'aria o le aperture. All'interno del prodotto sono presenti tensioni elevate e l'inserimento di un oggettupouprovocare scariche elettriche e/o cortocircuiti.Per lo stesso motivo,non versare acqua o liquidi sul prodotto.
- Nonutilzzare in aree umide o bagnate come bagni, cucine con vapore o piscine.
- Non esporre il disposativo a schizzi o gocciolamenti di liquidi; non poggiare sopra o accanto al disposativo oggetti contententi liquidi, ad esempio vasi.
- Non utilizzato quello dispositivo in caso di condensa. Quando l'unità viene utilizzata in una stanza calda e bagnata con umidità presente, potrebbero prodursi gocce d'acqua o condensa all'interno dell'unità e l'unità potrebbe non funzionare correttamente; lasciare l'unità spenta per 1 o 2 ore prima di accenderla nuovamente. L'unità deve essere asciutta prima della connessione all'alimentazione.
- Sebbene quello dispositivo sa fabbricato con la massima cura e controllato più volte prima di lasciare la fabbrica, è comunque possibile che si verifichino problemi come per qualsiasi另一tra apparecchiatura elettrica. Se si notatione fumo, excessivo accumulo di calorie o altri fenomeni imprevisti, scollegare immediatamente la spina dalla presa di alimentazione principale.
- Questo dispositivo deve funzionare con una fonte di alimentazione con i valori indicati sull'etichetta delle specifiche. Se non si è sicuri del tipo di alimentazione utilizzata in casa, consultare il rivenditore o la compagnia elettrica locale.
- Tenere fuori alla portata degli animali domestici, Some animals enjoy biting on power cords.
- Per pulire il dispositivo, utilizzare un panno morbido e asciutto. Non usare solventi o liquidi a base di benzina. Per rimuovere le macchie persistenti, è possible utilizzato un panno umido con detergente diluito.
- Il fornitore non è responsabile per anni o perdita di dati causati da malfunzionamento, uso improprio, modifica del dispositivo o sostituzione della batteria.
- Non interrompere la connessione quando il disposativo sta formattando o trasferendo file. In caso contrario, i dati potrebbero essere danneggiati o andare persi.
- Se l'unità dispone della funzione di riproduzione USB, la chiavetta USB deve essere collegata direttamente all'unità. Non utilizzare una prolonga USB perché può causare interferenze con seguenti anomalie dati.
- L'etichetta dei dati è riportata sul pannello inferiore o posteriori dell'apparecchio.
- Questo dispositivo non è destinato all'uso da parte di persona (compresi i bambini) con disabilità fisiche, sensoriali o mentali, o mancanti di esperienza e conoscenza, a meno che non siano sotto supervisione o abbiano ricevuto istruzioni circa l'uso corretto del dispositivo da parte di chi è responsable per la loro sicurezza.
- Questo prodotto è destinato esclusivamente all'uso non professione e non commerciale o industriale.
- Assicurarsi che l'unità sa collocata in una posizione stabile. I danni causati dall'uso di quello prodotto in una posizione instabile, vibrazioni o urti o la mancata osservanza di qualsiasi altri avvertimento o precauzione indicati in quello manuale utente non saranno coperti da garanzia.
- Non rimuovere mai la carcassa di quello dispositivo.
-
Non posizionare mai quello dispositivo su altre apparecchiature elettriche.
-
Non permettere ai bambini di accedere ai sacchetti di plastica.
-
Utilizzare solo collegamenti/accessori specificati dal produttore.
-
Rivolgersi a personale qualificato per l'assistenza. La manutenzione è necessaria quando l'apparecchio è stato danneggiato in qualsiasi modo, come ad esempio quando il cavo o la presa di alimentazione o sono deteriorati, quando è stato versato un liquido, quando sono caduti nell'apparecchio degli oggetti, quando l'apparecchio è stato esesto a pioggia o umidità, quando non funziona normalmente o quando è caduto.
-
L'esposizione prolungata ai suoni ad alto volume deilettori musicali cui po causare una perdita temporanea o permanente dell'udito.
-
Se il prodotto viene consegnato con cavo di alimentazione o adattatore di alimentazione CA:
In caso di problemi, scollegare la schedà di alimentazione CA e rivolgersi a personale qualificato.
Non calpestare o schiacciare l'alimentatore. Fare molta attenzione, in particolare vicino alle prese e al punto di uscita del cavo. Non posizionare oggetti pesanti sull'alimentatore in quanto potrebbero danneggiarlo. Tenere il dispositivo fuori alla portata dei bambini. Giocando con il cavo di alimentazione possono infortunarsi seriamente.
- Scollegare il dispositivo durante i temporali o quando non viene utilizzato per un lungo periodo.
- La presa di corrente deve essere installata vicino all'apparecchio e deve essere facilemente accessibile.
Non sovraccaricare le prese CA né le prolonghe. Il sovraccarico può causare incendi o scariche elettriche.
I dispositivi con struttura di classe 1 devono essere collegati a una presa di rete con connessione di messa a terra di protezione.
I dispositi vi con struttura di classe 2 non richiedono un collegamento a terra.
- Tenere sempre la spina quando la si estrae alla presa di rete. Non tirare il cavo di alimentazione. Ciò può causare un cortocircuito.
Non utilizzato un cavo o una presa di alimentazione danneggiati o una presa non fissata. Tale azione potrebbe provocare incendi o scariche elettriche.
- Se il prodotto contiene o viene consecnato con un telecomando contente batterie a pulsante/a bottone:
Avverenza:
- "Non ingerire la batteria, pericolo di ustioni chimiche" o funzionamento equivalente.
- [Il telecomando in dotazione con] Il presente prodotto contiene una pila a bottone. Se inerita, la batteria può causare gravi usstioni interne in sole 2 ore e portare alla morte.
-
Tenere le batterie, nuove o usate, fuori alla portata dei bambini.
Se il vano batteria non si chiude completamente, interrompere l'uso del disposito e tenerlo fuori della portata dei bambini.
Se si teme che delle batterie possano essere state inghiotte o essere venute a fatto con qualiassi parte interna del corpo, contattare immediamente un medico. -
Precauzioni sull'uso delle batterie:
-
Pericolo di esplosione se la batteria viene sostituita in modo errato. Sostituire solo con lo stesso tipo o equivalente.
Non sottoporre le batterie a temperature estreme alte o basse, bassa pressione dell'aria ad alta quota durante l'uso, lo stoccaggio o il trasporto. - La sostituzione con una batteria di tipo errato può provocare un'esplosion o la perdita di liquidi o gas infiammabili.
- Lo smaltimento di una batteria nel fuoco o in un forno caldo o lo schiaccimento o il taglio meccanico di una batteria possono provocare un'esplosion.
- Lasciare una batteria in un ambiente circostante a temperatura extremamente elevata può provocare un'esplosione o una perdita di liquidi o gas infiammabili.
- Una batteria soggetta a una pressione dell'aria extremamente Bassa cui provocare un'esplosion o una perdita di liquidi o gas infiammabili.
- E necessario prestare attenzione agli aspetti ambientali legati allo smaltimento delle batterie.
INSTALLAZIONE
- Disimballare tutte le parti e rimuovere il materiale protettivo.
Non collegare l'unità alla rete elettrica prima di avere controllato la tensione di rete e prima che siano stati effettuali tutti gli altri collegamenti.
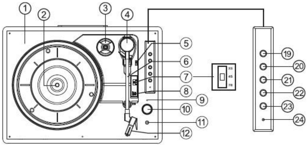
Accessorini inclusi nella fornitura:
Manuale d'uso

Alimentatore




- Piano del giradischi
- Albero motore del giradischi
- Adattatore per foro centrale
- Braccio dilettura
- Leva di posizionamento
-
Fermo del braccio dilettura
-
Selettore di velocità del giradischi
- Interruttore di arresto automatico
- Indicatore di stato a LED
- Interruttore di alimentazione/Regolazione del volume
- Jack per cuffie
- Stylus
- Chiusura a scatto
- Maniglia per il trasporto
- Altoparlante
- Jack di ingresso Aux
- Uscita audio (Line out) canale R/L
- Jack di ingresso CC
- Associazione
- Brano precedente
- Brano successivo
- Riproduzione/pausa
- Modalità
- Indicatore di modalità
Modalità
- Premere brevamente "Modalità" per selezionare la modalità di riproduzione.
- Il LED blu lampeggia quando il Bluetooth è in fase di assocazione.
- Il LED blu si accende quando il Bluetooth è connesso
- Il LED rosso si accende quando viene selezionata la modalità giradischi.
- Il LED verde si accende quando viene selezionata la modalità Aux in.
Utilizzo del giradischi
- Posizione r'alloggiamento del giradischi su una superficie piana.
- Inserire un'estremità del cavo dell'adattatore nella presa CC sul retro dell'alloggiamento e insere l'altra estremità dell'adattatore nella presa di alimentazione.
- Al primo utilizzato, assicurarsi che la fascetta venga rimossa dal braccio dellettore.
- Rimuovere il cappuccio di protezione della testina e conservarla in un luogo sicuro per utilizi futuro

- Spostare il selettore di velocità (a 33,45 o 78 giri/min) in modo che corrisponda a quella del disco riproduotto
-
Ruotare la manopola di regolazione del volume per accendere il giradisci, l'indicatore di modalità diventerà rosso
-
Posizione are un disco sul mandrino del giradischi e sganciare il braccio dilettura
- Usare la leva di posizionamento per sollevare il braccio digettura e spostarlo in modo che la puntina venga posizionata esattamente sul bordo del disco o orientata in modo tale da poter avviare la riproduzione del brano.
- Abbassare lentamente il braccio e dopo quello istante verrà avviata la riproduzione del disco
- Regolare il volume al livello desiderato ruotando la manopola di regolazione del volume
- Al terme della riproduzione del disco, il giradischi si ferma
- Utilizzare nuovamente la leva per sollevare il braccio digettura (il piano inizierà a ruotare di nuovo), riportare il braccio verso il fermo e abbassarlo nell'apposto supporto. A questo punto il piano si ferma
- Fissare il braccio digettura con il fermo e reinserire il cappuccio della punita dopo l'uso e sempre prima di spostare il giradischi.
- Per spegnere il giradischi in qualsiasi momento, sollevare il braccio dietta sul disco e ruotare la manopola del volume completeness in senso antiorario.
Nota
Alcuni dischi presentano un foro centrale più grande e potrebbe essere necessario montare l'adattatore per il foro centrale sull'albero del giradischi prima di posizionare il disco. Prima di spostare il giradischi, reinserire sempre il cappuccio della puntina e fissare il braccio del giradischitramite l'apposto fermo.
Utilizzo tramite dispositivo aesiliario
- Gli apparecchi analogici audio ausiliari sono essere collegati e amplificati tramite il giradischi.
- Collegare l'apparecchio ausiliario utilizzato un cavo jack da 3,5 mm (non incluso) da insertire nel connettore jack LINE IN.
- Premere il pulsante di riproduzione sull'apparecchio ausiliario e utilizzato i comandi di riproduzione su quest'ultimo come di consueto.
- Il volume può essere regolatotramite la manopola di regolazione del volume del giradischi o i comandi del dispositivo aesiliario.
- Per spegnere l'unità in qualsiasi momento, ruotare completamente la manopola del volume in senso antiorario.
Utilizzato delle cuffie (non incluse)
Perutilizzare il giradischi sensa disturbare gli altri, nella fornitura è stato incluso un jack per cuffie stereo. Inserire le cuffie nel punto di collegamento contrassegnato con tale dicitura accanto alla manopola di regolazione del volume e regolare il volume al livello desiderato. Un'eccessiva pressione sonora generata da auricolari o cuffie più comportare la perdita dell'udito. Gli altoparlanti del giradischi non saranno operativi quando vengono collegate le cuffie.
Collegamento del giradischia a un altoparlante esterno
Per il collegamento del giradisch i degli altoparlanti esterni (tramite un amplificatore adatto)
Usare un cavo phono a due connettori (non incluso) per collegare i jack di uscita RCA all'ingresso Audio dell'amplificatore. Assicurarsi di collegare i connettoriRossi e bianchi nelle rispettive prese dello stesso colore.
Utilizzato di un disposativo Bluetooth
Assicurarsi che il giradischi si trovi in modalità Bluetooth. In caso contrario, premere brevamente il pulsante Modalità finché non viene impostata la modalità Bluetooth (il LED blu si accende). Verrà avviata la ricerca dei dispositivi Bluetooth (il LED blu lampeggia durante l'associazione).
In modalità Bluetooth:
- Il proprio dispositivo effettua la ricerca Bluetooth.
- Sul disposativo (ad es. iPhone/iPad/Android/altro Telefono/Tablet/Computer), attivare la connettività Bluetooth e fare in modo che sua 'visible'.
Note: se necessario,fare riferimento alle istruzioni del proprio dispositivo per aggiuungere o configurare il Bluetooth.
- Selezionare 'Aggiungi dispositivo', se necessario.
Note: alcuni prodotti effettuano la ricerca dei nuovi dispositivi in modo automatico, pertanto in tal caso l'opzione 'Aggiungi nuovo dispositivo' non sare disponibile.
- Una volta trovato, il proprio dispositivo verrà visualizzato come 'Lenco TT-110'. Selezionare e avviare l'associazione.
- Al terme dell'associone, verrà visualizzato 'Bluetooth connesso'.
- A Anything's done, after the end of the day, you have to do it again.
- Il proprio dispositivo rimarra associato al giradischi a meno che non si decide di disconnetterlo o 'annullare l'associazione'.
- É possible premère brevamente "Associa" per la riconnessione.
Riproduzione Bluetooth
- Premere "Indietro" per passare al brano precedente del proprio dispositivo Bluetooth.
- Premere "Avanti" per passare al brano successivo del proprio dispositivo Bluetooth.
- Premere "Riproduzione/pausa" per riproduire o mettere in pausa il proprio dispositivo Bluetooth.
"Questo prodotto ha una funzione di ricezione bluetooth, non puoi trasmettere alcun suono bluetooth conesso: quello significata che puoi ricevere in modalità wireless un segnale audio bluetooth da una fonte esterna come uno smartphone."
COME SOSTITUIRE LA PUNTINA
Per sostituire la puntina,fare riferimento alle istruzioni che seguono.
Rimozione della puntina alla cartuccia
- Posizione are un cacciavite sulla punta della testina e spingere verso il basso nella direzione indicata nel
punto "A" del disegno.
- Rimuovere la testina tirandola in avanti e spingendola verso il basso.
Installazione della testina
- Tenere la punta della testina e insertirla spingendola nella direzione individata nel punto "B" del disegno.
- Spingere la testina verso l'alto nella direzione individata nel punto "C" del disegno fino allo scatto in posizione della puntina.


| EN | IT |
| Guide Pins (inside) | Perni guida (all'interno) |
NOTE
Si consiglia di pulire i dischi con un panno antistatico per poterli sfruttare al massimo.
Si ricorda inoltre che per lo stesso motivo la testina deve essere sostituita periodicamente (circa agli 250 ore di riproduzione)
SUGGERIMENTI PER PRESTAZIONI OTTIMALI DEL GIRADISCHI
- Quando si après o si chiude il coperchio del giradischi, maneggiarlo con delicatezza, afferrandolo al centro o per entrambi i lati.
- Evitare di toccare la puntina con le dita; evitare di urtare la puntina contro il piatto del giradischi o il bordo del disco.
- Pulire spesso la punta della testina, usare un pennello morbido limitandosi a un movimento "da dietro in avanti".
- Nel caso in cui sia necessario usare un liquido per la pulizia della puntina, utilizzato con molto parsimonia.
- Pulire delicatamente l'alloggamento del giradischi con un panno morbido. Utilizzare soltanto una piccola quantità di detergente delicato per pulire il giradischi.
- Evitare in ogni caso di applicare prodotti chimici aggressivi o solventi su qualsiasi parte del giradischi.
| Tipo | trasmissione a cinghia |
| Motore di trasmissione | Motore CC |
| velocità | 33 1/3 giri/min, 45 giri/min, 78 giri/min |
| wow and flutter | <0,35% |
| Piatto girevole | 200mm |
testina
| Tipo | testina in ceram |
| Puntina | 0.7 mil |
| Forza di tracciamento ottimale | 6 grammi |
| uscita | 300-500 mv |
| Risposta in frequenza | ,+/-20 dB |
| diafonia | 10 db |
| rapporto segnale-rumore (S/N) | 18 db |
Generale
| Adattatore | Ingresso CA 100-240 V, 50/60 Hz, 0,3 A max. |
| Uscita CC 5 V 1 A | |
| prodotti | CC 5 V 1 A |
| uscita audio (Line-Out) | 300-500 mv |
| Consumo | 5 W |
Alimentatore.
Uscita CC 5 V 1 A
Ingresso CA 100-240 V, 50/60 Hz, 0,3 A max.
Nome di assocazione Bluetooth:
Lenco TT-110
Presa per cuffie:
3,5 mm
Temperatura di esercizio:
0-40°C
Temperatura di stoccaggio:
-20-70°C
In virtù dei continui miglioramenti, le caratteristiche e il design sono soggetti a modificheenza preavviso
Adattatore di alimentazione (solo per UE)
| Informazioni | Valore e precisione |
| Manufacturers name or trade mark, commercial registration and address | DongGuan Obelieve Electronic Co., Ltd Parco industriale Huazhaoxin B-4/F, zona industriale Golden phoenix, città di Fenggan, città di Dongguan, provincia di Guangdong, Cina |
| Identificatore del modello | OBL-0501000E |
| Tensione in ingresso | 100-240V |
| Frequenza in ingresso CA | 50/60 Hz |
| Tensione in uscita | 5 V |
| Currente in uscita | 1 A |
| Potenza in uscita | 5 W |
| Efficienza media attiva | 73,62 |
| No load Power consumption | ≤ 0,10 |
Garanzia
Lenco offre assistenza e garanzia in conformità con la legge europea, il che significica che in caso di riparazioni (sia durante che dopo il periodo di garanzia) è necessario contattare il rivenditore locale.
Nota importante: Non è possible inviare direttamente a Lenco i prodotti da ripareare.
Nota importante: Qualora l'unità venga aperta o manomessa in qualsiasi modo da un centro di assistenza non riconosciuto, la garanzia decade.
Questo dispositivo non è adatto per l'uso professionale. Qualora l'unità venga utilizzata per scopi professionali, tutti gli obblighi del produttore derivanti alla garanzia sono nulli.
Clausola di esclusione della responsabilità
Il firmware e/o i componenti hardware vengono aggiornati regolarmente. Pertanto, è possibile che alcune parti relative a istruzioni, specifiche e immagini contenate nella presente documentazione siano diverse da quando riscontrato nel singolo caso. Tutte le descrizioni incluse in questa guida sono fornite a puro titolo illustrativo e non si applicano necessariamente alla specifica situazione. Nessun diritto legale o contrattuale cui poè derivare dalle descrizioniicontenate nel presente libretto di istruzioni.
Smaltimento a fine vita del dispositorio


Questo significato indica che in Europa è vietatogettare il relativivo prodotto elettrico o batteria tra i rifiuti domestici. Per il corretto smaltimento a fine vita del prodotto e della batteria, atteneri alle vigenti normative locali per il trattamento dei rifiuti da apparecchiature elettriche ed elettroniche e delle batterie. In tal modo si contribuisce a salvaguardare le risorse naturali e a migliorare gli standard per la protezione
dell'ambiente nel trattamento dei rifiuti da apparecchiature elettriche ed elettroniche (Direttiva RAEE).
Marchio CE

Con la presente, Commaxx B.V. Wiebachstraat 37, 6466 NG Kerkrade, Paesi Bassi, dichiara che questo prodotto è conforme ai requisiti essenziali della Direttiva europea.
AVVERTENZA: per prevenir possibili danni all'udito, evitare l'ascolto ad alto volume per periodi di tempo prolongati.
Assistenza
Per ulteriori informazioni e accesso all'helpdesk, visitare il site www.lenco.com
Commaxx B.V. Wiebachstraße 37, 6466 NG Kerkrade, Paesi Bassi.
ManualeFacile