HR80 - Termostato HONEYWELL - Manuale utente e istruzioni gratuiti
Trova gratuitamente il manuale del dispositivo HR80 HONEYWELL in formato PDF.
Scarica le istruzioni per il tuo Termostato in formato PDF gratuitamente! Trova il tuo manuale HR80 - HONEYWELL e riprendi in mano il tuo dispositivo elettronico. In questa pagina sono pubblicati tutti i documenti necessari per l'utilizzo del tuo dispositivo. HR80 del marchio HONEYWELL.
MANUALE UTENTE HR80 HONEYWELL
ISTRUZIONI DI MONTAGGIO E PER
L'USO
REGOLATORE DA RADIATORE HR 80
PANORAMICA ED USO
Il regolatore del radiatore HR 80 è un componente delsystema di regolazione monoambiente e più essere montato su tutte le normali valvole di radiatore. Non si formano macchie di sporco o di calcare.
La temperatura può essere modificata...
- manually除去的必要条件
- manualmente agenda sulla manopola dell'elemento di lavoro del regolatore del radiatore
- con l'unità di comando centralizzato
ADATTATORI OPZIONALI PER VALVOLE DI ALTREMARCHE
Per le valvole Oventrop, Herz, Danfoss, Vaillant e Caleffi sono disponibili i seguenti adattatori opzionali:
| Tipo | Cod. Ord. | Adattatore/attacco |
| Oventrop HU 01 (attacco M30x1) | 073341076 | |
| Herz HU 02 (attaccot M28) | 073341725 | |
| Danfoss kit EVA 1-Danfoss | 072031201 | RAV (grigio) RA (bianco) (fornito) RAVL (nero) |
| Vaillant Adapter EHA 1VAI | 072031082 | |
| Caleffi | - | fornito |
ELEMENTI DI COMANDO E DISPLAY

1 Display: indica la temperatura attualmente impostata e le informazioni sull'apparecchio.
2 Manopola dell'elemento di lavoro: consente la regolazione manuale della temperature.

3 Simbolo indicante il collegamento con l'unità di lavoro centralizzato.
4 Simbolo per la separazione dell'elemento di lavoro e l'attacco della valvola.
5 Temperatura nominale
6 Simbolo per il valore effettivo proveniente dall'unità di lavoro centralizzato (opzionale).
MATERIALE FORNITO




1 Elemento di lavoro
4 Batterie
2 Attacco della valvola
5 Adattatore Caleffi
3 Adattatore Danfoss RA
MONTAGGIO
Smontare il vecchio termostato.
MONTAGGIO DELL'ADATTATORO
Scegliere l'adattatore necessario.
- Allargare l'adattatore e spingerlo completamente sulla valvola. Allo stesso tempo ruotarlo fino a farlo innestare percettibilmente a scatto.
Se previsto sull'adattatore:
Serrare a fondo l'adattatore con la vite o applicare la spina adattatrice.
MONTAGGIO DELL'ATTACCO DELLA VALVOLA
Le valvole Honeywell-Braukmann, MNG, Heimeier, Junkers, Landis & Gyr 'Duogyr' non richiedono adattatori. Adattatore per valvole Oventrop, Danfoss, Herz e Vaillant: vedi cap. "Adattatori optionali per valvole di altre marche".
- Ruotare la manopola dell'attacco della valvola in senso antiorario fino a portare il dente (1) a fatto con il fermo (2) dell'alloggiamento.

- Applicare l'attacco della valvola sulla valvola del radiatore.

- Applicare il dato metallico zigrinato (3) sulla filettatura della valvola del radiatore.

- Serrare a fondo il dato metallico zigrinato alla usare attrezzi.
Suggerimento: Il modo più semplice per verificare la correttezza del montaggio dell'attacco della valvola è con riscaldamento accesso. Se l'attacco della valvola è installato correttamente, il radiatore si scalda (manopola completeness a sinistra).
ATTIVAZIONE DEL TEACH-INTT

Attenzione!
Il regolatore del radiatore comunica via radio con l'unità di lavoro centralizzato.
Nella scelta del luogo di installatione tenere presente una distanza minima di 1 - 2m da apparecchi che trasmettono o ricevono onde elettromagnetiche, ad esempio cuffie radio, Telefoni cordless conformi allo standard DECT, ecc.
Prima di poter mettere in funzione nuovi componenti del sistema di regolazione, deve essere effettuata l'assegazione all'unità di lavoro centralizzato. Questo processo viene chiamato "Teach-in".
i Prima leggere e poi eseguire tutte le operazioni necessarie per il teach-in. Il modo operativo di teach-in resta attivo sul regolatore del radiatore per max. 4 minuti.
- Portare l'elemento di lavoro nelle immedite vicinanze del relativo attacco della valvola.

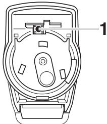
Premere e tenere premuto il tasto di teach-in (1) per un secondo.
Rilasciendo inizia a lampeggiare il symbolo ed il numero di versione del software viene visualizzato per 30 secondo.
Se in un locale si devono controllare simultaneamente più regolatori per radiatore:
Premere in successione i tasti di teach-in di tutti i regolatori.
Attivare il teach-in sull'unità di lavoro centralizzato (vedi le istruzioni per l'uso dell'unità di lavoro centralizzato).
Durante il teach-in, il display del regolatore del radiatore visua liza costamente il symbolo. Compare la scritta: 5ynC
Il regolatore del radiatore riceve dati dall'unità di lavoro centralizzato. Questo processo può durare ancche 4 minuti.
Teach-in fallito
Il teach-in è fallito se il symbolo scompare. Adottare i seguenti provvedimenti:
- Allontanare gli apparecchi di disturbo/schematura, ad esempio cuffie radio, Telefoni cordless, altoparlanti, apparecchio per aprire il portone del garage, ecc.
Ripetere il teach-in.
i Se nel modo operativo normale scompare il symbolo 1, non è necessario ripetere il teach-in. Probabilmente le batterie dell'unità di dato centralizzato sono scariche. Dopo la sostituzione delle batterie, l'HR 80iene risincronizzato automaticamente.
La temperatura sul regolatore del radiatore viene impostata automaticamente su 20^
COMPLETAMENTO DEL MONTAGGIO DEL REGOLATORE DEL RADIATORE
- Ruotare la leva di tenuta dell'elemento di lavoro portando la punta verso l'alto.
Il bloccaggio per l'attacco della valvola si après. - Applicare l'elemento di commando sull'attacco della valvola.
- Ruotare la leva di tenuta con la punta in posizione orizzontale.



L'elemento di lavoro e l'attacco della valvola sono ora collegati definitivamente.
Dal display dell'HR 80 scompare il symbolo. Il regolatore del radiatore è ora pronto per entrare in funzione.
i Per separare l'elemento di commando dall'attacco della valvola procedure in senso contrario.
FUNZIONAMENTO
i Ogni modifica locale della temperatura nominale resta attiva finché non viene soprascritta automaticamente da un programma temporale.
La temperatura viene regolata ed impostata sull'unità di lavoro centralizzato. Per ulteriori dettagli consultare le istruzioni per l'uso dell'unità di lavoro centralizzato.
MODIFICA DELLA TEMPERATURA SULLA MANOPOLA
▶ Ruotare la manopola dell'elemento di lavoro finché il display non visualizza la temperature richiesta (compresa tra 5 e 30^ ).
Il Campo della temperatura (intervallo standard 5 - 30^ ) può essere limitato sull'unità di lavoro centralizzato.
Per après o chiudere completeness la valvola del radiatore:
▶ Ruotare la manopola finché il display visualizza "OFF" (chiuso) o "ON" (aperto). (Se i limiti della temperatura sono impostati, "ON"/"OFF" non viene visualizzato.)
MONTAGGIO/SOSTITUZIONE DELLE BATTERIE
Quando sul display compare bATT, è necessario sostituire le batterie.
i Se le batterie sono quasi esaurite, il regolatore del radiatore après completeness la valvola del radiatore.
Se al terme del teach-in si sostituiscono le batterie, sul display compare 5y_OnC
Il regolatore del radiatore attende dati dell'unità di lavoro centralizzate (vedi cap. "Attivazione del teach-in").
- Aprire il vano delle batterie.
- Togliere le batterie scariche eventualmente presenti all'interno.
- Inserire le batterie nuove nel loro vano. Attenzione alla polarità corretta.
- Chiudere il vano delle batterie.


Non smaltire le batterie scariche insieme ai rifiuti domestici; riconsegnarle al centro di vendita conformmente alle norme in materia.
Sostituire sempre entrambé le batterie. Usare solo batterie Alkaline da 1,5 V del tipo LR06.
REGOLAZIONE DI EMERGENZA CON BATTERIE SCARICHE
- Separare l'elemento di lavoro dall'attacco della valvola.
- Apriere o chiudere la valvola del radiatore agenda sulla manipola dell'attacco della valvola rispettivamente nel verso del segno "+" o nel verso del segno "-".

MODI OPERATIVI DEF (IMPOSTAZIONE PREDEFINITA) E FULL
Per commutare da un modo operativo all'altro, premere il tasto di teach-in (vedi cap. "Attivazione del teach-in") finché il modo operativo desiderato non compare sul display.
Modo operativo Def (impostazione predefinita)
L'HR 80 opera con la corsa ottimale della valvola necessaria per la regolazione della temperatura ambiente.
Modo operativo Full
Perutilizzare l'intera corsa della valvola o se la valvola non chiude completamente, I'HR 80 delve essere impostato sul modo operativo FULL.
Nel modo operativo FULL la durata delle pile diminuisce.
RIPRISTINO DELL'HR 80 SULLE IMPOSTAZIONI PREDEFINITE
Separare l'elemento di lavoro dall'attacco della valvola, vedi cap. "Completamento del montaggio del regolatore del radiatore".
Togliere le pile.
- Tenere premuto il tasto di teach-in e reinserire lepile (vedi cap. "Attivazione del teach-in").
Collegare l'elemento di lavoro e l'attacco della valvola.
FUNZIONI AUTOMATICHE
FUNZIONE "FINESTRA APERTA"
Se viene aperta la finestra facendo abbassare fortemente la temperatura in un breve periodo di tempo, il regolatore chiude la valvola del radiatore per risparmiare energia. Il display visualizza il messaggio OPE_n .
Al nuovo aumento della temperatura (tuttavia entro 30 minuti), il regolatore del radiatore ritorna a funzionare nel modo operativo normale.
La funzione di "finestre aperta" più essere disattivata sull'unità di lavoro centralizzato.
PROTEZIONDAL BLOCCAGGIO DELLA VALVOLA
Se non viene aperta completeness almeno una volta entro 2 settimane, la valvola si apare per breve tempo e quindi si richiude. Ciò impedisce che la valvola si blocchi. Il display visualizza in tal caso il messaggio CYCLE. Il ciclo di 2 settimane inizia dall'istante in cui l'elemento di lavoro viene collegato all'attacco della valvola.
PROTEZIONE ANTIGELO
Se la temperatura si abbassa sotto 5^ , il regolatore del radiatore porta la valvola del radiatore su 5^ costanti.
Sull'unità di lavoro centralizzato si può modificare il valore della protezione antigelo (valore standard: 5^ ).
i La protezione antigelo non funziona se le batterie sono scariche o se l'elemento di lavoro è staccato.
MESSAGE DI STATO E3
Se sul display compare il symbolo E3, il motorino dell'HR 80 non cui quere più spostato.
MODO DI MANUTENZIONE (RISERVATO AGLI INSTALLATORI)
Nel modo di manutenzione si controlla il contatto radio tra il regolatore del radiatore, l'unità di lavoro centralizzato ed una unità ricevitrice.
Separare l'elemento di lavoro dall'attacco della valvola, vedi cap. "Completamento del montaggio del regolatore del radiatore"
▶ Ruotare la manopola finché il display non visualizza OH (aperto).
Continuare a ruotare la manopola di due altri giri completi (720^)
Il display visualizza EES. Il modo di manutenzione è attivato.
Il regolatore del radiatore invia un messaggio di test ad un'eventuale unità ricevitrice (ad esempio HC60ng).
Premere il tasto di teach-in. Il regolatore del radiatore è pronto alla ricezione di un messaggio di test dall'unità di lavoro centralizzato. Le prime due cîfre del display indicano il numero di messaggi di test ricevuti e l'ultima cîfra a destra l'intensità di Campo (1=intensità sufficiente, 5=intensità ottima)
Per disattivare il modo di manutenzione:
Premere e tenere premuto il tasto di teach-in per 5 s o attendere 5 minuti, o togliere e ricollocare le batterie. Il modo di manutenzione è disattivato.
SMALTIMENTO (DIREZTIVA WEEE 2002/96 EG)

Al termine della durata utile, smaltire l'imballaggio ed il prodotto segnandoli ad un centro di risciclaggio. Non smaltire il prodotto insieme ai normali rifui di domestici. Non bruciare il prodotto.
SPECIFICHE TECNICHE
| Consumazione corrente elettrica (standby) | 0.15 mW |
| Consumazione corrente elettrica (motore in azione) | 105 mW |
| Precisione di regolazione | 0.7 °C |
| Classe di protezione | IP30 |
| Temperature del ambiente | 0 °C ... +50 °C |
| Temperature per stoccaggio | -20 °C ... +70 °C |
| Umidita | 5 ... 95 % umidità rel. |
| Dimensioni (L x L x A) | 100 x 50 x 80 mm |
| Peso | 220 g, con batterie |
| Norme CE | EN 61000-6-3 |
| EN 61000-6-1 | |
| EN 300-220 | |
| EN 301-489 |
Il regolatore da radiatore HR 809 è certificato a seconda di eu.bac.

020866
Notice-Facile