PKG1643 - Hűtőszekrény PROGRESS - Ingyenes használati útmutató
Találja meg az eszköz kézikönyvét ingyenesen PKG1643 PROGRESS PDF formátumban.
Töltse le az útmutatót a következőhöz Hűtőszekrény PDF formátumban ingyenesen! Találja meg kézikönyvét PKG1643 - PROGRESS és vegye vissza elektronikus eszközét a kezébe. Ezen az oldalon közzé van téve az eszköze használatához szükséges összes dokumentum. PKG1643 márka PROGRESS.
HASZNÁLATI ÚTMUTATÓ PKG1643 PROGRESS
Biztonsági információk 39
Biztonsági utasítások 40
Működés 42
Napi használat 43
Hasznos tanácsok és javaslatok 44
Ápolás és tisztítás 46
Hibaelhárítás 47
Üzembe helyezés 50
Zajok 55
Müszaki információk 56
A változtatások jogát fenntartjuk.
⚠ BIZTONSÁGI INFORMÁCIÓK
Az üzembe helyezés és használat előtt gondosan olvassa el a mellékelt útmutatót. A nem megfelelő üzembe helyezés vagy használat által okozott károkért nem vállal felelősséget a gyártó. További tájékozódás érdekében tartsa elérhető helyen az útmutatót.
Gyermekek és fogyatékkal élő személyek biztonsága
- A készüléket a gyermekek (csak 8 évnél idősebb) és csökkent fizikai, értelmi vagy mentális képességű, illetve megfelelő tapasztalatok és ismeretek híján lévő személyek csak felügyelettel, vagy a készülék biztonságos használatára vonatkozó megfelelő tájékoztatás esetén használhatják.
- Ne hagyja, hogy gyermekek játsszanak a készülékkel.
- Gyermekek felügyelet nélkül nem végezhetnek tisztítási vagy karbantartási tevékenységet.
- Minden csomagolóanyagot tartson távol a gyermekektől.
Általános biztonság
- A készüléket háztartási, illetve más hasonló felhasználási területekre szánták, mint például:
– Hétvégi házak, üzletek, irodák és egyéb munkahelyeken kialakított személyzeti konyhák - Hotelek, motelek, szállások reggelivel és egyéb lakás céljára szolgáló ingatlanok esetén az ügyfelek számára
-
Ne takarja le a készülékházon vagy a beépített szerkezeten lévő szellőzőnyílásokat.
-
Csak a gyártó által ajánlott mechanikus berendezéseket vagy eszközöket használjon a leolvasztás meggyorsítására.
- Ügyeljen arra, hogy ne sérüljön meg a hűtőkör.
- Kizárólag a gyártó által ajánlott típusú elektromos berendezéseket használjon a készülék ételtároló rekeszeiben.
- A készülék tisztításához ne használjon vízsugarat vagy gözt.
- A készüléket puha, nedves ruhával tisztítsa. Csak semleges tisztítószert használjon. Ne használjon súrolószert, súrolószivacsot, oldószert vagy fém tárgyat.
- Tilos robbanásveszélyes termékeket és anyagokat (pl.: gyulladásveszélyes hajtógázzal töltött aeroszolos flakonokat) tárolni a készülékben.
- Ha a hálózati kábel megsérül, azt a gyártónak vagy a gyártó szerelőjének vagy más hasonlóan képzett személynek ki kell cserélnie, nehogy veszélyhelyzet álljon elő.
BIZTONSÁGI UTASÍTÁSOK
Üzembe helyezés

VIGYÁZAT! A készüléket csak képesített személy helyezheti üzembe.
• Távolítsa el az összes csomagolóanyagot
- Ne helyezzen üzembe, és ne is használjon sérült készüléket.
- Tartsa be a készülékhez mellékelt üzembe helyezési útmutatóban foglaltakat.
- Súlyos a készülék, ezért legyen körültekintő a mozgatásakor. Mindig viseljen munkavédelmi kesztyűt.
- Gondoskodjon arról, hogy keringeni tudjon a levegő a készülék körül.
• Várjon legalább 4 órát, mielőtt csatlakoztatja a készüléket az elektromos hálózathoz. Ez azért
szükséges, hogy az olaj visszafolyhasson a kompresszorba.
- Ne helyezze üzembe a készüléket radiátorok, tűzhelyek, sütők vagy főzőlapok közelében.
- A készülék hátoldalát a falhoz kell állítani.
- Ne helyezze üzembe a készüléket közvetlen napsugárzásnak kitett helyen.
- Ne telepítse a készüléket túl párás vagy hideg helyekre, például építkezések felvonulási épületébe, garázsba vagy borpincébe.
- A készülék mozgatásakor a készülék elejének peremét emelje fel, ellenkező esetben megkarcolhatja a padlót.
Elektromos csatlakoztatás

VIGYÁZAT! Tüz- és áramütésveszély.
- A készüléket kötelező földelni.
- Minden elektromos csatlakoztatást szakképzett villanyszerelőnek kell elvégeznie.
- Ellenőrizze, hogy az adattáblán szereplő elektromos adatok megfelelnek-e a háztartási hálózati áram paramétereinek. Amennyiben nem, forduljon szakképzett villanyszerelőhöz.
- Mindig megfelelően felszerelt, áramütés ellen védett aljzatot használjon.
- Ne használjon hálózati elosztókat és hosszabbító kábeleket.
- Ügyeljen az elektromos alkatrészek (pl. hálózati csatlakozódugasz, hálózati kábel, kompresszor) épségére. Ha az elektromos alkatrészek cserére szorulnak, forduljon a márkaszervizhez vagy villanyszerelőhöz.
- A hálózati kábelnek a hálózati aljzat szintje alatt kell elhelyezkednie.
- Csak az üzembe helyezés befejezése után csatlakoztassa a hálózati csatlakozódugót a hálózati csatlakozóaljzatba. Ügyeljen arra, hogy a hálózati dugasz üzembe helyezés után is könnyen elérhető legyen.
- A készülék csatlakozásának bontására, soha ne a hálózati kábelnél fogva húzza ki a csatlakozódugót. A kábelt mindig a csatlakozódugónál fogva húzza ki.
Használat

VIGYÁZAT! Sérülés-, égés-, áramütés- és tűzveszély.
- Ne változtassa meg a készülék műszaki jellemzőit.
- Ne helyezzen más elektromos készüléket (például fagylaltkészítő gépet) a készülék belsejében, hacsak ezt a gyártó kifejezetten nem javasolja.
- Ügyeljen arra, hogy ne sértse meg a hütőkör alkatrészeit. A hütőkör igen környezetbarát földgázt, izobutánt (R600a) tartalmaz. Ez a gáz gyúlékony.
- Amennyiben a hütőkör megsérül, tartózkodjon mindennemű nyílt láng és
gyújtószikra használatától. Szellőztesse ki a helyiséget.
- Ügyeljen arra, hogy forró tárggyal ne érjen a készülék műanyag részeihez.
- Ne tegyen üditőitalt a fagyasztótérbe. A szénsav ugyanis nyomást fejt ki az italtároló edényre.
- Ne tároljon gyúlékony gázt vagy folyadékot a készülékben.
- Ne tegyen gyúlékony anyagot vagy gyúlékony anyaggal szennyezett tárgyat a készülékbe, annak közelébe, illetve annak tetejére.
- Ne érintse meg a készülék kompresszorát és kondenzátorát. Ezek üzem közben forróvá válnak.
- Nedves/vizes kézzel ne vegyen ki semmilyen ételt a fagyasztóból, és ne is érintse meg azokat.
- Az egyszer már felolvasztott ételt ne fagyassza vissza.
- Kövesse a fagyasztott étel csomagolásán található tárolási útmutatásokat.
Ápolás és tisztítás

VIGYÁZAT! Személyi sérülés vagy a készülék károsodásának veszélye áll fenn.
- Karbantartás előtt kapcsolja ki a készüléket, és húzza ki a hálózati csatlakozódugót a csatlakozóaljzatból.
- A készülék hűtőegysége szénhidrogén hűtőközeget tartalmaz. Az elektromos üzembe helyezést és a készülék hűtőközeggel való feltöltését csak képesített személy végezheti el.
- Rendszeresen ellenőrizze a készülék olvadékvíz-elvezető nyílását, és szükség szerint tisztítsa ki. Ha az olvadékvíz-elvezető nyílás el van záródva, a víz összegyűlik a készülék alján.
Ártalmatlanítás

VIGYÁZAT! Sérülés- vagy fulladásveszély.
- Bontsa a készülék hálózati csatlakozását.
• Vágja le a hálózati tápkábelt, és helyezze a hulladékba. - Szerelje le az ajtót, hogy megakadályozza a gyermekek és háziállatok készülékben rekedését.
-
A készülék hűtőköre és szigetelése ózonbarát anyagokat tartalmaz.
-
A szigetelőhab gyúlékony gázt tartalmaz. A készülék megfelelő ártalmatlanítására vonatkozó tájékoztatásért lépjen kapcsolatba a helyi hatóságokkal.
- Ügyeljen arra, hogy ne sérüljön meg a hűtőegység azon része, mely a hőcserélő közelében található.
MÜKÖDÉS
Bekapcsolás
- Csatlakoztassa a hálózati vezetéket a konnektorhoz.
- Forgassa a hőmérséklet-szabályozót az óramutató járásával megegyező irányba egy közepes beállításra.
Kikapcsolás
A készülék kikapcsolásához forgassa a hőmérséklet-szabályozót "0" állásba.
A hömérséklet beállítása
A hömérséklet szabályozása automatikusan történik.

Általában a közepes beállítás a legmegfelelőbb.
A pontos beállítás kiválasztásakor azonban szem előtt kell tartani, hogy a készülék belsejében levő hőmérséklet a következő tényezőktől is függ:
- szobahőmérséklet,
- az ajtónyitások gyakorisága,
- a tárolt élelmiszer mennyisége,
-
a készülék elhelyezése.
-
A minimális hűtés érdekében forgassa a hőmérséklet-szabályozót az alacsonyabb beállítások felé.
-
A maximális hűtés érdekében forgassa a hőmérséklet-szabályozót a magasabb beállítások felé.

FIGYELMEZTETÉS! Ha a környezeti hömérséklet magas, vagy a készülék a maximális határig meg van terhelve, a hűtőtér hömérsékletét pedig a legalacsonyabb értékre állították be, előfordulhat, hogy folyamatosan hűt, s emiatt dér képződik a belső falán. Ebben az esetben a tárcsát a legmagasabb hömérsékleti értékre kell állítani az automatikus jégmentesítés elindításához, ezzel pedig csökkentett energiafogyasztást lehet elérni.
NAPI HASZNÁLAT
Friss élelmiszer lefagyasztása
A fagyasztórekesz alkalmas friss élelmiszerek lefagyasztására, valamint fagyasztott és mélyhűtött élelmiszerek hosszú távú tárolására is.
Friss élelmiszerek fagyasztásához nem szükséges megváltoztatnia a közepes beállítást.
Helyezze a lefagyasztani kívánt friss élelmiszert a középső rekeszbe A gyorsabb fagyasztási művelet érdekében forgassa a hőmérséklet- szabályozót a magasabb beállítások felé, hogy maximális hűtést érjen el.

FIGYELMEZTETÉS! Ebben az esetben a fagyasztórekesz hőmérséklete 0 °C alá is eshet. Ha ez az eset előfordul, állítsa magasabb értékre a hőmérséklet-szabályzót.
Fagyasztott élelmiszerek tárolása
Az első indításkor, illetve hosszabb használaton kívüli idő után, mielőtt az élelmiszereket a rekeszbe pakolná, üzemeltesse legalább 2 óráig a készüléket a magasabb beállításokon.

Véletlenszerűen, például áramkimaradás miatt bekövetkező leolvadás esetén, amikor az áramszünet hosszabb ideig tart, mint a műszaki jellemzők között megadott „áramkimaradási biztonság” (felolvadási idő), a felolvadt élelmiszert gyorsan el kell fogyasztani, vagy azonnal meg kell főzni, majd pedig a (kihülés után) újra lefagyasztani.
Kiolvasztás
A mélyfagyasztott vagy fagyasztott élelmiszerek használat előtt a
hütörekeszben vagy szobahömérsékleten kiolvaszthatók, attól függően, hogy mennyi idő áll rendelkezésre ehhez a művelethez.
A kisebb darabok még akár fagyasztott állapotban, közvetlenül a fagyasztóból kivéve is megfőzhetők: ebben az esetben a főzés hosszabb ideig tart.
Mozgatható polcok

A hütőszekrény falai több sor polctartóval vannak ellátva, hogy a polcokat tetszés szerinti helyre lehessen tenni.
Jégkockakészítés
A készülékben egy vagy több jégkockatartó található jégkockák készítéséhez.

Amikor a jégkockatartókat ki akarja venni a fagyasztóból, ne próbáljon fémeszközzel segíteni.
- Töltse meg vízzel ezeket a tálcákat
- Tegye a jégkockatartókat a fagyasztórekeszbe.
Az ajtópolcok elhelyezése
Ha eltérő méretű élelmiszercsomagok számára szeretne helyet biztosítani, az ajtópolcokat különböző magasságokba állíthatja.
Az áthelyezésnél a következők szerint járjon el:
- Fokozatosan húzza a polcot a nyíl irányába, amíg ki nem szabadul.

- Szükség szerint pozicionálja újra a polcot.
Hőmérséklet visszajelző

Ezt a készüléket
Franciaországban forgalmazzák.
Az ebben az országban érvényben lévő rendelkezésekkel összhangban a hűtőszekrényt az alsó rekeszébe helyezett speciális eszközzel (lásd az ábrát) kell szállítani, hogy jelezze a készülék leghidegebb zónáját.

Naptár a fagyasztott ételekhez
A szimbólumok a fagyasztott cikkek különböző típusait jelzik.
A számok a tárolási időtartamot jelzik hónapokban, a megfelelő típusú fagyasztott cikkhez. A jelzett tárolási idő felső vagy alsó értéke egyaránt érvényes lehet az élelmiszerek minőségétől és a fagyasztás előtti előkezeléstől függően.

Normális működéssel járó hangok:
Az alábbi hangok normális jelenségnek tekinthetők üzemelés közben:
- Gyenge gurgulázó és bugyborékoló hang a csőkígyókból a hűtőközeg áramlása közben.
- Zümmögő vagy pulzáló hang hallható a kompresszor felöl a hütőközeg áramoltatása során.
- Hirtelen recsegő zaj hallható a készülék belseje felöl, melyet a hőtágulás okoz (ez természetes és nem veszélyes fizikai jelenség).
- Gyenge kattanó zaj hallható a hőmérséklet-szabályozóból a kompresszor be- vagy kikapcsolásakor.
Energiatakarékossági tanácsok
- Ne nyitogassa gyakran az ajtót, illetve ne hagyja a feltétlenül szükségesnél tovább nyitva.
- Ha a környezeti hömérséklet magas, és a hömérséklet-szabályozó alacsony hömérsékletre van állítva, a készülék pedig teljesen meg van töltve, előfordulhat, hogy a kompresszor folyamatosan üzemel, ami miatt jég vagy dér képződik a párologtatón. Ha ez bekövetkezik, állítsa a hömérséklet-szabályozót melegebb beállításra, hogy lehetővé tegye az automatikus leolvasztást, és így takarékoskodjon az áramfogyasztással.
Ötletek friss élelmiszerek hűtéséhez
A legjobb teljesítmény elérése érdekében:
- ne tároljon meleg ételt vagy párolgó folyadékot a hütőszekrényben
- takarja le vagy csomagolja be az élelmiszereket, különösen ha valamelyiknek erős az aromája
- úgy helyezze be az ételeket, hogy a levegő szabadon körbe tudja járni azokat
Ötletek a hűtőszekrény használatához
Hasznos tanácsok:
- Hús (minden fajtája): csomagolja nejlonzacskóba és helyezze a zöldséges fiók feletti üveglapra.
- Biztonsági okokból ne tárolja egy vagy két napnál hosszabb ideig ily módon a húst.
- Készételek, hidegtálak stb.: ezeket le kell takarni, majd bármelyik polcon elhelyezhetők.
- Gyümölcsök és zöldségek: alaposan meg kell öket tisztítani és számukra külön biztosított fiók(ok)ban elhelyezni.
- Vaj és sajt: speciális légmentes tartóedényekbe kell helyezni, vagy alufóliába vagy nejlonzacskókba csomagolni őket, és a lehető legtöbb levegőt kiszorítani körülöttük.
- Palackok: legyen kupakjuk, és tárolja öket vagy az ajtó palacktartó rekeszében vagy (ha van) a palacktartó állványon.
- Ha a banán, krumpli, hagyma vagy fokhagyma nincs becsomagolva, tilos öket a hütőszekrényben tartani.
Ötletek fagyasztáshoz
Ha a legjobban szeretné hasznosítani a fagyasztási eljárást, tartson be néhány fontos ajánlást:
- az adatlapon megtekintheti azt a maximális élelmiszer-mennyiséget, amely 24 óra alatt lefagyasztható;
- a fagyasztási folyamat 24 órát vesz igénybe. Ez alatt az időszak alatt nem szabad további fagyasztásra váró élelmiszert betenni;
- csak első osztályú, friss és alaposan megtisztított élelmiszereket fagyasszon le;
- készítsen kisebb adag ételeket, hogy gyorsan és teljesen megfagyjanak, és hogy a későbbiekben csak a kívánt mennyiséget kelljen felolvasztani;
- csomagolja az ételt alufóliába vagy folpackba, és ellenőrizze, hogy sikerült-e a csomagolással kizárni a levegőt;
- ne hagyja, hogy a friss, még meg nem fagyott élelmiszerek hozzáérjenek a már lefagyasztott adagokhoz, mert különben az utóbbiaknak megemelkedik a hőmérséklete;
- a zsírszegény ételeket könnyebben és hosszabb ideig lehet tárolni, mint a zsírosakat, a só csökkenti az élelmiszerek élettartamát;
- ha a vízből képződött jeget a fagyasztórekeszből történő kivétel után rögtön fogyasztani kezdik, fagyásból eredő égési sérüléseket okozhat a börön;
- ajánlatos minden egyes csomagon feltüntetni a lefagyasztás dátumát, hogy nyomon lehessen követni a tárolási időket.
Ötletek fagyasztott élelmiszerek tárolásához
Annak érdekében, hogy a legjobb teljesítményt érje el a készüléknél:
- ellenőrizze, hogy a kereskedelmileg lefagyasztott élelmiszereket megfelelően tárolta-e az eladó;
- gondoskodjon róla, hogy a fagyasztott élelmiszerek a lehető legrövidebb időn belül elkerüljenek az élelmiszerüzletből a fagyasztóba;
- ne nyitogassa gyakran az ajtót, illetve ne hagyja a feltétlenül szükségesnél tovább nyitva;
- a kiolvasztott élelmiszerek nagyon gyorsan romlanak, és nem fagyaszthatók vissza;
- ne lépje túl az élelmiszergyártó által feltüntetett tárolási időtartamot.
ÁPOLÁS ÉS TISZTÍTÁS

VIGYÁZAT! Olvassa el a „Biztonság” című fejezetet.
Általános figyelmeztetések

FIGYELMEZTETÉS! Bármilyen karbantartási művelet előtt válassza le a készüléket a hálózatról.

A készülék hűtőegysége szénhidrogént tartalmaz, ezért csak megbízott szerelő végezhet rajta karbantartást, és töltheti fel újra.

A készülék tartozékai és alkatrészei nem tisztíthatók mosogatógépben.
Rendszeres tisztítás

FIGYELMEZTETÉS! Ne húzza meg, ne mozgassa és ne sértse meg a készülékházban lévő csöveket és/vagy kábeleket.

FIGYELMEZTETÉS! Ügyeljen arra, hogy ne sérüljön meg a hűtőkör.

FIGYELMEZTETÉS! A készülék mozgatásakor a készülék elejének peremét emelje fel, ellenkező esetben megkarcolhatja a padlót.
A készüléket rendszeresen tisztítani kell:
- A készülék belsejét és a tartozékokat langyos vízzel és egy kevés semleges mosogatószerrel tisztítsa meg.
- Rendszeresen ellenőrizze az ajtótömítéseket, és törölje tisztára,
hogy biztosítsa azok tisztaságát és szennyeződésmentességét.
- Gondosan öblítse le és szárítsa meg.
- Amennyiben hozzáférhető, tisztítsa meg a kondenzátort és a készülék hátulján lévő kompresszort egy kefével.
Ezzel a művelettel javíthatja a készülék teljesítményét, és csökkentheti az áramfogyasztást.
A hűtőszekrény leolvasztása
Rendeltetésszerű használat során az olvadékvíz minden alkalommal automatikusan távozik a hűtőrekesz elpárologtatójáról, amint a kompresszor leáll. A jégmentesítéssel keletkezett víz a hűtötér hátsó falán levő, vályúszerű csatornán keresztül a készülék hátulján, a kompresszor felett elhelyezett tartályba jut, ahonnan elpárolog.
Fontos, hogy a hütőszekrény-csatorna közepén látható lefolyónyílást, amely a jégmentesítésből származó vizet befogadja, rendszeresen megtisztítsa, nehogy a víz túlfolyjon és rácsöpögjön a készülékben lévő élelmiszerekre.

A fagyasztó leolvasztása

FIGYELMEZTETÉS! Soha ne próbálja meg éles fémeszközökkel lekaparni a jeget az elpárologtatóról, mert felsértheti azt. A leolvasztás felgyorsítására kizárólag a gyártó által ajánlott eszközöket vagy anyagokat használjon. Ha a leolvasztás közben a fagyasztott élelmiszercsomagok hőmérséklete megemelkedik, biztonságos tárolási idejük lerövidülhet.

A leolvasztás előtt kb. 12 órával állítson be alacsonyabb hőmérsékletet annak érdekében, hogy a működés megszakítására elegendő hűtési tartalék halmozódjon fel.
Bizonyos mennyiségű dér mindig képződik a fagyasztó polcain és a felső rekesz körül.
Olvassza le a fagyasztót, amikor a dérréteg vastagsága meghaladja a 3-5 mm-t.
- Kapcsolja ki a készüléket, vagy húzza ki a dugót a konnektorból.
- Szedjen ki minden élelmiszert a készülékből, csomagolja be azokat több réteg újságpapírba, és tegye hideg helyre.

VIGYÁZAT! A fagyasztott árukhoz ne nyúljon nedves kézzel. A keze hozzáfagyhat az élelmiszerhez.
- Hagyja nyitva az ajtót.
HIBAELHÁRÍTÁS
A leolvasztási folyamat felgyorsítása érdekében helyezzen egy fazék langyos vizet a fagyasztórekeszbe. Ezenkívül, távolítsa el azokat a jégdarabokat, amelyek leolvasztás közben letörnek.
- A leolvasztás befejezése után alaposan törölje szárazra a készülék belsejét.
- Kapcsolja be a készüléket. 3 óra elteltével pakolja vissza a korábban kiszedett élelmiszereket a fagyasztórekeszbe.
Ha a készülék nincs használatban
Ha a készüléket hosszú időn át nem használja, az alábbi óvintézkedéseket végezze el:
- Válassza le a készüléket az elektromos táphálózatról.
- Vegye ki az összes élelmiszert.
- Olvassza le (szükség esetén) és tisztítsa meg a készüléket és az összes tartozékot.
- Tisztítsa meg a készüléket és az összes tartozékot.
- Hagyja résnyire nyitva az ajtót/ajtókat, hogy ne képződjenek kellemetlen szagok.

VIGYÁZAT! Ha a készüléket bekapcsolva hagyja, kérjen meg valakit, időnként ellenőrizze, hogy a benne lévő étel nem romlott-e meg áramkimaradás miatt.

VIGYÁZAT! Olvassa el a „Biztonság” című fejezetet.
Mit tegyek, ha...
| Jelenség Lehetséges ok Megoldás | ||
| A készülék nem működik. A készülék ki van kapcsol-va. | Kapcsolja be a készüléket. | |
| A hálózati dugasz nincs | megfelelően csatlakoztat-va a konnektorba. | Csatlakoztassa megfelelően a hálózati dugaszt a konnektor-ba. |
| Nincs feszültség a kon- | nektorban. | Csatlakoztasson egy másik elektromos készüléket a háló- zati aljzatba. Forduljon szak-képzett villanyszerelőhöz. |
| A készülék zajos. A készülék alátámasztása | nem megfelelő. | Ellenőrizze, hogy a készülék stabilan áll-e. |
| A kompresszor folyamato-san működik. | A hőmérséklet beállítása | Olvassa el a „Működés” c. szakaszt. |
| Túl sok élelmiszert helye- | zett egyszerre a készü- lékbe. | Várjon néhány órát, majd elle-nőrizze ismét a hőmérsékletet. |
| A szobahőmérséklet túl | magas. | Lásd az adattáblán a Klí-maosztály táblázatot. |
| Túl sok meleg ételt tett a | hűtőbe. | A behelyezés előtt várja meg, amíg az étel lehül szobahő-mérsékletre. |
| Az ajtó nincs jól becsukva. | Olvassa el „Az ajtó becsuká-sa” című részt. | |
| A vízleeresztő-dugó elhe-lyezkedése nem megfele-lő. | Helyezze el megfelelően a ví-zleeresztő-dugót. | |
| Az élelmiszerek nincsenek megfelelően becsomagol-va. | Csomagolja be jobban az élel-miszereket. | |
| A hőmérséklet beállítása | Olvassa el a „Működés” c. szakaszt. | |
| Víz folyik be a hűtőszekré-nybe. | A vízkifolyó eltömődött. Tisztítsa meg a kifolyónyílást. | |
| Az élelmiszerek megaka-dályozzák, hogy a víz a vízgyűjtőbe folyjon. | Ügyeljen rá, hogy az élelmis-zerek ne érjenek a hátsó fal-hoz. | |
| Víz a padlón. A leolvasztási víz kifolyójanincs csatlakoztatva akompresszor fölötti párologtató tálcához. | Illessze a leolvasztási víz kifolyóját a párologtató tálcához. | |
| A készülékben a hőmérsék-let túl alacsony/magas. | A hőmérséklet-szabályozónincs helyesen beállítva. | Állítson be magasabb/alacsonyabb hőmérsékletet. |
| Az ajtó nincs jól becsukva. | Olvassa el „Az ajtó becsukása” című részt. | |
| Az élelmiszerek hőmérséklete túl magas. | Hagyja, hogy az élelmiszerek a szobahőmérsékletre hülje-nek a tárolás előtt. | |
| Túl sok élelmiszer van tár-olva egy időben. | Tároljon kevesebb élelmiszert egy időben. | |
| A dér vastagsága 4-5 mm-nél nagyobb. | Olvassza le a készüléket. | |
| Túl gyakran nyitja ki az aj-tót. | Az ajtót csak akkor nyissa ki,ha szükséges. | |
| Nem kering a hideg leve-gő a készülékben. | Gondoskodjon arról, hogy ker-ingeni tudjon a hideg levegő a készülékben. | |

Amennyiben a fenti tanácsok nem vezetnek eredményre, hívja a legközelebbi márkaszervizt.
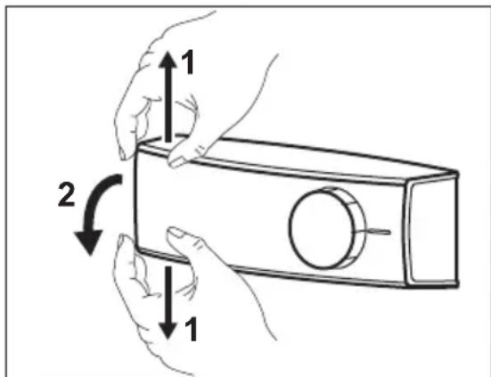
A lámpa izzójának cseréje
- Húzza ki a dugaszt a hálózati aljzatból
- Ujjaival húzza felfelé és lefelé egyszerre az átlátszó fedelet, majd a nyilak irányában mozgatva szabadítsa fel azt.

- Olyan égőt használjon a cseréhez, melynek teljesítményjellemzői és alakja azonos az eredetivel, és kifejezetten háztartási eszközökhöz gyártották. (a maximális teljesítmény a lámpabúrán látható).
- Szerelje vissza a lámpaburkolatot.
- Csatlakoztassa a hálózati vezetéket a hálózati aljzatba.
Nyissa ki az ajtót. Győződjön meg arról, hogy a világítás működik-e.
Az ajtó becsukása
- Tisztítsa meg az ajtótömítéseket.
- Szükség esetén állítsa be az ajtót. Olvassa el az „Üzembe helyezés” c. szakaszt.
- Szükség esetén cserélje ki a hibás ajtótömítéseket. Hívja a márkaszervizt.
ÜZEMBE HELYEZÉS
Elhelyezés
A készülék olyan száraz, jól szellőző helyiségben helyezhető üzembe, amelynek környezeti hőmérséklete megfelel annak a klímabesorolásnak, amely a készülék adattábláján fel van tüntetve:
| Klí-maosztály | Környezeti hömérséklet |
| SN +10 °C és +32 °C között | |
| N +16 °C és +32 °C között | |
| ST +16 °C és +38 °C között | |
| T +16 °C és +43 °C között | |

Bizonyos működési problémák léphetnek fel egyes típusoknál, ha az adott tartományon kívül eső értéken üzemelteti azokat. A megfelelő működés kizárólag a megadott hőmérséklet-tartományon belül biztosítható. Amennyiben kételye merül fel azzal kapcsolatban, hogy hova telepítse a készüléket, forduljon a készülék forgalmazójához, ügyfélszolgálatunkhoz vagy a legközelebbi márkaszervizhez.
Elektromos csatlakoztatás
- Az elektromos csatlakoztatás előtt győződjön meg arról, hogy az adattáblán feltüntetett feszültség és frekvencia megegyezik-e az elektromos hálózat értékeivel.
- A készüléket kötelező földelni. Az elektromos hálózati vezeték dugasza ilyen típusú (földelt). Ha az elektromos hálózati csatlakozóaljzat nincs leföldelve, csatlakoztassa a készüléket az érvényben lévő jogszabályok szerint külön földpólushoz, miután konzultált egy képesített villanyszerelővel.
- A gyártó minden felelősséget elhárít magától, ha a fenti biztonsági óvintézkedéseket nem tartják be.
- A készülék megfelel az EGK irányelveinek.
Szellőzési követelmények
A készülék mögött megfelelő légáramlást kell biztosítani.

text_image
5 cm min. 200 cm² min. 200 cm²
FIGYELMEZTETÉS! Az üzembe helyezés előtt olvassa el az összeszerelési utasítást.
Az ajtó nyitási irányának megfordítása
- Lazítsa ki és vegye le a felső csapot.

-
Vegye le a felső ajtót.
-
Vegye le a távtartót.
-
Lazítsa meg a középső zsanért.

-
Vegye le az alsó ajtót.
-
Lazítsa ki és vegye le az alsó csapot.
-
Húzza meg az alsó csapot az ellenkező oldalon.

-
Szerelje fel az alsó ajtót.
-
Húzza meg a középső zsanért.
-
Illessze fel a távtartót.
-
Szerelje fel a felső ajtót.
-
Húzza meg a felső csapot.

Hajtson végre egy végső ellenőrzést, hogy megbizonyosodjon a következőkről:
- Minden csavar meg van-e húzva.
- A mágneses tömítés a készülékházhoz tapad-e.
- Az ajtó megfelelően nyílik és csukódik-e.
Ha a környezeti hömérséklet alacsony (pl. télen), előfordulhat, hogy az ajtótömítés nem tapad hozzá tökéletesen a szekrénytesthez. Ebben az esetben várja meg, amíg a tömítés magától hozzáidomul a szekrénytesthez.
Ha nem szeretné saját maga végrehajtani a fenti műveleteket, forduljon a legközelebbi márkaszervizhez.
A márkaszerviz szakembere költségtérítés ellenében elvégzi az ajtók nyitásirányának megfordítását.
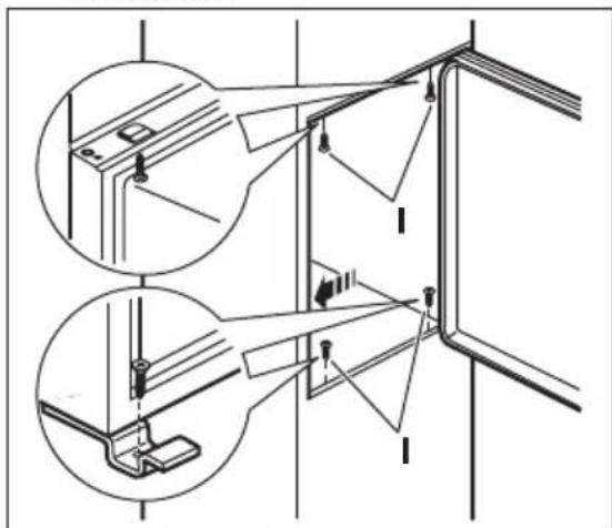
A készülék üzembe helyezése

FIGYELMEZTETÉS! Ügyeljen arra, hogy a hálózati kábel szabadon mozogjon.
- Ha szükséges, vágjon le egy darab öntapadós szalagot, és az ábra szerint ragassza a készülékre.

- Állítsa be a készüléket a fülkébe.
- Tolja a készüléket a nyilak irányába (1), amíg a felső takarólemez neki nem ütközik a konyhabútornak.

- Tolja a készüléket a konyhaszekrénynek, a nyilak irányába (2), a zsanérral ellentétes oldalon.
- Igazítsa be a készüléket a fülkébe. Ügyeljen arra, hogy a készülék és a konyhaszekrény elülső széle közötti távolság 44 mm legyen.
A (tartozékok tasakjában lévő) alsó zsanérfedél garantálja, hogy a készülék és a konyhabútor közötti távolság megfelelő legyen.
Ügyeljen arra, hogy a készülék és a konyhaszekrény közötti térköz 4 mm legyen.
- Nyissa ki az ajtót. Tegye az alsó zsanérfedelet a helyére.

text_image
4 mm 44 mm- Rögzítse a készüléket a fülkéhez 4 csavarral.

- Távolítsa el a zsanérfedélről a megfelelő részt (E). Feltétlenül távolítsa el a DX jelzésű alkatrészt a jobb oldali zsanér esetén, illetve ellenkező esetben az SX jelzésű alkatrészt.

- Tegye fel a fedeleket (C, D) a fülekre és zsanérnyilásokra.

- Szerelje fel a szellőzörácsot (B).
- Tegye fel a zsanérfedeleket (E) a zsanérra.
- Illessze a készüléket oldalirányból a konyhabútor oldalfalához.
- Lazítsa meg a (G) alkatrész csavarjait, és mozgassa a (G) alkatrészt a bútor oldalfaláig.

- Húzza meg a (G) alkatrész csavarjait ismét.
- Erősítse hozzá a (H) alkatrészt a (G) alkatrészhez.
- Válassza le a (Ha), (Hb), (Hc) és (Hd) részeket.

- Szerelje fel a (Ha) részt a konyhabútor belső oldalára.

text_image
ca. 50 mm 90° 21 mm 90° ca. 50 mm 21 mm- Nyomja a (Hc) részt a (Ha) részre.

text_image
Ha Hc- Nyissa ki a készülék ajtaját és a bútorajtót 90°-os szögben.
- Tegye be a kis négyszögletű idomot (Hb) a vezetőbe (Ha).
- Szerelje össze a készülék ajtaját és a bútorajtót, majd jelölje be a furatokat.

- Vegye ki a konzolokat, és jelöljön be 8 mm-es távolságot az ajtó külső szélétől számítva, ahová a szeget kell tenni (K).

- Tegye rá újra a kis négyszögletű idomot a vezetőelemre, majd rögzítse a kapott csavarok segítségével.
- Igazítsa be a bútorajtót és a készülék ajtaját a (Hb) alkatrész beállításával.

text_image
Hb- Nyomja a (Hd) részt a (Hb) részre.

text_image
Hb HdHajtson végre egy végső ellenőrzést, hogy megbizonyosodjon a következőkről:
- Minden csavar meg van-e húzva.
- A tömítőcsík szorosan hozzátapad-e a készülékszekrényhez.
- Az ajtó megfelelően nyílik és csukódik- e.
ZAJOK
Normál működés közben bizonyos hangok hallhatók (kompresszor, hűtőfolyadék áramlása).

text_image
OK SSSRRR! HISSS! BLUBB! CLICK! BRRR! CRACK!
text_image
SSSRRR! SSSRRR! CLICK! CLICK!
text_image
HISSS! HISSS! BRRR! BRRR!
text_image
BLUBB! BLUBB! CRACK!CFMÜSZAKI INFORMÁCIÓK
Müszaki adatok
| A mélyedés méretei | ||
| Magasság mm 1580 | ||
| Szélesség mm 560 | ||
| Mélység mm 550 | ||
| Áramkimaradási biztonság Óra 22 | ||
| Feszültség Volt 230 - 240 | ||
| Frekvencia Hz 50 |
A műszaki adatok megtalálhatók a készülék külsején vagy belsejében lévő
adattáblán és az energiatakarékossági címkén.
KÖRNYEZETVÉDELMI TUDNIVALÓK
A következő jelzéssel ellátott anyagokat hasznosítsa újra. Újrahasznosításhoz tegye a megfelelő konténerekbe a csomagolást. Járuljon hozzá környezetünk és egészségünk védelméhez, és hasznosítsa újra az elektromos és elektronikus hulladékot. A
X tiltó szimbólummal ellátott készüléket ne dobja a háztartási hulladék közé. Juttassa el a készüléket a helyi újrahasznosító telepre, vagy lépjen kapcsolatba a hulladékkezelésért felelős hivatallal.
KönnyűKézikönyv