TYXIA 620 - Sistema de gestión de energía en el hogar DELTA DORE - Manual de uso y guía de instrucciones gratis
Encuentra gratis el manual del aparato TYXIA 620 DELTA DORE en formato PDF.
| Tipo de dispositivo | Receptor de detección de presencia |
| Función | Receptor de superficie 1 o 2 contactos |
| Número de contactos | 1 o 2 |
| Instalación | Montaje en pared |
| Alimentación | No especificado |
| Compatibilidad | Detectores de presencia |
| Normas | Conforme a directivas R&TTE 1999/5/CE |
| Dimensiones | No especificado |
| Peso | No especificado |
| Material | No especificado |
| Color | Blanco |
| Temperatura de funcionamiento | No especificado |
| Frecuencia de radio | No especificado |
| Garantía | No especificado |
| Fabricante | No especificado |
| Uso | Interior |
| Tipo de montaje | Superficie |
| Contacto seco | Sí |
Preguntas frecuentes - TYXIA 620 DELTA DORE
Preguntas de los usuarios sobre TYXIA 620 DELTA DORE
0 pregunta sobre este aparato. Responde a las que conoces o haz la tuya.
Hacer una nueva pregunta sobre este aparato
Descarga las instrucciones para tu Sistema de gestión de energía en el hogar en formato PDF gratis! Encuentra tus instrucciones TYXIA 620 - DELTA DORE y toma tu dispositivo electrónico nuevamente en la mano. En esta página están publicados todos los documentos necesarios para el uso de su dispositivo. TYXIA 620 de la marca DELTA DORE.
MANUAL DE USUARIO TYXIA 620 DELTA DORE
Aparato conforme a las exigencias de las directivas R&TTE 1999/5/CE

TYXIA 610/620
X2D
Presentación /Instalación . p 17-18
Modo telerruptor con TYXIA 610 . p 19
TYXIA 620 p 21
Modo simple encendido con TYXIA 610 o 620 . p 23
con un emisor TYXIA asociado . . . . . p 25
con un detector TYXAL associado .p 28
con una central TYXAL asociada . . .p 29
con un emisor TYDOM asociado .p 30
Borrar todas las assocaciones con un receptor TYXIA . p 31
Characteristicasktncas .p31
Mantenimiento p 32
Inhalt
DE
Ubersicht 33
Einbau 34
En raison de la évolution de las normas y de los materiales, lascharacteristicas indicadas por el dato y las imagenes de este documento no nos comprometen hasta confirmacion por parte de nuestros servicios.
TYXIA 610 y 620 son receptores murales que permiten mandar, Respectivamente, uno o dos contactos.

TYXIA 610 para mandar un contacto

TYXIA 620 para mandar dos contactos
IMPORTANT :
Para mandar luminarias:
- Sobre el Tyxia 610 o la vía 1 del Tyxia 620, puede man-dar hasta 250W sin contactor.
- Sobre la via 2 del Tyxia 620, puede mandar hasta 100W sin contactor.
Para una potencia superior se debe, OBLIGATORIAMENTE, utilizes un contactor o un telerruptor.
Para mandar lámparas se pueda usar también, por ejem-plo, los receptores TYXIA 410, 420 o 440.
Instalación
Emplazamento
El receptor se debe fazer a la pared con los dos tornillos.
Desmontar el aparato
Separe las tapas superior e inferior para acceder al emplazamento de los tornillos.
Conectar y fjjar el aparato
Conecte el aparato (ver pág. conexión) y después tíjelo con los tornillos.
Volver a montar el aparato
Vuelva a colocar las tapas superior e inferior.
ES


Conexión
Antes de该如何 intervensión corte la corrente electrica (magnetotérmico general).
Los esquemas realizados deben retenerse en suzzle. No figuran las proteciones uOthers accessories exigidos por las normas.
La norma UTE NF C15-100 y las reglas del oficio deben ser respetadas.
Esecessaryqollosaparatosconcectadosocercanosnocreenperturbacionesdemasiado fuertes(directivasCEE89/336).
Funcionamento con TYXIA 610
Una pulsación sobre la tecla del receptor permite modifier el estado en bajo (encendido o apagado).

ATENCION: en esta aplicacion, no conectar el borne n°5

Funcionamento con un emisor TYXIA o TYDOM associado
IMPORTANTE : El receptor se suministra en modo simple encendido. Para utiliser en modo telerruptor se le debe, obligatoriamente, asociar un emisor.
El modo telerruptor sólo se pueda mandar con una tecla (TYXIA) o [TYDOM 200].



0

(modificacion del estado en bajo)
Sobre el receptor, pulse la tecla ● hasta que el testigo parpadee (~3 sg.).
2 elecciones posibles:
Parpadeo lento : modo simple encendido.
Parpadeo rápido : modo telerruptor.
Para pagar de un parpadeo al除外, pulse brevamente la tecla del receptor. Elija el parpadeo adecuado al modo de conexión realizada.
Sobre el emisor, mantenga pulsada la tecla

durante aprox.5 sg.
La tecla, se enciende se apaga y se vuye a encender.
Deje de pulsar.
Verifique que el testigo del receptor haya dejado de parpadear.
La tecla del emisor está associada al receptor en modo teler-upper o en modo simple encendido (según lo selección).
Para asociar TYXIA 610 a un TYDOM 200, ver manual del TYDOM 200.
Conexión
Antes de该如何 intervensión corte la corrente electrica (magnetotérmico general).
Los esquemas realizados deben retenerse en su principio. No figuran las protecciones u otheros accesorios exigidos por las normas.
La norma UTE NF C15-100 y las reglas del oficio deben ser respetadas.
Es Neededo que los aparatos connectados o cercanos no creen perturbaciones demasiado fuertes (directivas CEE 89/336).
Funcionamento con TYXIA 620
Una pulsación de la tecla

de la via correspondiente permite modifier el estado en bajo (encendido o apagado).


Funcionamento con un emisor TYXIA o TYDOM associado
IMPORTANTE : el receptor se suministra en modo simple encendido. Para utiliser en modo telerruptor se le debe, obligatoriamente, asociar un emisor.
El modo telerruptor sólo se pueda mandar con una tecla
(TYXIA) o (TYDOM 200).


(modificación del estado en bajo)
Sobre el receptor, pulse la tecla de la vía correspondiente
1 o 2 hasta que el testigo parpadee ( 3sg)
2 elecciones, son posibles:
Parpadeo lento : modo simple encendido.
Parpadeo rápido : modo telerruptor.
Para pagar de un parpadeo al除外, pulse brevamente sobre la tecla o del receptor. Elija el parpadeo=rápido.
Sobre el emisor, mantenga pulsada la tecla durante aprox. 5 sq. La tecla se enciende, se apaga y se vuela a encender. Deje de pulsar.
Verifique que el testigo del receptor haya dejado de parpadear
La tecla del emisor está asociada al receptor en modo telerruptor.
Para asociar TYXIA 620 a un TYDOM 200, ver el manual de esteultimate.
Conexión
Antes de该如何 intervenção corte la corrente électrique (magnetotérmico general).
Los esquemas realizados deben retenerse en su grado. No figuran las proteciones uOthers accessories exigidos por las normas.
La norma UTE NF C15-100 y las reglas del oficio deben ser respetadas.
Es Neededo que los aparatos connectados o cercanos no creen perturbacionesdemasiado fuertes (directivas CEE 89/336).

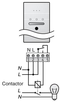
TYXIA 610 con un aparato electrico

TYXIA 620
con un aparato
electrico


TYXIA 610 con una luminaria
TYXIA 620 con dos luminarias
Funcionamento con TYXIA 610 o 620
Una pulsación sobre la tecla (TYXIA 610), o (TYXIA 620) permite modifier el estado en bajo (encendido o apagado).
El modo simple encendido se pueda mandar con un emisor TYXIA (interruptor emisor, telemando llavero...).


Marcha

Paro


Marcha

Paro


Marcha

Paro
1 a elegir, según escenario definido
Cada funciona del receptor puede grabar hasta 8 asociaciones máximo (teclas, emisores...).
Asociar una tecla

al receptor
Sobre el receptor, pulse la tecla de la via correspondiente
(TYXIA 610), o (TYXIA 620) hasta que el testigo
correspondiente parpadee ( 3 sg.).
2 elecciones posibles:
Parpadeo lento : modo simple encendido
Parpadeo rápido : modo telerruptor.
Para pagar de un parpadeo al除外, pulse la
tecla (TYXIA 610), o (TYXIA 620) del
receptor. Elija el parpadeo lento.
Sobre el emisor, mantenga pulsada la tecla durante aprox. 5 sg. La tecla se enciende, se apaga y se vuela a encender. Deje de pulsar.
Verifique que el testigo haya dejado de parpadear.
La tecla ⑤ del emisor está asociada al receptor.
Asociar las teclas

al receptor
Sobre el receptor, pulse la tecla de la vía correspondiente (TYXIA 610), o (TYXIA 620) hasta que el testigo parpadee (~3 sg.).
2 elecciones posibles:
Parpadeo lento : modo simple encendido
Parpadeo rápido : modo telerruptor.
Para pagar de un parpadeo al除外, pulse la tecla (TYXIA 610), o (TYXIA 620) del receptor. Elija el parpadeo lenght.
Sobre el emisor, mantenga pulsadas simultaneamente las teclas y durante 5 sg. aprox.
Las teclas se encienden, se apagan y se vuelven a encender. Deje de pulsar.
Verifique que el testigo haya dejado de parpadear
Las teclas y del emisor está asociadas al receptor.
Modo simple encendido con un emisor TYXIA asociado
ES
Asociar una tecla al receptor
Una tecla (escenario) puede mandar variedes receptores simultaneamente (persianas motorizadas, variador, simple encendido...).
Sobre el receptor,pongala instalacion en el estado deseado (ejemplo: Luz apagada),y despues pulse la tecla de la via correspondiente TYXIA 610) ① o2 TYXIA 620) hasta que el testigo parpadee (~3 sg.).
2 elecciones son posibles.
Parpadeo lento : modo simple encendido
Parpadeo rápido : modo telerruptor.
Para pagar de un parpadeo al除外, pulse la tecla del receptor. Elija el parpadeo lento.
Sobre el emisor, mantenga pulsada la tecla durante 5 sg. aprox.. La tecla se enciende, se apaga y se vuelve a encender. Deje de pulsar.
Verifique que el testigo haya dejado de parpadear. La tecla del emisor está asociada al receptor.
Modo simple encendidocon un detector TYXAL asociado
El modo simple encendido se pueda asociar a un detector de la gama TYXAL (apertura, movimiento,技术和...).

C


OFF
Encendido si detectión
Apagado 90 sg.
después de la
ultima detec tion


C

OFF
Encendido si detectación
Apagado en fin de detections
Sobre el receptor, pulse la tecla de la vía correspondiente (TYXIA 610), o (TYXIA 620) hasta que el testigo parpadee (~3 sg.).
Sobre el detector, pulse la tecla Test (emite un bip).
Verifique que el testigo del receptor haya sido de parpadear.
El detector está asociado al receptor.
Cada funciona del receptor puede grabar hasta 8 asociaciones máximo (teclas, emisores...).
Modo simple encendidocon una central TYXAL asociada
ES

El modo simple encendido se pueda asociar a una central de alarma TYXAL.
Sobre la central, poder en modo Mantenimiento (vermanual de la central).
Sobre el receptor, pulse la tecla de la vía correspondiente (TYXIA 610), o TYXIA 620) hasta que el testigo correspondiente parpadee (~3 sg.).
Parpadeo lento :
模 modo informe de alarma (Tyxia 610 o Tyxia 620 via 1)
- testigo encendido quando la central está en marcha.
- testigo apagado cuando la central está en paro.
modo informe de alarma (Tyxia 620 via 2)
- testigo encendido durante 1 minuto 30 en caso de alarma.
Parpadeo rápido :
modo informe de puestos en marcha o en paro de alarma.
- puesta en marcha: el testigo parpadea 1 vez
- paro: el testigo parpadea 2 vezes
Paraasar de un parpadeo al other, pulse la tecla de la via correspondiente (TYXIA 610), o (TYXIA 620).
Pulse la tecla "Test" de la central.
Verifique que el testigo del receptor haya dejado de parpadear.
La central está asociada al receptor.
Modo simple encendido con un emisor TYDOM asociado
El modo simple encendido se pueda asociar a un emisor TYDOM.

Transmisor Telefonico TYDOM 300
TYDOM 300 permite, a distancia, el funciona en ON/OFF.

Telemando multifunciones TYDOM 200

TYDOM 200 reune todas lasfuncionalidades de las teclas TYXIA :

Para asociar TYXIA 610 o 620 al TYDOM 200 o al TYDOM 300, ver los manuales correspondentes.
Borrar todas las asociaciones con un receptor TYXIA

Mantenga pulsada la tecla (TYXIA 610), o (TYXIA 620). Después de 3 sg. el testigo parpadea. Mantenga la pulsación hasta que el testigo se apague para confirmar el bomrado de todas las asociaciones con el recep
- Alimentación 220 V, 50 Hz +/-10%
- Aislamento clase II
- Consumo : 1 VA
- Potencia max. (TYXIA 610): 5A 230 Veff Cos = 1
- Potencia max. (TYXIA 620) : 2 x 5A 230 Veff Cos φ = 1
Frecuencia radio 868 MHz (Norma EN 300 220) - Alcance radio de 100 a 300 m. en campo libre según los equipos asociados (el alcancy peute verse alterado en función de las conditiones de la instalación y del entorno electromagnétique)
- Cantidad max. de emisores a associr al receptor : 8
- Acción automática : tipo 1.C
- Temperatura de funciona : 0 a +40°C
- Temperatura de almacenaje: -10 a +70°C
- Dimensiones : 170 x 50 x 25 mm
- Índice de protección : IP 40 - IK 04
Mantenimiento
ES
| ? | Diagnóstico /Solucciones |
| No pueda asociar un emisor a su receptor | LaULDámax.de emisoresaassociari a unafunción del receptores de 8.Verifique que no se ha alcancadoesacantidad |
| La iluminaciónsolese enciende durante1 sg.acada pulsación | Ud. está en mode telerruptor.Ponga el aparato en modo simple encendido (ver Capitulodode telerruptor). |
| El receptor no tomaen cuestionalemandode un emisor | El emisor no está asociadoal receptor.Elecciónse ha;quedadoenmodeasociación.Las pilas del emisorestán gastadas. |
ManualFácil