TYXIA 620 - Hausenergiemanagementsystem DELTA DORE - Kostenlose Bedienungsanleitung
Finden Sie kostenlos die Bedienungsanleitung des Geräts TYXIA 620 DELTA DORE als PDF.
Benutzerfragen zu TYXIA 620 DELTA DORE
0 Frage zu diesem Gerät. Beantworten Sie die, die Sie kennen, oder stellen Sie Ihre eigene.
Eine neue Frage zu diesem Gerät stellen
Laden Sie die Anleitung für Ihr Hausenergiemanagementsystem kostenlos im PDF-Format! Finden Sie Ihr Handbuch TYXIA 620 - DELTA DORE und nehmen Sie Ihr elektronisches Gerät wieder in die Hand. Auf dieser Seite sind alle Dokumente veröffentlicht, die für die Verwendung Ihres Geräts notwendig sind. TYXIA 620 von der Marke DELTA DORE.
BEDIENUNGSANLEITUNG TYXIA 620 DELTA DORE
DELTA DORE Schluter GmbH
D-76829 Landau - Fichtenstraße 38a
Telefon: +49 (0) 6341 - 9672-0
Email: info@delta-schlueter.de www.delta-schlueter.de
ESPANA :
Servicio&Tecnico:902121315
DELTA DORE, S.A- Antoni Borja, n°13
Semi-sótano - Local 1 y 2 -08191 Rubí (Barcelona)
Tlf.: 936996553-Fax.: 935881966
Erfüllt die Anforderungen der Funkgerätrichtlinie R&TTE 1999/5/CE
Wandmontierter Empfänger für 1 oder 2
Kontaktschalter

Sommaire
FR
Presentsion/Installation . p 1-2
Fernschaltmodus am TYXIA 610 35
am TYXIA 620 37
Einfacher Einschaltmodus am TYXIA 610 oder 620 39
im kombinierten Einsatz mit einem TYXIA-Sender . . .43
im kombinierten Einsatz mit einem TYXAL-Melder .44
im kombinierten Einsatz mit einer TYXAL-Anlage 45
im kombinierten Einsatz mit einem TYDOM-Sender . .46
Alle zugeordneten Geräte vom TYXIA-Empfänger abkoppeln . .47
Technische Daten 47
Wartung 48
Aufgrund der Änderung von Vorschriften und der Geräte sind Änderungen in Text und Bild vorbehaltend.
Présentation
FR
Der TYXIA 610 und 620 sind wandmontierte Empfänger zur Steuerung von einem oder zwei Kontaktschaltern.

TYXIA 610 zur Steuerung eines Kontaktschalters

TYXIA 620 zur Steuerung von zwei Kontaktschaltern
IMPORTANT :
Für die Steuerung von Leuchten:
- Mit dem Tyxia 610 oder mit der Leitung 1 des Tyxia 620 können bis zu 250 W ohne Kontaktschalter gesteuert werden.
- Mit der Leitung 2 des Tyxia 620 können bis zu 100 W ohne Kontaktsalter gesteuert werden.
Für die Steuerung von Leuchten mit einer hohenen Leistung ist ein Kontakt- bzw. Fernbedienschalter UNBEDINGT zu verwenden.
Lampen können z.B. mit den TYXIA-Empfänger 410, 420 und 440 gesteuert werden.
Einbau
Einbauort
Der Empfänger wird mit 2 Schrauben an einer Wand angebracht.
Gerä ausbauen
Obere und andere Abdeckung abklipsen, um die Schrauben freizulegen.


Gerät anschließen und befestigen
Das Gerät (wie im Abschnitt Anschluss beschrieben) anschließen und mit Schrauben befestigen.
Gerät wieder einbauen
Obere und andere Abdeckung wieder festklipsen.

Anschluß
Vor Eingriffen am Gerät stets den Hauptschalter am Stromzähler ausschalten.
Der Verständlichkeit halber sind die Abbildungen vereinfacht. Schutzvorrichtungen und sonstiges von den Normen vorgeschriebenes Zubehör ist nicht abgebildet. Anschluss gemäß UTE-Norm NF C15-100 und dem Stand der Technik entsprechend. Starke Störungen durch angeschlossene oder in der Höhe befindliche Geräte sind zu vermeiden (EU-Richtlinie CEE 89/336).
Einsatz mit TYXIA 610
Durch Tastendruck auf die Taste des Empfängers wird der aktuelle Betriebszustand (ein oder aus) geändert.

ACHTUNG: Die Klemme 5 wird bei der hier gezeigten Anwendung nicht angeschlossen.

Kombinierter Einsatz mit einem TYXIA oder TYDOM Sender
WICHTIG: Der Empfänger wird im einfen
Einschaltmodus gefeliefert. Für den Einsatz im
Fernschaltmodus ist zusätzlich ein Sender erforderlich.
Die Steuerung im Fernschaltmodus ist nur mit einer TYXIA
oder TYDOM 200 Taste möglich.




ODER
(derzeit in Überarbeitung)
Am Empfänger die Taste so lange drucken bis die
Leuchtanzeige blinkt (~3 Sek.).
2 Anzeigearten sind möglich.
Langsames Blinken: einfacher Einschaltmodus
Schnelles Blinken: Fernschaltmodus
Zum Umschalten von der einen auf die andere Betriebsart kurz die Taste am Empfänger drücken. Schnelles Blinken wahlen.
Am Sender die Taste anschließend ca. 5 Sek. lang gedrückt halten. Die Taste Goes an, aus und wieder an.
Taste wieder loslassen.
Darauf achten, dass die Leuchtanzeige am Empfänger nicht mehr blinkt.
Im Fernschaltmodus ist die Taste des Senders dem Empfänger zugeordnet.
Nahere Hinweise zum kombinierten Einsatz des TYXIA 610 mit dem TYDOM 200 entnahmen Sieitte der Bedienungsanleitung des TXDOM 200.
Anschluß
Vor Eingriffen am Gerät stets den Hauptschalter am Stromzähler ausschalten.
Der Verständlichkeit halber sind die Abbildungen vereinfacht. Schutzvorrichtungen und sonstiges von den Normen vorgeschriebenes Zubehör ist nicht abgebildet. Anschluss gemäß UTE-Norm NF C15-100 und dem Stand der Technik entsprechend. Starke Störungen durch angeschlossene oder in der Höhe befindliche Geräte sind zu vermeiden (EU-Richtlinie CEE 89/336).
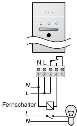
Einsatz mit TYXIA 620
Durch Tastendruck auf die Taste 1 oder 2 der betreffenden
Leitung wird der aktuelle Betriebszustand (ein oder aus) geändert.

Kombinierter Einsatz mit einem TYXIA-oder TYDOM-Sender
WICHTIG : Der Empfänger wird im einfachen Einschaltmodus geliefert. Für den Einsatz im Fernschaltmodus ist zusätzlich ein Sender erforderlich. Die Steuerung im Fernschaltmodus ist nur mit einer (TYXIA) oder (TYDOM 200)-Taste möglich.




ODER
(derzeit in Überarbeitung)
Am Empfänger die Taste der betreffenden Leitung 1 oder so lange drücken, bis die dazugehörige
Leuchtanzeige blinkt (~3 Sek). 2 Anzeigearten sind möglich.
Langsames Blinken: einfacher Einschaltmodus
Schnelles Blinken: Fernschaltmodus
Zum Umschalten von der einen auf die andere Betriebsart kurz die Taste 1 oder 2 am Empfänger drucken. Schnelles Blinken wahlen.
Am Sender die Taste anschließend ca. 5 Sek. lang gedrückt halten. Die Taste gehen an, aus und wieder an. Taste wieder loslassen.
Darauf achten, dass die Leuchtanzeige am Empfänger nicht mehr blinkt.
Im Fernschaltmodus ist die Taste des Senders dem Empfänger zugeordnet.
Nahere Hinweise zum kombinierten Einsatz des TYXIA 620 mit dem TYDOM 200 entnehmer Sieitte der Bedienungsanleitung des TXDOM 200.
Anschluß
Vor Eingriffen am Gerät stets den Hauptschalter am Stromzähler ausschalten.
Der Verständlichkeit halber sind die Abbildungen vereinfacht. Schutzvorrichtungen und sonstiges von den Normen vorgeschriebenes Zubehör ist nicht abgebildet. Anschluss gemäß UTE-Norm NF C15-100 und dem Stand der Technik entsprechend. Starke Störungen durch angeschlossene oder in der Höhe befindliche Geräte sind zu vermeiden (EU-Richtlinie CEE 89/336).

TYXIA 610 mit Elektrogerät

TYXIA 620 mit Elektrogerät


TYXIA 610 mit Leuchte
TYXIA 620 mit Leuche
Einsatz mit TYXIA 610 oder 620
Durch Tastendruck auf die Taste (TYXIA 610), oder (TYXIA 620) wird der aktuelle Betriebszustand (ein oder aus) geändert.
Einfacher Einschaltmodus im kombinierten Einsatz mit einem TYXIA-Sender
Der einfache Einschaltmodus kann mit einem TYXIA-Sender (Schalter mit Sender, Fernbedienung am Schlüsselbund u.ä.) angesteuert werden.


Ein



Ein



Ein
ODER
Aus
Je nach Szenario-Festlegung
Für jeder Empfängerfungtion konnen bis zu 8
Einsatzkombinationen (Tasten, Sender u.ä.) gespeichert werden.
Dem Empfänger eine

Taste zuordnen
Am Empfänger die Taste der betreffenden Leitung
(TYXIA 610), 1 oder 2 (TYXIA 620) so Lange
drücken, bis die dazugehörige Leuchtanzeige blinkt (-3 Sek.).
2 Anzeigearten sind möglich.
Langsames Blinken: einfacher Einsatzmodus
Schnelles Blinken: Fernschaltmodus
Zum Umschalten von der einen auf die andere Betriebsart
kurz die Taste (TYXIA 610), oder (TYXIA 620)
am Empfänger drucken. Langsames Blinken wahlen.
Am Sender die Taste anschließend ca. 5 Sek. lang gedrückt halten. Die Taste gehen an, aus und wieder an. Taste wieder loslassen.
Darauf achten, dass die Leuchtanzeige am Empfänger nicht mehr blinkt.
Die Taste des Senders ist dem Empfänger zugeordnet.
Dem Empfänger die zuordnen


Tasten
Am Empfänger die Taste der betreffenden Leitung
(TYXIA 610), ① oder ② (TYXIA 620) so lange
drücken, bis die dazugehörige Leuchtanzeige blinkt (~3 Sek.).
2 Anzeigearten sind möglich.
Langsames Blinken: einfacher Einschaltmodus
Schnelles Blinken: Fernschaltmodus
Zum Umschalten von der einen auf die andere Betriebsart
kurz die Taste (TYXIA 610), oder (TYXIA 620)
am Empfänger drucken.
Langsames Blinken wahlen.
Am Sender die und die Taste gleichzeitig ca. 5 Sek.
lang gedrück halten.
Die Tasten gehen an, aus und wieder an. Tasten wieder loslassen.
Darauf achten, dass die Leuchtanzeige am Empfänger nicht mehr blinkt.
Die und die Taste des Senders sind dem
Empfänger zugeordnet.
Einfacher Einschaltmodus im kombinierten Einsatz mit TYXIA-Sender
Dem Empfänger eine Taste zuordnen
Mit ein- und derselben Taste (Szenario) können mehrere Empfänger gleichzeitig gesteuert werden (Rolläden, Dimmer, einfache Einschalter u.ä.).
Die Anlage am Empfänger auf die gewünschte Betriebsart (z.B. Licht aus) einstellen und anschlieBend die Taste (TYXIA 610), ① oder ② (TYXIA 620) der
betreffenden Leitung so lange drücken, bis die dazugehörige Leuchtanzeige blinkt (~3 Sek.).
2 Anzeigearten sind möglich.
Langsames Blinken: einfacher Einschaltmodus
Schnelles Blinken: Fernschaltmodus
Zum Umschalten von der einen auf die andere Anzeigeart kurz die Taste am Empfänger drücken. Langsames Blinken wahlen.
Am Sender die Taste anschlieBend ca. 5 Sek. lang gedruckt halten. Die Taste goes an, aus und wieder an.
Taste wieder loslassen.
Darauf achten, dass die Leuchtanzeige am Empfänger nicht mehr blinkt.
Die Taste des Senders ist dem Empfänger zugeordnet.
Einfacher Einschaltmodus im kombinierten Einsatz mit TYXAL-Melder
Der einfache Einschaltmodus erfolglicht den kombinierten Einsatz mit einem TYXAL (Bewegungs-, Öffnungs-, technischen o.ä.)-Melder.


ON



OFF
Einschalten bei Meldung
Ausschalten ca. 90 Sek. nach letzter Meldung


ON


OFF
Einschalten bei Meldung
Ausschalten am Ende des Meldevorgangs
Am Empfänger die Taste (TYXIA 610), oder
(TYXIA 620) der betreffenden Leitung so lange drücken, bis die dazugehörige Leuchtanzeige blinkt (~3 Sek.).
Am Melder die Testtaste drucken (Piepton).
Darauf achten, dass die Leuchtanzeige am Empfänger nicht mehr blinkt.
Der Melder ist dem Empfänger zugeordnet.
Für jeder Empfängerfungtion konnen bis zu 8 Einsatzkombinationen (Tasten, Sender u.ä.) gespeichert werden.
Einfacher Einschaltmodus im kombinierten Einsatz mit TYXAL-Anlage

Der einfache Einschaltmodus erfolgt den kombinierten Einsatz mit einer TYXAL-Alarmanlage.
An der Alarmanlage den Wartungsmodus einschalten (siehe dazugehörige Bedienungsanleitung).
Am Empfänger die Taste der betreffenden Leitung (TYXIA 610), oder (TYXIA 620) so lange drücken, bis die dazugehörige Leuchtanzeige blinkt (~3 Sek.). Langsames Blinken :
Übertragung des Betriebszustandes (Tyxia 610 oder Tyxia 620 Leitung 1)
- Das Licht ist eingeschaltet wenn die Alarmanlage in Betrieb ist.
- Das Licht ist ausgeschaltet wenn die Alarmanlage nicht in Betrieb ist.
Alarmübertragungsmodus (Tyxia 620 Leitung 2)
- Bei Alarm schaltet sich das Licht 1 Min. 30 Sek. ein
Schnelles Blinken :
Übertragung der Alarmein- oder-ausschaltungen
- Alarm wird eingeschaltet : das Licht blinkt 1 Mal
- Alarm wird ausgeschaltet : das Licht blinkt 2 Mal
Zum Umschalten von der einen auf die andere Anzeigeart, die Taste (TYXIA 610), oder (TYXIA 620) der betreffenden Leitung drucken.
Die Testtaste an der Alarmanlage drucken.
Darauf achten, dass die Leuchtanzeige am Empfänger nicht mehr blinkt.
Die Alarmanlage ist dem Empfänger zugeordnet.
Einfacher Einschaltmodus im kombinierten Einsatz mit TYDOM-Sender
Der einfache Einschaltmodus erfolgt den kombinierten Einsatz mit einem TYDOM-Sender.

Telefonsender TYDOM 300
Der TYDOM 300 ermöglich ferngesteuerte ON/OFF Schaltvorgänge.

Multifunktionsfernbedienung TYDOM 200

Der TYDOM 200 bietet sämtliche Funktionen der TYXIA-Tasten :

Nahere Hinweise zum kombinierten Einsatz des TYXIA 610 oder 620 mit dem TYDOM 200 oder 300 enthalten Sieitte den entsprechenden Bedienungsanleitungen.Maintenez
Alle zugeordneten Geräte vom TYXIA-Empfänger abkoppeln

Die Taste (TYXIA 610), oder (TYXIA 620) gedrückt halten. Nach 3 Sek. blinkt die Leuchtanzeige. Die Taste weiterhin so lange gedrückt halten, bis Leuchtanzeige wieder ausgeht. jetzt sind alle mit dem Empfänger kombinierten Geräte abgekoppelt.
Technische Daten
- Versorgungsspannung 230 V, 50 Hz +/-10%
Schutzklasse II - Stromverbrauch: 1 VA
- Höchstleistung (TYXIA 610): 5A 230 Veff Cos = 1
- Höchstleistung (TYXIA 620): 2 × 5A 230 Veff Cos = 1
- Funkfrequenz 868 MHz (EN-Norm 300 220)
- Funkwellen-Reichweite 100 - 300 m in hindernisfreier Umgebung je nach Einsatzkombination (Reichweite vom Einbau und möglichen elektromagnetischen Störungen abhängig)
Anzahl der mit dem Empfänger kombinierbaren Sender: max. 8 - Automatikbetrieb: Typ 1.C
- Betriebstemperatur: 0 bis +40°C
Lagertemperature: -10 bis +70°C
Abmessungen: 170 × 50 × 25 ~mm
Schutzart: IP 40 - IK 04 - Einbau in normal verschmutzter Umgebung
Wartung
DE
| ? | Störungsdiagnose / behebung |
| Anschluss eines Senders an ihren Empfänger nicht möglich. | Jeder Empfängerfungkction konnen maximal 8 Sender zugeordnet werden. Überprüfen, dass diese Zahl darf nicht überschritten wird. |
| Die Beleuchtung besteht bei jeder Tastenbestätigung nur 1 Sek. lang an | Das Gerätläuft im Fernschaltmodus. Auf einfahren Einsatzmodus umschaften (siehe Abschnitt Fernschaltmodus). |
| Empfänger spricht auf einen Sender nicht an. | • Sender ist dem Empfänger nicht zugeordnet. • Empfänger lauft noch im Kombi-Modus. • Die Senderbatterien sind leer. |
EinfachAnleitung