TYXIA 620 - Système de gestion de l'énergie domestique DELTA DORE - Notice d'utilisation et mode d'emploi gratuit
Retrouvez gratuitement la notice de l'appareil TYXIA 620 DELTA DORE au format PDF.
| Type d'appareil | Récepteur mural |
| Fonction | Récepteur saillie 1 ou 2 contacts |
| Nombre de contacts | 1 ou 2 |
| Installation | Montage mural |
| Alimentation | Non précisé |
| Compatibilité | Détecteurs de présence |
| Normes | Conforme directives R&TTE 1999/5/CE |
| Dimensions | Non précisé |
| Poids | Non précisé |
| Matériau | Non précisé |
| Couleur | Blanc |
| Température de fonctionnement | Non précisé |
| Fréquence radio | Non précisé |
| Garantie | Non précisé |
| Fabricant | Non précisé |
| Utilisation | Intérieur |
| Type de montage | Saillie |
| Contact sec | Oui |
FOIRE AUX QUESTIONS - TYXIA 620 DELTA DORE
Questions des utilisateurs sur TYXIA 620 DELTA DORE
0 question sur cet appareil. Repondez a celles que vous connaissez ou posez la votre.
Poser une nouvelle question sur cet appareil
Téléchargez la notice de votre Système de gestion de l'énergie domestique au format PDF gratuitement ! Retrouvez votre notice TYXIA 620 - DELTA DORE et reprennez votre appareil électronique en main. Sur cette page sont publiés tous les documents nécessaires à l'utilisation de votre appareil TYXIA 620 de la marque DELTA DORE.
MODE D'EMPLOI TYXIA 620 DELTA DORE
Récepteur saillie 1 ou 2 contact(s)
Receptor mural 1 o 2 contactos
Mode telerupteur sur TYXIA 610 p3
TYXIA 620 . p 5
Mode simple allumage sur TYXIA 610 ou 620 . . . p 7
avec un émetteur TYXIA assocé . . . . p 9
avec un détector TYXAL associé . . . p 12
avec une centrale TYXAL associe ...p 13
avec un émetteur TYDOM associé . . .p 14
Effacer toutes les associations au récepteur TYXIA . p 15
a r c t e r i s t i q u e s t e n c i q u e s 15
Maintenance . p 16
Sumario
ES
En raison de l'évolution des normes et du matériel, les caractéristiques indiquées par le texte et les images de ce document ne nous engagqu qu'après confirmation par nos services.
TYXIA 610 et 620 sont des récepteurs saillie permettant de commander, respectivement, un contact et deux contacts.

TYXIA 610 pour commander un contact

TYXIA 620 pour commander deux contacts
IMPORTANT :
Pour commander des luminaires :
- Sur le Tyxia 610 ou la voie 1 du Tyxia 620, vous pouvez commander jusqu'à 250W sans contacteur.
- Sur la voie 2 du Tyxia 620, vous pouvez commander jusqu'à 100W sans contacteur.
Pour une puissance supérieure, il faut IMPÉRATIVÉMENT utiliser un contacteur ou un télérupteur.
Pour commander des lampes vous pouvez aussi utiliser les récepteurs TYXIA 410, 420 ou 440 par exemple.
Installation
FR
Emplacement
Le récepteur doit être fixé au mur à l'aide de 2 vis.

Démonter le produit
Déclipsez les parties supérieure et inférieure pour acceder aux emplacements des vis.
Raccorder et fixer le produit
Raccordez le produit (voir page raccordement) puis fixez-le en serrant les vis.

Remonter le produit
Reclipsez les parties inférieure et supérieure.
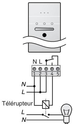
Raccordement
Avant toute intervention, coupez le courant au compteur électrique (disjoncteur général).
Par souci de clarté, les schémas réalisés sont à retenir dans leur principe. N'y figurent pas les protections et autres accessoires exigés par les normes. La norme UTE NF C15-100 et les règles de l'art doivent être respectées. Il est nécessaire que les apparèls connectés ou environnants ne créent pas de perturbations trop fortes (directives CEE 89/336).
Fonctionnement sur TYXIA 610
Un appui sur la touche du récepteur permet de modifier l'etat en cours (allumé ou éteint).

ATTENTION : dans cette application, ne pas raccorder la borne 5.

Fonctionnement avec un émetteur TYXIA ou TYDOM associé
IMPORTANT : le récepteur est livré en mode simple allumage.
Pour l'utiliser en mode telérupteur, il faut obligatoirement lui associer un émetteur.
Le mode télérupteur ne peut être commandé qu'avac une touche (TYXIA) ou (TYDOM 200).



ou

(modification de l'etat en cours)
Sur le récepteur, appuyez sur la touche ● jusqu'à ce que le voyant clignote (~3 secondes).
2 choix sont possibles.
Clignotement lent : mode simple allumage.
Clignotement rapide : mode télérupteur.
Pour passer d'un clignotement à l'autre, appuyez brievement sur la touche du récepteur. Choisissez le clignotement rapide.
Sur l'émetteur, maintenez appuyée la touche environ 5 secondes. La touche s'allume, s'éteint puis se rallume à nouveau. Relâchez.
Vérifiez que levoyant du récepteur ne clignote plus.
La touche de l'émetteur est associée au récepteur en mode télérupteur.
Pour associé TYXIA 610 à un TYDOM 200, reportez-vous à la notice de ce dernier.
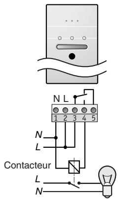
Raccordement
Avant toute intervention, coupez le courant au compteur électrique (disjoncteur général).
Par souci de clarté, les schémas réalisés sont à retenir dans leur principe. N' figurent pas les protections et autres accessoires exigés par les normes. La norme UTE NF C15-100 et les règles de l'art doivent être respectées. Il est nécessaire que les appeareils connectés ou environnants ne créé pas de perturbations trop fortes (directives CEE 89/336).
Fonctionnement sur TYXIA 620
Un appui sur la touche
de la voie concernée permet de modifier l'etat en cours (allumé ou eteint).

Fonctionnement avec un émetteur TYXIA ou TYDOM associé
IMPORTANT : le récepteur est livré en mode simple allumage. Pour l'utiliser en mode télérupteur, il faut obligatoirement lui associer un émetteur.
Le mode télérupteur ne peut être commandé qu'avac une touche (TYXIA) ou (TYDOM 200).



OU

(modification de l'etat en cours)
Sur le récepteur, appuyez sur la touche de la voie concennée 1 ou 2 jusqu'à ce que levoyant correspondant clignote (~3 secondes).2choix sont possibles.
Clignotement lent : mode simple allumage.
Clignotement rapide : mode télérupteur.
Pour passer d'un clignotement à l'autre, appuyez brievement sur la touche ① ou ② du récepteur. Choisissez le clignotement rapide.
Sur l'émetteur, maintenez appuyée la touche environ 5 secondes. La touche s'allume, s'éteint puis se rallume à nouveau. Relâchez.
Vérifiez que levoyant du récepteur ne clignote plus.
La touche © de l'émetteur est associée au récepteur en mode télérupteur.
Pour associé TYXIA 620 à un TYDOM 200, reportez-vous à la notice de ce dernier.
Raccordement
Avant toute intervention, coupez le courant au compteur électrique (disjoncteur général).
Par souci de clarté, les schémas réalisés sont à retenir dans leur principe. N' figurent pas les protections et autres accessoires exigés par les normes. La norme UTE NF C15-100 et les règles de l'art doivent être respectées. Il est nécessaire que les apparèels connectés ou environnants ne créent pas de perturbations trop fortes (directives CEE 89/336).

TYXIA 610
avec un apparéil
électrique

TYXIA 620
avec un apparéil
électrique


TYXIA 610
avec un luminaire
TYXIA 620
avec un luminaire
Fonctionnement sur TYXIA 610 ou 620
Un appui sur la touche (TYXIA 610), ou (TYXIA 620) permet de modifier l'etat en cours (allumé ou étient).
Le mode simple allumage peut être commandé par un émetteur TYXIA (interrupteur émetteur, télécommande porte-clefs...).


Marche

Arrêt


Marche

Arret


Marche
OU A
1 au choix, selon scenario défini.
Chaque fonction du récepteur peut enregistrer jusqu'à 8 associations maximum (touches, émetteurs...).
Associer une touche

au récepteur
Sur le récepteur, appuyez sur la touche de la voie concernée
(TYXIA 610), 1 ou (TYXIA 620) jusqu'à ce que le
voyant correspondant clignote ( 3 secondes).
2 choix sont possibles.
Clignotement lent : mode simple allumage
Clignotement rapide : mode télérupteur.
Pour passer d'un clignotement à l'autre, appuyez sur la
touche (TYXIA 610), ou (TYXIA 620) du
récepteur. Choisisse le clignotement lent.
Sur l'émetteur, maintenez appuyée la touche pendant environ 5 secondes. La touche s'allume, s'eteint puis se rallume à nouveau. Relâchez.
Vérifiez que levoyant du récepteur ne clignote plus.
La touche de l'émetteur est associée au récepteur.
Associer les touches au récepteur
Sur le récepteur, appuyez sur la touche de la voie concernée
- (TYXIA 610), ① ou ② (TYXIA 620) jusqu'à ce que le voyant correspondant clignote (~3 secondes).
2 choix sont possibles.
Clignotement lent : mode simple allumage
Clignotement rapide : mode télérupteur.
Pour passer d'un clignotement à l'autre, appuyez sur la touche (TYXIA 610), ou (TYXIA 620) du récepteur.
Choisissez le clignotement lent.
Sur l'émetteur, maintenez appuyées simultanément les touches ⊙ et ⊙ pendant environ 5 secondes.
Les touches s'allument, s'eteignent puis se rallument a nouveau. Relâchez.
Vérifiez que levoyant du récepteur ne clignote plus.
Les touches et de l'émetteur sont associées au récepteur.
Mode simple allumage avec un émetteur TYXIA associé
FR
Associer une touche au récepteur
Une touche (scenario) peut piloter différents récepteurs simultanément (volets roulants, variateur, simple allumage...).
Sur le récepteur, mettez l'installation dans l'état désiré (exemple : lumière éteinte), puis appuyez sur la touche de la voie concernée (TYXIA 610), ou (TYXIA 620) jusqu'à ce que levoyant correspondant clignote (~3 secondes). 2 choix sont possibles.
Clignotement lent : mode simple allumage
Clignotement rapide : mode télérupteur. Pour passer d'un clignotement à l'autre, appuyez sur la touche ● du récepteur. Choisissez le clignotement lent.
Sur l'émetteur, maintenez appuyée la touche pendant environ 5 secondes. La touche s'allume, s'eteint puis se rallume à nouveau. Relâchéz.
Vérifié que levoyant du récepteur ne clignote plus.
La touche de l'émetteur est associée au récepteur.
Mode simple allumage avec un détecteur TYXAL associé
Le mode simple allumage peut être associé à un détecteur de la gamme TYXAL (ouverture, mouvement, technique...).

C
ON



OFF
Allumagesur détention
Extinction 90 sec.
àprous la dernière détction

C
ON


OFF
Extinction en fin de détention
Sur le récepteur, appuyez sur la touche de la voie concennée (TYXIA 610), ou (TYXIA 620) jusqu'à ce que le voyant correspondant clignote (~3 secondes).
Sur le détector, appuyez sur la touche Test (il émet un bip).
Vérifiez que levoyant du récepteur ne clignote plus. Le détecteur est associé au récepteur.
Chaque fonction du récepteur peut enregistrer jusqu'à 8 associations maximum (touches, émetteurs...).
Mode simple allumage avec une centrale TYXAL associée


Le mode simple allumage peut être associé à une centrale d'alarme TYXAL.
Sur la centrale,mettre en mode Maintenance (voir notice de la centrale).
Sur le récepteur, appuyez sur la touche de la voie concennée (TYXIA 610), ou (TYXIA 620) jusqu'à ce que le voyant correspondant clignote (~3 sec.).
Clignotement lent :
report d'etat d'alarme (Tyxia 610 ou Tyxia 620 voie1)
- lumière allumée lorsque la centrale est en marche.
- lumière éteinte lorsqu'la centrale est en arrêt.
mode report d'alarme (Tyxia 620 voie 2)
- lumière allumée pendant 1 min 30 en cas d'alarme
Clignotement rapide :
report de mise en marche ou arrêt de l'alarme
- mise en marche : l'éclairage clignote 1 fais
- mise en arrêt : l'éclairage clignote 2 fois
Pour passer d'un clignotement à l'autre, appuyez sur la touche de la voie concernée (TYXIA 610), ou (TYXIA 620).
Appuyez sur la touche "Tester" de la centrale.
Vérifiez que levoyant du récepteur ne clignote plus.
La centrale est associée au récepteur.
Mode simple allumage avec un émetteur TYDOM associé

Le mode simple allumage peut être associé à un émetteur TYDOM.

Transmetteur téléphonique TYDOM 300
TYDOM 300 permiet, à distance, le fonctionnement ON/OFF.

Télécommande multifonctions TYDOM 200

TYDOM 200 rassemble toutes les fonctionnalités des touches TYXIA :

\section*{Caracteristiques techniques}
FR
- Alimentation 230 V, 50 Hz +/-10%
- Isolement classe II
- Consommation : 1 VA
- Puissance maximum (TYXIA 610) : 5A 230 Veff Cos = 1
- Puissance maximum (TYXIA 620) : 2 x 5A 230 Veff Cos = 1
- Fréquence radio 868 MHz (Norme EN 300 220)
- Portée radio de 100 à 300 mètes en champ libre selon les équipements associés (portée pouvant être alterée en fonction des conditions d'installation et de l'environnement électromagnétique)
- Nombre d'émetteurs pouvant être associés au récepteur : 8 max.
Action automatique : type 1.C - Température de fonctionnement: 0 à +40°C
- Température de stockage: -10 à +70°C
- Dimensions : 170 x 50 x 25 mm
- Indice de protection : IP 40 - IK 04
- Installation en milieu normalement pollué
Maintenance
FR
| ? | Diagnostic /Solutions |
| Vous ne pouvez pas associier un émetteur à votre récepteur | Le nombre maxi. d'émetteurs à associer à une fonction du récepteur est de 8. Vérifiez que ce nombre n'est pas atteint. |
| L'éclairage ne s'allume qu'1 sec. à chaque appui | Vous étés en mode télérupteur. Passez le produit en mode simple allumage (voir Chapitre mode télérupteur). |
| Le récepteur ne prend pas en compte la commande d'un émetteur | • L'émetteur n'est pas associé au récepteur. • Le récepteur est resté en mode association. • Les piles de l'émetteur sont usées. |
Effacer toutes les associations au récepteur TYXIA
Pour associé TYXIA 610 ou 620 aux TYDOM 200 ou TYDOM 300, reportez-vous à leur notice respectve.
Maintenez appuyée la touche (TYXIA 610), ou (TYXIA 620). ÀpRES 3 secondes, le voyant clignote. Maintenez l'appui jusqu'à ce que le voyage s'éteigne pour confirmer l'effacement de toutes les associations au récepteur.
Presentación
ES
Notice Facile