Lumix DMWYAGHE - Cámara PANASONIC - Manual de uso y guía de instrucciones gratis
Encuentra gratis el manual del aparato Lumix DMWYAGHE PANASONIC en formato PDF.
Questions des utilisateurs sur Lumix DMWYAGHE PANASONIC
0 question sur cet appareil. Repondez a celles que vous connaissez ou posez la votre.
Poser une nouvelle question sur cet appareil
Descarga las instrucciones para tu Cámara en formato PDF gratis! Encuentra tus instrucciones Lumix DMWYAGHE - PANASONIC y toma tu dispositivo electrónico nuevamente en la mano. En esta página están publicados todos los documentos necesarios para el uso de su dispositivo. Lumix DMWYAGHE de la marca PANASONIC.
MANUAL DE USUARIO Lumix DMWYAGHE PANASONIC
Instrucciones de funciona
Lea cuidadosamente estas instrucciones antes de usar este producto, y guarde este manual para uso en el futuro.
LINE/MIC/+48V (switchable)
LINE:0dBu
MIC: -50 dBu
+48V: +48 V phantom supported, -50 dBu
SDI OUT:
BNC×4, 0.8 V [p-p], 75 Ω,
Audio output: SDI OUT 1
- Para reducir el riesgo de producir un incendio, no exponga este equipo a la lluvia ni a la humedad.
- Para reducir el riesgo de incendio, mantenga este equipo alejado de cualquier liquido. Utilcélo y guardelo solamente en lugares donde no corra el riesgo de que le caigan gotas o le salpiquen liquidos, y no coloque ningún recipiente de liquidos encima del equipo.
ADVERTENCIA:
Mantenga los accesorios (tapa del terminal) fuera del alcance de bebés y niños微量元素.
PRECAUCION:
No quite la cubierta desatornillandola.
Las piezas del interior no requieren mantenimiento por parte del usuario.
Solicit las reparaciones al personal de servicios calificado.
PRECAUCION:
Para mantenerunas buena conditiones de ventilacion, no instale ni ponga este aparato en una libreria, mueble empotrado u other espacio reducido. Para evaporar el riesgo de incendio bajo al recalentamento, asegúrese de que las cortinas y othermateriales no obstruyen la ventilacion.
PRECAUCION:
Para reducir el riesgo de incendios e interferencias molestas, utilise solamente los accesorios recomendedos.
PRECAUCION:
No mantenga la unidad en contacto directo con la piel durante largos periodos de tiempo cuando está en uso.
Es posible que se produzcan quemaduras de bajo temperatura si la pielenta en contacto con las piezas de la unidad que se encuentran a temperatas altas durante periodos de tiempo prolongados.
Si va a utiliser el equipo durante largos periodos de tiempo, emplee el tripode.
PRECAUCION:
No levante la unidad o la-camera con un tripode acoplado.
El peso adicular de launidad proveniente del tripode acoplado pueda darar la connexion entre launidad y la CAMERA, y pueda provocar lesiones.
Cuando acople un tripode, transporte siempre el equipo por el tripode.

indica informacion de seguridad.
La plac de caractéristicas se encuesta en la parte inferior de la unidad.
Esta unidad es exclusiva para la CAMERA digital DMC-GH4 de Panasonic.
El montaje de la unidad a una CAMERA digital le permite emitir video compatible con 4K, 3G-SDI y HD-SDI desde el terminal SDI y realizar una produccion de video con imagenes de alta calidad.
La entrada de audio de dos canales (XLR) es compatible con los medidos del nivel de audio disponibles.
Tambien peut introducir un numero de tiempo externo para que se utilise como señal de referencia.
- Cuando launidad se monta en unaámara digital, el sonido electrónico y el sonido electrónico de la obturación de laámara digital se desactivan.
Indices
Leaayoestrero. 38
Accesorios 41
Nombres y functions de los componentes ....42
Montaje en la-camera digital. 44
Cambio de la calidad de video 45
Menus adiconales. 46
Especillas . 48
Manipulación de launidad
La unidad no es resistente al agua ni al polvo.
Tenga cuidado y no permita que la arena, polvo o agua se adhieran o entrada en el area del terminal, la CAMERA digital o en esta unidad al colocar o sacar esta unidad.
-Esta unidad no es impermeable y no se pueda usar bajo el agua.
-
No someta la unidad a sacudidas o vibraciones fuertes. De lo contrario, pueda causar averías o daños.
-
Cuando la unidad se monte en la CAMERA digital, no utilise la correa al hombre suministrada con la CAMERA digital. Sujete siempre tanto la CAMERA digital como la unidad cuando lo transporte.
-
Mantenga la unidad lejos de rociadores de insecticida yorasustancias volátiles.
Si la unidad se expone a ellos rociadores o sustancias, se pueda deteriorar su carcaja externa o se pueda(desprender la pintura.
-
Nocede launidad en contacto con objetivos de goma o PVC durante periodos de tiempo prolongados.
-
Bajo ninguna circunstancia la unidad se debe almacenar en cualesera de las siguientesubicaciones ya que si lo hace poder problemas en el funciona miento o averias:
-
En la luz solar directa o en una playa en verano - Cerca de calefactores, aires
-
Enubicaciones con altas temperatas y altos acondicionados o humidificadores
niveles de humedad o donde los cambios de temperatura y humedad son agudos
-
Donde hay vibración
-
Dento de un vehiculo
-
Donde hay fuego
-lington lea las Instrucciones de functiOnamento de su camarara digital.
-
Panasonic no sera responsable por daños directos ni indirectos o perdidas que resulten de problemas en el funcionaimiento o averías en el producto.
-
El dibido y las specifications de este documento están susketos achangios sin previo aviso y pueda diferir del producto real.
-
Si el ventilador de launidad se detiene debido a un mal funciona o a un error y continua utilizing launidad, es possible que la calidad de video no se realice correctamente.
Limpieza
Al limpiar, use un paño seco y suave.
- Cuando la unidad está demasiado sucia, pueda limpiarse quitando la sociedad con un trapo mojado y escurrido, y luego con un trapo seco.
- No utilise disolventes como gasolina, diluyente, alcohol, detergentes para cucina, etc., para limpar la unidad ya que de hacerlo podra deteriorarla y podra desprender su revestimiento.
- Al usar un trapo químico,onga cuidado de seguir las respectivas instruetiones adjuntas.
Accesorios
- Asegürese de eliminar los materiales de embalaje de manière adequada tras.desembalar laidad.
- Los siguientes accesorios suministrados se incluyen con la unidad.

Nombres y unidades de los componentes


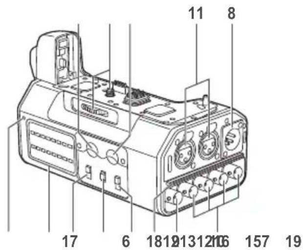
1 Terminal de connexion HDMI
Conecta el conector HDMI de la CAMERA digital.
2 Contactos electricos
3 Contactos de la interfaz
4 Clavijas de sujeción de la camarà
5 Tornillo de sujeción
6 Orificio para tornillo (1/4-20 UNC)
Se acopl a los adaptadores de compatibilidad de objetivos PL.
7 Terminal HDMI
Terminal de salute HDMI Tipo A. (No compatible con VIERA link).
- Utilice un cable HDMI de alta velocidad y doble blindaje compatible con 4K (hasta 2m ) marcado con el logotipo HDMI al conectarlo a este terminal.
8 Terminal DC IN
Se conecta a la fuente de alimentacion de CC (bateria: 12 V CC).

| N.° de contacto | Señal |
| 1 | GND |
| 2, 3 | — |
| 4 | 12 V |
| CASE | Bastidor GND |
Notas sobre la fuente de alimentacion de CC (bateria)
- Antes de realizar la connexion, compruebe que el voltaje de salute coincida con el voltaje nominal de la unidad.
- Utilice una corriente nominal de salute que sea igual o superior al valor nominal de la corriente de entrada de la unidad.
- Utilice un cable blindado que no supere los 2 m de longitud para el cable CC para conectar launidad a la fuente de alimentacion de CC (bateria).
- Los picos de corriente se producen al encender la CAMERA digital. Una capacidad de alimentación insufiente al encender la alimentación puede produirfallos en el funciona. Le recomendamos que utilise una fuente de alimentación de CC (bateria) que suministre como minimum el doble del Consumo de energia realizado por la unidad.
Compruebe las posiciones de los contactos del conductor de salute de la fuente de alimentacion de CC (bateria) y del terminal DC IN de la unidad, y asegürese de conectarlos con la polaridad correcta.
La connexion de la fuente de alimentacion de +12V al terminal GND可以使 provocar un incendio o producir fallos en el funciona.
Nombres y unidades de los componentes (continua)
Aquí pueda introducirse loscottigos de tiempo.
Introduzca uncottido de tiempo de referencia en este terminal para sincrionizar elcottido de tiempo de la camara digital con el del equipo externo.
- Utilice un cable 5C-FB o un cable de doble blindaje equivalente para conectarlo a este terminal.
10 Terminales SDI OUT [1, 2, 3, 4] (BNC)
Terminales reservados para la calidad SDI.
| Ajuste de laResolution | Terminal de salute |
| C4K, 4K <1,5G-SDI Square Division> | De 1 a 4 |
| FHD (1080/59,94p, 1080/50p) <3G-SDI> | 1, 2 (misma SCNAL) |
| FHD (distinto del anterior), HD <1,5G-SDI> | De 1 a 4 (misma SCNAL) |
- Utilice un cable 5C-FB o un cable de doble blindaje equivalente para conectarlo a este terminal.
- Para proportionsar la calidad de videos que no contienencottodos de tiempo (p. ej., cuando [Fornato de grabacion] se ajusta en [MP4] en la CAMERA digital), no se emitirainguin codigo de tiempo.
11 Terminales AUDIO IN [CH1, CH2] (XLR, 3 contactos)
Se connecta a un equipo de audio o microfonos.
![PANASONIC Lumix DMWYAGHE - Terminales AUDIO IN [CH1, CH2] (XLR, 3 contactos) - 1](/content/2026/03/454410/images/ebd787340a86f96733758328248a31f96f114bcd7f8e320a8bd2f27eda420048.jpg)
| N.° de contacto | Señal |
| 1 GND | |
| 2 AUDIO | N (H) |
| 3 AUDIO | N (C) |
12 Interruptores LINE / MIC / +48V
Cambie el interruptor en función del equipo de audio conectado al terminal AUDIO IN CH1 o AUDIO IN CH2.
LINE:
Cuando hay un equipo de audio con entrada de linea conectado.
(Nivel de entrada: 0 dBu)
MIC:
Cuando hay un micrófono conectado.
(Nivel de entrada: -50 dBu)
+48V:
Cuando hay un micrófono fantasma (un micrófono que nécessita una fuente de alimentación de +48 V) conectado.
Se suministrará una fuente de alimentación de +48 V a los terminals AUDIO IN CH1 y AUDIO IN CH2.
13 Interruptor STEREO/MONO
Cambia el sonido que entra en los terminales AUDIO IN CH1 y AUDIO IN CH2 a sonido estereo o monoaural.
STEREO:
Sonido estereo de dos canales.
MONO:
Sonido monoaural.
El audio que entra en el terminal AUDIO IN CH1 también entrada en AUDIO IN CH2.
14 Discos REC LEVEL
Ajustan la entrada de audio en los terminales AUDIO IN CH1 y AUDIO IN CH2 deforma individual.
15 Medidos de nivel
Muestran individuales para los niveles de entrada de audio de los terminales AUDIO IN CH1 y AUDIO IN CH2.
Losindicadores se iluminan en rojo.
cuando los niveles de audio exceden los 0 dB.
Ajuste los discos REC LEVEL (14) para evaporar que los niveles de audio exceedan los 0 dB.
16 Indicador de alimentacion
Se ilumina al encender la CAMERA digital conectada.
17 Orificios del adaptordo del tripode
Compatible con tornillos 1/4-20 UNC y 3/8-16 UNC.
Utilice el orificio adecuado en función del diametro del tornillo del tripode.
- Los orificios tienen una profundidad de 5,5 mm. Al colocar la unidad en un tripode, no apriete el tornillo con excessiva fuerza.
18 Entrada de ventilación
19 Salida de ventilacion
Montaje en la CAMERA digital
- Asegürese de que no haya una fuente de alimentación de CC conectada al terminal DC IN de la unidad y que la CAMERA digital está apagada.
(Si se monta o se desmonta con la fuente de alimentacion encendida可以使 provocar fallos en el funciona).
1 Retire la cubierta del conductor de la empuñadura y la cubierta del conductor de la unidad interface de la CAMERA digital, y extraiga las tapas del contacto electrico y del contacto de la interfaz de la unidad.
-
Almacene las cubiertas de los conectores y las tapas del contacto en un lugar seguro para evaporar que se pierdan.
-
Para proteger los terminales, vuelva a colocar las cubiertas y las tapas al terminar de utiliser laividad.

Cubierta del conector de la empuñadura
Cubierta del conector de la unidad interface

Tapas del terminal
2 Afloje el tornillo del terminal de conexión HDMI (A) y deslice el terminal de conexión HDMI de lado hacía fuera.
- No enrolle el terminal de conexión HDMI ni tire de él con excessiva fuerza. De lo contrario, pueda causar averías o daños.

3 Alinee el tornillo de sujeción, los contactos y las clavijas de sujeción de la CAMERA y colque la CAMERA digital.

4 Gire el tornillo de sujeción (B) en la direction de la flecha y anteselo firmamente.
- Confirme que el tornillo de sujeción está firmamente apltado durante el uso.

5 Abra la cubierta del terminal de la casa digital, deslice el terminal de connexion HDMI de la unidad hacía el interior (hacia la casa) para conectarlo y apriete firmamente el tornillo del terminal de connexion HDMI (A).
- Abra la cubierta del terminal de la-camera digital 90 grados e introduzcala en el terminal de connexion HDMI.

Desmontaje de la CAMERA digital
- Asegürese de que no haya ninguna fuente de alimentación de CC conectada al terminal DC IN de la unidad y que la CAMERA digital está apagada, y realize el proceso de montaje enorden inverso (desconecte el terminal de connexion HDMI antes de girar el tornillo de sujección (B)). Realizar el proceso en el ordern incorrecto pueda causar daños.
Cambio de la calidad de video
Al montar la unidad en una CAMERA digital yJKLM a la CAMERA en modo de reproduccion, los videos y menus no se做不到 en el monitor de la CAMERA.
Pulse el botón [Fn3] en ellos casos paracaeir el destino de calidad de video a lacamera digital y visualizar los videos y menus en el monitor de lacamera.
Pulse el botón [Fn3] de nuevo paracaebar el destino de salute de videoa la unidad.

Menús adiciones
Cuando se monta la unidad en la CAMERA digital, aparecerá un menu adicional en la pantalla de la CAMERA.
Asegürese de leer las Instrucciones de funciona de la CAMERA digital jusqu con este documento.
- Los ajustes del menu quedan registrados en la CAMERA digital cuando se apaga.

Pelic.
| Unidad interface Confi: | furación para la unidad interface |
| Selec. entrada audio | Selección la entrada de audio de laámara digital. •[BODY]: Entrada de audio desde el micrófono de laámara digital o desde el micrófono externo connectado a laámara digital. •[XLR]: Entrada de audio desde el equipo connectado a los terminales AUDIO IN [CH1, CH2] de esta unidad. Al selección está op;;, la configuración [Eliminar Ruido Lente] se fjará en [OFF]. |
| Grabación remota SDI | Selección si desea emitir la información de control para el inizio y la detencion de la grabación al equipo externo connectado a los terminales SDI OUT de this unidad. •[ON]: Activa la funciona. •[OFF]: Desactiva la funciona. |
| Brillo LED | Especifique el brillo de los medidos de nivel. •[HIGH], [LOW] |
| Tipo 3G-SDI | Selección el tipo deolenal que se utilizescando se emitan las señales 3G-SDI. •[LEVEL A], [LEVEL B] |
| Batería baja | Selección el voltaje en que se visualizará la advertencia de batería baja (disminución de la tensión) para la batería de alimentación de CC. •[11V], [12.5V], [13.5V], [15V] El indicator ↓qui cambiará a color rojo y parpadeará antes de que la carga de batería está vacía. Sustituya la batería cuando el nivel de carga sea bajo y se muestre "Unidad interface: Batería baja". |

Conf.
Vis. version Muestra la version de firmware de la unidad que se ha anadido.
Además, algunos ajustes en los siguientes elementos del menu estarán restringidos cuando la unidad se monte en la CAMERA digital.
| Conf. Pelić. | |
| Conexión TV •Modo HDMI (Reprod.): •Cuando se seleccióna [AUTO], la resoluciones de salute se ajusta automatistically en función del formattingocado (resolución). •Cuando se seleccióna unajusteamente a [AUTO], los@cuidos de tiempo no se superponen a lassalidas SDI. •Reproducción 3D: Fijado en [2D]. •VIERA link: Fijado en [OFF]. | Salida grabación HDMI •Conv. de Bajada 4K: No se pueda selecciónar [AUTO]. |
Fuente de alimentacion:
(incluyendo la-camera digital)

indica informacion de seguidad.
Temperatura de funciona:
De 0^ a 40^
Humedad de funciona:
De 10% a 80% (sin condensacion)
Peso:
750g
(excluyendo salientes y el terminal de
conexión HDMI)

Video digital
Resolución:
Cinema4K:
4096× 2160 [24p]
4K (QFHD):
3840× 2160 [29,97p]
3840 × 2160 [25p]
3840 × 2160 [24p]
Profundidad de bits:
8 bits/10 bits
Audio digital
Frecuencia de muestreo:
48 kHz (sincronizacion de video)
Quantificacion:
16 bits
Capacidad de energia:
12 dB
Entrada / salute
TC IN:
Salida de número de tiempo: SDI OUT 1
LTC incorporado
HDMI:
HDMI Tipo A (no compatible con VIERA link),
2 canales de audio (PCM lineal)
Información sobre la eliminación para los sistemas de equipos electricos y electrónicos usados (partículares)

La aparicio de este-symbolo en un producto y/o en la documento adjunta indica que los productos electricos y electrónicos usados no deben mezclarse con la basura domestica general.
Para que这些东西 productos se sometan a un processo adecuado de tratamiento, recuperación y reciclaje, llévelos a los+puntos de recogida designados,donde los admitarán sin coste algo. En algunos páises existe también la posibidad de revolver los productos a su minorista
local al comprar un producto nuevo equivalente.
Si desecha el producto correctamente, está contribuyendo a preservar valiosos recursos y a evitar cualquier possible efecto negativo en la salute de las personas y en el medio ambiente que pudiera producirse bajo al tratamiento inadequado de desechos.
Póngase en contacto con su autoridad local para que le informen detalladamente sobre el punto de recogida asignado más cercano.
De acuerdo con la legislacion nacional, podrian aplicarse multas por la eliminacion incorrecta de这些东西 desechos.
Para entreprises de la Unión Europea
Si desea deselectar equipos electricos y electrónicos, pángase en contacto con su distribuidor o proveedor para que le informe detalladamente.
Información sobre la eliminación en otros países no PENENECIENTES a la Unión Europea
Este symbolo solo es valido en la Unión Europea.
Si desea deselectar este producto,pongase en contacto con las autoridades locales o con su distribuidor para que le informen sobre el método correcto de eliminación.
ManualFácil