KD43XG8096 - TELEVISOR SONY - Manual de uso y guía de instrucciones gratis
Encuentra gratis el manual del aparato KD43XG8096 SONY en formato PDF.
Descarga las instrucciones para tu TELEVISOR en formato PDF gratis! Encuentra tus instrucciones KD43XG8096 - SONY y toma tu dispositivo electrónico nuevamente en la mano. En esta página están publicados todos los documentos necesarios para el uso de su dispositivo. KD43XG8096 de la marca SONY.
MANUAL DE USUARIO KD43XG8096 SONY
Información de instalación para usar el Soporte de pared de Sony (SU-WL450)
Modelos compatibles:
KD-75XG80□□*/65XG81□□*/65XG80□□*/55XG81□□*/
- En los nombres de modelo reales, "□□" indica los número y/o los caractéres especialos de cada modelos.
Información para los pacientes
Por motivos de seguridad y proteccion del producto, Sony recomienda encarecidamente que la instalacion del televisor la realice un distribuidor de Sony o un contratista autorizzato. No intente realizar la instalacion por su cuenta.
Información para los distribuidores y contrastistas de Sony
Preste especial atencion a la seguridad durante los procesos de instalacion,ostenimiento periodico y revision de este producto.
La instalación de este producto requires dispenser de suficiente experiencia, especially para determinar la solidez de la pared para soportar el peso del televisor. Asegúrese de confiar la instalación de este producto en la pared unicamente a distribuidores de Sony o contratistas autorizados, y preste especial atencion a la seguridad durante el proceso de instalacion. Sony queda exento deequalquier responsabilidad por daños o lesiones occasionados por una Manipulacion incorrecta o una instalacion inadecka.
Por su seguridad y para una instalacion correcta, siga las Instrucciones de manejo del soporte de pared, la Guia de configuracion del televisor y lasindicaciones de este manual.
Seguridad
Muchasgraciasporlaadquisidonedesteste producto.
Información para los clients
Para la instalación de este producto se requieren conocimientos sufuentes. Asegúrese deatarra la instalación a un distribuidor o a un contratista Sony autorizado y preste especial atencion a la seguridad durante la instalacion. Sony no se hace responsable de los daños o lesiones causados por una mala realizacion, una instalacion incorrecta o la instalacion deequalquier producto que no sea el especificado. Este no afecta a sus derechos legales (en caso de haberlos).
Información para los distribuidores de Sony
Para la instalación de este producto se requires conocimientos sufuentes. Lea detenidamente este manual de instruciones para realizar la instalación deforma segura.Sony no se responsabiliza de ningun dano o lesion provocados por una Manipulacion o instalacion incorrectas.Entregue este manual al cliente despues de la instalacion.
Este manual de instrueriones muestra la manera correcta de Manipular el producto, asi como precauaciones importantes necessarias para evacitar accidentes. Lea detenidamente este manual y utilise el producto correctamente. Conserve estemanual para poder consultarlo en el futuro.
Los produits de Sony estan diseñados pensando en la seguridad. Sin embargo, si los produits se utilizen incorrectamente, pueda producirse lesiones graves acause de un incendio o una descarga, o al volcarse o caarse el producto. Para evitar tales accidentes, asegúrese de observar las precauciones de sécurité.
PRECAUCION
Productospecificados
El soporte de montaje mural está disnéado para usar con los TV espécificados en el producto. Consulte la Guía de referencia del televisor para comprar si se pueda usar el soporte de pared.
Información para los clientses
ADVERTENCIA
Si no se tenen en cuenta las siguientes precauciones, existe el peligro de sufir lesiones graves o incluso de muerte a raiz de un incendio o una descarga electrica, o a causa de que el producto se caiga.
Asegúrese deunar la instalación a contratistas autorizados y mantenga a los niños alejados durante la instalación.
Si el soporte de montaje mural o el tevisor no está instalados correctamente, pueda occurrir los accidentes siguientes. Asegúrese de que la instalación La搬迁an a cabo contratestas autorizados.
- El tevisor podria caerse y provocar lesiones graves como contusiones o fracturas.
- Si la pared en la que se instala el soporte de montaje mural es inestable, desigual o no es perpendicular al sueño, la unidad pueda caerse y provocar días personales o materiales. La pared deben ser capaz de soportar un peso de al menos quatre vezes el peso del televisor. (Consulte la Guía de referencia del televisor para poder el peso del televisor).
- Si la instalacion del soporte de montaje mural en la pared no es lo suficientemente resistente, es possible que la unidad se caiga y provoque daños personales o materiales.
Asegúrese deunar el traslado o el desmontaje del televisor a contrastistas autorizados.
Sioras personas que no son contratestas autorizadosllvan a cabo el transporte o el desmontaje del telesor,esta pueede caarse y provoc daños personales y materiales. Asegurese de que dos o mas personas (tres o mas personas para un telesor de 75 pulgadas o mas) transporten o desmonten el telesor.
No quite los tornillos, etc., una vez montado el televisor.
Si lo hace, el televisor pueda caerse y provocar danos personales o materiales.
No modifie las piezas del soporte de montaje mural.
Si lo hace, el soporte de montaje muralSEO.
puede caerse y provocar daños personales o
materiales.
No monte ningún或其他 equipo que no sea el producto asignado.
Este soporte de montaje mural se ha disnado para utilizesse solo con el producto especificado. Si monta un equipo distinto del especificado, pode caerse o romperse y provocar daños personales o materiales.
No aplique nunca peso que no sea el propio del televisor en el soporte de montaje mural.
No sacuda el tevisor hacia la izquierda,la derecha,arriba o abajo.
Si lo hace, el televisor pueda caerse y provocar daños personales o materiales.
No se apuye en el televisor ni seswithcuelgue de este.
No se apoye en el televisor ni se cuelgue de este, ya que podria caerle encima y provocarle lesiones graves.
PRECAUCION
Si no se Tienen en cuenta las precaucionesSIGUIENTES, podrnan producirse daños personales o materiales.
No manipule el producto con fuerza excessiva cuando realice su limpieza o mantenimiento.
No aplique fuerza excessiva en la parte superior del televisor. Si lo hace, el televisor pueda caerse y provocar daños personales o materiales.
Precauciones
- Si utilizes el telesoror instalado en el soporte de montaje mural durante un长大o periodo de tiempo, es posible que la pared que quede detrás o encima del telesoror se descolore o que, si la pared está empapelada, se despegue el papel, dependiendo del material de la pared.
- Si se quita el soporte de montaje mural despues de haber estado instalado en la pared, quedarán los orificios de los tornillos.
- No use el soporte de montaje mural en un lugar en el que pueda sufrir vibraciones mecánicas.
Instalacion del soporte del montaje mural
Información para los distribuidores de Sony
ADVERTENCIA
Las instrucciones siguientes están destinadas únicamente a los distribuidores de Sony. Asegúrese de leer las precauciones de seguridad descritas anteriorsente y preste especial atencion a la calidad durante la instalacion, el mantenimiento y la comprobacion de este producto.
No instale el soporte de montaje mural en superficies de paredes en las que能把an sobresalir las esquinas o los lados del televator.
No instale el soporte de montaje mural en superficies de paredes, tales como una columna, en las que你可以 sobresalir las esquinas o los lados del televisor. Si una persona o un objeto se golpe con la española o el lado saliente del televisor,你能 producirse días personales o materiales.

No instale el telesor encima ni bajo de un aparato de aire acondicionado.
Si el telector queda expuesto a goteo de agua o corriente de aire procedentes del aparato de aire acondicionado durante mucho tiempo, podra producirse un incendio, una descarga electrica o un fallo de funcionaimiento.
Asegúrese de instalar el soporte de montaje mural firmamente en la pared siguiendo las instrucciones de este manual.
Si algo nido de los tornillos quaida suejo o se despende, el soporte de montaje mural可以选择 caearse y provocar daños personales o materiales. Asegúrese de utiliser los tornillos adequados para el material de la pared e instale la unidad firmamente, utilizing cuando o más tornillos de 8 mm de diametro (o equivalentes).

Asegúrese de utiliser correctamente los tornillos y las piezas de sujeción suministrados siguiendo las instrucciones que se describen en este manual. Si utilizes articulos sustitutivos, el televisor podra caerse y danarse o provocar daños personales.
Efectuecorrectamente el montaje del soporte siguiendo el procedimiento descripto en este manual.
Si algo nuno de los tornillos queda suelto o se
desprender, el televisor podria caerse y
danarse o provocar daños personales.
Asegúrese de aparear bien los tornillos en la posición correspondiente.
De lo contrario, el tevisor podria caerse y dañarse o provocar daños personales.
Procure que el telesor no reciba golpes durante la instalacion.
Si el televisor recibe algo nolgope, pueede caerse o romperse. Tales percances podrianc causal heridas personales.
Asegürese de instalar el televisor en una pared que sea perpendicular y plana.
De lo contrario, el televisor podra caerse y provocar daños personales.
Una vez que haya instalado correctamente el televisor, fije adecuadamente los cables.
Si algoña persona u objerto se enreda con los cables, correrá el peligro de sufir heridas personales o de danarse el televisor.
Evite que el cable de alimentación de CA o el cable de connexion queden atrapados.
Si el cable de alimentación de CA o el cable de conexión quedan atrapados entre la unidad y la pared o si se doblan o tuercen con fuerza, es possible que los conductores internos queden expuestos y que provoquen un cortocircuito o corte electrico. Estoouldra originar un incendio o producir descargas electricas.

Los tornillos你需要 para hacer el soporte de montaje mural a la pared no está incluidos.
Utilice los tornillos adecuados para el material y la estructura de la pared en la que se proponga montar el soporte de montaje mural.
Tabla de Contents
Preparación para la instalación 5
Verificacion de las piezas 5
Definimiento del lugar para la instalacion....6
Instalacion de la base en la pared 8
Preparación para instalar el televisor............9
KD-75XG80□□ 9
KD-65XG81□□/65XG80□□ 10
KD-55XG81□□/55XG80□□ 11
KD-49XG81□/49XG80□/43XG81□/43XG80□
Instalacion del teilevisor en la pared. 14
KD-75XG80□□ 14
KD-65XG81□□ / 65XG80□□ / 55XG81□□ / 55XG80□□ / 49XG81□□ / 49XG80□□ / 43XG81□□ / 43XG80□□
Confirmañón del final de la instalación.......19
Información adicional. 19
Especillas. 19
Instalación del televisor en la pared
El proceso de instalación varía según el televisor.
Utilice el soporte de pared SU-WL450 para instalar el televisor en la pared.
Nota
- Si el soporte de sobremesa está instalado en el televisor, desinstale el soporte de sobremesa antes de proceder. Consulte la Guía de configuración y siga los pasos enorden inverso para descmountar el soporte de sobremesa.
- Coloque el televisor con la pantalla hacía abajo sobre una superficie nivelada y estable, cubierta con un paño grueso y suave, cuando fije las piezas de sujeción del soporte de pareó o cuando desinstale el soporte de sobremesa del televisor, para evaporar dañar la superficie de la pantalla LCD.
- Asegürese de guardar los tornillos退役 en un lugar seguro, lejos del alcance de los niños.
Preparación para la instalación
- Tenga a mano la Guía de referencia y la Guía de configuración del teovisor antes de la instalación.
- Asegürese de disponible de un destornillador PhillipsADEducado para los tornillos antes de efectuar el montaje.
- Confirme la posición de instalación del televisor.
- Prepare como微量元素 cuando tornillos de 8 mm de diametro y uno de 5 mm o equivalente (no suministrado). Elija los tornillos adecuados para el material de la pared
Verificacion de las piezas
Suministrado con SU-WL450
- Compruebe que se hayan suministrado todas las piezas.
| A Base (20) (1) B Polea (2) | |
| ◎ PSW 6x20 (4)◎ PSW 4x20 con casquillo (2) | |
| E Separador (20) (2) E Correa (1) | |
| G Casquillo (20) (M4) (2) | H PSW 4x20 (2) |
| ① Adaptador de la base (2) | ② PSW 4x10 (8) |
| K Separator (60) (2) | L PSW 6x50 (2) |
| M Casquillo (M4) (2) | N PSW 4x50 (2) |
Definimiento del lugar para la instalación
1 Decida la ubicacion de instalacion.
Asegürese de que haya suficiente空間 en la pared para el teovisor y de que la pared pueda soportar un peso al menos quatre vezes superior al del teovisor.
Consulte lasuma tabla acerca de la instalacion del teovisor en la pared. Para conocer el peso del teovisor, consulte la Guia de referencia del teovisor.

Punto del centro de la pantalla
Unidad: mm
| Nombre delmodelo | Dimensiones de la pantalla | Dimensión del centro de la pantalla | Longitud para montaje | |
| a | b | c | d | |
| Montaje estándar | ||||
| KD-75XG80□□ | 1686970202690142100 | |||
| KD-65XG81□□ | 1463845173597142100 | |||
| KD-65XG80□□ | 1463845173597142100 | |||
| KD-55XG81□□ | 124172195460141100 | |||
| KD-55XG80□□ | 124172195460141100 | |||
| KD-49XG81□□ | 1101645-15*314119 | 78 | ||
| KD-49XG80□□ | 1101645-15*314119 | 78 | ||
| KD-43XG81□□ | 97057023315119 | 77 | ||
| KD-43XG80□□ | 97057023315119 | 77 | ||
- La posición del soporte está por debajo del punto del centro de la pantalla.
Nota
Las cifras de la tabla puede ser distinctas segun la instalacion.
- Cuando el televisor está instalado en la pared, elgado superior del televisor está ligeramente inclinado hacía delante.
Deje un espacio adecuado entre el televisor, el techo y las partes salientes de la pared, tal y como se muestra a continuación.
Unidad: mm

- Para garantizar la correcta ventilacion y evaporar la accumulatoracion de polvo o sociedad:
No coloque el Conjunto del tevisor tumbado o instalado del revés, de espaldas o de lado.
No coloque el Conjunto del tevisor sobre estantes, alfombras, camas o armarios.
- No cubra el Conjunto del televisor con telas, como cortinas, ni con objetos, como periodicos, revistas, etc.
- No instale el Conjunto del teovisor como se indica a continuacion.
La circulación del aire queda bloqueada.

Nota
- Si se propone pagar los cables por la pared, realize un orificio en la pared para insertarlos antes de comendar la instalacion.
Para evaporar comprimir los cables, realice un agujero en la pared fuera del perimetro de la base (20) A, adaptador de la base 1 y separator (20) E, separator (60) K.
2 Seleccione el tipo de montaje en la pared. Las distancias entre la parte posterior del televisor y la pared que puedaptionarse son las siguientes.
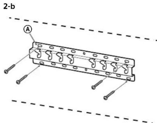
2-b Montaje estrecho
Consulte la tabla del paso 1.
ADVERTENCIA
- Si se selección la optación 2-b, resulta más complicado acceder a los terminales de la parte posterior.

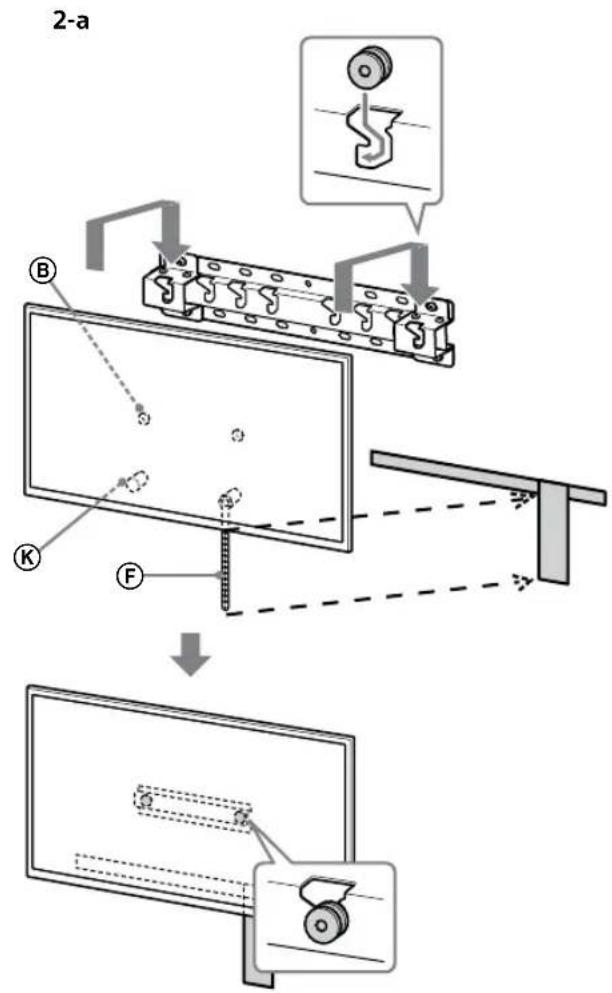
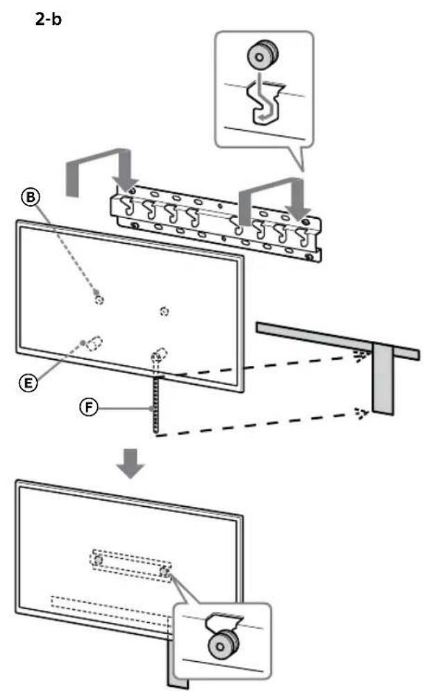
2-a 2-b

3 Consulte la?sigaiente tablasobre la ubicacion deladaptador de la base. SiSelecciona la option 2-b,可以更好mitir este paso.
| Nombre delmodelo | Posición de losganchos |
| KD-75XG80□□KD-65XG81□□KD-65XG80□□ | b |
| KD-55XG81□□KD-55XG80□□KD-49XG81□□KD-49XG80□□ | c |
| KD-43XG81□□KD-43XG80□□ | d |

Monte el adaptor de la base
① fjando el tornillo (PSW 4x10)
② a la base (20)
a si selecciona
la optacion 2-a.

4 Decida las posiciones de los tornillos para la instalacion de la base (20) A.
Consulte las specifications de la page 19.
Si selección la.option 2-a, utilizes las posiciones de los orificios del adaptordo de la base ①
ADVERTENCIA
-
La pared en la que se proponga instalar el telector depearasercapazde soportar un peso al menos quatre vces superior al del telector (Consulte la Guia de referencia del telector para poder el peso del telector.).
-
Determine la resistencia de la pared en la que desea instalar el televisor. Si esnecessary, refuercela.
Instalación de la base en la pared
- Utilice cuatro o más tornillos de 8 mm de diametro o equivalentes (no suministrados).
Fije cuatro tornillos a los orificios del adaptorador de la base ① con la base (20) A (solo 2-a). - Instale la base (20) A en la pared de manera horizontal.


Preparación para instalar el televisor
Consulte la Guía de configuración para la instalación del soporte.
KD-75XG80□□
1 Marque la ubicacion de la instalacion en la pared.
- Use cinta adhesiva, etc. (no suministrada) para marcar la ubicacion del televisor circa de la base o del adaptorador de la base. Consulte la?siguesta tabla.

Unidad: mm
| Nombre delmodelo | Longitud paramarcar | Dimensióndel centrodela pantalla | ||
| a | b | c | d | |
KD-75XG80□□1686564150202
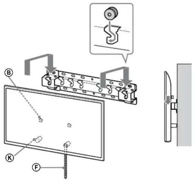
2 Coloque las piezas de fijación del soporte de pared. Compruebe las piezas de fijación en "Suministrado con SU-WL450", en la sección "Verificacion de las piezas" de la página 5.
Nota
Fije las piezas de fijacion mediante tornillos.
- Cuando use un destornillador electrico, establezca el par de torsion aproximadamente en 1,5 N·m {15 kgf·cm}.
- Asegüre de guardar las piezas realizadas o no realizadas en un lugar seguro para usarlas a futuro. Conserve este manual para futuras consultas.

Montaje estandar (2-a)
Montaje estrecho (2-b)
Nota
- Este tipo de montaje no permite usar algunos de los terminales de la parte posterior del televisor.


3 Conecte los cables necessarios al TV.
Asegürese de conectar los cables antes de instalar el televisor en la pared. NoURTARconectarlos cuando el televisor se enquiryre instalado.
Consulte la Guía de referencia proporciónada con el televisor.
Nota
- Asegüre deunarcl installationde los cables en lapareda uncontratista autorizzato.
- Ate los cables de connexion para no pisarlos antes del montaje en la pared.
4 Desinstale el soporte de sobremesa del televisor.
- Retire de a una las esquinas del soporte de sobremesa. Sujete con firmeza el soporte de sobremesa con ambas manos de forma segura cuando除外as personas levantan el teovisor.

- Repita el paso anterior y retire la othera esquina del soporte de sobremesa.
Nota
- Se necesitan tres o más personas para desmontar el soporte de sobremesa.
- Tenga cuidado de no aplicar fuerza excessiva@m间隙 desmonta el soporte de sobremesa del televisor, ya que podra caerse y provocar daños personales o materiales.
- Manipule el soporte de sobremesa con cuidado para no darar el televisor.
Tenga cuidado al levantar el televator ya que si se desparende el soporte de sobremesa, este podra desequilibrarse y provocar lesiones personales.
Tenga cuidado al retiring el soporte de sobremesa del televisor para evaporar que se caiga y dañe la superficie sobre la que está el televisor.
KD-65XG81□□/
65XG80□□
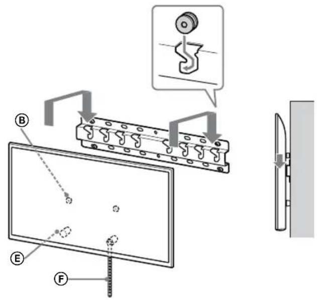
1 Coloque las piezas de fijación del soporte de pared.
Compruebe las piezas de fijacion en "Suministrado con SU-WL450", en la section "Verificacion de las piezas" de la page 5.
Nota
Fije las piezas de fijacion mediante tornillos.
- Cuando use un destornillador electrico, establezca el par de torsiónapproximadamente en 1,5 N·m {15 kgf·cm}.
- Asegürese de guardar las piezas realizadas o no realizadas en un lugar seguro para usarlas a futuro. Conserve este manual para futuras consultas.

Montaje estandar (2-a)
Montajeestrocho (2-b)
Nota
- Este tipo de montaje no permite usar algunos de los terminales de la parte posterior del televisor.


2 Conecte los cables necessarios al TV.
Asegúrese de conectar los cables antes de instalar el televisor en la pared. NoURTARconectarlos cuando el televisor se encuentre instalado. Consulte la Guía de referencia proportionsada con el televisor.
Nota
- Asegürese deunar la instalaciónde los cables en lapareda uncontratista autorizzato.
- Ate los cables de connexion para no pisarlos antes del montaje en la pared.
3 Desinstale el soporte de sobremesa del televisor.
- Retire de a una las esquinas del soporte de sobremesa. Sujete con firmeza el soporte de sobremesa con ambas manos de forma segura@m间隙as otheras personas levantan el televisor.

- Repita el paso anterior y retire la othera esquina del soporte de sobremesa.
Nota
- Se necesitan tres o más personas para desmontar el soporte de sobremesa.
- Tenga cuidado de no aplicar fuerza excessiva@m间隙a el soporte de sobremesa del televisor, ya que podra caerse y provocar daños personales o materiales.
- Manipule el soporte de sobremesa con cuidado para no dañar el televisor.
Tenga cuidado al levantar el televisor ya que si se desprende el soporte de sobremesa, este podra desequilibrarse y provocar lesiones personales. - Tenga cuidado al retiring el soporte de sobremesa del telector para evaporar que se caiga y dañe la superficie sobre la que está el telector.
KD-55XG81□□/55XG80□□
1 Coloque las piezas de fijacion del soporte de pared. Compruebe las piezas de fijacion en "Suministrado con SU-WL450", en la seccion "Verificacion de las piezas" de la page 5.
Nota
Fije las piezas de fijacion mediante tornillos.
- Cuando use un destornillador electrico, establezca el par de torsion aproximadamente en 1,5 N·m {15 kgf·cm}.
- Asegüre de guardar las piezas realizadas o no realizadas en un lugar seguro para usarlas a futuro. Conserve este manual para futuras consultas.

Montaje estandar (2-a)
Montaje estrecho (2-b)
Nota
- Este tipo de montaje no permite utiliser algunos de los terminales de la parte posterior del televisor.


2 Conecte los cables necessarios al TV.
Asegürese de conectar los cables antes de instalar el teovisor en la pared. NoURTARconectarlos cuando el teovisor se encuentre instalado.
Consulte la Guía de referencia proporciónada con el televisor.
Nota
- Asegüre deunar la instalación delcables en la pared a un contratista autorizzato.
- Ate los cables de connexion para no pisarlos antes del montaje en la pared.
3 Desinstale el soporte de sobremesa del televisor.

Nota
Tenga cuidado al levantar el teovisor ya que si se desparende el soporte de sobremesa, este podria desequilibrarse y provocar lesiones personales.
- Tenga cuidado al retiring el soporte de sobremesa del telector para evaporar que se caiga y dañe la superficie sobre la que está el telector.
KD-49XG81□□/
49XG80□□ / 43XG81□□ /
43XG80□□
1 Desinstale el soporte de sobremesa del televisor.

Nota
- Asegürese de colocar el televator sobre un paños suave para evaciar danos en la superficie de la pantalla.
- Cuando instale el soporte de pared, no use los tornillos que quito del soporte de sobremesa.
- Asegürese de guardar el soporte de sobremesa jusqu con sus tornillos quitados en un lugar seguro, lejos del alcance de los niños. Los necessitará más adelante si decide usar el televisor sobre una mesa. El soporte de sobremesa no se pueda adquirir porSeparated.
ADVERTENCIA
- Asegürese de que el televisor se enquiryre en posicion vertical antes de encenderlo. No debe encender el televisor cuando el panel LCD se enquirytre Boca abajo, para evitar que la imagen no se mueste uniforme.
- Si la superficie del televisor recibe presión o algunos golpe, el televisor podra romperse o sufir daños.
- Coloque el telector con la pantalla hacía abajo sobre una superficie nivelada y estable, con el soporte de sobremesa colgando del borde de la superficie. Si colocca el telector de modo que la pantalla y la base del soporte de sobremesa se.Encuentren al mismono nivel sobre la superficie, las conditiones para trabajo serian inestables y podra danarse el telector.
- Cuando desinstale el soporte de sobremesa del televisor, sujete el soporte de sobremesa con firmeza con ambas manos.
2 Coloque las piezas de fijación del soporte de pared. Compruebe las piezas de fijación en "Suministrado con SU-WL450", en la sección "Verificacion de las piezas" de la頁a 5.
Nota
Fije las piezas de fijacion mediante tornillos.
- Cuando use un destornillador electrico, establezca el par de torsion aproximadamente en 1,5 N·m {15 kgf·cm}.
- Asegüre de guardar las piezas realizadas o no realizadas en un lugar seguro para usarlas a futuro. Conserve este manual para futuras consultas.
Montaje estandar (2-a)
Tornillo

Montaje estrecho (2-b)
Nota
- Este tipo de montaje no permite usar algunos de los terminales de la parte posterior del tevisualor.


3 Conecte los cables necessarios al TV.
Asegúrese de conectar los cables antes de instalar el televisor en la pared. NoURTARconectarlos cuando el televisor seswanae instalado.
Consulte la Guía de referencia proporciónada con el televisor.
Nota
- Asegürese deunar instalaciónde los cables en lapareda uncontratista autorizado.
- Ate los cables de connexion para no pisarlos antes del montaje en la pared.
Instalación del televisor en la pared
KD-75XG80□□
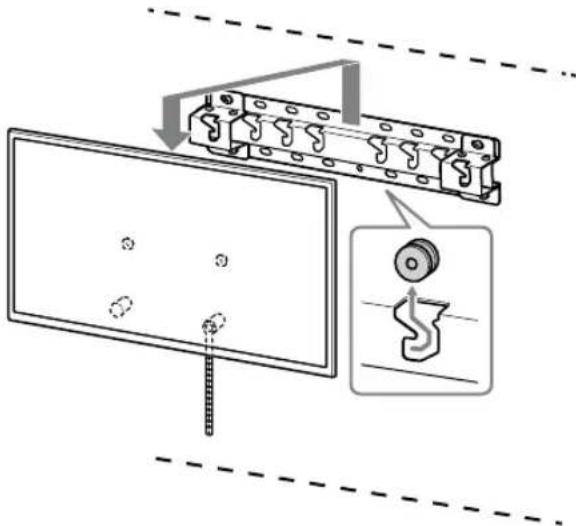
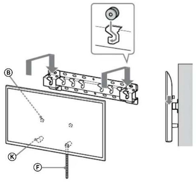
1 Levante el televator.
- Para la colocacion de las poleas (B) al gancho de la base o el adaptador de la base, consulte la tabla del paso 3 en "Definccion del lugar para la instalacion" en la pagina 7.
- Cuando sujete el televisor, asegúrese de que la parte posterior del televisor toque la base o el adaptorador de la base.
Nota
- Sujete el televisor con ambas manos de forma segura y asegürese de que la correa (F) y la parte inferior de televisor estén alineadas con la cinta adhesiva.
- Transporte el televisor con tres personas. La persona que está delante del televisor guiara a los demas paraaabstaringa posicional.

Tenga uno cuidado al instalar el televisor en la pared, especiallyla persona que lo sostiene desde abajo, ya que el televisor pueda caerse yprovocar daños personales graves o incluso la muerte.

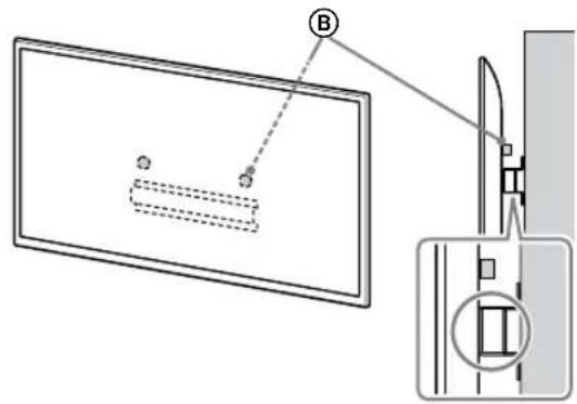
2 Instale el televisor en la base o el adaptor de la base.
- Deslice suavamente el televisor yCraigue las poleas ⑧ colocadas en la parte posterior del televisor en la base o el adaptorador de la base, asegurandose de confirmar la forma de los orificios.
- Después de instalar el televisor en la pared, verifique que las poleas (B) estén aseguradas firmamente en la base o el adaptorador de la base.
- Suelte ints manos lentamente para asegurarse de que el teovisor no se caiga.

- Después de instalar el televisor en la pared, retire la cinta adhesiva, etc., de la pared.




ADVERTENCIA
- Asegüre de que dos o más personas (tres o más personas para un telector de 75 pulgadas o más) sujeten el telector para transporte.

3 Cmo evitar que la parte inferior del TV se mueva.
- Recoja la correa (F) y ajustelafirmamente a la pared.


- Use un tornillo de 5 mm de diametro o equivalente (no suministrado).
Nota
- Intente tirar la parte de abajo del TV levamente hacer adelante para asegurar de que no se mueva solo en esta direccion. Si se mueve, significa que no se coloco correctamente, por lo que deben ajustar con firmeza la correa e不良信息.
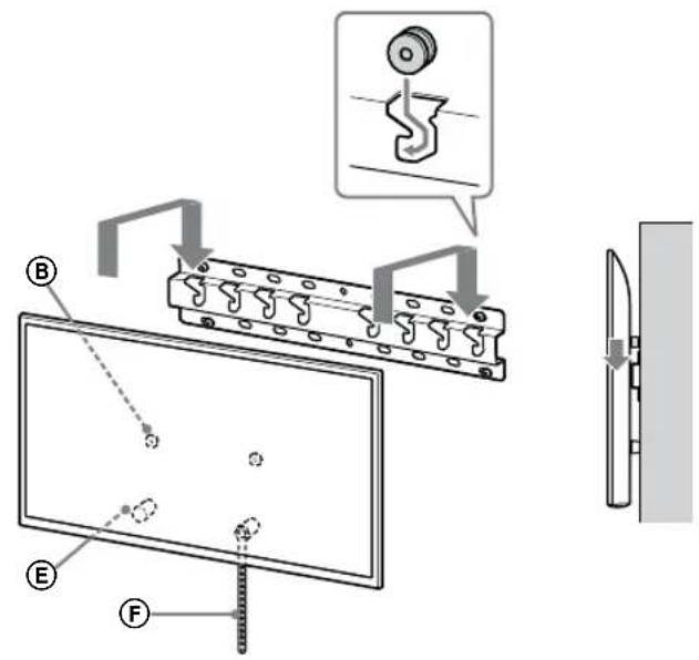
KD-65XG81□□/
65XG80□□ / 55XG81□□ /
55XG80□□ / 49XG81□□ /
49XG80□□ / 43XG81□□ /
43XG80□□
1 Levante el televator.
- Para la colocacion de las poleas al gancho de la base o el adaptor de la base, consulte la tabla del paso 3 en "Definacion del lugar para la instalacion" en la page 7.
- Cuando sujete el televisor, asegürese de que la parte posterior del televisor toque la base o el adaptorador de la base.

Nota
- Sujete el teovisor con ambas manos de forma segura.
2 Instale el televisor en la base o el adaptor de la base.
- Deslice suavamente el televisor yCraigue las poleas ⑧ colocadas en la parte posterior del televisor en la base o el adaptorador de la base, asegurandose de confirmar la forma de los orificios.
- Después de instalar el televisor en la pared, verifique que las poleas ® estén aseguradas firmamente en la base o el adaptorador de la base.
- Suelte ambas manos lentamente para asegurarse de que el televisor no se caiga.


2-a

2-b

↓

↓
ADVERTENCIA
- Asegüre de que dos o más personas (tres o más personas para un telector de 75 pulgadas o más) sujeten el telector para transporte.

3 Comoeatingarque la parte inferior del TVsemueva.
- Recoja la correa F y ajustela firmamente a la pared.


- Use un tornillo de 5 mm de diametro o equivalente (no suministrado).
Nota
- Intente tirar la parte de abajo del TV levamente hacer adelante para asegurar de que no seuya solo en esta direccion. Si se mueve, significa que no se coloco correctamente, por lo que debenaabustar con firmeza la correa ); neutramente.
Confirmañón del final de la instalación
Verifique los siguientes punto.
Las poleas 已 estanfirmamenteajustadas ala base o el adaptordo de la base.
- Que los cables no estén retorcidos ni atrapados.
- La correa F está colocadafirmamente y sin holgura.
ADVERTENCIA
- La colocacion inadecka del cable de alimentacion de CA, etc.,uede sercause de un incendio o de descargas electricasdeferadoauncortocircuito.Porrazonesde seguridad,no olvide confirmarquehayafinalizado la instalacion.
Información adicional
Paraunarletevisor,lleveacaboel procedimientodeinstalaciona la inversa.

ADVERTENCIA
- Aseguirese de que dos o mas personas (tres o mas personas para un televisor de 75 pulgadas o mais) sujeten el televisor para retirarlo.
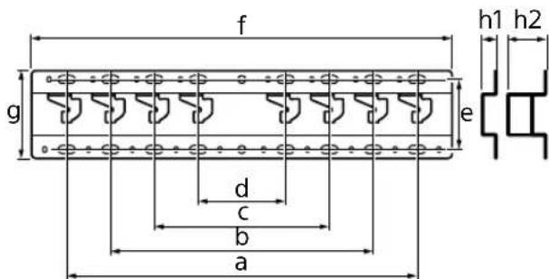
Especificaciones

Dimensiones: (aprox.) [mm]
a : 400
b : 300
c : 200
d : 100
e:80
f : 480
g : 100
h1 : 20 (caso 2-b)
h2:60 (caso 2-a)
Peso (solo base): (aprox.) [kg]
0.8
El diseño y las espécificaciones están susjetos a Cambios sin previo aviso.
- Nos nombres de modelos actuels, o "□□" indica númeroes e/ou caracteres espécíficos a cada Modelo.
Para os pacientes
Obrigado por ter adquirido este produits.
Para os pacientes
Urcenie miesta montaje. 6
Instalácia podstavca na stenu. 8
1Пдимить TeJIeBi3Op.
- ⅢHaTnca po3aWbAHn HaKIB ⑧, 3a Jki TeJIeB13Op NiDiBiWyETbcH Ha 6a3i a6o nepexiDnky dny 6a3n, nB. Ta6JnIu dny etany 3 B po3diI I «Bn3HaueHHra Micra BCTaHOBHeHHra» Ha cTOp.7.
- Tpmaoun TeIeBi3Op, nepeKoHaNTecra, 3aHn6iK TeIeBi3Opa TOPKaETbC8 6a3n a60 nepexiHnka dna 6a3n.

PpMItka
- HadiiHOTpMaTe TeleB3Op 6oma pykam.
2 YctaHObitb TeIeBi3Op Ha 6a3y a6o nepexiHnK IJra 6a3n.
- O6epexHo onyctitb TeJIeBI3Op Ta nIDbcIte uKIBu B, npNKpInnHei 33aNy TeJIeBI3Opa, Ha 6a3i a6o nepexiHnky IJra 6a3n (BOHNIOBHHI BiINOBiDaTu PO3Mipam OTBopIB).
- Picna BCTaHOBHeHHa TeJIbI3OpHa CTiHi nepekoHaItec, 10 WkIBn 8 HauHIO 3aikcoBaHo B 6a3i a6o B nepeXiHNky dna 6a3n.
- NobilbHO BiDnyckaIte TeIeBi3Op o6oMa pykamu, uO6 nepecbiDHTncr, uO Bn He BnaJe.


2-a

2-b

↓

↓
UA
3ACTEPEXEHH
Пд ус пересенп.Tenebi3opa noRO NHITPIMATU OHaHMeHSe DBOe JIODei (OHaHMeHsTePOE,AKUdoIaHOHaJIb TeneBi3opa CKlaJa75IIOIMIB ab6IbWe).

ManualFácil