ST 224 - Admirador HUSQVARNA - Manual de uso y guía de instrucciones gratis
Encuentra gratis el manual del aparato ST 224 HUSQVARNA en formato PDF.
Preguntas frecuentes - ST 224 HUSQVARNA
Preguntas de los usuarios sobre ST 224 HUSQVARNA
0 pregunta sobre este aparato. Responde a las que conoces o haz la tuya.
Hacer una nueva pregunta sobre este aparato
Descarga las instrucciones para tu Admirador en formato PDF gratis! Encuentra tus instrucciones ST 224 - HUSQVARNA y toma tu dispositivo electrónico nuevamente en la mano. En esta página están publicados todos los documentos necesarios para el uso de su dispositivo. ST 224 de la marca HUSQVARNA.
MANUAL DE USUARIO ST 224 HUSQVARNA
ES Manual de usuario 83-110
Resoluciones de problemas 105
Seguridad 87
Transporte,almacenimiento y eliminacion. 108
Montaje. 90
Datos techniques. 108
Funcionamento. 93
Declaracion de conformidad CE. 110
Mantenimiento. 97
Descripción del producto

-
Acoplamento del sinfin
-
Palanca de control del conducto de expulsion
-
Palanca de control de la velocidad de la transmisión
-
Palanca de control remoto del deflector
-
Engranado de la transmisión
- Luz
- Perilla del mango
- Silenciador
- disco protector
- Sinfines
- Herramiento de limpieza
- Conducto de expulsion
- Conductor del deflector
- Empuñadura de la cierra de arranque
- Tapon de drenaje de aceite
- Interruption de combustible
- Llave de encendido/apagado
- Gebador
- Interruptor de encendido/apagado (ST 227P, ST 230P)
- Control del accelerator
- Estrangulador
- Tapon de llenado de gasolina
- Boca de llenado y varilla de nivel de aceite (ST 227P, ST 230P)
- Botón de arranque electrico
- Conexión de arranque electrico
- Boca de llenado y varilla de nivel de aceite (ST 224)
Descripción del producto
Este producto es un quitanieves con ruedas que se utilizes pararearar la nieve del suejo.
Uso previsto
Este produituedeutilizarapararetraralieve de Campos,carreteras,caminos y viasdeaccesso.No lo use enpendentes superiores a 20^ .Noutilice el producto en zonasondehayamuchosresiduos, sucidady piedrasprominentes.
Simbolos que aparecen en el producto
Nota: Si las etiquetas del producto estan danadas, pangase en contacto con el distribuidor para sustituiras.

Advertencia.

Lea el manual de instrucciones.

Motor encendido

Motor apagado.

Rápido.

Lento.

Estrangulador.

Cebador

Aceite.

Combustible.

Precaución.

Directiva europea de máquinas sobre seguidad.

Girar la izquierda.

Girar a la derecha.

Ajuste de la alta del sinfin.

Soplador apagado.

Soplador encendido

Tracción desactivada.

Tracción activada.

No desmonte las protecciones cuando el motor está en marcha.

Se recomienda utiliser protectores auriculares.

Nivel de potencia acústica.

Llave de encendido/apagado. Introduzcala para arrancar laquina y hacerla funciona.

Estrangulador cerrado (arranque).

Cebador

Tire de la empañadura de la cierta de arranque paraponer en marcha laquina.

Estrangulador abierto (funcionamento).

Llave de encendido/apagado. Extraigala para parar laquina.

No realiceacularoperacionenpendentes demasde10grados.

Retire el cable de la bujía antes del mantenimiento.






Válvula de cierre de combustible.
Advertencia, mantenga las manos alejadas.
Advertencia, mantenga los pies alejados.
Tenga cuidado con los objetos que salgan despedidos. Mantenga alejados a los transeulentes.
Girar a la izquierda/empujar hacía abajo/girar a la derecha.
Avance/retroceso.
Arriba/Abajo.
Responsabilidad sobre el producto
Como se estipula en las leyes de responsabilidad del producto, no nos hacemos responsables de los días y perjuicios causados por nuestro producto si:
- El producto se ha reparado Incorrectamente.
- El producto se ha reparado con piezas que no eran del fabricante o no autorizadas por el fabricante.
-
El producto tiene un accesorio que no es del fabricante o no está autorizado por este.
-
El producto no se ha reparado en un centro de servicios autorizzato o por un organismo homologado.
Seguridad
Definiciones de seguridad
Las definuciones siguientes indican el nivel de gravedad para cada palabra de signalización de riesgo.

ADVERTENCIA: Lesiones a personas.

PRECAUCION: Danos en el producto.
Nota:Esta informacionhacequele productosea mas fácildeusar.
Instrucciones generales de seguridad
- Use el producto correctamente. Las lesiones o la muerte son un possible resultado de un uso incorrecto. Utilice el producto solo para las tareas indicadas en este manual. No utilise el producto para.Other tareas.
- Respete las instrucciones de este manual. Respete los symbolos de seguridad y las instrucciones de seguridad. Si el operador no respita las instrucciones y los symbolos, pueda producirse lesiones, daños materiales o la muerte.
- No se deshaga de este manual. Utilice las instrucciones para montar su producto, utilizar ymantenerlo en buen estado. Utilice las instrucciones para la correcta instalacion de los complementos y accesorios. Utilice uniquamente complementos y accesorios autorizados.
- No utilise un produit dañado. Respete el programa de mantenimiento. Realice solamente el trabajo de mantenimiento indicado en las instrucciones de este manual. Todos losDEMÁStrabajos de mantenimiento deben hacerlos un centro de servicios autorizzato.
- Este manual no pueda incluir todas las situaciones que pueda producirse cuando utilise el producto. Proceda con cuidado y utilise el sentido común. No utilise el producto ni realise el mantenimiento del producto si no está seguro de在哪 es la situación. Hable con un experto en el producto, su distribuidor, un taller de service o centro de service autorizzato para Obtener informacion.
- Desconecte el cable de la bujía antes de montar el producto, almacenarlo o realizar tareas de mantenimiento.
- No utilise el producto si se ha Modifications respecto de sus espécificaciones iniciales. No cambie una parte del producto sin la autorización del fabricante.
Utilice únicamente las piezas que está autorizadas por el fabricante. Las lesiones o la muerte son un posible resultado de un mantenimiento Incorrecto.
- No inhale los vapeores del motor. La inhalación a largo plazo de los gases de escape supone un riesgo para la salute.
- Nunca arranque el producto en interiores nioca de material inflamable. Los gases de escape estan calientes y peuvent contener una chispa que pueda iniciar un incendio. Una circulacion de aire insufiente peutcause lasiones o la muerte por asfixia o inhalacion de monoxido de carbono.
- Al utilizar este producto, el motor emite un campo electromagnético. El campo electromagnético pueda provocar danios en implantes médicos. Consulte a su Médico y al fabricante del implante Médico antes de usar el producto.
- Nocede que un niño maneje el producto. No permitted that nadie maneje el producto sin conocer las instrucciones.
- Si una persona con discapacidad física o mental usa el producto, asegúrese de supervasarla en todo momento. Debe haber presente en todo momento una persona mayor de edad responsable.
- Cierre con llave el producto en un area a la que no pueda acceder las personas no autorizadas ni los niños.
- El producto puede proyeclar objetivos con fuerza y causar lesiones. Respete las instrucciones de seguridad para reducir el riesgo de lesiones o muerte.
- Nocede desatendido el producto con el motor encendido.
- El operador del producto es el responsable si se produce un accidente.
- Antes y@msteadas camina hacia atrás, mire hacia atrás y al suelo para ver si hay niños, animales o综合素质.
cualquierOtroriesgoquepuahacerlecaer. - Asegürese de que las piezas no estén danadas antes de utiliser el producto.
- Asegürese de que se encuentra a una distancia minima de 15m (50 pies) de otheras personas o animales antes de utiliser el producto. Asegürese de queequalquier persona que seencuentrecerca sabe que va a usoel producto.
- Consulte las leyes naciales o locales. Puede prohibir o limitar el funciona del producto en circunstancias determinadas.
Instrucciones de seguridad para el funciona
- No Coloque manos ni piesURTCA ni debaro de las piezas giratorias.Mantengase siempre alejado de la compuerta de descarga.
- Tenga sumo cuidado cuando trabajo o carne por entradas, paseos o caminos de grava. Manténgase alerta ante peligros ocultos o tráfico.
- Si golpea un objeto extraño, detenga el motor, desconecte el cable de la bujía, desconecte el cable si el motor es electrico, inspeccione atentamente el producto en busca de días y, si existen, repárelos antes de volver aponer en marcha y utilizar el producto.
- Si el producto comenzase a vibrar anormalmente, detenga el motor y compruebe inmediamente el motivo. La vibracion suele ser un sintoma de la existencia de algo n problema.
- Detenga el motor cuando abandone la posicion de conducccion, antes de desatascar el alojamento del sinfin o el deflector del conductor, y cuando realice reparaciones, ajustes o inspecciones.
- Cuando limpie, repare o revise el producto, detenga el motor y compruebe que los sinfines y todas las piezas moviles se han detenido. Desconecte el cable de la bucía y manténgalo alejado de ella para evaporar que algoien ponga en marcha el motor de manera accidental.
- No haga funciona el motor en un recinto cerrado a menos que lo haga solo para arrancarlo o para sacar o guardar el producto en un edificio. Abra las puertas al exterior; los gases de escape son nocivos.
- Tenga sumo cuidado al desplazarse en perdentes.
- Nunca utilise el producto sin protecciones adequadas ni los demas dispositivos de proteccion en su situ y operativos.
- No dirija el deflector del conducto hacer personas o zonas当你可以把 cosas daños materiales. Mantenga alejados a los niños yDEMAs personas.
- No sobrecargue la capacité del producto al intentar eliminar nieve a una velocidad excessiva.
- No desplace el producto a gran velocidad en superficies resbaladizas. Mire hacer atrás y tengacuidado cuando retroceda.
- Desconecte la alimentacion de los sinfines cuando desplace o no utilise el producto.
- Utilice unicamente accesos homologados por el fabricante del producto (por exemple, los pesos de las ruedas, contrapesos o cages).
- Nunca haga的功能行 el producto si la visididad o la iluminacion no son adecuadas. Pise siempre con cuidado y mantenga las asas aferradas con firmeza. Camine, en ningún caso corra.
- No toque el motor ni el silenciador si está calientes.
Seguidad en el area de trabajo
- Inspeccione detenidamente la zona donde va a utiliser el equipo y retire alfombrillas, trineos, tableros, cables y todo tipo de objetivos.
- Desconecte todos los embragues yonga el cambio en punto muerto antes de arrancar el motor.
- No utilise el producto sinledge una indumentaria adecuada para el invierno. No utilise ropa holgada que pueda quedar atrapada entre las piezas moviles. Utilice calzado que Facilite el desplazamente por superficies resbalosas.
-
Maneje el combustible con cuidado, es muy inflammable.
-
Utilice un recipiente para combustible homologado.
- Nuncaañada combustible a un motor en marcha o caliente.
- Llene el deposito de combustible en el exterior y con mucho cuidado. Nunca llene el deposito en interiores.
- Nunca llene recipientes dentro de un vehiculo ni sobre una camioneta o un remolque con revestimientos plácicos. Antes de llenar los recipientes colóquelos en el suelo, alejados del vehiculo.
- Cuando resulte practico, retire el equipo con motor de gasolina de la camioneta o el remolque y recargue el deposito en el suejo. Si talonga no es possible, recargue el equipo en el remolque con un recipientte portátil, en lugar de hacerlo con una boquilla de dispensador de gasolina.
- Mantenga la boquilla en contacto permanente con el borde del deposito de combustible o la abertura del recipiente hasta terminar la recarga. No use los dispositivos de bloqueo de la boquilla del surtidor.
- Vuelva a colocar el tapón de gasolina con firmeza y limpie los restos de combustible vertido.
-
Si se derrama gasolina en su ropa, cambiese inmediamente.
-
Utilice los cables prolongadores y enchufes relacionados por el fabricante de las unidades con motores de tracción o de arranque electricos.
- Ajuste la alta del alojamento del sinfín de tal forma que quede cierta separación entre este y la superficie de grava o roca triturada.
- Nunca intente realizar ajustes con el motor en marcha (excepto cuando lo recomienda?)
- Nuncia intente realizar ajustes con el motor en marcha (excepto cuando lo recomienda?)
- Nunca intente realizar ajustes con el motor en marcha (excepto cuando lo recomienda?)
- Utilice siempre gafas de seguridad o proteccion para los ojos durante el funciona o al realizar ajustes o reparaciones, con el fin de proteger los ojos de los objetos extraños que pueda despestar laquina.
Equipo de proteccion personal
Utilice siempre el equipo de proteccion personal adecuado cuando utilise el producto. Esto incluye, como minimumo, calzado robusto, proteccion ocular y protectores auriculares. El equipo de proteccion personal no elimina el riesgo de lesiones, pero reduce su efecto en caso de accidente.
- Utilice sempre gafas de seguridad o proteccion ocular cuando use el producto o realiceareas de mantenimiento o reparacion.
- Utilice siempre una indumentaria apropiada para el invierno cuando trabajo con el producto.
- Utilice sempre botas de trabajo antideslizantes con refuerzos en los tobillos cuando trabajo con el producto.
- No lleve ropa suelta que pueda quedar atrapada en las piezas móvil.
- Utilice guantes protectores homologados si esnecessary. Por exemple, al acoplar, revisar o limpiar la hora.
- Utilice sempre proteccion auditiva homologada,maintras utilize a producto. La exposacion al ruidodurante un periodo de tiempo prolongado可以使caesar perdida de audicion.
Dispositivos de seguridad en el producto
-
Asegürese de efectuar regularamente el mantenimiento del producto.
-
La vidautil del producto aumento.
- El riesgo de accidentes disminuye.
Deje que un concesionario autorizo o un centro de增值服务 autorizzato examine regularmente el producto para realizar ajustes o reparaciones.
- No utilise un produit con equipo de proteccion dañado. Si el produits está dañado,ABLE con un centro de servicios autorizzato.
Silenciador
El silenciador mantiene al minimum los niveles de ruido y baja los gases de escape del operador.
No utilise el producto si el silenciador no está instalado o está defectuoso. Un silenciador defectuoso aumento el nivel de ruido y el riesgo de incendio.
Examine el silenciador con fecuencia para asegurar de que está montado correctamente y que no está dañado.

PRECAUCION: El silenciador se caliente mucho durante y.after de su uso, y cuando el motor funciona a ralenti. Tenga cuidado cerca de materiales inflamables o gases para evaporar incendios.
Seguidad en el uso del combustible

ADVERTENCIA: Lea las siguientes instrucciones de advertencia antes de utiliser el producto.
- No arranque el producto si está manchado con combustible o aceite del motor. Retire el combustible/aceite no deseado y deben estar el producto.
- Si derrama combustible sobre la ropa, cumbiese inmediamente.
- Evite el contacto con el combustible; pueda provocarle lesiones. Si entra en contacto con el combustible, utilise agua y jabón para eliminar el combustible.
- No arranque el motor si el producto Tiene una fuga.
Examine frecuentemente si hay fugas en el motor. - Tenga cuidado con el combustible. El combustible es inflamable, sus vapeores son explosivos y puede provocar lesiones o la muerte.
- No inhale los vapeores de combustible, ya que pueda causar lesiones. Asegúrese de que hay ventilación sufiente.
- No fume cerca del combustible o el motor.
- No Coloque objetos calientes cerca del combustible o el motor.
- No agregue el combustible con el motor encendido.
- Asegürese de que el motor está frío antes repostar.
- Antes de repostar, abra la tapa del deposito de combustible lentamente y deben pagar el exceso de presión con cuidado.
- No性和 combustible al motor en interiores. Una circulación de aire insufiente pueda causar lesiones o la muerte por asfixia o inhalación de monóxido de carbono.
- Apriete el tapón del deposito de combustible completeness. Si el tapón del deposito de combustible no se aprieta, existe riesgo de incendio.
- Antes de arrancarlo, lleve el producto a 3 m (10 pies) de distancia como minimum del punto en el que llenó el deposito.
- Noonga demasiado combustible en el deposito de combustible.
Instrucciones de seguridad para el mantenimiento

ADVERTENCIA: Lea las siguientes instrucciones de advertencia antes de utiliser el producto.
-
Los gases de escape del motor contienen monóxido de carbono, que es un gas inodoro, toxico y muy peligioso. No arranque el motor en interiores ni en espacios cerrados.
-
Antes de realizar el mantenimiento del producto, detenga el motor y desconecte el cable de encendido de la bujía.
- Utilice guantes protectores cuando realize el mantenimiento de las hojas. Las hojas estar muy infladas y se pueda producir cortes con mucha calidad.
-
Los accesos y modificaciones en el producto que no estén aprobados por el fabricante pueda causar daños graves o la muerte. No modifique el producto. Utilice siempre accesos autorizados por el fabricante.
-
Si el mantenimiento no se realiza correctamente y de forma regular,urrenta el riesgo de lesiones y daños en el producto.
- Realice únicamente las tareas de mantenimiento que se indicate en este manual de usuario. Todos los derechos tratados de mantenimiento deben落户 a cabo en un taller de servicios autorizzato.
- L breve el producto a un taller de servicios autorizzato para realizar el mantenimiento de forma regular.
- Bomba las piezas dañadas, desgastadas o rotas.
Montaje
Extracción del producto de su embalaje
- Saque las piezas sueltas que acompañan al producto. Corte las cuales esquinas del embalaje de cartón y apoye los paneles en el sueño.
- Retire los dos tornillos que sujetan el alojamento del sinfin al palé. Retire los soportes de acero de las planchas protectoras en caso de que las hubiera.
- Retire todos los materiales de embalaje.
- Saque el producto del embalaje y asegürese de que no queden piezas sueltas enél.
Piezas sueltas

Mando (3)

Conducto de expulsion (1)

Llave de encendido/apagado (s)

Pernos de 5/16-18 x 2 1 / 2 pulp. (2)

Pomos del manillar (2)

Contratuerca de 3/8 (1)

Gui de cable (1)


Pasadores de seguidad de 1 / 4 - 20× 1 - 3 / 4 (6)
Contratuercas de 1 / 4 - 20 (6)

Contratuerca de 5/16-18 (1)

Contratuerca de 1 / 4 - 20 (1)

Arandela de nailon (1)

Perno de 5/16-18 x 5/8 (1)

Muelle (1)
Perno de tope de 1 / 4 - 20 (1)
Instalación del manillar
- Levante la parte superior del manillar para ponerla en la posicion de configuracion.

- Ajuste la posicion del manillar en uno de los orificios de montaje (B) y apriete los pocos del manillar (C) con los pernos (D).

- Instale pernos (D) y pamos (C) adiconales para fjar la parte superior del manillar (A) a la parte inferior del manillar (E).

Instalacion del deflector del conductor y del cabezal del rotador del conductor
- Coloque el Conjunto del deflector del conductor en la parte superior de la base del conductor con la abertura de descarga orientada hacía la parte frontal del producto.
- Coloque el CZezeal del rotador del conducto (A) en el soporte del conducto (B).Gire el conjunto del conducto para alinear los pasadores situados bajo del czeazal del rotador del conducto con los orificios del soporte del conducto si es necessitiesio.
- Coloque el casingzal del rotador del conducto en el pasador (C) y en la varilla roscada (D) del soporte de montaje (E).
- Coloque una contratuerca (G) en la varilla roscada y apriétela.

- Pase los cables por la guía de cable (F) y el clip doble (I) para fjar el cable del rotador (H) a la parte inferior del manillar.

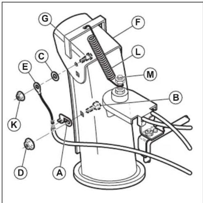
Instalacion del control remot del deflector del conduc
- Fije el soporte del cable remoto (A) al conductor de expulsion con un perno (B) y una contratuerca de 5/16-18 (D). Apriete el perno.
- Instale el ojal del cable remoto (E) en el deflector del conductor (F) con un perno de tope (G) y una arandela de nailon (C), y apriételo con una contratuerca de 1/4-20 (K). El ojal del cable quedarásuelto en el perno de tope.
- Fije el muelle (L) entre la tuerca hexagonal (M) del cabezal del rotador del conducto y el orificio del deflector del conducto.

- Fije los pomos de las palancas de control (N); paraarlo, presiónlos sobre las palancas de control (O).

Funcionamento
Antes de arrancar el producto
- Asegüre de que no haya personas ni animales en la zona de trabajo.
Realice el mantenimiento diario. Consulte Programa deostenimiento en la pagina 97. - Asegürese de que el cable de encendido está colocado correctamente en la bujía.
- Añada aceite o gasolina, si es besoino. Consulte Datos先进技术 en la pagina 108.
Llenado del motor con aceite

PRECAUCION: No gire la varilla de nivel cuando compruebe el nivel de aceite. No llene por encima de lamarca.
- Quite el tapón del deposito de aceite y limpie la varilla de nivel. Consulte Descripción del producto en la página 84 para poder la ubicación de la varilla de nivel.
- Añada aceite hasta alcancar lamarca superior de la varilla de nivel. Utilice la varilla de nivel para comprobar de forma periodica el nivel de aceite.
- Vuelva a colocar el tapón del deposito de aceite.
Repostaje de combustible
Si es possible, utilise de gasolina de bajas emisiones/ alquilatos. Si no pueda utiliser gasolina de bajas emisiones/alquilatos,utilice una gasolina sin plomo o gasolina con plomo de buena calidad.Fuera de Norteamérica,utilice gasolina con un octanaje de 90 RON o mas (87 AKI en Norteamérica) y con un maximum de 10% de etanol E10).

PRECAUCION: No utilise gasolina con un octanaje inferior a 90 RON fuera de Norteamérica (87 AKI en Norteamérica). Este puede provocar danos en el producto.
- Abra el tapón del deposito de combustible lentamente para liberar la presión.
- Llene lentamente con una lata de combustible. Si derrama combustible, limpielo con un paño ycede que el combustible restante seSEA.
- Limpie la zona de alrededor del tapon del deposito de combustible.
- Apriete el tapón del deposito de combustible completeness. Si el tapón del deposito de combustible no se aprieta, existe riesgo de incendio.
- Antes de arrancarlo, lleve el producto a 3 m (10 pies) de distancia como minimo del punto en el que llenó el deposito.
Ajuste del conducto de expulsion y el deflector del conducto
- Paraaabstar la posicion del conducto de expulsion, mueva la palanca de control del conducto de expulsion (A) hacia atras y hacia la izquierda o la derecha.
- Paraaabstarla distanciaa la queel deflector del conducto expulsara la nieve,mueva la palanca de control remoto del deflector (B) hacaba abajo para disminuir la distancia y hacia arriba para augmentar la distancia.

Arranque manual del motor
- Introduzca la llave de encendido/apagado (A) en la ranura de encendido hasta que oiga un click. No gire la llave.

-
Coloque el interruptor de activacion/desactivacion del combustible (F) en la posicion ON (activacion).
-
Situe el accelerador (B) en la posicion FAST (alta velocidad).
-
Situe el interruptor de encendido/apagado (C) en la posicion ON (si está instalado).
a) Si el motor está frio, gire el estrangulador (D) a la posicion FULL (máximo) yonga elcebador (E) tres vezes.

PRECAUCION: No cebe en excesso el motor. Podria dificultar el arranque del motor. Si el motor se ceba en excesso, espere unooshotos antes de intentar arrancarlo y no presione elcebador.
- Tire de la empañadura de la cierra de arranque (G).

PRECAUCION: Evite que la empunadura se retraiga rápidamente. Devuélvala a la posicón inicial lentamente.
Note: Si la cuerda de arranque se ha congelado, saque lentamente toda la%cuerda que sea posible y suele la empuñadura de la%cuerda de arranque. Si el motor no arranca, repita el procedimiento outilice el mecanismo de arranque electrico.
- Si ha tenido que utilizar el estrangulador (D) para arrancar el motor, muevalo lentamente a la posicion OFF (apagado).
- Haga funciona el motor 2-3 horas a ralenti antes de trabajo con el quitanieves.
- Si el motor no funciona comodea,apaguelo.
Arranque electrico del motor

ADVERTENCIA: El producto cuenta con un mecanismo de arranque electrico de 230 V CA. No utilise el mecanismo de arranque electrico si la instalacion de su casa no conta con tres hilos, toma a tierra y 230 V CA. Podrian producirse lesiones personales graves o daños en el producto. El mecanismo de arranque electrico está equipado con un enchufe de alimentacion de tres hilos y está diseñado para funciona con corriente de 230 V CA. Asegúrese de que la instalacion de su casa cuenta con tres hilos, toma a tierra y 230 V CA. Si tiene dudas, pregunte a un electricistariallicado.
- Introduzca la llave de encendido/apagado (A) en la ranura de encendido hasta que oiga un click. No gire la llave.
- Coloque el interruptor de activacion/desactivacion del combustible (F) en la posicion ON (activacion).
-
Situe el accelerador (B) en la posicion FAST (alta velocidad).
-
Sitúe el interruptor de encendido/apagado (C) en la posición ON (si está instalado).
a) Si el motor está frío, coloque el estrangulador (D) en la posición FULL (máximo).
- Presione elcebador (E) tres vezes.

PRECAUCION: No cebe en excesso el motor. Podria dificultar el arranque del motor. Si el motor se ceba en excesso, espere unooshotosantesdeintentar arrancarlo y no presione elcebador.
- Conecte el cable prolongador al conector del motor (G).
- Conecte el(other extremo del cable prolongadora una toma de corriente de tres terminales de 230 V CA con conexión a tierra.
- Pulse el botón de arranque electrico (H) hasta que el motor seonga en marcha.

PRECAUCION: No intente arrancar el motor dejoando menos de cinco segundos entre un intento y otro. Espere entre 5 y 10segundos entre cada intento.
- Si ha tenido que utilizar el estrangulador (D) para arrancar el motor, suelte el botón de arranque electrico y coloque lentamente el estrangulador en la posición OFF (apagado).

- Desconecte el cable prolongador de la toma de corriente en primer lugar y, a continuacion, del motor.
- Haga funciona el motor 2-3 horas a ralentí antes de trabajo con el quitanieves.
Manejo del producto

PRECAUCION: No utilise el quitanieves si no hay nieve o agua para lubricar las hojas del sinfin. Si no se usa correctamente, las hojas del sinfin podrian recalentarse, especialmente si el producto es nuevo. Esto pueda causar danos en las hojas del sinfin y en el faldon rascador.

PRECAUCION: No acople parcialmente las palancas del sinfin o de la transmisión durante un periodo excessivo de tiempo; este pueda provocar el desgaste prematuro de las correas o que estas se quemen.
Nota: Cuando se acople tanto el acoplimiento de la transmisión como el del sinfin, el acoplimiento de la transmisión fjara la posicón del acoplimiento del sinfin. Utilice la mano derecha para manejar el conductor de expulsion de nieve.
Nota: No cambie la velocidad si la palanca de control acoplada. Este puede provocar danios en la transmisión.
- Para acoplar las hojas del sinfin, empujé el acoplimiento del sinfin (A) hacía el manillar para acoplar el sinfin yponer en marcha el quitanieves.

-
Levante la palanca de control de velocidad de la transmisión (B) de la posicion intermedia para que el producto seuate hacia delante cuando el acoplamento de la transmisión (C) este activado. No cambie la velocidad si la palanca de control acoplada. Este peut provocar daños en la transmisión.
-
Baje la palanca de control de velocidad de la transmisión de la posicion intermedia para que el producto se pueda hacer atras cuando el acoplamento de la transmisión está activado.

- Para que el producto se mueva en el sentido seleccionado, sujete el acoplimiento de la transmisión (C) contra el manillar.
- Si el producto cuenta con direccion asistida,ccione el mando de direccion izquierdo (D) para girar a la izquierda. Accione el mando de direccion derecho para girar a la derecha.

Para detener el producto
- Deslice el interruptor de encendido/apagado a la posicion OFF (si está instalado).
- Quite la llave de encendido/apagado.
Uso del accelerador
- Accione el accelerador (A) para regular la calidad de combustible utilizado. Haga funciona cuando el motor a aceleración maxima.

Uso del interruptor de combustible.
- Accione el interruptor de combustible para estar o cerrar el paso de combustible. Cuando utilise el producto, el interruptor de combustible deben encontrarse en la posicion OPEN (abierto).

Uso del estrangulador
- Accione el estrangulador (A) para abrir o cerrar la valvula estranguladora. Use el estrangulador para arrancar un motor frio.

Ajuste de las planchas protectoras
En una instalacion normal, no esnecessaryrealizarajustes.
- Si la contratuerca (B) está floja o la plancha protectora (A) no está a una.altura suficiente con respecto al suejo, afloje la contratuerca (B) con una llave fija de 13 mm para subir o bajo la plancha protectora.
-
En terrenos llanos, como carreteras de asfalto, separe las planchas protectoras (A) 5-6 mm (0,2-0,25 in) del sueño. En superficies irregularares, como caminos de grava, la separacion entre el sueyo y las planchas protectoras del producto debe ser mayor para que el faldon rascador pase por encima de la grava. Evite la entrada de piedras y grava en el producto. Si某个 objecto sale despedido a alta velocidad, pueda provocar lesiones personales.
-
Apriete la contratuerca (B).

Evitar la congelación tras el uso
Nota: El hielo能把 bloquear las piezas moviles y los mandos. No fuerce en excesso los mandos. Si noccionar un mando o mover un componente,onga en marcha el motor y dejo的功能ar algunos Minutes.
- Arranque el motor y déjelo en marcha uno horas. Detenga el motor y espere a que se detenga todas las piezasVRTiles.
- Quite la niece y el hielo suelto del producto.
- Quite la niece y el hielo suelto de la base del conducto.
- Mueva el deflector del conducto a la izquierda y a la derecha para retirar el hielo y el agua.
- Quite la llave o cambie la posicón del interruptor basculante a "OFF" (si está instalado).
- Si el producto no@cunta con mecanismo de arranque electrico, tire de la empunadura de la cuerta de arranque varias varces parautar el hiel y el agua.
- Si el producto cuenta con un mecanismo de arranque electrico, conecte el producto a la red electrica y pulse el boton de arranque una vez para retiring el hielo y el agua.
Para Obtener un buen Ergebnido
- HagaFuncionarsiempreelmotoraceleracion maximaocasi aceleracionmaxima.
- Adapte siempre la velocidad del producto a las conditiones de la nieve y ajuste la velocidad con la balanca de control de velocidad de la transmisión. Asegúrese de que el producto expulsa la nieve deforma uniforme.
- Es más fácil y eficazizar la nieve solo afteres de nevar.
Siempre que sea possible,arroje la nieve en la direccion del viento. -
En terrenos llanos, como carreteras de asfalto, separe las planchas protectoras a un máximo de 5-6 mm (0,2-0,25 in) del suejo.
-
El faldón rascador es reversible. Cuando se haya desgastado practicamente hasta el borde del alojamento, pueda darle la vuelta. Cambie el faldón rascador si está dañado o si se ha desgastado porambleloslados.
- No envie el deflector del conducto si está obstruido.
- Si el producto no se mueve hacía delante bajo a circunstancias imprevistas, desactive el acoplimiento de la transmisión de inmediato o colque la llave de encendido/apagado en la posición OFF (apagado).
Mantenimiento
Introduccion
Al usable el producto, los pernosuenpden aflojarse y los componentesuenpden desgastarse. Estopoedecausear
averías y fallos como values incorrectly de holgura, mayor consumo de aceite o desalineación de variedes componentes. Para evaporar averías, someta periodically el producto a labores de mantenimiento.
Programa de mantenimiento
| Mantenimiento Diario | 20 horas 50 horas 100 horas | |||
| Asegúrese de que las tuercas y los tor-nillos está bienAFPRETados | X | |||
| Compruebe el nivelde aceite del motor | X | |||
| Cambio el aceite \( ^{16} \) | XXXX | |||
| Asegúrese de que nohayafugas de combustible o aceite | X | |||
| Retire综合素质 u objeto extranjido delginfin | X | |||
| Compruebe la pre-sión de los neumáti-cos \( ^{17} \) | X | |||
| Revise y cambie labujía \( ^{18} \) | X |
Note: No esnecessary añadir grasa ni落户 a cabo 或者 problemas de mantenimiento en la caja de Cambios.
Para realizar una inspeccion general
- Asegürese de que las tuercas y los tornillos del producto estén bien aplretados.
Para realizar una comprobación del nivel de aceite

PRECAUCION: Un nivel de aceite demasiado bajo puede causar danos en el motor. Compruebe el nivel de aceite antes de arrancar el producto.
- Coloque el producto sobre una superficie nivelada.
- Retire el tapón del deposito de aceite con la varilla de nivel acoplada.
- Limpie el aceite de la varilla de nivel de aceite.
- Introduzca la varilla de nivel totalmente en el deposito de aceite para Obtener un resultado correcto del nivel de aceite.
- Quite la varilla de niveau.
- Compruebe el nivel de aceite que indica la varilla de nivel.
- Si el nivel de aceite es bajo, llene con aceite de motor y vuelva a comprobar el nivel de aceite.
Sustitución del aceite del motor
- Mantenga el motor en marcha durante uno horas para calentar el aceite. El aceite caliente fluye mejor y transporte más contaminantes.

ADVERTENCIA: El aceite del motor está caliente. Evite el contacto de la piel con el aceite de motor uso.
- Coloque el producto sobre una superficie nivelada.
- Quite la llave de encendido/apagado.
- Coloque un recipiente bajo del tapón de vaciado de aceite.
- Quite el tapón de vaciado de aceite, incline el producto y vierta el aceite uso en el recipiente.
- Coloque de nuevo el producto en la posicion de funciona;.
- Coloque el tapón de vaciado de aceite y apiretelo con la mano.
- Llene el motor con aceite; consulte Llenado del motor con aceite en la pagina 93.
Lubricación del producto
-
Lubrique los+puntos de articulación (A) con aceite.
Lubrique el motor (B) con aceite. -
Aplique unaewsca cantidad de grasa de litio en los salientes de enclavamiento (C) al principio de cada temporada o tras 25 horas de uso.

Silenciador
El silenciador mantiene al minimum los niveles de ruido y baja los gases de escape del operador.
No utilise el producto si el silenciador no está instalado o está defectuoso. Un silenciador defectuoso aumento el nivel de ruido y el riesgo de incendio.
Examine el silenciador con fecuencia para asegurar de que está montado correctamente y que no está dañado.

PRECAUCION: El silenciador se caliente mucho durante y después de su uso, y cuando el motor funciona a ralenti. Tenga cuidado cerca de materiales inflamables o gases para estar incendios.
Para examinar la bujía

PRECAUCION: Utilice siempre el tipo de bucja recomendado. El uso de un tipo de bucja incorrectouedecausaraverias enel producto.
- Examine la bujia si el motor Tiene bajo potencia, no es fácil de arrancar o no funciona correctamente al régimen de ralenti.
- Para reducir el riesgo de material no deseado en los electrodos de la bujía, siga estas instrucciones:
a) Asegürese de que el régimen de ralenti está bien ajustado.
b) Asegürese de que la mezcla de combustible sea correcta.
c) Asegürese de que el filtro de aire está limpio.
- Si la bucja está muy sucia, limpiela y asegürese de que la distancia entre los electrodos sea la correcta, consulte Datos技术和 en la page 108.

- Sustituya la bujia si fuese besoino.
Inspeccion de los sinfines y el faldon rascador
- Antes de cada uso, inspeccione si los sinfines y el faldón rascador presentan desgaste.
- Si el borde del faldón rascador está desgastado, dele la vuelta. Si el faldón rascador está dañado o Tiene también lados desgastados, cambielo.
- Si los bordes de los sinfines estan desgastados, pongase en contacto con un centro de service autorizzato para sustituirlos.
Sustitución de los pasadores de seguridad del sinfin
Los pasadores de seguridad del sinfin protegen el producto contra posibles daños. Los pasadores de seguridad del sinfin se rompen si alcún的对象to interfiere en las piezas móvil.

PRECAUCION: Utilice unicamente los pasadores de seguridad originales que se suministran con el producto.
- Si un pasador de seguridad del sinfin se rompe, detenga el motor y espere a que las piezas moviles se detengan.
- Quite la llave de encendido/apagado y desconecte el cable de la bujía.
-
Alinee el orificio del buje del sinfin (B) con el orificio del eje del sinfin (C) e instale un nuevo pasador de seguidad de 14 - 20 × 2 (A).
-
Instale una contratuerca de 1 / 4 - 20 (D) y apiretela.

- Coloque la llave de encendido/apagado en el contacto y conecte el cable de la bujía.
Sustitución de los pasadores de seguridad del propulsor
Los pasadores de seguridad del propulsor protegen el producto contra posibles daños. Los pasadores de seguridad del propulsor se rompen sialgún objeto interfiere en las piezas míviles.

PRECAUCION: Utilice unicamente los pasadores de seguridad originales que se suministran con el producto.
- Si un pasador de seguridad del propulsor se rompe, detenga el motor y espere a que las piezas moviles se detongan.
- Quite la llave de encendido/apagado y desconecte el cable de la bujia.
-
Alinee el orificio del buje del propulsor (A) con los orificios del eje del propulsor (B) e instale un nuevo pasador de seguidad de 1/4 - 20 (C).
-
Instale una contratuerca de 1/4 - 20 (D) en el pasador de seguridad y apiretela.

- Coloque la llave de encendido/apagado en el contacto y connecte el cable de la bujía.
Comprobación de los neumáticos
- Para evaporar desperfecos en la goma, evite el contacto de los neumáticos con combustible, aceite y productos químicos.
- Evite el contacto de los neumáticos con tocones, piedras, surcos, objetos aflilados yrialquier other elemento que pueda danarlos.
- Mantenga los neumáticos a la presión adecuada; consulte Datos技术和 en la página 108.
Despejar un deflector del conducto obstruido
No despeje el deflector del conductor si no ha efectuado las actiones siguientes.
- Desactive el acoplimiento del sinfin y de la transmisión al mesmo tiempo.
- Espere 10 segundos para asegurar de que los sinfines se han detenido.
- Pare el producto.
- Utilice la herramienta de limpieza (de al menos 38 cm (15 in) de longitud e includa en algunos modelos) para despejar la obstruccion.

ADVERTENCIA: No ponga las manos en el deflector del conductor ni en el interior del alojamento del sinfin.
Sustitución del faldón rascador
- De la vuelta al faldón rascador (A) si se desgasta hasta el borde del alojamento.

- Cambie el faldón rascador si está dañado o tiene también lados desgastados.
Correas de transmisión.

ADVERTENCIA: Las correas trapezoidales del producto tienen una estructura especial y debenCambiarse por correas originales, las cualespodra adquirir en el centro de serviceimas cercano.Si usa correas que no sean originales,podrian producirse lesiones personales o daños en el producto.

ADVERTENCIA: ParaCambiar la correa es必需ario separar el producto. Al separar el alojamento delsinfin delbastidor,es importante queotra persona se situe en la posicion de manejo y sujete el manillar.Si el producto se cae durante la sustitucion de la correa,podrian producirse lesiones personales graves y/o daños en el producto.
Nota: Las correas de transmisión del sinfin y de tracción no peuvent ajustarse. Si las correas empiezan a perdier tensión por el uso o está danadas, sustitúyalas. Es recommendable acudir a un centro de servicios autorizzato para que cambien las correas.
Note: Es recomendable carriers a la vez la correa de transmisión y la correa del sinfin.
Preparación paracaejar las correas
-
Vacie el combustible del deposito de combustible.
-
Afloje la contratuerca (A) que fija el cerrazal del rotador del conducto (B) al soporte de montaje (C) para poder retirar el conducto de expulsion.

- Afloje los dos tornillos (A) que fijan la cubierta de la correa (B) al bastidor (C) y retire la cubierta de la correa.

Extracción de la correa de transmisión
-
Retire la correa del sinfin. Consulte Extracción de la correa del sinfin en la página 102.
-
Retire el muelle tensor (A) que se encuesta instalado en el brazo del tensor de la correa de transmisión (B).

- Retire el muelle de returno (C) que fija en su posicion la placac oscilante (D).
- Retire el perno del brazo (E) y el brazo del tensor de la correa de transmisión.
- Retire el perno de la polea (F), la polea del motor (G) y la correa de transmisión (H) del motor.
- Quite el perno superior (I) que sujeta la placac oscillante al bastidor.
- Gire y aparea la placac oscilante del producto, y retire la correa de transmisión de la polea motriz (J).
Instalación de la correa de transmisión
- Gire y除去的污物 (D) del producto.

- Coloque la correa de transmisión (H) en la polea motriz (J).
Note: Compruebe que la correa de transmisión seswanae.
enla ranura de la polea motriz antes de bajo la plac oscilante.
-
Instale y apriete el perno superior (I).
-
Coloque la correa de transmisión en la ranura de la polea del motor (G) antes de instalarla en el eje del motor.
- Instale el perno de la polea (F) y fije la polea del motor al motor. Apriete el perno de la polea (30-35 ft lb / 41-47 Nm).
- Instale el brazo del tensor de la correa de transmisión (B) y apriete el perno del brazo (E) en el motor.
- Instale el muelle de returno (C) en la plac oscilante.
- Instale el muelle del tensor (A) en el brazo del tensor.
- Maniobre todos los 控ules para vericar que la correa de transmisión está bien montada y que todos los componentes se mueven correctamente.
Instalación de la cubierta de la correa
- Instale la cubierta de la correa (B) en el bastidor (C) y apriete los dos tornillos (A).

- Instale el conductor de expulsion.
Extracción de la correa del sinfin
- Quite los permos de 5/16 pulg. (A) y los permos inferiores de 14 pulg. (B) de los 2 lados del Conjunto del bastidor. No deseche los permos.

- Afloje los pernos inferiores de 5/16 pulp. (C) de los 2 lados del Conjunto del bastidor sinninger a retirarlos.
- Retire la correa del sinfin de la polea del motor.
- Incline la sección trasera hacía abajo. La parte delantera se inclinará hacía delante al mismotoempo. El perno inferior (C) actúa como bisagra entre la parte delantera y la trasera.
- Coloque un taco de madera debajo del punto de articulación para que el producto permanzca inclinado.
- Mueva el brazo del tensor de la correa del sinfin y quite la correa del sinfin de alrededor del brazo.
Instalacion de la correa del sinfin
- Mueva el brazo del tensor de la correa y situe la correa del sinfin alrededor de la polea del sinfin y en la ranura.

PRECAUCION: Asegürese de que la correa no quede atrapada entre el bastidor y el alojamento del sinfin al ensamblar launities.
- Retire el taco de madera que coloco bajo del producto.
- Levante el asa para inclinar hacía arriba la parte trasera. La parte delantera se inclinará y girará para acoplarse con la parte trasera.
-
Asegürese de que la correa está bien colocada en la ranura de la polea del sinfin.
-
Instale los pernos de 5/16 pulg. (A), (C) y apiételos (11-16 Nm/8-12 ft lb).

- Instale los pernos de 1 / 4 pulg. (B) y apiételos (5-8 Nm/4-6 ft Ib).
- Instale la correa del sinfin en la polea del motor. Asegürese de colocar bien la correa alrededor de la polea tensora y en la ranura de la polea del motor.
- Maniobre todos los controlles para verficar que la correa del sinfin está bien montada y que todos los componentes se mueven correctamente.
Ajuste de la tension del cable del deflector del conducto de expulsion
- Afloje las tuercas de inmovilizacion (B) para ajustar la tension del cable del conductor de expulsion bajo al tensor (A).

- Sujete la secciónorta y gire la sección larga para augmentar la distancia del tensor.
- Ajuste hasta que el cable del deflector del conductor de expulsion (C) está tenso. Apriete las tuercas de inmovilización.
Ajuste del cable de control del sinfín
Note: Si cree que no está capacitado para落户 a cabo este ajuste,pongase en contacto con el serviceo专业技术orizarado. Es posible que sea necessario realizarajustes si la rotacion del sinfin y el propulsor esdemasiado lenta al actionar la palanca de control, o si se ha sustituido la correa del sinfin.
- Afloje las tuercas de inmovilizacion (B) situadas bajo el tensor (A) paraaabstar la tension del cable de control del sinfin (D).

- Sujete la secciónorta y gire la sección larga. Girela 360 grados.
- Compruebe el acoplamento del sinfin. Repita el ajuste hasta que el cable esté tensado al minimo cuando la palanca está desacoplada.
- Apriete la tuerca de inmovilización inferior para fjjar la tension.
- Pida a algoien que se situe delante del producto a unos 3 metros (10 pies), en el lado opuesto al conducto. El ayudante debe observar la rotacion del sinfin y medir el tiempo que tarda este en dejar de girar cuando de soltar la palanca. Si el sinfin tarda 5segundos en dejar de girar,ajuste el cable girando el tambor de centrado 360 grados,de modo que el ajustador se contraiga. Vuelva a probar el funcionamento del sinfin y vuelva a medir el tiempo de parada. Si el sinfindea de girar en menos de 5segundos,continue con el paso seguido.
- Apriete la contratuerca del cable del tornillo sin fin.
Nota: Si el ajuste no resuelve el problema, cambie la correa del tornadoo sin fin. Consulte Extracción de la correa del sinfin en la page 102.
Para desmontar las ruedas
-
Retire el pasador de la rueda (A) y el pasador de retencion (B).
-
Retire la rueda del eje (C).

Limpieza del producto
- Limpie las piezas de plástico con un paño limpio y seco.
- No utilise un equipo de limpieza a alta presión para limpiar el producto.
- No vierta agua directamente sobre el motor.
- Use un cepillo para retirar las hojas, la hierba y la suciedad.
Resolución de problemas
Resolución de problemas
| Problema Causa posible Solución | ||
| El producto no arranca La llave de encendido de seguridad no está in- sertada. | Introduzca la llave de encendido de seguidad. | |
| El producto no tiene combustible. Llene el depós to de combustible con gasolina nuevo y limpia. | ||
| La llave de encendido/apagado está en posición OFF (apagado). | Coloque la llave de encendido/ apagado en la posición ON (encendi-do). | |
| El estrangulador se incluye desactivado (cerrado). | Active el estrangulador (posición FULL [máximo] u OPEN [abierto]). | |
| No se ha presionado el cebador. Presione el cebador. | ||
| El motor está ahogado. Espere unooshasles de volver a arrancar y no presione el cebador. Ponga en marcha el motor con la acceleración al máximo y el estrangu- lador desactivado (posición CLOSE [cerrado]). | ||
| El cable de la bujía no está conectado. Conecte el cable a la bujía. | ||
| La bujía está defectuosa. Bombie la bujía. | ||
| Hay agua en el combustible o el combustible es demasiado antiguo. | Vacie el depósito de combustible y el carburador. Llene el depósito de combustible con gasolina nuevo y limpia. | |
| Hay vapor en la tuberia de combustible. Asegúre se de que la tuberia de combustible se incluye totalmente por bajo de la calidad del depósito de combustible. La tuberia de combusti- bleDebte discernir:hacia abajo desde el depósito de combustible hasta el carburador. | ||
| Otras causas. Revise detenidamente los procedi- mientos de arranque explicados en este manual. | ||
| El interruptor de combustible (si dispone de ello) está cerrado (apagado). | Abra (active) el interruptor de com- bustible. | |
| El acelerador está en la posición STOP (para- do). | Ponga el acelerador en la posición FAST (alta velocidad). | |
| Problema Causa posible Solución | ||
| Potencia reducida El cable | de laBJJia no está conectado. Conecte el cable a laBJJia. | |
| El producto expulsa mucha nieve. Reduzca la veocidad y la anchura de la hilera. | ||
| El tapón del depósito de combustible está cu-bierto de hielo o nieve. | Retire el hielo y la nieve del tapón del depósito de combustible y de alrededor de él. | |
| El silenciador está sucio u obstruido. Limpie o sustituya el silenciador. | ||
| Longitud del cable incorrecta. Ajuste el cable. | ||
| El silenciador está obstruido. Asegúrese de queel motor está frío.Despeje la obstrucción. | ||
| La toma de aire del carburador está obstruida. Asegúrese de que el motor está frío.Despeje la obstrucción. | ||
| El motor的功能a de for-ma irregular cuando está a ralenti o a un régimen normal de funciona bajo | El estrangulador se encontrartra activado (posi-ción FULL[maximo]u OPEN [abierto]). | Desactive el estrangulador (posición CLOSE[Cerrado]). |
| La tubercía de combustible está obstruida. Limpie | la tubercía de combustible. | |
| Hay agua en el combustible o el combustible esdemasiado antiguo. | Vacie el depósito de combustible y elcarburador. Llene el depósito decombustible con gasolina nueva ylimpia. | |
| Es Necessary�能ar el carburador. Contacte conun centro de servicios autorizzato. | ||
| La correa se ha extendido. Bombie la correa trapezoidal del sin-fin. | ||
| Exceso de vibración o mo-vimiento en el manillar | Hay piezas flojas. Los sinfines están dañados. Apriete todas las conexiones. Cam-bie las piezas dañadas. Si la vibra-ción persististe, póngase en contacto con un centro de servicios autorizzato. | |
| El manillar no está bien colocado. Asegúrese deque el manillar está bi-en fjado en su posición. | ||
| Las tuercas de la palanca de ajuste está dañados. | Apriete las tuercas hasta que el man-llar dé sensación de seguridad. | |
| Cuesta trabajo tirar de la empuñadura de la性和 de arranque | La empuñadura de la性和 de arranque estácongelada. | Saque lentamente toda la性和que sea possible y suele la empuña-dura de la性和 de arranque. Si elmotor no arranca, repita el procedi-miento o utilise el mecanismo de ar-ranque electrico. |
| La性和 de arranque interfere en los compo-nentes. | La性和 de arranque no debe en-trar en contacto con ningún cable o manguera. | |
| Pérdida de tracción/velocidad bajo de la transmisiónNo se expulsa nieve o seexpulsa lentamente | La correa resbala. Ajuste el cable. Ajuste la correa. | |
| La correa está desgastada. Revise/cambie la correa. Ajuste la polea. | ||
| La correa se sale de la polea. Revise/reinstale la correa. Ajuste la polea. | ||
| El deflector del conducto está obstruido. Despeje el deflector del conducto. | ||
| Los sinfines están obstruidos por objetivos extraños. | Retire los residuos o el objeto extraño de los sinfines. | |
| El pasador de seguridad está roto. Cambie el pasador de sécurité ro-to. | ||
| Se ha acumulado demasiado hielo y nieve entre los componentes de las orugas. | Retire el hielo y la nieve acumulados entre los componentes de las orugas. | |
| La rueda motriz de fricción está desgastada. Contace con un centro de servicios autorizzato. | ||
| El disco de fricción está humedo Deje que el disco de fricción se se-que | ||
| Error de rotación del sinfin al soltar la empuñadura | La correa de transmissions no está alineada. Ajuste la correa de transmissions. | |
| El deflector de descarga no está alineado. Ajuste el deflector de descarga. | ||
| Las luces no están encen-didas (si dispone dearlo) | El motor no está en marcha. Arranque el motor. | |
| El cable está mal connectado. Compruebe las corrientiones del cable del motor y las luces. | ||
| El LED está fundido. Cambie el módulo de luz LED. No espossible cambiar LED individuales. | ||
| El rotador del conducto sesmueve con dificultad | Hay suciedad en el mecanismo del rotador del conducto. | Limpie las piezas internas del meca-nismo del rotador del conducto. |
| Los cables estar doblados o dañados. Compruebe que los cables no estén doblados. Cambie los cables si están dañados. | ||
| El producto se desvia a unazo | La presión de los neumáticos es desigual. Ajuste la presión de los neumáticos y llene los neumáticos. | |
| El producto se mueve con una sola rueda. | Inspeccione el pasador de bloqueo de las ruedas. | |
| Ajuste irregular del trineo. | Ajuste las planchas protectoras y el trineo. | |
| Ajuste irregular de las planchas protectoras. | Ajuste las planchas protectoras y el trineo. | |
Transporte, almacenimiento y eliminacion
Transporte y almacenimiento
- Para el transporte y almacenimiento del producto y del combustible, asegúrese de que no haya fugas ni humos. Las chispas o llamas abiertas, por ejemplo, de dispositivos electricos o calderas, poder producir un incendio.
- Use siempre recipientes homologados para el transporte y almacenimiento de combustible.
- Vacie el depuesto de combustible antes deponer el producto en almacenimiento durante un largo periodo de tiempo. Deseche el combustible en una ubicacion adecuada para su eliminacion.
- Asegure el producto durante el transporte para evaciar danos y accidentes.
-
Mantenga el producto en un area cerrada para impeder el acces o personas no autorizadas.
-
Mantenga el producto en un lugar seco y al abrigo de las heladas.
Eliminación
- Respete los requisitos de reciclaje locales y las normas aplicables.
- Deseche todos los productos químicos, como el aceite de motor o el combustible, en un centro de servicios o unaubicación adecuada para su eliminación.
- Cuando ya no use el producto, envielo a un distribuidor Husqvarna o desechelo en un punto de reciclaje.
Datasétécnicos
Datasétécnicos
sin previo aviso en caso de aplicar mejoras en el producto.
Nota: Todos los datos, imagenes y asignaciones son típicos y sirven solo de referencia; podrjan modificarse
| ST 224 ST 227P ST 230P | |||
| Dimensiones | |||
| Peso, lb/kg 198,6/90 212/96 237,8/108 | |||
| Presión Tmax. de los neumáticos en funciona, PSI | 18 18 20 | ||
| Motor | |||
| Marca/modelo LCT LCT LCT | |||
| Cilindrada, cc 208 254 291 | |||
| Tipo de combustible Regular sin plomo (máximo no de 10 % de etanol) | |||
| Capacidad de combustible, galones/litros 0,31 | /1,17 0,35/1,33 0,62/2,35 | ||
| Aceite SAE 5W30 ( bajo 0 °C (32 °F)). | |||
| Capacidad de aceite, onzas/litros 16/0,47 20/0,59 32/0,95 | |||
| Sistema electrico | |||
| Bujía | F6RTC o F7RTC, distancia: 0,762 mm (0,030 pulg.) | ||
| Emissiones de ruido19 | |||
| Nivel de potencia acústica medida, dB(A) | 105 105 105 | ||
| ST 224 ST 227P ST 230P | |||
| Nivel de potencia acústica garantizo LWA dB(A) | 105 105 105 | ||
| Niveles acústicos | |||
| Nivel de presión sonora en el oído del oper-ario, dB(A) | 88,4 88,4 88,4 | ||
| Niveles de vibración, \(a_{hveq}\)\(^{20}\) | |||
| Nivel de vibración en el manillar, m/s\(^2\) | 5,74 4,89 4,66 | ||
Declaración de conformidad CE
CONTENIDO DE LA DECLARACION DE CONFORMIDAD CE
Nosotros, Husqvarna, SE-561 82 Huskvarna, SUECIA, declares bajo nuestra exclusiva responsabilidad que el producto representado:
| Descripción Qitanieves | |
| Marca Husqvarna | |
| Plataforma/tipo/modelo ST 224, ST 227P, ST 230P | |
| Lote Número de série a partir del 2018 en adelante |
Cuple las siguientes directivas y normas de la UE:
| Directiva/Norma Descripción | |
| 2006/42/CE "relativa a las migunas" | |
| 2014/30/UE "relativa a la compatibilidad electromagnética" | |
| 2000/14/CE; 2005/88/CE "relativa al ruido en exteriores" |
Las normas armonizadas o specifications sociales aplicadas son las siguientes:
De acuerdo con la directiva 200/14/CE, Anexo V, los values de sonido declarados se indicaten en el capitulo Datos技术和es de este manual y en la declaracion de conformidad CE firmada.
El quitanieves suministrado concuerda con el ejemplar que fue sometido a examen.
Sommario
Introduzione 112
Instrucciones originales
ManualFácil