ST 224 - Ventilator HUSQVARNA - Kostenlose Bedienungsanleitung
Finden Sie kostenlos die Bedienungsanleitung des Geräts ST 224 HUSQVARNA als PDF.
Häufig gestellte Fragen - ST 224 HUSQVARNA
Benutzerfragen zu ST 224 HUSQVARNA
0 Frage zu diesem Gerät. Beantworten Sie die, die Sie kennen, oder stellen Sie Ihre eigene.
Eine neue Frage zu diesem Gerät stellen
Laden Sie die Anleitung für Ihr Ventilator kostenlos im PDF-Format! Finden Sie Ihr Handbuch ST 224 - HUSQVARNA und nehmen Sie Ihr elektronisches Gerät wieder in die Hand. Auf dieser Seite sind alle Dokumente veröffentlicht, die für die Verwendung Ihres Geräts notwendig sind. ST 224 von der Marke HUSQVARNA.
BEDIENUNGSANLEITUNG ST 224 HUSQVARNA
DE Bedienungsanweisung 27-54
Transport, Lagerung und Entsorgung. 52
Montage. 34
Technische Angaben 52
Betrieb. 37
EG-Konformitätserklarung. 54
Wartung. 42
Einleitung
Geräteübersicht


1. Schneckenaktivierung
2. Steuerhebel Auswurfsammler
3. Steuerhebel Antriebsgeschwindigkeit
4. Fernsteuerhebel Prallblech
- Antriebsaktivierung
- Beleuchtung
- Grillknopf
- Schalldampfer
- Gleitplatte
- Schnecken
- Reinigungswerkzeug
- Auswurfsammler
- Prallblech Auswurfsammler
- Startseilhandgriff
- Ölablassschraube
- Kraftstoffschalter
- ON/OFF-Schlüssel
- Primer
- ON/OFF-Schalter (ST 227P, ST 230P)
- Gashebel
- Choke
- Einfüldeckel für Kraftstoff
- Öltankdeckel mit Messstab (ST 227P, ST 230P)
- Taste für Elektrostart
- Anschluss, Elektrostart
- Öltankdeckel mit Messstab (ST 224)
Produktbeschreibung
Bei dem Produkt handelt es sich um eine fahrbare Schneefrase, die zum Räumen von Schnee eingesetzt wird.
Verwendungszweck
Dieses Gerät lassst sich verwenden, um Schnee von Feldern, Straßen, Gehwegen und aus Einfahrten zu entfernen. Verwenden Sie die Schneefrase nicht auf Hängen mit mehr als 20^ Neigung. Verwenden Sie das Gerät nicht in stark durch Schutt und Schmutz verunreinigten Bereichen und nicht in Bereichen, in denen Steine aus der Oberfläche hervorragen.
Symbole auf dem Gerät
Hinweis: Wenn die Aufkleber auf dem Produkt beschädigt sind, kontaktieren Sie den Handler, um diese ersetzen zu halten.

Warning.

Lesen Sie die Bedienungsanleitung.

Motor ein

Motor aus.

Schnell.

Langsam.

Choke.

Primer.

OI.

Kraftstoff.

Achtung.


Europäische Maschinenrichtlinie für die Sicherheit.

Nach links lenken.

Nach rechts lenken.

Höheneinstellung der Schnecke.

Blasgerat aus.

Blasgerat ein.

Fahrnantrieb aus.

Fahrnantrieb ein.

Entfernen Sie die Abdeckungen nicht, während der Motor lauft.

Gehorschutz empfohlen.

Schalleistungspegel.

EIN-/AUS-Schlüssel. Stecken Sieihn zum Starten ein.

Choke geschlossen (Start).

Primer.

Ziehen Sie zum Starten am Startseilhandgriff.

Choke offen (Betrieb).

EIN-/AUS-Schlüssel. Ziehen Sie ihn zum Stoppen Heraus.

Betrieb an Hängen mehr mit als 10 Grad Steigung/Gefalle nicht möglich.

Entfernen Sie vor der Wartung das Zündkerzenkabel.

Heiße Oberfläche.

Kraftstoffabsperrventil.

Warning, Hände fernhalten.

Warning, FüSe fernhalten.

Gefahr durch fliegende Objekte, halten Sie unbefugte Personen fern.

Nach links drehen/nach unten drucken/nach rechts drehen.
Im Sinne der Produktthaftungsgesetze übernehmen wir keine Haftung für Schäden, die unser Gerät verursacht, wenn...
das Gerät nicht ordnungsgemäß repariert wurde.
- das Gerät mit Teilen repariert wurde, die nicht vom Hersteller stammen oder vom Hersteller zugelassen sind.
- ein Zubehörteil mit dem Gerät verwendet wird, das nicht vom Hersteller stammt oder vom Hersteller zugelassen ist.
- das Gerät nicht bei einem zugelassenen Service Center oder von einer zugelassenen offiziellen Stelle repariert wurde.
Sicherheit
Sicherheitsdefinitionen
Die nachstehenden Definitionen geben den Schweregrad für jeder Signalwort an.

WARNING: Personenschäden.

ACHTUNG: Schaden am Gerät.
Hinweis: These Informationen erleichtern die Verwendung des Geräts.
Allgemeine Sicherheitshinweise
- Verwenden Sie das Gerät ordnungsgemäß. Eine falsche Verwendung kann zu schweren bis tödlichen Verletzungen führen. Verwenden Sie das Gerät nur für die in dieser Betriebsanleitung aufgeführten Arbeiten. Verwenden Sie das Gerät nicht für andere Aufgaben.
- Beachten Sie die Anweisungen in dieser Bedienungsanleitung. Beachten Sie die Symbole und die Sicherheitshinweise. Die Nichtbeachtung der Anweisungen und Symbole kann zu Verletzungen oder zum Tod führen.
- Werfen Sie diese Bedienungsanleitung nicht weg. Verwenden Sie die Anweisungen für das Zusammensetzen und den Betrieb, und halten Sie Ihr Gerät in gutem Zustand. Befolgen Sie die Anweisungen für die korrekte Installation von Anbaugeräten und Zubehörteilen. Verwenden Sie ausschließlich zugelassene Anbaugeräte und Zubehörteile.
- Verwenden Sie das Gerät nicht, wenn es beschädigt ist. Halten Sie sich an den Wartungsplan. Führten Sie nur diejenigen Wartungsarbeiten aus, die Sie in den Anweisungen in dieser Bedienungsanleitung finden. Alle sonstigen Wartungsarbeiten müssen von einer autorisierten Servicewerkstatt durchgeführt werden.
-
These Bedienungsanleitung kann nicht alle Situationen abdecken, die bei der Verwendung des Geräts auftreten können. Seien Sie immer vorsichtig und arbeiten Sie mit gesundem Menschenverstand. Führten Sie keine Arbeiten mit oder Wartungen am Gerät durch, wenn Sie sich in einer Situation unsicher sind. Wenden Sie sich an einen Produktfachmann, ihren Fachhändler, ihren Service Vertreter oder das autorisierte Service Center für weitere Informationen.
-
Ziehen Sie den Zündkerzenstecker ab, bevor Sie das Gerät zusammenbauen, einlagern oder warten.
- Verwenden Sie das Gerät nicht, wenn es nicht mehr der ursprünglichen Spezifikation entspricht. Ändern Sie kein Teil des Geräts ohne Genehmigung des Herstellers. Verwenden Sie nur Teile, die vom Hersteller genehmigt wurden. Eine falsche Wartung kann zu schweren bis tödlichen Verletzungen führen.
- Atmen Sie die Abgase des Motors nicht ein. Das Einatmen der Motorabgase über längerere Zeit kann eine Gefahr für die Gesundheit darstellen.
- Das Gerät sollte nicht im Innenbereich oder in der Höhe von feuergeführlichen Stoffen gestartet werden. Die Abgase sind frei und können Funken erzeugen, die einen Brand verursachen können. Eine mangelhafte Luftzirkulation kann zu schweren oder tödlichen Verletzungen durch Ersticken oder eine Kohlenmonoxidvergifting führen.
- Wenn Sie das Gerät nutzen, erzeugt der Motor ein elektromagnetisches Feld. Das elektromagnetische Feld kann medizinische Implantate beschädigen. Sprechen Sie vor der Inbetriebnahme des Geräts mit ihrer Arzt und dem Hersteller des medizinischen Implantats.
- Lassen Sie nicht zu, dass Kinder das Gerät verwenden. Erlauben Sie nicht, dass Personen ohne Kenntnis der Anweisungen das Gerät bedieren.
- Stellen Sie sicher, dass Personen mit verminderter physischer oder psychischer Leistungsfähigkeit theses Gerät nicht unbeobachtet verwenden. Es muss immer ein verantwortlicher Erwachsener anwesend sein.
- Verschreiben Sie das Gerät in einem Bereich, zum dem Kinder und nicht autorisierte Personen keinen Zugang haben.
- Das Gerät kann Objekte auswerfen und Verletzungen verursachen. Beachten Sie die Sicherheitshinweise, um das Risiko von Verletzungen oder Tod zu verringn.
- Entfernen Sie sich nicht vom Gerät, wenn der Motor eingeschaltet ist.
- Der Bediener des Gerätsträgt bei einem Unfall die Verantwortung.
- Schauen Sie vor dem und während des Rückwärtslaufens nach hinten und nach unter, ob keine Kinder, Tiere oder andere Gefahren im Weg sind, wegen derer Sie stürzen können.
- Überprüfen Sie vor dem Gebrauch das Gerät auf schadhafte Teile.
- Achten Sie vor dem Gebrauch des Geräts darauf, einen Mindestabstand von 15 m von anderen Personen oder von Tieren einzuhalten. Stellen Sie
sicher, dass eine Person in einem angrenzenden Bereich weiß, dass Sie das Gerät benutzen.
- Halten Sie sich an nationale und lokale gesetzliche Bestimmungen. Diese können den Betrieb des Gerats unter bestimmen Bedingungen verhindern oder einschränken.
Sicherheitschinweise für den Betrieb
- Halten Sie Höhe und Fuß von rotierenden Geräteilen fern und achen Sie darauf, dass Höhe oder Fuß nicht unter rotierende Geräteile geraten. Halten Sie sich stets von der Auswurföffnung fern.
- Außerste Vorsicht ist angebracht, wenn Sie das Gerät auf bekiesten Flächen einsetzen oder solche Flächen damit überqueren. Achten Sie auf versteckte Gefahrenquellen und auf den Verkehr.
- Wenn die Schneefrase auf einen Fremdkörper trifft, stoppen Sie den Motor, entfern den Sie das Zündkabel von der Zündkerze,lös Sie bei Elektromotoren das Netzkabel, untersuchen Sie das Gerät sorgfältig auf Beschädigungen und beheben Sie eventuelle Beschädigungen, bevor Sie das Gerät wieder in Betriebephmen.
- Falls das Gerät außergewöhnlich stark vibriert, stoppen Sie den Motor und prüfen Sie sofort die Ursache der Vibration. Vibration weist mein auf einen Fehler hin.
- Stopen Sie den Motor, wenn Sie die Arbeit mit dem Gerät unterbrechen (also die Arbeitsposition verlassen), bevor Sie Verstopfungen an der Schnecke oder am Leitblech der Auswurfschüte beseitigen und immer dann, wenn Sie Reparaturen, Einstellungen oder Überprüfungen vornehmen.
- Stopen Sie vor dem Reinigen, Reparieren oder Überprüfen des Geräts den Motor und vergewissem Sie sich, dass die Schnecken und alle beweglichen Teile zum Stillstand gekommen sind. Ziehen Sie das Zündkabel ab und halten Sie es von der Zündkerze fern, sodass ein unbeabsichtigtes Starten des Motors durch Dritte ausgeschlossen ist.
- Betreiben Sie den Motor nicht in geschlossenen Räumen, außer, wenn der Motor angelassen wird und zum Transportieren des Geräts in ein Gebäude hinein bzw. aus einem Gebäude hereaus. Öffnen Sie die Außentüren; Abgase sind gefährlich.
- Bei Arbeiten auf abschüssigem Gelände ist außerste Vorsicht geboten.
- Benutzen Sie das Produkt nur, wenn alle vorgeschriebenen Sicherheits- und Schutzvorrichtungen vorhanden und in Betrieb sind.
- Richten Sie das Leitblech der Auswurfschütte so aus, dass der ausgeworfene Schnee keine Personen treffen und keine Sachschaufen verursachen kann. Halten Sie Kinder und andere Personen fern.
- Überlasten Sie das Gerät nicht, indem Sie versuchen, den Schnee zu schnell zu räumen.
- Lassen Sie das Gerät auf rutschigen Flächen nie in hoher Transportgeschwindigkeit laufen. Wenn Sie das Gerät im Rückwärtsgang bedieren, gehen Sie
vorsichtig vor und achtten Sie auf den Bereich hinter sich.
- Schalten Sie die Stromzufuhr zu den Schnecken ab, wenn die Schneefrase transportiert wird oder nicht in Gebrauch ist.
- Verwenden Sie nur Zusatzgeräte und Zubehör, das vom Produkthersteller zugelassen ist (z. B. Radgewichte, Gegengewichtete oder Bedienerkabinen).
- Arbeiten Sie nie mit dem Gerät, wenn schlechte Sicht- und Lichtverhältnisse vorherrschen. Achten Sie darauf, nicht auszurutschen, und halten Sie die Schneefräse am Griff gut fest. Gehen Sie langsam, rennen Sie nicht.
- Berühren Sie Motor und Schalldämpfer nicht, solange diese Geräteile heißt sind.
Sicherheit im Arbeitsbereich
- Inspizieren Sie sorgfältig das Gelände, in dem das Gerät eingesetzt werden soll, und entfernen Sie alle losen Gegenstände wie Fußabtreter, Schlitten, Ski, Kabel und Sonstiges.
- Kuppeln Sie alle Kupplungen aus und schalten Sie die Schneegräse in den Leerlauf, bevor Sie den Motor starten.
- Bedieren Sie das Gerät nur in geeigneter Winterbekleidung. Tragen Sie keine zu locker sitzende Kleidung, die sich in beweglichen Teilen des Geräts verfangen können. Tragen Sie Schuhe, die Ihnen auf rutschigen Flächen sicheren Halt geben.
-
Gehen Sie mit Kraftstoff vorsichtig um. Kraftstoff ist leicht entflammbar.
-
Verwenden Sie einen geprüften Benzinkanister.
- Füllen Sie nie Kraftstoff nach, während der Motor lauft oder stark erhitz ist.
- Füllen Sie den Kraftstofftank nur im Freien nach und gehen Sie darauf mit großer Umsicht vor. Füllen Sie den Kraftstofftank nie in geschlossenen Räumen.
- Füllen Sie Benzinkanister nie in einem Fahrzeug oder auf der Ladefläche eines Transporters oder LKWs mit Kunststoffverkleidung. Füllen Sie Benzinkanister grundsätzlich auf dem Boden und in ausreichend Abstand zu Fahrzeugen.
- Tanken Sie benzinbetriebene Geräte, wenn möglich, auf dem Boden und in ausreichend Abstand von Fahrzeugen auf. Wenn das nicht möglich ist, tanken Sie benzinbetriebene Geräte auf der Ladefläche auf, und darüber aus einem transportablen Kanister, nicht direkt aus der Zapfsäule.
- Der Zapfhahn muss die Einfüllöffnung des Kraftstofftanks bzw. Benzinkanisters während des Tankens ständig berühren. Verwenden Sie keine Vorrichtung zum dauerhaften Offenhalten des Zapfhahns.
-
Schrauben Sie den Tank bzw. Kanister sorgsam zu und wischen Sie verschütteten Kraftstoff weg.
-
Gerät Kraftstoff auf die Kleidung, wechseln Sie diese.so fort.
-
Verwenden Sie bei Geräten mit Elektroantriebsmotoren oder Elektrostartmotoren die vom Hersteller angegebenen Verlängerungskabel und Steckdosen.
- Verstellen Sie die Höhe des Schneckengehauses entsprechend der zu beräumenden Kies- oder Schotterflächen.
Versuchen Sie nie bei laufendem Motor Einstellungen irgendwelcher Art vorzunehmen, es sei dess, dies wird vom Hersteller ausrücklich so empfohlen. - Tragen Sie beim Betrieb, beim Einstellen oder bei einer Reparatur des Geräts immer eine Schutzbrille oder einen anderen Augenschutz, um die Augen zuschützen, falls Gegenstände vom Gerät durch die Luft geschleudert werden.
Persönliche Schutzausrüstung
Verwenden Sie beim Arbeiten mit dem Gerät stets die geeignete persönliche Schutzausrüstung. Dazu gehoren mindestens festes Schuhwerk, Schutzbrille und Gehorschutz. Die persönliche Schutzausrüstung beseitigt die Verletzungsgefahr nicht, kann aber bei einem Unfall den Verletzungsgrad mindern.
- Tragen Sie immer eine Schutzbrille oder einen anderen Augenschutz, wenn Sie das Gerät bedieten oder wenn Sie Wartungs- und Reparaturarbeitendurchführren.
- Tragen Sie stets geeignete Winterbekleidung, wenn Sie das Gerät bedieren.
- Tragen Sie stets robuste Stiefel mit rutschhemmender Sohle, die gute Halt bis über die Knöchel bieten, wenn Sie das Produkt bedieren.
- Tragen Sie keine locker sitzende Kleidung, die sich in beweglichen Teilen verfangen können.
Tragen Sie gegebenenfalls zugelassene Schutzhandschuhe. Zum Beispiel beim Einbauen, Überprüfen oder Reinigen der Schneckenflügel. - Tragen Sie immer einen zugelassenen Gehorschutz beim Arbeitsmen mit dem Gerät. Lärmbelastung über einen längeren Zeitraum kann zu larmbedingten Hörschäden führen.
Sicherheitsvorrichtungen am Gerät
-
Achten Sie darauf, das Gerät regelmäßig zu warten.
-
Dies erhöht die Lebensdauer des Geräts.
Die Gefahr von Unfallen sinkt.
Lassen Sie einen Vertragshandler oder ein autorisiertes Service Center das Gerät regelmäßig überprüfen, um Einstellungen oder Reparaturen vorzunehmen.
- Benutzen Sie kein Gerät mit defekten Schutzvorrichtungen. Wenn das Gerät beschädigt ist, wenden Sie sich an ein autorisiertes Service Center.
Schalldampfer
Der Schalldampfer sentk den Gerauschpegel so welt wie möglich und halt die Abgase des Motors vom Anwender fern.
Verwenden Sie das Gerät nicht, wenn der Schalldämpfer feht oder defekt ist. Ein defekter Schalldämpfer erhöht den Gerauschpegel und die Brandgefahr.
Überprüfen Sie den Schalldämpfer regelmäßig, um sicherzustellen, dass er richtig angebracht und nicht beschadigt ist.

ACHTUNG: Der Schalldämpfer wird während und nach Gebrauch und wenn der Motor im Leerlauf lauft, sehr heißt. Seien Sie in der Höhe von entzündlichen Materialien und/oder Dampfen besonders vorsichtig, um Brandgefahr zu verhindern.
Sicherer Umgang mit Kraftstoff

WARNING: Lesen Sie die folgenden Warnhinweise, bevor Sie das Gerät benutzen.
- Starten Sie das Gerät nicht, wenn sich Kraftstoff oder Öl darauf befindet. Entfern den unerwänschten Kraftstoff bzw. das Öl und halten Sie das Gerät trocknen.
- Wechseln Sie sofort die Kleidung, wenn Sie Kraftstoff darauf verschüten.
- Lassen Sie keinen Kraftstoff auf ihren Körper gelangen, Denn dies kann zu Verletzungen führen. Wenn Kraftstoff auf ihre Haut gelamt, waschen Sie diesen mit Wasser und Seite ab.
- Starten Sie das Gerät nicht, wenn der Motor undicht ist. Überprüfen Sie den Motor regelmäßig auf Undichtigkeiten.
- Gehen Sie vorsichtig mit Kraftstoff um. Kraftstoff ist feuergeführlich, und die Dämpfe sind explosiv und konnen zu Verletzungen oder)sagar zum Tod führen.
- Atmen Sie die Kraftstoffdämpfe nicht ein, Denn sie sind gesundheitsschädigend. Achten Sie auf ausreichende Belüftung.
- Rauchen Sie nicht in der Nähe des Kraftstoffs oder des Motors.
- Stellen Sie keine freißen Gegenstände in der Nähdes Kraftstoffs oder Motors ab.
- Füllen Sie keinen Kraftstoff nach, während der Motor lauft.
- Vergewissern Sie sich, dass der Motor abgekühlt ist, bevor Sie Kraftstoff nachfüllen.
- Offnen Sie vor dem Nachfüllen den Tankdeckel langsam und setzen Sie den Druck vorsichtig entweichen.
- Füllen Sie keinen Kraftstoff in den Motor, wenn Sie sich in einem Innenraum befinden. Eine mangelhafte Luftzirkulation kann zu schweren oder tödlichen
Verletzungen durch Ersticken oder eine Kohlenmonoxidvergifting führen.
- Schrauben Sie den Kraftstofftankdeckel fest zu. Wenn der Tankverschluss nicht fest zugeschraubt ist, besteht Feuergefahr.
- Bewegen Sie das Produkt vor dem Starten mindestens 3 m von der Stelle fort, an der Sie den Tank befindt hatten.
- Überfüllen Sie den Kraftstofftank nicht.
Sicherheitshinweise für die Wartung

WARNING: Lesen Sie die folgenden Warnhinweise, bevor Sie das Gerät benutzen.
Die Abgase des Motors enthalten Kohlenmonoxid, ein geruchloses, giftinges und sehr gefährliches Gas. Starten Sie den Motor nicht in Innenräumen oder in geschlossenen Räumen.
- Bevor Sie an dem Produkt eine Wartung durchfuhren, schalten Sie den Motor aus undziehen Sie das Zündkabel von der Zündkerze ab.
- Tragen Sie Schutzhandschuhe, wenn Sie Wartungsarbeiten an den Schneckenflügeln durchführten. Die Flügel ist sehr scharf und man schneidet sich sehr leicht.
- Zubehörteile und Änderungen am Produkt, die vom Hersteller nicht genehmigt wurden, können zu schweren Verletzungen oder zum Tod führen. Verändern Sie das Produkt nicht. Verwenden Sie immer Teile, die vom Hersteller genehmigt wurden.
- Wenn die Wartung nicht ordnungsgemäß und regelmäßig erfolgt, erhöht sich die Verletzungsgefahr und das Risiko für eine Beschädigung des Produkts.
- Führn Sie nur Wartungsarbeiten durch, die gemäß dieser Betriebsanleitung vorgegeben sind. Alle anderen Wartungsarbeiten müssen von einer autorisierten Servicewerkstatt durchgeführt werden.
- Lassen Sie eine autorisierte Serviceworkstatt das Gerat regelmäßig warten.
- Ersetzen Sie beschädigte, abgenutzte oder defekte Teile.
Montage
So behmen Sie das Gerät aus dem Karton
- Entfernen Sie alle losen Teile, die im Lieferumfang des Geräts enthalten sind. Schneiden Sie die vier Ecken des Kartons ab, und klappen Sie die Endstreifen flach nach unten.
- Entfernen Sie die beiden Schrauben, mit denen das Schneckengehause auf der Palette befestigt ist. Entfernen Sie ggf. die Stahlklammern von den Gleichplatten.
- Entfernen Sie alle Verpackungsmaterialien.
- Nehmen Sie das Gerät aus dem Karton, und stellen Sie sicher, dass keine losen Teile im Karton verbleiben.
Lose Teile

Drehknopf (3)

Auswurfsammler (1)

EIN-/AUS-Schlüssel

Schlossschrauben 5 / 16 - 18 × 214 (2)

Griffknöpfe (2)

Sicherungsmutter 3/8 (1)

Kabelführung (1)

Scherbolzen 1 / 4 - 20× 1 - 3 / 4 (6)

Sicherungsmuttern 1/4-20 (6)

Sicherungsmutter 5/16-18 (1)

Sicherungsmutter 1 / 4 - 20 (1)

Nylonscheibe (1)

Schlosssschraube 5/16-18 x 5/8 (1)

Feder (1)

Bundbolzen 14-20 (1)
So montieren Sie den Griff
- Hebien Sie den oberen Griff an, bis die Betriebsposition erreicht ist.

- Passen Sie die Position des Griffs an eine der Befestigungsbohrungen (B) an undziehen Sie die Griffknopfe (C) mit den Schlossschrauben (D) fest an.

- Installieren Sie zur Befestigung des oberen Griffs (A) an den unteren Griff (E) weitere Schlossschrauben (D) und Griffknöppe (C).

So installieren Sie das Leitblech für die Auswurfschüte und den Kopf der Auswurfschüttendrehung
-
Platzieren Sie die Leitblechbaugruppe an der Oberseite der Auswurfrinne, mit der Auswurföffnung in Richtung der Gerätevorderseite.
-
Platzieren Sie den Kopf (A) der Auswurfschüttendrehung auf den Auswurfschütten-Halter (B). Drehen Sie die Auswurfschüttenbaugruppe, um die Bolzen unter dem Kopf (A) der Auswurfschüttendrehung mit den Bohrungen im Auswurfschütten-Halter in Übereinstimmung zu bringen, wenn erforderlich.
-
Platzieren Sie den Kopf der Auswurfschüttendrehung auf dem Bolzen (C) und dem Gewindebolzen (D) auf dem Halter (E).
-
Bringen Sie eine Sicherungsmutter (G) auf dem Gewindebolzen an undziehen Sie sie fest an.

- Verlegen Sie das Kabel durch die Kabelführung (F) und die Doppelklammer (I) hindurch, um das Kabel (H) der Drehvorrichtung am unteren Griff zu befestigen.

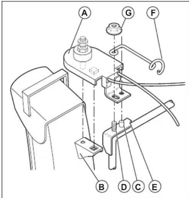
So installieren Sie die Fernbedienung für das Leitblech der Auswurfschütte ein
-
Befestigen Sie die Kabelklemme (A) für die Fernbedienung mit einer Schlosssschraube (B) und einer 5/16-18 Sicherungsmutter (D) an der Auswurfschüte. Ziehen Sie dann die Schraube fest an.
-
Montieren Sie die Ose (E) für das Fernbedienungsklabel mit einem Bundbolzen (G) und einer Nylonscheibe (C) an das Leitblech für die Auswurfschüte (F) undziehen Sie sie mit einer 14-20 Sicherungsmutter (K) fest an. Die Kabelose sitszt locker auf dem Bundbolzen.
- Bringen Sie die Feder (L) zwischen der Sechskantmutter (M) auf dem Kopf der Auswurfschüttendrehung und der Bohrung auf dem Leitblech für die Auswurfschüte an.

- Befestigen Sie die Hebelsteuerknöffe (N), indem Sie sie auf den Steuerhebeln (O) niederrücken.

Betrieb
Bevor Sie das Produkt starten
- Sorgen Sie dazu, dass sich im Arbeitsbereich keine Unbefugten oder Tiere aufhalten.
Warten Sie das Gerät tätig. Siehe Wartungsplan auf Seite 42. - Stellen Sie sichere, dass das Zündkabel ordnungsgemäß mit der Zündkerze verbunden ist.
- Fullen Sie Öl oder Benzin nach, falls erforderlich.
Siehe Technische Daten auf Seite 52.
So befulten Sie den Motor mit Öl

ACHTUNG: Drehen Sie auf keinen Fall den Ölmessstab, wenn Sie den Ölstand prufen. Nicht über die Füllstandsanzeige hinaus befüssen.
- Oleinfülldeckel abnehmer und den Messstab abwischen. Siehe Information zur Position Geräteübersicht auf Seite 28 des Messstabs.
- Füllen Sie Öl bis zur oberen Markierung am Messstab nach. Verwenden Sie den Messstab, um den Ölstand in regelmäßigen Abständen zu prufen.
- Setzen Sie den Öleinfüldeckel wieder an Ort und Stelle auf.
So füllen Sie Kraftstoff ein
Falls vorhanden, verwenden Sie schadstoffarmes Benzin/Alkylatbenzin. Wenn schadstoffarmes Benzin/ Alkylatbenzin nicht verfügbar ist, verwenden Sie ein qualitativ hochwertiges bleifreies Benzin oder verbleites Benzin. Verwendten Sie außerhalb Nordamerikas Benzin mit einer Oktanzahl von mindenstens 90 ROZ (87 AKI in Nordamerika) und mit einem Ethanolgehalt von maximal 10% (E10).

ACHTUNG: Verwenden Sie außerhalb Nordamerikas kein Benzin mit einer Oktanzahl von weniger als 90 ROZ (87 AKI in Nordamerika). Dies kann das Gerät beschädigen.
- Offnen Sie den Tankdeckel langsam, damit der Druck entweichen kann.
- Füllen Sie langsam mit einem Kraftstoffkanister auf. Wenn Sie Kraftstoff verschüten, entfern den Sie ihn mit einem Tuch und halten Sie den verbleibenden Treibstoff trocknen.
-
Säubern Sie den Bereich um den Tankdeckel herum.
-
Schrauben Sie den Kraftstofftankdeckel fest zu. Wenn der Tankverschluss nicht fest zugeschraubt ist, besteht Feuergefahr.
- Bewegen Sie das Produkt vor dem Starten mindestens 3 m von der Stelle fort, an der Sie den Tank befüllt hatten.
So stellen Sie die Auswurfschüte und das Leitblech für die Auswurfschüte ein
- Zum Einstellen Position der Auswurfschüte bewegen Sie den Betätigungshebel (A) für den Auswurfschacht nach hinten und nach links oder rechts.
- Zum Einstellen der Auswurfweite für den Schnee am Leitblech für die Auswurfschüte bewegen Sie den Prallblech-Fernsteuerhebel (B) nach unten, um die Auswurfweite zu verringn, und nach oben, um die Auswurfweite zu vermögen.

So lessen Sie den Motor an, Manuelles Anlassen des Motors
- Führer Sie den ON/OFF-Schlüssel (A) in das Zündschloss ein, bis er hörbar einrastet. Drehen Sie den Schlüssel nicht.

- Drehen Sie den ON/OFF-Schalter (F) für die Kraftstoffzufuhr in die Position ON.
- Stellen Sie den Gashebel (B) in die Position FAST für schnelles Fahren.
- Stellen Sie den ON/OFF-Schalter (C) in die Position ON (falls vorhanden).
a) Wenn der Motor kalt ist, drehen Sie den Choke (D) in die Position FULL und drücken die Primerpumpe (E) drei Mal.

ACHTUNG: Betätigten Sie die Primerpumpe nicht zu oft. Dies kann dazu führen, dass der Motor nicht startet. Falls die Primerpumpe zu oft betätig wurde, warten Sie eine Minute, bevor Sie versuchen, den Motor erneut zu starten, und drucken Sie während der Wartezeit die Primerpumpe nicht.
- Ziehen Sie den Startseilhandgriff (G).

ACHTUNG: Lassen Sie den Griff nicht Schnell los. Schieben Sie ihn zurück in die Stellung „slowly" (Start langsam).
Hinweis: Wenn das Startseil eingefroren ist, ziehen Sie langsam so viel Seil wie möglich aus dem Anlasser, und setzen Sie den Startseilhandgriff wieder los. Wenn der Motor nicht startet, wiederholen Sie den Vorgang oder verwenden elektrischen Anlasser.
- Wenn zum Anlassen des Motors der Choke verwendet wurde, schieben Sie den Chocke (D) langsam in die Position OFF.
- Lassen Sie den Motor 2 bis 3 Minuten im Leerlauf laufen, bevor Sie mit dem Schneeräumen beginnen.
- Wenn der Motor nicht wie gewünscht lauft, schalten Sieihn aus.
So lassen Sie den Motor an,
Elektrisches Anlassen des Motors

WARNING: Das Gerät besitzt einen 230 V elektrischen Anlasser, der mit Wechselstrom gespeist wird. Verwenden Sie den elektrischen Anlasser nicht, wenn Ihr Haus nicht über eine 230 VWechselspannungs-Schutzkontaktierung abgesichert ist. Schwere Verletzungen konnten die Folge sein, oder es konnten Schäden am Gerät auftreten. Der elektrische Anlasser verfügt über einen Schutzkontaktstecker und ist für die Verwendung mit 230 VHaushaltsstrom (Wechselstrom) vorgesehen. Stellen Sie safer, dass Ihr Haus über eine 230 V Wechselspannungs-Schutzkontaktierung abgesichert ist. Wenn Sie nicht sicheren sind, Fragen Sie eine Elektrofachkraft.
- Führer Sie den ON/OFF-Schlüssel (A) in das Zündschloss ein, bis er hörbar einrastet. Drehen Sie den Schlüssel nicht.
- Drehen Sie den ON/OFF-Schalter (F) für die Kraftstoffzufahr in die Position ON.
- Stellen Sie den Gashebel (B) in die Position FAST für schnelles Fahren.
- Stellen Sie den ON/OFF-Schalter (C) in die Position ON (falls vorhanden).
a) Wenn der Motor kalt ist, drehen Sie den Choke (D) in die Position FULL.
- Drucken Sie die Primerpumpe (E) drei Mal.

ACHTUNG: Betätigten Sie die Primerpumpe nicht zu oft. Dies kann dazu führen, dass der Motor nicht startet. Falls die Primerpumpe zu oft betätigst wurde, warten Sie einige Minuten, bevor Sie versuchen, den Motor erneut zu starten, und drücken Sie während der Wartezeit die Primerpumpe nicht.
- Schlieben Sie das Veränderungskabel an den auf dem Motor befindlichen Anschluss (G) an.
- Stecken Sie das andere Endes des Verlängerungskabels in eine 230 VWechselstrom-Schutzkontaktsteckdose ein.
- Drücken Sie die Taste für den Elektrostart (H) solange nieder, bis der Motor anspringt.

ACHTUNG: Versuchen Sie nicht, den Motor mehr als fünf Sekunden lang ununterbrochen zwischen jedem Startversuch anzulassen. Warten Sie zwischen jedem Versuch 5 bis 10 Sekunden.
- Wenn zum Anlassen des Motors der Choke verwendet wurde,{lassen Sie die Taste fur den Elektrostart los und schieben den Chocke (D) langsam in die Position OFF.

- Trennen Sie das Verlängerungskabel erst von der Steckdose und dann vom Motor.
- Lassen Sie den Motor 2 bis 3 Minuten im Leerlauf laufen, bevor Sie mit dem Schneeraumen beginnen.
So bedienen Sie das Gerät

ACHTUNG: Nehmen Sie das Gerät nicht ohne Schnee oder Wasser in Betrieb, daß eine Schmierung der Schneckenflügel nicht gewährleistet ist. Eine falsche Verwendung kann zu hohen Temperaturen an den Schneckenflügeln führen, insbesondere bei Neugeräten. Dies kann zu Schäden an der Förderschnecke und an der Schürfleiste führen.

ACHTUNG: Lassen Sie auf keinen Fall die Antriebs- oder Schneckenhebel über einen längeren Zeitraum aktiviert. Dies kann zu vorzeitigem Verschleib oder einem Verbrennen der Antriebsriemen führen.
Hinweis: Wenn sowohl die Antriebsaktivierung als auch die Schneckenaktivierung eingescheltet sind, verriegelt die Antriebskapplung die Schneckenkapplung in ihrer
Position. Mit der rechten Hand lasst sich der Auswurfsammler für den Schneeauswurf steuern.
Hinweis: Ändern Sie die Drehzahl nicht, wenn der Steuerhebel aktiviert ist. Dies kann zu Schäden am Getriebe führen.
- Zum Aktivieren der Schneckenflügel drücken Sie die Schneckenkupplung (A) in Richtung Griff, um die Schnecke zu aktivieren und Schnee zu räumen.

- Stellen Sie den Steuerhebel für die Antriebsdrehzahl (B) von der Mittelstellung nach oben, damit das Gerät vorwärts fahrht, wenn die Antriebsaktivierung (C) eingeschaltet ist. Ändern Sie die Drehzahl nicht, wenn der Steuerhebel aktiviert ist. Dies kann zu Schäden am Getriebe führen.
- Stellen Sie den Steuerhebel für die Antriebsdrehzahl von der Mittelstellung nach unten, damit das Gerät rückwärfs fahrht, wenn die Antriebsaktivierung eingeschaltet ist.

-
Damit das Gerät in die gewährte Richtung fahr, mussen Sie die Antriebsaktivierung (C) gegen den Griff gedrückt halten.
-
Wenn das Gerät mit einer Servolenkung ausgestattet ist, halten Sie den linken Lenkhebel (D) gedrückt, um nach links zu fahren. Halten Sie den rechten Lenkhebel gedrückt, um nach rechts zu fahren.

So stoppen Sie das Gerät
- Bewegen Sie den ON/OFF-Schalter in die Position OFF.
- Ziehen Sie den ON/OFF-Schlüssel ab.
So verwenden Sie den Gashebel
- Drehen Sie am Gashebel (A), um so Sie die Höhe des Kraftstoffverbrauchs zu ändern. Lassen Sie den Motor stets mit Vollgas laufen.

So verwenden Sie den Kraftstoffschalter
- Drehen Sie den Kraftstoffschalter, um das Kraftstoffventil zu öffnen oder zu schlieben. Betreiben Sie das Gerät mit dem Kraftstoffschalter in der geöffneter Stellung.

So verwenden Sie den Choke-Hebel
- Drehen Sie den Choke (A), um die Drosselluftklappe zu öffnen oder zu schlieben. Nutzen Sie zum Starten eines kalten Motors den Choke.

So stellen Sie die Gleitplatten ein
Für die normale Installation ist kein Einstellen erforderlich.
-
Wenn die Sicherungsmutter (B) locker ist oder die Gleitplatte (A) nichtweit genug vom Boden entfernt ist, losen Sie die Sicherungsmutter (B) mit einem 13-mm-Gabelschluss, um die Gleitplatte nach oben oder unter zu verschieben.
-
Auf ebenen Flächen, wie etwa auf asphaltierten Straβen, haben Sie die Gleeplatten (A) 5-6 mm (0,2-0,25 in) vom Boden an. Vergröbern Sie auf unebenen Flächen, wie etwa auf bekiesten Straβen, den Abstand zwischen Boden und Gerät. Bringen Sie die Schürfleiste mithilfe der Gleeplatten bis oberhalb der Oberkante der Kiesschicht. Stellen Sie sicher, dass Kies und Steine nicht in das Gerät gelangen können. Es kann zu Verletzungenkommen, wenn Gegenstände mit hoher Geschwindigkeit ausgeworfen werden.
-
Ziehen Sie die Sicherungsmutter an.

So schützen Sie das Gerät nach Gebrauch vor dem Einfrieren
Hinweis: Bedienelemente und bewegliche Teile konnen durch Eis blockiert sein. Wenden Sie nicht viel Kraft auf die Bedienelemente an. Wenn Sie eine Steuerung oder ein Bauteil nicht bedienen konnen, starten Sie den Motor und lassenihn eine Minute laufen.
- Starten Sie den Motor, und{lassen Sie ihn eine Minuten im Leerlauf laufen. Stoppen Sie den Motor, und warten Sie, bis alle beweglichen Teile zum Stillstand gekommen sind.
- Entfernen Sie Schnee und loses Eis vom Gerät.
- Entfernen Sie Schnee und loses Eis im unteren Bereich des Auswurfsammlers.
- Drehen Sie das Prallblech des Auswurfsammlers nach links und rechts, um Eis und Wasser zu entfern.
- Ziehen Sie den Schlüssel ab, oder schalten Sie den Schalter in die Position OFF (falls vorhanden).
- Wenn das Gerät nicht über einen elektrischen Anlasser verfügbar, ziehen Sie den Startseilhandgriff mehrere Male, um Eis und Wasser zu entfernen.
- Wenn das Gerät über einen elektrischen Anlasserverfügt, schließen Sie das Gerät an die Stromversorgung an und drücken die Taste für den Elektrostart einmal, um Eis und Wasser zu entfernen.
So erhalten Sie ein gutes Arbeitsergebnis
- Lassen Sie den Motor stets mit Vollgas oder fast mit Vollgas laufen.
Passen Sie die Drehzahl des Geräts immer den Schneeverhältnissen und regeln Sie die Drehzahl mit dem Drehzahlregelungshebel. Stellen Sie safer, dass das Gerät den Schnee gleichmäßig auswirft. - Es ist einfacher und effizienter, den Schnee sofort zu räumen, nach dem er gefallen ist.
-
Achten Sie darauf, dass der Schnee vom Gerät möglichst in Windrichtung ausgeworfen wird.
-
Auf ebenen Flächen, wie etwa auf asphaltierten Straßen, haben Sie die Gleichplatten bis auf 5-6 mm (0,2-0,25 in) vom Boden an.
-
Die Schürfleiste ist umdrehbar. Wenn sie bis fast an die Gehäusekante verschlissen ist, drehen Sie sie um. Ersetzen Sie die Schürfleiste, falls diese beschädigt ist oder wenn beiden Seiten verschlissen sind.
-
Nehmen Sie das Leitblech für die Auswurfschüttne nicht ab, wenn es verstoptf ist.
- Wenn das Gerät aus unvorhersehbaren Gründen nicht vorwärts fahrht, setzen Sie die Antriebsaktivierungsofar los oder bringen Sie den EIN-/AUS-Schlüssel in Stellung OFF.
Wartung
Einleitung
Wenn das Gerät im Einsatz ist, können sich Schrauben losen und Baugruppen konnen verschreiben. Dies kann zu Störungen, wie z. B. zu einem falschen
Passungsspiel, einem erhöhten Ölverbrauch oder zu einer falschen Ausrichtung der verschiedene Baugruppen führen. Führn Sie regelmäßig Wartungsarbeiten am Gerät durch, um Störungen zu vermeiden.
Wartungsplan
| Wartung Täglich 20 Stunden 50 Stunden 100 Stunden | |||
| Überprüfen Sie, dass alle Muttern und Schrauben angezo-gen sind | X | ||
| Kontrollieren Sie den Motorölstand | X | ||
| Führten Sie einen Ölwechsel durch6 | XXXX | ||
| Stellen Sie safer, dass keine Kraftstoff-oder Ölleckagen vorhanden sind | X | ||
| Entfernen Sie Ver-stopfungen und Fremdkörper aus der Schnecke | X | ||
| Prüfen Sie den Rei-fendruck7 | X | ||
| Prüfen und wechseln Sie die Zündkerze8 |
Hinweis: Es ist nicht erforderlich, Schmierfett auf das Getriebe aufzufullen oder sonstige Wartungsarbeiten am Getriebe durchzufahren.
So führen Sie eine allgemeine Inspektion durch
- Stellen Sie sicher, dass die Muttern und Schrauben am Produkt nicht beschädigt sind.
So prufen Sie den Ölstand

ACHTUNG: Ein zu niedriger Ölstand kann den Motor beschädigten. Prufen Sie den Ölstand, bevor Sie das Produkt starten.
- Stellen Sie das Produkt auf einer ebenen Fläche ab.
-
Entfernen Sie den Öltankverschluss mit dem beigeführten Messstab.
-
Reinigen Sie den Messstab von Öl.
- Tauchen Sie den Messstab vollständig in den Ölbehälter ein, um ein korrektes Bild über den Ölstand zu erhalten.
- Entfernen Sie den Messstab.
- Prufen Sie den Ölstand am Messstab.
- Wenn der Ölstand zu niedrig ist, fullen Sie Motoröl ein, und kontrollieren Sie den Ölstand erneut.
So wechseln Sie das Motoröl
- Lassen Sie den Motor ein paar Minuten laufen, damit sich das Öl erwartmt. Warmes Öl fließt better ab und nimmt mehr Verunreinigungen auf.

WARNING: Das Motoröl ist frei. Vermeiden Sie Hautkontakt mit gebrauchtem Motoröl.
- Stellen Sie das Produkt auf einer ebenen Fläche ab.
- Ziehen Sie den EIN-/AUS-Schlüssel ab.
- Stellen Sie einen Behälter unter den Ölablasshahn.
- Entfernen Sie den Ölablasshahn, kippen Sie das Gerät an und setzen Sie das Altöl in einen Behälter fließen.
- Bringen Sie das Gerät wieder in die Betriebsposition.
- Bringen Sie den Ölablasshahn an undziehen Sie ihn mit der Hand an.
- Füllen Sie Öl auf den Motor auf, siehe dazu So befüssen Sie den Motor mit Öl auf Seite 37.
So schmieren Sie das Gerät
- Schmieren Sie die Drehpunkte (A) mit Öl.
Schmieren Sie den Motor (B) mit Öl.
Tragen Sie zu Beginn jeder Saison oder alle 25 Betriebsstunden etwas Lithiumfett auf die Verriegelungsgaben (C) auf.

Schalldampfer
Der Schalldampfer sentk den Gerauschpegel so weit wie möglich und halt die Abgase des Motors vom Anwender fern.
Verwenden Sie das Gerät nicht, wenn der Schalldämpfer feht oder defekt ist. Ein defekter Schalldämpfer erhöht den Gerauschpegel und die Brandgefahr.
Überprüfen Sie den Schalldämpfer regelmäßig, um sicherzustellen, dass er richtig angebracht und nicht beschadigt ist.

ACHTUNG: Der Schalldampfer wird während und nach Gebrauch und wenn der Motor im Leerlauf lauft, sehr heißt. Seien Sie in der Nähe von entzündlichen Materialien und/oder Dampfenalanders vorsichtig, um Brandgefahr zu verhindern.
So überprüfen Sie die Zündkerze

ACHTUNG: Verwenden Sie stets den vom Hersteller empfohlenen Zündkerzentyp! Die Verwendung eines falschen Zündkerzentyps kann zu Schaden am Gerät führen.
- Überprüfen Sie die Zündkerze, wenn der Motor nur schwache Leistung bringt, sich nur schwer starten{lásst oder im Leerlauf nicht ordnungsgemäß Funktioniert.
- Wenn Sie diese Anweisungen befolgen, verringern Sie die Gefahr von unerwünschtem Material an den Elektroden der Zündkerze:
a) Stellen Sie sicher, dass die Leerlaufdrehzahl richtig eingestellt ist.
b) Vergewissern Sie sich, dass das Kraftstoffgemisch korrekt ist.
c) Vergewissern Sie sich, dass der Luftfilter sauber ist.
- Ist die Zündkerze verschmutzt, so ist sie zu reinigen; gleichzeitig ist zu prufen, ob der Elektrodenabstand korrekt ist, siehe Technische Daten auf Seite 52.

Tauschen Sie die Zündkerze bei Bedarf aus.
So kontrollieren Sie Schnecken und Schürfleiste
-
Führer Sie vor jedem Gebrauch eine Verschleibkontrolle der Schnecken und der Schürfleiste durch.
-
Wenn die Kante der Schürfleiste verschlissen ist, drehen Sie die Schürfleiste um. Wenn die Schürfleiste Beschädigungen aufweist oder an beiden Kanten verschlissen, ersetzen Sie sie.
- Wenn die Kanten der Schnecken verschlüssen sind, wenden Sie sich an ein autorisiertes Service Center, damit die Schnecken ersetzt werden.
So ersetzen Sie die Schnecken-Scherbolzen
Die Schnecken-Scherbolzen schützen das Produkt vor Beschädigungen. Die Schnecken-Scherbolzen brechen, wenn ein Objekt in die beweglichen Teile gelangt.

ACHTUNG: Verwenden Sie ausschließlich die Original-Scherbolzen, die mit dem Produkt gefleiert werden.
- Wenn ein Schnecken-Scherbolzen bricht, stellen Sie den Motor ab und warten Sie, bis die beweglichen Teile stillstehen.
- Ziehen Sie den EIN-/AUS-Schlüssel ab und trennen Sie das Zündkerzenkabel.
- Richten Sie die Bohrung in der Schneckennabe (B) an der Bohrung der Schneckenwelle (C) aus und installieren Sie einen neuen Scherbolzen (1 / 4 - 20× 2) A).
- Installieren Sie eine Sicherungsmutter (1% -20) (D) undziehen Sie sie an.

- Stecken Sie den EIN-/AUS-Schlüssel in die Zündung und schreiben Sie das Zündkerzenkabel an der Zündkerze an.
So ersetzen Sie die Lufterrad-Scherbolzen
Die Lüfterrad-Scherbolzen schätzen das Produkt vor Beschädigungen. Die Lüfterrad-Scherbolzen brechen, wenn ein Object in die beweglichen Teile gelamt.

ACHTUNG: Verwenden Sie ausschließlich die Original-Scherbolzen, die mit dem Produkt geliefert werden.
- Wenn ein Lüfterrad-Scherbolzen bricht, stellen Sie den Motor ab und warten Sie, bis die beweglichen Teile stillstehen.
- Ziehen Sie den EIN-/AUS-Schlüssel ab und trennen Sie das Zündkerzenkabel.
- Richten Sie die Bohrung in der Luftraddnabe (A) an den Bohrungen der Luftradwelle (B) aus und installieren Sie einen neuen Scherbolzen (14 - 20) C
- Installieren Sie eine Sicherungsmutter (1/4-20) (D) am Scherbolzen undziehen Sie sie an.

- Stecken Sie den EIN-/AUS-Schlüssel in die Zündung und schreiben Sie das Zündkerzenkabel an der Zündkerze an.
So prufen Sie die Bereitung
- Vermeiden Sie, dass die Reifen mit Kraftstoff, Öl und Chemikalien in Berührung kommt, damit der Gummi keinen Schaden nimmt.
- Vermeiden Sie den Kontakt der Reifen mit Baumstümpfen, Steinen, Spurrillen, scharfen Gegenständen oder anderen Gegenständen, die zu Schaden an den Reifen führen können.
- Verwenden Sie immer den richtigen Reifendruck, siehe Technische Daten auf Seite 52
So beseitigen Sie eine Verstopfung am Leitblech für die Auswurfschütte
Beseitigen Sie niemals eine Verstopfung am Leitblech für die Auswurfschüte, bevor die nachfolgenden genannten Arbeiten vorgenommen wurden.
- Losen Sie Schneckenaktivierung und Antriebsaktivierung gleichzeitig.
- Warten Sie 10 Sekunden um sicherzugehen, dass die Schnecken zum Stillstand gekommen sind.
- Halten Sie das Gerät an.
- Verwenden Sie das Reinigungswerkzeug (mindestens 15 Zoll lang, bei einigen Modellen im Lieferumfang enthalten) zum Beseitigen der Verstopfung.

WARNING: Achten Sie darauf, dass ihre Höhe nicht in das Innere des Leitblechs für die Auswurfschüte oder in das Schneckengehäuse gelangen.
So wechseln Sie die Schürfleiste
- Bringen Sie die Schürfleiste (A) in umgekehrter Position an, wenn sie bis an die Gehäusekante verschlissen ist.

- Ersetzen Sie die Schürfleiste, wenn sie auf beiden Seiten verschlissen ist oder wenn sie beschädigt ist.
Treibriemen

WARNING: Die Keilriemen an Ihrem Gerät sind eine Spezialausführung und müssen durch Keilriemen vom Originalhersteller (OEM) ersetzt werden, die im Service Center in Ihrer Höhe erhältlich sind. Die Verwendung anderer als der Keilriemen vom Originalhersteller kann zu Verletzungen führen oder Schaden am Gerät verursachen.

WARNING: Um den Riemen ersetzen zu können, muss das Gerät zerlegt werden. Beim Trennen des Schneckengehauses vom Rahmen ist es wichtig, dass eine zweite Person in der Betriebsposition steht und die Gerätegriffe festhalten. Wenn das Gerät während des Ersetzungsvorgangs umstürzt, können sich Personen schwer verletzen
und/oder es konnen Schaden am Gerat aufreten.
Hinweis: Die Schnecke und die Fahrnantriebsriemen sind nicht einstellbar. Ersetzen Sie die Riemen, wenn diese beschadigt sind oder aufgrund von Verschleib zu rutschen beginnen. Es wird empfohlen, die Riemen durch ein qualifiziertes Service Center ersetzen zu halten.
Hinweis: Es wird empfohlen, den Treibriemen und den Schneckenriemen gleichzeitig zu ersetzen.
So bereiten Sie den Austausch der Riemen vor
- Leeren Sie den Kraftstofftank.
- Losen Sie die Sicherungsmutter (A) zur Befestigung des Kopfes der Auswurfschüttendrehung (B) an der Halterung (C), um die Auswurfschüte zu entfern.

- Losen Sie die beiden Schrauben (A), mit denen die Riemenabdeckung (B) am Rahmen (C) befestigt ist, und entfern den Sie die Riemenabdeckung.

So entfern den Sie den Treibriemen
- Entfernen Sie den Schneckenriemen. Siehe So bauen Sie den Schneckenriemen aus auf Seite 47.
- Entfernen Sie die Riemenspannfeder (A), die sich am Arm (B) des Treibriemenspanners befindet.

- Entfernen Sie die Rückholfeder (C), die die Schwenkplatte (D) in ihrer Einbaulage hält.
- Entfernen Sie die Schraube (E) des Arms für den Treibriemenspanner.
- Entfernen Sie die Schraube (F) der Riemenscheibe, die Riemenscheibe (G) des Motors und den Treibriemen (H) vom Motor.
- Entfernen Sie die obere Schraube (I), mit der die Schwenkplatte am Rahmen befestigt ist.
- Schwenken Sie die Schwenkplatte vom Gerät weg, halten Sie sie in dieser Position und nehmen Sie den Treibriemen von der Treibriemenscheibe (J) ab.
So installieren Sie den Treibriemen
- Schwenken Sie die Schwenkplatte (D) vom Gerät weg, halten Sie sie in dieser Position.

- Setzen Sie den Treibriemen (H) auf die Riemenscheibe (J) auf.
Hinweis: Stellen Sie vor dem Absenken der Schwenkplatte sicher, dass der Treibriemen richtig in der Nut der Riemenscheibe sitzt.
- Montieren Sie die obere Schraube (I) undziehen Sie diese fest an.
- Setzen Sie den Treibriemen in die Nut der Motorriemenschlee (G), bevor Sie diese auf die auf der Motorwelle montieren.
- Installieren Sie die Schraube (F) der Riemenscheibe und bringen Sie die Motorriemenscheibe auf dem Motor an. Ziehen Sie die Schraube der Riemenscheibe an (30 bis 35 Ft.Lbs (41-47 Nm).
- Installieren Sie den Arm (B) für den Treibriemenspanner undziehen Sie die Schraube (E) für den Arm auf dem Motor fest an.
- Installieren Sie die auf der Schwenkplatte befindliche Rückholfeder (C).
- Montieren Sie die auf dem Arm des Riemenspanners befindliche Spannfeder (A).
- Betätigten Sie alle Bedienelemente, um sicherzustellen, dass der Treibriemen ordnungsgemäß installiert ist und dass der Bewegungsablauf aller Bausgruppen ordnungsgemäß Funktioniert.
So installieren Sie die Riemenabdeckung
- Installieren Sie die Riemenabdeckung (B) auf dem Rahmen (C) undziehen Sie die beiden Schrauben (A) an.

- Bringen Sie die Auswurfschüte an.
So bauen Sie den Schneckenriemen aus
- Entfernen Sie die 5/16"-Schrauben (A) und die unteren 14 -Schrauben (B) von den 2 Seiten der Rahmenbaugruppe. Bewahren Sie die Schrauben auf.

- Lösen Sie die unteren 5/16"-Schrauben (C) an den 2 Seiten der Rahmenbaugruppe, aber entfern den Sie diese nicht.
- Entfernen Sie den Schneckenriemen von der Riemenscheibe.
- Neigen Sie den hinteren Teil nach unten. Der vordere Teil wird gleichzeitig nach vorn geneigt. Dieunte Schraube (C) dient als Scharnier zwischen dem vorderen und hinteren Teil.
- Legen Sie einen Holzkeil unter den Drehpunkt, um das Gerät in der geneigten Position aufzustellen.
- Bewegen Sie den Spannarm des Schneckenriemens und entfernen Sie den Schneckenriemen vom Arm.
So installieren Sie den Schneckenriemen
- Bewegen Sie den Riemenspannarm und bringen Sie den Schneckenriemen um und in der Nut der Schneckenscheibe an.

ACHTUNG: Stellen Sie sicher, dass der Riemen beim Zusammenbau den Teile nicht zwischen dem Rahmen und dem Schneckenengehäuse eingeklemmt wird.
- Entfernen Sie den Holzblock.
- Heben Sie den Griff an, um den hinteren Teil nach oben zu neigen. Der vordere Teil klapt nach halten und dreht sich, damit der wichtere Teil befestigt wird.
-
Stellen Sie sicher, dass sich der Riemen ordnungsgemäß in der Nut der Riemenscheibe befindet.
-
Installieren Sie die 5/16"-Schrauben (A), (C) undziehen Sie sie an (11-16 Nm).

- Installieren Sie die 1/4 "Schrauben (B) undziehen Sie sie an (5 - 8Nm)
- Installieren Sie den Schneckenriemen an der Riemenscheibe. Stellen Sie safer, dass der Riemen ordnungsgemäß um die Riemenscheibe angebracht ist und korrekt in der Nut der Motorriemenscheibe sitzt.
- Betätigten Sie alle Bedienelemente, um sicherzustellen, dass der Schneckenriemen richtig installiert wurde und sich alle Komponenten ordnungsgemäß bewegen.
So stellen Sie die Spannung des Kabels für das Leitblech für die Auswurfschüte ein
- Losen Sie die Gegenmuttern (B) zum Einstellen der Spannung des Kabels für die Auswurfschüte, die sich darüber dem Spannerschloss (A) befindet.

-
Halten Sie das kürzere Stück fest und drehen Sie das lange Stück, um die Spannkraft am Spanner zu erhöhen.
-
Nehmen Sie die Einstellung solange vor, bis das für das Leitblech der Auswurfschütte (C) passgenausitzt. Ziehen Sie die Gegenmattern an.
So stellen Sie das Steuerkabel der Schnecke ein
Hinweis: Wenn Sie diese Anpassung nicht selbst vornehmen sollen, wenden Sie sich an eine autorisierte Kundendienstelle. Wenn die Drehung des Lüfterrads oder der Schnecke bei Betätigung des Schneckensteuerhebels schwergängig ist oder der Keilriemen der Schnecke ersetzt wurde, konnen Anpassungen notwendig sein.
- Losen Sie die Gegenmattern (B) geben dem Drehverschluss (A), um die Spannung des Schneckensteuerkabels (D) anzupassen.

-
Halten Sie den kurzen Abschnitt fest und drehen Sie den langen Abschnitt. Drehen Sieihn um 360 Grad.
-
Testen Sie die Betätigung der Schnecke.
Wiederholen Sie die Anpassung, bis beim Ausrücken des Hebels nur noch weniger Spannung im Kabel vorhanden ist. -
Ziehen Sie dieunte Gegenmutter an,um die Spannung festzulegen.
-
Eine zweite Person sollte gegenüber der Schütte in einem Abstand von 3 Metern vor dem Produkt stehen. Diese Person beobachtet die Drehung der Schnecke und misst die Zeit, die vom Loslassen des Hebels bis zum Stillstand der Schnecke vergeht. Wenn die Schnecke nach 5 Sekunden zum Stillstad kommt, stellen Sie das Kabel durch eine vollständige Umdrehung des mittleren Zylinders so ein, dass der Spanner versturdt. Betätigten Sie die Schnecke erneut und messen Sie die Zeit bis zum Stillstand noch einmal. Wenn die Schnecke in weniger als 5 Sekunden zum Stillstand kommt, fahren Sie mit dem nachsten Schritt fort.
-
Ziehen Sie die Gegenmutter am Schneckenkabel an.
Hinweis: Wenn der Einstellvorgang das Problem nicht beseitigt, ersetzen Sie den Keilriemen der Schnecke. Siehe So bauen Sie den Schneckenriemen aus auf Seite 47.
So entfernen Sie die Räder
- Entfernen Sie den Radbolzen (A) und den Haltebolzen (B).
- Entfernen Sie das Rad von der Achse (C).

So reinigen Sie das Gerät
- Kunststoffeile mit einem sauberen und trockenen Tuch reinigen.
- Reinigen Sie das Gerät nicht mit einem Hochdruckreiniger.
- Lassen Sie kein Wasser direkt auf den Motor gehalten.
- Verwenden Sie einen Pinsel, um Blätter, Gras und Schmutz zu entfern.
Fehlerbehebung
Fehlerbehebung
| Störung Mögliche | Ursache Lösung | |
| Das Gerät springt nicht an | Der Sicherheitszündschlüssel ist nicht eingesteckt. | Stecken Sie den Sicherheitszündschlüssel ein. |
| Das Gerät erhält keinen Kraftstoff. Fülten Sie frischchen sauberen Kraftstoff in den Kraftstofftank. | ||
| Der EIN-/AUS-Schlüssel befindet sich in Stel-lung OFF. | Bringen Sie den EIN-/AUS-Schlüssel in die Stellung ON. | |
| Der Choke befindet sich in Stellung OFF(CLOSE). | Bringen Sie den Choke in die Stel-lung ON (FULL, OPEN). | |
| Der Primer ist nicht gedrückt. Drücken Sie den Primer. | ||
| Der Motor hat zuviel Kraftstoff gekommen. Warten Sie eine Minute, bevor Sie neu starten. Drücken Sie die Primer-pumpe nicht.Starten Sie den Motor neu und las-sen Sieihn bei Vollgas laufen. Der Choke muss sich damit in Stellung OFF (CLOSE) befinden. | ||
| Das Zündkerzenkabel ist nicht angeschlossen. Verbinden Sie das Kabel mit der Zündkerze. | ||
| Die Zündkerze ist defekt. Tauschen Sie die Zünd-kerze aus. | ||
| Es befindet sich Wasser im Kraftstoff oder der Kraftstoff ist zu alt. | Leeren Sie den Kraftstofftank und den Vergaser. Fülten Sie frischen sauberen Kraftstoff in den Kraftstoff-tank. | |
| In der Kraftstoffleitung befinden sich Dämpfe. Stellen Sie sicher, dass die die ge-samte Kraftstoffleitung unterhalb des Kraftstofftankauslasses verläuft. Die Kraftstoffleitung muss vom Kraftstoff-tank zum Vergaser durchgehend in Abwärtsrichtung verlaufen. | ||
| Sonstige Ursachen. Prüfen Sie die Vorgehensweisen zum Anlassen, wie in thisem Hand-buch beschrieben, sorgfällig. | ||
| Der Kraftstoffschalter (je nach Ausstattung) be-findet sich in Stellung CLOSE (OFF). | Bringen Sie den Kraftstoffschalter in die Stellung OPEN (ON). | |
| Der Gashebel befindet sich in Stellung STOP. Brinngen Sie den Gashebel in die Stellung FAST. | ||
| Störung möglich | Ursache Lösung | |
| Eingeschränkte Leistung DasZündkerzenkabel ist nicht angeschlossen. Verbänden Sie das Kabel mit derZündkerze. | ||
| Das Gerät wirft zu viel Schnee aus. Verringern SieDrehzahl und Räum-breite. | ||
| Der Kraftstoffdeckel ist mit Eis oder Schneebedeckt. | Entfernen Sie das Eis und den Schnee auf dem und um den Kraft-stoffankdeckel herum. | |
| Der Schalldämpfer ist verschmutzt oder ver-stopft. | Reinigen oder wechseln Sie den Schalldämpfer. | |
| Falsche Kabellänge. Stellen Sie das Kabel ein. | ||
| Der Schalldämpfer ist verstopft. Stellen Sie sich, dass der Motor kalt ist. Beseitigen Sie die Verstop-fung. | ||
| Der Luftinlass des Vergasers ist verstopft. Stellen Sie sich, dass der Motor kalt ist. Beseitigen Sie die Verstop-fung. | ||
| Motor lauft im Leerlauf oder unregelmäßig (stot-tert). | Der Choke befindet sich in Stellung ON (FULL, OPEN). | Bringen Sie den Choke in die Stel-lung OFF (CLOSE). |
| Die Kraftstoffleitung ist verstopft. Reinigen Sie dieKraftstoffleitung. | ||
| Es ist Wasser im Kraftstoff- oder der Kraftstoffist zu alt. | Leeren Sie den Kraftstoffank und den Vergaser. Befüllen Sie den Tank mit frischchem sauberen Kraftstoff. | |
| Der Vergaser muss ausgetauscht werden. Wendeln Sie sich an ein autorisiertes Service Center. | ||
| Der Riemen hat sich geheht. So ersetzen Sie den Keilriemen der Schnecke. | ||
| Starke Vibrationen / derHandgriff bewegt sich | Einige Teile sind lose. Die Schnecke ist beschädigt. | Alle Schrauben anziehen. Ersetzen Sie die beschädigten Teile. Wenn die Vibrationen weiterhin auftreten, wen-den Sie sich an ein autorisiertes Service Center. |
| Die Griffe wurden nicht richtig positioniert. Stellener Sie sich, dass die Griffe in der richtigen Position verriegelt sind. | ||
| Die Muttern des Einstellhebels haben sich ge-lockert. | Ziehen Sie die Muttern an, bis ihren der Griff ein sicheres Griffgeführ ist. | |
| Der Startseilhandgriff{lattachsicherziehen | Der Startseilhandgriff ist eingefroren. Ziehen Sieangsam soviel wie mö-glich Seil aus dem Anlasser und las-sen Sie den Startseilhandgriff wieder los. Wenn der Motor nicht startet, wiederholen Sie den Vorgang oder nutzen Sie den elektrischen Anlass-er. | |
| Das Startseil befindert sich gegenüber mit an-deren Bauteilen. | Das Startseil soll nicht mit Kabeln oder Schläuchen in Verbindung kom-men. | |
| Störung Mögliche | Ursache Lösung | |
| Verlust des Fahrantries/Verlangsamung der An-triebsgeschwindigkeitEs wird nicht mehr genü-gend Schnee ausgewor-ifen oder der Auswurf des Schnees ist verlangsamt | Der Riemen rutsch durch. Justieren Sie das Kabel. Stellen Sieden Riemen ein. | |
| Der Riemen ist verschlissen. Prüfen/ersetzen Sie | den Riemen.Stellen Sie die Riemenscheibe ein. | |
| Der Riemen befindet sich nicht mehr auf der Riemenscheibe. | Prüfen Sie den Riemen und bauen Sieihn wieder ein. Stellen Sie die Riemenscheibe ein. | |
| Das Leitblech für die Auswurfschüte ist ver-stopf. | Reinigen Sie das Leitblech für die Auswurfschüte. | |
| Fremdkörper verstopfen die Schnecken. Entfernen | Sie den Schmutz bzw. die Fremdkörper von den Schnecken. | |
| Der Scherbolzen ist gebrochen. Ersetzen Sie den | gebrochenenScherbolzen. | |
| Zu viel Schnee und Eis zwischen den Raupenk-componenten. | Bitte entfernen Sie den Schnee und das Eis zwischen den Raupenk-componenten. | |
| Das Reibungsantriebsrad ist verschlissen. Wendern | Sie sich an ein autorisiertes Service Center. | |
| Die Reibscheibe ist nass Lassen Sie die Reibscheibe trocknen | ||
| Die Schnecke dreht sich nach Loslassen des Griffs nicht | Der Treibriemen ist nicht korrekt ausgerichtet. Stellen Sie den Treibriemen ein. | |
| Das Leitblech für die Auswurfschüte ist nicht korrekt ausgerichtet. | Stellen Sie das Leitblech für die Auswurfschüte ein. | |
| Die LEDs (sofern vorhan-den) sind nicht in Betrieb | Der Motor lauft nicht. Starten Sie den Motor. | |
| Die Kabelverbindung hat sich gelockert. Überprüften Sie die Kabelverbindun-gen am Motor und an den Leuchten. | ||
| Die LED ist durchgebrannt. Ersetzen Sie das LED-Leuchtenmodul. Einzelne LEDs können nicht er-setzt werden. | ||
| Die Auswurfschüttendrehung lässt sich nur schwer bewegen | Der Mechanismus der Auswurfschüttendrehung ist verschmutzt. | Reinigen Sie die innenliegenden Bauteile des Mechanismus der Auswurfschüttendrehung. |
| Die Kabel weisen Knicke oder Beschädigungen auf. | Stellen Sie safer, dass die Kabel nicht geknicht sind. Ersetzen Sie die beschädigten Kabel. | |
| Das Gerät zieht beim Fah-ren nach einer Seite | Der Reifendruck ist nicht auf beiden Seiten identisch. | Passen Sie den Reifendruck an und fällen Sie Luft auf die Reifen auf. |
| Das Gerät fahrmit nur einem Rad. Prüfen Sie den Sicherungsstift der Reifen. | ||
| Ungleichmäßige Einstellung des Schlittens. Stellen Sie die Gleitplatten und den Schlitten ein. | ||
| Ungleichmäßige Einstellung der Gleitplatten. Stellen Sie die Gleitplatten und den Schlitten ein. | ||
Transport, Lagerung und Entsorgung
Transport und Lagerung
- Für die Lagerung und den Transport des Produkts und des Kraftstoffs ist darauf zu achten, dass keine Lecks oder Dämpfe vorhanden sind. Funken oder offene Flammen, zum Beispiel von elektrischen Geräten oder einem Boiler, können ein Feuer auslösen.
- Verwenden Sie für die Lagerung und den Transport von Kraftstoff immer zugelassene Behälter.
- Leeren Sie den Kraftstofftank, bevor Sie das Produkt über einen längeren Zeitraum einlagern. Entsorgen Sie den Kraftstoff in einer geeigneten Abfallentsorgungsstelle.
-
Sichern Sie das Produkt während des Transports ab, um Schäden und Unfälle zu vermeiden.
-
Bewahren Sie das Produkt in einem verschlossenen Bereich auf, um einen unerlaubten Zugriff durch Kinder oder andere Personen zu verhindern.
- Bewahren Sie das Produkt an einem trockenen und frostfreiern Raum auf.
Entsorgung
- Befolgen Sie die örtlichen Recyclinganforderungen und geltenden Vorschriften.
- Entsorgen Sie alle Chemikalien, z. B. Motoröl oder Kraftstoff, in einer Servicewerkstatt oder in einer geeigneten Abfallentsorgungsstelle.
- Wenn Sie das Produkt nicht mehr benutzen, senden Sie es an einen Husqvarna Handler oder entsorgen Sie es in einer Wiederverwertungsanlage.
Technische Angaben
Technische Daten
Hinweis: Bei allen Daten, Bildern und Spezifikationen handelt es sich um typische Angaben, die nur als
Referenz dienen und im Zuge von Geräteverbesserungen ohne vorherige Ankündigung geändert werden können.
| ST 224 ST 227P ST 230P | |||
| Abmessungen | |||
| Gewicht, lb/kg 198,6/90 212/96 237,8/108 | |||
| Max. Betriebsreifendruck, PSI 18 18 20 | |||
| Motor | |||
| Marke/Modell LCT LCT LCT | |||
| Hubraum, cm3 208 254 291 | |||
| Kraftstofftyp Bleifrei, normal (max. 10 % Ethanol) | |||
| Kraftstofffällenge, Gallonen/Liter 0,31/1,17 0,35/1,33 0,62/2,35 | |||
| Öl SAE 5W30 (unter 0 °C (32°F)) | |||
| Ölfällenge Unzen/Liter 16/0,47 | 20/0,59 | 32/0,95 | |
| Elektrisches System | |||
| Zündkerze | F6RTC oder F7RTC, Elektrodenabstand: 0,030" (0,762 mm) | ||
| Gerauschemissionen9 | |||
| Schalleistungspegel, gemessen in dB(A) | 105 105 105 | ||
| Schalleistungspegel, garantiert LWA dB(A) | 105 105 105 | ||
| Schallpegel | |||
| ST 224 ST 227P ST 230P | |||
| Schalldruckpegel am Ohr des Bedieners, dB(A) | 88,4 88,4 88,4 | ||
| \( Vibrationspegel, a_{hveq}^{10} \) | |||
| Vibrationspegel am Griff, m/s2 | 5,74 4,89 4,66 | ||
EG-Konformitätserklärgung
INHALT DER EU-KONFORMITÄTSERKLÄRUNG
Wir, Husqvarna, SE-561 82 Huskvarna, SCHWEDEN, erklaren in alleiniger Verantwortung, dass das Gerät Folgendem genegt:
| Beschreibung Schneefräge | |
| Marke Husqvarna | |
| Plattform/Typ/Modell ST 224, ST 227P, ST 230P | |
| Charge Seriennummer ab 2018 |
Es erfüllt die folgenden EU-Vorschriften und -Richtlinien:
| Richtlinie/Verordnung Beschreibung | |
| 2006/42/EG „bezüglich Maschinenrichtlinie“ | |
| 2014/30/EG „bezüglich EMV-Richtlinie“ | |
| 2000/14/EG, 2005/88/EG „bezüglich Richtlinie über umweltabelastende Gerausche-missionen“ |
Harmonisierte Normen und/oder technische
Spezifikationen gelten wie folgt:
Die im Abschnitt „Technische Daten" in dieser
Bedienungsanleitung und in der signierten EU
Konformitätserklarung angegebenen Schallwerte
entspruchen der EU-Richtlinie 200/14/EG, Anhang V.
Die gelieferte Schneefrase entspricht dem
Geräteexemplar, das die Prüfung durchlaufen hat.
Sommaire
Introduction. 56
Dépannage 77
Sécurité 59
Technische gegevens 162
Werking. 147
EinfachAnleitung