ST 224 - Ventilatore HUSQVARNA - Manuale utente e istruzioni gratuiti
Trova gratuitamente il manuale del dispositivo ST 224 HUSQVARNA in formato PDF.
Domande frequenti - ST 224 HUSQVARNA
Domande degli utenti su ST 224 HUSQVARNA
0 domanda su questo apparecchio. Rispondi a quelle che conosci o fai la tua.
Fai una nuova domanda su questo apparecchio
Scarica le istruzioni per il tuo Ventilatore in formato PDF gratuitamente! Trova il tuo manuale ST 224 - HUSQVARNA e riprendi in mano il tuo dispositivo elettronico. In questa pagina sono pubblicati tutti i documenti necessari per l'utilizzo del tuo dispositivo. ST 224 del marchio HUSQVARNA.
MANUALE UTENTE ST 224 HUSQVARNA
IT Manuale dell'operaore 111-137
Superficie caliente.
Anomalie di funzionamento 132
Sicurezza. 115
Trasporto, stoccaggio e smaltimento. 135
Montaggio. 118
Dati tecnici 135
Utilizzo 120
Dichiarazione di conformità CE. 137
Manutenzione 125
Panorama del prodotto

1. Innesto della coclea
2. Leva di lavoro dello scivolo di scarico
3. Leva di controllo del regime di avanzamento
4. Leva di lavoro remoto del deflettore
- Innesto della trasmissione
- Luce
- Manopola dell'impugnatura
- Marmitta
- Piastra sottodisco libera
- Coclee
- Strumento di pulizia
- Scivolo di scarico
- Deflettore di scarico
- Impugnatura del cavo di avviamento
- Tappo di drenaggio dell'olio
- Interruttore del carburante
- Chiave di accensione/spegnimento
- Primer
- Interruftore ON/OFF (ST 227P, ST 230P)
- Comando dell'acceleratore
- Valvola dell'aria
- Tappo di riempimento benzina
- Rifornimento e asta di livello dell'olio (ST 227P, ST 230P)
- Pulsante di avviamento elettrico
- Collegamento, avviamento elettrico
- Rifornimento e asta di livello dell'olio (ST 224)
Descrizione del prodotto
Il prodotto è uno spazzaneve con ruote che viene utilizzato per rimuovere la neve da terra.
Uso previsto
Questo prodotto può essere utilizzato per rimuovere la neve da campi, strade, sentieri e vialetti. Non usate l'apparecchio su dislivelli superiori a 20^ . Non utilizzato il disposativo in aree in cui siano presenti detriti, sporcizia e pietre sporgenti.
Simboli riportati sul prodotto
Nota: Se le etichette sul prodotto sono danneggiate, contattare il distributore per sostituirle.

Avverenza.

Leggere il manuale dell'opercatore.

Accensione del motore

Arresto del motore.

Velocity.

Lento.

Comando dell'aria

Primer.

Olio.

Carburante.

Attenzione.

Direttiva macchine europea per la sicurezza.

Sterzo a sinistra.

Sterzo a destra.

Regolazione dell'altezza della coclea

Soffiatore spento.

Soffiatore acceso.

Trazione spenta.

Trazione accesa.

Non rimuovere le protezioni nelle motore è in funzione.

Protezione acustica consigliata.

Livello potenza acustica.

Chiave ON/OFF. Inserire per l'avvio e il funzionamento.

Comando dell'aria chiuso (avvio).

Primer.

Tirare l'impugnatura della fune di avviamo per l'avvio.

Comando dell'aria aperto (funzionamento).

Chiave ON/OFF. Estrarre per l'arresto.

Nessun intervento su pendii maggiori di 10
gradi.

Smontare il cavo della candela prima della manutenzione.





Superficie calda.
Valvola di esclusione carburante.
Avverenza, tenere le mani lontane.
Avvertenza, tenere i piedi Iontani.
Prestare attenzioneagli oggetti volanti,tenersi lontani delle persone presenti nelle vicinanze.
Rotazione a sinistra/spinta.
verso il basso/rotazione
verso destra.
Marcia avanti/retromarcia.

Su/gi
Responsabilità del prodotto
Come indicato nelle leggi vigenti in materia di responsabilità obbligatoria sul prodotto, non siamo responsabili per eventuali danni causati dal nostro prodotto se:
- Il prodotto viene riparato in modo errato.
- Il prodotto viene riparato con parti che non provengono o non sono omologate dal produttore.
- Il prodotto contiene un accessorio che non proviene o non è omologato dal produttore.
- Il prodotto noniene riparato presso un centro di assistenza autorizzato o presso un'autorità competente.
Sicurezza
Definizioni di sicurezza
Le definitioni riportate di seguito forniscono il livello di gravità per ciascuna delle parole di avertenza.

AVVERTENZA: Lesioni alle persone.

ATTENZIONE: Danni al prodotto.
Note: Queste informazioni rendono più semplice l'uso del prodotto.
Istruzioni di sicurezza generali
- Utilizzato il prodotto in modo corretto. Un uso improprio può causare lesioni o la morte. Utilizzato il prodotto solo per le attività riportate nel presente manuale. Non utilizzato il prodotto per altre attività.
- Attenersi alle istruzioni cont∉ne nel presente manuale. Rispetto i simboli di sicurezza e le istruzioni di sicurezza. In caso di mancata osservanza delle istruzioni e dei relativi simboli, si potrebbero causare lesioni personali, danni o la morte.
- Non gettare il presente manuale. Utilizzare le istruzioni per assemblare, azionare e mantenere il prodotto in buone condizioni. Utilizzare le istruzioni per installare correttamente attrezzature e accessori. Utilizzare escludivamente attrezzature e accessori omologati.
- Non utilizzato un prodotto danneggiato. Attenersi al programma di manutenzione. Eseguire solo gli interventi di manutenzione riportati nelle istruzioni di questo manuale. Tutti gli altri interventi di manutenzione devono essere effettuati da un centro di assistenza autorizzato.
- Il presente manuale non include tutte le situazioni che possono verificarsi quando si utilizes il prodotto. Prestare la massima attenzione e usare il buon senso. Non utilizzato mai il prodotto o eseguire interventi di manutenzione sul prodotto se non si è sicuri. Per ulteriori informazioni parlare con un esperto del prodotto, il vosto rivenditore, l'officina o il centro di assistenza autorizzato.
- Scollegare il cavo della candela prima di assemblare il prodotto, conservarlo in magazzino o eseguire la manutenzione.
- Non utilizzato il prodotto se è stato modificato in quale modo rispetto alle caratteristiche iniziali. Non sostuire una parte del prodotto alla previa approvazione del produttore. Utilizzato solo parti
approvate dal produttore. Una manutenzione impropria più causare lesioni o la morte.
Non respirare i fumi provenienti dal motore. L'inalazione prolungata dei fumi di scarico del motore è dannosa per la salute.
- Non avviare il prodotto in ambienti chiusi o vicino a materiale infiammabile. I fumi di scarico sono molto caldi e possono contentere scintille in grado di provocare incendi. Un flusso d'aria insufficiente cui causare lesioni o la morte dovute ad asfissia o al monossido di carbonio.
- Quando si utilizza quello prodotto, il motore genera un Campo elettromagnetico. Il Campo elettromagnetico può danneggiare gli impianti medici. Rivolgersi al medico e al produttore degli impianti medici prima di utilizzato il prodotto.
- Non consentire ai bambini di utilizzare il prodotto. Non permettere a chiunque non conosca le istruzioni di utilizzare il prodotto.
Assistere sempre una persona, con capacité fisica o mentalale ridotta, quando utilizes il prodotto. É necessaria sempre la supervisione di un adulto responsable.
- Conservare il prodotto in un'area a cui bambini o persone non autorizzate non possano accedere.
- Il prodotto può espellere oggetti e causare lesioni. Attenersi alle istruzioni di sicurezza per ridurre il rischio di lesioni o morte.
- Non allontanarsi dal prodotto con il motore in funzione.
- L'operaire del prodotto è responsable in caso di incidente.
- Prima e durante la retromarcia, guardare indietro e in basso accertandosi che non vi siano bambini piccoli, animali o altri rischi che potrebbero comportare una caduta.
- Verificare che i componenti non siano danneggiati prima di utilizzare il prodotto.
- Tenersi a una distanza di almeno 15m (50 piedi) da persono o animali prima di utilizzato il prodotto. Verificare che le persone circostanti siano a conoscenza del fatto che il prodotto verrà azionato.
- Fare riferimento alle normative nazionali o locali, in quanto possono impedire o limitare il funzionamento del prodotto in determinate condizioni.
Istruzioni di sicurezza per il funzionamento
- Non porre le mani o i piedi vicino o sotto le parti rotanti. Restare sempre lontani dall'apertura di scarico.
-
Procedure con estrema cautela quando si attraversano superfici ghiaiose, sentieri o strade. Prestare attenzione ai pericoli nascosti o al traffico.
-
Se si urta un corso estraneo, fermare il motore, rimuovere il cavo alla candela, staccare il filo per i motori elettrici, controllare attendamente il prodotto per verificare se abbia subito danni e riparare gli eventuali danni prima di riavviare e utilizzato il prodotto.
- Se il prodotto inizia a vibrare in maniera anomala, arrestare il motore e individuire immediatamente la causa. Le vibrazioni generalmente sono sintomo di problemi.
- Spagnere il motore ogni volta che si lascia la posizione di lavoro, prima di liberare da intasamenti il carter della coclea o il deflettore di scarico, e quando si esuguono riparazioni, regolazioni o controli.
- Prima di anni intervento di pulizia, riparazione o controllo del prodotto, spagnere il motore e verificare che le trivelle e tutte le parti mobili siano ferme. Scollegare il cavo da tutte le candele e allontanarlo in modo da impedire che qualcuno possa accendere il motore accidentalmente.
- Non avviare il motore in spazi chiusi, se non quando si avvia il motore e per il trasporto del prodotto all'interno o all'esterno dell'edificio. Aprire le porte esterne; i fumi di scarico sono pericolosi.
- Procedere con estrema cautela quando si aziona la macchina in pendenza.
- Non azionare mai il prodotto sono i ripari e gli altri dispositivi di protezione installati e funzionanti.
Non rivolgere mai il deflettore di scarico verso le persone o verso aree dove potrebbero verificarsi danni. Tenere lontani i bambini e le personne in genere. - Non sovraccaricare il prodotto tentando di rimuovere la neve troppo velocimento.
- Non azionare mai il prodotto ad alte velocità di marcia su superfici scivolose. Guardarsi indietro e procedere con cautela quando si lavora in retromarcia.
- Disinserire le trivelle quando si deve trasportare o non si utilizes il prodotto.
- Usare solo gruppi di taglio e accessori approvati dal produttore del prodotto (come pesi delle ruote, contrappesi e cabine).
Non utilizzare mai il prodottoswana una buona visibilità oswana luce. Accertarsi sempre di avere una buona presa con i piedi sul terreno e con le mani sul manubrio. Procedere adagio; non correre.
Non toccare mai il motore o la marmitta caldi.
Sicurezza dell'area di lavoro
- Ispezionare attendamente l'area in cui la macchina deve essere utilizzata e rimuovere stuoini, slitte, asi, cavi e qualsiasi altro oggetto.
- Disinserire tutte le frizioni eMETTERE la leva del.
cambio in folle prima di avviare il motore. - Non utilizzato il prodotto indossando indumenti invernali non adeguati. Non indossare indumenti lenti che potrebbero impigliari sui nelle parti mobili.
Indossare calzature che favoriscano la presa sulle superfici scivolose.
-
Maneggiare il carburante con attenzione in quanto è alimentamente infiammabile.
-
Utilizzare una tanica carburante approvata.
- Nonaggiungere mai carburante quando il motore è in funzione o caldo.
- Riempire il serbatoio del carburante all'aperto e con estrema attenzione. Non riempire mai il serbatoio del carburante al chiuso.
- Non riempire mai i contentitori all'interno di un veicolo o sul pianale di un autocarro o di un rimorchio con copertura di materiale plastico. Collocare sempre i contentitori a terra, lontano dal veicolo, prima di riempirli.
- Quando possibile, rimuovere le machine a benzina dall'autocarro o dal rimorchio e rifornirle a terra. Se quello non è possibile, rifornire le machine su un rimorchio utilizzato un contentatore di carburante portatile e non l'erogatore di un distributore di benzina.
- Mantenere l'erogatore sempre a contatto con il bordo dell'apertura del serbatoio o del contentitore di carburante, fino al termine del rifornimento. Non usare un dispositivo di blocco che tengà aperto l'ugello.
- Reinserire saldamente il tappo del serbatoio della benzina e asciugare il carburante fuoriuscito.
-
Se si versa della benzina sui propri propri indumenti, cancellare indumenti immediatamente.
-
Utilizzare fili di prolunga e prese come specificati dal costruttore per tutte le macchine con motori elettrici o motorini di avviamento elettrici.
- Regolare l'altezza del carter della coclea per eliminare la ghiaia o la superficie rocciosa frantumata.
- Non tentare mai di effettuare regolazioni a motore acceso (salvo i casi escludamente consigliati dal produttore).
- Indossare sempre occhiali o maschere di sicurezza durante l'uso o quando si esgue una regolazione o una riparazione, per proteggere gli occhi dai corpi estranei che potrebbero essere lanciati alla macchina.
Abbigliamento protettivo personale
Indossare sempre il corretto abbigliamento protettivo personale durante l'utilizzo del prodotto. Questo include, come minimo, calzature robuste e dispositivi di protezione per gli occhi e per le orecchie. L'uso dell'abbigliamento protettivo personale non elimina il rischio di lesioni, ma ne riduce la gravità in caso di incidente.
-
Indossare sempre occhiali di sicurezza o protezioni per gli occhi quando si utilizza il prodotto o si eseguono manutenzione o riparazioni.
-
Indossare sempre indumenti invernali appropriati durante il funzionamento del prodotto.
- Usare sempre stivali robusti anti-scivolo con un buon supporto per le caviglie durante l'utilizzo del prodotto.
- Non indossare mai abiti larghi che potrebbero restare impigliati nelle parti in movimento.
- Utilizzare guanti protettivi omologati, se necessario. Ad esempio, quando sicollege, si esamina o si pulisce la lama.
- Utilizzare sempre protezioni acustiche omologate durante l'uso del prodotto. Un rumore prolongato cui provocare la perdita dell'udito.
Dispositivi di sicurezza sul prodotto
-
Eseguire regolarmente la manutenzione del prodotto.
-
Cio augmenteda la durata del prodotto.
- E riduce il rischio di incidenti.
Far esaminare il prodotto da un rivenditore o un centro di assistenza autorizzati per eventuali regolazioni o riparazioni.
- Non utilizzato un prodotto con abbigliamento protettivo danneggiato. Se il prodotto è danneggiato, rivolgersi a un centro di assistenza autorizzato.
Marmitta
La marmitta assicura il minimo livello acustico e allontana i fumi di scarico dall'opereatore.
Non utilizzato il prodotto se la marmitta è mancante o difettosa. Una marmitta difettosa aumento il livello acustico e il rischio di incendio.
Esaminare la marmitta periodicamente per assicurarsi che sia collegata correttamente e che non sia danneggiata.

ATTENZIONE: La marmitta si surriscalda durante e dopo l'uso e quando il motore funziona al regime minimo. Prestare attenzione in prossimità di materiali infiammabili e/o fumi per evitare incendi.
Sicurezza nell'uso del carburante

AVVERTENZA: Leggere le seguenti avvertenze prima diutilizzare il prodotto.
- Non avviare il prodotto nel caso in cui vi sia carburante o olio motore su diesso. Rimuovere il carburante/olio indesiderato e lasciare che il prodotto si asciughi.
- In caso di perdite di carburante sugli indumenti, cambiarsi immediatamente.
- Il carburante non deve arrivare a contatto con il corpo, poiché può causare lesions. In caso di
contatto del carburante con il corpo, rimuoverlo con acqua e sapone.
- Non avviare il prodotto se il motore presenta una perdita. Esaminare regolarmente il motore per verificare la presenza di eventuali perdite.
- Prestare la massima attenzione con il carburante. Il carburante è infiammabile e i fumi sono esplosivi quindi possono causare lesioni o morte.
- Non respirare i fumi del carburante perché possono causare lesioni. Accertarsi che ci sua un flusso d'aria sufficiente.
- Non fumare in prossimità del carburante o del motore.
Non posizionare oggetti caldi in prossimità del carburante o del motore.
Nonaggiungere carburante a motore acceso. - Assicurarsi che il motore sia freddo prima di effettuare il rifornimento.
- Prima di effettuare il rifornimento, après lentamente il tazzo del serbatoio carburante e rilasciare la pressione con cautela.
- Nonaggiungere carburante al motore in un ambiente chiuso. Un flusso d'aria insufficiente cui causare lesioni o la morte dovute ad asfissia o al monossido di carbonio.
- Stringere completeness il tappo del serbatoio del carburante. Se il tappo del serbatoio carburante non è serrato, vi è il rischio di incendio.
- Prima dell'avviamento, spostare il prodotto di almeno 3m (10 ft) dal punto in cui è stato riempito il serbatoio del carburante.
Non rabboccare il serbatoio con una quantita eccessiva di carburante.
Istruzioni di sicurezza per la manutenzione

AVVERTENZA: Leggere le seguenti avvertenze prima diutilizzare il prodotto.
- I fumi di scarico del motore contengono monossido di carbonio, un gas inodore, velenoso ed estremamente pericoloso. Non avviare il motore in ambienti o spazi chiusi.
- Prima di eseguire la manutenzione del prodotto, arrestare il motore e rimuovere il cavo di accensione alla candela.
- Indossare guanti protettivi quando si eseguono interventi di manutenzione sulle lame. Le lame sono molto affiliate e ci si può ferire lavoramente.
-
Accessori e modifiche apportate al prodotto che non siano stati approvati dal costruttore posso sono causare gravi leSIONi,anche fatali.Non apportare modifiche al prodotto. Utilizzato sempre accessori approvati dal produttore.
-
Se la manutenzione non viene eseguita correttamente e con regolarità, aumento il rischio di lesioni personali e danni al prodotto.
-
Eseguire esclusivamente gli interventi di manutenzione riportati nel presente manuale operatore. Tutti gli altri interventi di manutenzione devono essere svolti da un'officina autorizzata.
-
Rivolgersi a un'officina autorizzata per far svolgere regolarmente interventi di manutenzione sul prodotto.
- Sostituire le parti danneggiate, usurate o rotte.
Montaggio
Per rimuovere il prodotto alla confezione
- Rimuovere le parti sfuse incluse con il prodotto. Tagliare i quattro angoli del cartone e posare i pannelli terminali in piano.
- Rimuovere le due viti che fissano il carter della coclea al pallet. Rimuovere le staffe in acciaio delle piastre di scorrimento se presenti.
- Rimuovere tutto il materiale da imballaggio.
- Rimuovere il prodotto alla confezione e assicurarsi che non vi siano lasciate parti sfuse.

Guida cavi (1)

Perni di tranciamento 114 - 20 × 1 - 34 (6)
Parti non montate

Manopola (3)

Scivolo di scarico (1)

Chiave di accensione/spegnimento (s)

Bulloni di trasporto 5/16 - 18 x 2 1 / 4 (2)

Manopole dell'impugnatura (2)

Controdado 3/8 (1)

Controdadi 1 / 4 - 20 (6)

Bulloni di trasporto 5/16-18 × 5/8 (1)

Molla (1)

Bullone con flangia 1 / 4 - 20 (1)
Come installare l'impugnatura
- Sollevare l'impugnatura superiore in posizione di funzionamento.

- Regolare la posizione dell'impugnatura su uno dei fori di fissaggio (B) e serrare le manopole (C) con i bulloni di trasporto (D).

- Installare più bulloni di trasporto (D) e manopole dell'impugnatura (C) per fissare l'impugnatura superiore (A) all'impugnatura inferiore (E).

Per installare il deflettore di scarico e la testa rotore di scarico
- Posizione il gruppo del deflettore di scarico sulla parte superiore della base di scarico con l'apertura di scarico in direzione della parte anteriore del prodotto.
- Posizione are la testa rotore di scarico (A) sulla staffa dello scivolo (B). Ruotare il gruppo di deflettore di scarico per allineare i perni sotto la testa rotore di scarico con i fori della staffa dello scivolo se è necessario.
-
Posizione la testa rotore di scarico sul perno (C) e la vite prigioniera (D) sul supporto di montaggio (E).
-
Fissare un controdado (G) sulla vite prigioniera e serrare.

- Inserire i cavi atraverso la guida cavi (F) e la graffa doppia (I) per collegare il cavo rotore (H) alla maniglia inferiore.

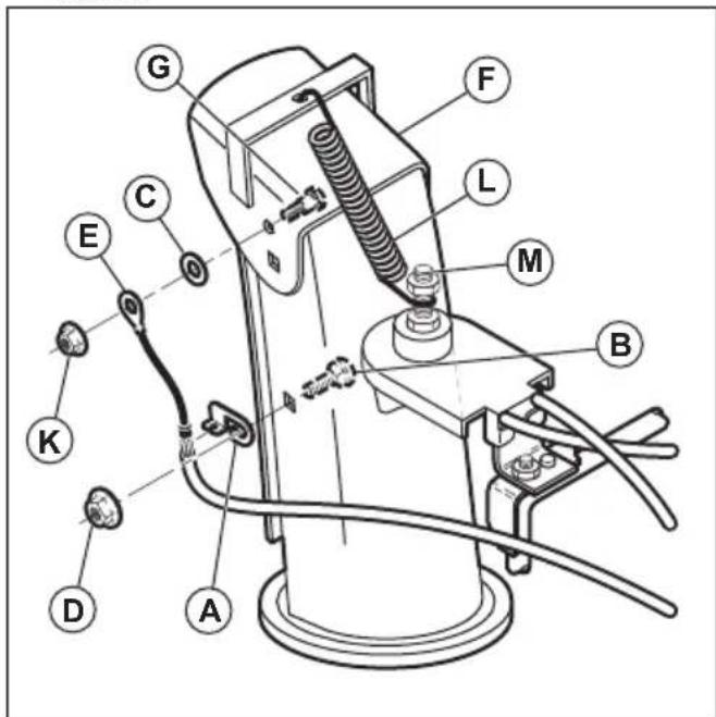
Per montare il telecomando del deflettore di scarico
-
Fissare la staffa del cavo remoto (A) allo scivolo di scarico con un bullone di trasporto (B) e un controdado 5/16-18 (D). Serrare il bullone.
-
Montare l'occhiello del cavo remoto (E) al deflettore di scarico (F) con un bullone di spallamento (G), una rondella nylon (C), quindi serrare con un controdo da 1/4 - 20 (K). L'occhiello del cavo sare allaientato sul bullone di spallamento.
- Fissare la molla (L) tra il dato esagonale (M) sulla testa rotore di scarico e il foro sul deflettore di scarico.

- Collegare le manopole di lavoro della leva (N) premendole verso il basso sulle leve di lavoro (O).

Utilizzo
Prima diutilizzare il prodotto
- Tenere persone e animali all'esterno dell'area di lavoro.
-
Eseguire la manutenzione giornaliera. Vedere Programma di manutenzione alla pagina 125.
-
Accertarsi che il cavo di accensione si insertisce correttamente sulla candela.
- Aggiungere olio o benzina, se necessario. Vedere Dati tecnici alla pagina 135.
Per riempire il motore con orio

ATTENZIONE: Non ruotare l'asta di livello dell'olio quando si effettua il controlo dell'olio. Non riempire及其他 contrassegno.
- Rimuovere il tappo dell'olio e pulire l'asta di livello. Per la posizione dell'asta di livello, vederePanorama del prodotto alla pagina 112.
- Aggiungere l'olio fino al contrassegno superiore sull'asta di livello. Utilizzato l'asta di livello per fare un controlo del livello dell'olio a intervalli regolari.
- Rimettere il tappo dell'olio.
Per il rifornimento del carburante
Se disponibile, utilizzare benzina alchilata/a basso livello di emissioni. Se non è disponibile benzina alchilata/a basso livello di emissioni, utilizzare benzinaenza piombo di buona qualità o benzina contente piombo. Utilizzato benzina con un numero minimo di ottani pari a 90 RON al di fuori del Nordamerica (87 AKI in Nordamerica) e con una percentuale massima di etanolo del 10% (E10).

ATTENZIONE: Non utilizzato mai benzina con un numero di ottani inferiore a 90 RON al di fuori del Nord America (87 AKI in Nordamerica). Ciò può causare danni al prodotto.
- Aprire lentamente il tappo del serbatoio del carburante per rilasciare la pressione.
- Riempire lentamente il serbatoio con una tanica di carburante. Se si versa del carburante, rimuoverlo con un panno e lasciare asciugare eventuali residui.
- Pulire l'area intorno al tappo del serbatoio del carburante.
- Stringere completeness il tappo del serbatoio del carburante. Se il tappo del serbatoio carburante non è serrato, vi è il rischio di incendio.
- Prima dell'avviamento, spostare il prodotto di almeno 3 m (10 ft) dal punto in cui è stato riempito il serbatoio del carburante.
Per regolare lo scivolo di scarico e il deflettore di scarico
-
Per regolare la posizione dello scivolo di scarico, spostare la leva di lavoro dello scivolo di scarico (A) all'indietro e verso sinistra o verso destra.
-
Per regolare la distanza del deflettore di scarico neve, spostare la leva di lavoro remoto del deflettore (B) versus il basso per diminuire la distanza e verso l'alto per augmentare la distanza.

Avviamo del motore, avviamo manuale
- Inserire la chiave di accensione/spegnimento (A) nella fessura finché non scatta in posizione. Non girare la chiave.

-
Ruotare l'interruttore carburante ON/OFF (F) sulla posizione ON.
-
Portare il dato dell'acceleratore (B) nella posizione "VELOCE".
-
Portare l'interruttore ON/OFF (C) su ON (se in dotazione).
a) Se il motore è freddo, ruotare il commando dell'aria (D) sulla posizione PIENO e spingere la pompa (E) tre volte.

ATTENZIONE: Non adescare
eccessivamente il motore. Puo
impedire l'avviamento del motore. Se
il motore è adescato
eccessivamente, attendere qualche
minuto prima di riprovare ad avviare
e non spingere la pompa.
- Tirare l'impugnatura del cavo di avviamento (G).

ATTENZIONE: Non rilasciare
rapidamente l'impugnatura. Riportarla in posizione di avvio lentamente.
Note: Se l'avviamento del cavo è congelato, estrarre lentamente il più possibile la corda dall'avviamento e rilasciare l'impugnatura del cavo di avviamento. Se il motore non si avvia, ripetere la procedura oppure utilizzato l'avviamento elettrico.
- Se il dato dell'aria è stato utilizzato per avviare il motore, spostare lentamente il dato dell'aria (D) in posizione OFF.
- Avviare il motore a regime minimo 2-3 minuti prima di iniziare a spazzare la neve.
- Se il motore non funziona come dovrebbe, disattivare l'opzione.
Per avviare il motore, avviamo elettrico

AVVERTENZA: Il prodotto dispone di un avviatore elettrico CA 230 V. Non usare l'avviatore elettrico se la casa non dispone di un sistema di messa a terra a tre fili c.a. 230 V. Potrebbero verificarsi gravi lesioni personali o danni al prodotto. L'avviatore elettrico è dotato di una presa di alimentazione a tre fili, ed è progettato per l'utilizzo della corrente domestica c.a. 230 V. Assicurarsi che la propria casa sa dotata di un sistema di messa a terra a tre fili c.a.230 V. In caso di dubbi, rivolgersi a un elettricista autorizzato.
- Inserire il tasto ON/OFF (A) nella fessura di accensione finché non scatta in posizione. Non girare la chiave.
- Ruotare l'interrottore carburante ON/OFF (F) sulla posizione ON.
- Portare il dato dell'acceleratore (B) nella posizione "VELOCE".
- Portare l'interruttore ON/OFF (C) su ON (se in dotazione).
a) Se il motore è freddo, regolare il comando dell'aria (D) sulla posizione PIENO.
- Premere la pompa (E) tre volte.

ATTENZIONE: Non adescare
eccessivamente il motore. Puo impedire
l'avviamento del motore. Se il motore è
adescatoccessivamente, attendere
alcuni minuti prima di provare ad avviare e non premere la pompa.
- Collegare il filo di prolunga al connettore sul motore (G).
- Collegare l'altra estremita del filo di prolunga a una presa tripolare c.a. 230 Vcon messa a terra.
- Premere il pulsante di avviamento elettrico (H) sino a quando il motore non si avvia.

ATTENZIONE: Non avviare il motore per più di cinque secondi consecutivi tra agli tentativo di avviamo. Attendere 5-10 secondi tra agli tentativo.
- Se il dato dell'aria è stato utilizzato per avviare il motore, rilasciare il pulsante di avviamento elettrico e spostare lentamente la leva di dato dell'aria (D) in posizione OFF.

- Scollegare prima il filo di prolunga alla presa, quando dal motore.
- Avviare il motore a regime minimo 2-3 minuti prima di iniziare a spazzare la neve.
Utilizzo del prodotto

ATTENZIONE: Non azionare perché neve o acqua per lubrificare le lame della coclea. L'uso improprio più causare temperature elevate nelle lame della coclea, soprattutto se il prodotto è nuovo. Questo più provocare danni delle lame della coclea e barra raschiante.

ATTENZIONE: Non innestare parzialmente le leve di trasmissione o della coclea per un lungo periodo di tempo; ciò può portare ad un'usura prematura o bruciature delle cinghie.
Nota: Quando sia l'innesto della trasmissione sia l'innesto della coclea sono inserti, l'innesto della trasmissione bloccherà l'innesto della coclea in posizione. Usare la mano destra per controllare lo scivolo di scarico della neve.
Nota: Non modificare la velocità quando la leva di lavoro è innestata. Ciò può causare danni alla trasmissione.
- Per innestare le lame della coclea, spingere l'innesto della coclea (A) verso l'impugnatura per innestare la coclea e spazzare la neve.

-
Sollevare la leva di lavoro velocità di trasmissione (B) alla posizione centrale per far spostare in avanti il prodotto quando l'innesto della trasmissione (C) è innestato. Non modificare la velocità quando la leva di lavoro è innestata. Ciò può essere danni alla trasmissione.
-
Abbassare la leva di lavoro velocità di trasmissione dalla posizione centrale per far spostare il prodotto all'indietro, quando l'innesto della trasmissione è inserito.

-
Per far spostare il prodotto nella direzione selezionata, tenere l'innesto della trasmissione (C) contro il manubrio.
-
Se il prodotto in uso dispone dell'idroguida, tenere il comando sinistro dello sterzo (D) per girare a sinistra. Tenere premuto il comando destro dello sterzo per girare a destra.

Arresto del prodotto
- Portare l'interruttore ON/OFF su OFF (se in dotazione).
- Rimuovere la chiave di accensione/spegnimento.
Utilizzo del lavoro dell'acceleratore
- Ruotare il dato dell'acceleratore (A) per modificare la quantità di carburante consumata. Far girare sempre il motore a pieno regime.

Perutilizzare l'interruttore carburante
- Ruotare l'interruttore del carburante per aprire o chiudere la valvola del carburante. Utilizzato il prodotto con l'interruttore del carburante in posizione "APERTO".

Utilizzo del comando della valvola dell'aria
- Ruotare il dato dell'aria (A) per aprire o chiudere la valvola dell'aria. Utilizzato il dato dell'aria per avviare un motore freddo.

Per regolare le piastre di scorrimento
Non sono necessarie regolazioni per una normale installazione.
-
Quando il controdado (B) è allentato o la piatra di scorrimento (A) non è abbastanza alla da terra, sbloccare il controdado (B) con una chiave da 13 mm a forchetta, per spostare la piatra di scorrimento verso l'alto o verso il basso.
-
Su superfici piane, come strade asfaltate, sollevare le piastre di scorrimento (A) di 5-6 mm (0,2 - 0,25 poll) dal suolo. Su superfici irregulari, come strade inghiaiate, augmentare lo spazio tra il terreno e il prodotto, con le piastre di scorrimento per far si che la barra raschiante si trovi sopra la parte superiore della ghiaia. Accertarsi che la ghiaia e i sassi non entrino nel prodotto. Ciò può provocare lesioni personali se gli oggetti vengono espulsi ad alta velocità.
-
Serrare il controdado (B).

Per evitare il congelamento dopo l'uso
Nota: I comandi e le parti mobili possono essere ostruite da ghiaccio. Non esercitare forza eccessiva sui comandi. Se non è possibile azionare un dato o una parte, avviare il motore e lasciarlo in funzione per alcuni minuti.
- Avviare il motore e lasciarlo girare per quale minuto. Fermare il motore e attendere l'arresto di tutte le parti mobili.
- Rimuovere neve e ghiaccio dal prodotto.
- Rimuovere neve e ghiaccio alla base dello scarico.
- Ruotare il deflettore di scarico a sinistra e a destra per rimuovere acqua e ghiaccio.
- Rimuovere la chiave o portare l'interruttore su "OFF" (se in dotazione).
- Se il prodotto non dispone di un avviatore elettrico, tirare l'impugnatura del cavo di avviamento più volte per rimuovere acqua e ghiaccio.
- Se il prodotto è dotato di un avviatore elettrico, collagenare il prodotto all'alimentazione e premere il pulsante di avviamento una volta per rimuovere acqua e ghiaccio.
Per ottener un buon risultato
- Far girare il motore sempre a piano regime o vicino al massimo.
- Adattare sempre la velocità del prodotto per la situazione della neve e regolare la velocità con la leva di lavoro velocità di trasmissione. Accertarsi che il prodotto spazzi la neve in modo uniforme.
- É più facile ed efficente rimuovere la neve subito après la caduta.
- Quando possibile, lanciare la neue sottovento.
- Su superfici piane, come strade asfaltate, sollevare le piastre di scorrimento fino a 5-6 mm (0,2 - 0,25 poll) dal suolo.
- La barra raschiante è reversible. Quando diviene usurata quasi fino al bordo dell'alloggiamento, rovesciarla. Sostituire la barra raschiante se è danneggiata, o se entrambi i lati sono usurati.
Manutenzione
Introduzione
Quando il prodotto è in uso, i bulloni sono allentarsi e i componenti sono divertare usurati. Ciò più causare un malfunzionamento come distanza di
tolleranza scorretta, aumento del consumo diolio, o disallineamento dei vari componenti. Eseguire la manutenzione periodica del prodotto per evitare malfunzionamenti.
Programma di manutenzione
| Manutenzione Giornali | era 20 ore 50 ore 100 ore | |||
| Assicurarsi che i dadi e le viti siano ben serrati | X | |||
| Effettuare un controllo del livello dell'olio motore | X | |||
| Sostituire l'olio 21 | XXX | |||
| Assicurarsi che non vi siano perdite diolio o carburante | X | |||
| Rimuovere l'obstruzione, oggetti estra-nei nella coclea | X | |||
| Controllare la pressione degli pneumatici 22 | X | |||
| Controllare e cam-biare la candela 23 | X |
Note: Non è necessario aggiuungere grasso o per eseguire altri interventi di manutenzione alla trasmissione.
Controllare il livello dell'olio prima di avviare il prodotto.
Per effettuare un'ispezione generale
- Controllare che tutti i dadi e le viti del prodotto siano ben serrati.
Per eseguire il controllo del livello dell'olio

ATTENZIONE: Se il livello dell'olio è troppo basso si possono verificare danni al motore.
- Posizionare il prodotto su un terreno in piano.
- Rimuovere il tappo del serbatoio dell'olio con l'annessa asta di livello.
- Pulire l'olio dall'asta di livello.
- Inserire l'asta di livello interamente all'interno del serbatoio dell'olio per avere un immagine corretta del livello dell'olio.
- Rimuovere l'asta di livello.
-
Controllare il livello dell'olio sull'asta di livello.
-
Se il livello dell'olio è basso, rabboccare conolio motore ed eseguire nuovamente un controllo del livello dell'olio.
Cambiodell'olio motore
- Azionare il motore per alcuni minuti per riscaldare l'olio. L'olio caldo scorre meglio e contiene più impurità.

AVVERTENZA: L'olio del motore è caldo. Evitare il contatto della pelle con l'olio motore usato.
- Posizionare il prodotto su un terreno in piano.
- Rimuovere il tasting on/off.
- Collocare un contentatore molto il tappo di drenaggio dell'olio.
- Rimuovere il tappo di drenaggio dell'olio, inclinare il prodotto e scaricare l'olio usato nel contentitore.
- Riportare il prodotto in posizione di funzionamento.
- Montare il tappo di drenaggio dell'olio e serrarlo a mano.
- Riempire il motore con olio, vedere Per riempire il motore con olio alla pagina 121.
Per lubricicare il prodotto
- Lubricare i punti di articolazione (A) con l'olio.
- Lubrificazione del motore (B) con l'olio.
- Applicare una piccola quantità di grasso al litio ai punzoni di interblocco (C) all'inizio di anni stagione, oppure agli 25 ore di utilizzo.

Marmitta
La marmitta assicura il minimo livello acustico e allontana i fumi di scarico dall'opereatore.
Non utilizzare il prodotto se la marmitta è mancante o difettosa. Una marmitta difettosa aumento il livello acustico e il rischio di incendio.
Esaminare la marmitta periodicamente per assicurarsi che sia collegata correttamente e che non sia danneggiata.

ATTENZIONE: La marmitta si surriscalda durante e dopo l'uso e quando il motore funziona al regime minimo. Prestare attenzione in prossimità di materiali infiammabili e/o fumi per evitare incendi.
Per esaminare la candela

ATTENZIONE: Usare candele originali o del tipo raccomandato. Un tipo di candela errato cui poto danneggiare il prodotto.
- Controllare la candela nel caso in cui il motore giri a bassa potenza, risulti dificile da avviare o non funzioni correttamente al regime minimo.
- Per ridurre il rischio di materiale superfluo sugli elettrodi delle candele, osservare le seguenti istruzioni:
a) Accertarsi che il regime minimo sia regolato correttamente.
b) Accertarsi che la miscela sia corretta.
c) Accertarsi che il filtro dell'aria sia pulito.
- Se la candela è incrostata, pulirla e controllare che la distanza tra gli elettrodi sua corretta; vedere Dati tecnici alla pagina 135.

Sostituire la candela secondo necessita.
Per ispezionare la coclea e la barra raschiante
- Prima di agli utilizzato, controllare che la coclea e la barra raschiante non presentino segni di usura.
- Se il bordo della barra raschiante è usurato, rovesciare la lama raschiante. Se la barra raschiante presente danni o è usurata su entrambi i bordi, sostituirla.
- Se i bordi delle coclee sono usurati, contattare un centro di assistenza autorizzato per sostituirli.
Sostituzione dei perni di tranciamento della coclea
I perni di tranciamento della coclea protegono il prodotto dai danni. I perni di tranciamento della coclea si rompono se un oggetto penetrà all'interno delle parti in movimento.

ATTENZIONE: Utilizzato esclusivamente i perni di tranciamento originali forniti con il prodotto.
- Se un perno di tranciamento della coclea si rompe, arrestare il motore e attendere che le parti in movimento si arrestino.
- Rimuovere la chiave ON/OFF e scollegare il cavo della candela.
- Allineare il foro del MOZZ della coclea (B) con il foro sull'albero della coclea (C) e montare un nuovo perno di tranciamento da 1 / 4 - 20× 2 A
- Montare un controdo da 1 / 4 - 20 (D) e serrare.

- Inserire la chiave ON/OFF nell'accensione e collegare il cavo della candela alla candela.
Sostituzione dei perni di tranciamento della girante
I perni di tranciamento della girante protegono il prodotto dai danni. I perni di tranciamento della girante si rompono se un oggetto penetrà all'interno delle parti in movimento.

ATTENZIONE: Utilizzare esclusivamente i perni di tranciamento originali forniti con il prodotto.
- Se un perno di tranciamento della girante si rompe, arrestare il motore e attendere che le parti in movimento si arrestino.
- Rimuovere la chiave ON/OFF e scollegare il cavo della candela.
-
Allineare il foro del mozzo della girante (A) con i fornelli dell'albero della girante (B) e montare un nuovo perno tranciabile da 1 / 4 - 20 C
-
Montare un controdo da 1 / 4 - 20 (D) sul perno di tranciamento e serrare.

- Inserire la chiave ON/OFF nell'accensione e collegare il cavo della candela alla candela.
Esaminare gli pneumatici
- Mantenere gli pneumatici privi di carburante,olio e prodotti chimici per evitare di danneggiare la gomma.
- Mantenere gli pneumatici lontano da ceppi, pietre, solchi, oggetti appuntiti e altri oggetti che potrebbero causare danni ai pneumatici.
- Mantenere la corretta pressione dei pneumatici,fare riferimento a Dati tecnici alla pagina 135.
Per rimuovere un deflettore dello scivolo ostruito
Non sbloccare il deflettore dello scivolo prima di aver eseguito le seguenti operazioni.
- Rilasciare l'innesto della coclea e l'innesto della trasmissione allo stesso tempo.
- Attendere 10 secondi per assicurarsi che le coclee siano ferme.
- Arrestare il prodotto.
- Utilizzare lo strumento di pulizia (per almeno 15 secondi, inclusi in alcuni modelli) per rimuovere l'ostruzione.

AVVERTENZA: Non mettere le mani nel deflettore di scarico o all'interno del carter della coclea.
Per sostituire la barra raschiente
- Quando la barra raschiante (A) è usurata, portarla in posizione inversa sul bordo dell'alloggiamento.

- Sostituire la barra raschiante se è usurata su entrambi i lati o se è danneggiata.
Cinghie di trasmissione

AVVERTENZA: Le cinghie trapezoidali sul prodotto sono di costruzione speciale e devono essere sostituite delle cinghie originali del produttore (OEM) disponibili presso il centro di assistenza più vicino. L'uso di cinghie diverse da OEM cui causare lesioni personali o danni al prodotto.

AVVERTENZA: La sostituzione della cinghia richiede la separazione dal prodotto. Mentre si separa il carter della coclea dal telao, è importante che un assistente si trovi in posizione di lavoro e mantenga le maniglie del prodotto. Potrebbero verificarsi gravi lesioni personali e/o danni al prodotto se il prodottocade durante ilprocesso di sostituzione della cinghia.
Note: La coclea e trazione delle cinghie di trasmissione non sono regolabili. Sostituire le cinghie se sono danneggiato o iniziano a slittare a causa dell'usura. Si consiglia di sostituire le cinghie in un centro di assistenza qualificato.
Nota: Si consiglia di sostuire la cinghia di trasmissione e la cinghia della coclea e allo stesso tempo.
Prepararsi alla sostituzione delle cinghie
-
Rimuovere il carburante dal serbatoio del carburante.
-
Allentare il controdado (A) che fissa la testa rotore di scarico (B) al supporti di montaggio (C) per rimuovero lo scivolo di scarico.

- Allentare le due viti (A) che fissano il coperchio della cinghia (B) al telaio (C) e togliere il coperchio della cinghia.

Rimozione della cinghia di trasmissione
-
Rimuovere la cinghia della coclea. Vedere Rimozione della cinghia della coclea alla pagina 130.
-
Rimuovere la molla del tendicinghia (A) attaccata al braccio tenditore della cinghia di trasmissione (B).

- Rimuovere la molla di richiamo (C) che fissa la piastra rotante (D) in posizione.
- Rimuovere il bullone del braccio (E) e il braccio del tendicinghia di trasmissione.
- Rimuovere il bullone della puleggia (F), la pulegia del motore (G) e la cinghia di trasmissione (H) dal motore.
- Rimuovere il bullone superiore (I) che fissa la piastra mobile al telaio
- Ruotare e mantenere la piastra mobile lontano dal prodotto e rimuovere la cinghia di trasmissione alla puleggia di lavoro (J).
Installazione della cinghia di trasmissione
- Ruotare e mantenere la piatra rotante (D) lontano dal prodotto.

- Inserire la cinghia di trasmissione (H) sulla puleggia di lavoro (J).
Nota: Assicurarsi che la cinghia di trasmissione sia insertita correttamente nella scanalatura della
puleggia motrice prima di abbassare la piastra rotante.
- Montare e serrare il bullone superiore (I).
- Posizione are la cinghia di trasmissione nella scanalatura della puleggia del motore (G) prima di installarla sull'albero motore.
- Installare il bullone della puleggia (F) e fissare la puleggia motore sul motore. Serrare il bullone della puleggia (30-35 ft. Ibs. / 41-47 Nm).
- Montare il braccio tendicinghia di trasmissione (B) e serrare il bullone del braccio (E) sul motore.
- Montare la molla di richiamo (C) sulla piatra rotante.
- Installare la molla del tendicinghia (A) sul braccio del tenditore.
- Azionare tutti i comandi per assicurarsi che la cinghia di trasmissione sia installata correttamente e che tutti i componenti siano correttamente in movimento.
Per rimuovere il coperchio cinghia
- Montare il coperchio della cinghia (B) sul telaio (C) e serrare le due viti (A).

- Montare lo scivolo di scarico.
Rimozione della cinghia della coclea
- Rimuovere i bulloni da 5/16" (A) e i bulloni inferiori da 14 " (B) ai 2 ai lati del gruppo del telaio. Nongettare i bulloni.

- Allentare alla rimuovere i bulloni inferiori da 5/16" (C) ai 2 lati del gruppo del telaio.
- Smontare la cinghia alla coclea alla puleggia del motore.
- Inclinare la sezione posteriore verso il basso. La sezione anteriore è inclinata in avanti contemporaneamente. Il bullone inferiore (C) è una cerniera tra la sezione anteriore e quella posteriore.
- Collocare un blocco di legno sotto l'asse di cerniera per collocare il prodotto in posizione inclinata.
- Spostare il braccio tendicingia della coclea e rimuovere la cinghia della coclea attorno al braccio.
Montaggio della cinghia della coclea
- Spostare il braccio tendicinghia e posizionare la cinghia della coclea attorno e all'interno della scanalatura della puleggia della coclea.

ATTENZIONE: Assicurarsi che la cinghia non sua incastrata tra il telaio e l'alloggiamento della coclea durante il montaggio.
- Rimuovere il blocco di legno sotto il prodotto.
- Sollevare l'impugnatura per inclinare la sezione posteriore verso l'alto. La sezione anteriore si inclinerà all'indietro e ruotera per collegarsi alla parte posteriore.
-
Assicurarsi che la cinghia sia inserita correttamente nella scanalatura della puleggia della coclea.
-
Montare i bulloni da 5/16" (A), (C) e serrare (8-12 Ft.Lbs / 11-16 Nm).

- Montare i bulloni da 14 (B) e serrare (4-6 Ft.Lbs / 5-8 Nm).
- Montare la cinghia della coclea sulla puleggia del motore. Assicurarsi che la cinghia sia correttamente inserta attorno alla puleggia del galoppino e correttamente montata nella scanalatura della puleggia del motore.
- Azionare tutti i comandi per accertarsi che la cinghia della coclea si correttamente montata e che tutti i componenti si muovano in modo appropriato.
Per regolare la tensione del cavo per il deflettore dello scivolo di scarico
- Allentare i controdadi (B) per regolare la tensione del cavo per lo scivolo di scarico adiacente al regolatore tenditore a vite (A).

- Per allungare il tensionatore,mantener la sezione corta e ruotare la sezione lunga.
- Regolare fino a quando il cavo per il deflettore dello scivolo di scarico (C) non sia inserito correttamente. Serrare i controdadi.
Regolazione del cavo di lavoro della coclea
Note: Se non si ritiene di essere in grado di effettuire la regolazione autonomamente, contattare un centro di assistenza specializzato. Puedeccere necessario effettuire alcune regolazioni se la rotazione di coclea e girante è lenta dopo aver inserto la leva di lavoro della coclea o se la cinghia della coclea è stata sostituita.
- Allentare i controdadi (B) accanto al tensionatore (A) per regolare la tensione del cavo di lavoro della coclea (D).

- Mantenere la sezione corta e ruotare la sezione lunga. Ruotarla di 360 gradi.
- Verificare l'innesto della coclea. Ripetere la regolazione fino a quando non rimane solo una piccola quantità di tensione nel cavo quando la leva viene disinnestata.
- Serrare il controdo inferiore per bloccare la tensione.
-
Chiedere a un collaboratore di posizionarsi a 10 piedi / 3 metri di fronte al prodotto, sul lato opposto del condotto. Il collaboratore osserva la rotazione della coclea e misura il tempo che impiega per interrompere la rotazione dopo il rilascio della leva. Se la coclea smette di girare dopo 5 secondi, regolare il cavo facendo ruotare il cilindro centrale a 360 gradi, per contrarre il tensionatore. Verificare l'innesto della coclea e misurare di nuovo il tempo di arresto. Se la coclea smette di ruotare in meno di 5 secondi, passare alla fase successiva.
-
Serrare il controdo del cavo della coclea.
Nota: Se la regolazione non risolve il problema, sostituire la cinghia della coclea. Vedere Rimozione della cinghia della coclea alla pagina 130.
Smontaggio delle ruote
- Rimuovere il perno della ruota (A) e il perno di bloccaggio (B).
- Rimuovere la ruota dall'asse (C).

Per pulire il prodotto
- Pulire le parti in plastica con un panno pulito e asciutto.
- Non utilizzato una lancia ad alta pressione per pulire il prodotto.
Non dirigere getti d'acqua sul motore. - Utilizzare una spazzola per rimuovere foglie, erba e sporcizia.
Anomalie di funzionamento
Ricerca dei guasti
| Problema Possibile | causa Soluzione | |
| Il prodotto non si avvia La chiave di accensione di sicurezza non è in-serita. | Inserire la chiave di accensione di sicurezza. | |
| Il prodotto ha esaurito il carburante. Riempire il serbatoio del carburante con benzina nuova e pulita. | L'interruttore ON/OFF è sulla posizione OFF. Spostiare l'interruttore ON/OFF sulla posizione ON. | |
| Il lavoro dell'aria è in posizione OFF (CLOSE). | Portare la leva del lavoro dell'aria in posizione ON (FULL, OPEN). | |
| La pompa non è premuta. Premere la pompa. | ||
| Il motore è allagato. Attendere alcuni minuti prima | di riav-viarlo, NON azionare la pompa.Riavviare il motore a pieno regime e il lavoro dell'aria in posizione OFF (CLOSE). | |
| Il cavo della candela non è collegato. Collegare il cavo alla candela. | ||
| La candela è difettosa. Sostituire la candela. | ||
| Presenza di acqua nel carburante o il carbur-ante è troppo vecchio. | Svuotare il serbatoio del carburante e il carburatore. Riempire il serbatoio del carburante con benzina nuova e pulita. | |
| È presente dello sporco nel tubo del carburante. | Accertarsi che tutte le tubazioni del carburante si trovino al di quello dell'uscita del serbatoio del carbur-ante. Il condotto dovrebbe scorrere verso il basso senza interruzioni dal serbatoio del carburante al carburatore. | |
| Altre cause. Ispezionare attendamente le proce-dure di avviamento nel presente manuale. | ||
| L'interruttore del carburante (se in dotazione) si trova nella posizione CLOSE (OFF). | Posizonare l'interruttore del carbur-ante in posizione OPEN (ON). | |
| L'acceleratore è in posizione di arresto STOP. Portare l'acceleratore in posizione FAST (veloce). | ||
| Potenza ridotta il cavo della | candela non è collegato. Collegare il cavo alla cando. | ndela. |
| Il prodotto getta troppa neve. Diminuire la velocità e la larghezza dell'andana. | ||
| Il tappo del serbatoio del carburante è coperto di ghiaccio o di neve. | Togliere il ghiaccio e la neve sulla e intorno al tappo del serbatoio del carburante. | |
| La marmitta è sporca o intasata. Pulire o sostituite | la marmitta. | |
| Lunghezza cavo errata. Regolare il cavo. | ||
| La marmitta è bloccata. Assicurarsi che il motore | sia freddo. Eliminare l'inceppamento. | |
| Le prese d'aria del carburatore sono bloccate. Assicurarsi che il motore sia freddo. Eliminare l'inceppamento. | ||
| Il motore gira al minimo o funziona male | Il dato dell'aria è in posizione ON (PIENO, APERTO). | Spostare il dato dell'aria in posizione OFF (CHIUSO). |
| Il tubo del carburante è intasato. Pulire il tubo del carburante. | carburante. | |
| Presenza di acqua nel carburante o il carbur-ante è troppo vecchio. | Svuotare il serbatoio del carburante e il carburatore. Riempire il serbatoio del carburante con benzina nuova e pulita. | |
| Il carburatore deve essere sostituito. Contattare | un'officina di assistenza autorizzata. | |
| La cinghia è tesa. Sostituire la cinghia a V della coclea. | ||
| Vibrazione/Movimento della maniglia excessivi | Alcune parti sono allentate. Le coclee sono dan-neggiate. | Serrare tutte le viti. Sostituire tutte le parti danneggiate. Se la vibrazione persistsiste, contattare un centro di as-sistenza autorizzato. |
| Le leve non sono posizionate correttamente. Acoertarsi che le impugnature siano bloccate in posizione. | ||
| I dadi della leva di regolazione sono allentati. Serrare i dadi fino a quando la mani-glia si sicura. | ||
| L'impugnatura del cavo di avviamento è difficile da ti-rare | L'impugnatura del cavo di avviamento è conge-lata. | Estrarre lentamente il più possibile la corda dall'avviamento e rilasciare l'impugnatura del cavo di avviamen-to. Se il motore non si avvia, ripetere la procedura oppure utilizzato l'avvia-mente elettrico. |
| Il cavo di avviamento interferisce con i compo-nenti. | Il cavo di avviamento non deve toc-care i cavi o i tubi flessibili. | |
| Perdita di trazione/ralen-tamento della velocità del-la trasmissione | La cinghia slitta. Regolare il cavo. Regolare la cirghia. | ighia. |
| La cinghia è usurata. Controllare/sostituire la cinghia. Regolare la puleggia. | ||
| Perdita di scarico della neve o rallentamento dello scarico della neve | La cinghia è fuori alla puleggia. Controllare/reinstallare la cinghia.Regolare la puleggia. | Regolare la puleggia. |
| Il deflettore di scarico è intasato. Pulire il deflettore di scarico. | ||
| Oggetti estranei ostruiscono le coclee. Rimuovere | i detriti o l'oggetto estra-neo dalle coclee. | |
| Il perno di tranciamento è rotto. Sostituire il perno | di tranciamento rot- to. | |
| Accumuli di neve e ghiaccio eccessivi si ferma- no tra i componenti della turbina. | Togliere gli accumuli di neve e ghiac- cio dai componenti della pista. | |
| La ruota di trascinamento ad attrito è usurata. Contattare un'officina di assistenza autorizzata. | frizione si as- ciughi | |
| Il disco di attrito è bagnato Lasciare che il disco a | ||
| Mancata rotazione della coclea dopo il rilascio dell'impugnatura | La cinghia di trasmissione non è allineata. Regolare la cinghia di trasmissione. | deflettore di scarico. |
| Il deflettore di scarico non è allineato. Regolare il | ||
| Le spie sono spente (se in dotazione) | Il motore non è in funzione. Avviare il motore. | |
| Il collegamento del cavo è allentato. Controllare i | collegamenti dei cavi del motore e delle luci. | |
| Il LED è bruciato. Sostituire il modulo luci LED. Singoli LED non possono essere sostituti. | ||
| Il rotore di scarico è diffi-cile da spostare | Sono presenti dei residui nel meccanismo del rotore di scarico. | Pulire le parti interne del meccanis- mo del rotore di scarico. |
| I cavi sono attorcigliati o danneggiati. Assicurarsi | che i bulloni non siano at- torcigliati. Sostituire i cavi danneggia- ti. | |
| Il prodotto ruota su un lato | La pressione dei pneumatici non è uguale. | Regolare la pressione dei pneumatici e riempirli. |
| Il prodotto viene azionato con una sola ruota. | Ispezionare il perno di bloccaggio del pneumatico. | |
| Regolazione della slitta irregolare. | Regolare le piastre di scorrimento e la slitta. | |
| Regolazione delle piastre di scorrimento irregolare. | Regolare le piastre di scorrimento e la slitta. |
Trasporto, stoccaggio e smaltimento
Trasporto e conservazione
- Per trasportare e conservare il prodotto e il carburante, accertarsi che non vi siano perdite o fumi. Scintille o fiamme aperte, provocate ad esempio da dispositivi elettrici o caldaie, posso non innescare un incendio.
- Utilizzato sempre contentitori approvati per la conservazione e il trasporto del carburante.
- Svuotare il serbatoio del carburante prima di riporre il prodotto per un lungo periodo di tempo. Smaltire il carburante presso un apposto centro di smaltimento
- Fissare in sicurezza il prodotto durante il trasporto per evitare danni o incidenti.
-
Conservare il prodotto in un'area chiusa a chiave per impedire l'accesso a bambini o persone non autorizzate.
-
Conservare il prodotto in un luogo asciutto e al riparo dal gelo.
Smaltimento
- Rispettare le norme locali sul riciclaggio e le normative vigenti.
- Smaltire tutte le sostanje chimiche, quali olio motore o carburante, presso un centro assistenza o un centro di smaltimento applicabili.
- Quando il prodotto non è più in uso, inviarlo a un rivenditore Husqvarna o smaltirlo presso un impianto di riciclo.
Dati tecnici
Dati tecnici
essere sostituiti in caso di miglioramento del prodotto allaenza preavviso.
Nota: Tutti i dati, le immagini e le specifiche sono inserti esclusivamente a scopo di riferimento, e possono
| ST 224 ST 227P ST 230P | |||
| Dimensioni | |||
| Peso, lb / kg 198,6 / 90 212 / 96 237,8 / 108 | |||
| Pressione di esercizio massima degli pneumatici, PSI | 18 18 20 | ||
| Motore | |||
| Marca / Modello LCT LCT LCT | |||
| Cilindrata, cc 208 254 291 | |||
| Tipo di carburante Normaleenza piombo (massimo 10% di etanolo). | |||
| Capacità serbatoio, galloni/litri 0,31 / 1,17 0,35 / 1,33 0,62 / 2,35 | |||
| Olio SAE 5W30 (inferiore a 0 °C (32 °F)) | |||
| Capacità olio once / litri 16 / 0,47 20 / 0,59 32 / 0,95 | |||
| Impianto elettrico | |||
| Candela | F6RTC o F7RTC, distance: 0,030" (0,762 mm) | ||
| Emissioni di rumore 24 | |||
| Livello potenza acustica, misurato dB(A) | 105 105 105 | ||
| Livello di potenza acustica, garantito LWA dB(A) | 105 105 105 | ||
| ST 224 ST 227P ST 230P | |||
| Livelli di rumorosità | |||
| Livello di pressione sonora all'orecchio dell'operatore, dB(A) | 88,4 88,4 88,4 | ||
| Livelli di vibrazioni, \( a_{hveq}^{25} \) | |||
| Livello di vibrazioni sull'impugnatura, \( m/s^2 \) | 5,74 4,89 4,66 | ||
Dichiarazione di conformità CE
CONTENUTO DELLA DICHIARAZIONE DI CONFORMITA CE
Husqvarna AB, SE-561 82 Husqvarna, SVEZIA, dichiara除去 la propria esclusiva responsabilità che il prodotto indicate:
| Descrizione Spazzaneve | |
| Marchio Husqvarna | |
| Piattaforma / Tipo / Modello ST 224, ST 227P, ST 230P | |
| Lotto A partire dal numero di serie 2018 e successivi |
è pienamente conforme alle seguenti norme e direttive UE:
| Direttiva/norma Descrizione | |
| 2006/42/CE "relativa alle macchine" | |
| 2014/30/UE "sulla compatibilità elettromagnetica" | |
| 2000/14/CE; 2005/88/CE "sul rumore esterno" |
Le(norme armonizzate e/o le specifiche tecniche applicate sono le seguenti:
In conformità alla direttiva 200/14/CE, Allegato V, i valori per i livelli sonori dichiarati sono riportati nella sezione Dati tecnici del presente manuale e nel documento firmato Dichiarazione di conformità CE.
Lo spazzaneve fornito è conformeagli esemplari sottoposti a omologazione.
Inhoud
Inleiding. 139
Probleemoplossing. 159
Veiligheid. 142
Istruzioni originali
ManualeFacile