42.17 - Radio del coche Macrom - Manual de uso y guía de instrucciones gratis
Encuentra gratis el manual del aparato 42.17 Macrom en formato PDF.
| Tipo de dispositivo | Amplificador de audio |
| Función | Amplificación de potencia, puenteable para salida simultánea estéreo/mono |
| Alimentación | MOS-FET |
| Etapas de salida | Componentes discretos |
| Número de canales | No especificado |
| Potencia de salida | No especificado |
| Impedancia de salida | No especificado |
| Respuesta de frecuencia | No especificado |
| Relación señal/ruido | No especificado |
| Distorsión armónica | No especificado |
| Protección | No especificado |
| Dimensiones | No especificado |
| Peso | No especificado |
| Uso | Audio para automóvil |
| Modo de salida | Estéreo/Mono |
| Manual disponible en | Inglés, Alemán, Francés, Italiano, Español |
Descarga las instrucciones para tu Radio del coche en formato PDF gratis! Encuentra tus instrucciones 42.17 - Macrom y toma tu dispositivo electrónico nuevamente en la mano. En esta página están publicados todos los documentos necesarios para el uso de su dispositivo. 42.17 de la marca Macrom.
MANUAL DE USUARIO 42.17 Macrom
Para nosotros de MACROM, lo más importante es alcanzar la mejor calidad sonora. Puesto que Uds. eligieron el amplificador Digital Ready 42.15./42.17 realizado por MACROM consideramos que condividen nuestra actitud.
Launidad de Uds, está en conditiones de.Ofrecerles 70/100 Vatios MAX por canal a 4 Ohmios, o 150/200 Vatios MAX de puente en mono, con una sonoridad limpia y estable. Este manual de instruccione se preparo para ayudarles a aprovechar lo mas possible las prestaciones exceptionales y todas las caracteristicas technologicas de punta y de rendimiento elevado de su nuevo amplificador de potencia.
Lean atentamente este manual de instrucciones, para familiarizarse con todas las caracteristicas especialas y las functions de su nuevo modelo 42.15/42.17. En caso de dudas, dirijanse al revendedor autorizzato MACROM.
PRECAUCIONES
- Toda connexion no correcta可以帮助 a la unidad. Lean atentamente las instrucciones para conexiones de cables indicadas en este manual.
- Conecten porultimate el cable de la bateria al terminal (+) de la misma y unicamente tras haber completado y controlado lasdemasconexiones.
- Debido a la potencia del 42.15/42.17 es indispensable que todas las conexiones estén limpias y Sean seguras, ya que de othero modo darian origen a perjuicios.
- Cerciorense de que instalan el amplificador en una posicion que garantice buena circulacion del aire y buena disipacion del calor.
- Deberán sostituirse los fusibles con fusibles de amperaje identico, para evitar graves daños a los componentes. Si los fusibles se funden más de una vez, controlen cuidadosamente todas las conexiones electricas. Hagan verificar además el regulator de voltaje de su coche. Eviten reparar la unidad Uds. mismos. Posibles reparaciones tendrán que confiarse al distribuidor MACROM o al centro de assistencia MACROM de la zona.
- Para garantizar lasolestres prestacionesa su unidad,hagan que la temperatura en el interior delcoche oscileentre- 10^ y +60^ Cantes de encender la unidad. Es indispensableuna buena ventilacion para evitar recelentamente en el interio de la unidad.
CHARACTERISTICAS
El amplificador offre siempre la posibiliad de emplearse en estéreo o con una conexión de puente duplicando la potencia independiente del modo de entrada, que pueda repartirse de la?sigue的姿态:
a) 70/100 Varios para cada uno de los dos canales
b) 70/100 Vatios en dos canales estereo y 150/200 Vatios en mono
c) 150200 Vatios en un canal mono
- SELECTOR DEL MODO DE ENTRADA
Este interruptor permite especificar la senal de entrada del amplificador.
a) MODO ESTEREO
b) MODO IZQUIERDO (L- MONO)
c) MODO IZQUIERDO + DERECHO (L + R)
- ESTADIO FINAL DE COMPONENTES DISCRETOS (TRANSISTORES)
PRESTACION ELEVADA, RUIDO BAJO, COMPONENTES ACTIVOS Y PASIVOS
NO HAY LIMITACION DE CORRIENTE
Los circuitos de limitación de corrente, que incorpocran los amplificadores convenciones,SEO, y asegura un efecto T.I.M. bajo y una excellente respuesta transistoria y perfecta calidad sonora.
SENSIBILIDAD DE ENTRADA RCA
El nuevo amplificador tiene el ajuste de la sensibilitad de entrada posicionada a 500mV para el acoplamento ideal con fuentes MACROM. De todosodos se pueda ajustar la sensibilitad de forma continua de 100mV a 2V para acoplarlo fácilmente conoras fuentes presentes en el mercado.
- ENCENDIDO Y APAGADO A DISTANCIA
El amplificador se encenderá o se apagará automatistically, encendiendo o apagando la unidad principal.
- INDICADOR ON/OFF
PROTECCION TRIPLE
La unidad de Uds. cuenta, tal y como corresponde a los productos high-end, con tres protecciones differs:
SOFT START: el amplificador entra en funciona bajo para no dar a los altavoces en el caso de que, inadvertamente, se conecte la unidad principal con el volumen a tope.
RECALENTAMENTO: en el caso que hubieran errors de instalacion, la unidadenta en proteccion antes de danarse. Tan pronto como la temperatura vuelve a la normalidad, la unidad reanudara automatamente el functionamento normal.
CORTOCIRCUito EN SALIDA: en caso de cortocircuito en las calidas de altavoces, la unidadenta en proteccion para prevenir daños graves a los transistores finalas. La vuelta al estado defunacionamento normal se obtiene automatically eliminando el cortocircuito.
FILTRO DE ALIMENTACION CAPACITIVA/INDUCTIVA
Para un nivel bajo de interferencia de las Frequencias radio (RFI) y para eliminar ruidos en el Sistema (por exemple el aullido del alternador).
CHARACTERISTICAS
ALIMENTACION DE MOS-FET
La alta potencia del 42.15/42.17 se obtieneemployando un alimentador sofisticado a C-MOS-FET para rendimiento constante y eficiencia elevada, con minor absorccion de corriente. Resulten de ello prestaciones excelentes, una respuesta de fecuencia lineal y extensa y una dinamica elevada.
- TERMINALES DE ENTRADA RCA DORADOS
TERMINALES DE ALIMENTACION PROFESIONALES DE TORNILLOS, DORADOS. - TERMINALES DE SALIDA DE ALTAVOCES DE TORNILLOS, DORADOS
- IMPEDANCIA DE ALTAVOCES
4 6 2 Ohmios si se utilizes en estereofonia, 4 Ohmios si se utilizes en puente en monofonia
CONTROSES INDICATORES
CONTROLES E INDICATORS (Fig. 1, pag. 3)
① Indicador de posicion ON/OFF
② Conector de senal estereo o mono en entrada
③ Selector de senal Estéreo o Mono en entrada
Control de ganancia en entrada
⑤ Cuadro de Bornes salute altavoces
≈ Fusibles
Cuadro de bornes de alimentación
INSTALLACION
INSTALLACION (Fig. 1, pag. 3)
Debido a la calidad de alta potencia del amplificador, se produce un nivel de calor elevado durante el empleo de launidad.
Por lo tanto hay que instalar la unidad en un lugar en que haya buena circulación de aire, porque de lo contrario el amplificador se pondra en protección. Un lugar optimo es en el interior del maletero, naturalmente sin cubrir el amplificador con moqueta u other material.
- Apóyese launidad en el lugar de instalaciónlegantod,marcando la posicónde loscuatros tornillos defijación.
- Taledren los orificios para los tornillos.
- Coliquese en position el amplificador y atornillense los quatre tornillos de autoenroscado en dotacion.
NOTA: Empleen un tornillo ya instalado en la parte metálica del coche (marca con * en la figura) para garantizar buen contacto de masa.
CONEXIONES
1 Borne de salute positivo altavoz izquierdo, o salute positiva si está conmutado en MONO
2 Borne de salute negativo altovoz izquierdo
Borne de salute positivo altovoz correcho
4 Borne de salute negativo altovoz correcho, o de salute negativa si está commutado en MONO
⑤ Conector de entrada RCA del canal izquierdo o MONO
6 Conector de entrada RCA del canal derecho
7Fusible de 20/25 Amperios
Borne de alimentacion +12 Voltios a la bateria
Conecten este borne directamente al terminal positivo de la bateria del vehiculo, utilizing un cable de sección apropriad a la potencia del amplificador.
9 Borne para la connexion del cable negativo de masa
10 Borne para el encendido controlado a distancia REMOTE
- Cable de la bateria: Conectar el borne (+BATT) ⑧ directamente con la bateria del coche mediate un cable (amarillo) de seccion apropriad.
No deben connectarse este cable con los circuitos que ya existen en el sistema electrico del vehiculo. Para la proteccion del vehiculo, es muy importante insertar un fusible (no suministrado) muy cercano de la bateria.Esta connexion se efectuara enultimate lugar.
- Cable para encendido a distancia: Conectese este cable (blu) al cable de encendido a distancia o bien el cable de mando para la antenna electrica, procedente de la unidad principal, al borne REMOTE.
NOTA: En caso de no connexion de este cable, el amplificador no se encenderá al encender la unidad principal. Si la unidad principal de Uds. no tuviera calidad para la antenna electrica de potencia, habra que conectar un interruptor de balanca de disparo rápido (SPST) entre la fuente de encendida (+12 V) y el cable de encendido a distancia que hay que conectar con el borne REMOTE ⑩ para encender el amplificador a mano.
-
Cable de masa: Conecten el cable de masa (negro)firmamente a un punto limpio de la parte metallica del chasis del coche y al borne GND ⑨. Verificuese que el lugar elegido tenga continuaidad entre si mismo y el terminal negativo de la bateria. Emplese un cable de masa lo mas corte posible, y en el caso de empleo de various amplificadores, conecten todas las masas correspondientes en un unico punto.
-
Fusible: al tener que sostuir el fusible, cerciorense que cambiarlo con fusible del@mimo amperaje. El empleo de fusibles no correctos podria causar graves daños a los componentes.
-
Terminales de calidad de altavoces: Cercio rense de que la polaridad y fase de los altavoces sean correctas.
NOTA: No permitted que cables no aislados correctamentethern en contacto con la masa o que hagan contacto entre si.
- CONECTORES DE ENTRADA RCA
Conecten los cables de salute Pre de su unidad principal con los connectores de entrada RCA, Respectivamente RCA ≈ derecho y RCA izquierdo ⑤, utilizing cables de prolonge RCA (90.05-90.10-90.25-90.50 de MACROM).
Cercioense de seguir la designacion correcta del los canales: izquierdo L (blanco), derecho R (rojo).
REGULACIONES E INTERRUPTORES
INTERRUPTOR DE SELECTION DE ENTRADA
a) MODO "ESTEREO". SeLECTIONEN la posicion "ST" al utilize el amplificador como un sistema estereo de 2 canales.
Note: también en este caso es possible la conexion del canal central L + R -
b)MODO "L-MONO". SeLECTIONEN la posicion "L-MONO" al utilizes el amplificador con un solo canal de entrada. NOTEA: Conecten los cables precedentes de un solo altovoz a los Bornes (L + R - ) para Obtener una connexion BTL (de puente). Si desean una imagen estereofonica habra que emplear uno 42.14/42.16 conectado del mesmo modo con el othert altovoz.
c) MODO "L+R". SeLECTIONEN el interruptor en posicion " + R" al utilizes el amplificador para un systeme de subwoofer que utilizes los canales derecho y izquierdo. Las dos entradas se mezclaran asi, obteniendo una sola seals monofonica en salute repartida por los dos canales o por un solo canal con el doble de la potencia si el subwoofer está connectado al canal central (L + R)



CONTROL DE REGULACION DE LA GANANCIA EN ENTRADA
La posicion central sirve para selectionar la sensibilities de la entrada a 500mV ,que corresponde a la calidad de preamplificacion de los productos MACROM.
Toda vez que deseen conectar el amplificador a una unidad principal, que no sea MACROM, pero queonga開放 preamplificadas tipo RCA, hay que hacer lo singular:

a) coloquen el control del volumen de su unidad principal a 3/4 de la calidad maxima.
b) ajusten ahora el control de ganancia de entrada empleando un desatornillador y regulen la ganancia en entrada de 0,1 a 2 Voltios para Obtener la presión sonora Tmaxa, pero sin distorsiones.

DATOS TECHNICOS
Potencia de salute ESTEREO 42.15
Potencia maxima 70Wx2
Potencia de calidad en PUENTE
Potencia maxima, 4 Ohms, 1 kHz 150W
Potencia de salute ESTEREO 42.17
Potencia maxima 100Wx2
Potencia de salute en PUENTE
Potencia maxima, 4 Ohms, 1 kHz 200Wx2
Respuesta en fecuencia +0 -1 dB 10-50.000 Hz
Relación seminal/ruido, pesado INFA 105 dB
Sensibilitad de entrada/impedancia
(para calidad de potencia nominal)
Control con posicón central 500 mV/10 kOhms
Control variable 100-2.000 mV/10 kOhms
Impedencia de altavoces 4 o 2 Ohms (estereo)
4 Ohms (en puente, mono)
Alimentacion (a tierra negativa) 14.0 V DC (11-16 V admitido)
Peso neto
42.15 1,3 kgs
42.17 1,5 kgs
Dimensiones del chasis
Debido a los continuos favoritos aportados al producto, las caracteristicas y el Diseño peuvent experimentar variaciones sin avis lo previo.
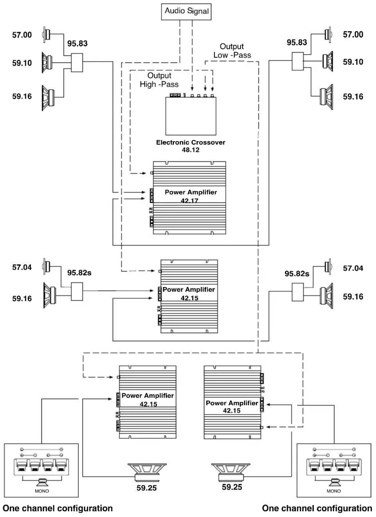
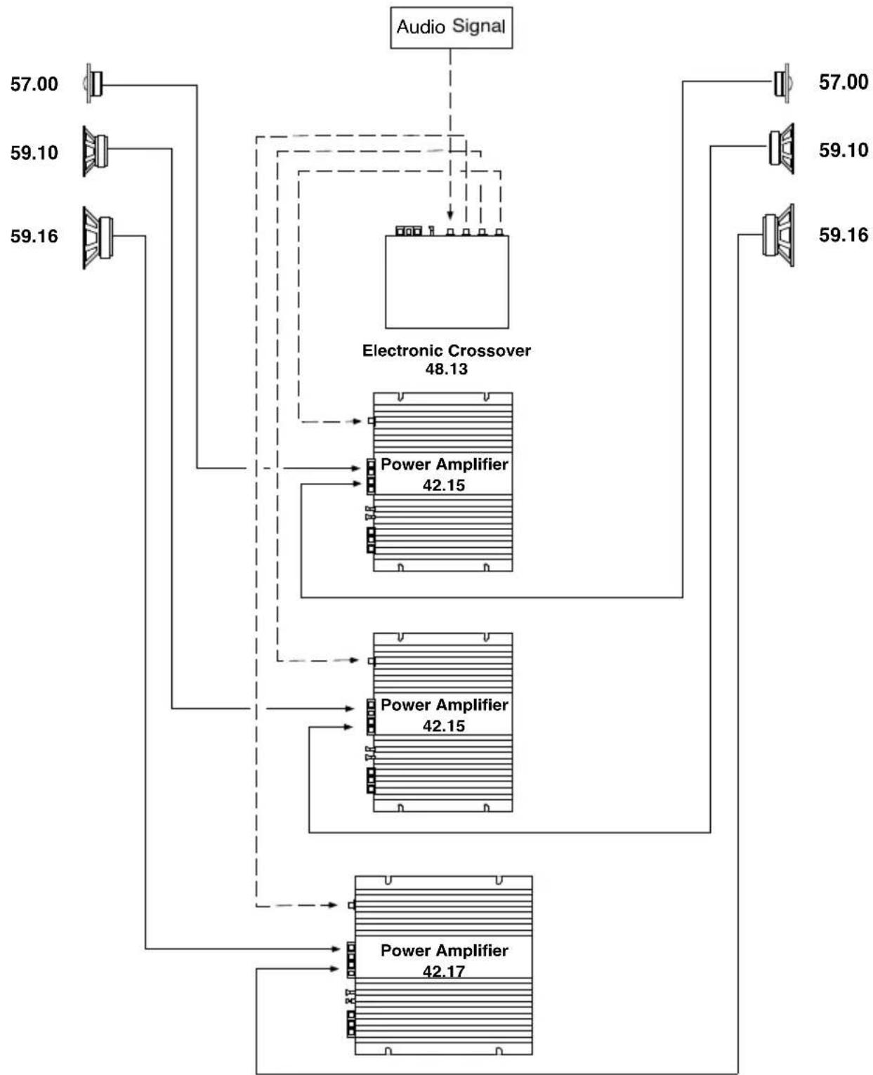
SYSTEM CHART / SYSTEM-DIAGRAMM / EXAMPLES DE SYSTEME DIAGRAMMA DI SISTEMA / DIAGRAMA DEL SISTEMA

SYSTEM CHART / SYSTEM-DIAGRAMM / EXAMPLES DE SYSTEME DIAGRAMMA DI SISTEMA / DIAGRAMA DEL SISTEMA

ManualFácil