SAWCT770 - Embarazada SONY - Manual de uso y guía de instrucciones gratis
Encuentra gratis el manual del aparato SAWCT770 SONY en formato PDF.
Preguntas de los usuarios sobre SAWCT770 SONY
0 pregunta sobre este aparato. Responde a las que conoces o haz la tuya.
Hacer una nueva pregunta sobre este aparato
Descarga las instrucciones para tu Embarazada en formato PDF gratis! Encuentra tus instrucciones SAWCT770 - SONY y toma tu dispositivo electrónico nuevamente en la mano. En esta página están publicados todos los documentos necesarios para el uso de su dispositivo. SAWCT770 de la marca SONY.
MANUAL DE USUARIO SAWCT770 SONY
Manual de instrucciones
ES
Gebruiksaanwijzing
NL
Bedienungsanleitung
DE
Instrukcja obsługi
PL
No instale el aparato en un espacio cerrado, como una estantería o un armario empotrado.
Para reducir el riesgo de incendio, no cubra la abertura de ventilación del dispositivo con periódicos, paños, cortinas, etc. No exponga el dispositivo a fuentes de llamas vivas (velas encendidas, por ejemplo).
Para reducir el riesgo de incendio o descarga eléctrica, no exponga el dispositivo a goteos ni salpicaduras de líquidos. No coloque objetos llenos de líquido, como vasos, sobre el dispositivo.
Aunque apague la unidad, no se desconectará de la red mientras permanezca conectada a la toma de CA.
Conecte la unidad a una toma de pared fácilmente accesible, puesto que el enchufe principal se utiliza para desenchufar la unidad de la fuente de alimentación. Si detecta cualquier anomalía, extraiga inmediatamente el enchufe de la toma de alimentación de CA.
No exponga las baterías ni los dispositivos con batería a un calor excesivo, como la luz directa del sol o fuego.
Solo para usos interiores.
Para el altavoz de barra
La placa de identificación está situada en la parte inferior.
Cables recomendados
Para conectar los ordenadores host y/o los periféricos deben utilizarse conectores y cables con una puesta a tierra y un blindaje correctos.
Este equipo ha sido probado y conformado a los límites establecidos en la Directiva de EMC con un cable de conexión de menos de 3 metros de longitud.
Aviso para los clientes: la siguiente información es aplicable únicamente a productos vendidos en países en los cuales rigen las directivas de la UE.
Este producto ha sido fabricado por, o en nombre de Sony Corporation, 1-7-1 Konan Minato-ku Tokyo, 108-0075 Japón. Las consultas relacionadas con la conformidad del producto basadas en la legislación de la Unión Europea deben dirigirse al representante autorizado, Sony Deutschland GmbH, Hedelfinger Strasse 61, 70327 Stuttgart, Alemania. Para cualquier asunto relacionado con el servicio o la garantía, por favor diríjase a la dirección indicada en los documentos de servicio o garantía adjuntados con el producto.

Por medio de la presente Sony Corp. declara que este equipo cumple con los requisitos esenciales y cualesquiera otras disposiciones aplicables o exigibles de la Directiva 1999/5/CE.
Para mayor información, por favor consulte el siguiente URL: http://www.compliance.sony.de/

Tratamiento de los equipos eléctricos y electrónicos al final de su vida útil (aplicable en la Unión Europea y en países europeos con sistemas de tratamiento selectivo de residuos)
Este símbolo en el equipo o en su embalaje indica que el presente producto no puede ser tratado como residuos doméstico normal. Debe entregarse en el correspondiente punto de recogida
de equipos eléctricos y electrónicos. Al asegurarse de que este producto se desecha correctamente, usted ayuda a prevenir las consecuencias potencialmente negativas para el medio ambiente y la salud humana que podrían derivarse de la incorrecta manipulación en el momento de deshacerse de este producto. El reciclaje de materiales ayuda a conservar los recursos naturales.
Para recibir información detallada sobre el reciclaje de este producto, póngase en contacto con el ayuntamiento, el punto de recogida más cercano o el establecimiento donde ha adquirido el producto.

Tratamiento de las baterías al final de su vida útil (aplicable en la Unión Europea y en países europeos con sistemas de recogida selectiva de residuos)
Este símbolo en la batería o en el embalaje indica que la batería proporcionada con este producto no puede ser tratada como un residuo doméstico normal.
En algunas baterías este símbolo puede utilizarse en combinación con el símbolo químico. El símbolo químico del mercurio (Hg) o del plomo (Pb) se añadirá si la batería contiene más del 0,0005% de mercurio o del 0,004% de plomo.
Al asegurarse de que estas baterías se desechan correctamente, Ud. ayuda a prevenir las consecuencias negativas para el medio ambiente y la salud humana que podrían derivarse de la incorrecta manipulación en el momento de deshacerse de la batería. El reciclaje de materiales ayuda a conservar los recursos naturales.
En el caso de productos que por razones de seguridad, rendimiento o mantenimiento de datos, sea necesaria una conexión permanente con la batería incorporada, esta batería solo deberá ser reemplazada por personal técnico cualificado para ello.
Para asegurarse de que la batería será tratada correctamente, entregue el producto al final de su vida útil en un punto de recogida para el reciclado de aparatos eléctricos y electrónicos.
Para las demás baterías, vea la sección donde se indica cómo quitar la batería del producto de forma segura.
Deposite la batería en el correspondiente punto de recogida para el reciclado.
Para recibir información detallada sobre el reciclaje de este producto o de la batería, póngase en contacto con el ayuntamiento, el punto de recogida más cercano o el establecimiento donde ha adquirido el producto.
Índice
Funciones útiles
Instalación del altavoz de barra en una pared ....5
Uso de la función Control por HDMI ....7
Utilización de las funciones de "BRAVIA" Sync ....8
Controlar el sistema utilizando un smartphone o una tableta (SongPal)....9
Ajuste de la configuración .....11
Enlace del sistema (LINK) 14
Varios
Precauciones 15
Tecnología inalámbrica BLUETOOTH 17
Solución de problemas .... 19
Componentes y controles ....23
Especificaciones ....29
Consulte la Guía de inicio suministrada para obtener información sobre la configuración y operaciones básicas.
Funciones útiles
Instalación del altavoz de barra en una pared
El altavoz de barra se puede instalar en una pared.
Notas
•Prepare unos tornillos (no suministrados) adecuados para el material y la resistencia de la pared. Las paredes de paneles de yeso son especialmente frágiles, por lo que recomendamos colocar los tornillos con seguridad en dos postes del tabique de soporte. Instale el altavoz de barra horizontalmente, colgado de los tornillos previamente colocados en los postes de una sección continua y lisa de la pared.
- Confíe siempre la instalación a distribuidores de Sony o a empresas con licencia, y tenga siempre muy en cuenta la seguridad durante la instalación.
- Sony declina toda responsabilidad en caso de accidentes o daños provocados por una mala instalación, una pared poco resistente, una mala colocación de los tornillos o un desastre natural, etc.
1 Utilice los tornillos suministrados para fijar los soportes para montaje en pared suministrados a los orificios de fijación del soporte situados en la parte inferior del altavoz de barra, de modo que la superficie de cada soportes para montaje en pared quede como se ve en la ilustración.
Fije los dos soportes para montaje en pared a los orificios de fijación izquierdo y derecho de la parte inferior del altavoz de barra.

text_image
Cable de alimentación de CA Tornillo (suministrado) Soporte para montaje en pared (suministrado)continúa
2 Prepare los tornillos (no suministrado) adecuados para los orificios de la parte posterior de los soportes para montaje en pared.


Orificio del soporte para montaje en pared
3 Apriete los tornillos a dos postes de la pared.
Los tornillos deben sobresalir entre 6 y 7 mm.

text_image
HT-CT370: 652 mm HT-CT770: 605 mm 6 a 7 mm4 Cuelgue de estos tornillos los soportes para montaje en pared fijados previamente al altavoz de barra.
Alinee los orificios de los soportes para montaje en pared con los tornillos y cuelgue el altavoz de barra de los dos tornillos.

El altavoz de barra detecta automáticamente si está montado en una pared o si está colocado sobre una superficie plana, y según el caso, optimiza el sonido para esa orientación.
Uso de la función Control por HDMI
Cuando se usa la función Control por HDMI y se conecta un equipo compatible con la función Control por HDMI a través de un cable HDMI de alta velocidad, el funcionamiento se simplifica con las características siguientes.
La función Control por HDMI se activa ajustando "CTRL (Control por HDMI)" en "ON" (página 12). El ajuste predeterminado es "ON".
Apagado del sistema
Al apagar el televisor, el sistema y el equipo conectado se apagan automáticamente.
Control de audio del sistema
Si el sistema se enciende mientras se está viendo la televisión, el sonido del televisor se emitirá automáticamente desde los altavoces del sistema. El volumen del sistema se ajusta al ajustar el volumen mediante el mando a distancia del televisor.
Si el sonido de televisor se emitía a través de los altavoces del sistema la última vez que estuvo viendo el televisor, el sistema se enciende automáticamente al encender de nuevo el televisor.
Canal de retorno de audio (ARC)
Si el televisor es compatible con la tecnología Canal de retorno de audio (ARC), la conexión del cable HDMI de alta velocidad también permitirá enviar señales de audio digital desde el televisor al sistema. No es necesario realizar una conexión de audio por separado para escuchar el sonido del televisor por el sistema. La función ARC se activa ajustando "ARC (Canal de retorno de audio)" en "ON" (página 12). El ajuste predeterminado es "ON".
Reproducción mediante una pulsación
Cuando se activa el equipo (reproductor Blu-ray Disc™, "PlayStation®4", etc.) conectado al sistema con un cable HDMI de alta velocidad, el televisor conectado se enciende automáticamente y la señal de entrada del sistema cambia a la entrada HDMI adecuada.
Notas
- Es posible que las funciones anteriores no estén operativas con determinados equipos.
- Es posible que la función Control por HDMI no funcione correctamente, dependiendo de los ajustes de los equipos conectados. Consulte el manual de instrucciones del equipo en cuestión.
Utilización de las funciones de "BRAVIA" Sync
Las funciones originales de Sony enumeradas a continuación también pueden usarse con productos que sean compatibles con "BRAVIA" Sync.
Ahorro de energía
Si se conecta un televisor compatible con "BRAVIA" Sync al sistema, el consumo de energía se reduce en el modo de espera gracias a que la transmisión de la señal HDMI se detiene cuando se apaga el televisor con la función de salida directa* del sistema ajustada en "AUTO" (página 12).
El ajuste predeterminado es "AUTO".
Si se conecta un televisor que no sea "BRAVIA", esta función se debe ajustar en "ON" (página 12).
* La función de salida directa para las señales HDMI se utiliza para emitir las señales desde la toma HDMI OUT de este sistema aunque se encuentre en el modo de espera.
Notas acerca de las conexiones HDMI
- Utilice un cable HDMI de alta velocidad. Si utiliza un cable HDMI estándar, es posible que las imágenes 1080p, Deep Color, 3D y 4K no se visualicen correctamente.
- Utilice un cable HDMI autorizado.
Utilice un cable Sony de HDMI de alta velocidad con el logotipo de tipo de cable. - No es recomendable utilizar un cable de conversión HDMI-DVI.
-
Compruebe la configuración del equipo conectado si la imagen es de baja calidad o si el sonido no se emite por el equipo conectado mediante el cable HDMI.
-
Es posible que el equipo conectado canceled las señales de audio (frecuencia de muestreo, longitud de bits, etc.) que se transmiten desde una toma HDMI.
- Es posible que se interrumpa el sonido si se modifican la frecuencia de muestreo o el número de canales de las señales de salida de audio del equipo en reproducción.
- Si el equipo conectado no es compatible con la tecnología de protección de derechos de autor (HDCP), es posible que la imagen y/o el sonido de la toma HDMI OUT de este sistema sufra algún tipo de distorsión o que no se emita. En tal caso, compruebe las especificaciones del equipo conectado.
- Si se selecciona "TV" como la fuente de entrada del sistema, las señales de vídeo emitidas a través de una de las tomas HDMI IN 1/2/3 seleccionadas la última vez se emitirán por la toma HDMI OUT.
- Este sistema es compatible con la transmisión Deep Color, "x.v.Colour", 3D y 4K.
- Para visualizar imágenes en 3D, conecte equipos de televisión y vídeo compatibles con 3D (reproductor de Blu-ray Disc, "PlayStation4", etc.) al sistema utilizando cables HDMI de alta velocidad, póngase unas gafas 3D y reproduzca Blu-ray Disc compatibles con 3D, etc.
- Para visualizar imágenes 4K, el televisor y los reproductores conectados al sistema deben ser compatibles con las imágenes 4K.
Controlar el sistema utilizando un smartphone o una tableta (SongPal)
"SongPal" es la aplicación que se utiliza para operar el sistema con su smartphone o tableta, etc.
"SongPaí" está disponible tanto en Google Play™ como en App Store.
Esta función se activa estableciendo "BT PWR (Alimentación BLUETOOTH)" en "ON" (página 12). El ajuste predeterminado es "ON".

text_image
TV + - + - + - TV FREQ + - + - DISPLAY + - + - + - + - + - + - + - + - + - + - + - + - + - + - + - + - + - + - + - + - + - + - + - + - + - + - + - + - + - + - + - + - + - + - + - + - + - + - + - + - + - + - + - + - + - + - + - + - + - + - + -Cuando se utiliza un dispositivo Android™
1 Pulse el botón I/⏻ (encendido/espera) del mando a distancia.
La pantalla del altavoz de barra se ilumina.
2 Encuentre "SongPal" con el dispositivo Android y descargue la aplicación.
3 Ejecute "SongPal" y siga las instrucciones en pantalla.
4 Después de que aparezca la pantalla de conexión BLUETOOTH en el dispositivo Android, pulse el botón PAIRING del mando a distancia.
El indicador luminoso (azul) parpadea rápidamente durante el emparejamiento BLUETOOTH.
5 Seleccione "SONY:HT-CT370" o "SONY:HT-CT770" en la lista de dispositivos BLUETOOTH del dispositivo Android.
Una vez establecida la conexión, el indicador luminoso (azul) del altavoz de barra se encenderá.
6 Opere el sistema a través de la pantalla del dispositivo Android conectado.
continúa
Sistema Conéctate con un solo toque utilizando el dispositivo Android con la función NFC incorporada (NFC)
1 Lleve a cabo los pasos del 1 al 3 de "Cuando se utiliza un dispositivo Android".
2 Cuando aparezca la pantalla de conexión BLUETOOTH en el dispositivo Android, toque el dispositivo Android con la marca N del altavoz de barra.
Una vez establecida la conexión, el indicador luminoso (azul) del altavoz de barra se encenderá.

text_image
Indicador luminoso (azul)3 Opere el sistema a través de la pantalla del dispositivo Android.
Cuando se utiliza un iPhone/iPod touch
1 Pulse el botón I/⏻ (encendido/espera) del mando a distancia.
La pantalla del altavoz de barra se ilumina.
2 Pulse el botón PAIRING en el mando a distancia.
El indicador luminoso (azul) del altavoz de barra parpadea rápidamente durante el emparejamiento BLUETOOTH.
3 Ajuste el iPhone/iPod touch en modo de emparejamiento y seleccione "SONY:HT-CT370" o "SONY:HT-CT770" en la lista de dispositivos BLUETOOTH del iPhone/iPod touch.
Una vez establecida la conexión, el indicador luminoso (azul) del altavoz de barra se encenderá.
4 Encuentre "SongPal" con el iPhone/iPod touch conectado y descargue esa aplicación.
5 Ejecute "SongPal" y opere el sistema a través de la pantalla del iPhone/iPod touch.
Ajuste de la configuración

text_image
TV TV I/O + DISPLAY + TV PMS - CLEAR AUDIO+ SW - COLDING MOVE GAME SOUND FIELD MUSIC FAUDIO SPORTS VIRLS NEXT* OK ← (atrás)/ ↑ ↓ (Seleccionar)/ → (adelante)/ + (confirmar) AMP MENU RETURN AMY MENU BLUETOOTH - - - - - - - - - - - - - - - - - - - - - - - - - - - - - - - - - - - - - - - - - - - - - - - - - - -Puede establecer los siguientes elementos con el botón AMP MENU del mando a distancia. La configuración se conservará aunque desconecte el cable de alimentación de CA.
1 Pulse el botón AMP MENU del mando a distancia para mostrar la ventana del menú del amplificador en la pantalla del altavoz de barra.
2 Seleccione el ajuste deseado con el botón ← (atrás)/↑ ↓ (seleccionar)/→ (adelante) y pulse el botón ⊕ (confirmar).
3 Pulse el botón AMP MENU para salir de la ventana del menú del amplificador.
| Menú Función | Predeterminado | ||
| LEVEL DRC | (Control del rango dinámico) | Permite disfrutar del sonido Dolby Digital con volúmenes de sonido bajos. (ON/AUTO/OFF)ON: Comprime el sonido de acuerdo con la información de compresión incluida en el contenido.AUTO: Comprime automáticamente el sonido codificado en Dolby TrueHD.OFF: No se comprime el sonido. | AUTO |
| TONE BASS Se | enfatiza el sonido bajo. | El ajuste puede cambiar de -6 a +6 en unidades de 1. | 0 |
| TREBLE Se enfatiza el sonido alto. El ajuste puede cambiar de -6 a +6 en unidades de 1. | 0 | 0 | |
| AUDIO SYNC | (Sincronización AV) | Permite ajustar el sonido cuando la imagen y el sonido no están sincronizados. (ON/OFF) | OFF |
| DUAL(Mono dual) | Permite disfrutar de un sonido de emisión múltiplex de audio Dolby Digital. (M/S (canales principal y secundario)/MAIN (canal principal)/SUB (canal secundario)) | MAIN | |
| AAV(Volumen automático avanzado) | Reduce las discrepancias de volumen entre diferentes programas o entre programas y anuncios. (ON/OFF) | OFF | |
| EFFECT(Efecto de sonido) | ON: Se reproduce el sonido del campo de sonido seleccionado. Se recomienda utilizar este ajuste.OFF: La fuente de entrada se mezcla en 2 canales.Nota: Cuando "EFFECT (Efecto de sonido)" está establecido en "OFF", "EFFECT (Efecto de sonido)" se ajustará automáticamente en "ON" al cambiar el ajuste SOUND FIELD. | ON | |
continúa

text_image
TV + TV I/O TV PRS + DRFLAY + SW - E.C.R.N (ADAMS) STANDARD MOSO SOUND FELD WRITE P.AUDR SPORTS ← (atrás)/ ↑ ↓ (SELECTOR) → (adelante)/ ( confirmar ) AMP MENU VOICE RIGHT OK RETURN AMP MENU BLUTTOOTH PASS PASS PASS BIG ■| Menú Función | Predeterminado | ||
| HDMI CTRL | (Control por HDMI) | Para activar o desactivar la función Control por HDMI. (ON/OFF)Para obtener más información, consulte "Uso de la función Control por HDMI" (página 7). | ON |
| P. THRU(Salida directa) | Ajusta el modo de ahorro de energía de la función de salida directa de las señales HDMI. (AUTO/ON)AUTO: Emite las señales de la toma HDMI OUT del sistema en el modo de espera de acuerdo con el estado del televisor. Este ajuste ahorra energía en modo de espera, comparado con el ajuste "ON".ON: Emite señales siempre de la toma HDMI OUT en el modo de espera. Si se conecta un televisor que no sea "BRAVIA" utilice el sistema con el ajuste "ON".Nota: Este elemento solamente aparece cuando "CTRL (Control por HDMI)" está establecido en "ON". | AUTO | |
| ARC(Canal de retorno de audio) | Para escuchar sonido digital de un televisor compatible con la tecnología Canal de retorno de audio (ARC) conectado mediante un cable HDMI de alta velocidad. (ON/OFF)Nota: Este elemento solamente aparece cuando "CTRL (Control por HDMI)" está establecido en "ON". | ON | |
| SET BT BT PWR | (Alimentación BLUETOOTH) | Activa o desactiva la función BLUETOOTH de este sistema. (ON/OFF)Nota: Si cambia el ajuste a "OFF", las funciones BLUETOOTH y NFC se desactivarán. | ON |
| BT.STBY(Espera de BLUETOOTH) | Cuando el sistema tiene información de emparejamiento, el sistema se encuentra en el modo de espera de BLUETOOTH incluso cuando está apagado. (ON/OFF) | ON | |
| AAC(Codificación de audio avanzada) | Permite ajustar si el sistema utilizará o no el formato AAC a través de BLUETOOTH. (ON/OFF)Nota: Si el ajuste se modifica cuando el sistema está conectado con un dispositivo BLUETOOTH, el sistema se desconectará del dispositivo. | ON | |
| SYSTEM A. STBY(Espera automática) | Activa o desactiva la función AUTO POWER OFF. (ON/OFF) El sistema se apaga automáticamente si no se ha realizado ninguna operación durante un determinado tiempo (unos 20 minutos) y si el sistema no está recibiendo una señal de entrada. | ON | |

text_image
TV + - TV PROS - DISPLAY - CLEAR (GAMES) + SW + - STORMS MOVE SOUND FIELD MUSIC RAUDO GAME IFRES VOLUME NEMENT OK + - RETURN AMP MENU INLETODITH BE PASS PASS PASS AMP MENU ← (atrás)/ ↑ ↓ (Seleccionar)/ → (adelante)/ + (confirmar) AMP MENU| Menú Función | Predeterminado | ||
| WS | LINK | Para volver a enlazar el sistema de sonido inalámbrico (página 14). | - |
| RF CHK Para comprobar | si el sistema de sonido inalámbrico del sistema se puede comunicar o no. (OK/NG) | - | |
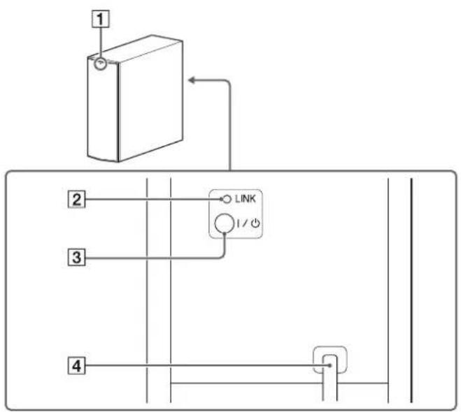
Enlace del sistema (LINK)

text_image
TV TV I/O + BLUFLAY + SW TV FING - CLEAR (ADJEC) - + (LAVEL) + SAIN (MUSC) PARDIG SPORTS VINCE VOUT (atrás)/ ↑ ↓ (seleccionar)/ → (adelante)/ ⊕ (confirmar) AMP MENU RETURN AMT MENU BLUFTGOTII | | | | | | | | | | | | | | | | | | | | | | | | | | | | | | | | | | | | | | | | | | | | | | | | | | |
text_image
Indicador luminoso de encendido/espera HT-CT370 HT-CT770 Indicador luminoso de encendido/espera Botón LINK —— LINK 1 / 1 1 / 1 LINK Botón LINKVuelva a configurar la conexión del altavoz potenciador de graves inalámbrico.
1 Pulse el botón AMP MENU en el mando a distancia.
2 Seleccione "WS" con el botón ↑ ↓ (seleccionar) y luego pulse el botón (confirmar) o el botón → (adelante).
3 Seleccione "LINK" con el botón (seleccionar) y luego pulse el botón (confirmar) o el botón (adelante).
4 Cuando aparezca "START" en la pantalla del altavoz de barra, pulse el botón (confirmar).
Aparece "SEARCH" y el altavoz de barra inicia la búsqueda de equipos que se puedan usar mediante la función Link. Realice el paso siguiente antes de que haya transcurrido 1 minuto de tiempo.
Para salir de la función de enlace durante una búsqueda de equipos, pulse el botón ← (atrás).
5 Pulse el botón LINK del altavoz potenciador de graves con la punta de un bolígrafo o similar.
El indicador luminoso de encendido/espera del altavoz potenciador de graves se ilumina en verde. Aparece "OK" en la pantalla del altavoz de barra.
Si aparece "FAILED", asegúrese de que el altavoz potenciador de graves está encendido y repita el proceso desde el paso 1.
6 Pulse el botón AMP MENU.
El menú del amplificador se apaga.
Varios
Precauciones
Seguridad
- Si se introduce algún objeto o cae líquido en el sistema, desenchúfelo y haga que lo revise un técnico especializado antes de volver a utilizarlo.
- No se suba encima del altavoz de barra ni del altavoz potenciador de graves, ya que podría caerse y lesionarse, o provocar daños en el sistema.
Fuente de alimentación
- Antes de utilizar el sistema, compruebe que la tensión de funcionamiento coincide con su nivel de suministro. La tensión de funcionamiento figura en la placa identificativa de la parte inferior del altavoz de barra.
- Si no va a utilizar el sistema durante un período prolongado de tiempo, no olvide desconectarlo de la toma de pared. Para desconectar el cable de alimentación de CA, tire del enchufe propiamente dicho, nunca del cable.
- Una de las clavijas del enchufe es más ancha que la otra por motivos de seguridad y puede introducirse en la toma de pared en un solo sentido. Si tiene dificultades para introducir completamente el enchufe en la toma de pared, hable con su distribuidor.
- El cable de alimentación de CA solo deberá ser sustituido en un establecimiento cualificado.
Accumulación de calor
El sistema se calienta durante su funcionamiento, pero no se trata de un problema. Si utiliza el sistema de forma continuada a un volumen elevado, la temperatura en sus zonas posterior e inferior puede aumentar considerablemente. No toque el sistema, ya que podría quemarse.
Colocación
•Coloque el sistema en un lugar con ventilación adecuada para evitar la acumulación de calor y prolongar la vida del sistema.
- No instale el sistema cerca de fuentes de calor ni en lugares expuestos a la luz solar directa, a polvo excesivo o a impactos mecánicos.
- No coloque en la parte posterior del altavoz de barra o el altavoz potenciador de graves objetos que puedan bloquear sus orificios de ventilación y provocar averías.
- Si el sistema se utiliza junto con un televisor, una grabadora de vídeo o un radiocasete, es posible que se produzcan ruidos y que se vea afectada la calidad de imagen. En tal caso, mantenga el sistema alejado del televisor, grabadora de vídeo o radiocasete.
- Tenga cuidado cuando coloque el sistema en una superficie con tratamientos especiales (de cera, aceite, abrillantador, etc.), ya que podría desteñir o decolorar la superficie.
- Tenga cuidado para evitar posibles lesiones con las esquinas del altavoz de barra o del altavoz potenciador de graves.
Funcionamiento
Antes de conectar algún otro equipo, verifique que ha apagado y desenchufado el sistema.
Si aprecia irregularidades del color en una pantalla de televisión próxima
En determinados tipos de aparatos de televisión pueden producirse irregularidades del color.
Si se aprecia irregularidad del color...
Apague el televisor y vuelva a encenderlo cuando hayan transcurrido 15 o 30 minutos.
Si se sigue apreciando irregularidad del color...
Coloque el sistema más lejos del televisor.
Limpieza
Limpie el sistema con un paño suave y seco. No utilice estropajos, polvos limpiadores ni disolventes, como alcohol o bencina.
continúa
Si desea realizar alguna consulta o solucionar algún problema relacionado con el sistema, póngase en contacto con el distribuidor Sony más próximo.
Derechos de autor
Este sistema incorpora Dolby* Digital y DTS** Digital Surround System.
* Fabricado bajo licencia de Dolby Laboratories. Dolby y el símbolo de la doble D son marcas comerciales de Dolby Laboratories.
** Fabricado bajo licencia amparado por las patentes de los Estados Unidos: 5.956.674; 5.974.380; 6.226.616; 6.487.535; 7.212.872; 7.333.929; 7.392.195; 7.272.567 y otras patentes estadounidenses e internacionales emitidas y pendientes. DTS-HD, el símbolo, DTS-HD y el símbolo son marcas comerciales registradas de DTS, Inc. El producto incluye el software. © DTS, Inc. Todos los derechos reservados.
La marca de la palabra BLUETOOTH* y sus logotipos son marcas comerciales registradas de Bluetooth SIG, Inc. y cualquier uso de los mismos por parte de Sony Corporation se realiza bajo licencia.
Este sistema incorpora tecnología High-Definition Multimedia Interface (HDMI™).
Los términos HDMI y HDMI High-Definition Multimedia Interface y el logotipo de HDMI son marcas comerciales o marcas comerciales registradas de HDMI Licensing LLC en los Estados Unidos y otros países.
El logotipo de "BRAVIA" es una marca comercial de Sony Corporation.
"DSEE" es una marca comercial de Sony Corporation.
"x.v.Colour" y el logotipo de "x.v.Colour" son marcas comerciales de Sony Corporation.
"PlayStationx" es una marca comercial registrada de Sony Computer Entertainment Inc.
N Mark es una marca comercial o una marca comercial registrada de NFC Forum, Inc. en los Estados Unidos y en otros países.
Android y Google Play son marcas comerciales de Google Inc.
"ClearAudio+" es una marca comercial de Sony Corporation.
Apple, el logotipo Apple, iPhone, iPod, e iPod touch son marcas comerciales de Apple Inc., registradas en los Estados Unidos y en otros países. App Store es una marca de servicio de Apple Inc.
Made for
iPod iPhone
"Made for iPod" y "Made for iPhone" significan que un accesorio electrónico ha sido diseñado específicamente para conectarse con un iPod o iPhone respectivamente y que ha sido certificado por el desarrollador que cumple con las normas de funcionamiento de Apple. Apple no se responsabiliza del funcionamiento de este dispositivo ni de su cumplimiento con las normas de seguridad ni reguladoras. Tenga en consideración que el uso de este accesorio con un iPod o iPhone puede afectar al funcionamiento inalámbrico.
Modelos de iPod/iPhone compatibles
Los modelos compatibles de iPod/iPhone son los siguientes: Actualice su iPod/iPhone con la última versión de software antes de utilizarlo con el sistema.
La tecnología BLUETOOTH funciona con:
- iPhone
iPhone 5s/iPhone 5c/iPhone 5/iPhone 4s/iPhone 4/iPhone 3GS - iPod touch
iPod touch (5° generación)/iPod touch (4° generación)
Las demás marcas y nombres comerciales pertenecen a sus respectivos propietarios.
Tecnología inalámbrica BLUETOOTH
Perfiles y versión de BLUETOOTH compatibles
Se denomina perfil a un conjunto estándar de funciones que engloba distintas funcionalidades de productos BLUETOOTH. Consulte las "Especificaciones" (página 29) para obtener información sobre la versión de BLUETOOTH y los perfiles compatibles con este sistema.
Notas
- Para poder utilizar la función BLUETOOTH, es necesario que el dispositivo BLUETOOTH que desea conectar tenga el mismo perfil que este sistema. Incluso si el dispositivo es compatible con el mismo perfil, puede que las funciones sean diferentes debido a las especificaciones del dispositivo BLUETOOTH.
- Puede que la reproducción de audio en el sistema se retrase con respecto a la del dispositivo BLUETOOTH debido a las características de la tecnología inalámbrica BLUETOOTH.
Rango de comunicación efectivo
Los dispositivos BLUETOOTH deben estar a una distancia máxima entre sí de aproximadamente 10 metros (sin obstáculos). El rango de comunicación efectivo podría ser menor en función de las siguientes circunstancias:
- Cuando haya una persona, un objeto metálico, una pared u otro obstáculo entre los dispositivos enlazados con una conexión BLUETOOTH
- Entornos en los que haya una LAN inalámbrica instalada
- Cerca de hornos microondas que se estén utilizando
- Entornos en los que se generen otras ondas electromagnéticas
Efectos de otros dispositivos
Los dispositivos BLUETOOTH y equipos de LAN inalámbrica (IEEE 802.11b/g) utilizan la misma banda de frecuencia (2,4 GHz). Cuando utilice un dispositivo BLUETOOTH cerca de un dispositivo con capacidad de LAN inalámbrica, puede que se produzcan interferencias electromagnéticas.
Esta situación podría producir una velocidad de transferencia de datos menor, ruido o imposibilidad de conectarse. Si sucediera esto, pruebe los siguientes consejos:
- Conecte el sistema y el teléfono móvil con BLUETOOTH o el dispositivo BLUETOOTH cuando se encuentre como mínimo a 10 metros de distancia del equipo de LAN inalámbrica.
- Apague el equipo de LAN inalámbrica cuando esté utilizando el dispositivo BLUETOOTH en un radio de menos de 10 metros.
Efectos en otros dispositivos
Las ondas de radio emitidas por el sistema puede que interferan en el funcionamiento de algunos dispositivos médicos. Debido a que estas interferencias pueden provocar averías, apague en todo momento el sistema, los teléfonos móviles con BLUETOOTH y los dispositivos BLUETOOTH en los siguientes lugares:
- En hospitales, trenes, aviones, gasolineras y en cualquier otro lugar en donde haya gases inflamables
- Cerca de puertas automáticas o alarmas de incendio
Notas
- Este sistema es compatible con las funciones de seguridad que cumplen con la especificación BLUETOOTH, que es el medio por el cual se garantiza la seguridad al comunicarse mediante la tecnología BLUETOOTH. No obstante, puede que esta seguridad no sea suficiente dependiendo de los ajustes y de otros factores. Por consiguiente, tenga siempre cuidado cuando establezca comunicaciones con la tecnología BLUETOOTH.
- Sony no se considerará responsable de ningún modo por cualquier daño o pérdida que se produzca debido a filtraciones de información durante la comunicación establecida con la tecnología BLUETOOTH.
- La comunicación BLUETOOTH no está garantizada necesariamente en todos los dispositivos BLUETOOTH que tengan el mismo perfil que este sistema.
- Los dispositivos BLUETOOTH conectados con este sistema tienen que cumplir con la especificación BLUETOOTH prescrita por Bluetooth SIG, Inc., y tienen que estar certificados para poder cumplir con ella. No obstante, incluso cuando un dispositivo cumple con la especificación BLUETOOTH, puede que haya casos en los que las características o especificaciones del dispositivo BLUETOOTH no permitan conectarse, o
continúa
bien puede que produzca diferentes métodos de control, visualización o funcionamiento.
- Puede que se produzca ruido o puede que el audio se vea interrumpido dependiendo del dispositivo BLUETOOTH que haya conectado al sistema, del entorno de comunicaciones o de las condiciones ambientales.
Solución de problemas
Si le surge cualquiera de las siguientes dificultades mientras emplea el sistema, utilice esta guía de solución de problemas para resolver el problema antes de solicitar asistencia técnica. Si el problema persiste, consulte con el distribuidor Sony más próximo. Si necesita recurrir al servicio de asistencia técnica, asegúrese de traer tanto el altavoz de barra como el altavoz potenciador de graves, aunque le parezca que el problema solo le afecta a uno de los dos.
ALIMENTACIÓN
El sistema no se enciende.
→ Compruebe que el cable de alimentación de CA está correctamente conectado.
El sistema se apaga automáticamente.
→ La función "A. STBY" está activada. Establezca "A. STBY (Espera automática)" en "OFF" (página 12).
SONIDO
El sonido de la televisión no se oye por el sistema.
→ Pulse repetidamente el botón del mando a distancia para que aparezca "TV" en la pantalla (consulte "Escuchar el audio del televisor" en la Guía de inicio suministrada).
→ Compruebe la conexión del cable HDMI, del cable óptico digital o del cable de audio que está conectado al sistema y al televisor (consulte "Conexión" en la Guía de inicio suministrada).
→ Compruebe la salida de audio del televisor. Consulte el manual de instrucciones del televisor para información sobre la configuración del televisor.
→ Subá el volumen del televisor o cancele el silenciado.
→ Cuando un televisor compatible con la tecnología Canal de retorno de audio (ARC) se conecta con un cable HDMI, asegúrese de que el cable esté conectado al terminal de entrada HDMI (ARC) del televisor (consulte "Conexión" en la Guía de inicio suministrada).
→ Si el televisor no es compatible con la tecnología Canal de retorno de audio (ARC), conecte el cable óptico digital junto con el cable HDMI para que se pueda emitir el sonido (consulte "Conexión" en la Guía de inicio suministrada).
El sonido se emite tanto por el altavoz del sistema como el del televisor.
→ Apache el sonido del sistema o del televisor.
El sonido del televisor procedente de este sistema se emite con retraso respecto a la imagen.
→ Establezca "SYNC (Sincronización AV)" en "OFF" si estuviera en "ON" (página 11).
El sonido del equipo conectado al altavoz de barra no se oye o se oye a un nivel muy bajo a través del altavoz de barra.
→ Pulse el botón △ + del mando a distancia y compruebe el nivel del volumen (consulte "Componentes y controles" (página 27)).
→ Pulse el botón ✗ o △ + del mando a distancia para cancelar la función de silenciado (consulte "Componentes y controles" (página 27)).
→ Verifique que la fuente de entrada esté correctamente seleccionada. Pruebe a seleccionar otras fuentes de entrada pulsando el botón - del mando a distancia varias veces (consulte "Escuchar el sonido" en la Guía de inicio suministrada).
→ Compruebe que todos los cables del sistema y de los equipos conectados estén totalmente insertados en las tomas.
No se oye ningún sonido por el altavoz potenciador de graves, o se oye muy bajo.
→ Pulse el botón SW △ + del mando a distancia para subir el volumen del altavoz potenciador de graves (consulte "Componentes y controles" (página 27)).
Asegúrese de que el indicador luminoso de encendido/espera del altavoz potenciador de graves se enciende en color verde. Si no es así, consulte "No se oye ningún sonido por el altavoz potenciador de graves." en "SONIDO INALÁMBRICO" (página 20).
→ El altavoz potenciador de graves sirve para reproducir los sonidos graves. Si se trata de fuentes de entrada que contienen muy pocos componentes de sonido grave (es decir, la emisión de un
continúa
programa de televisión), el sonido del altavoz potenciador de graves puede ser difícil de oír.
→ Cuando se reproduce contenido compatible con la tecnología de protección de derechos de autor (HDCP), no se emite por el altavoz potenciador de graves.
No es posible obtener el efecto de sonido envolvente.
En función de la señal de entrada y del ajuste del campo de sonido, el procesamiento del sonido envolvente podría no funcionar de forma eficiente. El efecto de sonido envolvente podría ser muy sutil dependiendo del programa o del disco.
Para reproducir audio multicanal, compruebe el ajuste de salida digital de audio en el dispositivo conectado al sistema. Para obtener más información, consulte el manual de instrucciones suministrado con el equipo conectado.
BLUETOOTH
No se puede completar la conexión BLUETOOTH.
Asegúrese de que el indicador luminoso (azul) del altavoz de barra esté encendido (consulte "Escuchar el sonido desde dispositivos BLUETOOTH" en la Guía de inicio suministrada).
| Estado del sistema Estado del indicador luminoso (azul) |
| Durante el emparejamiento BLUETOOTH | Parpadeo rápido |
| El sistema está intentando conectarse | Parpadeo |
| con un dispositivo BLUETOOTH | |
| El sistema ha establecido la conexión | Encendido |
| con un dispositivo BLUETOOTH | |
| El sistema se encuentra en el modo de espera de BLUETOOTH (cuando el sistema está apagado) | Apagado |
→ Compruebe que el dispositivo BLUETOOTH que se va a conectar está encendido y que la función BLUETOOTH está activada.
→ Acerque el sistema y el dispositivo BLUETOOTH.
→ Vuelva a emparejar el sistema y el dispositivo BLUETOOTH. Puede ser que necesite cancelar el emparejamiento con el sistema en su dispositivo BLUETOOTH en primer lugar.
No se puede lograr el emparejamiento.
→ Acerque el sistema y el dispositivo BLUETOOTH (consulte "Escuchar el sonido desde dispositivos BLUETOOTH" en la Guía de inicio suministrada).
→ Verifique que el sistema no esté recibiendo interferencias por parte de un equipo con LAN inalámbrica, de otros dispositivos inalámbricos de 2,4 GHz o de un horno microondas. Si hay cerca un dispositivo que genera radiación electromagnética, aleje dicho dispositivo del sistema.
No se emite ningún sonido por el dispositivo BLUETOOTH conectado.
→ Asegúrese de que el indicador luminoso (azul) del altavoz de barra esté encendido (consulte "Escuchar el sonido desde dispositivos BLUETOOTH" en la Guía de inicio suministrada).
→ Acerque el sistema y el dispositivo BLUETOOTH.
→ Si hay cerca un dispositivo que genera radiación electromagnética, como un equipo con LAN inalámbrica, otros dispositivos BLUETOOTH o un horno microondas, aleje dicho dispositivo del sistema.
→ Aparte cualquier obstáculo entre el sistema y el dispositivo BLUETOOTH o bien, aparte el sistema del obstáculo.
→ Cambie la ubicación del dispositivo BLUETOOTH conectado.
Pruebe a cambiar la frecuencia inalámbrica del router Wi-Fi, ordenador, etc. a la banda de 5 GHz.
→ Suba el volumen del dispositivo BLUETOOTH conectado.
El sonido no está sincronizado con la imagen.
→ Cuando se ven películas, es posible que el sonido se oiga con un ligero retardo respecto a la imagen.
SONIDO INALÁMBRICO
No se oye ningún sonido por el altavoz potenciador de graves.
→ Compruebe que el cable de alimentación de CA del altavoz potenciador de graves está correctamente conectado. (Consulte "Encendido del sistema" en la Guía de inicio suministrada).
→ El indicador luminoso de encendido/espera no se enciende.
- Compruebe que el cable de alimentación de CA del altavoz potenciador de graves está correctamente conectado.
- Pulse el botón I/© (encendido/espera) del altavoz potenciador de graves para encender el sistema.
→ El indicador luminoso de encendido/espera parpadea lento en verde, o está encendido en rojo.
- Mueva el altavoz potenciador de graves a un lugar próximo al altavoz de barra de modo que el indicador luminoso de encendido/espera se encienda en color verde.
- Siga los pasos indicados en "Enlace del sistema (LINK)" (página 14).
- Compruebe el estado de la comunicación del sistema de sonido inalámbrico con la función "RF CHK" del menú del amplificador (página 13).
→ El indicador luminoso de encendido/espera parpadea rápido en color verde.
- Póngase en contacto con su distribuidor Sony más próximo.
→ El indicador luminoso de encendido/espera parpadea en color rojo.
- Pulse el botón I/① (encendido/espera) del altavoz potenciador de graves para apagarlo y comprobar si la abertura de ventilación del altavoz potenciador de graves está bloqueada o no.
→ El altavoz potenciador de graves está diseñado específicamente para reproducir sonidos graves. Cuando la fuente de entrada no contiene demasiados sonidos graves, como es el caso de la mayoría de los programas de televisión, los graves podrían ser inaudibles.
→ Pulse el botón SW △ + del mando a distancia para subir el volumen del altavoz potenciador de graves (consulte "Componentes y controles" (página 27)).
El sonido salta o tiene ruido.
→ Si hay algún dispositivo cerca que genera ondas electromagnéticas, por ejemplo una LAN inalámbrica o un horno electrónico en funcionamiento, aleje el sistema de él.
→ Si hay algún obstáculo entre el altavoz de barra y el altavoz potenciador de graves, muévalo o retírelo.
→ Coloque el altavoz de barra y el altavoz potenciador de graves lo más cerca posible entre sí.
→ Cambie la frecuencia de LAN inalámbrica de cualquier router Wi-Fi u ordenador personal que haya cerca a la banda de 5 GHz.
MANDO A DISTANCIA
El mando a distancia del sistema no funciona.
→ Oriente el mando a distancia hacia el sensor del mando a distancia ubicado en el altavoz de barra (consulte "Componentes y controles" (página 27)).
→ Retire cualquier obstáculo que impida la comunicación entre el mando a distancia y el sistema.
→ Sustituya las dos pilas del mando a distancia por otras nuevas si ya no tienen carga.
→ Verifique que está pulsando el botón correcto en el mando a distancia.
OTROS
La función Control por HDMI no funciona correctamente.
→ Compruebe la conexión HDMI (consulte "Conexión" en la Guía de inicio suministrada).
→ Ajuste la función Control por HDMI en el televisor. Consulte el manual de instrucciones suministrado con el televisor para obtener información acerca de la configuración del televisor.
→ Asegúrese de que cualquier equipo que se conecte sea compatible con "BRAVIA" Sync.
→ Compruebe los ajustes de Control por HDMI del equipo conectado. Consulte el manual de instrucciones suministrado con el equipo conectado.
→ Si conecta o desconecta el cable de alimentación de CA, espere más de 15 segundos antes de utilizar el sistema.
→ Si conecta la salida de audio del equipo de vídeo y el sistema con un cable distinto al cable HDMI, es posible que no se emita ningún sonido a causa de "BRAVIA" Sync. En tal caso, establezca "CTRL (Control por HDMI)" en "OFF" (página 12) o conecte el cable procedente de la toma de salida de audio del equipo de vídeo directamente al televisor.
continúa
Aparece "PRTECT (proteger)" en la pantalla del altavoz de barra.
→ Pulse el botón I/○ (encendido/espera) para apagar el sistema. Una vez haya desaparecido el indicador, desconecte el cable de alimentación de CA y compruebe que los orificios de ventilación del sistema no estén bloqueados.
Los sensores del televisor no funcionan correctamente.
El altavoz de barra puede bloquear algunos sensores (como el sensor de brillo) y el receptor del mando a distancia de su televisor, o el “emisor para gafas 3D (transmisión por infrarrojos)” de un televisor 3D que admite el sistema de gafas 3D por infrarrojos. Aleje el altavoz de barra del televisor para que esté a una distancia que permita el funcionamiento correcto de esos componentes. Para obtener información sobre la ubicación de los sensores y el receptor del mando a distancia, consulte el manual de instrucciones suministrado con el televisor.
RESET
Si el sistema sigue sin funcionar correctamente, restablezca el sistema del modo siguiente:
1 Pulse el botón I/⏻ (encendido/espera) del mando a distancia para encender el altavoz de barra.
2 Pulse el botón AMP MENU en el mando a distancia.
3 Pulse el botón ↑ ↓ (seleccionar) repetidamente hasta que aparezca "SYSTEM" y, a continuación, pulse el botón ⊕ (confirmar).
4 Pulse el botón ↑ ↓ (seleccionar) repetidamente hasta que aparezca "SYS.RST" y, a continuación, pulse el botón (+) (confirmar) (página 12).
5 Pulse el botón (confirmar) después de que se muestre "START".
"RESET" aparecerá en la pantalla y los ajustes del menú y de los campos de sonido, etc. volverán a sus estados iniciales.
6 Desconecte el cable de alimentación de CA.
Componentes y controles
HT-CT370
Altavoz de barra

text_image
1 2 3 4 I / ⏻ INPUT PAIRING VOL - VOL + 5 6 7 8 9 10 11 OPT (TV) 12 13 ANALOG IN DIGITAL IN HDMI IN HDMI OUT TV (ARC)Parte delantera / parte superior
1 Botón I/⏻ (encendido/espera)
2 Botón INPUT
3 Botón PAIRING
4 Botones VOL (volumen) +/-
5 Marca N
Para utilizar la función NFC, toque la marca con su dispositivo NFC.
6 Sensor del mando a distancia
7 Indicador luminoso
- Blanco: Cuando la pantalla del altavoz de barra está apagada.
- Azul: Modo BLUETOOTH (página 20)
8 Pantalla
Parte posterior / parte inferior
9 Cable de alimentación de CA
10 Toma ANALOG IN
11 Toma DIGITAL IN (OPT (TV))
12 Tomas HDMI IN 1/2/3
13 Toma HDMI OUT (TV (ARC))
continúa
Altavoz potenciador de graves

flowchart
graph TD
A["Box 1"] --> B["Switch"]
B --> C{LINK}
C --> D["Current Source"]
C --> E["Current Direction"]
C --> F["Current Path"]
1 Indicador luminoso de encendido/espera
2 Botón LINK
3 Botón I/⏻ (encendido/espera)
4 Cable de alimentación de CA
HT-CT770
Altavoz de barra

text_image
1 2 3 4 I / ⏻ INPUT PAIRING VOL - VOL + 5 6 7 8 9 10 11 OPT (TV) ANALOG IN DIGITAL IN 12 13 1 2 3 HDMI IN HDMI OUT TV (ARC)Parte delantera / parte superior
1 Botón I/⏻ (encendido/espera)
2 Botón INPUT
3 Botón PAIRING
4 Botones VOL (volumen) +/-
5 Marca N
Para utilizar la función NFC, toque la marca con su dispositivo NFC.
6 Sensor del mando a distancia
7 Indicador luminoso
- Blanco: Cuando la pantalla del altavoz de barra está apagada.
- Azul: Modo BLUETOOTH (página 20)
8 Pantalla
9 Cable de alimentación de CA
10 Toma ANALOG IN
11 Toma DIGITAL IN (OPT (TV))
12 Tomas HDMI IN 1/2/3
13 Toma HDMI OUT (TV (ARC))
Parte posterior / parte inferior
continúa
Altavoz potenciador de graves

text_image
1 2 3 4 LINK1 Indicador luminoso de encendido/espera
2 Cable de alimentación de CA
3 Botón I/⏻ (encendido/espera)
4 Botón LINK
Mando a distancia
El mando a distancia suministrado puede controlar el sistema y los dispositivos conectados a él. Es posible, sin embargo, que algunos dispositivos no se puedan controlar con él. En tal caso, use el mando a distancia del dispositivo en cuestión.
Nota
Accione el mando a distancia apuntando con él hacia el sensor del mando a distancia del altavoz de barra.

text_image
19 18 17 TV + - + + TV PROG DISPLAY + - CLEAR AUDIO + - STANDARD MOVIE SAVE SOUND FIELD MUSIC PAUDIO SPORTS 5 6 16 VOICE MOBUT + - RETURN AMF MENU 15 14 10 11 13 12 1 1 2 2 3 3 4 4 5 5 6 6 7 7 8 8 9 9 10 10 11 11 12 12Funcionamiento del sistema
1 Botón → (entrada)
2 Botón I/⏻ (encendido/espera)
3 Botón DISPLAY
Para cambiar el brillo (Intenso/Oscuro/Desactivado) de la pantalla del altavoz de barra.
- Cuando el brillo de la pantalla está ajustado en "Desactivado", la pantalla se apaga tras mostrar el estado de funcionamiento durante unos segundos.
- Cuando se cambia de "Desactivado" a "Intenso", la pantalla muestra la información del flujo de audio.
4 Botones SW △ (volumen del altavoz potenciador de graves) +/-
5 Botones SOUND FIELD*
6 Botón NIGHT (modo de noche)*
7 Botón (silencio)
8 Botones ∠ (volumen) + ^a /-
9 Botón AMP MENU
13 Botón PAIRING
14 Botón RETURN
15 Botones ← (atrás)/↑↓ (seleccionar)/→ (adelante)/ (+)
(confirmar)
Pulse el botón ←, ↑, ↓ o → para seleccionar un ajuste y luego
pulse el botón ④para aplicar ese ajuste.
16 Botón VOICE*
Funcionamiento del televisor
17 Botones TV PROG (programa) +/- Para cambiar el canal.
18 Botón TV (entrada)
Para cambiar la entrada del televisor.
19 Botón TV I/ (encendido/espera)
Para encender y apagar un televisor que se puede controlar con el mando a distancia del sistema.
continúa
Funcionamiento del dispositivo BLUETOOTH
10 Botones ◀◀/▶▶
Para saltar una pista.
11 Botones ◀◀/▶▶
Hacen avanzar o retroceder rápidamente la música cuando se pulsan durante la reproducción.
12 Botones de control de reproducción ▶*2 (reproducir)/■ (pausa)/■ (detener)
Para iniciar, hacer una pausa o detener la reproducción. Para reiniciar la reproducción durante una pausa, vuelva a pulsar el botón II.
Nota
Estos son algunos ejemplos de funcionamiento básico. Puede ser que algún dispositivo no funcione así o que funcione de un modo distinto.
*1 Consulte "Disfrutar de los efectos de sonido" en la Guía de inicio suministrada.
*2 Los botones ▶ (reproducir) y △ (volumen) + tiene un punto en relieve. Úselo como referencia durante la utilización.
Configuración del fabricante del televisor
1 Pulse el botón que corresponde al fabricante mientras mantiene pulsado el botón TV I/∅ (encendido/espera) del mando a distancia del sistema.
| Fabricante Botón | |
| SONY | 17 TV PROG + |
| Samsung | 3 DISPLAY |
| LG | 4 SW △ + |
| Panasonic | 17 TV PROG - |
| Philips | 5 CLEARAUDIO+ |
| 5 MOVIE | |
| 5 GAME | |
| Sharp | 4 SW △ - |
| Toshiba | 5 STANDARD |
2 Pulse el botón TV I/○ (encendido/espera) y, sin soltarlo, pulse el botón Ⓕ confirmar).
3 Suelte el botón TV I/⏻ (encendido/espera) del mando a distancia del sistema.
Especificaciones
Altavoz de barra (SA-CT370, SA-CT770)
Sección del amplificador
POTENCIA NOMINAL DE SALIDA
Frontal izquierdo + frontal derecho: 50 W + 50 W
POTENCIA DE SALIDA (referencia) (nominaal)
SA-CT370:
Frontal izquierdo / frontal derecho: 100 W (por canal a 4 ohmios,
1 kHz)
SA-CT770:
Frontal izquierdo / frontal derecho: 105 W (por canal a 4 ohmios,
1 kHz)
Entradas
HDMI IN 1/2/3*
ANALOG IN
* Estas 3 tomas son idénticas. Se puede usar cualquiera de ellas indistintamente.
Salida
HDMI OUT (TV (ARC))
Sección BLUETOOTH
Sistema de comunicación
Especificación BLUETOOTH versión 3.0
Salida
Especificación BLUETOOTH Power Class 2
Rango de comunicación máximo
Campo de visión aprox. 10 m ^1)
Número máximo de dispositivos registrables
9 dispositivos
Banda de frecuencia
Banda de 2,4 GHz (2,4000 GHz - 2,4835 GHz)
Método de modulación
Códecs compatibles 3)
SBC ^4) , AAC ^5)
Rango de transmisión (A2DP)
20 Hz - 20.000 Hz (frecuencia de muestreo 44,1 kHz)
1) El rango real variará en función de diversos factores como los obstáculos que haya entre los dispositivos, los campos magnéticos emitidos por un horno microondas, la electricidad estática, un teléfono inalámbrico, la sensibilidad de la recepción, el sistema operativo, la aplicación de software utilizada, etc.
2) Los perfiles de BLUETOOTH estándar indican la finalidad de la comunicación BLUETOOTH entre dispositivos.
3) Códec: formato de conversión y compresión de la señal de audio
4) Códec de sub-banda
5) Codificación de audio avanzada
Sección de altavoces frontal izquierdo / frontal derecho
Sistema de altavoces
SA-CT370: Sistema de altavoces de rango completo, suspensión
acústica
SA-CT770: Sistema de altavoces de 2 vías, suspensión acústica
Altavoz
SA-CT370: Tipo cónico de 60 mm
SA-CT770: Altavoz de graves de tipo cónico de 60 mm
Altavoz de agudos de 20 mm con unidad de balance
acústico
Impedancia nominal
4 ohmios
continúa
Especificaciones generales
Requisitos de alimentación
220 V - 240 V CA, 50 Hz/60 Hz
Consumo de energía
Encendido: 34 W
Modo de espera (con Control por HDMI activado): 0,5 W o menos
Modo de espera (con Control por HDMI desactivado): 0,3 W o menos
Modo de espera de BLUETOOTH: 0,5 W o menos
Dimensiones (aprox.) (an/al/prf)
SA-CT370
900 mm × 50 mm × 113 mm
(sin los soportes para montaje en pared)
900 mm × 113 mm × 72 mm
(con los soportes para montaje en pared)
SA-CT770:
1030 mm × 50 mm × 113 mm
(sin los soportes para montaje en pared)
1030 mm × 113 mm × 72 mm
(con los soportes para montaje en pared)
Peso (aprox.)
SA-CT370: 2,4 kg
SA-CT770: 2,6 kg
Altavoz potenciador de graves (SA-WCT370, SA-WCT770)
POTENCIA DE SALIDA (referencia)
SA-WCT370: 100 W (por canal a 4 ohmios, 100 Hz)
SA-WCT770: 120 W (por canal a 4 ohmios, 100 Hz)
Sistema de altavoces
Sistema de altavoz potenciador de graves, reflejo de graves
Sistema de altavoz
SA-WCT370: Tipo cónico de 100 mm x 150 mm
SA-WCT770: Tipo cónico de 160 mm
Impedancia nominal
4 ohmios
Requisitos de alimentación
220 V - 240 V CA, 50 Hz/60 Hz
Consumo de energía
Encendido: 30 W
Modo de espera: 0,5 W o menos
Dimensiones (aprox.) (an/al/prf)
SA-WCT370: 135 mm × 361,5 mm × 394 mm (vertical)
361,5 mm × 135 mm × 394 mm (horizontal)
SA-WCT770: 271 mm × 404 mm × 271 mm
Peso (aprox.)
SA-WCT370: 7,0 kg
SA-WCT770: 8,8 kg
Sección de receptor/transmisor inalámbrico
Sistema de altavoces
Especificación de sonido inalámbrico versión 2.0
Banda de frecuencia
2,4 GHz (2,4000 GHz - 2,4835 GHz)
Método de modulación
Pi / 4 DQPSK
Formatos de entrada de audio digital compatibles con el sistema
Dolby Digital DTS-HD Master Audio*
Dolby Digital Plus* DTS-HD High Resolution Audio*
Dolby TrueHD* DTS-HD Low Bit Rate*
DTS Linear PCM 2ch 48 kHz o menos
DTS 96/24 Linear PCM Maximum 7.1ch 192 kHz o menos*
* Estos formatos solo se pueden introducir con la conexión HDMI.
Formatos de vídeo compatibles con el sistema
Entrada/salida (bloque de repetidor HDMI)
| Archivo 2D | 3D | ||
| Compresión de fotogramas | Lado a lado (mitad) | Encima-debajo (arriba y abajo) | |
| 4096 × 2160p @ 59,94/60 Hz^*1 ○ | - | - | - |
| 4096 × 2160p @ 50 Hz^*1 ○ | - | - | - |
| 4096 × 2160p @ 23,98/24 Hz^*2 ○ | - | - | - |
| 3840 × 2160p @ 59,94/60 Hz^*1 ○ | - | - | - |
| 3840 × 2160p @ 50 Hz^*1 ○ | - | - | - |
| 3840 × 2160p @ 29,97/30 Hz^*2 ○ | - | - | - |
| 3840 × 2160p @ 25 Hz^*2 ○ | - | - | - |
| 3840 × 2160p @ 23,98/24 Hz^*2 ○ | - | - | - |
| 1920 × 1080p @ 59,94/60 Hz ○ | - | ○ | |
| 1920 × 1080p @ 50 Hz ○ | - | ○ | ○ |
| 1920 × 1080p @ 29,97/30 Hz ○ | ○ | ○ | |
| 1920 × 1080p @ 25 Hz ○ | ○ | ○ | ○ |
| 1920 × 1080p @ 23,98/24 Hz ○ | ○ | ○ | |
| 1920 × 1080i @ 59,94/60 Hz ○ | ○ | ○ | |
| 1920 × 1080i @ 50 Hz ○ | ○ | ○ | ○ |
| 1280 × 720p @ 59,94/60 Hz ○ | ○ | ○ | |
| 1280 × 720p @ 50 Hz ○ | ○ | ○ | ○ |
| 1280 × 720p @ 29,97/30 Hz ○ | ○ | ○ | |
| 1280 × 720p @ 23,98/24 Hz ○ | ○ | ○ | |
| 720 × 480p @ 59,94/60 Hz ○ | - | - | |
| 720 × 576p @ 50 Hz ○ | - | - | |
| 640 × 480p @ 59,94/60 Hz ○ | - | - | |
YCbCr 4:2:0/Compatible solo con 8 bits
^2 Compatible solo con 8 bits
El diseño y las especificaciones están sujetos a cambios sin previo aviso.
WAARSCHUWING
Collegamento del sistema (LINK)

ManualFácil