SAWCT770 - Cassa acustica SONY - Manuale utente e istruzioni gratuiti
Trova gratuitamente il manuale del dispositivo SAWCT770 SONY in formato PDF.
Domande degli utenti su SAWCT770 SONY
0 domanda su questo apparecchio. Rispondi a quelle che conosci o fai la tua.
Fai una nuova domanda su questo apparecchio
Scarica le istruzioni per il tuo Cassa acustica in formato PDF gratuitamente! Trova il tuo manuale SAWCT770 - SONY e riprendi in mano il tuo dispositivo elettronico. In questa pagina sono pubblicati tutti i documenti necessari per l'utilizzo del tuo dispositivo. SAWCT770 del marchio SONY.
MANUALE UTENTE SAWCT770 SONY
Istruzioni per l'uso
IT
HDMI
http://www.sony.net/
Non installare l'apparecchio in uno spazio limitato, ad esempio una libreria o un armadio.
Per ridurre il rischio di incendi, non coprire la presa di ventilazione dell'apparecchio con giornali, tovaglie, tende e così via. Non esporre l'apparecchio a sorgenti a fiamma libera (ad esempio candele accese).
Per ridurre il rischio di incendi o di scosse elettriche, non esporre l'apparecchio a gocciolamenti o spruzzi né collocarvi sopra oggetti pieni di liquidi, ad esempio vasi.
L'unità non è scollegata dall'alimentazione fino a quando è collegata alla presa CA, anche se l'unità stessa è stata spenta.
Dato che la spina di alimentazione viene utilizzata per scollegare l'unità dalla presa a muro, collegare l'unità ad una presa CA facilmente accessibile. Se si dovesse riscontrare un'anomalia nell'unità, scollegare immediatamente la spina di alimentazione dalla presa CA.
Non esporre le batterie o l'apparecchio con all'interno le batterie a calore eccessivo, ad esempio alla luce del sole o al fuoco.
Solo per ambienti interni.
Per il diffusore soundbar
La targhetta identificativa si trova sulla parte inferiore.
Cavi consigliati
Per i collegamenti a computer host e/o periferiche è necessario utilizzare cavi schermati e con messa a terra in maniera corretta.
Il presente apparecchio è stato testato e giudicato conforme ai limiti imposti dalla Direttiva EMC utilizzando un cavo di collegamento di lunghezza inferiore a 3 metri.
Avviso per i clienti: le informazioni seguenti sono applicabili solo agli apparecchi in vendita nei paesi che applicano le direttive UE.
Questo prodotto è stato fabbricato da o per conto di Sony Corporation, 1-7-1 Konan Minato-ku Tokyo, 108-0075 Giappone. Eventuali richieste in merito alla conformità del prodotto in ambito della legislazione Europea, dovranno essere indirizzate al rappresentante autorizzato, Sony Deutschland GmbH, Hedelfinger Strasse 61, 70327 Stuttgart, Germania. Per qualsiasi informazione relativa al servizio o la garanzia, si prega di fare riferimento agli indirizzi riportati separatamente sui documenti relativi all'assistenza o sui certificati di garanzia.

Con la presente Sony Corp. dichiara che questo apparecchio è conforme ai requisiti essenziali ed alle altre disposizioni pertinenti stabilite dalla direttiva 1999/5/CE.
Per ulteriori dettagli, si prega di consultare il seguente URL: http://www.compliance.sony.de/

Trattamento del dispositivo elettrico o elettronico a fine vita (applicabile in tutti i paesi dell'Unione Europea e in altri paesi europei con sistema di raccolta differenziata)
Questo simbolo sul prodotto o sulla confezione indica che il prodotto non deve essere considerato come un normale rifiuto domestico, ma deve invece essere consegnato ad un punto di raccolta appropriato per il
riciclo di apparecchi elettrici ed elettronici. Assicurandovi che questo prodotto sia smaltito correttamente, voi contribuirete a prevenire potenziali conseguenze negative per l'ambiente e per la salute che potrebbero altrimenti essere causate dal suo smaltimento inadeguato. Il riciclaggio dei materiali aiuta a conservare le risorse naturali. Per informazioni più dettagliate circa il riciclaggio di questo prodotto, potete contattare l'ufficio comunale, il servizio locale di smaltimento rifiuti oppure il negozio dove l'avete acquistato.
In caso di smaltimento abusivo di apparecchiature elettriche e/o elettroniche potrebbero essere applicate le sanzioni previste dalla normativa applicabile (valido solo per l'Italia).

Trattamento delle pile esauste (applicabile in tutti i paesi dell'Unione Europea e in altri paesi Europei con sistema di raccolta differenziata)
Questo simbolo sul prodotto o sulla confezione indica che la pila non deve essere considerata un normale rifiuto domestico.
Su alcuni tipi di pile questo simbolo potrebbe essere
utilizzato in combinazione con un simbolo chimico. I simboli chimici del mercurio (Hg) o del piombo (Pb) sono aggiunti, se la batteria contiene più dello 0,0005% di mercurio o dello 0,004% di piombo.
Assicurandovi che le pile siano smaltite correttamente, contribuirete a prevenire potenziali conseguenze negative per l'ambiente e per la salute che potrebbero altrimenti essere causate dal loro inadeguato smaltimento.
Il riciclaggio dei materiali aiuta a conservare le risorse naturali.
In caso di prodotti che per motivi di sicurezza, prestazione o protezione dei dati richiedano un collegamento fisso ad una pila interna, la stessa dovrà essere sostituita solo da personale di assistenza qualificato. Consegnare il prodotto a fine vita al punto di raccolta idoneo allo smaltimento di apparecchiature elettriche ed elettroniche; questo assicura che anche la pila al suo interno venga trattata correttamente. Per le altre pile consultate la sezione relativa alla rimozione sicura delle pile. Conferire le pile esauste presso i punti di raccolta indicati per il riciclo. Per informazioni più dettagliate circa lo smaltimento della pila esausta o del prodotto, potete contattare il Comune, il servizio locale di smaltimento rifiuti oppure il negozio dove l'avete acquistato.
Sommario
Funzioni utili
Installazione del diffusore soundbar a parete ....5
Uso della funzione Controllo per HDMI ....7
Uso delle funzionalità "BRAVIA" Sync 8
Controllo del sistema utilizzando uno smartphone o un tablet (SongPal) 9
Regolazione delle impostazioni .....11
Collegamento del sistema (LINK) 14
Varie
Precauzioni 15
Tecnologia senza fili BLUETOOTH 17
Risoluzione dei problemi 19
Componenti e comandi 23
Caratteristiche tecniche 29
Consultare la Guida di avvio in dotazione per le operazioni di impostazione e di base.
Funzioni utili
Installazione del diffusore soundbar a parete
È possibile installare il diffusore soundbar a parete.
Note
- Preparare le viti (non in dotazione) adatte alla robustezza della parete e al materiale di cui è composta. Dato che una parete in cartongesso è particolarmente fragile, fissare saldamente le viti a due perni nella trave. Installare il diffusore soundbar in orizzontale, appeso alle viti nei perni su una porzione di parete piana e senza interruzioni.
- Affidare l'installazione a rivenditori Sony o a tecnici autorizzati e prestare particolare attenzione alla sicurezza durante l'installazione.
- Sony non potrà essere ritenuta responsabile in caso di incidenti o danni dovuti a un'installazione non corretta, a pareti non sufficientemente robuste, all'inserimento improprio delle viti, a calamità naturali e così via.
1 Fissare le staffe per il montaggio a parete in dotazione ai fori di fissaggio della staffa nella parte inferiore del diffusore soundbar con le viti in dotazione facendo in modo che la superficie di ogni staffa per il montaggio a parete corrisponda a quanto illustrato in figura.
Fissare le due staffe per il montaggio a parete ai fori di fissaggio sinistro e destro nella parte inferiore del diffusore soundbar.

text_image
cavo di alimentazione CA Vite (in dotazione) Staffa per il montaggio a parete (in dotazione)continua
©
Uso della funzione Controllo per HDMI
Utilizzando la funzione Controllo per HDMI e collegando un apparecchio compatibile con la funzione Controllo per HDMI mediante un cavo HDMI ad alta velocità, il funzionamento viene semplificato grazie alle funzioni seguenti. La funzione Controllo per HDMI viene attivata impostando "CTRL (Control for HDMI)" su "ON" (pagina 12). L'impostazione predefinita è "ON".
Spegnimento del sistema
Quando si spegne il televisore, il sistema e gli apparecchi collegati si spengono automaticamente.
Controllo audio del sistema
Se si accende il sistema mentre si guarda il televisore, l'audio del televisore viene emesso automaticamente dai diffusori del sistema. Il volume del sistema viene regolato quando si regola il volume utilizzando il telecomando del televisore. Se l'ultima volta che si è guardato il televisore l'audio veniva emesso dai diffusori del sistema, quest'ultimo viene acceso automaticamente quando si riaccende il televisore.
Canale audio di ritorno (ARC)
Se il televisore è compatibile con la tecnologia Canale audio di ritorno (ARC), un collegamento mediante cavo HDMI ad alta velocità consente di trasmettere anche segnali audio digitali dal televisore al sistema. Non è necessario un collegamento audio separato per ascoltare l'audio del televisore dal sistema. La funzione ARC viene attivata impostando "ARC (Canale audio di ritorno)" su "ON" (pagina 12). L'impostazione predefinita è "ON".
Riproduzione One-touch
Quando si attiva l'apparecchio (lettore Blu-ray Disc™, "PlayStation®4", e così via) collegato al sistema mediante un cavo HDMI ad alta velocità, il televisore collegato si accende automaticamente e il segnale in ingresso del sistema viene commutato sull'ingresso HDMI adatto.
Note
- Le funzionalità precedentemente descritte potrebbero non essere operative su determinati apparecchi.
- A seconda delle impostazioni dell'apparecchio collegato, la funzione Controllo per HDMI potrebbe non funzionare correttamente. Consultare le istruzioni per l'uso dell'apparecchio.
Uso delle funzionalità "BRAVIA" Sync
È possibile utilizzare le funzioni originali Sony elencate di seguito anche con prodotti che siano compatibili con lo standard "BRAVIA" Sync.
Risparmio energia
Qualora al sistema sia collegato un televisore compatibile "BRAVIA" Sync, il consumo energetico viene ridotto in modalità standby mediante l'interruzione della trasmissione del segnale HDMI, quando il televisore viene spento con la funzione di segnale passante* del sistema impostata su "AUTO" (pagina 12). L'impostazione predefinita è "AUTO". Qualora sia collegato un qualsiasi televisore non "BRAVIA", impostare questa voce su "ON" (pagina 12).
* La funzione di segnale passante per i segnali HDMI viene utilizzata per inviare in uscita i segnali dalla presa HDMI OUT del presente sistema anche quando è in modalità standby.
Note sui collegamenti HDMI
- Utilizzare un cavo HDMI ad alta velocità. Se si utilizza un cavo HDMI standard, le immagini a 1080p, Deep Color, 3D e 4K potrebbero non essere visualizzate correttamente.
- Utilizzare un cavo HDMI autorizzato. Utilizzare un cavo HDMI ad alta velocità Sony contrassegnato dal logo che indica il tipo di cavo.
- L'uso di un cavo di conversione HDMI-DVI non è consigliato.
- Qualora l'immagine sia di qualità scadente o l'audio non venga emesso dall'apparecchio collegato mediante il cavo HDMI, controllare la configurazione dell'apparecchio collegato.
-
I segnali audio (frequenza di campionamento, lunghezza in bit, e così via) trasmessi da una presa HDMI potrebbero venire eliminati dall'apparecchio collegato.
-
L'audio potrebbe interrompersi quando si commuta la frequenza di campionamento o il numero di canali dei segnali audio in uscita dall'apparecchio di riproduzione.
- Qualora l'apparecchio collegato non sia compatibile con la tecnologia di protezione del copyright (HDCP), l'immagine e/o l'audio provenienti dalla presa HDMI OUT del presente sistema potrebbero risultare distorti o non venire inviati in uscita. In tal caso, verificare le caratteristiche tecniche dell'apparecchio collegato.
- Se "TV" è selezionato come sorgente in ingresso del sistema, dalla presa HDMI OUT vengono inviati in uscita i segnali video ricevuti attraverso una delle prese HDMI IN 1/2/3 selezionata durante l'ultimo utilizzo.
- Questo sistema supporta la trasmissione negli standard Deep Color, "x.v.Colour", 3D e 4K.
- Per guardare immagini in 3D, collegare al sistema un televisore e un apparecchio video compatibili 3D (lettore Blu-ray Disc, "PlayStation4", e così via) utilizzando cavi HDMI ad alta velocità, indossare gli occhiali 3D, quindi riprodurre un Blu-ray Disc compatibile 3D, e così via.
- Per guardare immagini in formato 4K, il televisore e i lettori collegati al sistema devono essere compatibili con le immagini in formato 4K.
Controllo del sistema utilizzando uno smartphone o un tablet (SongPal)
"SongPal" è l'applicazione che consente di far funzionare il sistema con il proprio smartphone o tablet e così via.
"SongPal" è disponibile sia in Google Play™ che nell'App Store. Questa funzione viene attivata impostando "BT PWR (Accensione/ spegnimento da Bluetooth)" su "ON" (pagina 12). L'impostazione predefinita è "ON".

text_image
TV + - + - TV FREQ + - DISPLAY + - ECLAR AUDIO + - STANDARD MOUT SOUND FIELD GAME MUSIC PAIRING SPORTS VOICE NIGHT + - RETURN AMP MENU BLUETOOTH + - FAIRING + - PAIRING + -Quando si utilizza un dispositivo Android™
1 Premere il tasto I/⏻ (accensione/standby) sul telecomando. Il display del diffusore soundbar si illumina.
2 Cercare "SongPal" con il dispositivo Android e scaricare tale applicazione.
3 Eseguire "SongPal", quindi attenersi alle istruzioni sullo schermo.
4 Dopo la visualizzazione della schermata di connessione BLUETOOTH sul dispositivo Android, premere il tasto PAIRING sul telecomando.
La spia (blu) lampeggia rapidamente durante l'associazione BLUETOOTH.
5 Selezionare "SONY:HT-CT370" o "SONY:HT-CT770" dall'elenco dei dispositivi BLUETOOTH visualizzato sul dispositivo Android.
Quando la connessione è stata stabilita, la spia (blu) del diffusore soundbar si illumina.
6 Far funzionare il sistema attraverso il display del dispositivo Android connesso.
continua
Connessione One-touch utilizzando il dispositivo Android dotato di funzione NFC incorporata (NFC)
1 Eseguire le operazioni da 1 a 3 della procedura "Quando si utilizza un dispositivo Android".
2 Dopo la visualizzazione della schermata di connessione BLUETOOTH sul dispositivo Android, toccare il dispositivo Android con il simbolo N del diffusore soundbar.
Quando la connessione è stata stabilita, la spia (blu) del diffusore soundbar si illumina.

3 Far funzionare il sistema attraverso il display del dispositivo Android.
Quando si utilizza un iPhone/iPod touch
1 Premere il tasto I/⏻ (accensione/standby) sul telecomando. Il display del diffusore soundbar si illumina.
2 Premere il tasto PAIRING sul telecomando.
La spia (blu) del diffusore soundbar lampeggia rapidamente durante l'associazione BLUETOOTH.
3 Impostare l'iPhone/iPod touch in modalità associazione e selezionare "SONY:HT-CT370" o "SONY:HT-CT770" dall'elenco dei dispositivi BLUETOOTH visualizzato sull'iPhone/iPod touch.
Quando la connessione è stata stabilita, la spia (blu) del diffusore soundbar si illumina.
4 Cercare "SongPal" con l'iPhone/iPod touch e scaricare tale applicazione.
5 Eseguire "SongPal", quindi far funzionare il sistema attraverso il display dell'iPhone/iPod touch.
Regolazione delle impostazioni

text_image
TV + TV - I/O + DISPLAY + TV PROG - CLEAR AUDIO+ STANDARD MUSIC SOUND FIELD F, AUDIO SPORTS VIRKS RIGHT OK RETURN AMY MENU BLUETOOTH + - + - + - + - + - + - + - + - + - + - + - + - + - + - + - + - + - + - + - + - + - + - + - + - + - + - + - + - + - + - + - + - + - + - + - + - + - + - + - + - + - + - + - + - + - + - + - + - + - + - + - (indietro)/- ( selezione)/- → (avanti)/- ⊕ (invio) AMP MENUÈ possibile impostare le voci seguenti con il tasto AMP MENU sul telecomando.
Le impostazioni vengono conservate anche se si scollega il cavo di alimentazione CA.
1 Premere il tasto AMP MENU sul telecomando per visualizzare la schermata del menu dell'amplificatore sul display del diffusore soundbar.
2 Selezionare l'impostazione desiderata mediante il tasto ← (indietro)/↑ ↓ (selezione)/→ (avanti), quindi premere il tasto (invio).
3 Premere il tasto AMP MENU per uscire dalla schermata del menu dell'amplificatore.
| Menu Funzione | Predefinita | ||
| LEVEL DRC | (Controllo della gamma dinamica) | È possibile apprezzare l'audio Dolby Digital a volumi bassi dell'audio. (ON/AUTO/OFF)ON: comprime l'audio in funzione delle informazioni sulla compressione presenti nel contenuto.AUTO: comprime automaticamente l'audio codificato in Dolby TrueHD.OFF: l'audio non viene compresso. | AUTO |
| TONE BASS I | suoni bassi vengono enfatizzati. È possibile modificarel'impostazione da -6 a +6 in unità di 1. | 0 | |
| TREBLE I suoni alti vengono enfatizzati. È possibile modificarel'impostazione da -6 a +6 in unità di 1. | 0 | ||
| AUDIO SYNC | (Sincronizzazione AV) | È possibile regolare l'audio quando l'immagine e l'audio non sono sincronizzati. (ON/OFF) | OFF |
| DUAL(Doppio segnale mono) | È possibile ascoltare l'audio di trasmissioni in multiplex in formato audio Dolby Digital. (M/S (canali principale e secondario)/MAIN (canale principale)/SUB (canale secondario)) | MAIN | |
| AAV(Volume automatico avanzato) | Consente di ridurre le differenze di volume tra programmi diversi o tra programmi e spot pubblicitari. (ON/OFF) OFF | ||
| EFFECT(Effetto audio) | ON: Viene riprodotto l'audio del campo sonoro selezionato. Si consiglia di utilizzare questa impostazione.OFF: La sorgente in ingresso viene ridotta a 2 canali.Nota: Quando "EFFECT (Sound effect)" è impostato su "OFF" "EFFECT (Sound effect)" viene impostato automaticamente su "ON" quando si cambia l'impostazione SOUND FIELD. | ON | |
continua

text_image
TV + - TV FIOS - + - DISPLAY + - ELAM + - STANDARD + - MUSIC + - SOUND FIELD + - FALOBO + - SPORTS VOLUME + - RETURN + - AMP MENU BLUETOOTH + - + - + - + - + - + - + - + - + - + - + - + - + - + - + - + - + - + - + - + - + - + - + - + - + - + - + - + - + - + - + - + - + - + - + - + - + - + - + - + - + - + - + - + - + - + - + - + - + - + - + - (indietro)/- ( selezione)/- → (avanti)/- ⊕ (invio) AMP MENU| Menu Funzione | Predefinita | ||
| HDMI CTRL | (Controllo per HDMI) | Per attivare o disattivare la funzione Controllo per HDMI. (ON/OFF) Per i dettagli, consultare "Uso della funzione Controllo per HDMI" (pagina 7). | ON |
| P. THRU(Segnale passante) | Per impostare la modalità di risparmio energetico della funzione di segnale passante per i segnali HDMI. (AUTO/ON) AUTO: invia in uscita i segnali dalla presa HDMI OUT del sistema in modalità standby in base allo stato del televisore. Questa impostazione consente di risparmiare energia nella modalità standby rispetto all'impostazione "ON". ON: invia sempre in uscita i segnali dalla presa HDMI OUT in modalità standby. Qualora sia collegato un qualsiasi televisore non "BRAVIA", utilizzare il sistema con l'impostazione "ON". Nota: Questa voce viene visualizzata solo quando "CTRL (Control for HDMI)" è impostato su "ON". | AUTO | |
| ARC(Canale audio di ritorno) | Per ascoltare l'audio digitale da un televisore compatibile con la tecnologia del Canale audio di ritorno (ARC) che sia collegato mediante un cavo HDMI ad alta velocità. (ON/OFF) Nota: Questa voce viene visualizzata solo quando "CTRL (Control for HDMI)" è impostato su "ON". | ON | |
| SET BT BT PWR | (Accensione/spegnimento da BLUETOOTH) | Per attivare e disattivare la funzione BLUETOOTH del presente sistema. (ON/OFF) Nota: Se si cambia l'impostazione su "OFF", la funzione BLUETOOTH e la funzione NFC vengono disattivate. | ON |
| BT.STBY(Standby BLUETOOTH) | Quando il sistema dispone di informazioni di associazione, il sistema è nella modalità standby BLUETOOTH anche quando è spento. (ON/OFF) | ON | |
| AAC(Advanced Audio Coding) | Per impostare l'eventuale utilizzo o meno dello standard AAC via BLUETOOTH. (ON/OFF) Nota: Se si modifica l'impostazione quando il sistema è connesso con un apparecchio BLUETOOTH, il sistema viene disconnesso dall'apparecchio. | ON | |
| SYSTEM A. STBY(Standby automatico) | Per attivare o disattivare la funzione AUTO POWER OFF (spegnimento automatico). (ON/OFF) Il sistema si spegne automaticamente se non si esegue alcuna operazione entro un determinato periodo di tempo (20 minuti circa) e il sistema non riceve alcun segnale in ingresso. | ON | |

text_image
TV + - TV I/O + - DISPLAY + - TV FIOS - - CLEAR AUDIO + - CINJORS MOVE GAM SOUND FIELD MOVE FAZION IFSETS VOLUME SIGHT ICE (indietro)/ ( selezione)/ → (avanti)/ + (invio) AMP MENU RETURN AMP MENU ILLLETTOOTH + - + - + - + - + - + - + - + - + - + -| Menu Funzione | Predefinita | ||
| WS | LINK | Per collegare di nuovo il sistema audio senza fili (pagina 14). | - |
| RF CHK Per verificare la capacità o meno del sistema audio senza fili di comunicare. (OK/NG) | - | - | |
text_image
TV + - TV + - I/O + - + - + - TV PRICE + - + - + - + - + - + - + - + - + - + - + - + - + - + - + - + - + - + - + - + - + - + - + - + - + - + - + - + - + - + - + - + - + - + - + - + - + - + - + - + - + - + - + - + - + - + - + - + - + - + - + - (indietro)/- + - (sezione)/- + - (avanti)/- + - (invio) + - (invio) + - (indietro) + - (sezione) + - (avanti) + - (invio) + - (indietro) + - (sezione) + - (avanti) + - (invio) + - (indietro) + - (sezione) + - (avanti) + - (invio) + - (indietro) + - (sezione) + - (avanti) + - (invio) + - (indietro) + - (sezione) + - (av anti) + - (invio) + - (indietro) + - (sezione) + - (avanti) + - (invio) + - (indietro) + - (sezione) + - (avanti) + - (invio) + - (indietro) + - (sezione) + - (avanti) + - (invio) + - (indietro) + - (sezione) + - (avansi) + - (invio) + - (indietro) + - (sezione) + - (avanti) + - (invio) + - (indietro) + - (sezione) + - (avanti) + - (invio) + - (indietro) + - (sezione) + - (avanti) + - (invio) + - (indietro) + - (sezione) + - (avantii) + - (invio) + - (indietro) + - (sezione) + - (avanti) + - (invio) + - (indietro) + - (sezione) + - (avanti) + - (invio) + - (indietro) + - (sezione) + - (avanti) + - (invio) + - (indietro) + - (sezione) + - (avani) + - (invio) + - (indietro) + - (sezione) + - (avanti) + - (invio) + - (indietro) + - (sezione) + - (avanti) + - (invio) + - (indietro) + - (sezione) + - (avanti) + - (invio) + - (indietro) + - (sezione) + - (aventi) + - (invio) + - (indietro) + - (sezione) + - (avanti) + - (invio) + - (indietro) + - (sezione) + - (avanti) + - (invio) + - (indietro) + - (sezione) + - (avanti) + - (invio)Spia accensione/standby Spia accensione/standby

text_image
HT-CT370 HT-CT770 Tasto LINK —○ LINK I / ○ I / ○ LINK Tasto LINKConfigurare di nuovo la connessione wireless del subwoofer.
1 Premere il tasto AMP MENU sul telecomando.
2 Selezionare "WS" con il tasto ↑ ↓ (selezione), quindi premere il tasto (jnvio) o → (avanti).
3 Selezionare "LINK" con il tasto ↑ ↓ (selezione), quindi premere il tasto (invio) o → (avanti).
4 Quando viene visualizzato "START" sul display del diffusore soundbar, premere il tasto (invio).
Viene visualizzato "SEARCH" e il diffusore soundbar cerca l'apparecchio che può essere utilizzato con il collegamento del sistema. Proseguire con l'operazione successiva entro 1 minuto. Per uscire dalla funzione Link (collegamento) durante la ricerca dell'apparecchio, premere il tasto ← (indietro).
5 Premere il tasto LINK nel subwoofer con la punta di una penna o simili.
La spia accensione/standby nel subwoofer si illumina in verde. Viene visualizzato "OK" sul display del diffusore soundbar.
Se viene visualizzato "FAILED", assicurarsi che il subwoofer sia acceso e rieseguire il procedimento dal punto 1.
6 Premere il tasto AMP MENU.
Il menu dell'amplificatore viene disattivato.
Varie
Precauzioni
Informazioni sulla sicurezza
- Qualora oggetti liquidi o solidi dovessero cadere all'interno del sistema, scollegare il sistema e farlo controllare da personale qualificato prima di utilizzarlo ulteriormente.
- Non salire sul diffusore soundbar né sul subwoofer, poiché si potrebbe cadere e provocare lesioni personali, o danneggiare il sistema.
Alimentazione
- Prima di utilizzare il sistema, verificare che la tensione di funzionamento sia identica all'alimentazione locale. La tensione di funzionamento è indicata sulla targhetta nella parte inferiore del diffusore soundbar.
- Qualora non si intenda utilizzare il sistema per un periodo di tempo prolungato, accertarsi di scollegarlo dalla presa elettrica a muro. Per scollegare il cavo di alimentazione CA, afferrare la spina; non tirare mai il cavo.
- Una delle punte della spina è più ampia dell'altra, ai fini della sicurezza, e può entrare nella presa elettrica a muro con un solo orientamento. Qualora non si riesca a inserire completamente la spina nella presa elettrica, contattare il rivenditore.
- Il cavo di alimentazione CA deve essere sostituito soltanto presso un centro di assistenza qualificato.
Accumulo di calore
Nonostante il sistema si riscaldi durante l'uso, questo non denota un malfunzionamento. Qualora il sistema venga utilizzato in modo continuo e a volume elevato, la temperatura delle parti posteriore e inferiore del sistema potrebbe aumentare notevolmente. Per evitare ustioni, non toccare il sistema.
Posizionamento
- Collocare il sistema in un luogo che consenta un'adeguata ventilazione per evitare il surriscaldamento e prolungare la durata del sistema.
- Non posizionare il sistema in prossimità di fonti di calore o in luoghi esposti alla luce solare diretta, a una quantità di polvere eccessiva o a urti meccanici.
- Non appoggiare sulla parte posteriore del diffusore soundbar e del subwoofer alcun oggetto che potrebbe ostruire i fori di ventilazione e provocare dei malfunzionamenti.
- Se il sistema viene utilizzato insieme a un televisore, un videoregistratore o una piastra, si potrebbero produrre dei disturbi, e la qualità delle immagini potrebbe deteriorarsi. In questo caso, allontanare il sistema dal televisore, dal videoregistratore o dalla piastra.
- Prestare attenzione se si posiziona il sistema su superfici trattate con prodotti speciali (quali cera, olio, lucidanti, ecc.) onde evitare macchie o lo scolorimento della superficie.
- Fare attenzione per evitare il pericolo di lesioni dovute agli angoli del diffusore soundbar o del subwoofer.
Funzionamento
Prima di collegare altri apparecchi, accertarsi di spegnere e scollegare il sistema dalla rete elettrica.
Se i colori visualizzati sullo schermo di un televisore collocato nelle vicinanze presentano irregolarità
Su alcuni tipi di televisori possono essere rilevate irregolarità nei colori.
Se si verificano irregolarità dei colori...
Spegnere il televisore e quindi riaccenderlo dopo 15-30 minuti.
Se si verificano di nuovo irregolarità dei colori...
Allontanare il sistema dal televisore.
Pulizia
Per pulire il sistema, utilizzare un panno morbido e asciutto. Non utilizzare alcun tipo di spugna abrasiva, detergente in polvere o solventi quali alcool o benzina.
continua
Per eventuali domande o problemi relativi al sistema, rivolgersi al rivenditore Sony più vicino.
Copyright
Il presente sistema incorpora Dolby* Digital e DTS** Digital Surround System.
* Prodotto su licenza di Dolby Laboratories.
Dolby, e il simbolo della doppia D sono marchi di Dolby Laboratories.
** Prodotto su licenza dei brevetti statunitensi: 5.956.674; 5.974.380; 6.226.616; 6.487.535; 7.212.872; 7.333.929; 7.392.195; 7.272.567 e di altri brevetti statunitensi e internazionali emessi e in attesa di registrazione. DTS-HD, il simbolo e DTS-HD e il relativo simbolo sono marchi registrati di DTS, Inc.
Il prodotto è comprensivo di software. ©DTS, Inc. Tutti i diritti riservati.
Il marchio figurativo e i logo BLUETOOTH ^e sono marchi registrati di proprietà di Bluetooth SIG, Inc. e qualsiasi uso di tali marchi da parte di Sony Corporation è sotto licenza.
Il presente sistema incorpora la tecnologia High-Definition Multimedia Interface (HDMI™).
I termini HDMI e HDMI High-Definition Multimedia Interface, e il logo HDMI, sono marchi o marchi registrati di HDMI Licensing LLC negli Stati Uniti e in altre nazioni.
"BRAVIA" è un logo del marchio Sony Corporation.
"DSEE" è un marchio di Sony Corporation.
"x.v.Colour" e il logo "x.v.Colour" sono marchi di Sony Corporation.
"PlayStation ^® " è un marchio registrato di Sony Computer Entertainment Inc.
N Mark è un marchio o un marchio registrato di NFC Forum, Inc. negli Stati Uniti e in altre nazioni.
Android e Google Play sono marchi di Google Inc.
"ClearAudio+" è un marchio di Sony Corporation.
Apple, il logo Apple, iPhone, iPod e iPod touch sono marchi di Apple Inc., registrati negli Stati Uniti e in altre nazioni. App Store è un marchio di servizio di Apple Inc.
Made for

iPod iPhone
Le indicazioni "Made for iPod" e "Made for iPhone" significano che un accessorio elettronico è stato progettato per connettersi specificamente agli iPod o agli iPhone, rispettivamente, e la sua conformità agli standard relativi alle prestazioni di Apple è stata certificata dallo sviluppatore. Apple non si assume alcuna responsabilità per quanto riguarda il funzionamento del presente apparecchio o la sua conformità agli standard di sicurezza o normativi. Tenere presente che l'uso del presente accessorio con iPod o iPhone potrebbe produrre effetti negativi sulle prestazioni delle comunicazioni senza fili.
Modelli di iPod/iPhone compatibili
I modelli di iPod/iPhone compatibili sono i seguenti. Aggiornare il proprio iPod/iPhone con il software più recente, prima di utilizzarlo con il sistema.
La tecnologia BLUETOOTH funziona con:
- iPhone
iPhone 5s/iPhone 5c/iPhone 5/iPhone 4s/iPhone 4/iPhone 3GS - iPod touch
iPod touch (5a generazione)/iPod touch (4a generazione)
Gli altri marchi e nomi commerciali appartengono ai rispettivi proprietari.
Tecnologia senza fili BLUETOOTH
Versioni e profili BLUETOOTH supportati
Il termine "profilo" si riferisce a una serie di funzioni standard per svariate funzionalità dei prodotti BLUETOOTH. Consultare la sezione "Caratteristiche tecniche" (pagina 29) per le versioni e i profili BLUETOOTH supportati dal presente sistema.
Note
- Per utilizzare la funzione BLUETOOTH, l'apparecchio BLUETOOTH da collegare deve supportare lo stesso profilo del presente sistema. Anche qualora l'apparecchio supporti lo stesso profilo, le funzioni potrebbero variare a causa delle caratteristiche tecniche dell'apparecchio BLUETOOTH.
- La riproduzione audio sul presente sistema potrebbe presentare un ritardo rispetto a quella sull'apparecchio BLUETOOTH, a causa delle caratteristiche della tecnologia wireless BLUETOOTH.
Raggio d'azione effettivo delle comunicazioni
Gli apparecchi BLUETOOTH andrebbero utilizzati entro una distanza approssimativa di 10 metri (senza ostacoli) l'uno dall'altro. Il raggio d'azione effettivo delle comunicazioni può ridursi nelle condizioni seguenti:
- Quando una persona, un oggetto metallico, una parete o un altro ostacolo si frappone tra apparecchi che comunicano mediante una connessione BLUETOOTH
• In ubicazioni in cui sia installata una LAN wireless - In prossimità di forni a microonde in uso
- In ubicazioni in cui vengano generate altre onde elettromagnetiche
Effetti di altri apparecchi
Gli apparecchi BLUETOOTH e gli apparecchi LAN wireless (IEEE 802.11b/g) utilizzano la stessa banda di frequenza (2,4 GHz). Quando si utilizza un apparecchio BLUETOOTH in prossimità di un apparecchio con funzionalità LAN wireless, può verificarsi un'interferenza elettromagnetica.
Questo può provocare riduzione delle velocità di trasferimento dati, disturbi o impossibilità di connettersi. Qualora si verifichi questa eventualità, provare ad adottare le azioni correttive seguenti:
- Connettere il presente sistema e un telefono cellulare BLUETOOTH o un apparecchio BLUETOOTH quando ci si trova a una distanza di almeno 10 metri dall'apparecchio LAN wireless.
- Spegnere l'apparecchio LAN wireless quando si utilizza l'apparecchio BLUETOOTH a una distanza inferiore a 10 metri.
Effetti sugli altri apparecchi
Le onde radio emesse dal presente sistema possono interferire con il funzionamento di alcune apparecchiature medicali. Poiché questa interferenza potrebbe provocare un malfunzionamento, spegnere sempre il presente sistema, i telefoni cellulari BLUETOOTH e gli apparecchi BLUETOOTH nelle ubicazioni seguenti:
- Negli ospedali, sui treni o negli aeroplani, nelle stazioni di servizio e in qualsiasi luogo in cui possano essere presenti gas infiammabili
- In prossimità di porte automatiche o allarmi antincendio
Note
- Il presente sistema supporta funzioni di sicurezza conformi con la specifica BLUETOOTH come garanzia della sicurezza delle comunicazioni eseguite mediante la tecnologia BLUETOOTH. Tuttavia, tale sicurezza potrebbe essere insufficiente, a seconda delle impostazioni e di altri fattori. Pertanto, fare sempre attenzione nell'effettuare comunicazioni utilizzando la tecnologia BLUETOOTH.
- Sony non si assume alcuna responsabilità per eventuali danni o altre perdite derivanti da fughe di informazioni durante le comunicazioni mediante la tecnologia BLUETOOTH.
- Le comunicazioni BLUETOOTH non sono necessariamente garantite con tutti gli apparecchi BLUETOOTH che abbiano lo stesso profilo del presente sistema.
•Gli apparecchi BLUETOOTH connessi al presente sistema devono essere conformi alle specifiche BLUETOOTH definite da Bluetooth SIG, Inc., e la loro conformità deve essere certificata. Tuttavia, anche quando un apparecchio è conforme alle specifiche BLUETOOTH, potrebbero sussistere dei casi in cui le caratteristiche o le specifiche dell'apparecchio BLUETOOTH in questione potrebbero rendere
continua
impossibile la connessione oppure risultare in metodi di controllo, visualizzazioni o funzionamento diversi.
- A seconda dell'apparecchio BLUETOOTH connesso con il presente sistema, dell'ambiente di comunicazione o delle condizioni circostanti, potrebbero verificarsi disturbi o l'audio potrebbe venire interrotto.
Risoluzione dei problemi
Qualora durante l'utilizzo del sistema si verifichi una delle situazioni descritte di seguito, consultare la presente guida alla risoluzione dei problemi, prima di richiedere la riparazione. Qualora il problema persista, rivolgersi al rivenditore Sony più vicino.
Sottoporre all'attenzione del personale di assistenza sia il diffusore soundbar che il subwoofer, anche se in apparenza il problema riguarda solo uno dei due.
ALIMENTAZIONE
Il sistema non si accende.
→ Accertarsi che il cavo di alimentazione CA sia collegato saldamente.
Il sistema si spegne automaticamente.
→ La funzione "A. STBY" è attiva. Impostare "A. STBY (Auto standby)" su "OFF" (pagina 12).
AUDIO
L'audio del televisore non viene trasmesso dal sistema.
→ Premere ripetutamente il tasto ⊙ sul telecomando per visualizzare "TV" sul display (vedere "Ascolto dell'audio del televisore" nella Guida di avvio in dotazione).
→ Controllare il collegamento del cavo HDMI, del cavo ottico digitale o del cavo audio collegato al sistema e al televisore (vedere "Collegamento" nella Guida di avvio in dotazione).
→ Controllare l'uscita audio del televisore. Per le impostazioni del televisore, consultare le istruzioni per l'uso del televisore.
→ Aumentare il volume del televisore o annullare il silenziamento.
→ Quando è collegato un televisore compatibile con la tecnologia del Canale audio di ritorno (ARC) mediante un cavo HDMI, accertarsi che il cavo sia collegato al terminale di ingresso HDMI (ARC) del televisore (vedere "Collegamento" nella Guida di avvio in dotazione).
Se il televisore non è compatibile con la tecnologia del Canale audio di ritorno (ARC), collegare il cavo ottico digitale in aggiunta
al cavo HDMI per poter emettere l'audio (vedere "Collegamento" nella Guida di avvio in dotazione).
L'audio viene emesso sia dal sistema che dal televisore.
→ Disattivare l'audio del sistema o del televisore.
L'audio del televisore riprodotto dal presente sistema è in ritardo rispetto all'immagine.
→ Impostare "SYNC (Sincronizzazione AV)" su "OFF" se è impostato su "ON" (pagina 11).
Il diffusore soundbar non riproduce suoni o riproduce un suono di livello molto basso dell'apparecchio collegato al diffusore soundbar.
→ Premere il tasto △ + sul telecomando e controllare il livello del volume (vedere "Componenti e comandi" (pagina 27)).
→ Premere il tasto ⚙o ∆ + sul telecomando per annullare la funzione di silenziamento (vedere "Componenti e comandi" (pagina 27)).
→ Assicurarsi di aver selezionato correttamente la sorgente in ingresso. Provare altre sorgenti in ingresso premendo più volte il tasto → sul telecomando (vedere "Ascolto dell'audio" nella Guida di avvio in dotazione).
→ Controllare che tutti i cavi del sistema e dell'apparecchio collegato siano inseriti saldamente.
Il subwoofer non riproduce suoni o riproduce un suono di livello molto basso.
→ Premere il tasto SW △ + sul telecomando per aumentare il volume del subwoofer (consultare "Componenti e comandi" (pagina 27)).
→ Assicurarsi che la luce verde della spia accensione/standby nel subwoofer sia accesa. Se spenta, consultare "Non si sentono suoni dal subwoofer." in "AUDIO SENZA FILI" (pagina 20).
→ Un subwoofer consente la riproduzione audio dei bassi. In caso di sorgenti in ingresso contenenti audio caratterizzato da pochissimi bassi (ad esempio una trasmissione televisiva), l'audio proveniente dal subwoofer potrebbe essere poco percepibile.
Se si riproducono contenuti compatibili con la tecnologia di protezione del copyright (HDCP), il subwoofer non emette suoni.
continua
Non è possibile ottenere l'effetto surround.
→ A seconda del segnale in ingresso e dell'impostazione del campo sonoro, l'elaborazione audio surround potrebbe non funzionare in modo efficace. L'effetto surround può essere poco rilevabile, a seconda del programma o del disco.
→ Per riprodurre l'audio multicanale, controllare l'impostazione dell'uscita audio digitale sull'apparecchio collegato al sistema. Per i dettagli, consultare le istruzioni per l'uso in dotazione con l'apparecchio collegato.
BLUETOOTH
È impossibile completare la connessione BLUETOOTH.
→ Accertarsi che la spia (blu) del diffusore soundbar sia accesa (consultare "Ascolto dell'audio da apparecchi BLUETOOTH" nella Guida di avvio in dotazione).
Stato del sistema Stato della spia (blu)
| Durante l'associazione BLUETOOTH Lampeggia rapidamente | |
| Il sistema sta tentando di connettersi con un apparecchio BLUETOOTH | Lampeggia |
| Il sistema ha stabilito una connessione con un apparecchio BLUETOOTH | Accesa |
| Il sistema è in modalità standby BLUETOOTH (quando il sistema è spento) | Spenta |
→ Accertarsi che l'apparecchio BLUETOOTH da collegare sia acceso e che la funzione BLUETOOTH sia attiva.
→ Ridurre la distanza tra questo sistema e l'apparecchio BLUETOOTH.
→ Rieseguire l'associazione tra questo sistema e l'apparecchio BLUETOOTH. Potrebbe essere necessario annullare prima l'associazione con questo sistema utilizzando l'apparecchio BLUETOOTH.
Non si riesce a ottenere l'associazione.
→ Accostare maggiormente questo sistema all'apparecchio BLUETOOTH (consultare "Ascolto dell'audio da apparecchi BLUETOOTH" nella Guida di avvio in dotazione).
→ Assicurarsi che questo sistema non riceva interferenze da apparecchi LAN wireless, da altri apparecchi wireless che utilizzino la banda da 2,4 GHz o da un forno a microonde. Se nelle immediate vicinanze è presente un apparecchio che genera radiazioni elettromagnetiche, allontanare l'apparecchio da questo sistema.
L'apparecchio BLUETOOTH connesso non produce suoni.
→ Accertarsi che la spia (blu) del diffusore soundbar sia accesa (consultare "Ascolto dell'audio da apparecchi BLUETOOTH" nella Guida di avvio in dotazione).
→ Ridurre la distanza tra questo sistema e l'apparecchio BLUETOOTH.
Se nelle vicinanze è presente un apparecchio che genera radiazioni elettromagnetiche, ad esempio un apparecchio LAN wireless, altri apparecchi BLUETOOTH o un forno a microonde, allontanare l'apparecchio in questione da questo sistema.
→ Rimuovere tutti gli ostacoli frapposti tra questo sistema e l'apparecchio BLUETOOTH o allontanare questo sistema dall'ostacolo.
→ Riposizionare l'apparecchio BLUETOOTH collegato.
→ Provare a modificare la frequenza wireless del router Wi-Fi, del computer, e così via, sulla banda da 5 GHz.
→ Aumentare il volume sull'apparecchio BLUETOOTH connesso.
L'audio non è sincronizzato con l'immagine.
→ Durante la visione dei film, si potrebbe verificare un leggero ritardo dell'audio rispetto all'immagine.
AUDIO SENZA FILI
Non si sentono suoni dal subwoofer.
→ Accertarsi che il cavo di alimentazione CA del subwoofer sia collegato correttamente. (Consultare "Accensione del sistema" nella Guida di avvio in dotazione).
→ La spia accensione/standby non si accende.
- Accertarsi che il cavo di alimentazione CA del subwoofer sia collegato correttamente.
- Per l'accensione, premere il tasto I/⏻ (accensione/standby) del subwoofer.
→ La spia accensione/standby lampeggia lentamente in verde o si accende in rosso.
- Cambiare posizione al subwoofer avvicinandolo al diffusore soundbar in modo che si accenda la luce verde della spia accensione/standby.
- Procedere secondo quanto descritto in "Collegamento del sistema (LINK)" (pagina 14).
- Verificare lo stato di trasmissione wireless mediante "RF CHK" del menu dell'amplificatore (pagina 13).
→ La spia accensione/standby lampeggia rapidamente in verde. - Rivolgersi al rivenditore Sony più vicino.
→ La spia accensione/standby lampeggia in rosso.
- Per lo spegnimento, premere il tasto I/⏻ (accensione/standby) del subwoofer e controllare la presenza o meno di ostruzioni nell'apertura di ventilazione del subwoofer.
→ Il subwoofer è stato progettato per la riproduzione audio dei bassi. Se la sorgente in ingresso non contiene molti bassi, come nel caso della maggior parte dei programmi televisivi, potrebbe essere difficile sentire i bassi.
→ Premere il tasto SW △ + sul telecomando per aumentare il volume del subwoofer (consultare "Componenti e comandi" (pagina 27)).
L'audio funziona in maniera intermittente o produce rumori.
Se nelle vicinanze è presente un apparecchio che genera onde elettromagnetiche come un apparecchio LAN wireless o un forno elettrico in uso, collocare il sistema a debita distanza dall'apparecchio in questione.
→ Spostare o rimuovere eventuali ostacoli frapposti tra il diffusore soundbar e il subwoofer.
→ Collocare il diffusore soundbar e il subwoofer interponendo una distanza minima tra i due.
→ Impostare la frequenza LAN wireless di qualunque router Wi-Fi o personal computer presenti nelle vicinanze su 5-GHz.
TELECOMANDO
Il telecomando di questo sistema non funziona.
→ Puntare il telecomando verso l'apposito sensore sul diffusore soundbar (consultare "Componenti e comandi" (pagina 27)).
→ Rimuovere eventuali ostacoli tra il telecomando e il sistema.
→ Sostituire entrambe le pile nel telecomando con pile nuove, se la carica sta per esaurirsi.
→ Verificare che sia premuto il tasto corretto sul telecomando.
ALTRI
La funzione Controllo per HDMI non opera correttamente.
→ Verificare il collegamento HDMI (vedere "Collegamento" nella Guida di avvio in dotazione).
→ Configurare la funzione Controllo per HDMI sul televisore. Per l'impostazione del televisore, consultare le istruzioni per l'uso in dotazione con il televisore.
→ Assicurarsi che gli apparecchi collegati siano compatibili con "BRAVIA" Sync.
→ Verificare le impostazioni della funzione Controllo per HDMI sull'apparecchio collegato. Consultare le istruzioni per l'uso in dotazione con l'apparecchio collegato.
Se si collega/scollega il cavo di alimentazione CA, attendere almeno 15 secondi prima di utilizzare il sistema.
Se si collega l'uscita audio di un apparecchio video con il sistema utilizzando un cavo diverso da un cavo HDMI, è possibile che non venga emesso alcun suono a causa di "BRAVIA" Sync. In tal caso, impostare "CTRL (Control for HDMI)" su "OFF" (pagina 12) o collegare il cavo dalla presa di uscita audio dell'apparecchio video direttamente al televisore.
L'indicazione "PRTECT (protect)" (protezione) viene visualizzata sul display del diffusore soundbar.
→ Per spegnere il sistema, premere il tasto I/⏻ (accensione/standby). Dopo la scomparsa dell'indicatore, scollegare il cavo di alimentazione CA, quindi verificare che non vi siano ostruzioni ai fori di ventilazione del sistema.
continua
I sensori del televisore non funzionano correttamente.
Il diffusore soundbar potrebbe bloccare qualche sensore (ad esempio il sensore di luminosità) e il ricevitore del telecomando del televisore, o l'“emettitore per occhiali 3D (trasmissione a infrarossi)” di un televisore 3D che supporti il sistema infrarossi degli occhiali 3D. Allontanare il diffusore soundbar dal televisore a una distanza tale da consentire il corretto funzionamento di quei componenti. Per le ubicazioni dei sensori e del ricevitore del telecomando, consultare le istruzioni per l'uso in dotazione con il televisore.
RESET
Se il sistema non funziona ancora correttamente, eseguire un'operazione di reset del sistema seguendo le indicazioni riportate di seguito:
1 Premere il tasto I/⏻ (accensione/standby) sul telecomando per accendere il diffusore soundbar.
2 Premere il tasto AMP MENU sul telecomando.
3 Premere ripetutamente il tasto ↑ ↓ (selezione) fino alla visualizzazione di "SYSTEM", quindi premere il tasto (+) (invio).
4 Premere ripetutamente il tasto ↑ ↓ (selezione) fino alla visualizzazione di "SYS.RST", quindi premere il tasto ⊕ (invio) (pagina 12).
5 Premere il tasto (invio) dopo la visualizzazione di "START".
L'indicazione "RESET" viene visualizzata sul display, e le impostazioni del menu e dei campi sonori, e così via, tornano ai loro stati iniziali.
6 Scollegare il cavo di alimentazione CA.
Componenti e comandi
HT-CT370
Diffusore soundbar

text_image
1 2 3 4 I / ⏻ INPUT PAIRING VOL - VOL + 5 6 7 8 9 10 11 OPT (TV) 12 13 ANALOG IN DIGITAL IN HDMI IN HDMI OUT TV (ARC)Lato anteriore/lato superiore
1 Tasto I/⏻ (accensione/standby)
2 Tasto INPUT
3 Tasto PAIRING
4 Tasti VOL (volume) +/-
5 Simbolo N
Quando si utilizza la funzione NFC, toccare il dispositivo NFC sul simbolo.
6 Sensore del telecomando
7 Spia
- Bianca: quando il display del diffusore soundbar è spento.
- Blu: modalità BLUETOOTH (pagina 20)
8 Display
Lato posteriore/lato inferiore
9 Cavo di alimentazione CA
10 Presa ANALOG IN
11 Presa DIGITAL IN (OPT (TV))
12 Prese HDMI IN 1/2/3
13 Presa HDMI OUT (TV (ARC))
continua
Subwoofer

flowchart
graph TD
A["1"] --> B["Box"]
B --> C["2"]
B --> D["3"]
B --> E["4"]
C --> F["LINK"]
D --> F
E --> F
F --> G["I/O"]
① Spia accensione/standby
2 Tasto LINK
3 Tasto I/ (accensione/standby)
4 Cavo di alimentazione CA
HT-CT770
Diffusore soundbar

text_image
1 2 3 4 I / ⏻ INPUT PAIRING VOL - VOL + 5 6 7 8 9 10 11 OPT (TV) ANALOG IN DIGITAL IN 12 2 3 TV (HDCI) HDMI IN HDMI OUTLato anteriore/lato superiore
1 Tasto I/⏻ (accensione/standby)
2 Tasto INPUT
3 Tasto PAIRING
4 Tasti VOL (volume) +/-
5 Simbolo N
Quando si utilizza la funzione NFC, toccare il dispositivo NFC sul simbolo.
6 Sensore del telecomando
7 Spia
- Bianca: quando il display del diffusore soundbar è spento.
- Blu: Modalità BLUETOOTH (pagina 20)
8 Display
Lato posteriore/lato inferiore
9 Cavo di alimentazione CA
10 Presa ANALOG IN
11 Presa DIGITAL IN (OPT (TV))
12 Prese HDMI IN 1/2/3
13 Presa HDMI OUT (TV (ARC))
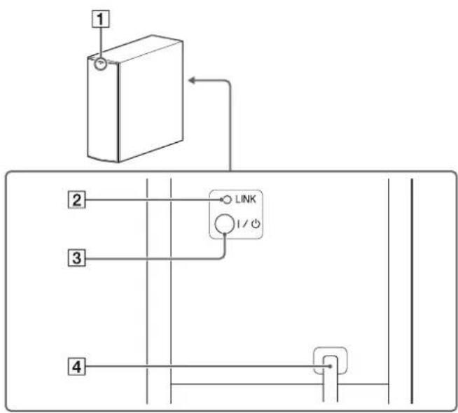
Subwoofer

text_image
1 2 3 4 LINK1 Spia accensione/standby
2 Cavo di alimentazione CA
3 Tasto I/ (accensione/standby)
4 Tasto LINK
Telecomando
Il telecomando in dotazione è in grado di controllare il sistema e gli apparecchi collegati. Non è in grado di controllare alcuni apparecchi. In tal caso, utilizzare il telecomando dell'apparecchio in questione.
Nota
Far funzionare il telecomando puntandolo verso il sensore del telecomando del diffusore soundbar.

text_image
19 18 17 TV + - TV PRG DISPLAY + - CLEAR MUSIC SOUND FIELD SAME MUSIC P.AKIDG SPORTS 5 6 7 8 9 10 11 12 13 14 15 16 17 Veer RIGHT + - RETURN AMP MENU BLUETOOTH PARING 11 12Funzionamento del sistema
① tasto → (ingresso)
2 tasto I/ (accensione/standby)
3 Tasto DISPLAY
Per modificare la luminosità (Intensa/scarsa/disattivata) del display del diffusore soundbar.
- Quando la luminosità del display è impostata su "Disattivata", il display si spegne dopo aver mostrato lo stato di funzionamento per svariati secondi.
- Quando si passa da "Disattivata" a "Intensa", sul display vengono visualizzate le informazioni relative al flusso audio.
4 Tasti SW ∠+/- (volume del subwoofer)
5 Tasti SOUND FIELD*
6 Tasto NIGHT (modalità notturna)*
7 Tasto ✉ (silenziamento)
8 Tasti +^*/- (volume)
9 Tasto AMP MENU
13 Tasto PAIRING
14 Tasto RETURN
15 Tasti ← (indietro)/↑↓ (selezione)/→ (avanti)/ ⊕ (invio)
Premere il tasto ←, ↑, ↓, o → per selezionare un'impostazione, quindi premere il tasto ⊕ per salvarla.
16 Tasto VOICE*
Funzionamento del televisore
17 Tasti TV PROG +/- (programma) Per cambiare canale.
18 Tasto TV (ingresso)
Per commutare l'ingresso nel televisore.
19 Tasto TV I/⏻ (accensione/standby)
Per accendere e spegnere un televisore che può essere controllato dal telecomando del sistema.
continua
Funzionamento dell'apparecchio BLUETOOTH
10 Tasti ◀◀◀/▶▶▶
Per saltare una traccia.
11 Tasti ◀◀/▶▶
Per il riavvolgimento rapido o l'avanzamento rapido dei brani musicali tenendo premuti i tasti durante la riproduzione.
12 Tasti di controllo riproduzione
^*2 (riproduzione)/II (pausa)/■ (arresto)
Per avviare, mettere in pausa o interrompere la riproduzione. Per riprendere la riproduzione durante una pausa, premere di nuovo il tasto ■.
Nota
Questi esempi fanno riferimento al funzionamento di base. Può verificarsi che un apparecchio non funzioni o funzioni in maniera diversa.
*1 Vedere "Effetti sonori" nella Guida di avvio in dotazione.
*2 I tasti ▶ (riproduzione) e △ (volume) + dispongono ognuno di un punto tattile. Utilizzarlo come guida durante l'utilizzo.
Impostazione del fabbricante del televisore
1 Premere il tasto relativo al fabbricante tenendo premuto il tasto TV I/⏻ (accensione/standby) sul telecomando del sistema.
| Fabbricante Tasto | |
| SONY | 17 TV PROG + |
| Samsung | 3 DISPLAY |
| LG | 4 SW △ + |
| Panasonic | 17 TV PROG - |
| Philips | 5 CLEARAUDIO+ |
| 5 MOVIE | |
| 5 GAME | |
| Sharp | 4 SW △ - |
| Toshiba | 5 STANDARD |
2 Tenere premuto il tasto TV I/⏻ (accensione/standby) e premere il tasto (jinvio).
3 Rilasciare il tasto TV I/⏻ (accensione/standby) sul telecomando del sistema premuto in precedenza.
Caratteristiche tecniche
Diffusore soundbar (SA-CT370, SA-CT770)
Sezione dell'amplificatore
POTENZA IN USCITA (nominale)
Anteriore S + Anteriore D: 50 W + 50 W
(su 4 ohm, a 1 kHz, con distorsione armonica totale dell'1%)
POTENZA IN USCITA (riferimento)
SA-CT370:
Anteriore S/Anteriore D: 100 Watt (a canale su 4 ohm, a 1 kHz)
SA-CT770:
Anteriore S/Anteriore D: 105 Watt (a canale su 4 ohm, a 1 kHz)
Ingressi
HDMI IN 1/2/3*
ANALOG IN
* Queste 3 prese sono identiche. Utilizzarne una anziché un'altra è indifferente.
Uscita
HDMI OUT (TV (ARC))
Sezione BLUETOOTH
Sistema di comunicazione
Specifica BLUETOOTH versione 3.0
Uscita
Specifica BLUETOOTH di potenza di classe 2
Raggio d'azione massimo delle comunicazioni
In linea d'aria senza ostacoli circa 10 m ^1)
Numero massimo di apparecchi registrabili
9 apparecchi
Banda di frequenza
Banda da 2,4 GHz (da 2,4000 GHz a 2,4835 GHz)
Metodo di modulazione
Raggio d'azione delle trasmissioni (A2DP)
Da 20 Hz a 20.000 Hz (frequenza di campionamento 44,1 kHz)
1) Il raggio d'azione effettivo varia a seconda di fattori quali ostacoli tra gli apparecchi, campi magnetici intorno a un forno a microonde, elettricità statica, telefoni cordless, sensibilità in ricezione, sistema operativo, applicazioni software e così via.
2) I profili standard BLUETOOTH indicano lo scopo della comunicazione BLUETOOTH tra gli apparecchi.
3) Codec: formato di compressione e conversione del segnale audio
4) Subband Codec
5) Advanced Audio Coding
Sezione dei diffusori anteriore S/anteriore D
Sistema di diffusori
SA-CT370: Sistema di diffusori full range, a sospensione acustica
SA-CT770: Sistema di diffusori a 2 vie, a sospensione acustica
Diffusore
SA-CT370: 60 mm tipo a cono
SA-CT770: 60 mm tipo a cono woofer
tweeter con driver balance da 20 mm
Impedenza nominale
4 ohm
continua
Informazioni generali
Requisiti di alimentazione
220 V - 240 V CA, 50 Hz/60 Hz
Assorbimento
Acceso: 34 W
Modalità standby (il Controllo per HDMI è in funzione): 0,5 W o inferiore
Modalità standby (il Controllo per HDMI non è in funzione): 0,3 W o inferiore
Modalità BLUETOOTH Standby: 0,5 W o inferiore
(senza staffe per il montaggio a parete) 900 mm × 113 mm × 72 mm
(con staffe per il montaggio a parete)
SA-CT770:
1030 mm × 50 mm × 113 mm
(senza staffe per il montaggio a parete)
1030 mm × 113 mm × 72 mm
(con staffe per il montaggio a parete)
Peso (approssimativo)
SA-CT370: 2,4 kg
SA-CT770: 2,6 kg
Subwoofer (SA-WCT370, SA-WCT770)
USCITA DI POTENZA (riferimento)
SA-WCT370: 100 W (a canale su 4 ohm, a 100 Hz)
SA-WCT770: 120 W (a canale su 4 ohm, a 100 Hz)
Sistema di diffusori
Sistema subwoofer, Bass reflex
Diffusore
SA-WCT370: 100 mm × 150 mm tipo a cono
SA-WCT770: 160 mm tipo a cono
Impedenza nominale
4 ohm
Requisiti di alimentazione
220 V - 240 V CA, 50 Hz/60 Hz
Assorbimento
Acceso: 30 W
Modalità standby: 0,5 W o inferiore
Peso (approssimativo)
SA-WCT370: 7,0 kg
SA-WCT770: 8,8 kg
Ricetrasmettitore wireless/sezione ricevitore
Sistema di diffusori
Specifica audio senza fili versione 2.0
Banda di frequenza
2,4 GHz (da 2,4000 GHz a 2,4835 GHz)
Metodo di modulazione
Pi/4 DQPSK
Formati audio digitali in ingresso supportati dal sistema
Dolby Digital DTS-HD Master Audio
Dolby Digital Plus* DTS-HD High Resolution Audio*
Dolby TrueHD* DTS-HD Low Bit Rate*
DTS Linear PCM 2ch a 48 kHz o inferiore
DTS 96/24 Linear PCM massimo 7.1ch a 192 kHz o
inferiore*
* È possibile ricevere in ingresso questi formati solo con il collegamento HDMI.
Formati video supportati dal sistema
Ingresso/uscita (blocco ripetitore HDMI)
| File 2D | 3D | |||
| Frame packing | Affiancato (Metà) | Over-Under (Top-and-Bottom) | ||
| 4096 × 2160p a 59,94/60 Hz ^-1 | ○ | - | - | - |
| 4096 × 2160p a 50 Hz ^-1 | ○ | - | - | - |
| 4096 × 2160p a 23,98/24 Hz ^-2 | ○ | - | - | - |
| 3840 × 2160p a 59,94/60 Hz ^-1 | ○ | - | - | - |
| 3840 × 2160p a 50 Hz ^-1 | ○ | - | - | - |
| 3840 × 2160p a 29,97/30 Hz ^-2 | ○ | - | - | - |
| 3840 × 2160p a 25 Hz ^-2 | ○ | - | - | - |
| 3840 × 2160p a 23,98/24 Hz ^-2 | ○ | - | - | - |
| 1920 × 1080p a 59,94/60 Hz ○ | - | ○ | ||
| 1920 × 1080p a 50 Hz ○ | - | ○ | ||
| 1920 × 1080p a 29,97/30 Hz ○ | ○ | ○ | ||
| 1920 × 1080p a 25 Hz ○ | ○ | ○ | ||
| 1920 × 1080p a 23,98/24 Hz ○ | ○ | ○ | ||
| 1920 × 1080i a 59,94/60 Hz ○ | ○ | ○ | ||
| 1920 × 1080i a 50 Hz ○ | ○ | ○ | ||
| 1280 × 720p a 59,94/60 Hz ○ | ○ | ○ | ||
| 1280 × 720p a 50 Hz ○ | ○ | ○ | ||
| 1280 × 720p a 29,97/30 Hz ○ | ○ | ○ | ||
| 1280 × 720p a 23,98/24 Hz ○ | ○ | ○ | ||
| 720 × 480p a 59,94/60 Hz | ○ | - | ||
| 720 × 576p a 50 Hz | ○ | - | ||
| 640 × 480p a 59,94/60 Hz | ○ | - | ||
^1 YCbCr 4:2:0/Supportati solo 8 bit
^2 Supportati solo 8 bit
Il design e le caratteristiche tecniche sono soggetti a modifiche senza preavviso.
ManualeFacile