PC932AW - Soporte para pantalla plana Peerless-AV - Manual de uso y guía de instrucciones gratis
Encuentra gratis el manual del aparato PC932AW Peerless-AV en formato PDF.
Questions des utilisateurs sur PC932AW Peerless-AV
0 question sur cet appareil. Repondez a celles que vous connaissez ou posez la votre.
Poser une nouvelle question sur cet appareil
Descarga las instrucciones para tu Soporte para pantalla plana en formato PDF gratis! Encuentra tus instrucciones PC932AW - Peerless-AV y toma tu dispositivo electrónico nuevamente en la mano. En esta página están publicados todos los documentos necesarios para el uso de su dispositivo. PC932AW de la marca Peerless-AV.
MANUAL DE USUARIO PC932AW Peerless-AV
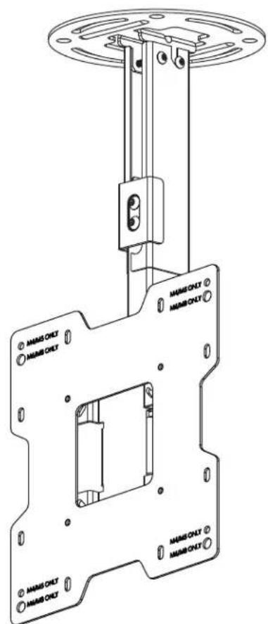
Instalacion y ensamblaje: Soporte de Techo para 15" - 40" Pantallas
| Modelos | Gama de時間 de las pantallas | Capacidad de energia maxima de UL |
| PC930A, PC930A-S, PC930A-W, PC930B, PC930B-S, PC930B-W, PC930C, PC930C-S, PC930C-W | de 15" a 24" 50 lb | (22.7 kg) |
| PC932A, PC932A-S, PC932A-W, PC932B, PC932B-S, PC932B-W, PC932C, PC932C-S, PC932C-W | de 15" a 40" 80 lb | (36.3 kg) |

Characteristicas:
- Compatible con VESA® 75 / 100 / 200 x 100 / 200 x 200
Tres longitudes de extension ajustable PC930A/PC932A modelos - 9.8" - 13.9" PC930B/PC932B modelos - 13.78" - 21.89" PC930C/PC932C modelos - 20.24" - 34.02" - Inclinación ajustable de +20/-5°
360^ de ajuste al instalar - Manejo de cables interno
Dispositivo asegurador de diseño integrado a los rieles de extension para garantizar la seguridad del usuario y del equipo

ADVERTENCIA
- No comience a instalar el producto hasta haber leido y entendido las instrucciones y las advertencias containidas en la Hoja de Instalacion. Si tiene alguna pregunta acerca de在哪quiera de las instrucciones o las advertencias, por favor, llama a Servicio al Cliente al 1-800-865-2112.
- Este produit solo de ser instalado por una persona que teng a una buena aptitud mecnica, que tenga experiencia en construccion basia de edifi cios y que entienda estas instrucciones en su totalidad.
- Asegürese de que la superficie de apoyo sostendra, con seguridad, la energia y todos los fi jadores y componentes.
- Nunca sobrepase la capacité maxima de soportar energia aceptada por Underwriters Laboratories. Vea la pagina 12.
- Si va a instalar el producto en un techo con vidas de madera, asegürese de que los tornillos de montaje estén anclados en el centro de las vidas. Se recomienda utiliser un localizador de montantes de "borde a borde".
Siempre cunde con la aplica de un asistente o utilise un equipo mecnico de izar para levantar y colocar el equipo con mas seguidad. - Apriete los tornillos con firmeza, pero no en excesso. Apretarlos en excesso pueda darar los articulos y pueda disminuir significi cativamente su fuerza de fi jacion.
- Este produit está diseñado para uso en interiores solamente. Utilizar este produit en exteriores可能导致 fallas del producto y lesiones a individuos.
- Este producto fue Diseñado para ser instalado en paredes con lasumae construeda solamente: Construccion DE LA PARED ACCESORIOS NECESARIOS
Montante de madera Incluido
Viga de madera Incluso
- Concreto macizo Incluido
- Bloque de hormigón de escalarias Comuniquese con un profesional califirado
- Montante de metal No lo instale excepto con el juego de accesorios de Peerless para montantes de metal (no evaluados por UL)
Ladrillo Comuniquese con un profesional calificado (no evaluados por UL)
- Otra superficie o no está seguro? Comuniquese con un professionnel calificado
Herramentas necessities para el ensamblaje
- localizador de montantes (se recomienda uno de "borde a borde")
- taladro
nivel
broca de 5/16" para concreto
broca de 5 / 32" para vivas de madera
- destornillador phillips
Tabla de contenido
Liesta de piezas. 14, 15
Instalacion del riel exterior en la placar de techo. 15
Instalacion en viges de madera 16
Instalacion en techos de concreto 17
Instalacion del riel interior y colocacion de los cables 18
Fijación de la placá de montaje a pantallas con confi guraciones de montaje VESA 75ó100 19
Fijación de la planta adaptadora a pantallas con confi guraciones de montaje VESA 200 × 100 o 200 × 200 20
Instalacion de la pantalla plana 21
Ajuste de la extension del soporte 21
Ajuste de la pantalla 22
Instalacion de las cubiertas de los cables 22
Antes de comenzar, asegu'rese de que su producto contiene todas las piezas que se muestran.
| Lista de piezas Descripción | PC930A, PC930B, PC930C | PC930A-S, PC930B-S, PC930C-S | PC930A-W, PC930B-W, PC930C-W | PC932A, PC932B, PC932C | PC932A-S, PC932B-S, PC932C-S | PC932A-W, PC932B-W, PC932C-W | |
| Cant. | N.o de pieza | N.o de pieza | N.o de pieza | N.o de pieza | N.o de pieza | N.o de pieza | |
| A placa de techo | 1 | 055-1773 | 055-4773 | 055-2773 | 055-1773 | 055-4773 | 055-2773 |
| B riel exterior | 1 | Vea la tabla | Vea la tabla | Vea la tabla | Vea la tabla | Vea la tabla | Vea la tabla |
| C riel interior | 1 | Vea la tabla | Vea la tabla | Vea la tabla | Vea la tabla | Vea la tabla | Vea la tabla |
| D plac abrazadora | 1 | 055-1771 | 055-4771 | 055-2771 | 055-1771 | 055-4771 | 055-2771 |
| E soporte giratorio / rotatorio | 1 | 055-1811 | 055-4811 | 055-2811 | 055-1811 | 055-4811 | 055-2811 |
| F soporte inclinable | 1 | 095-1484 | 095-4484 | 095-2484 | 095-1484 | 095-4484 | 095-2484 |
| G cubierta para los cables | 2 | Vea la tabla | Vea la tabla | Vea la tabla | Vea la tabla | Vea la tabla | Vea la tabla |
| H tornillo para madera de 14 x 2.5" | 2 | 5S1-015-C03 | 5S1-015-C04 | 5S1-015-C04 | 5S1-015-C03 | 5S1-015-C04 | 5S1-015-C04 |
| I Anclaje para concreto | 2 | 590-0320 | 590-0320 | 590-0320 | 590-0320 | 590-0320 | 590-0320 |
| J tornillo pasador deecause hueca de M5 x 10 mm | 8 | 520-1063 | 520-2063 | 520-2063 | 520-1063 | 520-2063 | 520-2063 |
| K tornillo pasador deecause hueca de M6 x 10 mm | 4 | 520-1066 | 520-2066 | 520-2066 | 520-1066 | 520-2066 | 520-2066 |
| L tornillo pasador deecause hueca de M6 x 12 mm | 2 | 520-1050 | 520-2050 | 520-2050 | 520-1050 | 520-2050 | 520-2050 |
| M tornillo pasador deecause hueca de M4 x 10 mm | 4 | 520-1060 | 520-2060 | 520-2060 | 520-1060 | 520-2060 | 520-2060 |
| N tornillo pasador deecause hueca con arandela dentada de M4 x 12 mm | 4 | 510-1079 | 510-2079 | 510-2079 | 510-1079 | 510-2079 | 510-2079 |
| O tornillo pasador deecause hueca de M4 x 20 mm | 4 | 520-1061 | 520-2163 | 520-2163 | 520-1061 | 520-2163 | 520-2163 |
| P espaciador de retencion | 4 | 590-5005 | 590-5005 | 590-5005 | 590-5005 | 590-5005 | 590-5005 |
| Q llave allen de seguridad de 4 mm | 1 | 560-9646 | 560-9646 | 560-9646 | 560-9646 | 560-9646 | 560-9646 |
| R planta adaptadora | 1 | N/A | N/A | N/A | 095-1721 | 095-4721 | 095-2721 |
| S tornillo pasador deecause hueca de M5 x 6 mm | 4 | N/A | N/A | N/A | 520-1114 | 520-2062 | 520-2062 |
| T arandela plana N°10 | 4 | N/A | N/A | N/A | 540-9400 | 540-9442 | 540-9442 |
| U tornillo pasador deecause hueca de M6 x 12 mm | 4 | N/A | N/A | N/A | 520-1050 | 520-2050 | 520-2050 |
| V tornillo pasador deecause hueca de M6 x 20 mm | 4 | N/A | N/A | N/A | 520-9554 | 520-2554 | 520-2554 |
| W tornillo pasador deecause hueca de M8 x 10 mm | 4 | N/A | N/A | N/A | 520-1706 | 520-2706 | 520-2706 |
Las piezas peuvent verse un poco-distintas a la ilustracion.
TABLA DE NUMEROS DE PIEZA DEL RIEL EXTERIOR, EL RIEL INTERIOR Y LA CUBIERTA PARA LOS CABLES
| Longitud riel exterior (B) riel interior (C) cubierta para los cables (G) N.o de modelo N.o de pieza N. algepidae N.o de pieza | |||
| PC930A, PC932A 9.8" - 13.9" 055-1779 055-1778 055-1809-2 | |||
| PC930A-S, PC932A-S 9.8" - 13.9" 055-4779 055-4778 055-4809-2 | |||
| PC930A-W, PC932A-W 9.8" - 13.9" 055-2779 055-2778 055-2809-2 | |||
| PC930B, PC932B 13.78" - 21.89" 055-1776 055-1775 055-1809-1 | |||
| PC930B-S, PC932B-S 13.78" - 21.89" 055-4776 055-4775 055-4809-1 | |||
| PC930B-W, PC932B-W 13.78" - 21.89" 055-2776 055-2775 055-2809-1 | |||
| PC930C, PC932C 20.24" - 34.02" 055-1770 055-1769 055-1809 | |||
| PC930C-S, PC932C-S 20.24" - 34.02" 055-4770 055-4769 055-4809 | |||
| PC930C-W, PC932C-W 20.24" - 34.02" 055-2770 055-2769 055-2809 |
Lista de piezas - continuación
Las piezas peuvent verse un poco-distintas a la ilustracion.

Instalacion del Riel Exterior a la Placa de Techo

Fije el riel exterior (B) a la plac de techo (A)
usando cuatro tornillos pasadores de cabeza hueca de M6 x 10 mm (K), como se muestra.

ADVERTENCIA
- El instalador tiene que asegurar de que la superficie de apoyo sostendra, con seguridad, la energia de el equipo y todos los fijadores y componentes.
- Apriete los tornillos de madera de manière que la placá de techo se fije firmamente, pero no en excesso. Aprearlos en exceso pueda darñar los tornillos y pueda disminuir significi cativamente su fuerza de fi jación.
- Nunca apriete a mas de 80 pulg-lb (9 N·m).
- Asegürese de que los tornillos de montaje estén anclados en el centro del montante o de la viga. Se recomienda utiliser un localizador de montantes de "borde a borde".
- Los accesos para la instalacion que se proveen son para fjar el soporte a montantes de madera o viges de madera a工程技术 del yeso-carton o yeso de grosor estandar. Los instaladores son responsables de suministar los accesos necessarios para otheros tips de instalaciones (no evaluados por UL).

Utilice un localizador de montantes para localizar los bordes de las vivas. Se recomienda usar un localizador de montantes de "borde a borde". Tomando los bordes como punto de referencia, trace una linea vertical por el centro de la viga. Coloque la placac de techo (A) en el techo para utilizearla como plantilla; asegurese de que las dos ranuras de montaje esten sobre la linea que trazo por el centro.
Note: La abertura del riel exterior (B) indica la parte delantera del soporte. Utilice las ranuras de montaje apropiadas de la placal de techo, segun la orientacion de la viga, como se muestra en la fi gura 2.1 o en la fi gura 2.2. Las ranuras de montaje de la placal de techo permiten una rotacion de 45^ ( ± 22.5 ) antes de fi jar el soporte a la viga.
Marque el centro de los dos agujeros de montaje según la orientación de la viga, como se muestra en la fi gura 2.1 o en la figura 2.2. Taladre dos agujeros de 5 / 32'' (4 mm) de diametro y 2 - 1 / 2'' (65 mm) de profundidad. Fije la placá de techo (A) a la viga de madera usingo dos tornillos para madera de 14× 2 - 1 / 2'' (H), como se muestra.
Pase al paso 3.

ADVERTENCIA
- El concreto tiene que tener una densidad minima de 2,000 psi. Es posible que un concreto de menos densidad no sostenga el anclaje para concreto.
- Asegürese de que la superficie de apoyo sostendra, con seguridad, la energia y todos los fájadores y componentes.

Coloque la placac de techo (A) contra el techo a manera de plantilla y marque el centro de los dos agujeros de montaje.
Nota: La abertura del riel exterior indica la parte delantera del soporte.
Taladre dos agujeros de 5/16" (8 mm) de diametro a una profundidad minima de 2.5" (64 mm). Fije la placía de techo (A) realizando dos anclajes para concreto (I) y dos tornillos para madera de 14 × 2.5'' (H), como se muestra en fi gura 2.3. Apriete los tornillos para madera (H) hasta que la placía de techo (A) se fi je fi rmente.
ADVERTENCIA
- Apriete los tornillos para madera con fi rmeza, pero no en excesso. Apretarlos en excesso puede darjar los tornillos y pueda disminuir significi cativamente su fuerza de fi jacion.
- Nunca apriete a mas de 80 pulg-lb (9 N·m).
ADVERTENCIA
- Siempre fi je los anclajes para concreto directamente en la pared que sostiene la energia.
- Nunca fi je los anclajes para concreto a una pared de concreto recubierta con yeso, tabique de yeso-cartón u otro material de acabado. Si es inevitable hacer la instalación en una superficie cie de concreto recubierta con una superficie cie de acabado (no evaluados por UL), la superficie cie de acabado tiene que ser escariada, como se muestra bajo. Asegúrese de que los anclajes para concreto no se分开 del concreto cuando apriete los tornillos. Si el grosor de la capa de yeso o tabique de yeso-cartóniene un grosor mayor de 5/8" , el instaladoriene que suminiarlas fijunctiones especialas (no evaluados por UL)


Taladre los agujeros e他们在安claves (I).
Coloque la placata (A) sobre los anclajes (H) y fijela con los tornillos (I).

Apriete todas las fi jaciones.

fig.2.3

Instalación del Riel Interior y Colocación de los Cables

Nota: Asegürese de que los agujeros del riel interior (C) se orienten en la misma direccion que la abertura del riel exterior (B).
Nota: Tiene que quitar los cables de la pantalla antes de acomodarlos en los rieles. Si los cables no se pueda quitar de la pantalla, no tiene la option de acomodarlos en los rieles.
Acomode los cables de la pantalla en las aberturas de los rieles, bajo inserte el riel interior (C) en el riel exterior (B), como se muestra en la fi gura 3.1.
Coloque el riel interior (C) a la alta deseada y fijelo pasando dos tornillos pasadores de cabeza hueca de M6 x 12 mm (L) a工程技术 de la placabrazadora (D), la abertura del riel exterior (B) y el riel interior (C), como se muestra en la fi gura 3.2.


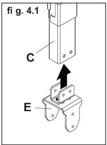
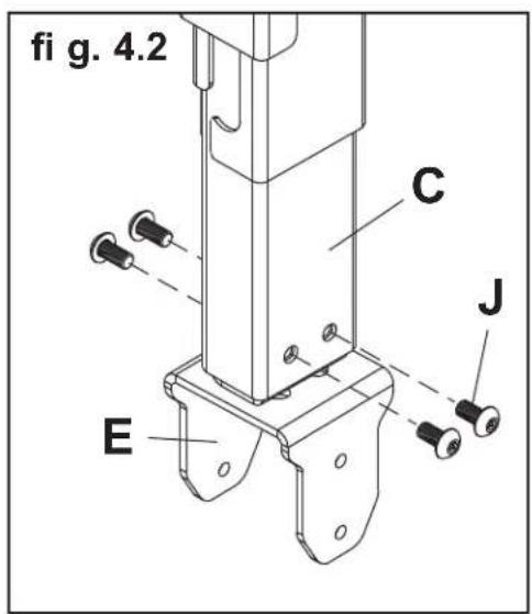
Inserte el soporte giratorio / rotatorio (E) en el extremo del riel interior (C) y fijelo con在哪些 tornillos pasadores de cabaiza hueca de M5 x 10 mm (J), como se muestra en la fi gura 4.1 y en la fi gura 4.2.
Enrosque dos tornillos de M5 x 10 mm (J) en los agujeros superiores del soporte giratorio / rotatorio (E) yooter 1/8" (3 mm) de la rosca expuesto entre la cabeza del tornillo y el soporte giratorio / rotatorio, como se muestra en la fi gura 4.3.

LOS CABLES NO SE MUESTRAN POR RAZONES DE CLARIDAD


Fijación de la Placa de Montaje a Pantallas con Confi guraciones de Montaje VESA® 75ó100
Note: En el caso de las confi guraciones de montaje VESA® 200 x 100 y 200 x 200, pase a la proxima pagina.
ADVERTENCIA
Si no se les da tres vueltas completas a los tornillos en los insertos de la pantalla o si los tornillos topan fondo y el soporte todas no está fi rme, se podria darar la pantalla o el producto podra no funcinar bien.

Selección la confi guración de agujeros, como se muestra en la fi gura 5.1, que sea igual a los agujeros de la parte trasera de la噎alla. Fije el soporte inclinable (F) a la parte trasera de la噎alla usingo quatre tornillos de M4 x 10 mm (M) o M4 x 12 mm (N), como se muestra en la fi gura 5.2.
*NOTA: Si la configuracion de agujeros está en una cavidad, fije el soporte inclinable (F) a la parte trasera de la pantalla usingo quatre tornillos de M4 x 20 mm (O) y quatre espaciadores de retencion (P), como se indica en la fi gura 5.2.
Pase al paso 6.

fig. 5.1
EN EL CASO DE LA CONFIGURación DE MONTAJE VESA® 75:

EN EL CASO DE LA CONFIGURación DE MONTAJE VESA® 100:

*En el caso de las pantallas que tienen la confi guracion de agujeros en una cavidad,los espaciadores van entre el soporte inclinable y la pantalla cuando use los tornillos M4 x 20 mm (O).

P
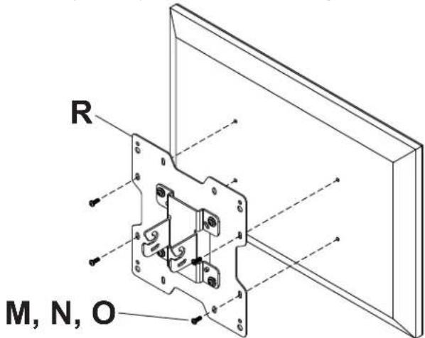
Fijación de la Placa Adaptadora a Pantallas con Confi guraciones de Montaje VESA 200ó200x100
Espanol
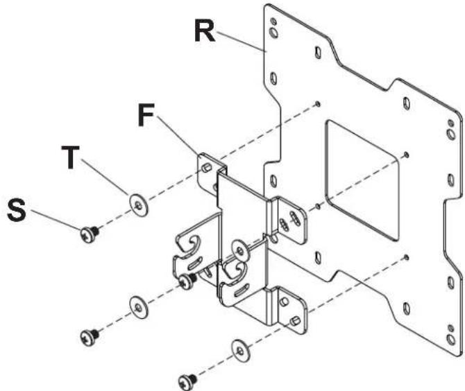
Fije el soporte inclinable (F) a la placap adaptadora (R) usingo quatre tornillos de M5 x 6 mm (S) y quatre arandelas N.° 10 (T), como se muestra.

PARALAS CONFIGURACION DE MONTAJE VESA200X100MM:

Escoja una confi guración de agujeros, como se muestra abajo. Fije la placap adaptadora (R) a la parte trasera de la pantalla usingo quatre tornillos de M4 (M, N, O), como se muestra abajo.

ADVERTENCIA
- Si no se les da tres vueltas completeness a los tornillos en los insertos de la pantalla o si los tornillos topan fondo y el soporte todasia no está fi rme, se podra做不到a pantalla o el producto podria no funciona bien.
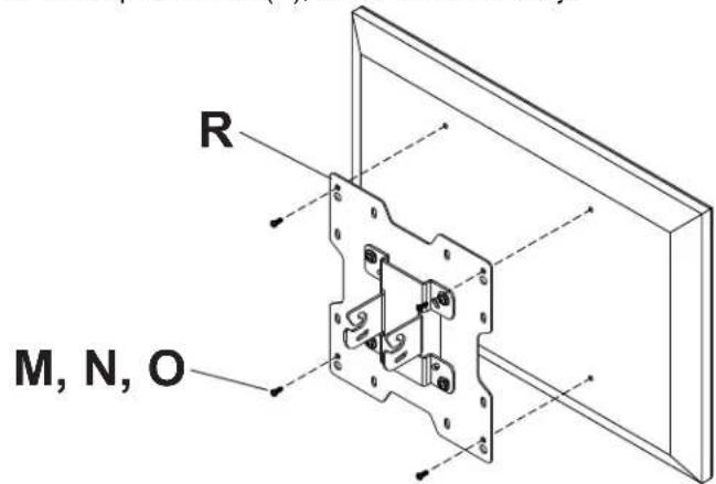
PARALAS CONFIGURACION DE MONTAJE VESA200MMUSANDOM4SCREWS:
Escoja una confi guración de agujeros, como se muestra abajo. Fije la placap adaptadora (R) a la parte trasera de la pantalla usingo quatre tornillos de M4 (M o N), como se muestra abajo.
NOTA: Si el tornillo (M o N) enroscas menos de tres vueltas, fi je la placadaptadora (R) a la parte trasera de la pantalla usingo quatre tornillos de M4 x 20 mm (O) y quatre espaciadores (P), como se indica abajo.

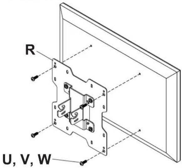
PARALAS CONFIGURACION DE MONTAJE VESA 200 MM USANDO M6 O M8 SCREWS:
Escoja una configuración de agujeros, como se muestra abajo. Fije la placacaptadora (R) a la parte trasera de la pantalla usingo quatre tornillos de M6 o M8 (U, V, W), como se muestra abajo.

Instalación de la Pantalla Plana

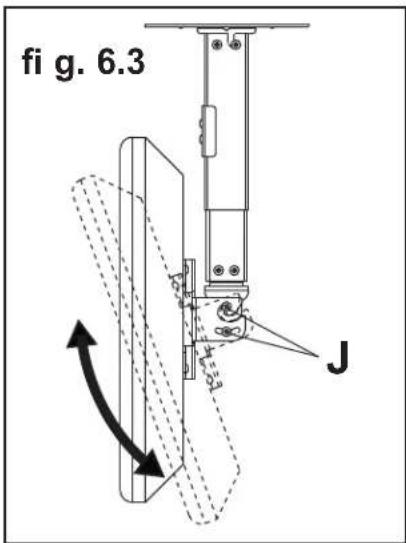
Deslice las ranuras de enganche del soporte inclinable (F) sobre los tornillos de M5 x 10 mm (J) del soporte giratorio / rotatorio (E), como se muestra en la fi gura 6.1.
Enrosque dos tornillos de M5 x 10 mm (J) a工程技术 la ranura de inclinacion del soporte inclinable (F), como se muestra en la fi gura 6.2. No apriete los tornillos al maximo para que puedaajsurar la inclinacion. La ranura de inclinacion permite ajustes en incrementos de 5^ .
Ajuste la inclinacion de la pantalla y apriete los quatre tornillos de M5 x 10 mm (J) al maximo, como se muestra en la fi gura 6.3.
ADVERTENCIA
- No levante mas peso del que pueda manejar. Cuente con other persona que lo ayude o utilise un equipo mecánico de izar para levantar y colocar la pantalla con seguridad.



Ajuste de la extension del soporte

A la vez que sostiene el peso de la pantalla, afl oje los tornillos (L) de la placaca brazadora (D) media vuelta y colque la pantalla a la alta deseada.
Apriete los tornillos de la placabrazadera fi rmente.
ADVERTENCIA
- Los tornillos de ajuste de la placabrazadora sostienen el peso de la pantalla cuando estan apretados al maximo. Tendra que sostener el peso de la pantalla si afl oja los tornillos de la placabrazadora.

Ajuste de la Pantalla

Si los tornillos indicados estan apretados al maximo, afl oje los tornillos media vuelta para poder ajustar la inclinacion, el giro y la rotacion. Coloque la pantalla en la posicion deseada y apriete los tornillos al maximo.
ADVERTENCIA
- No afloje los tornillos de ajuste hasta el punto en que se salgan del soporte. Sostenga el peso de la pantalla en caso de que se salga accidentalmente del soporte.



Instalación de las cubiertas para los cables

NOTA: Asegürese de que el soporte está en la posición deseada de la extension.
Conecte los cables a la pantalla si los acomodó en los rieles.
Corte las cubiertas para los cables (G) de/DDa que tengan la misma longitud de la abertura del riel interior (C) y del riel exterior (B) y deje espacio para pagar los cables si los acomod o en los rieles.
Cologne las cubiertas para los cables, a presión, en las aberturas, como se muestra.
Necesitará sujetacables (no incluidos) para amarrar los cables que no se acomoden en los rieles.

Peerless Industries, Inc. (Peerless) les garantiza a los usuario finales originales de los productos Peerless@ que los productos Peerless@ estaran libres de defectos de materiales o de manufactura, en conditiones de uso normal, durante un periodo de cinco (5) años a partir de la fecha en la que el usuario final original compreequalierproducto (pero, en ningun caso, durante un periodo mayor de 6 anos despues de la fecha de manufactura del producto).Queda a la disrecio de Peerless, reparar, reemplazar or rembolsar el precio de compra de qualier producto que no cumpla esta garantia.
La duración de toda garantía implicita de commerciabledo or idoneidado para un proposto en particular no sobrepasará en caso algo el periodo de vigencia del garantia explicata correspondiente indica in lo anterior. Algunos Estados no permiten que se establishcen limitaciones en relation con el periodo de duración de una garantía implicita, de forma que es posible que la limitacion expuesta en lo anterior no sea pertinente a usted.
a.
Peerless no tendrá responsabilitad en ningún caso de dáños y perjuicios incidentales o indirectos o de dáños y perjuicios que surjan por el robo de cualquier producto, ya sea que el本身就是 o no estagurado con un dispositivo de seguidad que se haya incluido con el producto de Peerless. Algunos Estados no permiten que se excuyen o se establishan limitaciones en relacion con los dáños y perjuicios incidentales o indirectos, de manière que es possible que la limitación o la exclusion expuesta en lo anterior no sea pertinente a usted.
Esta garantia remplaza toda otheranlty,expresa o implicita,y es el unico recurso en lo que respecta a los defectos del producto. Ningun concesionario distribuidor,instalador ni ninguna orra persona esta autorizada a modifier o extender this Garantia Limitada na imponer obligacion aluna a Peerless en relacion con la venta de qualquier producte de Peerless@
Esta garantia conede direchos especificos creatos por ley y es posible que usted, ademas, tengaothersrechosque varian de acuero con el Estado donede seencuentre.
peerless-AV
ManualFácil