HKL65313FB - Bandeja para hornear AEG-ELECTROLUX - Manual de uso y guía de instrucciones gratis

Encuentra gratis el manual del aparato HKL65313FB AEG-ELECTROLUX en formato PDF.

📄 56 páginas Español ES 💬 Pregunta IA 10 preguntas ⚙️ Especif.
Notice AEG-ELECTROLUX HKL65313FB - page 28
Ver el manual : Français FR Español ES
Tipo de producto Placa de cocción por inducción
Características técnicas principales 4 zonas de cocción, tecnología de inducción, controles táctiles
Alimentación eléctrica 230 V, 50 Hz
Dimensiones aproximadas 60 cm x 51 cm (L x P)
Peso 10 kg
Compatibilidades Compatible con utensilios de cocina de hierro, acero inoxidable y fundición
Funciones principales Boost, temporizador, detección automática de utensilios
Mantenimiento y limpieza Superficie de vitrocerámica, limpieza fácil con un paño húmedo
Piezas de repuesto y reparabilidad Disponibilidad de piezas de repuesto a través de distribuidores autorizados
Seguridad Bloqueo de seguridad, apagado automático, indicador de calor residual
Información general útil Instalación empotrable, garantía de 2 años

Preguntas frecuentes - HKL65313FB AEG-ELECTROLUX

¿Qué tipo de alimentación eléctrica necesita la placa de cocción AEG-ELECTROLUX HKL65313FB?
La placa de cocción AEG-ELECTROLUX HKL65313FB necesita una alimentación eléctrica de 230 V.
¿Cómo limpiar la superficie de vitrocerámica de la placa de cocción?
Utilice un limpiador para vitrocerámica y un paño suave. Evite las esponjas abrasivas que podrían rayar la superficie.
¿Qué hacer si la placa de cocción no se enciende?
Verifique que la placa esté correctamente conectada y que el disyuntor no se haya disparado. Si el problema persiste, contacte al servicio de atención al cliente.
¿Cómo ajustar la potencia de cocción en la placa?
Utilice los controles táctiles situados en el panel de control para ajustar la potencia de cocción según sus necesidades.
La placa de cocción emite un pitido, ¿qué significa eso?
Un pitido puede indicar que la placa está sobrecalentada o que hay un problema con la zona de cocción. Verifique el estado de la placa y apágala si es necesario.
¿Puedo usar ollas de metal en la placa de cocción?
Sí, puede usar ollas de metal, pero asegúrese de que sean adecuadas para placas de inducción si su modelo está equipado con ellas.
¿Cómo activar la función de seguridad para niños?
Para activar la función de seguridad para niños, mantenga presionados simultáneamente los botones de bloqueo durante unos segundos hasta que el símbolo aparezca en la pantalla.
¿Cómo saber si una zona de cocción aún está caliente?
Un indicador de calor residual se enciende en el panel de control para señalar que la zona de cocción aún está caliente.
¿Qué hacer si una zona de cocción no calienta?
Verifique que la olla sea compatible y esté correctamente posicionada en la zona de cocción. Si el problema persiste, contacte al servicio de atención al cliente.
¿Cómo reiniciar la placa de cocción?
Desconecte la placa de cocción durante unos minutos, luego vuelva a conectarla para reiniciar el sistema.

Questions des utilisateurs sur HKL65313FB AEG-ELECTROLUX

0 question sur cet appareil. Repondez a celles que vous connaissez ou posez la votre.

Poser une nouvelle question sur cet appareil

L'email reste privé : il sert seulement à vous prévenir si quelqu'un répond à votre question.

Aucune question pour l'instant. Soyez le premier à en poser une.

Descarga las instrucciones para tu Bandeja para hornear en formato PDF gratis! Encuentra tus instrucciones HKL65313FB - AEG-ELECTROLUX y toma tu dispositivo electrónico nuevamente en la mano. En esta página están publicados todos los documentos necesarios para el uso de su dispositivo. HKL65313FB de la marca AEG-ELECTROLUX.

MANUAL DE USUARIO HKL65313FB AEG-ELECTROLUX

PARA OBTENER RESULTADOS PERFECTOS

Gracias por escoger este producto AEG. Este articulo ha sido創造ado para encontrar un rendimiento impeccable durante many años, con innovadoras technologías que facilitarán su vida y prestaciones que probablemente no工程技术 en electrodométricos corrientes. Por favor, dedique algunos Minutes a la lecture para disfrutar de todas sus ventajas.

Consulte en{nuestro sitio web:

AEG-ELECTROLUX HKL65313FB - PARA OBTENER RESULTADOS PERFECTOS - 1

Obtener consejos, folletos, soluciones a problemas e informacion de service: www.aeg.com/webselfservice

AEG-ELECTROLUX HKL65313FB - PARA OBTENER RESULTADOS PERFECTOS - 2

Registrar su producto para recibir un mejor servicios: www.registeraeg.com

AEG-ELECTROLUX HKL65313FB - PARA OBTENER RESULTADOS PERFECTOS - 3

Adquirir accesorios, articulos de consumo y recambios originales para su aparato: www.aeg.com/shop

ATENCION Y SERVICIO AL CLIENTE

Le recomendamos que utilise recambios originales.

Al contactar con了我的 centro autorizzato de service technique, cerciorese de tener lasuma informacion a mano: Modelo, PNC,Numero de series. La informacion se peut encontrar en la placac de caracteristicas.

Advertencia / Precaución-Informacion sobre seguidad
1 Información general y consejos
Información sobre el medio ambiente

Salvo modificaciones.

1. INFORMACION SOBRE SEGURIDAD

Antes de instalar y utiliser el aparato, lea atentamente las instrucciones realizadas. El fabricante no se hace responsable de lesiones o daños producidos como的结果を una instalación o un uso Incorrectos: Conserve siempre estas instrucciones en lugar seguro y accesible para futuras consultas.

1.1 Seguidad de niños y personas vulnerables

  • Este aparato pueda ser utilisé por niños de 8 años en adelante y personas@cuyascapacidades estén disminuidas siempre que@cuenten con las instrucciones y/o la supervisión sobre uso del aparato de forma segura y comprehender los riesgos.
  • No deje que los niños juguen con el aparato.
  • Mantenga todo el material de embalaje fuera del alcance de los niños y desechelo de forma adecuada.
  • Mantenga a los niños y mascotas alejados del aparato cuando está funciona o se está enfriando. Las piezas accesibles están calientes.
  • Si este aparato tiene unbloqueo de seguridad para niños,debéactivarlo.
  • La limpieza y mantenimiento de usuario del aparato no podrán ser realizados por niños sin supervisión.
  • Los niños de 3 años o menos debenmantenerse alejados de este aparato en todo momento@m润滑as referencia.

1.2 Seguridad general

  • ADVERTENCIA: El aparato y las piezas accesibles se calientan mucho durante el funcionaimiento. Preste mucha atencion para no tocar las resistencias. Esnecessarymantener alejados a los niños de menos de 8 años salvo que estén bajo supervisión continua.
  • No acontece el aparato con un temporizador externo ni con un sistemas de mando a distancia independiente.

  • ADVERTENCIA: Cocinar con-grasa o aceite sin estar presente pueda resultar peligioso, ya que podra occasionarse un incendio.

  • NUNCA intente apagar un fuego con agua; apague el aparato y cubra la llama con una tapa o una manta ignífuga.
  • ATENCION: El proceso de cocciencia debe ser supervisado. Un proceso de cocciencia breve debe estan permanente supervisado.
  • ADVERTENCIA: Peligro de incendio: No utilise las superficies de cocción para almacenar alimentos.
  • No deje objetos metálicos, como cucillos, tenedores, cucchas o tapas sobre la superficie de coccción para evaporar que se calienten.
  • No utilise un limpiador a vapor para limpiar el aparato.
  • Tras el uso, apague la zona de coccción con el mando y no preste atencion al detector de時間.
  • Si la superficie de vitrocerámica/cristal está agrietada, apague el aparato para estar el riesgo de descarga electrica.
  • Si el cable来电lectrico sufre algo ndo, el fabricante, su serviceo的技术ico autorizo o un profesional tendran que cambiarlo para Severity riesgos.
  • ADVERTENCIA: Utilice exclusivamente protecciones para la plac de coccción diseñadas por el fabricante del aparato o indicadas en sus instrucciones de uso como apropriadas, o bien las protecciones incluidas con el aparato. El uso de protectores inadequados pueda provocar accidentes.

2. INSTRUCCIONES DE SEGURIDAD

2.1 Instalación

AEG-ELECTROLUX HKL65313FB - Instalación - 1

ADVERTENCIA!

Solo un electricista
cualificado pode instalar
este aparato.

  • Retire todo el embalaje.

  • No instale ni utilise un aparato dañado.

  • Siga las instrucciones de instalación suministradas con el aparato.
  • Respete sempre la distancia minima entre el aparato y los demas electrodomesticos y mobiliario.

  • Tenga cuidado al mover el aparato, porque es pesado. Utilice siempre guantes de proteccion y calzado cerrado.
    Proteja las superficies cortadas con un material sellante para evaporar que la humedad las hinche.
    Proteja la parte inferior del aparato del vapor y la humedad.

  • No instale el aparato+junto a una puerta ni bajo de una ventana. De esta forma se evita que los utensilios de cocina calientes caigan del aparato cuando la puerta o la ventana estén abiertas.
  • Cuando instale el aparato encima de cajones, asegúrese de que hay suficiente空間 entre la parte inferior del aparato y el cajón superior para que circule el aire.
  • La base del aparato se pueda calentar. Asegúrese de colocar un panel de separación incombustible bajo el aparato paraantar acceder a la base.
  • Deje un espacio de ventilación de 2 mm entre la encimera y el frente de launidad situada bajo ella. La garantía no cubre los días causados por la falta de una ventilación adecuada.

Riesgo de incendios y descargas electricas.

  • Todas las conexiones electricas deben realizarlas electricistas@cualificados.
  • El aparato debe connectarse a tierra.
  • Antes de efectuar cualquier tipo de operación, compruebe que el aparato está desenchufado de la corriente electrica.
  • Asegúrese de que las espécificaciones electricas de la placado coincidan con las del suministro electrico de su hogar. En caso contrario, pángase en contacto con un electricista.
  • Asegürese de que el aparato está instalado correctamente. Un cable de red o enchufe (en su caso) flojo o inadequado puede provocar que el terminal se caliente en excesso.

  • Utilice el cable de red electrica adequado.

  • Coloque los cables electricos de forma que no se pueda enredar.
  • Asegürese de que hay instalada una proteccion contra descargas electricas.
  • Establerzca la descarga de tracción del cable.
  • Asegürese de que el cable o el enchufe (en su caso) no toquen el aparato caliente ni utensilios de comida calientes cuando conecte el aparato a las manos cercanas.
  • No utilise adaptadores de enchufes multiples ni cables prolongadores.
  • Asegürese de no provocar daños en el enchufe (en su caso) ni en el cable de red. Póngase en contacto con un electricista o con了我的oftecimiento para Cambiar un cable dañado.
  • Los mecanismos de proteccion contra descargas eletricas de componentes con corriente y aislados deben fjarse de forma que no pueda aflojarse sin utiliser herramrientas.
  • Conecte el enchufe a la toma de corriente únicamente cuando haya terminado la instalación. Asegúrese de tener acceso al enchufe del suministro de red una vez finalizada la instalación.
  • Si la toma de corriente está floja, no conecte el enchufe.
  • No desconecte el aparato tirando del cable de connexion a la red. Tire siempre del enchufe.
  • Use únicamente dispositivos de aislamiento apropriados: linea con protección contra los cortocircuitos, fusibles (como tornado que能把 retiringse del soporte), dispositivos de fuga a tierra y contactores.
  • La instalación electrica debe tener un dispositivo de aislamento que permita desconectar el aparato de todos los polos de la red. El dispositivo de aislamento debe tener una aperture de contacto con una anchura minima de 3 mm.

2.3 Uso del aparato

AEG-ELECTROLUX HKL65313FB - Uso del aparato - 1

ADVERTENCIA!

Riesgo de lesiones,
quemaduras y descargas
eléctricas.

  • Retire todo el embalaje, las etiquetas y la película protectora (en su caso) antes del primer uso.
  • Utilice este aparato en entornos domesticos.
  • No cambie las espécificaciones de este aparato.
  • Cercórese de que los orificios de ventilación no está obstruidos.
  • No(bejuncelaparatedesatendido,mñtras está enfunciarniento.
  • Apane las zonas de coccción cuando secrete de cada uso.
  • No se confie por el detector de時間.
  • No coloque cubiertos ni tapaderas sobre las zonas de coccción. Pueden alcanzar temperatas elevadas.
  • No utilise el aparato con las manos mojadas ni cuando entre en contacto con el agua.
  • No utilise el aparato como superficie de trabajo ni de almacenimiento.
  • Si la superficie del aparato está agrietada, desconectelo inmediamente de la fuente de alimentación. De esta forma evitará descarqas electricas.
  • Los)."Los)."Los)"Los"los" que tengan marcapasos implantados deben tener una distancia minima de 30 cm de las zonas de cocccion por induccion cuando el aparato este en.."funcionamento.
  • Cuando se coloca comida en aceite caliente, está你能katr.

AEG-ELECTROLUX HKL65313FB - ADVERTENCIA! - 1

ADVERTENCIA!

Riesgo de incendio y explosiones

  • Las grasas o aceites calientes你能 tener vapores inflamables. Mantenga las llamas u objetivos calientes alejados de grasas y aceites cuando cocine con ellos.
  • Los vapeores que liberan los aceites muy calientes peuvent provocar combustiones imprevistas.

  • El aceite uso, que pueda contener restos de alimentos, puede provocar incendios a temperatas más bajo que el aceite que se utilizes por primera vez.

  • No coloque productos inflamables ni objetivos mojados con productos inflamables dentro, cerca o encima del aparato.

AEG-ELECTROLUX HKL65313FB - ADVERTENCIA! - 1

ADVERTENCIA!

Podría dañar el aparato.

  • No coloque ningún utensilio de cocina caliente en el panel de control.
  • No coloque una tapa caliente sobre la superficie de cristal de la placà de coccción.
  • Nocede que el contenido de los utensilios de cocina hierva hasta evaporarse.
  • Evite la caía de objetos 或 utensilios de cocina en el aparato. La superficie pueda dañarse.
  • No encienda las zonas de coccción sin utensilios de comida o conolestos vacios.
  • No coloque papel de aluminio sobre el aparato.
  • Los utensilios de cocina de hierro o aluminio fundido, o que tengan la base dañada, poder arañar el cristal o la vitrocerámica. Levante siempre这些东西 cuandoonga que moverlos sobre la superficie de cocción.
  • Este aparato está Diseñado exclusivamente para cocinar. No debe utilizesse para otros fines, por典型案例, como calefaction.

2.4 Mantenimiento y limpieza

  • Limpie periodicamente el aparato para evaporar el deterioro del material de la superficie.
  • Apage el aparato y déjelo enfiar antes de limpiarlo.
  • Desconecte el aparato de la red electrica antes de realizar el mantenimiento.
  • No实用性 pulverizadores ni vapor de agua para limpar el aparato.
  • Limpie el aparato con un paño suave humedecido. Utilice solo detergentes neutros. No实用性 products

abrasivos, estropajosuros, disolventen ni objetos metálicos.

2.5 Eliminación

AEG-ELECTROLUX HKL65313FB - Eliminación - 1

ADVERTENCIA!

Existe riesgo de lesiones o asfixia.

  • Póngase en contacto con las autoridades locales para saber como desearcharcorrectamente el aparato.

  • Desconecte el aparato de la red.

  • Corte el cable electrico cerca del aparato y desechelo.

2.6 Asistencia

  • Para reparar el aparato,pongase en contacto con un centro de servicios autorizzato.
  • Utilice solamente piezas de recambio originales.

3. DESCRIPICION DEL PRODUCTO

3.1 Disposition de las zonas de cocclusion

AEG-ELECTROLUX HKL65313FB - Disposition de las zonas de cocclusion - 1

1 Zona de cocclusion por induccion
2 Panel de control
3 Área de coccción por inducción flexible formada por quatreSections

3.2 Disposión del panel de control

AEG-ELECTROLUX HKL65313FB - Disposión del panel de control - 1

Utilice el aparato con los sensores. Las pantallas,indicadores y senales acusticas indican que functions estan en functiomento.

SensorFunciónComentario
1ENCENDIDO/APAGADOParaactivar ydesactivar la plac.
2Cierre / Bloqueo de se-guridad para niñosParabloquear ydesbloquear el panel de control.
3PowerSlideParaactivar ydesactivar la funciona .
SensorFunciónComentario
4FlexiBridgePara &,!, o, o, o, o, o, o, o, o, o, o, o, o, o, o, o, o, o, o, o, o, o, o, o, o, o, o, o, o, o, o, o, o, o, o, o, o, o, o, o, o, o, o, o, o, o, o, o, o, o, o, o Cación.
5-Indicador del nivel de cal- orPara &,!, o, o, o, o, o, o, o, o, o, o, o, o, o, o, o, o, o, o, o, o, o, o, o, o, o, o, o, o, o, o, o, o, o, o, o, o, o, o, o, o, o, o, o, o, o, o, o, o Ha, Ha, Ha, Ha, Ha, Ha, Ha, Ha, Ha, Ha, Ha, Ha, Ha, Ha, Ha, Ha, Ha, Ha, Ha, Ha, Ha, Ha, Ha, Ha, Ha, Ha, Ha, Ha, Ha, Ha, Ha, Ha, Ha, Ha -Para &,!, o, o, o, o, o, o, o, o, o, o, o, o, o, o, o, o, o, o, o, o, o, o, o, o, o, o, o, o, o, o, o, o, o, o, o, o, o, o, o, o, o, o, o, o, o, o, o, o, Muestra la zona para la que se ha ajustado la hora. Para &,!, o, o, o, o, o, o, o, o, o, o, o, o, o, o, o, o, o, o, o, o, o, o, o, o, o, o, o, o, o, o, o, o, o, o, o, o, o, o, o, o, o, o, o, o, o, o, o, o, O, Hob?, HoodPara &,!, o, o, o, o, o, o, o, o, o, o, o, o, o, o, o, o, o, o, o, o, o, o, o, o, o, o, o, o, o, o, o, o, o, o, o, o, o, o, o, o, o, o, o, o, o, o, o, o
6-Indicadores de tiempo de las zonas de coccciónMuestra la zona para la que se ha ajustado la hora.
7-Indicador del temporiza- dorPara &,!, o, o, o, o, o, o, o, o, o, o, o, o, o, o, o, o, o, o, o, o, o, o, o, o, o, o, o, o, o, o, o, o, o, o, o, o, o, o, o, o, o, o, o, o, o, o, o, O
8Hob?, HoodPara &,!, o, o, o, o, o, o, o, o, o, o, o, o, o, o, o, o, o, o, o, o, o, o, o, o, o, o, o, o, o, o, o, o, o, o, o, o, o, o, o, o, o, o, o, o, o, o, o, o ,
9PLa funciona PowerPara &,!, o, o, o, o, o, o, o, o, o, o, o, o, o, o, o, o, o, o, o, o, o, o, o, o, o, o, o, o, o, o, o, o, o, o, o, o, o, o, o, o, o, o, o, o, o, o, o, o , Hood
10-Barra de controlPara &,!, o, o, o, o, o, o, o, o, o, o, o, o, o, o, o, o, o, o, o, o, o, o, o, o, o, o, o, o, o, o, o, o, o, o, o, o, o, o, o, o, o, o, o, o, o, o, o, o,\( \underline{\underline{}} \)
11-Para selecciónar una zona de coccción.
12+ / --Para ), a,b,c,d,e,f,g,h,i,j,k,l,m,n,o,r,s,t,u,v
13-Barra de controlPara &,!, o, o, o, o, o, o, o, o, o, o, o, o, o, o, o, o, o, o, o, o, o, o, o, o, o, o, o, o, o, o, o, o, o, o, o, o, o, o, o, o, o, o, o, Hood

3.3 Indicación de la temperatura en pantalla

PantallaDescripción
0La zona de coccción está apagada.
1 - 44La zona de coccción está en funciona;.
8Calentimiento automatico está funciona.
PLa función Power está en funciona.
E + númeroHay un fallo de funciona;.
3 / 2 / 0OptiHeat Control (indicador de calor residual de 3 pasos): seguir co-cinando /mantener caliente / calor residual.
LLa funciona Cierre / Bloqueo de seguridad para niños está funciona;.
FEl recipientte es inadeado o demasiadoklepto, o no se ha colocado ningún recipiente sobre la zona de coccción.
-Apagado automatístico está funciona;.
I_ / I- / I-PowerSlide está funciona.

3.4 OptiHeat Control (indicador de calor residual de 3 pasos)

AEG-ELECTROLUX HKL65313FB - OptiHeat Control (indicador de calor residual de 3 pasos) - 1

ADVERTENCIA!

/ Riesgo de qumaduras por calor residual. El indicator muestra el nivel de calor residual.

Las zonas de cocción por inducción generan el calor necesario para el proceso de cocción directamente en la base del recipienté, lo que hace que la superficie vitrocerámica se caliente por el calor del本身就是.

4. USO DIARIO

AEG-ELECTROLUX HKL65313FB - USO DIARIO - 1

ADVERTENCIA!

Consulte los capítulos sobre seguidad.

4.1 Activación y desactivación

Toque ① durante 1 segundo para encender o apagar el la placá de coccción.

4.2 Apagado automatico

La funciona desconecta automatistically la plac de cocciencia siempre que:

  • todas las zonas de coccción está apagadas,
  • no se ajusta un niveau de calor cuando de encender la plac,
  • se vierte algo o se coloca某个 objerto sobre el panel de control durante más de 10segundos (un recipiente, un trapo, etc.). Se emite una señal acústica y la placá de coccción se apaga. Retire el objerto o limpie el panel de control.
  • la placá está demasiado caliente (por exemple, el contenido de un recipientie ha hervido hasta agotarse el liquido). Deje que la zona de coccción se enfríe antes de utilizar la placá de nuevo.
  • estáutilizando utensiliosdecocina no inadequados.Se ilumina elsimpolo

y la zona de coccción se apaga automatistically après de 2关键时刻.

  • no apaga una zona de coccción ni cambía la temperatura. Al cabo de un cierto tiempo, se enciende y se apaga la placá.

Relación entre el ajuste de calor y el tiempo tras el que se apaga la placado coccción:

Ajuste del nivel de calorLa placá de coc县委 se apaga.
u, 1 - 36 horas
4 - 75 horas
8 - 94 horas
10 - 141,5 hora

4.3 Ajuste de temperatura

Para ajustar o cambiar la temperatura:

Toque la barra de control en el ajuste de temperatura adequado o desplace el dedo a lo largo de la barra de control hasta临港 al ajuste de temperatura adequado.

AEG-ELECTROLUX HKL65313FB - Ajuste de temperatura - 1

4.4 Calentamento automatico

Active esta funciona para alcanzar el ajuste de calor que desea en menos tiempo. Cuando se activa, la zona opera en el ajuste más alto al inizio y después sigue cocinando con el ajuste de calor deseado.

AEG-ELECTROLUX HKL65313FB - Calentamento automatico - 1

Para activar la funciona, la zona de coccción debe estar fría.

Para activar la funciona de una zona de cocccion: toque P (P se enciende). Toque inmediamente el ajuste de calor que dese. Transcurridos 3 segundos, R se enciende.

Para desactivar la funciona: cambie el ajuste de calor.

4.5 La funciona Power

Esta funciona suministra potencia adicional a las zonas de coccción por induccion. La funciona se pueda activar para la zona de coccción por induccion durante un periodo de tiempo limitado. Transcurrido ese tiempo, la zona de coccción adopts automatistically el nivel de temperatura más alto.

AEG-ELECTROLUX HKL65313FB - La funciona Power - 1

Consulte el capitulo "Información técnica".

Para activar la funciona de una zona de cocccion: toque P. Se enciende .

Para desactivar la funciona: cambie el ajuste de calor.

4.6 La funciona Power con una zona de coccción de doble anillo

La funciona del anillo interior se activa
cuando la placà de cocción detecta que
el diametro del utensilio de cucina es

inferior al del anillo. La funciona del anillo exterior se activa cuando la placá de coccción detecta que el diametro del utensilio de cucina es mayor al del anillo.

4.7 Temporizador

Temporizador

Puede utiliser esta funciona paraaabrear el tiempo que deseee que funciona la zona de cocccion para un unico過程 de cocccion.

Ajuste primero temperatura para la zona de coccción y después la funciona.

Para seleccionar la zona de cocciudad:

toque ① varias vezes hasta que se encienda elindicador de la zona de cocccion que desea.

Para activar la funciona: toque la parte del temporizador para programar el tiempo (00 - 99 horas). La cuenta atrás comenzará cuando el indicator de la zona de coccción parpadee más tardamente.

Para comprobar el tiempo restante:

selección la zona de cocción con El indicator de la zona de cocción comienza a parpadear rápidamente. La pantalla muestra el tiempo restante.

Para modifier el tiempo: selección la zona de coccción con ①. Toque +o-

Para desactivar la función: selección la zona de coccción con y toque —. El tiempo restanteonga atras hasta 00. El indicator de la zona de coccción se apaga.

AEG-ELECTROLUX HKL65313FB - Para comprobar el tiempo restante: - 1

Cuando ha transcurrido el tiempo, se activa la seals acústica y 00 parpadea. Se apaga la zona de coccción.

Para detener la postal acústica: toque ①.

CountUp Timer (Tiempo de coccción)

Puede utiliser esta funciona para supervasar la duración de funciona de la zona de coccción.

Para seleccionar la zona de cocciencia:

toque ① varias vezes hasta que se

encienda el indicator de la zona de coccción que desea.

Para activar la funciona:toque del temporizador; se enciende. La cuenta de cronómetro comienza cuando el indicator de la zona de cocción parpadea más lentamente. La pantalla alternata entre y el tiempo transcurrido (minutos).

Para ver el tiempo de funciona bajo la zona de coccción: selección la zona de coccción con El indicator de la zona de coccción comienza a parpadear rápidamente. La pantalla muestra cuando tiempo ha estado funcionalo la zona.

Para desactivar la referencia: seleccione la zona de cocción con ① y toque +o—. El indicator de la zona de cocción se apaga.

Avisador tiempo

Puede utiliser esta funciona como Avisador cuando la placca estáactivada y las zonas de cocccion no funciona. Lapellalla de temperatura muestra 0

Paraactivar lafunciion:toque ①

Toque +o del temporizador para ajustar el tiempo. Cuando ha transcurrido el tiempo, se activa la Alertsa acústica y 00 parpadea.

Para detener la postal acústica: toque ①.

AEG-ELECTROLUX HKL65313FB - Avisador tiempo - 1

La funciona no afecta al funciona de las zonas de cocción.

4.8 Cierre

Se pueda bloquear el panel de control,mientras funciona las zonas de cocccion. Evita el cambio accidental del nivel de calor.

Ajuste en primer lugar el nivel de calor que desee.

Para activar la funciona: toque L se enciende durante 4 segundos. El temporizador se mantiene activo.

Para desactivar la funciona: toque. Se enciende el ajuste de calor anterior.

AEG-ELECTROLUX HKL65313FB - Cierre - 1

La funciona también se desactiva cuando se apaga la plac.

4.9 Bloqueo de seguridad para niños

Estamericano inebidido de la plac.

Para activar la funciona: encienda la placá de coccción con ①. No ajuste los niveles de calor. Pulse durante 4 seguidos. se enciende. Apague la placá de coccción con ①.

Para desactivar la funciona: encienda la placac de cocci on ①. No ajuste los niveles de calor.Toque duarte 4 segundos. se enciende.Apague la placac de cocci on ①.

Para anular la funciona solo durante el tiempo de coccción: encienda la placá de coccción con ①. L se enciende. Toque durante 4segundos. Ajuste la temperatura antes de que transcurran 10segundos. Ya puedaponer en marcha el aparato. Cuando apague la placá de coccción con ①,la funciona vuelve aactivarse.

4.10 OffSound Control (Activación y desactivación de los sonidos)

Apache la plac de coccion.Toque 1
durante 3 segundos.La pantalla se
enciende y se apaga.Toque durante
3 segundos.0 se encienden.
Toque + en el temporizador para
seccionar una de las siguientes
opciones:

  • el sonido se desactiva
  • el sonido se activa

Para confirmar su selección, espere hasta que la placá de coccción se desactive automatistically.

Cuando esta funciona se ajusta en b solo se oye el sonido cuando:

se toca ①
- El Avisador tiempo bajo
- El Temporizador baja
- se colocar algo en el panel de control.

4.11 Función Gestión de energia

Las zonas de cocción se agrupan según la ubicación y el número de fases de la placà. Consulte la ilustración.
- Cada fase Tiene una energia electrifica maximal de 3700 W.
- La funciona dividie la potencia entre las zonas de cocción connectadas a la mismarase.
- La funciona se activa cuando la energia electrica total de las zonas de cocccion conectadas a la misma fase supera los 3700 W.
- La funciona reduce la potencia de las otheras zonas de cocccion connectadas a la mesma fringe.
- La pantalla de ajuste de calor para las zonas reduidas cambia entre dos niveles.

AEG-ELECTROLUX HKL65313FB - Función Gestión de energia - 1

4.12 Hob²Hood

Es una funciona automática avanzada que conecta la placía de coccción a una campana especial. La placía de coccción y la campana tiene un compañero de señales infrarrojas. La velocidad del ventilador se define automatistically según el ajuste de modo y temperatura del utensilio de comida más caliente en la placía de coccción. también puede operar manualmente el ventilador desdela placáde coccción.

AEG-ELECTROLUX HKL65313FB - Hob²Hood - 1

Para la mayoría de las campanas, el sistemas remoto esta desactivado de origen. Activoo antes de usar la funciona. Para más información, consulte el manual de instrucciones de la campana.

Uso automatico de la funcion

Para usar la funciona automatistically, ajuste el modo automático en H1-H6. La placía de coccción se ajusta originalmente en H5.La campana recciona siempre que utilizes la placía de coccción. La placía de coccción reconoce automatistically la temperatura del utensilio de cucina y ajusta la velocidad del ventilador.

Modos automaticos

Luz automáticaHervir 1)Freir 2)
Modo H0ApagadoApagadoApagado
Modo H1Encendi-doApagadoApagado
Modo H2 3)Encendi-doVeloci-dad del ventilador 1Veloci-dad del ventilador 1
Modo H3Encendi-doApagadoVeloci-dad del ventilador 1
Modo H4Encendi-doVeloci-dad del ventilador 1Veloci-dad del ventilador 1
Modo H5Encendi-doVeloci-dad del ventilador 1Veloci-dad del ventilador 2
Luz automáticaHervir 1)Freír 2)
Modo H6Encendi-doVeloci-dad del ventil-a-dor 2Veloci-dad del ventil-a-dor 3

1) La placá detecta el proceso de ebullición y activa la velocidad del ventilador según el modo automatico.
2) La plac a detecta el proceso de fritura y activa la velocidad del ventilador segun el modo automatico.
3) Este modo activa el ventilador y la luz, y no deponde de la temperatura.

  1. Desactive el aparato.
  2. Toque ① durante 3 segundos. La pantalla se enciende y se apaga
  3. Toque During 3 segundos.
  4. Toque ① varias vezes hasta que se enciya H
  5. Toque + del temporizador para seleccionar un modo automatico.

i Para operar la campana directamente con el panel de la campana, desactive el modo automatico de la funciona.

Cuando termine de cocinar y apague la placac de coccion, la campana peut seguir funcionando un breve periodo de tiempo. Tras ese tiempo, el sistemas desactiva el ventilador automatamente y evita la activacion accidental del ventilador durante los seguides 30segundos.

Ajuste manual de la velocidad del ventilador

Mayuscula inicial también puede usar la funciona manualmente. Paraarlo, toque

mientras la placía está encendida. Así se desactiva el funciona automatico automático de la función y es possible modificar manualmente la velocidad del

ventilador. Al pulsar se incrementa en un nivel la velocidad del ventilador.

Cuando alcance un nivel intensivo y

pulse de nuevo, ajustará la velocidad del ventilador en 0 y lo apagará. Paravoltar a poner en marcha el ventilador

con la velocidad 1, toque

AEG-ELECTROLUX HKL65313FB - Ajuste manual de la velocidad del ventilador - 1

Paraactivarel
funcionamente automatico,
apague la plac de coccion y
vuela a encenderla.

Activación de la luz

Puede hacer que la placá de coccción active automatistically la luz al encender la placá. Paraarlo,ajuste el modo automático en H1-H6.

AEG-ELECTROLUX HKL65313FB - Activación de la luz - 1

La luz de la campana se apaga 2 horas afterwards apagar la placacocicción.

5. ZONA DE COCCION FLEXIBLE DE INDUCCION

AEG-ELECTROLUX HKL65313FB - ZONA DE COCCION FLEXIBLE DE INDUCCION - 1

ADVERTENCIA!

Consulte los capitulos sobreseguidad.

5.1 Función FlexiBridge

El area de cocción por inducción flexible está formada por quatre secciones. Las secciones peuvent combinarse en dos zonas de cocción de時間 diferente o

en un area de coccyon grande. La combinacion de las secciones se elige al escoger el modo aplicable al dato del utensilio de cocina que va a emplear. Existen tres modos: Estandar (activado automatistically al encender la placadoccion),puente Big y puente Max.

AEG-ELECTROLUX HKL65313FB - Función FlexiBridge - 1

Paraaabstarlatemperatura, utiliselas dosbarra dc ocontrol dellado izquierdo.

Cambio entre modelos

Para cambio de modo, utilise el sensor:

AEG-ELECTROLUX HKL65313FB - Cambio entre modelos - 1

AEG-ELECTROLUX HKL65313FB - Cambio entre modelos - 2

Cuando se cambia entremos, el ajuste detemperatura vuede a 0.

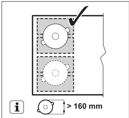
Dimetro y posicion de los utensilios de cocina

Elija el modo correspondiente al taman y forma del utensilio de cocina. El utensilio de cocina debe cubrir lo maximo possible el area seleccionada. Coloque el utensilio de cocina centrado en el area seleccionada.

Cologne los utensilios de cocina con diametro de base inferior a 160 mm centrados en unaunda seccion.

AEG-ELECTROLUX HKL65313FB - Dimetro y posicion de los utensilios de cocina - 1

Cologne los utensilios de cucina con diametro de base superior a 160 mm centrados entre dos secciones.

AEG-ELECTROLUX HKL65313FB - Dimetro y posicion de los utensilios de cocina - 2

5.2 FlexiBridge Modo normal

Este modo se activa al encender la placadococcion. Conecta las secciones endos zonas de coccion separadas.Puedeajustar por seperado la temperatura dedaca zona. Utilice dos barras de controllaterales.

AEG-ELECTROLUX HKL65313FB - FlexiBridge Modo normal - 1

Posicion correcta del utensilio de cucina:

AEG-ELECTROLUX HKL65313FB - FlexiBridge Modo normal - 2

AEG-ELECTROLUX HKL65313FB - FlexiBridge Modo normal - 3
Posicion incorrecta del utensilio de cucina:

5.3 FlexiBridge Modo de puente Big

Para activar el modo, pulse霾poraque aparezca el indicator de modo correspondiente. Este modo conecta las tres secciones traseras en un area de coccion. La seccion delantera no se connecta y funciona como zona de coccion separada. Puede ajustar por separado la temperatura de cada zona. Utilice dos barras de control laterales.

AEG-ELECTROLUX HKL65313FB - FlexiBridge Modo de puente Big - 1

Posicion correcta del utensilio de cucina:

Para utiliser este modo, deben colocar el utensilio de comida en las tres secciones connectadas. Si utilizes un utensilio de comida más(PC)que dos zonas, en

la pantalla aparece y la zona se desactiva tras 2关键时刻.

AEG-ELECTROLUX HKL65313FB - Posicion correcta del utensilio de cucina: - 1

AEG-ELECTROLUX HKL65313FB - Posicion correcta del utensilio de cucina: - 2
Posicion incorrecta del utensilio de cucina:

5.4 FlexiBridge Modo de puente Max

Para activar el modo, pulse霾 hasta que aparezca el indicator de modo correspondiente. Este modo conecta todas las secciones en un area de cocción. Paraaabstar la temperatura, utilise una de las barras de control del lado izquierdo.

AEG-ELECTROLUX HKL65313FB - FlexiBridge Modo de puente Max - 1

Posicion correcta del utensilio de cucina:

Para utiliser este modo,debecolocar el utensilio de cocina en las quatre secciones conectadas. Si utilizes un utensilio de cocina mas微量元素 que treszonas,en la pantalla apareceF y la zona se desactiva tras 2关键时刻.

AEG-ELECTROLUX HKL65313FB - Posicion correcta del utensilio de cucina: - 1

AEG-ELECTROLUX HKL65313FB - Posicion correcta del utensilio de cucina: - 2
Posicion incorrecta del utensilio de cocina:

5.5 Función PowerPoint

Estamericano.
temperatura desplazando el utensilio de cocccion una posiciondistincta del area de cocccion por induccion.

La funciona dividir el area de cocción por inducción en tres areas condietes ajustes de temperatura. La placadeco ciación detectar la posición del utensiliode cocción y ajusta el calor según ella.Puede colocar el utensilio de cucina enla parte delantera,media orasera.Sicoloca el utensilio de cucina en la parte delantera obtiene el calor maximo. Puede reducir el calor desplazando el utensilio de cucina a la posición media ortrasera.

AEG-ELECTROLUX HKL65313FB - Función PowerPoint - 1

Utilice solo un utensilio cuando emplee esta funciona.

AEG-ELECTROLUX HKL65313FB - Función PowerPoint - 2

Información general:

  • El diametro minimo de los utensilios de cocina deben ser 160 mm para esta función.
  • El indicator de calor de la parte trasera izquierda muestra la posicion del utensilio de cocina en el area de induccion. Delante _- , media _- , trasera ^- .

AEG-ELECTROLUX HKL65313FB - Información general: - 1

  • El indicator de calor de la parte delantera izquierda muestra el ajuste de temperatura. Para Cambiar el ajuste de temperatura, utilise la barra de control delantera izquierda.
  • Cuando active la funciona por primera vez, verá el ajuste de calor de la posición frontal 14 , de la posición media y de la posición trasera 3 .

AEG-ELECTROLUX HKL65313FB - Información general: - 2

Puede embarir por分开ar el ajustede temperatura de cada posicón. Laplaca de coccción conservaré el ajuste

de temperatura la proxima vez que active la funciona.

Activación de la funciona

Paraactivar la funciona, coloque el utensilio de coccion en la posicion correspondiente del area de coccion.

Toque. Se enciende elindicador situado encima del symbolo. Si no ha colocado el utensilio de cocina sobre el area de cocción, se ilumina y trabas 2

6. CONSEJOS

AEG-ELECTROLUX HKL65313FB - CONSEJOS - 1

ADVERTENCIA!

Consulte los capitulos sobre seguidad.

6.1 Recipientes

AEG-ELECTROLUX HKL65313FB - Recipientes - 1

En las zonas de cocción por inducción, la presencia de un fuerte camino magnético calienta los utensilios de cucina muy<rapidamente.

AEG-ELECTROLUX HKL65313FB - Recipientes - 2

Utilice las zonas de coczon con los utensilios de cocina adecuados.

Material de los recipientes

  • correcto: hierro fundido, acero, acero esmaltado y acero inoxidable con bases formadas por varias capas (indicados por el fabricante como aptos para induccion).
  • incorrecto: aluminio, cobre, latón, cristal, cerámica, porcelain.

El utensilio de cocina es indicado para cocinar en placá de inducción si:

  • puedaUCTAR en poco tiempo una cantiago de agua en una zona con elajuste de calor maximo.
  • el imán se adhéere a la base del utensilio de cucina.

AEG-ELECTROLUX HKL65313FB - El utensilio de cocina es indicado para cocinar en placá de inducción si: - 1

La impresión en el área
flexible de coccción por
inducción puede ensuciarse
oCambiar de colordeferido al
arrastre de los utensilios de
cocina. Puede limpar el área
de la forma habitual.

minutes, el area de cocción flexible por inducción se ajusta en 0 .

Desactivación de la funciona

Para desactivar la funciona, toque o ajuste la temperatura en. El indicator situado encima del symbolo se apaga.

AEG-ELECTROLUX HKL65313FB - Desactivación de la funciona - 1

La base del utensilio de cucina debe ser lo mas gruesa y plana possible.

Medidas de los utensilios de cocina

Las zonas de cocción por inducción se adaptan automatistically al tamanio de la base de los utensilios de comida, pero hasta un cierto limite.

La eficacia de la zona de cocción está relacionada con el diametro del utensilio de cucina. Un utensilio de cucina con un diametro inferior al minimo solo recibe una parte de la potencia generada por la zona de cocción.

AEG-ELECTROLUX HKL65313FB - Medidas de los utensilios de cocina - 1

Consulte el capitulo "Información技术水平".

6.2 Ruidos durante la realización

Es possible que escuche los ruidos seguides:

  • crujido: el utensilio de comida está fabricado con distinctostipsode materiales (construccion por capas).
  • silbido: usar la zona de coccción a temperatasuras muy altas y con utensilios de cocina cuya base está hecha dekestintos materiales (construccion por capas).
  • zumbido: el nivel de calor正常使用 es alto.
  • chasquido:发展机遇 en el suministro electrico.
  • siseo, zumbido: el ventilador está en funciona bajo.

Los ruidos son normales y no indican fallo algo nuto de la plac de cocccion.

6.3 Öko Timer (Temporizadora ecologico)

Con el fin de ahorrar energia, la resistencia de la zona de coccción se apaga antes de que suene la sealsl del temporizador de cuenta extras. La diferencia en el tiempo de uso deccion depende de la temperatura de calentimiento y de la duracion de la cocccion.

6.4 Ejentes de aplicaciones de cocción

La relacion entre el ajuste de calor y el consumo de potencia de la zona de

cocación no es lineal. Cuando se AUGmente el ajuste de calor, no es proportional al AUGmente del consumo de potencia de la zona de coccción. Significa que la zona de coccción con el ajuste de calor medio usa menos de la mitad de su potencia.

AEG-ELECTROLUX HKL65313FB - Ejentes de aplicaciones de cocción - 1

Los datos de la tabla son solo orientativos.

Ajuste del ni-vel de calorUtilículo para:Tiempo (min)Sugerencias
ü - 1Mantener calientes los alimen-tos.como estime necesar-ioTape los utensilios de cucina.
1 - 3Salsa holandesa, derretir: man-tequilla, chocolate, gelatina.5 - 25Remover de vez en cuando.
1 - 3Cuajar: tortilla, huevos revuel-tos.10 - 40Cocinar con tapa.
3 - 5Arroces y platos cocinados con leche, calendar comida pre-paradas.25 - 50Añadir al menos el doble de láquido que de arroz; los platos lácteos deben remover entremedias.
5 - 7Cocinar al vapor verduras, pes-cados o carnes.20 - 45Añadir varías cucaradas de láquido.
7 - 9Cocinar patatas al vapor.20 - 60Utilice como máximo ¼ l de agua para 750 g de patatas.
7 - 9GrandesCNTIDADEs de ali-mentos, estofados y sopas.60 - 150Hasta 3 litros de láquido ade-más de los ingredientes.
9 - 12Freír ligeramente: escalopes, ternera "cordon bleu", chule-tas, burguesas, salchichas, higado, filetes ruros, huevos, tortitas, rosquillas.como estime necesar-ioDele la vuelta a media coc-ión.
12 - 13Asado fuerte, bolas de patata, filetes de lomo, filetes.5 - 15Dele la vuelta a media coc-ión.
Ajuste del ni-vel de calorUtilíciolo para: Tiempo Sugerencias (min)
14Hervir agua, cocer pasta, dorar carne (gulash, asado), freír patatas.
PHervir grandes cantidades de agua. La funciona Power está activada.

6.5 Consejos para la funciona Hob2Hood

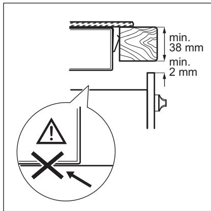
Cuando utilise la placac de coccion con la funcion:

Proteja el panel de la campana de la luz solar directa.
- No dirija focos halógenos hacer el panel de la campana.
- No cubra el panel de la placar de cocccion.
- No interrupma la seals entre la plac de coccyon y la campana (por exemple, con la mano o con el mango de un utensilio de coccyón). Observe la figura. La campana de la figura es solo a titulo ilustrativo.

AEG-ELECTROLUX HKL65313FB - Consejos para la funciona Hob2Hood - 1

AEG-ELECTROLUX HKL65313FB - Consejos para la funciona Hob2Hood - 2

Puede suceder queothers
aparatos controlos a
distancia bloqueen la seals. Para evitarlo, no utilise el mando a distancia del
aporato y la placac de
cocciudad a la vez.

Campanas extractoras con la funciona Hob2Hood

Para poder la gama completa de campanas extractoras que usan esta。, consulte nuestro situo web para consumidos. Las campanas extractoras AEG que usan esta。,funcion deben tener el symbolo

7. MANTENIMIENTO Y LIMPIEZA

AEG-ELECTROLUX HKL65313FB - MANTENIMIENTO Y LIMPIEZA - 1

ADVERTENCIA!

Consulte los capítulos sobre seguidad.

7.1 Información general

  • Limpie la placía afterwards de cada uso.
  • Utilice siempre recipientes cuya base está limpia.

  • Los arañazos o las marcas oscuras en la superficie no afectan al funciona normal de la plac.

  • Utilice un limpiador especial para la superficie de la plac.
  • Utilice un rascador especial para el cristal.

7.2 Limpieza de la plac

  • Elimine de inmediato: restos fundidos de plástico, recubrimientos de plástico, azúcar y alimentos que contengan azúcar. De lo contrario la sueidad dañará la placá de coccción. Tenga cuidado para evaporar quemaduras. Coloque el rascador especial sobre la superficie del cristal formando un ángulo agudo y arrastre la hora para eliminar la sueidad.
  • Elimine cuando el aparato se haya enfiado: restos de cal, MARCAS de

agua, manchas de grasa y decoloraciones metálicas. Limpie la placa de coccción con un paño suave humedecido con agua y detergente no abrasivo. Después de limpiar, seque la placía de coccción con un paño suave.

  • Eliminerialdecoloracion metalicabrillante:utiliceuna solutiondeaguayvinagrepara limpiarla superficiedecristalcon un paño humedo.

8. SOLUCION DE PROBLEMAS

AEG-ELECTROLUX HKL65313FB - SOLUCION DE PROBLEMAS - 1

ADVERTENCIA!

Consulte los capitulos sobre seguidad.

8.1 Que hacer si...

ProblemaPosible causaSolutacion
La placat no se enciende o no funciona.La placat no está connectada a un suministro electrico o es-tá mal connectada.Compruebe si la placat se ha connectado correctamente a la red electrica. Consulte el diagrama de conexiones.
Ha saltado el fusible.Compruebe si el fusible es la causa del fallo de referencia. Si el fusible se funde repetidamente, consulte a un electricista oficial.
Vuelva a encender la placat y ajuste el nivel de calor en menos de 10segundos.
Ha pulsado 2 o más sen-sores al mesmo tiempo.Toque solo un sensor.
Hay agua o salpicaduras de grasa en el panel de control.Limpie el panel de control.
Se emite una SIGNAL acústica y la placat de coccción se apa-ga.Hay uno o más sensores cu-biertos.Quite el objeto que cubre los sensores.
Se emite una SIGNAL acústica cuando la placat se apaga.
La placat de coccción se apa-ga.Haultimate algo sobre el sen-sor ①.Retire el objerto del sensor.
ProblemaPosible causaSoluciones
El indicator de calor residual no se enciende.La zona no está caliente por-que ha的功能ado poco tiempo.Si la zona has的功能ado el tiempo suficiente como para estar caliente, consulte con el centro de servicios autorizado.
Hob2Hood no funciona.Ha tapado el panel de control.Retire el objecto del panel de control.
La función de calentimiento automático no se activa.La zona está caliente.Deje que la zona se enfríse suficientemente.
Se ha ajustado el nivel de calor más alto.El nivel de coccción máximo tiene la misma potencia que la funciona.
El valor de la temperatura varía entre dos ajustes.La función de gestion de energia estáactivada.Consulte "Uso diario".
Los sensores se calientan.El utensilio de comida es de-masiado grande o está colocado demasiado cerca de losmandos.Cologne los utensilios de comida de gran+tamaño en laszonas trerasas si fueras posible.
No hay SIGNALalguna al pul-sar los sensores del panel.Las señales están desactivadas.Active las señales.Consulate "Uso diario".
La zona de coccción por in-ducción flexible no calienta el recipientiente.El recipientiente está en unaposicion incorrecta en la zo-na de coccción por inducciónflexible.Cologne el recipientiente en laposión correcta en la zona de coccción por inducciónflexible. La�性cn del recipientiente depende de la fun-ción activada o del modo defuncamilmente.Consulate el capítulo "Zona de coccción flexible de indución".
El diámetro de la base del utensilio no es adecuado para la funcionaactivada o elmodo de funcamilmente.Use un utensilio con un diá-metro aplicable a la功能性activada o el modo de funcamilmente.Use utensilios con un diámetro inferior a 160 mm en una sola sección de la zona de coccción por in-ducción flexible.Consulate el capítulo "Zona de coccción flexible de indución".
- se enciende.La desconexión automática estáactivada.Apane la placayvuela aencenderla.
ProblemaPosible causaSolutacion
L se enciende.Están activados el dispositivo de seguridad para niños o la funciona de bloqueo.Consulte "Uso diario".
F se enciende.No hay ningún utensilio de comida sobre la zona.Ponga un recipientete sobre la zona.
El utensilio de comida no es adecuado.Utilice el utensilio de comida adecuado.Consulte el capítulo "Consejos".
El diámetro de la base del utensilio de comida es做不到littlemente fácilno para la zona.Utilice un utensilio de comida del tamanio adecuado.Consulte el capítulo "Información技术水平".
La funciona FlexiBridge estáactivada. Una o variedesciones del modo de funciónamente que opera no es-tán cubiertas por el utensilio.Coloque el utensilio en el número correcto de sec-rientes del modo de funciónamente que opera o cam-bie el modo de funciónamente.Consulte el capítulo "Zona de coccción flexible de induc- cción".
La funciona PowerPoint estáactivada. Dosrecipientessecolcan en la zona de coc- cción por inducción flexible.Use solo un recipientete.Consulte el capítulo "Zona de coccción flexible de induc- cción".
E y un número se encienden.Se ha producido un error enla placat.Desenchufe la placat de la toma de corriente duranteanos,minutos. Desconnecte elfusible del systemalelectrico.Vuelva a conectarlo.Sivuelvap放缓cer E,pondase en contacto con elCentro de servicios技术水平.
ProblemaPosible causaSoluciones
E4se enciende.Se ha producido un error en la placía de coccción porque el utensilio de cucina ha her- vido hasta agotar el liquido. La desconexión automática y la protección contra sobre- calentimientos de las zonas se han activado.Apaneque la placía de coccción. Retire el utensilio de cucina caliente. Espereunos 30 seg- gundos antes de encender de nuevo la zona. Si el utens- silio de cucina era el problema, el mensaje de error desaparece. El indicator de calor residual puede mante- nerse encendido. Deje que el utensilio de cucina se en- frie suficientmente. Com- pruebe si el utensilio de co- cina es compatible con la placía. Consulte el capítulo "Conse- jos".

8.2 Si no encontrara una solución...

Si no logra subsanar el problema, póngase en contacto con su distribuidor o el centro de servicios técnico. Facilite la información de la placá de caracteristicas. Indique también el número de tres digitos de la placá vitrocerámica (se enquiryra en la eqquina de la superficie vitrocerámica) y el mensaje de error que aparezca.

Asegúrese de que maneja la placá de coccción adecuadamente. De lo contrario, el personal del servicios专业技术 o del distribuidor facturará la reparación efectuada, incluo en el caso de que el aparato se enquiryre en periodo de garantía. Las instrucciones sobre servicios专业技术 y conditiones de garantía se encontrartran en el folleto de garantía que se suministra con el aparato.

9. INSTALLACION

AEG-ELECTROLUX HKL65313FB - INSTALLACION - 1

ADVERTENCIA!

Consulte los cap它们os sobre seguidad.

9.1 Ante de la instalación

Antes de instalar la placá de coccción, anote la información",si de la placá de charteristicas. La placá de charteristicas está situada en la parte inferior de la placá de coccción.

Numero de

serie

Las placas de cocción que han de ir integradas en la cucina solo deben utiliserse una vez encastradas en los muebles adecuados y con las encimeras y superficies de trabajo apropriadas.

  • La plac de cocción se suministra con un cable de connexion.
  • Para sustituir el cable de alimentacion dañado utilise elsignificanto (osuperior) cable de alimentacion:H05V2V2-F T minimo a 90^ Póngase en contacto con el service Tecnico local.

9.4 Montaje

AEG-ELECTROLUX HKL65313FB - Montaje - 1

AEG-ELECTROLUX HKL65313FB - Montaje - 2

AEG-ELECTROLUX HKL65313FB - Montaje - 3

AEG-ELECTROLUX HKL65313FB - Montaje - 4

AEG-ELECTROLUX HKL65313FB - Montaje - 5

AEG-ELECTROLUX HKL65313FB - Montaje - 6

AEG-ELECTROLUX HKL65313FB - Montaje - 7

10. DATOS TÉCNICOS

10.1 Placa de caracteristicas

Modelo HKP65310FB

Tip60GADCLAU

Inducción 7.4 kW

N^ ser.

AEG

Número de producto (PNC) 949 597 077 02

220-240V50-60Hz

Fabricado en Alemania

7.4 kW

AEG-ELECTROLUX HKL65313FB - Placa de caracteristicas - 1

10.2 Especillas de las zonas de cocción

Zona de coc- ciónPotencia nomi- nal (ajuste de calor max.) [W]La funciona Pow- er [W]La funciona Pow- er duración的最大ima [min]Diámetro de los utensilios de co- cina [mm]
Anterior dere- cha180028005145 - 245
350037005245 - 280
Zona de coc- ción por induc- ción flexible2300320010mínimo 100

La potencia de las zonas de coccción suecevarierigeramente deldataosde la tabla.Cambia con el material y las dimensiones del utensilio de cucina.

Para Obtenerelinesocciónoptimos,utilice recipientes de diametroinferior al indicado en la tabla.

11. EFICACIA ENERGÉTICA

11.1 Información de producto según UE 66/2014

Identificacion del modelo

HKP65310FB

Tipo de placá de coccciónPlaca empôtra da
Número de zonas de coccción1
Número de Areas de coccción1
Tecnología de calenta-mientoInducción
Diámetro de las zonas de coccción circulares (Ø)Anterior derecha28,0 cm
Largo (L) y ancho (A) del area de coccción.IzquierdaL 45.3 cm A 21.5 cm
Consumo de energia por zona de coccción (EC elec-tric cooking)Anterior derecha167,4 Wh / kg
Consumo electrico del airea de coccción (EC electric cooking)Izquierda177,6 Wh / kg
Consumo de energia por de la placá de coccción (EC electric hob)175,0 Wh / kg

EN 60350-2 - Aparatos
electrodométricos - Parte 2: Placas de
coccción - Metodos de medicación del
rendimiento

11.2 Ahorro de energia

Estos consejos la poderan a ahorrar energia al cocinar cada día.

  • Cuando caliente agua, utilise solo la cantidad que nécessite.
  • En la medida de lo possible, cocine siempre con los utensilios de cocina tapados.

  • Coloque el utensilio de cocina sobre la zona de coccción antes de encenderla.

  • Coloque los utensilios de cocina pequeños en zonas de coccciónkleensen.
  • Coloque el utensilio de cocina directamente en el centro de la zona de coccción.
  • Utilice el calor residual para Maintener calientes los alimentos o derretirlos.

12. ASPECTOS MEDIOAMBIENTALES

Recycle los materiales con el símbolo Coloque el material de embalaje en los contenedores adecuados para su reciclaje. Ayude a proteger el medio ambiente y la salute Pública, como a reciclar residuos de aparatos electricos y

electrónicos. No deseche los aparatos marcados con el símbolo Újunto con los residuos domesticos. Lleve el producto a su centro de reciclaje local o póngase en contacto con su-oficina municipal.

C E

Índice Cliquez un titre pour y accéder
Asistente de manual
Desarrollado por ChatGPT
Esperando tu mensaje
Información del producto

Marca : AEG-ELECTROLUX

Modelo : HKL65313FB

Categoría : Bandeja para hornear