SMLE 129 - Lavadora SCHOLTES - Manual de uso y guía de instrucciones gratis
Encuentra gratis el manual del aparato SMLE 129 SCHOLTES en formato PDF.
| Tipo de dispositivo | Lavadora |
| Capacidad de lavado | No especificado |
| Número de programas | Varios ciclos de lavado |
| Funciones especiales | Ciclos especiales, sistema de balanceo de carga |
| Tipo de carga | No especificado |
| Pantalla | Sí |
| Dispensador de detergente | Cajón dispensador |
| Seguridad | Seguridad general incluida |
| Mantenimiento | Limpieza de tambor, bomba, dispensador |
| Alimentación eléctrica | No especificado |
| Consumo de agua | No especificado |
| Consumo de energía | No especificado |
| Dimensiones | No especificado |
| Peso | No especificado |
| Manual de usuario | Disponible en varios idiomas |
Preguntas frecuentes - SMLE 129 SCHOLTES
Descarga las instrucciones para tu Lavadora en formato PDF gratis! Encuentra tus instrucciones SMLE 129 - SCHOLTES y toma tu dispositivo electrónico nuevamente en la mano. En esta página están publicados todos los documentos necesarios para el uso de su dispositivo. SMLE 129 de la marca SCHOLTES.
MANUAL DE USUARIO SMLE 129 SCHOLTES
Instalación, 30-31-32-33
Desembajey nivelación
Conexiones hidrálicas y electricas
Primer ciclo de lavado
Datasétécnicos
Instrucciones para el instalador
Descripción de la lavadora, 34-35
Panel de control
Pantalla
Cómeffectuarunciclo delavado,36
Programas y unidades, 37
Tabla de programas
Funciones de lavado
SMLE 129
Detergentes y ropa, 38
Contenor de detergentes
Preparar la ropa
Programas particulares
Sistema de equilibrado de la energia
Precauciones y consejos, 39
Seguridad general
Eliminaciones
Apertura manual de la puerta
Mantenimiento y@cuidados, 40
Interrumpir el agua y la corriente electrica
Limpiar la lavadora
Limpiar el contentedor de detergentes
Cuidar la puerta y el cesto
Limpiar la bomba
Controlar el tubo de alimentacion de agua
Anomalías y soluciones, 41
Asistencia, 42

Scholtès
! Es importante conservar este manual para poder consulitarlo en cualquier momento. En caso de vente, de cesión o de traslado, verifique que permanecejusto con la lavadora para informar al nuevopropietario sobre el funciona y brindar lascorrespondentes advertencias.
! Lea atentamente las instrucciones: ellas contienen importante información sobre la instalación, el uso y la seguridad.
Desembalaje y nivelación
Desembalaje
- Desembale la lavadora.
- Controle que la lavadora no haya sufrido danos durante el transporte. Si estuvierra dañada no la connecte y llame al revendedor.

-
Quite los 4 tornillos de proteccion para el transporte y la arandela de goma con el correspondiente distanciador ubicados en la parte posterior (ver la figura).
-
Cubra los orificios con los tapones de plástico suministrados con el aparato.
- Conserve todas las piezas: cuando la lavadora deba ser transporte bajo, deben tener un colocarse.
! Los embalajes no son juguetes para los niños.
Nivelación
- Instale la lavadora sobre un piso plano y rigido, sin apoyarla en las paredes, muebles ni en ningún除外 aparato.

- Si el piso no está perfectamente horizontal, compensate las irregularidades desenroscando o enroscando las patas delanteras (ver la figura); el ángulo de inclínación medido sobre la superficie de trabajo, no debe superar los 2^ .
Una cuidadasa nivelacion brinda estabilitad a laquina y evita vibraciones, ruidos y desplazamente durante el funciona. Cuando se instala sobre moquetas o alfombras, regule los pies para conservar Debate de la lavadora un espacio sufiente para la ventilacion.
Conexiones hidráulicas y electricas
Conexión del tubo de alimentación de agua

- Conectar el tubo de tubo enroscándolo a un grifo de agua fria con la boca roscada de 3/4 gas (ver la figura).
Antes de conectarlo, haga correr el agua hasta que está limpida.

-
Conecte el tubo de alimentacion a la lavadora enroscandolo en la toma de agua correspondiente ubicada en la parte posterior derecha (arriba) (ver la figura).
-
Controle que en el tubo no hayan pliegues ni estrangulaciones.
! La presión de agua del grifo debe estar comprendida bajo de los values contentsos en la tabla de datos技术和s (ver la página correspondiente).
! Si la longitud del tubo de alimentacion no es la suficiente, dirijase a unUGCIO especializzato o a un tetecnico autorizzato.
! No utilise nunca tubos ya usados.
! Utilice los suministrados con laquina.
Conexión del tubo de descarga

Conecte el tubo de descarga, sin plegarlo, a una tuberia de descarga o a una descarga de pared colocadas a una alta del piso entre 65 y 100 cm;

o apóyelo en el borde de un lavamanos o de una banera, uniendo la guía suministrada con el aparato, al grifo (ver la figura). El extremo libre del tubo de descarga no debe permanecer sumergido en el agua.
! No se aconseja utiliser tubos de prolongación, si fuera indispensable hacerlo, la prolongación debetener el mismo diametro del tubo original y no superar los 150 cm.
Conexión electrica
Antes de enchufar el aparato, verifique que:
- la tomaonga la connexion a tierra y haya sido hecha según las normas legales;
- la toma sea capaz de soportar la energia maxima de potencia de laquina indicada en la tabla de Datos技术和s (ver al costo);
- la tensión de alimentación está comprendida bajo el control de los values indicados en la tabla de Datos Médicos (ver al costo);
- la toma sea compatible con el enchufe de la lavadora. Si no es asi, sustituya la toma o el enchufe.
! La lavadora no debe ser instalada al aire libre, ni siquiera si el lugar está reparado, ya que es muy peligiosoajsarla expuesta a la lluvia o a las tormentas.
! Una vez instalada la lavadora, la toma de corriente debe ser fácilmente accesible.
! No utilise prolongaciones ni conexiones multibles.
! El cable no debe estar plegado ni sufrir compresiones.
! El cable de alimentación debe ser sustituido solo por技术和oranzados.
jAtencion! LaEmpresa fabricante declina toda responsabilidad en caso de que estas normas no sean respetadas.
Primer ciclo de lavado
Después de la instalación y antes del uso, realice un ciclo de lavado con detergente y sin ropa, selecciónando el programa l
| Datosolesticos | |
| Modelo | SMLE 129 |
| Dimensiones | ancho 59,5 cm. altura 81,5 cm. profundidad 54,5 cm. |
| Capacidad | de 1 a 7 kg. |
| Conexiones electricas | ver la plac de caracteristicas= técnicas aplicada en la这其中aquina |
| Conexiones hidricas | presión Tmaxima 1 MPa (10 bar) presión minima 0,05 MPa (0,5 bar) capacidad del cesto 52 litros |
| Velocidad decentrifugado | máxima 1200 r.p.m. |
| Programas decontrol según lana norma EN 60456 | programa (1° presión delbotón); temperature 60°C; efectuado con 7 kg. dearga. |
| CE | Esta这其中aquina cumple con loestablecido por las siguientesDirectivas de la Comunidad:- 2004/108/CE (CompatibleElectromagnética)- 2002/96/CE- 2006/95/CE (Baja Tensión) |
Instrucciones para el instalador
Aplicación del panel de madera en la puerta e introducción de laquina en los muebles:
En el caso en que, après del montaje del panel de madera, seanecessarytrasladar laquina para su instalacion final,acomsejamosdejarle en su embalaje original.Debido a ello,el embalaje ha sido realizado en modo tal que permita el montaje del panel de madera en laquina sin desembalar Completely el producto (ver las figuras siguidentes).
El panel de madera que cubre la parte delantera debe ser de un espesor mayor de 18 mm y pueda ser embisagrado ya sea a la derecha o a la izquierda. Por motivos de praticidad en el uso de laquina, se aconseja el本身就是o sentido de aperture de la portilla, o sea con las bisagras aplicadas a la izquierda.

A

B

C

D

E
Accesorios montaje puerta (Fig. 1-2-3-4-5).

Fig. 1

Fig. 2

Fig. 3

Fig. 4

Fig. 5

Fig. 4/B
- n^6 tornillos de autoenroscado l = 13mm "como A".
- n^2 tornillos metricos de cabeza avellanada l = 25 mm ("esto B"); para la fijación, al mueble, del imán de atracción.
- n^4 tornillos métricos l = 15mm "como C"; para el montaje de los portabisagra en el mueble.
- n^4 tornillos métricos 1 = 7 mm "como D"; para el montaje de las bisagras en los portabisagra.
Montaje de las piezas en la parte delantera de laquina.
- Montar los soportes cremallera en la parte frontal positional el orificio indicado con una flecha en la fig. 1 hacía adentro de la cara interponiendo una riostra (fig. 4/B),empleando los tornillos tipo C.
- Montar el tope magneto de la parte opuesta arriba interponiendo dos rostroas (fig. 4/B) utilizing los dos tornillos tipo B.
Uso de la guía para taladrar.
- Para marcar las posiciones de los orificios en la parte izquierda del panel, alinear el patron de perforación en la parte superior e izquierda de dicho panel, tomando como referencia las lineas trazadas en los extremos.
- Para MARCAR las posiciones de los orificios en la parte derecha del panel, alinear el patron de perforacion en la parte superior y derecha de dicho panel.
- Con una fresa de las dimensiones adecuadas realizar los quatre orificios quedeferan alojarlas dos bisagras,el taco de goma y el iman.
Montaje de las piezas en la puerta.
- Introducir las bisagras en los orificios correspondientes (la parte móvil de la bisagra deben encontrarse hacer el exterior del panel) y fijarlas con 4 tornillos de tipo A.
- Introducir el imán en el orificio colocado arriba en la parte opuesta a las bisagras y fijarlo con dos tornillos de tipo B
- Introducir el taco de goma en el orificio ubicado abajo.
A partir de este momento, el panel está lista para ser montado en laquina.
Montaje del panel en laquina.
Introducir la punta de la bisagra, indicada por la flecha en la fig. 2 en el orificio del portabisagra, empujar el panel hacía la parte delantera de lamaids y fjjar las dos bisagras con los dos tornillos de tipo D.
Fijación de la guía del zócalo.
Si laquina ha sido instalada en un extremo de los muebles de la comida, montar una o ambas guías del zócalo como se indica en la fig. 8, regularando su profundidad en función de la posición del zócalo y si esnecessary fijarlo a las malmas (fig. 9). Para instalar la guía del zócalo realice las siguientes operaciones (fig. 8):
Fije la escuadra P con el tornillo R, introduzca la guía del zócalo Q en la ranura correspondiente y una vez ubicada en el punto deseado, fije la escuadra P con el tornillo R.
Colocacion de laquina en los muebles.
- Empujar laquina en el espacio destinado a el alineandola con los除外 muebles (fig. 6).
- Acionar las patitas de regulacion para llvar laquina a la alta deseada.
- Para regular la posicion del panel de madera en sentido vertical y horizontal, acontecer los tornillos C y D como se indica en la fig. 7.
Important: cierra la parte inferior del frente con el zócalo apoyado en el piso.

Fig. 6

Fig. 7

Fig. 8

Fig. 9
Accesorios suministrados con la lavadora para regular la alta.
Ubicados en la tapa de poliestireno (fig. 10) se encuentran: 2征求意见 (G) ; 1 liston (M)

dontrolcesto seencuentran:
4 patas adiconiales (H),
4 tornillos (I),
4 tornillos (R),
4 tuercas (L),
2 guias para el zócalo (Q)
Fig. 10
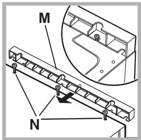
Regulación de la alta de la lavadora.
Se peutes regular laalta de la lavadora (de 815 mm a 835 mm) mediante las 4 patas.
Si se desea instalar a unaulta superior a la indicada precedente, hasta 870 mm, es besoino utiliser lossiguientes accesorios:
- los 2 travesanos (G); las 4 patas (H); los 4 tornillos (I); las 4 tuercas (L), actuando del suiviente modo (fig. 11): extraer las 4 patas originales, colocar un travesano G en la parte delantera de la lavadora, fiarlo con los tornillos I (enroscándolos en los orificios donde estarban montadas las patas originales), bajo introducir las新品as patas H. Repetir la misma operation en la parte posterior de la lavadora. A continuacion, regularando las新品as patas H, la lavadora se pueda bajo o levantar de 835 mm a 870 mm. Una vez alcanzada la alta deseada, bloquear las tuercas L al travesano G. Para regular la lavadora a una alta compendia entre 870 mm y 900 mm., esnecessary montar el liston M regulando las patas H hasta la alta deseada.
Para instalar el listón, realizas las siguientes operaciones: afloje los tres tornillos N colocados en la parte delantera de la cubierta Top, introduzca el listón M como se indica en la fig. 12, bajo aprete los tornillos N.

Fig. 11

Fig. 12

Panel de control
Contenor de detergentes: para cargardetergentes y aditivos (ver "Detergentes y ropa").
Botón ENCENDIDO/APAGADO: presione breve-mente el botón para encender o apagar laquina. El piloto PUESTA EN MARCHA/PAUSA que centellea lentamente de color verde indica que laquina está encendida. Para apagar la lavadora durante el lavado, es necesario tener presionado el botón durante más tiempo, aproximamente 2 seg.; si se presiona en forma más breve o accidental, laquina no se apagará. Si laquina se apaga durante un lavado en camino, tícho lavado se anulará.
Botones SELECTOR DE PROGRAMAS: para seleccionar el programa deseado (ver "Tabla de programas").
Botón MEMORIA: mantenga presionado el botón para memorizar un ciclo y las personalizaciones deseadas. Para llamar un ciclo precedentamente memorizzato, presione el botón MEMO.
Botones FUNCION: presione el botón para selecciónar la funciona deseada. En la pantalla se iluminará el piloto correspondiente.
Botón CENTRIFUGADO: presiónelo para disminuir o excluiir totalmente el centrifugado - el valor se indica en la pantalla.
Botón TEMPERATURA (8): presióno para disminuir la temperatura: el valor se indica en la pantalla.
Botón BLOQUEO DE BOTONES: para activar elbloqueo del panel de control, mantenga presionado elbotón durante 2 seguidos aproximadamente. Elsimpilo encendido indica que el panel de controlestá bloqueado.De este modo, se evitanmodificaciones accidentales de los programas, sobretodosi en la casa hay niños Para desactivar elbloqueo del panel de control, mantenga presionado elbotón durante 2 seguidos aproximadamente.
Botón COMIENZO RETRASADO: presiónelo para selecciónar el comienzo retraso del programa elevado. El retraso se indica en la pantalla.
Botón con piloto PUESTA EN MARCHA/PAUSA:
cuando el piloto verde centellea lentamente, presione el botón para que comience el lavado. Una vez que el ciclo ha comenzado, el piloto se mantiene bajo. Para poder en pausa el lavado, presione nuevomente el botón; el piloto centelleará con un color anaranjado. Si el símbolo no está iluminado, seoulda partir la puerta. Para que el lavado se reanude a partir del momento en elrial fue interrupido, presione-Newamente el botón.
Modalidad de stand by
Esta lavasecadora está en conformidad con las新模式 normativas vinculadas al和睦ro energetico. Está dotada de un sistema de auto-apagado (stand by) que, en caso de no funciona,[2] se activa pasados aproximamente 30 horas. Presionar brevemente el botón ENCENDIDO/APAGADO y esperar que laquina se active.
Pantalla

La pantalla esutil para programar laquina y brindamultiple informacion.
En las dos series superiores A y B se visualizan el programa de lavado seleccionado, la fase de lavado en bajo y todas lasindicaciones correspondientes al estado de avance del programa.
En la série C se visualiza el tiempo que falta para que finalice el ciclo de lavado en bajo y, si se hubiera fujado un COMIENZO RETRASADO, el tiempo que falta para que comience el programa seleccionado.
En la série D se visualiza el valor máximo de velocidad decentrifugado que laquina可以选择 desarrollo segun el programa seleccionado; si el programa no prevé el centrifugado, la série permanece apagada.
En la série E se visualiza el valor máximo de temperatura que se pueda fjjar según el programa selecciónado; si el programa no prevé la selección de temperatura, la série permanece apagada.
Las series F corresponden a las functions y se encienden cuando la funciona selectionada es compatible con el programa elegido.
Simbolo Puerta bloqueada O
El síbolo encendido indica que la puerta estábloqueada para impediraperturas accidentales. Para evitar daños, se debeesperar que el síbolo se apague,antesdeAbrirla puerta.
Note: si la funciona COMIENZO RETRASADO está activada, la puerta no se pueda abrir, paraAbrirla se debeponer en pausa laquina presionando el botón PUESTA EN MARCHA/PAUSA.
! La primera vez que se enciende, se solicitará la elección del idioma y, paraarlo, la pantalla entrada automatically en el menu de selección de idioma.
Para elegir el idioma deseado, presione los botones X y Y , para confirmar la eleccion, presione el boton Z.
Si se desea cambiar el idioma, apagar laquina, presionar al mesmo tiempo los tres botones indicados en la figura con la referencia L hasta que se sienta la señal acústica y volver a encender laquina. Se visualizará el menu de selección del idioma.
Cómo efectuar un ciclo de lavado
- ENCENDER LA MAQUINA. Presione el botón (1), en la pantalla aparecerá la palabra BIENVENIDO; el piloto PUESTA EN MARCHA/PAUSA centelleár lentamente de color verde.
- CARGAR LA ROPA. Abra la puerta. Cargue la ropa, cusidando no superar lacantidad de cargo indicada en la tabla de programas de la网页!.
- DOSIFICAR EL DETERGENTE. Extraiga el conteditor y vierta el detergente en las cubetas correspondientes como se explicía en "Detergentes y ropa".
4. CERRAR LA PUERTA.
- ELEGIR EL PROGRAMA. Presione uno de los botones del SELECTOR DE PROGRAMAS para seleccionar el programa deseado; el nombre del programa apareceré en la pantalla; a dicho programa se le asociará una temperatura y una velocidad de centrifugado que se pueda modifier. En la pantalla apareceré la duración del ciclo.
- PERSONALIZAR EL CICLO DE LAVADO. Utilice los botones correspondientes:
Modificar la temperatura y/o el centrifugado. Laquina selección automática para la temperatura y el centrifugadoolestimosprevistosparaelprograma seleccionado y,por lo tanto,no se pueda aumento. Presionando el boton se disminuye progrisamente la temperatura hasta llegar al lavado en frío "OFF".Presionando el boton se disminuye progrisamente el centrifugado hasta su exclusion "OFF".Si se presionan una vez más los botones,se volverá a los valoresolestimos previstos.
Selectionar un comienzo retrasado.
Para selecciónar el comienzo retraso del programa elegido, presione el botón correspondiente hasta alcancar el tiempo de retraso deseado. Cuando dicha.option está activada, en la pantalla aparece el símbolo . Para eliminar el comienzo retraso, presione el botón hasta que aparezca el mensaje OFF.
Modificar lascharacteristicadel ciclo.
- Presione el botón para activar la funciona; el piloto correspondiente al botón se encenderá.
- Presione nuevomente el botón para desactivar la funciona; el piloto se apagará.
! Si la funciona seleccionada no es compatible con el programalegantido, el piloto centelleará y la funciona no seactivará.
! Si la funcionalegantada no es compatible con othera seleccionadaprecedentemente, el piloto correspondiente a la primera referencia seleccionada centelleará y seactivara solo la segunda, el piloto de la referencia activada se iluminará.
Las functions peuvent variar la entrega recomendada y/o la duración del ciclo.
- PONER EN MARCHA EL PROGRAMA. Presione el botón PUESTA EN MARCHA/PAUSA. El piloto correspondiente se iluminará de color verde fijo y la puerta se bloqueará (simpilo PUERTA BLOQUEADA =0 encendidido). Durante el lavado, en la pantalla aparecería el nombre de la fase en bajo. Paracaeir un programa cuando un ciclo está en bajo, ponga la lavadora en pausa presionando el botón PUESTA EN MARCHA/PAUSA (el piloto PUESTA EN MARCHA/PAUSA centelleará lentamente de color anaranjado); luego selección el ciclo desrado y presione nuevomente el botón PUESTA EN MARCHA/PAUSA.
ParaAbrir la puerta@m间隙 un ciclo está en
como, presione el boton PUESTA EN MARCHA/
PAUSA;si el"simbolo PUERTA BLOQUEADA 0
está apagado, sera possibleAbrir la puerta. Presione
nuevamente el boton PUESTA EN MARCHA/
PAUSA para reanudar el programa a partir del
momento en el que se habia interruptido.
- FIN DEL PROGRAMA. En la pantalla aparecerá el mensaje "FIN DEL CICLO", cuando el símbolo PUERTA BLOQUEADA se apague, está possible abrir la puerta. Abra la puerta, descargue la ropa y apague laquina.
! Si desea anular un ciclo que ya ha comenzado, presione más tiempo el botón. El ciclo se interrupirá y laquina se apagará.
Tabla de programas
| Programas | Descripción del Programa | Temp. max. (°C) | Veloci-dad max. (r.p.m.) | Detergentes | Carga max. (Kg.) | Carga max. (Kg.) | Duración del ciclo | |||
| Prela- vado | Blanque- ador | Lava- do | Suavi-zante | Normal | Mini carga | |||||
| Programas para todos los días | Ce pueda controlar la duración de los programas de lavado en la persala. | |||||||||
| Algodón (*) (1º presión del botón): blancos extremadamente sucios. | 90° | 1200 | ● | ● | ● | ● | 7 | 3 | ||
| Algodón (2º presión del botón): blancos y colores resistentes muy sucios. | 60° | 1200 | ● | ● | ● | ● | 7 | 3 | ||
| Algodón (3º presión del botón): blancos y colores delicados muy sucios. | 40° | 1200 | ● | ● | ● | ● | 7 | 3 | ||
| Sintético resistente (1º presión del botón): colores resistentes muy sucios. | 60° | 800 | ● | ● | ● | ● | 3 | 1,5 | ||
| Sintético delicado (2º presión del botón): colores resistentes poco sucios. | 40° | 800 | ● | ● | ● | ● | 3 | 1,5 | ||
| Mix 30' (1º presión del botón): para refrescar rápidamente prendas poco sucias (no se aconseja utiliser para lana, seda y prendas para lavar a mano). | 30° | 800 | - | - | ● | ● | 3 | - | ||
| Mix 15' (2º presión del botón): para refrescar rápidamente prendas poco sucias (no se aconseja utiliser para lana, seda y prendas para lavar a mano). | 30° | 800 | - | - | ● | ● | 1,5 | - | ||
| Programas Especiales/ Memo | ||||||||||
| Baby: colores delicados muy sucios. | 40° | 800 | - | ● | ● | ● | 2 | 1 | ||
| Memoria: permite memorizar cualquier tipo de lavado. | ||||||||||
| Seda/Cortinas: para prendas de seda, viscosa, lencería. | 30° | 0 | - | - | ● | ● | 1 | 1 | ||
| Lana: para lana, cachemira, etc. | 40° | 600 | - | - | ● | ● | 1,5 | 1 | ||
| Programas Parciales | ||||||||||
| Centrifugado Rápido (1º presión del botón) | - | 1200 | - | - | - | - | 7 | - | ||
| Centrifugado Delicado (2º presión del botón) | - | 800 | - | - | - | - | 3 | - | ||
| Aclarado Algodón (1º presión del botón) | - | 1200 | - | ● | - | ● | 7 | 3 | ||
| Descarga (2º presión del botón) | - | 0 | - | - | - | - | 7 | - | ||
Para todos los Test Institutes:
* Programa de control segun la norma EN 60456: seleccione el programa algodon con una temperatura de 60^
Funciones de lavado

Antimancha
Esta funciona esutil para eliminar las manchas masresistantes.

llntroduzca la cubeta adicional 4 suministrada con el aparato, en la cubeta 1.
Al verte el blanqueador no debe superar el nivel "max." indicado en el perno central (vease la figura).
Para relizar solo el blanqueo, vierta el
blanqueador en la cubeta adicular 4, seleccione el programa "Aclarado" y active la direccion "Antimancha". Para blanquear durante el lavado, vierta el detergente y los aditivos, seleccione el programa deseado y active la direccion "Antimancha".
El uso de la cubeta adicional 4 excluye el prelimvado.
! No se pueda activar con los programas 念 , 念 , y Descarga.

Prelavado
Selecciónando esta funciona, se realiza el prelimado, muyutil para eliminar manchas dificiles.
Nota: agregue el detergente en el compartmento correspondiente.
!No se pueda activar con los programas 念 ,,,,,9,中

Aclarado Extra
Al elegir esta optación aumento la eficacidia del aclarado y se asegurará la Tmaxima eliminación del detergente. Esutil para pieles particularmente sensibles.
! No se pueda activar con los programas , y "Descarga".

Fácil Planchado
Cuando se selección esta funciona, el lavado y el centrifugado se Modifications的概率 para disminuir la formación de arrugas. Al finalizar el ciclo, la lavadora realizará lentas rotaciones del cesto; el indicator de funciona FÁCIL PLANCHADO y el de ENCENDIDO/ APAGADO centellearán (naranja) y el mensaje "FIN DEL CICLO" aparecerá en la pantalla. Para finalizar el ciclo se deben presionar el botón PUESTA EN MARCHA/PAUSA o el botón FÁCIL PLANCHADO. En el programa "Seda" laquina finalizará el ciclo con la ropa en remoyo, el indicator de funciona FÁCIL PLANCHADO y la de PUESTA EN MARCHA/PAUSA centellearán (naranja) y el mensaje "DETENER CON AGUA" aparecerá en la pantalla. Paradescending el agua y poder sacar la ropa, es necesario presionar el botón PUESTA EN MARCHA/PAUSA o el botón FÁCIL PLANCHADO.
! No se pueda activar con los programas 日 , 日 , 日 y Descarga .

Mini Carga
Se aconseja utiliser esta funciona cuando la cantidad de ropa para lavar es igual o inferior a la mitad de la energia maxima aconsejada (ver la Tabla de programas).
No se pueda activar con los programas y "Descarga".
Contenor de detergentes
El bien的结果 del lavado depende también de la correcta dosificacion del detergente: si se excede lacantidad, no se lava de manière más eficaz, sino que se contribuye a encostrar las partes internas de la lavadora y a contaminar el medio ambiente.
! No use detergentes para el lavado a mano porque producen demasiada espuma.

Extraiga el contentedor de detergentes e introduzca el detergente o el aditivo de la?sigue manera:
cubeta 1: Detergente para prelimado (en polvo)
Antes de verteer el detergente,verifique que no este colocada la cubeta adicular 4.
cubeta 2: Detergente para lavado (en polvo o liquido)
El detergente liquido se debe verte solo antes de lapellsta en marcha.
cubeta 3: Aditivos (suavizante, etc.)
El suavizante no se debe volcar fuera de la rejilla. cubeta adicional 4: Blanqueador
Preparar la ropa
-
Subdivida la ropa según:
-
el tipo de tejido / el symbolo en la etiqueta.
-
los colores: separe las prendas de color y las blancas.
-
Vacie los bolsillos y controle los botones.
- No supere los values indicados, referidos al peso de la ropa seca:
Tejidos resistentes: max 7 kg.
Tejidos sintéticos: max 3 kg.
Tejidos delicados: max 2 kg.
Lana: max 1,5 kg.
Seda: max 1 kg
¿Cuánto pesa la ropa?
1 sábana 400/500 g
1 funda 150/200 g
1 mantel 400/500 g
1 albornoz 900/1200 g
1 toalla 150/250 g
Programas particulares
Mix 30!: fue estudiado para lavar prendas ligeramente susidas y en poco tiempo: dura sólo 30 horas y de estaforma permite ahorrar energia y tiempo.
Selectionando el programa (a 30^ ) es possible lavar conjuntamente segidos de distinguito tipo (excludidas lana y seda), con una energia maxima de 3 kg.
Mix 15': fue estudiado para lavar prendas ligeramente susidas y en poco tiempo: dura sólo 15 horas y de esaforma permite ahorrar energia y tiempo.
Selecciónando el programa (a 30^ ) es posible lavar conjuntamente tejos dedistincto tipo (excludidas lana y seda), con una energia maxima de 1,5 kg.
Baby: programa capaz de eliminar la suciedad
caracteristica de los niños pero garantizingla
eliminacion del detergente de las prendas para evitar
problemas de allergia en la piel delicada de los niños.
El ciclo ha sido estudiado para disminuir la energia
bacteriana utilizing una mayorcantidad de agua y
optimizarando el efecto de aditivos especialicos
higienizantes egregados al detergente.
Al finalizar el lavado, laquina realizará lentas rotaciones del cesto para registrar la formación de arrugas; para terminar el ciclo, presione el botón PUESTA EN MARCHA/PAUSA.
Seda: utilise el programa correspondiente para lavar todas las prendas de seda. Se aconseja el uso de un detergente spécifique para prendas delicadas.
Cortinas: piéguelas y colóquelas dentro de una funda o de una bolsa de red. Utilice el programa
Lana: Scholtès es laúnica lavadora que ha obtenido el prestigioso Reconocimiento Woolmark Platinum Care (M.0508) otorgado por The Woolmark Company que certifica el lavado en lavadora de todas las prendas de lana, incluidas aquellas que contienen la etiqueta "sólo lavado a mano". En consecuencia, con el programa se pueda utilizar la lavadora con total tranquilidad para lavar todas sus prendas de lana (máx. 1,5 kg) garantizingla obtencion de los最好的 resultados.
Sistema de equilibrado de la energia
Antes de cada centrifugado, para evaporar vibraciones
excesivas y para distribuir la energia de modo uniform
el cesto realiza rotaciones a una velocidad
ligeramente superior a la del lavado. Si antes de
variosintentos,la carga todavía no está
correctamente equilibrada, laquina realiza el
centrifugado a una velocidad inferior a la prevista.
Cuando existe un excessivo desequilibrio, la lavadora realiza la distribución antes que el centrifugado. Para
obtener una mejor distribución de la energia y su
correcto equilibrado, se aconseja mezclar prendas
grandes y pequeñas.
! La lavadora fue proyectada y fabricada en conformidad con las normas internociales de seguridad. Estas advertencias se suministran por razones decurity y deben ser leidas atentamente.
Seguridad general
- Este aparato ha sido fabricado para un uso de tipo domestico exclusivamente.
- El aparato no debe ser empleado por personas (niños incluidos) con capacities físicas, sensoriales o mentales reducidas y con experiencias y conocimientos insufficientes, a menos queDICHO uso no se realice bajo la supervisión o las instrucciones de una persona responsable de su seguridad. Los niños deben ser vigilados para asegurarque no juguen con el aparato.
- No toque laquina con los pies desnudos ni con las manos o los pies mojados o humedes.
- No desenchufe laquina tirando el cable, sino tomando el enchufe.
- No abra el contentedor de detergentes cuando laquina está en funciona.
- No toque el agua de descarga porque pueda alcanzar temperatasies elevadas.
- En ningún caso fuercé la puerta: podía danarse el mecanismo de seguridad que la protege de aperturas accidentales.
- En caso de avería, no acceda nunca a los mecanismos internos para intentar una reparación.
- Controle siempre que los niños no se acerquen a laquina cuando está en funcionaimiento.
- Durante el lavado, la puerta Tiende a calentarse.
- Si debe ser trasladada,deferan intervenir dos o mas personas,procediendo con el maximo cuidado.Laquina no debe ser desplazada nunca por una sola persona ya que es muy pesada.
- Antes de introducir la ropa contrôle que el cesto estávacioso.
Eliminaciones
- Eliminación del material de embalaje: respete las normas locales, de ese modo, los embalajes PODRAN(volver a ser realizados.
- En base a la Norma europea 2002/96/CE de Residuos de aparatos Eléctricos y Electrónicos, los electrodomesticos viejos no peuvent ser arrojados en los contenedores Municipales habituales; tienen que ser recogidos selectivamente para optimizar la recuperación y reciclado de los componentes y materiales que los constituyen, y reducir el impacto en la salute humana y el medioambiente. El símbolo del cubo de basura tachado semarca sobre todos los productos para recordar al consumidor la obligación deSeparatedlos para la recogida selectiva.
El consumidor debe contactar con la autoridad local o con el vendedor para informarse en relacion a la correcta eleminacion de su electrodomestico viejo.
Apertura manual de la puerta
Si deseña SACAR la ropa de la lavasecadora y no es posible abrir la puertaupon a un corte de energia electrica,proceda del suiviente modo:
- desenchufe laquina.
- verifique que el nivel de agua en el interior de laquina sea inferior al hueco de la puerta; si no es asi,extraiga el agua en excesso utilizing el tubo dedescarga y recogiendola en un balde.
- utiliser la lengüeta indicada en la figura, tire hacía fuera hasta liberar la varilla de plástico del retén; posteriormente tire hacía abajo y simultáneamente abra la puerta.


Interrumpir el agua y la corriente electrica
- Cierre el grifo de agua afterwards de cada lavado. De este modo se limita el desgaste de la instalacion hidráulica de la lavadora y se elimina el peligro de perdidas.
- Desenchufe laquina cuando laDebe limpiar y durante los trabajo de mantenimiento.
Limpiar la lavadora
La parte externa y las partes de goma se pueda limpar con un paño embarbido en agua tibia y jabón. No use solventa ni productos abrasivos.
Limpiar el contentedor de detergentes

Extraiga el contentedor levantándolo y tirándolo hacía fuera (ver la figura). Lávelo bajo del agua corriente, esta limpieza se debe realizar frecuentemente.
Cuidar la puerta y el cesto
- Deje siempre semicerrada la puerta para evitar que se formen malos olores.
Limpiar la bomba
La lavadora posee una bomba autolimpiente que no necesita mantenimiento. Pero puede sueder que objetosAFPFF (monedes, botones) caigan en la precamara que protege la bomba, situada en la parte inferior de la misma.
! Verifique que el ciclo de lavado haya terminado y desenchufe laquina.
Para acceder a la precamara:

-
desenrosque la tapa girandola en sentido antihorario (ver la figura): es normal que se vuelque un poco de agua;
-
limpie con cuidado el interior;
- vuelva a enroscar la tapsa.
Controlar el tubo de alimentación de agua
Controle el tubo de alimentacion al menos una vez al ayo. Si presenta grietas o rajaduras deben ser sustituido: durante los lavados, las fuertes presiones podrjan provocar roturas imprevistas.
No utilise nunca tubos ya usados.
Puede sueder que la lavadora no funciona. Antes de llamar al Servicio de Asistencia Técnica (ver "Asistencia"), controle que no se trate de un problema de fácil solución utilizing lasuma lista.
Anomalías:
Posibles causas / Solución:
La lavadora no se enciende.
- El enchufe no está introducido en la toma de corriente, o no hace contacto.
- En la casa no hay corriente.
El ciclo de lavado no comienza.
- La puerta no está correctamente cerrada.
- El botón ENCENDIDO/APAGADO no ha sido presionado.
- El botón PUESTA EN MARCHA/PAUSA no ha sido presionado.
- El grifo de agua no está abierto.
- Se fijió un retraso de la hora de puesta en marcha (ver "Cómo efectuar un ciclo de lavado").
La lavadora noarga agua (En la pantalla apareceré el mensaje "Sin agua, revisar suministro").
- El tubo de alimentación de agua no está connectado al grifo.
- El tubo estáPEGADO.
- El grifo de agua no está abierto.
- En la casa no hay agua.
- No hay suficiente presión.
- El botón PUESTA EN MARCHA/PAUSA no ha sido presionado.
La lavadoraonga y descarga agua continuamente.
- El tubo de descarga no está instalado entre los 65 y 100 cm. del sueño (ver "Instalación").
- El extremo del tubo de descarga está sumergido en el agua (ver "Instalación").
- La descarga de pared no posee un respiradoro.
Si antes de estas verificaciones, el problema no se resuelve, ciderre el grifo de agua, apague la lavadora y llama a la Asistencia. Si la vivienda se encuentra en uno de los ultimos picos de un edificio, es posible que se verifiquen fenomenos de sifonaje, por ello la lavadoraarga y descarga agua de modo continuo. Para eliminar este inconveniente se encontrarstan disponibles en el commercio valvulas especiales que permiten evaporar el sifonaje.
La lavadora no descarga o no centrifuga.
- El programa no prevé la descarga: con algunos programas es Needed oponerla en marcha manualmente ("Programas y unidades").
- Se puede usar la funciona FÁCIL PLANCHADO: para completar el programa, pulse el botón PUESTA EN MARCHA/PAUSA ("Programas y unidades").
- El tubo de descarga estáPEGado (ver "Instalacion").
- El conductor de descarga está obstruido.
La lavadora vibra多么 durante lacentrifugacion.
- El cesto, en el momento de la instalación, no fue desbloqueado correctamente (ver "Instalación").
- Laquina no está instalada en un lugar plano (ver "Instalación").
- Existe muy poco espacio entre laquina, los muebles y la pared (ver "Instalacion").
La lavadora pierde agua.
- El tubo de alimentación de agua no está bien enroscado (ver "Instalación").
- El contentedor de detergentes está obstruido (para limpiarlo ver "Mantenimiento y@cuidados").
- El tubo de descarga no está bien fjado (ver "Instalación").
Laquina estábloqueada,la pantalla centellea e indica un@cógode anomalía (porej.:F-01,F-.).
- Apague laquina y desenchufela, espere aproximadamente 1 minuto y bajo vuelva a encenderla.
Si la anomía persiste, llame al Servicio de Asistencia Técnica.
Se forma demasiada espuma.
- El detergente no es especialico para la lavadora (debe CONTENER algumas de las frases "para lavadora", "a mano o en lavadora" o similares).
- La dosificacion fue excessiva.
Antes de Ilamar al Servicio de Asistencia Técnica:
- Verifique si la anomália la pourrait resolver Ud. solo (ver "Anomalías y soluciones");
- Vuelva aponer en marcha el programa para controlar si el inconveniente fue resuelto;
- Si no es asi, llame al Servicio de Asistencia的技术a autorizo, al número de téléphone indicado en el certificado de garantía.
! No recurar nunca a技术和 no autorizados.
Comunique:
- el tipo de anomalía;
- el modelos de laquina (Mod.);
- el número de série (S/N).
Esta informacion se encuentra en la placaplicada en la parte posterior de la lavadora y en la parte delantera abriendo la puerta.
La?singularinformacionesaldo soloparaEspana.
Paratherspaisesdehablahispanaconsulteasu vendedor.
Ampliación de garantía
Llame al 902.363.539 y le informaremos sobre el fantástico plan de ampliación de garantía hasta 5 años.
Consiga una cobertura total adicional de
- Piezas y componentes
- Mano deabra de los先进技术
- Desplazamente a su domicilio de los先进技术
Y NO PAGUE AVERIAS NUNCA MAS
Servicio de asistencia技术水平 (SAT)
Llame al 902.133.133 y nuestros技术和 intervendrán con rapidez y eficacia, devolviendo el electrodomestico a sus conditiones óptimas de funcionaimiento.
En el SAT encontrará recambios, accesorios y productos especialicos para la limpieza yostenimiento de su electrodomestico a precios competitivos.
ESTAMOS A SU SERVICIO

Italiano
Sommario
Sistema bilancimiento del carico
ManualFácil