SMLE 129 - Lavatrice SCHOLTES - Manuale utente e istruzioni gratuiti
Trova gratuitamente il manuale del dispositivo SMLE 129 SCHOLTES in formato PDF.
Scarica le istruzioni per il tuo Lavatrice in formato PDF gratuitamente! Trova il tuo manuale SMLE 129 - SCHOLTES e riprendi in mano il tuo dispositivo elettronico. In questa pagina sono pubblicati tutti i documenti necessari per l'utilizzo del tuo dispositivo. SMLE 129 del marchio SCHOLTES.
MANUALE UTENTE SMLE 129 SCHOLTES
Installazione, 44-45-46-47
Disimballo e livellamento
Collegamenti idraulici ed elettrici
Primo ciclo di lavaggio
Dati tecnici
Istruzioni per l'installatore
Descrizione della lavabiancheria, 48-49
Pannello di controllo
Display
Come effettuare un ciclo di lavaggio, 50
Programmi e funzioni, 51
Tabella dei programmi
Funzioni di lavaggio
SMLE 129
Detersivie biancheria, 52
Cassetto dei detersivi
Preparare la biancheria
Programmi particolari
Precauzioni e consigli, 53
Sicurezza generale
Smaltimento
Apertura manuale della porta oblo
Manutenzione e cura, 54
Escludere acqua e corrente elettrica
Pulire la lavabiancheria
Pulire il cassetto dei detersivi
Curare oblo e cestello
Pulire la pompa
Controllare il tubo di alimentazione dell'acqua
Anomalie e rimedi, 55
Assistenza, 56
Assistenza Attiva 7 giorni su 7

! è importante conservare quello libero per poterlo consultare in agli momento. In caso di vendita, cessione o di trasloco, assicurarsi che resti insieme alla lavabiancheria per informare il nuovo proprietario sul funzionamento e sui relativi avvertimenti.
! Leggere attendamente le istruzioni: ci sono importanti informazioni sull'installazione, sull'uso e sulla sicurezza.
Disimballo e livellamento
Disimballo
- Disimballare la lavabiancheria.
- Controllare che la lavabiancheria non abbia subito danni nel trasporto. Se fosse danneggiata non collegarla e contattare il rivenditore.

-
Rimuovere le 4 viti di protezione per il trasporto e il gommino con il relativo distanziale, posti nella parte posteriore (vedi figura).
-
Chiudere i fori con i tappi di plastica in dotazione.
- Conservare tutti i pezzi: qualora la lavabiancheria debba essere trasportata, dovranno essere rimontati.
!Gli imballaggi non sono bianci per bambini.
Livellamento
- Installare la lavabiancheria su un pavimento piano e rigido, alla appoggiarla a muri, mobili o altro.

- Se il pavimento non fosse perfettamente orizzontale, compensare le irregularità svitando o avvitando i piedini anteriors (vedi figura); l'angolo di inclinazione, misurato sul piano di lavoro, non deve superare i 2^
Un accurato livellamento da stabilità alla macchina ed evita vibrazioni, rumori e spostamenti durante il funzionamento. In caso di moquette o di un tappeto, regolare i piedini in modo da conservare quello la lavabiancheria uno spazio sufficiente per la ventilazione.
Collegamenti idraulici ed elettrici
Collegamento del tubo di alimentazione dell'acqua

- Collegare il tubo di alimentazione avvitandolo a un rubinetto d'acqua fredda con bocca filettata da 3/4 gas (vedi figura). Prima di allacciare, far scorrere l'acqua finché non sia limpida.
- Collegare il tubo di alimentazione alla lavabiancheria avvitandolo all'apposita presa d'acqua, nella parte posteriore in alto a destra (vedi figura).

- Fare attenzione che nel tubo non ci siano né pieghe né strozzature.
! La pressione idrica del rubinetto deve essere compresa nei valori della tabella Dati tecnici (vedi pagina a fianco).
! Se la lunghezza del tubo di alimentazione non fosse sufficiente, rivolgersi a un negotio specializzato o a un techniciano autorizzato.
! Non utilizzato mai tubi già usati.
! Utilizzare quelli in dotazione alla macchina.
Collegamento del tubo di scarico

Collegare il tubo di scarico,enza piegarlo, a una conduttura di scarico o a uno scarico a muro posti tra 65 e 100 cm da terra;

oppure appoggiarlo al bordo di un lavandino o di una vasca, legando la guida in dotazione al rubinetto (vedi figura). L'estremità libera del tubo di scarico non deve rimanere immersa nell'acqua.
! è sconsigliato usare tubi di prolunga; se indispensabile, la prolunga deve averere lo stesso diametro del tubo originale e non superare i 150 cm.
Collegamento elettrico
Prima di insereire la spina nella presa della corrente, accertarsi che:
- la presa abbia la messa a terra e sua a normali legge;
- la presa sia in grado di sostortare il carico massimo di potenza della macchina,indicato nella tabella Dati tecnici (vedi a bianco);
- la tensione di alimentazione sia compresa nei valori indicati nella tabella Dati tecnici (vedi a fierco);
- la presa sia compatibile con la spina della lavabiancheria. In caso contrario sostuire la presa o la spina.
! La lavabiancheria non va installata all'aperto, nemmeno se lo spazio è riparato, perché è molto pericoloso lasciarla esposta a pioggia e temporali.
! A lavabiancheria installata, la presa della corrente deve essere facilemente raggiungibile.
! Non usare prolonghe e multiple.
! Il cavo non deve subire piegature o compressioni.
! Il cavo di alimentazione deve essere sostituito solo da tecnici autorizzati.
Attenzione! L'azienda declina agli responsabilità qualora queste norme non vengano rispetto.
Primo ciclo di lavaggio
Dopo l'installazione, prima dell'uso, effettuare un ciclo di lavaggio con detersivo e alla biancheria impostando il programma.
| Dati tecnici | |
| Modello | SMLE 129 |
| Dimensioni | larghezza cm 59,5 altezza cm 81,5 profondità cm 54,5 |
| Capacità | da 1 a 7 kg |
| Collegamenti elettrici | vedi la targhetto caratteristiche tecniche applicata sulla macchina |
| Collegamenti idrici | pressione massima 1 MPa (10 bar) pressione minima 0,05 MPa (0,5 bar) capacità del cesto 52 litri |
| Velocità di centrifuga | sino a 1200 giri al minuto |
| Programmi di controllo secondo la norma EN 60456 | programma (1°pressione del tasting); temperatura 60°C; effettuato con 7 kg di carico. |
| CE | Questa apparecchiaura è conforme alle seguenti Diretive Comunitarie: - 2004/108/CE (Compatibility Elettromagnetica) - 2002/96/CE - 2006/95/EC (Bassa Tensione) |
Istruzioni per I'installatore
Applicazione del pannello in legno alla porta e insertimento della macchina nei mobili:
Nel caso in cui, après il montaggio del pannello in legno, sia necessario spedire la macchina per l'installazione finale, consigliamo di lasciarla nel suo imballo originale. A questo scopo l'imballo è stato realizzato in modo da permettere il montaggio del pannello di legno sulla macchinaenza disimballare completamente il prodotto (vedi figure sottostanti).
Il pannello di legno che copre la facciata non deve essere di spessore inferiore a 18 mm e più essere incernierato sua sul lato destro che sinistro. Per ragioni di praticità d'uso della macchina consigliamo lo stesso senso di apertura dell'oblò con le cerniere applicate sul lato sinistro.

A

B

C

D

E

Accessori montaggio portina (Fig. 1-2-3-4-5).
Fig. 1

Fig. 2

Fig. 3

Fig. 4

Fig. 5

Fig. 4/B
- n^6 viti autopilettanti I = 13 mm "tipoa".
- n^2 viti metriche testasvasata l = 25mm "tipoeB";per il fissaggio del risconto magnete al mobile.
- n^4 viti metriche l = 15 ~mm "tipoc"; per il montaggio dei supporti cerniera al mobile.
- n^4 viti metriche I = 7mm "tipod";per il montaggio delle cerniere ai supporti.
Montaggio dei particolari sulla facciata della macchina.
- Montare i supporti cerniera alla facciata posizionando il foro indicate da una freccia nella fig. 1 versus l'interno della facciata interponendo un distanziale (fig. 4/B), utilizzando le viti tipo C.
- Montare il risconto magnete alla parte opposta in alto interponendo due distanziali (fig. 4/B) utilizzando le due viti tipo B.
Uso della maschera di foratura.
- Per tracciare le posizioni dei fori sul lato sinistro del pannello, allinerare la maschera di foratura al lato superiore e sinistro del pannello facendo riferimento alle linee tracciate alle estremità.
- Per tracciare le posizioni dei fori sul lato destro del pannello, allinerare la maschera di foratura al lato superiore e destro del pannello.
- Con una fresa di adeguate dimensioni realizazze le quattro sedi che dovranno alloggiare le due cerniere, il tassello di gomma e il magnete.
Montaggio dei particolari sul pannello di legno (Antina).
- Inserire le cerniere nelle sedi predisiposte (la parte mobile della cerniera deve trovarsi verso l'esterno del pannello) e fissarle con 4 viti del tipo A.
- Inserire il magnete nella sede in alto alla parte opposa alle cerniere e fissarlo con due viti tipo B.
- Inserire il tassello in gomma nella sede in basso. Il pannello è ora pronto per essere montato sulla macchina.
Montaggio del pannello alla macchina.
Inserire il nasello della cerniera indicate alla freccia nella fig. 2 nella sede del supporto cerniera spingere il pannello verso la facciata della macchina e fissare le due cerniere con le due viti tipo D.
Fissaggio della guida zoccolo.
Se la macchina è installata ad una estremità della cucina componibile montare una o entrambre le guide zoccolo come indicato in fig. 8, regolandone la profondità in funzione della posizione dello zoccolo e se necessario fissarlo alle stesse (fig. 9).
Per montare la guida zoccolo agire cone segue (fig. 8): Fissare la squadretta P con la vite R, infrilare la guida zoccolo Q nell'apposita asola e una volta posizionata nel punto desiderato bloccarla alla squadretta P con la vite R.
Inserimento della macchina nei mobili.
- Spingere l'apparecchio nell'apertura allineandola con gli altri mobili (fig. 6).
- Agire sui piedini di regolazione per portare la macchina all'altezza desiderata.
- Per regolare la posizione del pannello in legno in senso verticale ed orizzontale, agire sulle viti C e D come indicato in fig. 7.
Importante: chiudere la parte inferiore della facciata con lo zoccolo a battuta sul pavimento.

Fig. 6

Fig. 7

Fig. 8

Fig. 9
Accessorini dotazione per la regolazione in altezza.
Alloggiate nel coperchio di polistirolo (fig. 10) si trovano: 2 traverse (G); 1 listello (M)

Fig. 10
all'internodelcestello siovano:
4 piedini supplementari (H)
4 viti (I)
4 viti (R)
4 dadi (L)
2 guide zoccolo (Q)
Regolazione in altezza della macchina.
La macchina può essere regolata in altezza (da 815 mm a 835 mm) agli sui 4 piedini.
Se si desidera portarla ad un'altezza superiore a quella sopraindicata, arrivando fino a 870 mm, occorre utilizzato i seguenti accessori:
le 2 traverse (G) ; i 4 piedini (H) ; le 4 viti (I) ; i 4 dadi (L) , quindi agire come segue (fig. 11):
togliere i 4 piedini originali, posizionare una traversa G nella parte anteriore della macchina, fissarla con le viti I (avvitandole nei fori dove erano montati i piedini originali) quindi insere i nuovi pedini H.
Ripetere la stessa operazione nella parte posteriore della macchina. A quello punto regolando i piedini H la macchina può abbassata o alzata da 835 mm a 870 mm.
Una volta raggiunta l'altezza desiderata bloccare i dadi L alla traversa G.
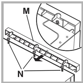
Per regolare la macchina ad un'altezza compresa tra 870 mm e 900 mm occorre montare il listello M regolando i piedini H sino all'altezza desiderata. Per inseire il listello agire come segue: allentare le tre viti N poste nella parte anteriore della copertura Top, inseire il listello M come indicato nella fig. 12, quindi bloccare le viti N.

Fig. 11

Fig. 12
Descrizione della lavabiancheria
Pannello di controllo

Cassetto dei detersivi: per caricare detersivi e additivi (vedi "Detersivi e biancheria").
Tasto ACCENSIONE/SPEGNIMENTO: premere brevamente il tasto per accendere o spegnere la macchina. La spia START/PAUSE che lampeggia lentamente di colore verde indica che la macchina è accesa. Per spegnere la lavabiancheria durante il lavaggio è necessario tenere premuto il tasto più a lungo, circa 2 sec.; una pressione breve o accidentale non permetterà lo spegnimento della macchina. Lo spegnimento della macchina durante un lavaggio in corso annulla il lavaggio stesso.
Tasti SELETTORE PROGRAMMI: per impostare il programma desiderato (vedi "Tabella dei programmi").
Tasto MEMO: tenere premuto il tasting per memorizzare un ciclo e le proprie personalizzazioni preferite. Per richiamare un ciclo precedentemente memorizzato premere il tasting MEMO.
Tasti FUNZIONE: premere il tasto per selezionare la funzione desiderata. Sul display si illuminerà la spia relativa.
Tasto CENTRIFUGA: premere per ridurre o escludere del tutto la centrifuga; il valore viene indicate nel display.
Tasto TEMPERATURA: premere per ridurre la temperatura; il valore viene individato nel display.
Tasto BLOCCO TASTI: per attivare il blocco del pannello di controllo, tenere premuto il tasto per circa 2 secondi. Il significato acceso indica che il pannello di controllo è bloccato. In quello modo si impediscono modifiche accidentali dei programmi, soprattutto se in casa ci sono dei bambini.
Per disattivare il blocco del pannello di controllo, tenere premuto il tasto per circa 2 secondi.
Tasto PARTENZA RITARDATA: premere per impostare una partenza ridartata del programma prescelto; il ritardo viene indicato nel display.
Tasto con spia START/PAUSE: quando la spia verte lampeggia lentamente, premere il tasting per avviare un lavaggio. A ciclo avviato la spia diventa fissa. Per mettere in pausa il lavaggio, premere nuovamente il tasting; la spia lampeggerà con colore arancione. Se il significolo non è illuminato, si pourrait a priorè l'oblò. Per far ripartire il lavaggio dal punto in cui è stato interrotto, premere nuovamente il tasting.
Modalità di stand by
Questa lavatrice, in conformità alle nuove normative legate al risparmio energetico, è dotata di un sistema di autospegnimento (stand by) che entra in funzione dopo circa 30 minuti nel caso di non utilizzato. Premere brevamente il tasto ACCENSIONE/ SPEGNIMENTO e attendere che la macchina si riattivi.
Display

Il display è utile per programmare la macchina e fornisce molteplici informazioni.
Nelle due stringhe superiore A e B vengono visualizzati il programma di lavaggio selezionato, la fase di lavaggio in corso e tutte leindicazioni relative allo stato d'avanzamento del programma.
Nella stringa Ciene visualizzato il tempo residuo alla fine del ciclo di lavaggio in corso e nel caso fosse stata impostata una PARTENZA RITARDATA, il tempo mancante all'avvio del programma selezionato.
Nella stringa Diene visualizzato il valore massimo della velocità della centrifuga che la macchina può effettuire in base al programma impostato; se il programma non predeve la centrifuga la stringa resta spenta.
Nella stringa Eiene visualizzato il valore massimo della temperatura che si può selezionare in base al programma impostato; se il programma non preveDE l'impostazione della temperatura la stringa resta spenta.
Le spie F sono relative alle funzioni e si accendono quando la funzione selezionata è compatible con il programma impostato.
Simbolo Oblo bloccato O
Il symbolo acceso indica che l'oblò è bloccato per impedire aperture accidentali. Per evitare danni è necessario attendere che il symbolo si spenga prima di aprire l'oblò.
N.B.: se è attiva la funzione PARTENZA RITARDATA l'oblo non si può, per aprirlo mettere la macchina in sua premendo il tasting START/PAUSE.
! Alla prima accensione verrà richiesto di selezionare la lingua ed il display entrè automaticamente nel menu di selezione lingua.
Per scegliere la lingua desiderata premere i tasti X e Y, per confirmare la scelta premere il tasto Z. Se si vuoleambiare lingua, spegnere la macchina, premere contemporaneamente i tre tasti indicati nella figura con il riferimento L sino a sentire un segnale acustico, riaccendere la macchina, verrà visualizzato il menu di selezione lingua.
Come effettuare un ciclo di lavaggio
- ACCENDERE LA MACCHINA. Premere il tasting, sul display comparirà la scritta OK; la spia START/PAUSE lampeggerà lentamente di colore verde.
- CARICARE LA BIANCHERIA. Apriere la porta oblo. Caricare la biancheria facendo attenzione a non superare la quantità di carico indicata nella tabella programmi della pagina seguente.
- DOSARE IL DETERSIVO. Estrarre il cassetto e versare il detersivo nelle apposite vaschette come spiegato in "Detersivi e biancheria".
- CHIUDERE L'OBLO'.
- SCEGLIERE IL PROGRAMMA. Premere uno dei tasti del SELETTORE PROGRAMMI per selezionare il programma desiderato; il nome del programma comparirà sul display; adesso è associata una temperatura e una velocità di centrifuga che possono essere modificate. Sul display comparirà la durata del ciclo.
- PERSONALIZZARE IL CICLO DI LAVAGGIO.
Agire sugli appositi tasti:
Modificare la temperatura e/o la centrifuga. La macchina selezione automaticamente la temperatura e la centrifuga massime previste per il programma impostato e non possono pertanto essere aumento. Premendo il tasto si riduce progressivement la temperature sino al lavaggio a freddo "OFF". Premendo il tasto si riduce progressively la centrifuga sino alla sua esclusione "OFF". Un'ulteriore pressione dei tasti riportera i valori a quelli massimi previsti.
Impostare una partenza ritardata.
Per impostare la partenza ritardata del programma prescelto, premere il tasto relative fino a raggiungere il tempo di ritardo desiderato. Quando tale opzione è attiva, sul display si illumina il significolo. Per rimuovere la partenza ritardata premere il tasto fino a che sul display compare la scritta "OFF".
Modificare le caratteristiche del ciclo.
- Premere il tasto per attivare la funzione; la spia corrispondente al pulsante si accenderà.
- Premere nuovamente il tasto per disattivare la funzione; la spia si spegnerà.
! Se la funzione selezionata non è compatible con il programma impostato, la spia lampeggerà e la funzione non verrà attivata.
! Se la funzione selezionata non èCompatible con un'altra precedentemente impostata, la spia relativà alla prima funzione selezionata lampeggerà e verrà attivata solo la seconda, la spia della funzione attivata si illuminerà.
! Le funzioni possono variate il carico raccommando e/o la durata del ciclo.
-
AVVIARE IL PROGRAMMA. Premere il tasting START/PAUSE. La spia relativa si illuminerà di colore verde fisso e l'oblo si bloccherà (simpilo OBLO'BLOCCATO – o acceso). Durante il lavaggio, sul display comparirà il nome della fase in corso. Per cancellare un programma nelle un ciclo è in corso, mettere la lavabiancheria in停下a premendo il tasting START/PAUSE (la spia START/PAUSE lampeggerà lentamente di colore arancione); selezionare quando il ciclo desiderato è premere nuovamente il tasting START/PAUSE. Per aprire la porta perché un ciclo è in corso premeire il tasting START/PAUSE; se il simbolo OBLO'BLOCCATO – o è spenta sare possibile aprire l'oblo. Premere nuovamente il tasting START/PAUSE per far ripartire il programma dal punto in cui era stato interrotto.
-
FINE DEL PROGRAMMA. Viene individata alla scritta "FINE CICLO" sul display, quando il symbolo OBLO'BLOCCATO si spegnerà sare possibile après l'oblo. Après l'oblo, scaricare la biancheria e spegnere la macchina.
! Se si desidera annullare un ciclo gli avviato, premere a lungo il tasto ① . Il ciclo verrà interroglo e la macchina si spegnerà.
Tabella dei programmi
| Programmi | Descrizione del Programma | Temp. max. (°C) | Velocità max. (giri al minuto) | Detersivi | Carico max. (Kg) | Carico max. (Kg) | Durata ciclo | |||
| Prela-vaggio | Candeg-gina | Lavag-gio | Ammorbi-dente | Norma-le | Mini Carico | |||||
| Programmi Giornalieri | E' possibile controllare la durata dei programmi di lavaggio sul display. | |||||||||
| Cotone (*) (1° pressione del tasto): bianchi estremamente sporchi. | 90° | 1200 | ● | ● | ● | ● | ● | 7 | 3 | |
| Cotone (2° pressione del tasto): bianchi e colorati resistenti molto sporchi. | 60° | 1200 | ● | ● | ● | ● | ● | 7 | 3 | |
| Cotone (3° pressione del tasto): bianchi e colorati delicati molto sporchi. | 40° | 1200 | ● | ● | ● | ● | ● | 7 | 3 | |
| Sintetici (1° pressione del tasto): colori resistenti molto sporchi. | 60° | 800 | ● | ● | ● | ● | ● | 3 | 1,5 | |
| Sintetici (2° pressione del tasto): colori resistenti poco sporchi. | 40° | 800 | ● | ● | ● | ● | ● | 3 | 1,5 | |
| Mix 30' (1° pressione del tasto): per rinscarea rapidamente capi poco sporchi (non indicato per lana, seta e capi da lavare a mano). | 30° | 800 | - | - | ● | ● | ● | 3 | - | |
| Mix 15' (2° pressione del tasto): per rinscarea rapidamente capi poco sporchi (non indicato per lana, seta e capi da lavare a mano). | 30° | 800 | - | - | ● | ● | ● | 1,5 | - | |
| Programmi Speciali / Memo | ||||||||||
| Ciclo Baby: colori delicati molto sporchi. | 40° | 800 | - | ● | ● | ● | ● | 2 | 1 | |
| Memo: permette di memorizzare un qualiasi cielo di lavaggio. | ||||||||||
| Seta/Tende: per capi in seta, viscosa, lingerie. | 30° | 0 | - | - | ● | ● | ● | 1 | 1 | |
| Lana: per lana, cachemire, ecc. | 40° | 600 | - | - | ● | ● | ● | 1,5 | 1 | |
| Programmi Parziali | ||||||||||
| Centrifuga (1° pressione del tasto). | - | 1200 | - | - | - | - | - | 7 | - | |
| Centrifuga delicata (2° pressione del tasto). | - | 800 | - | - | - | - | - | 3 | - | |
| Risciacquo (1° pressione del tasto). | - | 1200 | - | ● | - | ● | ● | 7 | 3 | |
| Scarico (2° pressione del tasto). | - | 0 | - | - | - | - | - | 7 | - | |
Per tutti Test Institutes:
* Programma di controlo secondo la norma EN 60456: impostare il programma cotone con una temperaura di 60^
Funzioni di lavaggio

Antimacchia
Questa funzione è utile per eliminare le macchie più resistenti.

Inserire la vaschetta
aggiuntiva 4, in
dotazione, nella
vaschetta 1.
Nel dosare la candeggina non superare il livello "max" indicato sul perno centrale (vedi figura). Per effettuare solo il
candeggio versare la
candeggina nella
vaschetta aggiantiva 4, impostare il programma "Risciacquo" e attivare la funzione "Antimacchia". Per candegliare durante il lavaggio versare il detersivo e gli additivi, impostare il programma desiderato e attivare la funzione "Antimacchia".
! L'utilizzo della vaschetta aggiuntiva 4 esclude il prelimavaggio.
Non è attivabile sui programmi, , , , , "Scarico".

Prelavaggio
Selezionando esta funzione si effettua il prelimavaggio, utile per rimuovere macchie ostinate.
N.B.: Aggiungere il detersivo nell'apposto scomparto.
Non èattivabile sui programmi ②, ③, ④, ⑤, ⑥, ⑦.

Extra Risciacquo
Selezionando esta opzione si aumento l'efficacia del risciacquo, e si assicura la massima rimozione del detersivo. E' utile per pelli particolarmente sensibili.
!Non èattivabile sui programmi 已 , ,“Scarico”.

Stira facile
Selezionando esta funzione, il lavaggio e la centrifuga saranno opportunistamente modificati per ridurre la formazione di pieghe. Al temine del ciclo la lavabiancheria effettuerà delle lente rotazioni del cestello; lla spia della funzione STIRA FACILE e quella di AVVIO/PAUSA lampeggeranno (arancione) e la scritta "FINE CICLO" apparirà su display. Per terminare il ciclo si dovrè premere il tasting AVVIO/PAUSA o il tasting STIRA FACILE.
Nel programma "Seta" la macchina terminerà il ciclo con la biancheria in ammollo, la spia della funzione STIRA FACILE e quella di AVVIO/PAUSA lampeggeranno (arancione) e la scritta "IDROSTOP" apparirà su display. Per scaricare l'acqua e poter rimuovere il bucato sare necessario premere il tasting START/PAUSE o il tasting STIRA FACILE.
Non èattivabile sui programmi ,, 出 e "Scarico".

Mini carico
Si consiglia di usare questa funzione quando la biancheria da lavare è parl ed inferiore alla metà del carico massimo consigliato (vedi Tabella programmi).
!Non e attivabile sui programmi 念 9e "Scarico".
Cassetto dei detersivi
Il buon risultato del lavaggio dipendeanche dal corretto dosaggio del detersivo: eccedendo non si lava in modo più efficace e si contribuisce a incro-stare le parti interne della lavabiancheria e a inquina- re l'ambiente.
! Non usare detersivi per il lavaggio a mano, perché formano troppa schiuma.

Estrarre il cassetto dei detersivi e insere il detersivo o l'additivo come segue.
vaschetta 1: Detersivo per prelavaggio (in polvere)
Prima di versare il detersivo verificare che non sia insertita la vaschetta aggiuntiva 4.
vaschetta 2: Detersivo per lavaggio (in polvere o liquido)
Il detersivo liquido va versato solo prima dell'avvio.
vaschetta 3: Additivi (ammorbidente, ecc.)
L'ammorbidente non deve fuoriuscire alla griglia.
vaschetta aggiuntiva 4: Candeggina
Prepare la biancheria
- Suddividere la biancheria secondo:
- il tipo di tessuto / il symbolo sull'etichetta.
- i colori: separare i capi colorati da quelli bianchi.
- Vuotare le tasche e controllare i bottoni.
- Non superare i valori indicati, riferiti al peso della biancheria asciutta:
Tessuti resistenti: max 7 kg
Tessuti sintetici: max 3 kg
Tessuti delicati: max 2 kg
Lana: max 1,5 kg
Seta: max 1 kg
Quanto pesa la biancheria?
1 lenzuolo 400-500 gr.
1 federa 150-200 gr.
1 tovaglia 400-500 gr.
1 accappatoio 900-1200 gr.
1 asciugamano 150-250 gr.
Programmi particulari
Mix 30^! : è studiato per lavare capi leggermente sporchi in poco tempo: dura solo 30 minuti e faosi risparmiare energia e tempo. Impostando il programma (a 30^ ) è possibile lavare insieme tessuti di diversa natura (esclusi lana e seta) con un carico massimo di 3 kg.
Mix 15: è studiato per lavare capi leggermente sporchi in molto tempo: dura solo 15 minuti e faosi risparmiare energia e tempo. Impostando il programma (a 30°C) è possibile lavare insieme tessuti di diversa natura (esclusi lana e seta) con un carico massimo di 1,5 kg.
Baby:programma in grado di asportare lo sporco tipico dei bambini garantendo la rimozione del detersivo dai panni onde evitare allergie alla pelle delicata dei bambini. Il ciclo è stato studiato per ridurre la carica batterica utilizzando una maggior quantità di acqua e ottimizzato l'effetto di additivi specifici igenizzanti aggiunti al detersivo.
Al temine del lavaggio la macchina effettuerà delle lente rotazioni del cestello; per terminare il ciclo premere il tasto START/PAUSE.
Seta:utilizzare l'appostoprogramma 念 per lavare tutti i capi in seta. Si consiglia l'utilizzo di un detersivo specifico per capi delicati.
Tende: si raccomanda di piegarle e sistemarle dentro una federa o un sacchetto a rete. Utilizzato il programma.
Lana: Scholtès è l'unica lavabiancheria ad aver ottenuo il prestigioso riconoscimento Woolmark Platinum Care (M.0508) da parte di The Woolmark Company, che certifica il lavaggio in lavatrice di tutti i capi in lana,anche quelli recanti l'etichetta "solo
lavaggio a mano" ①. Con il programma ② si ha quindi l'assoluta tranquilità di lavare in lavatrice tutti i capi in lana (max. 1,5 kg) con la garanzia delle migliorori performance.
Sistema bilanciamento del carico
Prima di anni concentrifica, per evitare vibrazioni eccessive e per distribuire il carico in modo uniforme, il cestello effettua delle rotazioni ad una velocità leggermente superiore a quella del lavaggio. Se al termine di ripetuti tentativi il carico non fosse più correttamente bilanciato la macchina effettua la centrifuga ad una velocità inferiore a quella prevista. In presenza di eccessivo sbilanciamento la lavabiancheria effettua la distribuzione anzichè la centrifuga. Per favore una migliorie distribuzione del carico e il suo corretto bilanciamento si consiglia di mescolare capi grande e piccoli.
! La lavabiancheria è stata progettata e costruita in conformità alle norme internazionali di sicurezza. Queste avverenze sono fornite per ragioni di sicurezza e devono essere lette attendamente.
Sicurezza generale
- Questo appearecchio è stato concepito escludamente per un uso di tipo domestico.
- L'apparecchio non deve essere utilizzato da persona (bambini compresi) con disponà fisiche, sensoriali o mentali ridotte e con esperenze e conoscenze insufficienti, a meno che tale utilizzato non avenga sotto la supervisione o le istruzioni di una persona responsable della loro sicurezza. I bambini devono essere sorvegliati per garantire che non giochino con l'apparecchio.
- Non toccare la macchina a piedi nudi o con le mani o i piedi bagnati o umidi.
Non staccare la spina dalla presa della corrente tirando il cavo, bensi afferrando la spina.
Non après il cassetto dei detersivi nelle macchina è in funzione. - Non toccare l'acqua di scarico, che puo raggiungere temperature elevate.
- Non forzare in nessun caso l'oblò: potrebbe danneggiarsi il meccanismo di sicurezza che protege da aperture accidentali.
- In caso di guasto, in nessun caso accedere ai meccanismi interni per tentare una riparazione.
- Controllare sempre che i bambini non si avvicinino alla macchina in funzione.
- Durante il lavaggio l'oblo tends a scaldarsi.
- Se dev'essere spostata, lavorare in due o tre persone con la massima attenzione. Mai da soli perché la macchina è molto pesante.
- Prima di introdurre la biancheria controlling che il cestello sia vuoto.
Smaltimento
- Smaltimento del materiale di imballaggio: atteneri alle norme locali,osi gli imballaggi potranno essere riutilizzati.
- La direttiva Europea 2002/96/CE sui rifiuti di apparecchiature elettriche ed elettroniche, prevede che gli elettrodomestici non debbano essere smaltiti nel normale flusso dei rifiuti solidi urbani. Gli apparecchi dismessi devono essere raccolti separatamente per ottimizzare il tasso di recupero e riciclaggio dei materiali che li compongono ed impedire potenziali danni per la salute e l'ambiente. Il significolo del cestino barrato è riportato su tutti i prodotti per ricordare gli obblighi di raccolta separata.
Per ulteriori informazioni, sulla corretta dismissione degli elettrodomestici, i detentori potranno rivolgersi al servizio pubblico preposto o ai rivenditori.
Apertura manuale dell'oblo
Nel caso non sia possibile après l'oblò a causa della mancanza di energia elettrica e volete stendere il bucato, procedere come segue:
- togliere la spina alla presa di corrente.
- verificate che il livello dell'acqua all'interno della macchina sia inferiore rispetto all'apertura dell'oblio; in caso contrario togliere l'acqua in eccedenza attraverso il tubo di scarico raccogliendola in un secchio.
3.'utilizzando la linguetta indicata in figura tirare versuso l'esterno fino a liberare il tirante in plastica dal fermo; tirarlo successivamente versuso il basso e contemporaneamente après la porta.

Escludere acqua e corrente elettrica
- Chiudere il rubinetto dell'accqua dopo ogni lavaggio. Si limita così l'usura dell'impianto idraulico della lavabiancheria e si elimina il pericolò di perdite.
- Staccare la spina della corrente quando si pulisce la lavabiancheria e durante i lavori di manutenzione.
Pulire la lavabiancheria
La parte esterna e le parti in gomma possono essere puliti con un panno imbevuto di acqua tiepida e sapone. Non usare solventi o abrasivi.
Pulire il cassetto dei detersivi

Sfilare il cassetto sollevandolo e tirandolo versusl'esterno (vedi figura).
Lavarlo除去l'acqua corrente;questa pulizia va effettuata frequentlymente.
Curare oblo e cestello
- Lasciare sempre socchiuso l'oblò per evitare che si formino cattivi odori.
Pulire la pompa
La lavabiancheria è dotata di una pompa.
autopulente che non ha bisogno di manutenzione.
Può perché succedere che piccoli oggetti (monete, bottoni) cadano nella precamera che protegge la pompa, situata nella parte inferiore diessa.
Assicurarsi che il ciclo di lavaggio sia terminato e staccare la spina.
Per accedere alla precamera:

-
svitare il coperchio
ruotandolo in senso
antiorario (vedi figura): è
normale che fuoriesca
un po' d'acqua; -
pulire accuramente l'interno;
- riavvitare il coperchio;
Controllare il tubo di alimentazione dell'acqua
Controllare il tubo di alimentazione almeno una volta all'anno. Se presenta screpolature e fessure va sostituito: durante i lavaggi le forti pressioni potrebbero provocare improvvisile spaccature.
! Non utilizzato mai tubi già usati.
Può accadere che la lavabiancheria non funzioni. Prima di Telefonare all'Assistenza (vedi "Assistenza"), controllare che non si tratti di un problema facilemente risolvibile aiutandosi con il seguente elenco.
Anomalie:
La lavabiancheria non si accende.
Il ciclo di lavaggio non inizia.
La lavabiancheria non carica acqua (nel display apparirà la scitta "MANCA L'ACQUA, APRI IL RUBINETTO").
La lavabiancheria carica e scarica acqua di continuo.
La lavabiancheria non scarica o non centrifuga.
La lavabiancheria vibramolto durante la centrifuga.
La lavabiancheria perde acqua.
La macchina è bloccata, il display lampeggia e segnala un codice di anomalia (es.: F-01, F-.).
Si forma troppa schiuma.
Possibili cause / Soluzione:
- La spina non è inserita nella presa della corrente, o non abbastanza da fareicontatto.
In casa non c'é corrente.
L'oblò non è ben chiuso.
- Il tasting ACCENSIONE/SPEGNIMENTO non è stato premuto.
- Il tasting START/PAUSE non è stato premuto.
Il rubinetto dell'acqua non è aperto.
- Si è impostato un ritardo sull'ora di avvio (PARTENZA RITARDATA, vedi "Come effettuare un ciclo di lavaggio").
- Il tubo di alimentazione dell'acqua non è collegato al rubinetto.
Il tubo è piegato.
Il rubinetto dell'acqua non è aperto.
In casa manca l'acqua.
Non c'é sufficiefte pressione. -
Il tasting START/PAUSE non è stato premuto.
-
Il tubo di scarico non è installato fra 65 e 100 cm da terra (vedi "Installazione").
- L'estremità del tubo di scarico è immersa nell'acqua (vedi "Installazione").
- Lo scarico a muro non ha lo sfiato d'aria.
Se dopo queste verifiche il problema non si risolve, chiudere il rubinetto dell'acqua, spegnere la lavabiancheria e chiamare l'Assistenza. Se l'abitazione si trovaagli ultimi piani di un edificio, è possibile che si verificchino fenomeni di sifonaggio, per cui la lavabiancheria carica e scarica acqua di continuo. Per eliminare l'inconveniente sono disponibili in commercio apposite valvole anti-sifonaggio.
- Il programma non precede lo scarico: con alcuni programmi occorre avviarlo manualmente.
- É attiva la funzione STIRA FACILE: per completeness il programma premere il tasto START/PAUSE ("Programmi e funzioni").
- Il tubo di scarico è piegato (vedi "Installazione").
-
La conduttura di scarico è ostruita.
-
Il cestello, al momento dell'installazione, non è stato sbloccato correttamente (vedi "Installazione").
-
La lavabiancheria non è in piano (vedi "Installazione").
-
La lavabiancheria è stretta tra mobili e muro (vedi "Installazione").
-
Il tubo di alimentazione dell'acqua non è ben avvitato (vedi "Installazione").
- Il cassetto dei detersivi è intasato (per pulirlo vedi "Manutenzione e cura").
-
Il tubo di scarico non è fissato bene (vedi "Installazione").
-
Spagnere la macchina e togliere la spina alla presa, attendere circa 1 minuto quindi riaccenderla.
Se I'anomalia persistshe, chiamare I'Assistenza.
- Il detersivo non è specifico per lavabiancheria (deve esserci la dicitura "per lavatrice", "a mano e in lavatrice", o simili).
- Il dosaggio è stato eccessivo.
Prima di contattare l'Assistenza:
- Verificare se l'anomalia può essere risolta da soli (vedi "Anomalie e rimedi");
- Riaviare il programma per controllare se l'inconveniente è stato oviato;
- In caso negativo, contattare ilNumero Unico 199.199.199*.
Non ricorrere mai a tecnici non autorizzati.
Comunicare:
- il tipo di anomalia;
- il modello della macchina (Mod.);
- il numero di serie (S/N).
Queste informazioni si trovano sulla targhetta applicata nella parte posteriore della lavabiancheria e nella parte anteriorergyzd oI'oblò.
Assistenza Attiva 7 giorni su 7


In caso di necessità d'intervento chiamare ilNumero Unico Nazionale 199.199.199*.
Un operatore sare a completinga disposizione per fissare un appuntamento con il Centro Assistenza Tecnico Autorizzato più vicino al luogo da cui si chiama.
É arrivó 7 giorni su 7, sabato e domenica compresi, e non lascia mai inascoltata una richiesta.
Notice-Facile