WS440 HF - Concrete cutter HUSQVARNA - Free user manual and instructions
Find the device manual for free WS440 HF HUSQVARNA in PDF.
User questions about WS440 HF HUSQVARNA
0 question about this device. Answer the ones you know or ask your own.
Ask a new question about this device
Download the instructions for your Concrete cutter in PDF format for free! Find your manual WS440 HF - HUSQVARNA and take your electronic device back in hand. On this page are published all the documents necessary for the use of your device. WS440 HF by HUSQVARNA.
USER MANUAL WS440 HF HUSQVARNA
Please read the operator's manual carefully and make sure you understand the instructions before using the machine.
ES
Symbols on the machine:
WARNING! The machine can be a dangerous tool if used incorrectly or carelessly, which can cause serious or fatal injury to the operator or others.
Please read the operator's manual carefully and make sure you understand the instructions before using the machine.
Always wear:
Approved protective helmet
Approved hearing protection
Protective goggles or a visor
- Breathing mask
Grease daily.
This product is in accordance with applicable EC directives.
Environmental marking. Symbols on the product or its packaging indicate that this product cannot be handled as domestic waste. It must instead be submitted to an appropriate recycling station for the recovery of electrical and electronic equipment.
By ensuring that this product is taken care of correctly, you can help to counteract the potential negative impact on the environment and people that can otherwise result through the incorrect waste management of this product.
For more detailed information about recycling this product, contact your municipality, your domestic waste service or the shop from where you purchased the product.




Symbols in the operator's manual:
Inspection and/or maintenance shall be carried out with the motor switched off and the plug to the power unit disconnected.
Always wear approved protective gloves.
Regular cleaning is required.
Visual check.
Protective goggles or a visor must be worn.





Contents
KEY TO SYMBOLS
Symbols on the machine: 2
Symbols in the operator's manual: 2
CONTENTS
Contents 3
WHAT IS WHAT?
What is what on the wall saw? 4
SAFETY INSTRUCTIONS
Steps before using a new wall saw 5
Personal protective equipment 5
General safety precautions 6
General working instructions 6
Basic working techniques 7
PRESENTATION
WS 440 HF 8
ASSEMBLY
Mount wall mountings and rail 9
Mount the saw carriage and saw 9
Fit the blade 10
Flush cutting 10
Fit the blade guard 11
Connect the power unit 11
STARTING AND STOPPING
Before starting 12
Starting 12
Stopping 12
Dismantling the saw 12
Cleaning 12
SETTINGS AND ADJUSTMENTS
Adjusting the guide wheels 13
Adjust the saw carriage 13
MAINTENANCE
Service 14
Maintenance 14
Daily maintenance 14
TECHNICAL DATA
WS 440 HF 15
EC-declaration of conformity 17





10

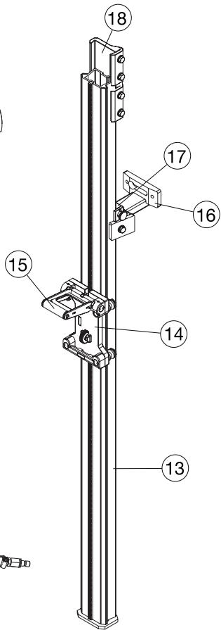
What is what on the wall saw?
1 Saw unit
2 Cutting arm
3 Propulsion engine, blade
4 Cable connection
5 Protective cover
6 Handle/blade guard mount
7 Hose connection, water in
8 Water hose
9 Blade flange hub
10 Outer blade flange
11 Blade guard guide
12 Blade guards
13 Track
14 Saw carriage
15 Locking handle
16 Wall mounting
17 Track holder
18 Connector
19 Cleaning brush
20 Tool kit
21 Operator's manual
Steps before using a new wall saw
- Please read the operator's manual carefully and make sure you understand the instructions before using the machine.
- This machine is only intended for use together with a power pack Husqvarna PP 440 HF. All other use is forbidden.
- Read through the manual supplied with the power unit before starting to use the machine.
- The machine can cause serious personal injury. Read the safety instructions carefully. Learn how to use the machine.
- This machine is designed for and intended for sawing concrete, brick and different stone materials. All other use is improper.
Always use common sense
It is not possible to cover every conceivable situation you can face. Always exercise care and use your common sense. Avoid all situations which you consider to be beyond your capability. If you still feel uncertain about operating procedures after reading these instructions, you should consult an expert before continuing.
Do not hesitate to contact your dealer if you have any more questions about the use of the machine. We will willingly be of service and provide you with advice as well as help you to use your machine both efficiently and safely.
Let your Husqvarna dealer regularly check the machine and make essential adjustments and repairs.
All information and all data in the Operator's Manual were applicable at the time the Operator's Manual was sent to print.

WARNING! Under no circumstances should you modify the original design of the machine without approval from the manufacturer. Always use original spare parts. Unauthorized modifications and/or accessories may lead to serious injury or death to the user or others.

WARNING! Use of products which cut, grind, drill, sand or shape material can generate dust and vapors which may contain harmful chemicals. Know the nature of the material being worked on and wear appropriate dust mask or respirator protection.
Personal protective equipment

WARNING! You must use approved personal protective equipment whenever you use the machine. Personal protective equipment cannot eliminate the risk of injury but it will reduce the degree of injury if an accident does happen. Ask your dealer for help in choosing the right equipment.
- Protective helmet
Hearing protection - Protective goggles or a visor

- Breathing mask

Heavy-duty, firm grip gloves.

- Tight-fitting, heavy-duty and comfortable clothing that permits full freedom of movement.

- Boots with steel toe-caps and non-slip sole.

Always have a first aid kit nearby.

General safety precautions
Do not use the machine without first reading and understanding the contents of this Operator's Manual.

WARNING! There is always a risk of shocks from electrically powered machines. Avoid unfavourable weather conditions and body contact with lightning conductors and metal objects. Always follow the instructions in the Operator's manual to avoid damage.

WARNING! There is always a risk of crush injuries when working with products containing moving parts. Wear protective gloves to avoid body injuries.
- Never use the machine if you are tired, if you have drunk alcohol, or if you are taking medication that could affect your vision, your judgement or your co-ordination.
- Wear personal protective equipment. See instructions under the heading Personal protective equipment.
- Never carry the machine by holding the cable and never pull the plug by pulling the cable.
- Keep all cables away of water, oil and sharp edges. Make sure the cable is not pinched in doors, fences or the like. It can cause the object to become live.
- Check that the cables are intact and in good condition. Use cable intended for outdoor use.
- Never use the machine if any cable is damaged, but hand it in to an authorized service workshop for repair.
- The machine should be connected to an earthed outlet socket.
- Check that the mains voltage corresponds with that stated on the rating plate on the machine.
- Keep all parts in good working order and ensure that all fixtures are properly tightened.
- Never use a machine that is faulty. Carry out the checks, maintenance and service instructions described in this manual. Some maintenance and service measures must be carried out by trained and qualified specialists. See instructions under the heading Maintenance.
- Do not modify safety equipment. Check regularly that they function as they should. The machine must not be run with defective or disassembled safety equipment.
- Never allow anyone else to use the machine without first ensuring that they have understood the contents of the operator's manual.
- People and animals can distract you causing you to lose control of the machine. For this reason, always remain concentrated and focused on the task.
- Be careful as clothing, long hair, and jewellery can get caught in moving parts.
- Observe care when lifting. You are handling heavy parts, which implies the risk of pinch injuries or other injuries.
Transport and storage
- Always switch of the power unit and pull out the electric cable before moving the equipment.
- Dismount the blade and blade guard before transport and storage.
- Store the equipment in a lockable area so that it is out of reach of children and unauthorised persons.
- If there is a risk of freezing, the machine must be drained of any remaining water coolant.
- Use the cases provided to store the equipment.
General working instructions

WARNING! This section describes basic safety directions for using a wall saw. This information is never a substitute for professional skills and experience. If you get into a situation where you feel unsafe, stop and seek expert advice. Contact your dealer, service agent or an experienced user. Do not attempt any task that you feel unsure of!
- All operators shall be trained in the use of the machine. The owner is responsible for ensuring that the operators receive training.
- Check that the blade guard is not damaged and that it has been fitted correctly.
- Never use blades other than original blades designed for the machine. Check with your Husqvarna dealer to see which blades are best suited for your usage.
- Never use a damaged or worn blade.
- Never mount or dismount the blade or blade guard without first pulling out the power cable running to the saw unit.
- Never pull out the power cable without first switching off the power unit and waiting for the engine to come to a complete halt.
- Never cut without using the blade guard.
- Check that the blade is not in contact with anything when the machine is started.
- Remain at a distance from the blade when the engine is running.
- Water cooling must always be used. This cools the blades and increases their life and prevents dust build-up.
- Check that all couplings, connections and cables are intact and free from dirt.
- Do not use hoses that are distorted, worn or damaged.
- Clearly mark out all cuts to be made before you start sawing, plan these so they can be carried out without danger to persons or the machine.
- Firmly secure or anchor concrete blocks before cutting. The heavy weight of cut material can cause extensive damage if it is not moved under controlled conditions.
-
Always check the back of the wall where the blade comes out when cutting through. Secure, cordon off and make sure that no people can be injured or materials damaged.
-
Always check and mark out where gas pipes are routed. Cutting close to gas pipes always entails danger. Make sure that sparks are not caused when cutting in view of the risk of explosion. Remain concentrated and focused on the task. Carelessness can result in serious personal injury or death.
- Make sure that no pipes or electrical cables are routed in the area to be cut.
- Check that electrical cables within the working area are not live.
- Never leave the machine unsupervised with the engine running.
- Never saw in such a way that you cannot easily reach the emergency stop on the remote control or on the power unit. See power unit manual.
- Make sure that there is always another person close at hand when you use the machines, so that you can call for help if an accident should occur.
- People that need to be in close proximity of the machine must wear hearing protection as the sound level when cutting exceeds 85 dB(A).
- Make sure that no people or animals come closer than 4 m (15 ft) when the machine is running.
- Do not use the machine in bad weather, such as dense fog, rain, strong wind, intense cold, etc. Working in bad weather is tiring and can lead to dangerous conditions, e.g. slippery surfaces.
- Ensure that the working area is sufficiently illuminated to create a safe working environment.
Always ensure you have a safe and stable working position. - Observe care when lifting. You are handling heavy parts, which implies the risk of pinch injuries or other injuries.

WARNING! Never use a blade for any other materials than that it was intended for.
Operating saw blades at rotational speeds greater than those recommended by the manufacturer can cause blade damage and possibly subsequent injury. See the Technical data section.
Basic working techniques

- Always start by cutting a pilot cut. This is done by feeding the blade 3 - 7cm (1,2^ - 2,8^ ) . Now make the pilot cut. The cut should not be made at maximum speed, but with care in order to obtain a straight cut and with that a basis for the next cut. The cutting arm allows blades up to 1000~mm (40^ ) to be used as the start blade. It is, however, recommended to start cutting with an 800~mm (31.5^ ) blade.
- When the pilot cut is finished, a deeper cut can be made. The depth of these is determined from instance to instance and depends on factors such as hardness of the concrete, existence of reinforcing bar, etc. Max. diameter of the blade for deeper cuts is 1,200 ~mm (47").
- If you change blades to cut deeper in the same cut, make sure the thickness of the blade matches the width of the groove.
- Let the machine work without forcing or pressing the blade.
- Firmly secure or anchor concrete blocks before cutting. The heavy weight of cut material can cause extensive damage if it is not moved under controlled conditions.
Cutting of blocks
- First make the lower horizontal cut. Now make the upper horizontal cut. Finish with the two vertical cuts.

- If the upper horizontal cut is made before the lower horizontal cut, the work piece will fall on the blade and jam it.
- When making the last cut, the saw should be mounted on an adjacent fixed wall.
- As the rail is symmetrical, the saw unit can be turned to make a new cut on the other side of the rail. In this way a cut piece is obtained that is in an easily handled size, making it easier to remove from the workplace.
- Since the blade rotation direction can be selected, the water spray from the blade can also be selected regardless of how the saw is turned on the rail.

WS 440 HF
It is our wish that you will be satisfied with your product and that it will be your companion for a long time. Think of this operator's manual as a valuable document. By following its content (using, service, maintenance etc) the life span and the second-hand value of the machine can be extended. If you will sell this machine, make sure that the buyer will get the operator's manual.
A purchase of one of our products gives you access to professional help with repairs and services. If the retailer who sells your machine is not one of our authorised dealers, ask him for the address of your nearest service workshop.
Husqvarna Construction Products has a policy of continuous product development. Husqvarna reserves the right to modify the design and appearance of products without prior notice and without further obligation introduce design modifications.
General
- The powerful, water-cooled electric motor produces an impressive 13kW to the spindle, even though the saw weighs just 25kg (55 lbs).
- The spindle speed is electrically adjustable and can be operated from the power unit's remote control.
- Short distance between blade and track, for a straighter cut.
- Slip clutch for all movable components.
- The blade direction and the direction of the water spray can be operated from the power unit's remote control.
- Equipped with automatic blade brake that stops the blade within a few seconds.
Complete saw equipment consists of:
One saw
- One track 1.2 m + saw carriage
One track 2m+ saw carriage
Four wall mountings
One track holder
One connector
One blade guard 800 or one blade guard 1000
One blade guard guide
One tool kit
One bottle of Husqvarna oil 150
- Transport cases for the different units.
- Cleaning brush
- Screws for flush cutting.
The saw carriage is mounted on both the long and short rails at the factory to make cutting as easy as possible.
As a large part of the sawing work consists transporting, the saw equipment is supplied in specially produced cases. The cases provide good protection during transport and reduced the number of packages that need to be moved between the workplaces, which makes the work more effective.
Mount wall mountings and rail
Fit the wall mounting as set out below:
1 Mark off the cutting line and mark off the expander bolts holes 165mm (6.5") from the cutting line.

2 Drill 15mm (5 / 8^ ) holes for the M12 (1 / 2^ ) expander bolts.
3 Hang the wall mountings loosely from the expander bolts, using M6S 12 × 70 (1/2"x2") or similar.
4 Place the rail in the wall mountings and tighten the compression washers.
For vertical cuts, the rail must be mounted with the saw carriage lock handle upwards. This to facilitate fitting the saw unit.
5 Check that the rail is properly aligned with the tracks on the wall mounts before tightening the screws.
6 Adjust the distance between the cutting line and the wall mounting. The distance between the edge and the inner face of the saw cut should be 89mm (3.5"). Tighten the expander bolts.

IMPORTANT! Only use the connectors supplied when purchasing the saw as older connectors are not designed for the WS 400 series.
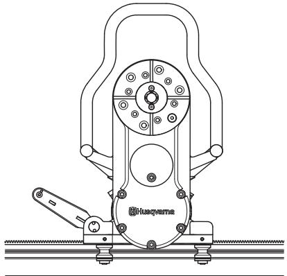
Mount the saw carriage and saw

The saw carriage is mounted on the rail at delivery. The carriage can be dismounted from the rail by removing the end stop on the rail and pulling the carriage away.
1 Fit the saw body in the saw carriage by lifting the saw body into position. When the saw is lifted into position, the locking handle moves up into an intermediate position. In this position the saw remains in the saw carriage without it needing to be held. However, it is not sufficiently secured to begin cutting.

2 To secure the saw, lift the locking handle towards the saw until the handle locks.


WARNING! To cut without the saw securely assembled in the saw carriage and rail is associated with mortal danger.
Fit the blade


WARNING! Never mount or dismount the blade or blade guard without first pulling out the power cable running to the saw unit. Carelessness can result in serious personal injury or even death.
1 Start by removing any dirt from the contact surfaces on the blade flange and blade.
2 Check the blade's direction of rotation. The blade shall rotate with the exposed part of the diamond in the rotational direction of the blade. Since the blade rotation direction can be selected, the water spray from the blade can also be selected regardless of how the saw is turned on the rail.
3 Screw together the outer blade flange, blade and blade flange hub (tightening torque 70-80 Nm).

4 Hang the blade with the blade flange and blade flange hub fitted on the cutting arm (blade is not shown in the figure).

5 Turn the blade flange hub carefully so that it slides into one of the tracks in the pivot arm and lands in the correct position to be screwed fast.
6 Press in the blade spindle into the cutting arm at the same time as the blade is rotated carefully. When the blade spindle can no longer be pressed in by hand it should be tightened using the supplied 18-spanner until it is properly secured (tightening torque 70 - 80Nm ).


WARNING! Exercise care when assembling the blade so that it does not risk becoming loose when cutting. Carelessness can result in serious personal injury or even death.
Flush cutting

Screw off the outer blade flange and mount the blade on the blade flange hub.

A=110 mm/4.33 inch, 6xM10
B=89 mm/3.5 inch, 6xM8
C = 144mm / 5.7 inch
Fit the blade guard


WARNING! Never mount or dismount the blade or blade guard without first pulling out the power cable running to the saw unit. Carelessness can result in serious personal injury or even death.
1 Slip in the blade guard guide between the stays on the blade guard. Place the blade guard guide in the middle. Lock the plastic heel on the handle to the upper stay on the blade guard.

2 Make sure that the pivot arm is positioned vertically. Lift the blade guard over the blade and hang the guard in the blade guard holder on the saw. Exercise care so that the runners on the blade guard are positioned in the slots on the water block.

3 Lock the blade guard by pulling the handle out of the guard and then down towards the saw unit so that the latch locks the handle.
4 To remove the guard, release the latch and pull the handle upwards and inwards to the guard. Lock the plastic heel on the upper stay.

5 Connect the water hose from the out-coupling on the saw motor to the in-coupling on the blade flange hub.
Connect the power unit
Read through the manual supplied with the power unit before starting to use the machine.
When the saw unit, the blade and the blade guard are mounted, the power cable (A) and the water cooling (B) should be connected to the power unit.

IMPORTANT! This machine is only intended for use together with a power pack Husqvarna PP 440 HF. All other use is forbidden.
Before starting

- Enclose the area to be cut so that unauthorised persons can not be injured or disturb the operator.
- Check that the blade and the blade guard is not damaged or cracked. Replace the blade or the blade guard if it is exposed to impact or is cracked.
- Check that all cables and the water supply are correctly connected to the machine before starting it.
- If cutting is to begin in another position than where the saw unit is located, run the saw unit to the start position.
Starting

Follow the instructions for starting in the manual supplied with the power unit.
Stopping

- Once cutting is completed, remove the blade from the wall and shut down the blade rotation and the water flow.
- Turn off the power unit.
Dismantling the saw
1 Allow the motor to stop completely.
2 Disengage the power supply for the power unit.
3 Turn off and disconnect inflowing water to the power unit.
4 Disengage the power cable and the water hose from the saw unit.
5 The other steps are done in the reverse order to assembling.
Cleaning


The saw should be cleaned once cutting is finished. It is important to clean all the saw equipment. The saw is best cleaned with the supplied cleaning brush by connecting it to the water hose.
IMPORTANT! Do not use a high pressure washer to clean the saw.
Adjusting the guide wheels
In order for the saw to run stably and saw a straight cut, the four guide wheels must rest against the rail and not have too much play. When there is too much play between the saw carriage and rail the guide wheels must be adjusted:
The two marked guide wheels have eccentric axles and by turning these the carriage is tightened onto the rail.

Start by loosening the marked nuts (1) with the supplied special tool. Now loosen the two stop screws (2). When these are loose, adjust the guide wheels (3) against the rail by turning them towards the rail so the play is taken up. Hold the guide wheels and screw in the stop screw. Now screw on the nuts to secure the guide wheels in the new position.

Adjust the saw carriage
As the saw wears, after a number of hours working, it can be a good idea to ensure that the saw sits firmly in the saw carriage and rail. If not, the handle probably needs adjusting:
Loosen the marked (1) socket headed screw (one on each side of the handle). Now turn the eccentric axles (2) with the help of the supplied special tool until the axle lies tight against the saw. Now tighten the socket headed screw.

Service

IMPORTANT! All types of repairs may only be carried out by authorised repairmen. This is so that the operators are not exposed to great risks.
After 100 hours of operation, the message "Time for servicing" is displayed. The entire equipment shall then be taken to an authorized Husqvarna dealer for servicing.
Maintenance

IMPORTANT! Inspection and/or maintenance should be carried out with the motor switched off and the plug disconnected.
Oil change cutting arm
There is an oil plug for draining the oil located on the cutting arm. This plug should be cleaned when changing the oil. The new oil is filled through the hole where the oil plug sits.

The cutting arm contains 3 dl of Husqvarna Oil 150, a transmission oil of the type EP 150. The oil should be replaced for the first time in connection with the first service. A 3 dl bottle of oil is supplied when the machine is new.
IMPORTANT! Used engine oil and transmission oil is hazardous to health and must not be disposed of in the ground or out of doors.
Lubrication of feeder gears
IMPORTANT! If the gears are not lubricated regularly, their lifespan will shorten considerably.
There are two grease nipples on every saw unit. Through these the gears for the feeding engines can be lubricated. Lubricate daily or at least every 30 hours of operation. Use VEIDEC POWER LUBE or corresponding grease.

Grease the blade spindle
In order for the blade spindle to be fitted as easily as possible, it may be necessary to grease the hexagonal blade spindle. At the same time check that the hexagon is not damaged.

Daily maintenance

1 Check that all couplings, connections and cables are intact and free from dirt.
2 Clean the outside of the machine. Do not use a high pressure washer to clean the saw.
3 Check that the blade and th blade guard is not damaged or cracked. Replace the blade or the blade guard if it is exposed to impact or is cracked.
TECHNICAL DATA
WS 440 HF
Weight
Saw carriage, kg/lbs 3,7/8,2
Saw unit, kg/lbs 25/55,1
Blade guard 800 mm, kg/lbs 13/28,7
Blade guard 1000 mm, kg/lbs 16/35,3
Track 1200 mm (47") kg/lbs 9,5/20,9
Track 2000 mm (79") kg/lbs 19/41,9
Blade size
Blade size - max, mm/inches 1200/47,2
Blade size - min, mm/inches 600/23,6
Startingblade-max,mm/inches 1000/39,4
Saw depth - max, mm/inch 530/20,9
Motor for saw blade drive PM High cycle
Spindle output - max, kW 13
Power train Gear drive
Output speed, rpm 0-1225
Feedingsystem/control Electric/auto
Drive torque at saw blade - max, Nm 125
Starting torque, Nm 100
Cooling water temp. in at 3,5 l/min - max, C 25
Cooling water pressure - max, bar 7
Protection class IP 65
Noise emissions (see note 1)
Sound power level, measured dB(A) 108
Sound power level, guaranteed L_WA dB(A) 109
Sound levels (see note 2)
Sound pressure level at the operators ear, dB(A) 85
Note 1: Noise emissions in the environment measured as sound power (LwA) in conformity with EN 15027/A1.
Note 2: Noise pressure level according to EN 15027/A1. Reported data for noise pressure level has a typical statistical dispersion (standard deviation) of 1.0dB(A)
Recommended blade speed

WARNING! Cutting at too high revs can cause damage to the blade and lead to personal injury.
Follow the blade manufacture's recommendations regarding material and blade speed when choosing blade. A lower blade speed should be used when cutting in hard concrete than if cutting in soft concrete.
| 600 mm (24") | 800 mm (32") | 1000 mm (40") | 1200 mm (48") | |
| 600 rpm | ||||
| 700 rpm | ||||
| 800 rpm | ||||
| 900 rpm | ||||
| 1000 rpm | ||||
| 1100 rpm | ||||
| 1200 rpm |
| Concrete | |
| Hard | |
| Medium | |
| Soft | |

Dimensions

EC-declaration of conformity
(Appplies to Europe only)
Husqvarna AB, SE-433 81 Göteborg, Sweden, tel: +46-31-949000, declares under sole responsibility that the wall sawHusqvarna WS 440 HF , from 2010's serial numbers and onwards (the year is clearly stated in plain text on the rating plate with subsequent serial number), conforms with the requirements of the COUNCIL'S DIRECTIVE:
of May 17, 2006 "relating to machinery" 2006/42/EC
of December 15, 2004 "relating to electromagnetic compatibility" 2004/108/EC.
of December 12, 2006 "relating to electrical equipment" 2006/95/EC.
The following standards have been applied: EN ISO 12100:2003, EN 55014-1:2006, EN 55014-2/A1:2001, EN 61000-3-11:2000, EN 15027/A1:2009.
Göteborg December 29, 2009

Henric Andersson
Vice President, Head of Power Cutters and Construction Equipment
Husqvarna AB
(Authorized representative for Husqvarna AB and responsible for technical documentation.)
Simbolos en laquina:
Vice President, Head of Power Cutters and Construction Equipment
Husqvarna AB
Vitesse lame recommandaee

EasyManual