WS440 HF - Cortador de concreto HUSQVARNA - Manual de uso y guía de instrucciones gratis
Encuentra gratis el manual del aparato WS440 HF HUSQVARNA en formato PDF.
| Tipo de dispositivo | Taladro eléctrico |
| Alimentación | Eléctrico con cable |
| Voltaje | 230 V (estándar europeo) |
| Potencia | No especificado |
| Velocidad variable | Sí |
| Número de velocidades | 2 |
| Función percusión | Sí |
| Mandril | Autoajustable |
| Capacidad del mandril | 1.5 - 13 mm |
| Peso | No especificado |
| Longitud del cable | No especificado |
| Accesorios incluidos | No especificado |
| Uso recomendado | Perforar y atornillar |
| Garantía | No especificado |
| Normas de seguridad | Conforme a normas CE |
Preguntas frecuentes - WS440 HF HUSQVARNA
Preguntas de los usuarios sobre WS440 HF HUSQVARNA
0 pregunta sobre este aparato. Responde a las que conoces o haz la tuya.
Hacer una nueva pregunta sobre este aparato
Descarga las instrucciones para tu Cortador de concreto en formato PDF gratis! Encuentra tus instrucciones WS440 HF - HUSQVARNA y toma tu dispositivo electrónico nuevamente en la mano. En esta página están publicados todos los documentos necesarios para el uso de su dispositivo. WS440 HF de la marca HUSQVARNA.
MANUAL DE USUARIO WS440 HF HUSQVARNA
Manual de instrucciones
WS 440 HF

GB ES DE FR
DE
Lea detenidamente el manual de instrucciones y asegúrese deDSL.
entender su contenido antes de utiliser laquina.
FR
Bedienungsanweisung
jATENCION! Laquina, si se usa de forma erronea o descuidada,uede ser una herramienta peligrosa que能把 causar daños graves e incluo la muerte al usuario y a otheras personas.
Lea detenidamente el manual de instrucciones y asegúrese de perder su contenido antes de utiliser laquina.
Utiliceiami:
Casco protector homologado
- Protectores auriculares homologados
Gafas protectoras o visor
- Mascarara respiratoria
Debe engrasarse a diario.
Este producto cumple con la directiva CE vigente.
Etiquetado ecologico. El símbolo en el producto o en su envase indica que no se pueda trattar este producto como desperdicio dométrico. Deberá por lo tanto depositarse en un centro de recogida adequado para el reciclado de equipos electricos y electrónicos.
Haciendo que este producto sea Manipulado adecuadamente, se usa a evaporar consecuencias negativas potecuales para el medio ambiente y las personas, lo que pueda ocurrir con la Manipulacion inadequada como residuos del producto.
Para Obtener información más detallada sobre el reciclado de este producto, contacte con la oficina municipal local, con el servicios de eliminación de deserdicios domesticos o con la tienda donde compró el producto.






Simbolos en el manual de instrucciones:
El control y/o mantenimiento de laquina debe hacerse con el motor parado y el enchufe de la unidad electrica desenchufado.
Utilice siempre guantes protectores homologados.
Laquina debe limpiarse regularmente.
Control visual.
Debe utilizes gafas protectoras o visor.





Índice
ACLARACION DE LOS SIMBOLOs
Simbolos en laquina: 18
Símbolos en el manual de instructcciones: 18
INDICE
I ndice 19
QUE ES QUE?
Componentes de la sierra de pared? 20
INSTRUCCIONES DE SEGURIDAD
Pasos necessities antes de utiliser una sierra de parendueva 21
Equipo de proteccion personal 21
Instrucciones generales de seguidad 22
Instrucciones generales de trabajo 22
Tecnica basia de trabajo 23
PRESENTACION
WS 440 HF 24
MONTAJE
Riel y accesorios del soporte de pared 25
Instalación del carro y de la sierra 25
Monte el disco 26
Corte liso 26
Monte la proteccion del disco 27
Conecte la unidad electrica 27
ARRANQUEY PARADA
Antes de arrancar 28
Arranque 28
Parada 28
Desmontaje de la sierra 28
Limpieza 28
REGLAJESY AJUSTES
Ajuste de las ruedas de guía 29
Ajuste la sierra en el carro 29
MANTENIMIENTO
Servizio 30
Mantenimiento 30
Mantenimiento diario 30
DATOSTECNICOS
WS 440 HF 31
Declaración CE de conformidad 33





10

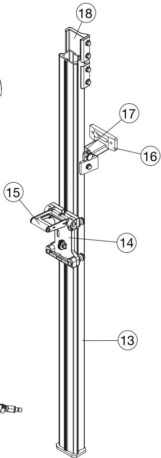
¿Componentes de la sierra de pared?
1 Unidad de sierra
2 Brazo de corte
3 Motor de propulsion, disco
4 Conexión del cable
5 Cubierta protectora
6 Soporte de la proteccion del disco / empunadura
7 Conexión de la manguera, entrada de agua
8 Manguera de agua
9 El cubo de brida de disco
10 Brida exterior de acoplamento de discos
11 Guía de la protección del disco
12 Proteccion del disco de corte
13 Riel
14 Carro de la sierra
15 Empuñadura de bloqueo
16 Soportes de pared
17 Soporte del riel
18 Conector
19 Cepillo de limpieza
20 Juego de herramrientas
21 Manual de instrucciones
Pasos necessarios antes de utiliser una sierra de pared nueva
- Lea detenidamente el manual de instructaciones y asegúrese de entender su contenido antes de utiliser laquina.
-Estaquina está pensada para serutilizada conuna unidad de alimentacionHusqvarna PP 440 HF.Esta prohibidaequalquierotraplicacion. - Lea el manual de instrucciones suministrado con la unidad electrica antes de utilizar laquina.
- Laquina可以选择 occasionar lesiones graves. Lea atentamente las instrucciones de seguridad. Aprenda a utiliser laquina.
-Estaquina estádisenada yprevista para serrar hormigón,ladrillos ydistinctostipsode piedra.Cualquier otheruso se considerarainadecuado.
Emcee siempre el sentidocomings
Es imposible abarcar todas las situaciones en las que pueda encontrarse. Utilice siempre el equipo con cuidado y sentidocomings. Evite todas aquellas situaciones que considere que sobrepasan sus capacities. Si,despues de leer estas instrucciones,no está seguro del procedimiento que debeseguir, consulte a un experto antes de utilizing el equipo.
No dude en ponerse en contacto con su distribuidor si tiene preguntas acerca del uso de laquina. Estaremos encantados de poder aconsejarle y ayudarle a utiliser laquina deforma eficaz y segura.
Dirijase su distribuidor de Husqvarna para que revise laquina regularmente y para que realice ajustes y reparaciones bássicas.
Toda la información y todos los datos contentsados en este manual de instrucciones son vigentes en la Fecha de impresión del manual.

iATENCION! No está permitido modifier el Diseño original de laquina, por ningún motivo, sin la autorización del fabricante. Utilice siempre accesorios originales. Las改动aciones y/o el uso de accesorios no autorizados comportan riesgo de daños personales graves y peligro de muerte para el usuario ydietas personas.

iATENCION! El uso de produits de corte, amolado, taladrado, lijado o formacion de materiales pourrait tener polvo y vapeores que pueda CONTENER produits químicos perniciosos. Averigüe la indole del material de trabajo y utilise una máscara contra polvo o respiratoria adecuada.
Equipo de proteccion personal

iATENCION! Para trabajo con laquina debeutilizarunequipo de proteccion personal homologado.El equipo de proteccion personal no elimina el riesgo de lesiones, pero reduce su efecto en caso de accidente.Pida a su distribuidor que le asesore en la eleccion del equipo.
Casco protector
- Protectores auriculares
Gafas protectoras o visor

- Mascarara respiratoria

- Preendas de vestir ciñidas, resistentes y cómodas que permitan una libertad de movimientos total.

- Botas con puntera de acero y suea antideslizante.

Tenga siempre a mano el equipo de primeros auxilios.

Instrucciones generales de seguridad
No utilise laquina sin haber leido y comprendido el contenido de este manual de instrucciones.

iATENCION! Existe sempre riesgo de sacudidas electricas al usar máquinas electricas. No usar la máquina en conditiones climáticas desfavorables yevtitar el contacto del cuerpo con pararrays y objetos metálicos.Seguir siempre las instrucciones del manual para estar daños.

iATENCION! Existe sempre riesgo de accidentes por apriete al trabajo con aparatos con piezasVRTiles. Usar quantes protectores para evacrar lesiones.
- Nunca utilizes laquina si está cansado, si ha ingido alcohol o si toma medicamentos que pueda afectarle la vista, su capacité de discernimiento o el control del cuerpo.
- Utilice el equipo de proteccion personal. Vea las instrucciones bajo el tuito Equipo de proteccion personal.
- No lleve nunca lamaids agarrando el cable y no tire del cable para desenchufarla.
- Mantenga todos los cables apartados del agua, el aceite y los cordes agudos. Proceda con cuidado para evaporar que el cable se enganche en puertas, vallas o similares. Hay riesgo de cargar objetos con electricidad.
- Compruebe que los cables están intactos y en buena estado. Utilice el cable proportionado para el uso externo.
- Si se daña un cable, no utilizes laquina. Lévela a reparar a un taller de servicios oficial.
Laquina se debe enchufar a un enchufe con masa. - Compruebe que la tension de red concuerda con la que se indica en la placac de caracteristicas de laquina.
- Mantener todas las piezas en perfecto estado y comprobar que todos los elementos de lijación estén biencomings.
- No utilizes nunca unaquina defectuosa. Siga las instrucciones de mantenimiento, control y servicios de este manual. Algunas medías deostenimiento y servicios deben ser efectuadas por especialistas formados y@cualificados. Vea las instrucciones bajo el tíouloMantenimiento.
- No modifier nunca los dispositivos de seguridad. Comprobar regularmente que funciona como es debido. Laquina no se debe operar con dispositivos de sécurité defectuosos o ausentes.
- Nunca deje que terceros'utilen laquina sin asegurar se primo de que hayan sentido el contenido de este manual de instrucciones.
Las personas y los animales peuvent distraer y hacer perdcer el control de laquina. Por consiguiente, el operadorDebe estar siempre concentrado en su trabajo. - Tener en cuenta que las ropas, elleo长大o y las joyasSEO.
puede atascarse en piezas moviles. - Proceda con cuidado en las elevaciones. Las piezas son pesadas, por lo que hay riesgo de daños por apriete y daños personales de otro tipo.
Transporte y almacenimiento
- Desconnecte siempre launidad electrica y el cable electrico antes de mover el equipo.
- Desmonte el disco y el protector del disco antes de transporte y almacenar el equipo.
- Guarde el equipo en un lugar seguro fuera del alcance de los niños y las personas no autorizadas.
- Si existe riesgo de congélación, drene el agua refrigeradora restante del dispositivo.
- Utilice las cajas suministradas para guardar el equipo.
Instrucciones generales de trabajo

iATENCION! Este capitulo trata las normas de seguidad bfaces para trabajo con la sierra de pared.Esta informacion no sustituye en ningun caso los conocimientos y la experiencia de un profesional. Si se enfrente a una situacion que le haga sentirse inseguro, detengase y consulte a un experto. Consulte a su distribuidor, al taller de service Tecnico o a un usuario experimentado. No emplee laquina en aplicaciones para las que no se considere plenamente有条件.
- Todos los operadores deben ser formados en el empleo de laquina. El propietario es responsable de la formación de los operadores.
- Compruebe que la proteccion del disco no este rota y que está correctamente montada.
- Nunca utilizes discos de corte distinctos a los discos originales destinados a laquina. Consulte con su distribuidor de Husqvarna acerca del disco más adecuado para su aplicacion.
- No utilise nunca un disco de corte danado o gastado.
- Nunca monte ni desmonte el disco ni el protector del disco sin haber desconectado antes el cable que va hasta la unidad de serrado.
- Nunca desconecte el cable sin desconectar antes la unidad electrica y esperar a que laquina se detenga por completeo.
- No corte nunca sin utiliser el protector.
- Asegürese de que el disco no toca en ningún的对象 al arrancar laquina.
- Manténgase alejado del disco cuando el motor está en marcha.
- Debe emplearse siempre refrigeracion por agua. Así se enfrán los discos de corte, se aumento su durabilidad y se reduce la formacion de polvo.
- Compruebe que todas las juntas, conexiones y cables están intactos y limpios.
-
No utilise mangueras torcidas, gastadas o defectuosas.
-
Antes de empezar aURTAR, todos los cortes que se van a hacer deben marcarse con claridad y planificarse para que se pueda hacer sin riesgo de dañar a personas o laquina.
- Sujete o ancile con firmeza los bloques de hormigón antes de cortarlos. El elevado peso del material cortado puede causar daños importantes si no se desplaza en conditiones controladas.
- Controle siempre la parte posterior de la pared en la que sale la sierra al penetrar. Impida el acceso cercando y asegúrese de que no haya riesgo de danios personales o materiales.
- Averigüe y marque siempre laubicación del trazado de las tuberías de gas. El corte cerca de las tuberías de gas siempre es peligioso. Procure que no se generate chispas al cortar,debido al riesgo de explosión.Trabajo concentrado en suarea. La negligenciaongaporta riesgo de daños personales graves ypeligro de muerte.
- Use laquina exclusivamente en lugares con buena ventilacion. Los descuidos peuvent ocasionar daños graves o mortales.
- Compruebe que los cables electricos que haya en el area de trabajo no tengan tensión.
- Mantenga bajo vigilancia laquina siempre que el motor está en marcha.
- Nunca utilise la sierra sin tener al alcance el botón de parada de emergencia del control remoto o de la unidad electrica. Consulte el manual de la unidad electrica.
- Al trabajo con las máquinas, procure siempre que haya alguienURT,quecould prestarayuedo incoa de accidente.
Las personas que deban permanecer cerca deben usar protectores auriculares porque el nivel sonoro alURTAR es superior a 85 dB(A). - Cercórese de que Ninguna persona ni animal se aproxime más de 4 m (15 ft) a laquina cuando la misma está en funcióncimiento.
- No usar en conditiones climáticas desfavorables. Por exemple, niebla densa, lluvia, viento fuerte, frío intenso, etc. Trabajar con mal tiempo es cansador y pueda create conditiones peligrosas, por exemple suelo resbaladizo.
- Controle que la zona de trabajo esté bien iluminada para lograr un entorno seguro.
- Cercórese siempre de tener una posición de trabajo segura y firme.
- Proceda con cuidado en las elevaciones. Las piezas son pesadas, por lo que hay riesgo de daños por apriete y daños personales de otro tipo.

iATENCION! No utilise nunca un disco de corte para ningún material para el que no esté destinado.
La realizacion de las hojas de la sierra a una velocidad superior a la recomendada por el fabricante pueda darar la sierra e incluso puede causarle lesiones. Vea el capitulo Datos先进技术.
Técnica Basics de trabajo

- Empiece siempre cortando un surco de guía. Esto se hace insertando el disco 3-7 cm (1,2"-2,8"). A continuación, corte el surco de guía. El corte no se debe hacer a velocidad maximala, sino de forma cuidadasa para encontrar un corte recto y fácilar asi el corte singulare. El brazo de corte permite utiliser discos de hasta 1000 mm (40 in) como disco de inizio. Sin embargo, se aconseja comenzar aURTAR con un disco de 800 mm (31,5 in).
- Cuando está terminado el corte de guía, se pueda hacer cortes más profundos. La profundidad de los mismos se determina según el caso y depende de factores como la dureza del hormigón, la presencia de hierros de armadura, etc. El diametro máximo del disco para los cortes más profundos es de 1200 mm (47 in).
- Si cambia los discos para que trabajen a mayor profundidad en el mesmo corte, asegúrese de que el grosor del disco se corresponda con el ancho del surco.
- Deje que laquina trabaje sin forzar ni presionar el disco.
- Sujete o ancile con firmeza los bloques de hormigón antes de cortarlos. El elevado peso del material cortado puede causar daños importantes si no se desplaza en conditiones controladas.
Tronzado de bloques
- Primero, haya el corte horizontal inferior. A continuación, haya el corte horizontal superior. Finalmente, haya los dos cortes verticales.

- Si el corte horizontal superior se hace antes del corte horizontal inferior, la pieza de trabajo cae sobre el disco y lo aprieta.
- Cuando realice elultimate corte, la sierra deben instalarse en una pared fija adyacente.
- Dado que el riel es simétrico, launidad de serrado puede girarse para realizar un nuevo corte en el(otherlado del riel. De estaforma,seobtendrauna pieza de corte conun tamanofacilmentemanejable,loqueharquesea mas sencilloretirarla del lugar del trabajo.
- Puesto que pueda selectionar el sentido de rotación de la hora, la pulverización de agua también puede selectionarse independiente de como está colocada la sierra en el riel.
WS 440 HF

Esperamos que su这笔a le proporcione planta satisfacción y le sirva de ayudar por mucho tiempo en adelante. Tenga en cuenta que estemanualde instruccionesesundocumento de valor.Siguendo sus instrucciones (de uso,的服务, mantenimiento,etcétera)puede alargarconsiderablemente la vidautilde la这笔a e incrementar su valor de reventa. Si vende su这笔a,entreguelmanualdeinstruccionesal nuevopropietario.
Laadicquisitiondealgunode nuedostros productosdaaccessoasistencia profesonal con reparaciones y servicios.Si lamáquina no fue adquirida en un distribuidor oficial, preguntaren la tienda de compra la direccion del taller de serviceo mascerrano.
Husqvarna Construction Products se esfuerza constantemente por mejorar la construccion de sus produits. Por consiguiente, Husqvarna se reserva el derechoo a introducir modificaciones de diseño sin previo aviso y sin compromisesos ulteriores.
Generalidades
- El eficaz motor con refrigeracion hidráulica transmite una impactante potencia de 13kW al husillo, excepta la sierra pese solo 25kg (55 lb).
- La velocidad del husillo se ajusta electrically y pueda controlarse con el control remoto de la unidad electrica.
- Reduzca la distancia entre el disco y la banda de rodadura para que el corte sea más recto.
- Embrague deslizante para todas las piezas@móveis
- La direccion del disco y la direccion del pulverizador de agua puede controlarse con el control remoto de la unidad electrica.
- Equipada con freno de hoja automático que detiene la hoja en poco段时间.
Un equipo de sierra completo consta de:
- Una unidad de sierra
Un riel de 1,2 m + carro de la sierra - Un riel de 2m+ carro de la sierra
- Cuatro soportes de pared
- Un soporte de riel
Un empalme - Una proteccion de disco de 800 o 1.000
- Una guía de protección de disco
- Un jeu de herramrientas
- Una botella con aceite Husqvarna 150
- Cajas de transporte para las cuales unidas.
- Cepillo de limpieza
- Tornillos para corte liso.
El riel corto y el riel largo tiene un carro montado en fabricula para poder al máximo possible el corte.
Dado que una gran parte del trabajo de corte consta de transporte, el equipo de sierra seenta enunas cajas especialas. Las cajas proportionscian una buena proteccion durante el transporte y reducen el numero de bultos a desplazar entre los lugares de trabajo, con lo que se aumenta la eficacia.
Riel y accesorios del soporte de pared
Procedimiento de montaje del soporte de pared:
1 Marque la ligne de corte y los agujeros para pernos de expansión a 165 mm (6,5") de la ligne de corte.

2 Taladre agujeros de 15 mm (5/8") para los pernos de expansión M12 (1/2").
3 Cuelgue los soportes de pared sueltos en los pernos de expansión: se recomienda M6S 12 × 70 (1/2"×2").
4 Ponga el riel entre los soportes de pared y apriete las arandelas de lijación.
Para cortes verticales, colocque el riel con la palanca de bloqueo del carro de la sierra hacía arriba. Así se faculta el ajuste de la unidad de serrado.
5 Compruebe que el riel está bien alineado con las bandas en los soportes de pared antes de avertar los tornillos.
6 Ajuste la distancia entre el corte y el soporte de pared. La distancia entre el borde del soporte de pared y el borde interior del corte debe ser de 89 mm (3,5"). Apriete el perno de expansión.

IMPORTANTE! Use solamente el empalme incluido en la entrega de la sierra, puesto que los empalmes antiguos no está adaptados para la série WS 400.
Instalación del carro y de la sierra

El carro de la sierra se recibirá montado en el riel. Para desmontar el carro del riel, retire el tope y a continuación extraiga el carro del riel.
1 Monte el cuerpo de sierra en el carro, elevándolo y colocándolo en su situio. Cuando se coloca la sierra en su situio, la empañadura de bloqueo sube a una posición intermedia. En esta posición, la sierra permanece suspendida en el carro sin que sea NEEDario sutarla. Sin embargo, no está lo suficientmente fjada paraURTAR.

2 Para fjjar la sierra, eleve la empuñadura de bloqueo hacía la misma hasta que quede bloqueada.


iATENCION! El corte sin que la sierra este bien fjada en el carro y el riel comporta peligro de muerte.
Monte el disco


jATENCION! Nunca monte ni desmonte el disco ni el protector del disco sin haber desconectado antes el cable que va hasta la unidad de serrado. La realizacion del equipo sin el debido cuidado可以使 lasiones graves e incluo la muerte.
1 Empiece limpiando toda lajecidad de las superficies de contacto de la brida de disco y del disco.
2 Compruebe el sentido de rotacion del disco. La hoja girará con la parte visible de diamante siguiendo la direccion de rotacion de la hoja. Puesto que pueda selectionar el sentido de rotacion de la hoja, la pulverizacion de agua también puede selectionarse independientelement de como este colocada la sierra en el riel.
3 Atornille la brida de disco exterior, el disco y el cubo de brida de disco (par de apriete, 70-80 Nm).

4 Fije el disco suspendido con una brida de disco montada y el cubo de brida de disco en el brazo de corte (el disco no está ilustrado en la figura).

5 Gire cuidadosamente el cubo de brida de disco de眼看, que se deslice en uno de los rieles del brazoz pivotante y alcance la posicfon correcta para atornillarlo.
6 Inserte a presión el eje del disco en el brazo de corte, girando con cuidado al mismo tiempo el disco. Cuando ya no se pueda seguir presionando a mano el eje del disco, apiételo con la llave 18 incluida en la entrega hasta que está bien fjado (par de apiéte, 70-80 Nm).


ATENCLON! Monte el disco minuciosamente para que no haya riesgo de que se suele al cortar. La realizacion del equipo sin el debido cuidado possible causar lesiones graves e incluo la muerte.
Corte liso

Desatornille la brida de disco exterior y monte el disco en el cubo de brida de disco.

A = 110 mm / 4,33 in, 6 M10
B = 89 mm / 3,5 in, 6 M8
C = 144 mm / 5,7 in
Monte la proteccion del disco


jATENCION! Nunca monte ni desmonte el disco ni el protector del disco sin haber desconectado antes el cable que va hasta la unidad de serrado. La realizacion del equipo sin el debido cuidado可以使 lasiones graves e incluo la muerte.
1 Deslice la guía del protector del disco entre los tirantes del protector del disco. Coloque la guía del protector del disco en el centro. Cierre el talón de plástico de la manivela sobre el tirante superior del protector del disco.

2 Asegúrese de que el brazo pivotante se encuesta en posición vertical. Coloque la protección sobre el disco y cuélguela en su soporte en la sierra. Procure que las guías deslizantes de la protección del disco entrada en las ranuras de los bloques de agua.

3 Bloquee el protector de la hoja tirando de la palanca hacía fuera del protector y afterwards hacía abajo (hacia la unidad de serrado), hasta que el pestillo bloquee la palanca.
4 Para qitar el protector, suele el pestillo y tire de la palanca hacía arriba y hacía el interior hasta el protector. Bloquee el talón de plástico sobre el tirante superior.

5 Conecte la manguera de agua procedente de la connexion exterior de la motor de serrado a la connexion interior del cubo de brida de disco.
Conecte la unidad electrica
Lea el manual de instrucciones suministrado con launidad electrica antes de utilizar laquina.
Una vez instalados launidad de serrado, la hoja y el protector de la hoja, deben conectar el cable de alimentacion (A) y el sistema de refrigeracion hidráulica (B) a launidad.

IMPORTANTE!Estaquina está pensada para ser realizada con una unidad de alimentacion Husqvarna PP 440 HF. esta prohibidaequalquierotra aplicacion.
Antes de arrancar

- Cerque el aire en que va aURTAR para impedir la entrada de personas ajenas al trabajo y evaporar el riesgo de que sufran daños y que le estorben en el trabajo.
- Asegürese de que ni el disco ni el protector estén danados o agrietados. Sustituya el disco o el protector si han sufrido golpes o están agrietados.
- Compruebe que todos los cables y el suministro de agua estácorrectamente conectados a laquina antes de arrancarla.
- Si el corte se va a起初 en un lugar distinto al que se encuesta launidad de sierra,pongla unaunidad en la posicion de arranque.
Arranque

Siga las instrucciones de arranque proportionadas en el manual que acomaña la unidad electrica.
Parada

- Cuando termine el corte, saque el disco de la pared y desactive la rotación del disco y el flujo de agua.
- Aquegu la unidad electrica.
Desmontaje de la sierra
1 Espere a que el motor separe totalmente.
2 Desconecte launidad de la alimentacion.
3 Apague y desconecte la entrada de agua de launidad electrica.
4 Desconecte el cable de alimentacion y la manguera de agua de la unidad de serrado.
5 LasDEMAsmedidassehacenenordeninversoal montaje.
Limpieza


Después deURTAR hay que limpiar la sierra. Es importante limpiar todo el equipo. Para limpiar la sierra, se recomienda utilizear el cepillo de limpieza fácilado conectandolo a la manguera de agua.
IMPORTANTE! No utilise un equipo de limpieza a alta presión para limiar la sierra.
Ajuste de las ruedas de guía
Para que la sierra funciona de forma estable y haga cortes rectos, es necesario que las quatre ruedas de guía estén en contacto con el riel, sin huelgo. Si el carro tiene huelgo en el riel, hay queaabstarlasruedasde guia:
Las dos ruedas de guía marcadas tienen ejes excénticos que, al ser girados, aprietan el carro contra el riel.

Empiece soltando las dos tuercas (1) marcadas con la herramienta especial incluida en la entrega. A continuacion afloje los dos tornillos de tope (2). Cuando这些东西 tornillos estén sueltos, ajuste las ruedas de guia (3) contra el riel, girandolos contra el myself hasta que desaparezca el huelgo. Sujete las ruedas de guia y vuelva a atornillar el tornillo de tope. A continuacion enrosque las tuercas para fjjar las ruedas de guia en la nuevo posicion.

Ajuste la sierra en el carro
Puesto que la sierra se desgasta, después de un determinado número de horas de empleo pueda ser ventajoso asegurarde que la unidad de sierra está montadafirmamente en el carro y el riel.De no ser asi, es probable que sea necessarioaabustarla empuñadura:
Afloje los tornillos hexagonales (1) marcados (uno a cada lado de la empañadura). A continuación gire los ejes excénticos (2) con la herramienta especial incluida en la entrega, hasta que el eje está apretado contra la sierra. A continuación, vuelva a enroscar los tornillos hexagonales.

Servizio

IMPORTANTE! Las reparaciones de todo tipo deben ser efectuadas por技术和 autorizados, únicamente. De este modo se evita someter a los operadores a grandes riesgos.
Después de 100 horas de funciona, se做不到a el
mensaje «Time for servicing» («Efctuar mantenimiento»).
Debera Ivear el equipo a un distribuidor autorizzato de
Husqvarna para que efectueelmantimientode laquina.
Mantenimiento

IMPORTANTE! El control y/o mantenimiento de laquina debe hacerse con el motor parado y el enchufedesenchufado.
Cambio del aceite del brazo de corte
En el brazo de corte hay un tapón para vinciar el aceite. Este tapón se debe limpar al cambiar el aceite. El aceite nuevo se pone por el agujero del tapón de aceite.

El brazo de corte contiene 3 dl de aceite Husqvarna Oil 150: un aceite para engranajes tipo EP 150. El primer cambio de aceite se hace con occasion del primer servicios. La entrega de la sierra nueva incluye una botella con 3 dl de aceite.
IMPORTANTE! El aceite de motor y de transmisión es nocivo para la salute y no debe vertearse en el sueño o en el camino.
Lubricación de los engranajes del alimentador
IMPORTANTE! Si no se lubrican de forma regular los engranajes, su vida útis reducirá considerablemente.
Todas las unidades de serradoCNTAN con dos boquillas de engrase. Los engranajes de los motores de alimentacion se lubrican con estas boquillas. Lubrquelos diariamente o al menos cada 30 horas de functiomento. Utilice VEIDEC POWER LUBE o el lubricante correspondiente.

Engrase el eje del disco
Para fácilar al máximo possible el montaje del eje del disco, a\ ces peuvent ser besoinio engrasar el eje hexagonal.\ Compruebe al mesmo tiempo que el eje hexagonal no esté\ dañado.

Mantenimiento diario

1 Compruebe que todas las juntas, conexiones y cables están intestados y limpios.
2 Limpie la parte exterior de laquina. No utilise un equipo de limpieza a alta presión para limiar la sierra.
3 Asegúrese de que ni el disco ni el protector estén dañados o agrietados. Sustituya el disco o el protector si han sufrido golpes o está agrietados.
WS 440 HF
Peso
Carro de la sierra, kg/lbs 3,7/8,2
Unidad de sierra, kg/lbs 25/55,1
Protection del disco 800 mm, kg/lbs 13/28,7
Protection del disco 1000 mm, kg/lbs 16/35,3
Riel 1200 mm (47") kg/lbs 9,5/20,9
Riel 2000 mm (79") kg/lbs 19/41,9
Tamaño del disco
Tamaño max. del disco, mm / pulgadas 1200/47,2
Tamaño max. del disco, mm / pulgadas 600/23,6
Disco de arranque max., mm / pulgadas 1000/39,4
Profundidad maximala de la sierra, mm/ 530/20,9 pulgadas
Motor impulsor del disco de la sierra Ciclo alto de PM
Salida max. del husillo, kW 13
Mecanismo de transmisión Transmisión
Velocidad de salute, rpm 0-1225
Control / Sistema de alimentacion Eletro / automático
Par motor max. en el disco de la sierra, Nm 125
Presión max. de la refrigeración hidráulica, 7 bar
Tipode protection IP65
Emissiones de ruido (vea lanota 1)
Nivel de potencia acústica medido dB(A) 108
Nivel de potencia acústica garantizo LwA dB(A) 109
Niveles acusticos (vea lanota 2)
Nivel de presión acústica en el oído del usuario, dB(A) 85
Nota 1: Emisiones sonoras en el entorno medidas como potencia sonora (L_WA) segun la norma EN 15027/A1.
Note 2: Nivel de presión sonora conforms a EN 15027/A1. Los datos referidos del nivel de presión sonora tienen una dispersion estadística habitual (desviación típica) de 1,0 dB (A).
Velocidad de la hoja recomendada

iATENCION! SiURTAC Revolucionesdemasiado elevadaspuedecasar daños ala hoja y daños personales.
Siga las recomendaciones del fabricante de la hoja acerca del material y la velocidad cuando elija una hoja. Debera utilizesse una velocidad de hoja más baja alURTAR en homigón duro que alURTAR en homigón blando.
| Hormigón | |
| Duro | |
| Medio | |
| Blando | |

Dimensiones

Declaración CE de conformidad
Husqvarna AB, SE-433 81 Göteborg, Suecia, téléphone: +46-31-949000, declara por la presente que la sierra de pared Husqvarna WS 440 HF, a partir del número de série del año 2010 en adelante (el año se indica textualmente en la plaza de identificacion, seguido del número de series), cumple con las siguientes dispositionses de la DIRECTIVA DEL CONSEJO:
2006/42/CE «relativa a migunas» del 17 de mayo de 2006.
2004/108/CEE, "referente a compatibilitad electromagnética", del 15 de diciembre de 2004.
2006/95/CE del 12 de diciembre de 2006 relativa a equipos electricos.
Se han aplicado las siguientes normas: EN ISO 12100:2003, EN 55014-1:2006, EN 55014-2/A1:2001, EN 61000-3-11:2000, EN 15027/A1:2009.
Göteborg, 29 de novembre de 2009

Henric Andersson
Vicepresidente, jefe de la sección de cortadoras y maquinaria para la construcción
Husqvarna AB
(Presentante autorizzato de Husqvarna AB y responsable de la documentoación技术水平ica.)
ManualFácil