HP14KD - Drill BLACK & DECKER - Free user manual and instructions
Find the device manual for free HP14KD BLACK & DECKER in PDF.
User questions about HP14KD BLACK & DECKER
0 question about this device. Answer the ones you know or ask your own.
Ask a new question about this device
Download the instructions for your Drill in PDF format for free! Find your manual HP14KD - BLACK & DECKER and take your electronic device back in hand. On this page are published all the documents necessary for the use of your device. HP14KD by BLACK & DECKER.
USER MANUAL HP14KD BLACK & DECKER
You have chosen a Black & Decker tool. Our aim is to provide quality tools at an affordable price. We hope that you will enjoy using this tool for many years.
EC DECLARATION OF CONFORMITY

Black & Decker declares that these tools conform to: 98/37/EC, 89/336/EEC, 73/23/EEC, EN 50260, EN 55014, EN 60335, EN 61000
Level of sound pressure, measured according to EN 50260:
| HP96K HP12K(D) HP14K(D) | |
| LpA (sound pressure) dB(A) 71 70 75 | |
| LwA (acoustic power) dB(A) 84 83 86 | |
| HP122K(D) HP142K(D) | |
| LpA (sound pressure) dB(A) 84 82 | |
| LwA (acoustic power) dB(A) 97 94 |

Always wear ear protection if the sound pressure exceeds 85 dB(A).
Hand/arm weighted vibration value according to EN 50260:
| HP96K HP12K(D) HP14K(D) HP122K(D) HP142K(D) | |||
| < 2.5 m/s2 | < 2.5 m/s2 | < 2.5 m/s2 | 6.8 m/s2 |
| 6.0 m/s2 | |||

Colin Wills
Director of Engineering
BDCI, 4/F, 2 Dai Wang Street
Tai Po Industrial Estate
Tai Po NT, Hong Kong
INTENDED USE
Your Black & Decker drill/screwdriver HP96K/HP12K(D)/HP14K(D) has been designed for screwdriving applications and for drilling in wood, metal and plastics. Your Black & Decker drill/screwdriver HP122K(D)/HP142K(D) has been designed for screwdriving applications and for drilling in wood, metal, plastics and soft masonry. This tool is intended for consumer use only. Your Black & Decker charger has been designed for charging Black & Decker batteries of the type supplied with this tool.
SAFETY INSTRUCTIONS
Warning symbols
The following symbols are used in this manual:

Denotes risk of personal injury, loss of life or damage to the tool in case of non-observation of the instructions in this manual.

Denotes risk of electric shock.

Read the manual prior to operation.

Fire hazard.
ENGLISH
Know your tool

Warning! When using battery-powered tools, basic safety precautions, including the following, should always be followed to reduce the risk of fire, leaking batteries, personal injury and material damage.
Read all of this manual carefully before operating the tool.
Before operating the tool, make sure that you know how to switch the tool off in an emergency.
Retain this manual for future reference.
General
1. Keep work area clean
Cluttered areas and benches can cause accidents.
2. Consider work area environment
Do not expose the tool to rain. Do not use the tool in damp or wet conditions. Keep the work area well lit. Do not use the tool where there is a risk of causing fire or explosion, e.g. in the presence of flammable liquids and gases.
3. Keep children away
Do not allow children, visitors or animals to come near the work area or to touch the tool.
4. Dress properly
Do not wear loose clothing or jewellery, as these can be caught in moving parts. Preferably wear rubber gloves and non-slip footwear when working outdoors. Wear protective hair covering to keep long hair out of the way.
5. Personal protection
Always use safety glasses. Use a face or dust mask whenever the operations may produce dust or flying particles. Wear ear protection whenever the sound level seems uncomfortable.
6. Do not overreach
Keep proper footing and balance at all times.
7. Stay alert
Watch what you are doing. Use common sense. Do not operate the tool when you are tired.
8. Secure workpiece
Use clamps or a vice to hold the workpiece.
It is safer and it frees both hands to operate the tool.
9. Connect dust extraction equipment
If devices are provided for the connection of dust extraction and collection facilities, ensure that these are connected and properly used.
10.Remove keys and adjusting wrenches
Always check that keys and adjusting wrenches are removed from the tool before operating the tool.
11.Use appropriate tool
The intended use is described in this instruction manual. Do not force small tools or attachments to do the job of a heavy-duty tool. The tool will do the job better and safer at the rate for which it was intended. Do not force the tool. Warning! The use of any accessory or attachment or performance of any operation with this tool other than those recommended in this instruction manual may present a risk of personal injury.
12. Check for damaged parts
Before use, carefully check the tool for damage. Check for misalignment and seizure of moving parts, breakage of parts, damage to guards and switches and any other conditions that may affect its operation.
Ensure that the tool will operate properly and perform its intended function.
Do not use the tool if any part is damaged or defective.
Do not use the tool if the switch does not turn it on and off. Have any damaged or defective parts repaired or replaced by an authorised repair agent. Never attempt any repairs yourself.
13.Remove the battery
Where the design permits, remove the battery when the tool is not in use, before changing any parts of the tool, accessories or attachments and before servicing.
14.Avoid unintentional starting
Do not carry the tool with a finger on the on/off switch. Be sure that the tool is switched off when inserting the battery into the tool.
15.Do not abuse cord
Never carry the charger by its cord or pull it to disconnect from the socket. Keep the cord away from heat, oil and sharp edges.
16.Storage idle tools
When not in use, tools, batteries and chargers should be stored in a dry, locked up or high place, out of reach of children.
17.Maintain tools with care
- Keep cutting tools sharp and clean for better and safer performance. Follow the instructions for maintenance and changing accessories.
- Keep handles and switches dry, clean and free from oil and grease.
18.Repairs
This tool complies with relevant safety requirements. Repairs should only be carried out by qualified persons using original spare parts; otherwise this may result in considerable danger to the user.
Additional safety instructions for batteries and chargers
Batteries
Never attempt to open for any reason.
Do not expose to water.
Do not store in locations where the temperature may exceed 40^ .
Charge only at ambient temperatures between 4^ and 40^ .
Charge only using the charger provided with the tool (see technical data).
Before charging, make sure that the battery is dry and clean.
Use only the correct type of battery for the tool (see technical data).
- When disposing of batteries, follow the instructions given in the section "Protecting the environment".
Under extreme conditions, battery leakage may occur. When you notice liquid on the battery, proceed as follows:
- Carefully wipe the liquid off using a cloth. Avoid skin contact.
- In case of skin or eye contact, follow the instructions below.

The battery fluid, a 25 - 30% solution of potassium hydroxide, can be harmful. In case of skin contact, immediately rinse with water.
Neutralise with a mild acid such as lemon juice or vinegar. In case of eye contact, rinse abundantly with clean water for at least 10 minutes. Consult a physician.

Fire hazard! Avoid short-circuiting the contacts of a detached battery (e.g. when storing the battery in a toolbox).

Do not incinerate the battery.

Do not attempt to charge damaged batteries.
Chargers
Use your Black & Decker charger only to charge batteries of the type supplied with your tool. Other batteries could burst, causing personal injury and damage.
Never attempt to charge non-rechargeable batteries.
Have defective cords replaced immediately.
Do not expose to water.
Do not open the charger.
Do not probe the charger.

The charger is intended for indoor use only.
Additional safety instructions for drill/ screwdrivers
Before drilling into walls, floors or ceilings, check for the location of wiring and pipes.
Avoid touching the tip of a drill bit just after drilling, as it may be hot.
ELECTRICAL SAFETY
Your charger has been designed for a specific mains voltage. Always check that the mains voltage corresponds to the voltage on the rating plate.

Your charger is double insulated in accordance with EN 60335; therefore no earth wire is required.
ENGLISH
Never attempt to replace the charger unit with a regular mains plug.
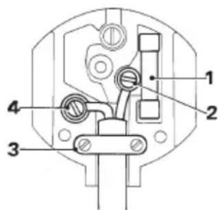
HP122K(D)/HP142K(D) - Mains plug replacement (U.K. & Ireland only)

Should your mains plug need replacing and you are competent to do this, proceed as instructed below. If you are in doubt, contact an authorised repair agent or a qualified electrician.
Disconnect the plug from the supply and remove the fuse from the plug.
Cut off the plug and dispose of it safely; a plug with bared copper conductors is dangerous if engaged in a live socket outlet.
Only fit 13 Amperes BS1363A approved plugs fitted with a 5 A fuse (1).
- The cable wire colours, or a letter, will be marked at the connection points of most good quality plugs. Attach the wires to their respective points in the plug (see above). Brown is for Live (L) (2), blue is for Neutral (N) (4).
Before replacing the top cover of the mains plug ensure that the cable restraint (3) is holding the outer sheath of the cable firmly and that the leads are correctly fixed at the terminal screws.
- If the plug has a fuse cover, make sure that the fuse cover is fitted. Do not use the plug if the fuse cover is missing or damaged.

Never use a light socket.
OVERVIEW (fig. A)
-
Variable speed switch (HP12K(D)/HP14K(D)/ HP122K(D)/HP142K(D))
-
Two-speed on/off switch (HP96K)
- Forward/reverse slider
- Mode selector / torque adjustment collar
- Chuck
- Two-gear selector (HP122K(D)/HP142K(D))
- Battery charge indicator (HP96K/HP12K/ HP14K/HP122K/HP142K)
- Straight drilling indicator
- Bit holder
- Battery
- Battery release button
- Charger (HP96K/HP12K(D)/HP14K(D))
- Charger receptacle (HP96K/HP12K(D)/HP14K(D))
- Charger (HP122K(D)/HP142K(D))
- Charging indicator (HP122K(D)/HP142K(D))
- End of charge indicator (HP122K(D)/HP142K(D))
ASSEMBLY
Fitting and removing the battery (fig. B)
To fit the battery (9), line it up with the receptacle on the tool. Slide the battery into the receptacle and push until the battery snaps into place.
To remove the battery, push the release button (10) while at the same time pulling the battery out of the receptacle.
Fitting and removing a drill bit or screwdriver bit (fig. A & C)
This tool is fitted with a keyless chuck to allow for an easy exchange of bits.
Lock the tool by setting the forward/reverse slider (2) to the centre position (fig. A).
Open the chuck by turning the front part (16) with one hand while holding the rear part (17) with the other (fig. C).
Insert the bit shaft (18) into the chuck.
Firmly tighten the chuck by turning the front part (16) with one hand while holding the rear part (17) with the other.
This tool is supplied with a double-ended screwdriver bit in the bit holder (8) (fig. A).
To remove the screwdriver bit from the bit holder, lift the bit from the recess.
To store the screwdriver bit, firmly push it into the holder.
HP12KD/HP14KD/HP122KD/HP142KD -
Attaching the detector (fig. K)
The tool provides a mounting location where the detector (23) is stored when not in use.
Hang the unit to the holder (24) as shown.
USE

Let the tool work at its own pace.
Do not overload.
Charging the battery
The battery needs to be charged before first use and whenever it fails to produce sufficient power on jobs that were easily done before.
When charging the battery for the first time, or after prolonged storage, it will only accept an 80% charge. After several charge and discharge cycles, the battery will attain full capacity. The battery may become warm while charging; this is normal and does not indicate a problem.

Do not charge the battery at ambient temperatures below 4^ or above 40^ .
Recommended charging temperature: approx. 24^
HP96K/HP12K(D)/HP14K(D) (fig. D)
To charge the battery (9), remove it from the tool.
Slide the charger receptacle (12) onto the battery as shown.
Plug in the charger (11).
The battery will become warm while charging.
After approx. 3 hours of charging, the battery will be fully charged.
Remove the charger receptacle from the battery.
HP122K(D)/HP142K(D) (fig. E)
To charge the battery (9), remove it from the tool and insert it into the charger (13).
The battery will only fit into the charger in one way. Do not force. Be sure that the battery is fully seated in the charger.
Plug in the charger.
Check if the red charging indicator (14) lights up.
If the green end of charge indicator (15) lights up now instead, the battery is too hot and cannot be charged. If this happens, remove the battery from the charger, let the battery cool down for approx. 1 hour and re-insert it.
After approx. 1 hour of charging, the red charging indicator (14) will stop lighting and the green end of charge indicator (15) will light up. The battery is now fully charged.
Remove the battery from the charger.
HP96K/HP12K/HP14K/HP122K/HP142K -
Checking the battery condition (fig. F)
This tool is fitted with a battery charge indicator, which allows you to check the condition of the battery.
Press and hold down the button (19).
Check to see how many of the lights (20) are on:
Battery charge
1 light low
2 lights medium
3 lights high
Selecting the direction of rotation (fig. G)
For drilling and for tightening screws, use forward (clockwise) rotation. For loosening screws or removing a jammed drill bit, use reverse (counterclockwise) rotation.
To select forward rotation, push the forward/ reverse slider (2) to the left.
To select reverse rotation, push the forward/ reverse slider to the right.
To lock the tool, set the forward/reverse slider into the centre position.
Selecting the operating mode or torque (fig. H)
This tool is fitted with a collar to select the operating mode and to set the torque for tightening screws. Large screws and hard workpiece materials require a higher torque setting than small screws and soft workpiece materials. The collar has a wide range of settings to suit your application.
For drilling in wood, metal and plastics, set the collar (3) to the drilling position by aligning the symbol with the marking (21).
ENGLISH
For screwdriving, set the collar to the desired setting. If you do not yet know the appropriate setting, proceed as follows:
- Set the collar (3) to the lowest torque setting.
Tighten the first screw.
- If the clutch ratchets before the desired result is achieved, increase the collar setting and continue tightening the screw. Repeat until you reach the correct setting. Use this setting for the remaining screws.
HP122K(D)/HP142K(D) - Drilling in masonry (fig. H & I)
For drilling in masonry, set the collar (3) to the hammer drilling position by aligning the symbol with the marking (21).
Slide the two-gear selector (5) towards the front of the tool (2nd gear).
HP122K(D)/HP142K(D) - Two-gear selector (fig. I)
For drilling in steel and for screwdriving applications, slide the two-gear selector (5) towards the rear of the tool (1st gear).
For drilling in materials other than steel, slide the two-gear selector (5) towards the front of the tool (2nd gear).
Straight drilling indicator (fig. J)
This tool is fitted with an indicator to facilitate straight drilling. This feature can be used both in horizontal and in vertical position.
Position the tool as required.
Keep the switch (1) slightly depressed without switching the tool on.
Slowly move the rear of the tool until the red indicator (22) lights up.
Press the switch further to start drilling.
HP12KD/HP14KD/HP122KD/HP142KD - Detecting pipes or wires (fig. K)
Take the detector (23) out of the holder (24).
Refer to the manual of the detector for further instructions.
Drilling/screwdriving (fig. A)
Select forward or reverse rotation using the forward/reverse slider (2).
To switch the tool on, press the switch (1).
The tool speed depends on how far you press the switch.
To switch the tool off, release the switch.
Hints for optimum use
Drilling
Always apply a light pressure in a straight line with the drill bit.
Just before the drill tip breaks through the other side of the workpiece, decrease pressure on the tool.
Use a block of wood to back up workpieces that may splinter.
Use spade bits when drilling large diameter holes in wood.
Use HSS drill bits when drilling in metal.
Use masonry bits when drilling in soft masonry.
Use a lubricant when drilling metals other than cast iron and brass.
Make an indentation using a centre punch at the centre of the hole to be drilled in order to improve accuracy.
Screwdriving
Always use the correct type and size of screwdriver bit.
If screws are difficult to tighten, try applying a small amount of washing liquid or soap as a lubricant.
Always hold the tool and screwdriver bit in a straight line with the screw.
MAINTENANCE
Your Black & Decker tool has been designed to operate over a long period of time with a minimum of maintenance. Continuous satisfactory operation depends upon proper tool care and regular cleaning.
Your charger does not require any maintenance apart from regular cleaning.

Before performing any maintenance on the tool, remove the battery from the tool.
Unplug the charger before cleaning it.
Regularly clean the ventilation slots in your tool and charger using a soft brush or dry cloth.
Regularly clean the motor housing using a damp cloth. Do not use any abrasive or solvent-based cleaner.
Regularly open the chuck and tap it to remove any dust from the interior.
PROTECTING THE ENVIRONMENT
Tools

Should you find one day that your tool needs replacement, or if it is of no further use to you, think of the protection of the environment. Black & Decker repair agents will accept old Black & Decker tools and ensure that they are disposed of in an environmentally safe way.
Batteries

Cd
Black & Decker batteries can be recharged many times. At the end of their useful life, discard batteries with due care for our environment:
Run the battery down completely, then remove it from the tool.
NiCd and NiMH batteries are recyclable. Take them to your service agent or a local recycling station. Collected batteries will be recycled or disposed of properly.
Guarantee
Black & Decker is confident of the quality of its products and offers an outstanding guarantee. This guarantee statement is in addition to and in no way prejudices your statutory rights. The guarantee is valid within the territories of the Member States of the European Union and the European Free Trade Area.
If a Black & Decker product becomes defective due to faulty materials, workmanship or lack of conformity, within 24 months from the date of purchase, Black & Decker guarantees to replace defective parts, repair products subjected to fair wear and tear or replace such products to ensure minimum inconvenience to the customer unless:
The product has been used for trade, professional or hire purposes;
The product has been subjected to misuse or neglect;
The product has sustained damage through foreign objects, substances or accidents;
Technical data
| HP96K HP12K(D) HP14K(D) HP122K(D) HP142K(D) | |||||
| Voltage V | DC | 9.6 12 14.4 | 12 14.4 | ||
| No-load speed min | -1 | 350/700 | 0-750 | 0-750 | 0-400/0-1,200 |
| Max. torque Nm 10.5 | 11.8 | 12.9 | 23.5 | 26 | |
| Chuck capacity | mm 10 | 10 10 | 10 10 | ||
| Max. drilling capacityin steel/wood/masonry | mm | 10/20/- | 10/25/- | 10/30/- | 10/25/12 |
| Weight (without battery) | kg | 1.0 | 1.0 | 1.3 | 1.0 |
| Battery | HP96K | HP12K(D) | HP14K(D) | HP122K(D) | HP142K(D) | |
| Battery cat. no. | A96 | A12 | 499936-34 | A12 | 499936-35 | |
| Voltage V | DC | 9.6 | 12 14.4 | 12 14.4 | ||
| Capacity | Ah | 1.2 | 1.2 | 1.2 | 1.2 | |
| Weight | kg | 0.56 | 0.52 (0.63) | 0.76 | 0.52 | 0.63 |
| Charger | HP96K | HP12K(D) | HP14K(D) | HP122K(D) | HP142K(D) | |
| Input voltage | \( V_{AC} \) | 230 | 230 | 230 | 230 | 230 |
| Approx. charging time | h | 3 | 3 | 3 | 1 | 1 |
ENGLISH
Repairs have been attempted by persons other than authorised repair agents or Black & Decker service staff.
To claim on the guarantee, you will need to submit proof of purchase to the seller or an authorised repair agent. You can check the location of your nearest authorised repair agent by contacting your local Black & Decker office at the address indicated in this manual. Alternatively, a list of authorised Black & Decker repair agents and full details of our after-sales service and contacts are available on the Internet at: www.2helpU.com.
AKKU-BOHRSCHRAUBER HP96K/HP12K(D)/HP14K(D)/HP122K(D)/HP142K(D)
HERZLICHEN GLUCKWUNSCH!
Director of Engineering
BDCI, 4/F, 2 Dai Wang Street
Tai Po Industrial Estate
Tai Po NT, Hong Kong
Director of Engineering
BDCI, 4/F, 2 Dai Wang Street
Tai Po Industrial Estate
Tai Po NT, Hong Kong
UTILISATION PREVUE
98/37/CEE, 89/336/CEE, 73/23/CEE
Director of Engineering
BDCI, 4/F, 2 Dai Wang Street
Tai Po Industrial Estate
Tai Po NT, Hong Kong
USO PROGETTATO
Director of Engineering
BDCI, 4/F, 2 Dai Wang Street
Tai Po Industrial Estate
Tai Po NT, Hong Kong
GEBRUIK VOLGENS BESTEMMING
Director of Engineering
BDCI, 4/F, 2 Dai Wang Street
Tai Po Industrial Estate
Tai Po NT, Hong Kong
FINALIDAD
BDCI, 4/F, 2 Dai Wang Street
Tai Po Industrial Estate
Tai Po NT, Hong Kong
Director of Engineering
BDCI, 4/F, 2 Dai Wang Street
Tai Po Industrial Estate
Tai Po NT, Hong Kong
ANVÄNDNINGSOMRADE
Colin Wills
Director of Engineering
BDCI, 4/F, 2 Dai Wang Street
Tai Po Industrial Estate
Tai Po NT, Hong Kong
BRUKSOMRÄDER
Black & Decker drill/skrutrekker HP96K/HP12K(D)/ HP14K(D) er konstruert for skruing og boring i tre, metall og plast. Black & Decker drill/skrutrekker HP122K(D)/HP142K(D) er konstruert for skruing og boring i tre, metall, plast og mur.
98/37/EØF, 89/336/EØF, 73/23/EØF,
Director of Engineering
BDCI, 4/F, 2 Dai Wang Street
Tai Po Industrial Estate
Tai Po NT, Hong Kong
ANVENDESESOMRADE
Reservedele / reparationer
Director of Engineering
BDCI, 4/F, 2 Dai Wang Street
Tai Po Industrial Estate
Tai Po NT, Hong Kong
KÄYTTOPARTKOITUS
Director of Engineering
BDCI, 4/F, 2 Dai Wang Street
Tai Po Industrial Estate
Tai Po NT, Hong Kong
ENAEEIEIMENH XPHSH
To i oac p a n a v o k a t o IoO Black & Decker HP96K/HP12K(D)/HP14K(D) i yia a p u o y c i a t o c ka yia diatpnoon e EuLo, t o ka nlaotiká.
Dealer address Date of purchase
Händleradresse Kaufdatum
English Please complete this section immediately after the
purchase of your tool and send it to Black & Decker in
your country. If you live in Australia or New Zealand,
supplied.
EasyManual