40762 - Food processor Vollrath - Free user manual and instructions
Find the device manual for free 40762 Vollrath in PDF.
User questions about 40762 Vollrath
0 question about this device. Answer the ones you know or ask your own.
Ask a new question about this device
Download the instructions for your Food processor in PDF format for free! Find your manual 40762 - Vollrath and take your electronic device back in hand. On this page are published all the documents necessary for the use of your device. 40762 by Vollrath.
USER MANUAL 40762 Vollrath
Countertop Mixer Floor/Bench Mixers
Item Model Description Voltage HP Amp Hz Plug
| 40755 MIX1007 7 Quart Countertop Mixer 110V-120V 1/3 6 60 | 5-15P | ||||||
| 4075503 | MIX1007CE | 7 Quart Countertop Mixer | 220-230V | 1/3 | 3 | 50 | UK-15P (BS546) |
| 4075502 MIX1007CE 7 Quart Countertop Mixer 220-230V 1/3 3 50 Schuko CEE7-7 | |||||||
| 4075505 | MIX1007CE | 7 Quart Countertop Mixer | 220-230V | 1/3 | 3 | 50 | AU2-15P |
| 40756 | MIX1010 | 10 Quart Countertop Mixer | 110V-120V | 1/3 | 6 | 60 | 5-15P |
| 4075603 MIX1010CE 10 Quart Countertop Mixer 220-230V 1/3 3 50 UK-15P (BS546) | |||||||
| 4075602 MIX1010CE 10 Quart Countertop Mixer 220-230V 1/3 3 50 Schuko CEE7-7 | |||||||
| 4075605 MIX1010CE 10 Quart Countertop Mixer 220-230V 1/3 3 50 AU2-15P | |||||||
| 40757 | MIX1020 | 20 Quart Bench Mixer | 110V-120V | 1/2 | 10 | 60 | 5-15P |
| 4075703 | MIX1020CE | 20 Quart Bench Mixer | 220-230V | 1/2 | 4 | 50 | UK-15P (BS546) |
| 4075702 | MIX1020CE | 20 Quart Bench Mixer | 220-230V | 1/2 | 4 | 50 | Schuko CEE7-7 |
| 4075705 | MIX1020CE | 20 Quart Bench Mixer | 220-230V | 1/2 | 4 | 50 | AU2-15P |
| 40758 | MIX1030 | 30 Quart Floor Mixer | 110V-120V | 1 | 16 | 60 | 5-20P |
| 4075803 | MIX1030CE | 30 Quart Floor Mixer | 220-230V | 1 | 8 | 50 | UK-15P (BS546) |
| 4075802 | MIX1030CE | 30 Quart Floor Mixer | 220-230V | 1 | 8 | 50 | Schuko CEE7-7 |
| 4075805 | MIX1030CE | 30 Quart Floor Mixer | 220-230V | 1 | 8 | 50 | AU2-15P |
| 40759 | MIX1040 | 40 Quart Floor Mixer | 208-240V | 1-1/2 | 12 | 60 | 6-15P |
| 4075903 | MIX1040CE | 40 Quart Floor Mixer | 220-230V | 1-1/2 | 11 | 50 | UK-15P (BS546) |
| 4075902 | MIX1040CE | 40 Quart Floor Mixer | 220-230V | 1-1/2 | 11 | 50 | Schuko CEE7-7 |
| 4075905 | MIX1040CE | 40 Quart Floor Mixer | 220-230V | 1-1/2 | 11 | 50 | AU2-15P |
| 40760 | MIX1060 | 60 Quart Floor Mixer | 208-240V | 2 | 16 | 60 | 6-20P |
| 4076003 | MIX1060CE | 60 Quart Floor Mixer | 220-230V | 2 | 16 | 50 | -- |
| 4076002 | MIX1060CE | 60 Quart Floor Mixer | 220-230V | 2 | 16 | 50 | Schuko CEE7-7 |
| 4076005 | MIX1060CE | 60 Quart Floor Mixer | 220-230V | 2 | 16 | 50 | AU2-15P |

natural_image
Modern kitchen mixer with blue and silver casing (no visible text or labels)
natural_image
Modern mixing bowl with blue and silver casing (no visible text or symbols)
natural_image
Modern mixing machine with blue and silver casing, no visible text or symbolsThank you for purchasing this Vollrath Food Processing Equipment. Before operating the equipment, read and familiarize yourself with the following operating and safety instructions. SAVE THESE INSTRUCTIONS FOR FUTURE REFERENCE. Save the original box and packaging. Use this packaging to ship the equipment if repairs are needed.
SAFETY PRECAUTIONS
To ensure safe operation, read the following statements and understand their meaning. This manual contains safety precautions which are explained below. Please read carefully.

WARNING
Warning is used to indicate the presence of a hazard that can cause severe personal injury, death, or substantial property damage if the warning is ignored.

CAUTION
Caution is used to indicate the presence of a hazard that will or can cause minor personal injury or property damage if the caution is ignored.
NOTE
Note is used to notify people of installation, operation, or maintenance information that is important but not hazard-related.
For Your Safety!
These precautions should be followed at all times. Failure to follow these precautions could result in injury to yourself and others or damage the equipment.
To reduce risk of injury or damage to the equipment:
Plug only into grounded electrical outlets matching the nameplate rated voltage.
■ Do not modify or tamper with safety switches.
■ Do not operate unattended.
■ Do not operate equipment in public areas and/or around children.
Do not use an extension cord with this equipment. Do not plug this equipment into a power strip or multi-outlet power cord.
■ For best results, Vollrath attachments are recommended.
■ Check equipment before each use to insure the equipment is clean.
■ Do not use a hose to clean mixer. Use a damp cloth to wipe down the exterior of the mixer.
■ Wear proper apparel. Do not wear loose fitting or hanging garments while operating this equipment.
■ Have equipment installed by a qualified personnel in accordance with local codes and ordinances.
■ Use equipment in a flat, level position.
■ Unplug equipment, turn off and let it cool before cleaning or moving.
■ Do not spray controls or outside of equipment with liquids or cleaning agents.
■ Do not clean the equipment with steel wool.
- Keep equipment and power cord away from open flames, electric burners or excessive heat.
■ Do not operate if equipment has been damaged or is malfunctioning in any way.
■ Do not use the attachments on hub while mixing.
FUNCTION AND PURPOSE
Intended for mixing batters, doughs, cake mix, etc. It is not intended for household, industrial or laboratory use.
FEATURES AND CONTROLS

text_image
A G F H B C D E IFigure 1. 7 Quart. and 10 Quart. Mixer, Features and Controls.

text_image
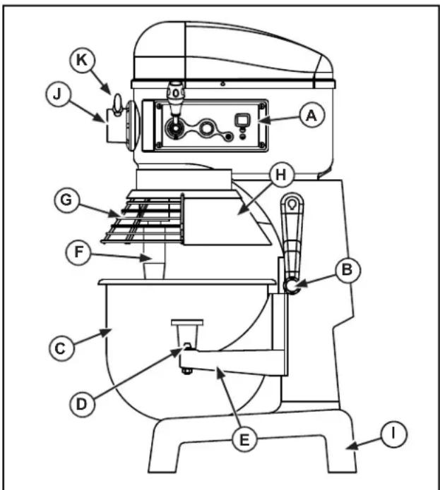
K J A H G F B C D E IFigure 2. 20 Quart and 30 Quart Mixers, Features and Controls.

text_image
A H G F B C D E I J KFigure 3. 40 Quart Mixer, Features and Controls.

text_image
Technical diagram of a motor with labeled components including fan, stator, and control panelFigure 4. 60 Quart Mixer, Features and Controls.
A CONTROL PANEL. Includes the On/Off Button, Speed Control, Timer Controls, Timer Display and Emergency Stop (some models).
B BOWL LIFT. Used to lower and raise the bowl cradle.
© BOWL. Holds the food product mixing contents.
D BOWL CLAMP. Secures the bowl to the bowl cradle.
E BOWL CRADLE. Holds the bowl.
F MIXING SHAFT. Holds the mixing attachment.
G BOWL GUARD. Helps prevent injury or contact with mixing shaft or attachment. This guard needs to be closed for operation.
H SPLASH GUARD. Helps prevent spillage of mixing contents. Helps prevent injury or contact with mixing shaft or attachment.
① BASE. Supports the mixer.
J ATTACHMENT HUB (some models). Used to locate an attachment to the mixer.
K ATTACHMENT HUB THUMBSCREW (some models). Secures the attachment to the mixer.
UNPACKING THE EQUIPMENT AND INITIAL SETUP
Carefully remove crating or packaging materials from the equipment. Models shipped on pallets are bolted to the pallet. Bolts must be removed to safely separate the equipment from the pallet. When no longer needed, dispose of all packaging, materials in an environmentally responsible manner.
Place the equipment on a flat surface with sufficient space around the mixer to allow for safe cleaning and service.
Plug only into grounded electrical outlets matching the nameplate rated voltage. Do not use an extension cord with this equipment. Do not plug this equipment into a power strip or multi-outlet power cord. Some models require electrical connection to be installed by a qualifies service personal in accordance with local ordinances.
OPERATION
![]() | [ccx6] WARNING |
| Entanglement Hazard.Rotating shaft or attachments can cause traumatic amputations or sever lacerations. To avoid injury, keep hands and clothing away from rotating parts.Do not operate with guards modified or missing. | |
![]() | [my] WARNING |
| Electrical Shock Hazard.Keep water and other liquids from entering the inside of the equipment. Liquid inside the equipment could cause an electrical shock. | |
| Do not spray water or cleaning products. Liquid could contact the electrical components and cause a component failure or an electrical shock. Do not use equipment if power cord is damaged or has been modified. | |
WARNING
Entanglement Hazard.
WARNING
Electrical Shock Hazard.
Prior to first use, it is important to clean the equipment. Wash new the attachments, bowl, guards and other parts with warm soapy water and rinse thoroughly to remove the thin protective oil film.
The safety guard must be in the fully closed position in order to activate the mixer. If the safety guard is not closed properly then the mixer will not start. If the safety guard is opened during use then the mixer will switch off. In order to restart the mixer the safety guard must be closed.
20 qt., 30qt., 40qt. and 60qt. mixers: The motor is fitted with a safety shut off device which will automatically turn off the mixer if the temperature of the motor exceeds the manufacturers recommended operating limits. The overload protection switch which will trip if the batch size being mixed is too heavy. If this happens allow the mixer to cool for minimum of 30-60 minutes and reduce the batch size by 10-15%.
7 qt and 10 qt mixers have an overload protection device which will automatically turn off the mixer if the resistance of the motor exceeds the manufacturers recommended operating limits. An alarm will beep and the display will flash. Pressing the OFF button will reset the mixer.
- Before each use, check that the equipment is clean.
- Before attaching the bowl select the mixing attachment you will be using. Place your selected mixing attachment inside the empty bowl (C). Do not attempt to fit the mixing attachment onto the mixing shaft (F) before the bowl is in position. See Figures 1, 2, 3 or 4.
- Lower the bowl cradle to its lowest position by rotating the bowl lift (B).
- Rotate the bowl clamp levers (D) to the out or back position.
- Hold the bowl (C) so that the pin on the bowl is facing in towards the mixer. Position the bowl so that the pin is lined up with the pin slot on the bowl cradle (E). Slide the pin into the slot.
- Align the holes on the bowl tabs with the pins on the bowl cradle (E). Set the bowl (C) on the bowl cradle (E).
- Rotate the bowl clamp levers (D) to the front over the bowl tabs to secure the bowl (C) onto the bowl cradle (E).
- Install the attachment to the mixing shaft (F). Ailing the grove on the attachment with the pin on the mixing shaft. Push the attachment up and rotate to lock onto the pin.
- Raise the bowl (C) to its maximum height using the bowl lift (B) by rotating in a counter clockwise direction until it snaps into place.
Figure 5.7 Quart and 10 Quart Mixer Control Panel.
A ON/OFF BUTTON. Switches the mixer on and off.
B DIGITAL DISPLAY. Displays the time remaining in a timed operation cycle, displays "ON" when operating in an non-timed cycle and displays "OFF" equipment is plugged in and not operating.
C TIME UP BUTTON. Increases the time. Maximum time of 30 minutes.
D TIME DOWN BUTTON. Decreases the time.
E SPEED UP BUTTON. Increases the mixing speed.
F SPEED DOWN BUTTON. Decreases the mixing speed.
G SPEED NUMBERS AND LIGHTS. Numbers and lights correspond to show the mixing speed. The larger the number the faster the speed, the smaller the number the slower the speed.
When mixing light batches it is recommended that the mixer is not used continuously for a time period of more than 20 minutes and a brief cooling off period of 10-15 minutes should be allowed between mixing cycles.
- Close the bowl guard (G). See Figure 1. The safety guard must be closed for the mixer to operate. If the safety guard is open or not closed properly then the mixer will not operate.
- Select the desired operating speed based on the ingredients. Use the speed up (E) or speed down button (F) to program the speed. See Figure 5.
■ Speed 1 – Use for slow mixing, mashing and kneading yeast dough.
■ Speed 2 – Use for mixing cookie and cake batters.
■ Speed 3 – Use for beating, creaming and medium fast whipping.
■ Speed 4 – For whipping heavy cream and egg whites.
■ Speed 5 – For whipping small amounts off heavy cream/egg whites.
- Set the time cycle, if desired by using the time up button (C) and time down button (D). The maximum time that can be set is 30 minutes.
- To begin mixing cycle press the on/off button (A). The mixer will continue to operate until the on/off button (A) is pressed again. Or, the mixer will operate until the time cycle has been completed.
Figure 6. 20 Quart and 30 Quart Mixer Control Panel.
A ON/OFF BUTTON. Switches the mixer on and off.
B DIGITAL DISPLAY. Displays the time remaining in timed operation cycle, displays "ON" when operating in an non-timed cycle and displays "OFF" equipment is plugged in and not operating.
© TIME UP BUTTON. Increases the time. Maximum time of 30 minutes.
D TIME DOWN BUTTON. Decreases the time.
E STOP BUTTON. Press the switch in to stop the mixer. Rotate the switch in the clockwise direction to reset.
F SPEED SELECT LEVER. Used to change the mixer speed.
G INDICATOR LIGHTS. Illuminates when the mixer in operating or time has been programmed.
NOTE:
Turn the mixer off before switching from one speed to another. Failure to stop the mixer before changing speeds may damage the gearbox and void the warranty.
-
Close the bowl guard (G). See Figure 2. The safety guard must be closed for the mixer to operate. If the safety guard is open or not closed properly then the mixer will not operate.
-
Select the desired operating speed based on the ingredients. Use the speed select lever (F) to set the speed. See Figure 6.
■ Speed 1 – Use for mixing heavy dough with an absorption ratio of 50% or less.
■ Speed 2 – Use for mixing cakes, batters or heavy dough with an absorption ratio of more than 50%.
■ Speed 3 – Used for mixing egg whites.
NOTE:
The moisture content of heavy dough is critical when selecting the proper mixing speed. Do not use speed 2 when mixing heavy dough with an absorption ratio of 50% or less.
- Once the speed has been selected, press the on/off button to start the mixer. Or, select a time by pressing the time up button (D) or time down button (C). Press the on/off button.
-
To change speeds, press the red button to stop the mixer. Once the mixing attachment has stopped rotating then change the speed using the speed control knob. Once the new desired speed has been selected then press the on/off button to reactivate the mixer.
-
The mixer will stop and the timer will beep three times after the time cycle has ended.
NOTE:
Turn the mixer off before switching from one speed to another. Failure to stop the mixer before changing speeds may damage the gearbox and void the warranty.
Figure 7. 40 Quart Mixer Control Panel.

text_image
EMERGENCY STOP E B C G A D 3 1 3 1 FFigure 8. 60 Quart Mixer Control Panel.
A ON BUTTON. Switches the mixer on.
B DIGITAL DISPLAY. Displays the time remaining in timed operation cycle, displays "ON" when operating in an non timed cycle and displays "OFF" equipment is plugged in and not operating.
C TIME UP BUTTON. Increases the time. Maximum time of 30 minutes.
D TIME DOWN BUTTON. Decreases the time.
E STOP BUTTON. Press the switch in to stop the mixer. Rotate the switch in the clockwise direction to reset.
F SPEED SELECT LEVER. Used to change the mixer speed.
STOP BUTTON. Switches the mixer off.
NOTE:
Turn the mixer off before switching from one speed to another. Failure to stop the mixer before changing speeds may damage the gearbox and void the warranty.
- Close the bowl guard (G). See Figures 3 or 4. The safety guard must be closed for the mixer to operate. If the safety guard is open or not closed properly then the mixer will not operate.
- Select the desired operating speed based on the ingredients. Use the speed select lever (F) to set the speed. See Figures 7 or 8.
■ Speed 1 – Use for mixing heavy dough with an absorption ratio of 50% or less.
■ Speed 2 – Use for mixing cakes, batters or heavy dough with an absorption ratio of more than 50%.
■ Speed 3 – Used for mixing egg whites.
NOTE:
The moisture content of heavy dough is critical when selecting the proper mixing speed. Do not use speed 2 when mixing heavy dough with an absorption ratio of 50% or less.
- Once the speed has been selected, press the on/off button to start the mixer. Or, select a time by pressing the time up button (D) or time down button (D). Press the on/off button.
- To change speeds, press the red button to stop the mixer. Once the mixing attachment has stopped rotating then change the speed using the speed control knob. Once the new desired speed has been selected then press the on/off button to reactivate the mixer.
- The mixer will stop and the timer will beep three times after the time cycle has ended.
NOTE:
Turn the mixer off before switching from one speed to another. Failure to stop the mixer before changing speeds may damage the gearbox and void the warranty.
MIXING CAPACITY CHART
| Product Agitator Speed | 7 Quart Mixer | 10 Quart Mixer | 20 Quart Mixer | 30 Quart Mixer | 40 Quart Mixer | 60 Quart Mixer | ||
| Bread and Roll Dough – 60% AR | Dough Hook 1st speed only | 4 lbs. 5 lbs. | 25 lbs. 45 lbs. | 50 lbs. | 90 lbs. | |||
| Heavy Bread Dough – 55% AR | Dough Hook 1st speed only | 2 lbs. 3 lbs. | 15 lbs. 30 lbs. | 40 lbs. | 70 lbs. | |||
| Pizza Dough, Thin – 40% AR | Dough Hook 1st speed only | 2 lbs. 3 lbs. | 9 lbs. 14 lbs. | 25 lbs. | 40 lbs. | |||
| Pizza Dough, Medium – 50% AR | Dough Hook 1st speed only | 3 lbs. 4 lbs. | 10 lbs. 20 lbs. | 32 lbs. | 60 lbs. | |||
| Pizza Dough, Thick – 60% AR | Dough Hook 1st speed only | 4 lbs. 5 lbs. | 20 lbs. 40 lbs. | 50 lbs. | 70 lbs. | |||
| Raised Donut Dough – 65% AR | Dough Hook 1st speed only | 2 lbs. 2 lbs. | 9 lbs. 15 lbs. | 25 lbs. | 40 lbs. | |||
| Pie Dough Flat Beater All Speeds | 4 lbs. 4 lbs. 18 lbs. | 60 lbs. | ||||||
| Mashed Potatoes Flat Beater All Speeds | 4 lbs. 5 lbs. | 30 lbs. 45 lbs. | ||||||
| Cake Flat Beater All Speeds 6 lbs | 8 lbs. 20 lbs. 30 lbs. | |||||||
| Waffle or Hot Cake Batter | Flat Beater | All Speeds | 3 qts. | 4 qts. | 8 qts. | 12 qts. | 16 qts. | 24 qts. |
| Egg Whites | Wire Whisk | All Speeds | 3/4 pt. | 1 pt. | 1 qts. | 1-1/2 qts. | 2 qts. | 3 qts. |
| Meringue | Wire Whisk | All Speeds | 1/2 pt. | 3/4 pt. | 1 qts. | 1-1/2 qts. | 2 qts. | 3 qts. |
| Whipped Cream | Wire Whisk | All Speeds | 1-3/4 qts. | 2 qts. | 4 qts. | 6 qts. | 8 qts. | 12 qts. |
| Cake, Pound | Flat Beater All Speeds 6 lbs. | lbs. 20 lbs. | 30 lbs. 40 lbs. | 60 lbs. | ||||
| When mixing dough check the “AR” (Absorption Ratio) = Water weight divided by flour weight.The capacities listed above are based on 12% flour moisture at 70° F (21°C) water temperature. If high gluten flour is used reduce batch size by 10%.1 gallon of water = 8.3 lbs.1 quart of water =2.1 lbs.Example:If a recipe calls for 5 lbs. of water and 10 lbs. of flour, then 5 divided by 10 = 0.50 x 100 =50% AR.Do not use 2nd speed with mixtures with below 50% AR. | ||||||||
USING THE ATTACHMENT HUB
The mixer is fitted with a standard No. 12 mixing hub attachment. It is recommended that original Vollrath attachments be used. To use the attachment hub:
NOTE:
Turn the mixer off before switching from one speed to another. Failure to stop the mixer before changing speeds may damage the gearbox and void the warranty.
- Turn the mixer off
- Loosen the hub attachment thumbscrew (K). It is not necessary to fully remove the screw. See Figures 2, 3, and 4.
- Remove the attachment hub cover.
- Insert the shaft of the attachment into the attachment hub (J).
- Align the pin on the attachment shaft with the pin receptor inside the hub.
-
Slide the attachment in as far as it will go. Secure the attachment with the thumbscrew (K).
-
Use the speed control knob to select the required hub operating speed:
■ Speed 1 – recommended for slicing vegetables or grinding meat
■ Speed 2 – recommended for grating cheese
-
Press the On/Off or On button to operate the hub and attachment the hub. The mixer bowl must be in the up position and the safety guard must be in the closed position in order for the hub to operate. The hub assembly and the mixer cannot be used simultaneously.
-
To change speeds, press the red button to stop the mixer. Once the mixing attachment has stopped rotating then change the speed using the speed control knob. Once the new desired speed has been selected then press the on/off button to reactivate the mixer.
Speed 3 is not recommended for use with attachments.
TROUBLESHOOTING
CLEANING

WARNING
Electrical Shock Hazard.
Keep water and other liquids from entering the inside of the equipment. Liquid inside the equipment could cause an electrical shock.
Do not spray water or cleaning products. Liquid could contact the electrical components and cause a component failure or an electrical shock. Do not use equipment if power cord is damaged or has been modified.

WARNING
Entanglement Hazard.
Rotating shaft or attachments can cause traumatic amputations or sever lacerations. To avoid injury, keep hands and clothing away from rotating parts. Do not operate with guards modified or missing.
To maintain the appearance and increase the service life, clean your equipment daily.
NOTE:
Do not clean the equipment with steel wool. Do not hose down or submerge electrical controls or components in water. Do not store attachment on attachment hub.
- Switch off the mixer.
- Unplug the mixer from the power supply before cleaning. If the mixer is hard wired to the electrical outlet then the power should be turned off at the circuit breaker.
- Remove the bowl and attachment after each use and clean with warm water and food safe cleaning detergent. Failure to remove the attachment from the mixing shaft may result in the attachment becoming stuck onto the mixing shaft.
- Remove the attachment and clean with a damp cloth and mild food safe cleaning detergent. Dry the attachment thoroughly.
- To clean the exterior of the mixer, wipe with a damp cloth and mild food safe cleaning detergent.
Problem It might be caused by Course of Action
| No lights on Display Panel. | The equipment is not plugged in. Plug equipment in. | |
| Circuit breaker is in the “OFF” position. Switch circuit breaker to “ON” position. | ||
| Stop switch in the “in/stop” position. Rotate the stop switch to the “out/run” position. | ||
| Power and time lights on but mixer does not operate. | Bowl guard not completely closed. Close bowl guard completely. | |
| Bowl not lifted into operating position. Raise bowl completely. | ||
| 7 quart and 10 quart mixers only: Mixer attachment stops moving, alarm beeps and display flashes. | Mixer is overloaded. | Press the off button to reset mixer. Reduce the batch size by 10-15%. |
| 20 quart, 30 quart, 40 quart and 60 quart: Mixer attachment stops. | Thermal overload protection activated. | Allow the mixer to cool for 30-60 minutes. Reduce the batch size by 10-15%. |
SERVICE AND REPAIR
There are no user serviceable parts within this appliance. To avoid serious injury or damage, never attempt to repair the equipment or replace a damaged power cord yourself. Do not send equipment directly to The Vollrath Company. Please contact Vollrath Technical Service from the list below..
VOLLRATH Technical Service • 1-800-628-0832 • 920-457-4851
• Email: techservicereps@vollrathco.com
When contacting Vollrath Technical Service, please be ready with the item number, model number (if applicable), serial number, and proof of purchase showing the date the unit was purchased.
WARRANTY STATEMENT FOR THE VOLLRATH CO. L.L.C.
This warranty does not apply to products purchased for personal, family or household use, and The Vollrath Company LLC does not offer a written warranty to purchasers for such uses.
The Vollrath Company LLC warrants each of its products listed below against defects in materials and workmanship for the applicable period provided below. All other products manufactured or distributed by The Vollrath Company LLC are warranted against defects in materials and workmanship for a period of one year. In all cases, the warranty runs from the date of the end user's original purchase found on the receipt. Any damages from improper use, abuse, modification or damage resulting from improper packaging during return shipment for warranty repair will not be covered under warranty.
- Mixers – The warranty period is 2 years, except that on belts the warranty period is 5 years.
■ Replacement parts – The warranty period is 90 days.
For complete warranty information, product registration and new product announcement, visit www.vollrath.com.

www.vollrath.com
| The Vollrath Company, L.L.C.1236 North 18th StreetSheboygan, Wisconsin53081-3201 USAMain Tel: 920-457-4851Main Fax: 920-459-6573Service Tel: 920-457-4851Service Fax: 920-459-5462 | Vollrath Europe BVBeneluxbaan 75121 AD RIJENThe Netherlands+31161870005 | Vollrath of ChinaVollrath Shanghai Trading Limited29D, 855 South Pu Dong RoadShanghai, China 200120Tel: 86-21-50589580 | Vollrath de Mexico S. de R.L. de C.V.Periferico Sur Edificio 2-CCol. Santa Maria Tequepexpan45601 Tlaquepaque, Jalisco MexicoTel: (52) 333-133-6767Tel: (52) 333-133-6769Fax: (52) 333-133-6768 |
natural_image
Modern kitchen mixer with blue and silver casing (no visible text or symbols)
natural_image
Modern kitchen mixer with blue and silver casing (no visible text or symbols)
natural_image
Blue and silver industrial mixing machine with control panel (no visible text or symbols)text_image
A G F H B C D E IFigura 1. Características y controles de la batidora de 7 ct. gal. (6,6 L) y 10 ct. gal. (11 L).

text_image
K J A H G F B C D E IFigura 2. Características y controles de la batidora de 20 ct. gal. (22 L) y 30 ct. gal. (33 L).

text_image
A H G F B C D E I J KFigura 3. Características y controles de la batidora de 40 ct. gal. (44 L).

text_image
Technical diagram of a motor with labeled components including fan, drum, and control panelFigura 4. Características y controles de la batidora de 60 ct. gal. (66 L).
natural_image
Modern kitchen mixer with blue and silver casing (no visible text or labels)
natural_image
Modern kitchen mixer with blue and silver casing (no visible text or symbols)
natural_image
Modern mixing machine with blue and silver casing, no visible text or symbolstext_image
A G F H B C D E Itext_image
K J A H G F B C D E Itext_image
A H G F B C D E I J Ktext_image
K J A B G F H C D E Inatural_image
Modern kitchen mixer with blue and silver casing (no visible text or symbols)
natural_image
Exterior view of a modern multi-armed stand mixer with blue and white casing (no text or symbols visible)
natural_image
Modern mixing machine with blue and silver casing (no visible text or symbols)text_image
A G F H B C D E Itext_image
K J A H G F B C D E Itext_image
A H G F B C D E I J Ktext_image
K J A B G F H C D E Inatural_image
Modern kitchen mixer with blue and silver casing (no visible text or labels)
natural_image
Exterior view of a modern multi-armed stand mixer with blue and silver casing (no visible text or symbols)
EasyManual

