Force 3000IND - Pressure washer Eurom - Free user manual and instructions
Find the device manual for free Force 3000IND Eurom in PDF.
| Features | Details |
|---|---|
| Maximum Pressure | 3000 PSI |
| Water Flow | 7.5 L/min |
| Motor Type | Electric Motor |
| Power Supply | 230 V |
| Weight | 25 kg |
| Dimensions | 60 x 40 x 40 cm |
| Included Accessories | High-pressure hose, lance, adjustable nozzle |
| Recommended Use | Cleaning exterior surfaces, vehicles, terraces |
| Maintenance | Regularly check filters and seals |
| Safety | Use gloves and safety glasses |
| Warranty | 2 years |
Frequently Asked Questions - Force 3000IND Eurom
User questions about Force 3000IND Eurom
0 question about this device. Answer the ones you know or ask your own.
Ask a new question about this device
Download the instructions for your Pressure washer in PDF format for free! Find your manual Force 3000IND - Eurom and take your electronic device back in hand. On this page are published all the documents necessary for the use of your device. Force 3000IND by Eurom.
USER MANUAL Force 3000IND Eurom
Model: Product code:
Force 3000 IND 135428
Please read and understand these safety instructions. Incorrect use can cause injury and will void EUROM's warranty.
- The machine is not to be used by persons (including children) with reduced physical, sensory or mental capabilities, or lack of experience and knowledge.
Children should be supervised so that they not to play with the appliance. - Keep all packaging materials, especially foil (danger of suffocation), out of reach of children.
- Instructions for appliances connected to the water mains: Max. inlet water pressure 10 bar or 1 MPa.
- Never touch the plug or the socket with wet hands.
- This machine has been designed for use with the cleaning agent supplied or recommended by the manufacturer. The use of other cleaning agents or chemicals may adversely affect the safety of the machine. Keep the cleaning agents out of reach of children.
- High pressures jets can be dangerous if subject to misuse. The jet must not be directed at persons, live electrical equipment or the machine itself.
- During use of high-pressure cleaners, aerosols may be formed. Inhalation of aerosols can be hazardous to health.
- Do not use the machine within range of persons unless the wear protective clothing.
- Do not direct the jet against yourself or others in order to clean clothes or footwear.
- All current-conductive objects in the work area must be protected against water jets.
- Risk of explosion - Do not jet flammable liquids and in circumstances that have risk of explosion.
- Never suck up fluids that contain solvents or undiluted acids or solvents. This includes (for example) petrol, paint thinner or fuel oil. The jet mist is very lightly flammable, explosive and toxic. Do not use acetone, undiluted acids and solvents; these harm the materials used in the machine.
- High pressure cleaners shall not be used by children or untrained personnel.
- High pressure hoses, fittings and couplings are important for the safety of the machine. Use only hoses, fittings and couplings recommended by the manufacturer.
- To ensure machine safety, use only original spare parts from the manufacturer or approved by the manufacturer.
- Water that has flowed through backflow preventers is considered to be non-potable.
- The machine has to be disconnected from its power source during cleaning or maintenance and when replacing parts or converting the machine to another function always remove the plug from the socket-outlet.
- Do not use the machine if a supply cord or important parts of the machine are damaged, e.g. safety devices, high pressure hoses, trigger gun.
- Inadequate extension cords can be dangerous. If an extensions cord is used, it shall be suitable for outdoor use, and the connection has to be kept dry and off the ground. It is recommended that this is accomplished by means of a cord reel which keeps the socket at least 60mm above the ground.
- Make sure that the line cord and the extension cord are not damaged by stepping on them, squeezing, dragging or something similar. Protect the line cord against heat, oil or sharp edges.
-
Always switch off the mains disconnection switch when leaving the machine unattended.
-
Depending on the application, shielded nozzles can be used for high pressure cleaning, which will reduce the emission of hydrous aerosols dramatically. However, not all applications allow the use of such a device. If shielded nozzles are not applicable for the protection against aerosols, a respiratory mask of class FFP 2 of equivalent may be needed, depending on the cleaning environment.
General safety instructions
- The minimum diameter of the water connection (hose) is 12.7 mm( 1/2^ ) .
The water supply must supply at least the water consumption of the device (520 l/h)! - The pump must always be supplied with sufficient water. 'Dry operation' causes damage.
The water temperature may not exceed 40^ - Only use clean water with this device. Impurities or aggressive chemicals damage the device!
- The voltage and frequency stated on the device must correspond to those of the socket. The electrical system must be approved (IEC 60364-1) and secured with an earth leak switch (max. 30mA ). Never make any changes to the plug or socket in order to adjust them! Defectiveness in the electric connection could result in a shock!
- Damaged components (including plug, electric cable, hose and jet gun) must be replaced immediately by a technician trained for that purpose or a qualified electrician. Be sure to use only original parts; hoses and connections are also important for safety. Never carry out repairs by yourself.
- Never make any changes to the device, nozzle(s) or any other parts.
- Never cover the device, nozzle(s) or any other parts when using the device.
Safety before and during operation
- Use the device only for home use, such as cleaning cars, boats, terraces, walls, garden equipment, etc.
- Check the device before each time you use it (including cable, plug, hose and jet gun) for any visible damage. Check especially the electric cable for faults or cracks. Do not use a damaged device or one that has not functioned properly when you used last. Give it to your supplier for repair or replacement.
- When using the device, unroll the cable entirely to prevent overheating. If an extension cable is unavoidable, use a cable of adequate thickness: 3 × 2.5 ~mm^2 . Inadequate extension cables can be dangerous! The female plug must be waterproof and the connection must be kept dry. Faulty extension cables are dangerous!
- Vehicle tyres and/or tyre valves can get damaged by high-pressure jets and can spring out. The initial sign of this is discolouring of the tyre. Damaged vehicle tyres/tyre valves involve risk of life. When cleaning, observe a minimum jet distance of 30cm .
- In case of long breaks, switch off the device using the main switch or pull out the plug from the socket.
- Do not use the device in temperatures under 0^ .
- It is forbidden to use the device in areas or under circumstances that have risk of explosion.
- In case of accidents or electricity failure, switch off the device immediately.
-
Use only clean water. If you use water that contains for example sand (from a well or something similar), you have to install an extra filter.
-
In compliance with valid regulations, the device may not be connected to the drinking water network without a non-return valve. Make sure that your household water system to which the high-pressure cleaner is connected is equipped with a non-return valve.
- Take the device's weight into account when selecting its storage location and during transport in order to prevent accidents and injuries.
- Release the residual pressure by squeezing the trigger a bit before you disconnect the hose from the product.
- Before each time you use the device and at regular intervals, check whether all the metal fasteners are sitting well and whether the components of the product are in good condition; inspect for broken or worn-out parts.
Personal safety
- Wear suitable gear for your personal protection (PPE) when using the device: hearing protection, safety goggles and protective clothing.
- Wear gloves, keep your hands warm and take regular breaks.
- In rare cases, uninterrupted use of the device for several hours might cause insensitivity of the hands.
- Before you operate the device, move it or store it, make sure it is standing on a solid, even and horizontal surface to prevent accidents.
- The user must use the device in a reasonable manner. Take local conditions into account and when carrying out these activities, watch out for people in the surroundings.
- The water jet through the high-pressure mouthpiece results in a kickback, which has an effect on the handgun. Make sure that you are standing firmly and are also holding the handgun firmly.
- Do not jet objects that contain unhealthy substances (e.g., asbestos).
- It is forbidden to clean surfaces that contain asbestos.
- Do not use the device in an inadequately ventilated area.
- Always switch off the device and take out the plug from the socket before assembling, maintaining, storing and transporting it or when changing the function of the device. This also applies when you change the jet head or nozzle and when you are not using the device. For that purpose, take the plug out with your hand. Never use the plug and/or operate the device with wet hands!
- Water from the device, hose or the jet gun is not suitable for consumption.
- Be aware of a kickback; hold the jet gun with both hands.
Additional risks
Even if you use this product in compliance with all the safety requirements, there are still potential risks related to injuries and damage. The following dangers could occur with regard to the structure and design of this product:
- Health deficiencies that result from vibrations if the product is used for long periods, inadequately operated and not maintained properly.
- Danger of injury and material damage from flying objects.
Wounds and damage to property, as a result of broken accessories or sudden impact from concealed objects during use.
Safety provisions
Safety systems are for the purpose of protecting the user and may not be altered.
- The ON/OFF switch prevents unintended operation of the device.
- The jet gun is equipped with a lock. This lock locks the gun and prevents unintended engagement of the device.
- As soon as the trigger of the jet gun is loosened, the pressure switch switches off the pump and the high-pressure jet stops. The pump is re-engaged when the trigger is squeezed.
- The motor is equipped with a thermal protection, which switches off the motor in case of overheating. In principle, the motor restarts by itself after it has cooled down sufficiently. However, it is better to switch off the device and then wait 5 minutes before re-starting. Find out why the device had overheated and then fix the problem. If it recurs, then do not continue using the device and contact your supplier/service provider.
- The motor protection switches off the device if the power consumption is high.
Safety stickers
On the device (Figure 23) you will find stickers. These provide important information about the device.

Figure 23.
The high-pressure jet must not be directed at:
- persons;
- animals;
live electrical equipment;
the appliance itself.
Warranty
EUROM offers a 24-month warranty on this device from the date of purchase. The warranty does not cover wear and tear from normal use. The warranty expires if a defect is the result of
unintentional or careless use of the device. The manufacturer, importer and supplier are not liable for incorrect connections.
Introduction
Thank you for choosing this EUROM device. You have purchased a quality device that you will enjoy for many years. Using this device with respect and care will reduce the risk of personal injury or material damage.

CAUTION
It is important to read and understand this instruction manual before assembling, installing and using the device.
This manual describes the correct and safe use of this device. Keep this manual for future reference. The manual is an essential part of the device and must be given to the new owner upon resale or exchange. This manual has been compiled with the utmost care. Nevertheless, we reserve the right to improve and adjust this manual at any time. The images used may differ.
The following symbols and terms are used in this manual to alert the reader to safety issues and important information:

WARNING
Indicates a hazardous situation which, if the safety instructions are not followed, can lead to injuries to the operator or bystanders, light and/or moderate damage to the product or to the environment.

CAUTION
Indicates a hazardous situation which, if the safety instructions are not followed, can lead to light and/or moderate damage to the product or to the environment.
Identification
| EUROM® POWERFUL PRODUCTS SINCE 1974 | ||
| LWA 86 dB Force 3000 IND Art. nr. 135428 Batch. XXXXXX | ||
| 220V-240V~50Hz 3000 Watt | ||
| Rated pressure: | 14 MPa | 140 bar |
| Max. pressure: | 18 MPa | 180 bar |
| Rated flow: | 7.5 l/min | 450 l/h |
| Max. flow: | 8.6 l/min | 520 l/h |
| Max. inlet water pressure: | 0,7 MPa | 7 bar |
| Inlet water temp | 0-40°C | |
| IPX5 CE | ||
| EUROM - KOKOSSTRAAT 20 - 8281 JC - GENEMUIDEN - NETHERLANDS | ||
Figure 24.
Specifications
| Type Force 3000 IND | |
| Voltage: AC 220-240V~/50Hz | |
| Power consumption: 3000W | |
| Max. pressure: 180 bar | |
| Operating pressure: 140 bar | |
| Min. water inlet consumption: 520 l/h | |
| Max. pressure water intake: 7 bar | |
| Water inlet connection: Garden hose connection | |
| Length high-pressure hose: 12 m | |
| Water temperature: 0 – 40 °C | |
| Automatic start-stop: Yes | |
| Protection class: I | |
| Protection level: IPX5 | |
| Sound power level: | 86 dB(A) |
| Vibration values: 2.5 m/s2 | |
| Dimensions: 39 x 36 x 90 cm | |
| Weight: 26.8 kg |
Description
This EUROM device is an easy-to-use high-pressure cleaner (Figure 25). The device is designed for household use, such as cleaning vehicles, buildings, terraces, facades and garden equipment. The device uses clean water and can be used with biodegradable chemical detergents.
Main body

Figure 25.
| No. | Description No. Description | ||
| 1 | Handle 9 Power cable bracket | ||
| 2 | High-pressure hose reel 10 Foam nozzle bracket | ||
| 3 | Jet gun bracket 11 Water inlet (garden hose coupling) | ||
| 4 | Self-tapping screw with Philips head ST4.8x16 | 12 | Cleaning agent regulator |
| 5 Jet | gun holder 13 ON(I) / OFF(0) switch | ||
| 6 Self-tapping screw with Philips head ST4.8x16 | 14 High-pressure water outlet | ||
| 7 Tank for cleaning agent 15 High-pressure hose ree | handle | ||
| 8 Power cable | |||
Accessories

CAUTION
The accessories are not interchangeable with another Force devices.

CAUTION
Use only original accessories.
The device contains the following accessories:




Figure 26.
| No. | Description No. Description | ||
| 1 Jet gun 5 Floor cleaner* | |||
| 2 Turbo nozzle with lance 6 Cleaning pin | |||
| 3 | Adjustable nozzle with lance 7 Adapter Floor cleaner | cleaner lance | |
| 4 | Floor cleaner lance | ||
*Your floor cleaner may have a handle.
Jet gun
The device contains the following accessories:

Figure 27.
| No. | Description No. Description | ||
| 1 Trigger lock 3 High-pressure water coupling | |||
| 2 Trigger 4 Accessory coupling (thread) | |||
Assembly
The device is packed in one box. Remove all packaging materials and check that the device is not damaged. Do not use the device if it is damaged, but always contact your supplier. Keep the packaging for safe storage and transport. Minor assembly is required.
Brackets
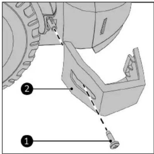
- Attach the jet gun bracket (Figure 28, pos. 1) to the main body with a ST4.8x16 screw (Figure 28, pos. 2).

Figure 28.
- Hook the jet gun holder (Figure 29, pos. 2) onto the main body.
- Press firmly until you hear a 'click'.
- Attach the jet gun holder (Figure 29, pos. 2) to the main body with a ST4.8x24 screw (Figure 29, pos. 1).

Figure 29.
Installation

CAUTION
Place the cleaner as close as possible to the water supply.

CAUTION
The cleaner must be placed upright on a solid, flat and horizontal surface (handle on top).
Main body

CAUTION
The water hose and female water coupling are not included.
- Make sure the device is correctly assembled.
- Make sure the ON(I)/OFF(O) switch (Figure 30, pos. 3) is in the OFF(O) position.
- Screw the water inlet (including filter) onto the thread on the front of the machine (Figure 30, pos. 2).
- Place the power plug (Figure 30, pos. 1) into a earthed socket that is easily accessible.
- Connect the water supply to the device (Figure 30, pos. 2).
- You will hear a 'click' when the water supply is correctly connected.
Jet gun
- Make sure that the safety lock under the trigger is locked (Figure 35).
- Screw the high-pressure hose (Figure 31, pos. 2) onto the jet gun (Figure 31, pos. 1).

Figure 30.

Figure 31.
Floor cleaner


Figure 32.
- Align the ridge of the floor cleaner (Figure 33, pos. 5) with the groove in the floor cleaner lance (Figure 33, pos. 6).
- Insert the floor cleaner (Figure 33, pos. 4) into the floor cleaner lance (Figure 33, pos. 3).
- Turn the floor cleaner 90^ to secure the floor cleaner lance.
- Insert the adapter (Figure 33, pos. 2) into the floor cleaner lance (Figure 33, pos. 3).
- Screw the floor cleaner lance (Figure 33, pos. 7) on the jet gun (Figure 33, pos 8).

Figure 33.
Nozzles
- Tightly screw the following attachment onto the jet gun (Figure 34, pos. 1): adjustable nozzle (Figure 34, pos. 2), or; turbo nozzle (Figure 34, pos. 3).

Figure 34.
Operation



Lock and unlock the trigger
- If applicable, release the trigger (Figure 35, pos. 2).
- Turn the trigger (Figure 35, pos. 1) lock.

Figure 35.
Start
- Make sure the ON(I)/OFF(0) switch is in the OFF(0) position.
- Open the external water supply completely.
- Unlock the safety lock under the trigger.
- Squeeze the trigger for several seconds to remove the air from the hose.
- Switch the device on.
Cleaning

WARNING
Be aware of the kickback when squeezing the trigger.

CAUTION
When you stop temporary:
- turn the device off;
close the external water connection; -
remove the power plug.
-
Hold the jet gun with both hands.
- Aim the jet gun at the object that needs to be cleaned.
- Squeeze the trigger and start cleaning.
Cleaning with floor cleaner
- Hold the jet gun with both hands.
- Place the floor cleaner on the surface the be cleaned.
- Squeeze the trigger and start cleaning.
Change jet angle

CAUTION
The jet angle can only be changed of the adjustable nozzle. The turbo nozzle and floor cleaner have a fixed jet angle.
- If applicable, release the trigger.
- Lock the safety lock under the trigger.
- Rotate the head of the nozzle
(Figure 36, pos. 1) to change the jet angle:
for a smaller (more powerful jet) turn it clockwise (Figure 36, pos. 2).
for a bigger (less powerful jet) turn it anti-clockwise (Figure 36, pos. 3).

Figure 36.
Change pressure
- To change the pressure of the adjustable nozzle (Figure 37, pos. 1):
Slide forward for a low pressure
(Figure 37, pos. 2);
- Slide backwards for a high pressure (Figure 37, pos. 2).

Figure 37.
Working with cleaning agents

CAUTION
The cleaning agent can only be added when the device is used in low pressure, see Chapter 'Change pressure'.

CAUTION
When using a cleaning agent, observe the safety data sheets of the manufacturer of the cleaning agent, especially the instructions relating to personal protective equipment.

CAUTION
Only use a cleaning agent specially suitable for high-pressure cleaners.
- Remove the cap (Figure 38, pos. 1) of the cleaning agent tank (Figure 38, pos. 2) at the back of the device.
- Fill the tank with the cleaning agent.
- Replace the cap (Figure 38, pos. 1).
- Spray a bit of cleaning agent on the dry surface; let it react, but not dry.
- Use the cleaning agent regulator (Figure 39) on the front of the device to control the amount of additional cleaning agent.


Figure 38.
Figure 39.
After operation

WARNING
If the device is off, left-over in the device can still be under high pressure.

CAUTION
- Do not use the power cable to unplug or carry the device.
- Do not wind the power cable too tightly or in sharp angles.
-
Do not wrap the power cable around the device.
-
Release the trigger.
- Lock the safety lock under the trigger.
- Switch the device off.
- Pull the power plug out of the socket.
- Wind the power cable.
- Place the power cable on the bracket.
- Close and disconnect the water supply.
- Unlock the safety lock under the trigger.
-
Hold the jet gun with both hands.
-
Squeeze the trigger to drain the jet gun.
- Disconnect the high-pressure hose from the jet gun by unscrewing it.
- Drain the high-pressure hose for at least 1 minute.
Remove the nozzle
- Screw the nozzle off from the jet gun.
Remove the floor cleaner
- Screw the floor cleaner lance off the jet gun.
- Remove the floor cleaner from the floor cleaner lance by rotating it 90^ .
Transport and storage

WARNING
Completely empty the device and accessories. Protect the device from frost. Left over water can freeze and damage the device.
- Move the device by the handle.
Clean the device before storing it. - Store the device in its original packaging in, dry and dust-free area.
Prepare for winter / frost-free storage
Clean the device.
- Make sure there is no left-over water in the device.
- If possible, store the device and accessories in a frost-free of frost-protected room. If not; suck in anti-freeze before you store it. Use the anti-freeze instead of water.
After winter / frost-free storage

WARNING
If the device freezes, have it inspected by an Eurom authorized professional before use.

CAUTION
Frost damage is not covered by warranty.
- If applicable; clean the device.
- Let the device thaw.
- If applicable; remove anti-freeze.
Maintenance

WARNING
Do not repair or modify to this device.

WARNING
Always remove the plug from the socket before you start maintenance!
Repairs and inspections must be carried out by a EUROM authorized professional. If the device, electric cable and/or electric plug are damaged, they should be replaced by the manufacturer or its service employee or persons with similar qualifications to prevent risks.
Perform the following maintenance tasks after every use:
- Carefully remove dust, sand or other dirt from the connections (nozzle, extension lance, jet gun, high-pressure hose and water inlet).
- Remove the nozzle from the extension lance. Regularly clean the nozzle with the supplied pin. Flush it thoroughly (against the direction of the high-pressure jet).
Perform the following maintenance tasks regularly:
Regularly Vaseline the O-rings of the connectors to prevent them from drying out.
Clean the water inlet filter.
Grease O-rings
- Remove the accessories from the jet gun.
- Apply Vaseline to the O-ring of the jet gun (Figure 40, pos. 1).

Figure 40.
- Pull and turn the floor cleaner 90^ from the floor cleaner lance.
- Apply Vaseline to the O-ring of the floor cleaner (Figure 41, pos. 1).

Figure 41.
- Apply Vaseline to the O-ring of the garden hose coupling (Figure 42, pos. 2).
Clean the water inlet filter

WARNING Contact an EUROM authorized professional if the filter needs to be replaced.

CAUTION
Remove the filter with the help of pliers.
- Make sure the device is off.
- Remove the water supply.
- Unscrew the garden hose coupling (Figure 42, pos. 2).
- Pull out the filter (Figure 42, pos. 1).
- Clean the filter under running water.
- Put back the filter.
- Put back the water garden hose coupling.

Figure 42.
Clean the nozzle(s)
- Make sure the device is off.
- Remove the water supply.
- Unscrew the nozzle of the jet gun.
- Clean the nozzle with the cleaning pin (Figure 43, pos. 1).
- Flush it thoroughly (against the direction of the high-pressure jet).

Figure 43.
Clean the floor cleaner
- Make sure the device is off.
- Remove the water supply.
- Pull the floor cleaner (Figure 44, pos. 1) from the extension lance (Figure 26, pos. 2).
- Clean both nozzles (Figure 44, pos. 2) with the cleaning pin (Figure 44, pos. 3).
- Flush them thoroughly (against the direction of the high-pressure jet).

Figure 44.
Troubleshoot

CAUTION
Contact a EUROM authorized professional:
in the event of regularly recurring errors;
- if the errors are not solved.
The following problems can occur:
| Problem Cause S | Solution Safety | Instruction | |
| The device does not start. | Plug not in the power outlet. | Plug the power plug into the socket. | Make sure the device is off. |
| Power outlet not working. | Use another power outlet. Make sure the device is off. | ||
| Extension cord broken. | Contact a EUROM authorized professional. | Do not use the device. | |
| Fluctuating pressure. | Pump is sucking in air. | Contact a EUROM authorized professional. | Do not use the device. |
| Valves are dirty, worn or broken. | Contact a EUROM authorized professional. | Do not use the device. | |
| Pump seal work. | Contact a EUROM authorized professional. | Do not use the device. | |
| Problem Cause S | Solution Safety i | Instruction | |
| The nozzle is partially blocked. | Clean the nozzle. Make sure the device is off and drained. | ||
| Device stops. | Blown fuse. Contact a EUROM authorized professional. | Do not use the device. | |
| Active thermal safety. | Allow to cool and remove the cause of overheating. | Make sure the device is off. | |
| Do not use the device while cooling off. | |||
| Nozzle is partially blocked. | Clean the nozzle. Make sure the device is off and drained. | ||
| Blown fuse. | Electrical installation is to light. | Connect to an installation with a higher amperage. | Make sure the device is off when switching to another electrical installation. |
| Do not use an extension cable. | Make sure the device is off when removing the extension cable. | ||
| Device vibrates. | Air in the water supply hose. | Allow it to escape by running water through the device while it is switched off. | Make sure the device is off. |
| Problem with the water supply. | Do not use an excessively long or thin hose (min. 1/2"). | Make sure the device is off and drained when changing a hose. | |
| The nozzle is partially blocked. | Clean the nozzle. Make sure the device is off and drained. | ||
| The water inlet filter is dirty. | Clean the water filter. Make sure the device is off and drained. | ||
| There is a kink in the hose. | Straighten the hose. Make sure the device is off. | ||
| The device regularly starts and stops by itself. | Pump or jet lance are leaking. | Have them repaired or replaced. | Contact a EUROM authorized professional. |
| The device starts but does | Pump, hose or acces- | Allow them to thaw and check them. | Do not use the device. |
| Problem Cause Solution Safety Instruction | |||
| not supply water. | sories are frozen. | ||
| No water supply. | Ensure that there is a water supply. | Make sure the device is off while checking the water supply. | |
| Filter blocked. | Clean the filter. Make sure the device is off and drained. | ||
| Nozzle blocked. | Clean the nozzle. Make sure the device is off and drained. | ||
Cleaning

CAUTION
Do not use:
scouring pads;
-hard brushes;
- flammable, aggressive or chemical cleaning products.
Prevent water from entering the device. Do not immerse any part of the device in water or other liquids.
It is recommended to clean the device every two weeks and prior to storage. Keep in mind that the water, weather, air pollution, salty environment, smoke, etc. will leave their marks on the device over time.
- Wipe the device with a damp, clean, soft, lint-free cloth, or a soft brush.
- Let the device dry completely prior to use and storage.
Disposal


This marking indicates that this product should not be disposed of with other household waste throughout the EU. To prevent possible harm to the environment or human health from uncontrolled waste disposal, recycle it responsibly to promote the sustainable reuse of material resources. To return your used device, please use the return and collection systems or contact the retailer where the product was purchased. They can take this product for environmentally safe recycling.
EasyManual