TL2 500 - Washing machine Thor - Free user manual and instructions
Find the device manual for free TL2 500 Thor in PDF.
Frequently Asked Questions - TL2 500 Thor
Questions des utilisateurs sur TL2 500 Thor
0 question sur cet appareil. Repondez a celles que vous connaissez ou posez la votre.
Poser une nouvelle question sur cet appareil
Download the instructions for your Washing machine in PDF format for free! Find your manual TL2 500 - Thor and take your electronic device back in hand. On this page are published all the documents necessary for the use of your device. TL2 500 by Thor.
USER MANUAL TL2 500 Thor
SECCAO 6: MANUTENCAO E LAVAGEM
- Filros dos tubos de agua
- Filtro da bomba
Deposito de detenernte
Tampa do siao
Acaixa
Qamber
SECCAO 1: ANTES DE UTILizar A SUA MAQUINA DE LAVAR
SECAO 6: MANUTENCAO E LIMPEZA
-
| PROGRAMA | TEMPOR PROGRAM | COMPART. detegnto | CAPACITOR MAX DE CARGADE ROU4(kg) | TIPO DE ROUPIA | EXPlicações |
| TL2 000 | |||||
| 1-ALGODAO 90° | 150 | 2 | 5 | Bua. alegada o trho | Roupamento, tempo, roue de oligo, lato, teto |
| 2-ALGODO 60° (PRELAVAGE) | 155 | 1+2 | 5 | Muito alegada cor e trho | |
| 3-ALGODO 90° | 166 | 2 | 5 | Bua. alegada cor e trho | |
| 4-ALGODO 40° | 140 | 2 | 5 | Ligamentoso para, pirtura para ser rota ad, aperto do trho | Roupamento, tempo, roue de oligo, lato, teto, carnos, tetoles |
| 5-LAVAGE ECONOMICA | 110 | 2 | 5 | Bua. alegada cor e trho | |
| 6-LAVAGE APPLICADA | 130 | 2 | 2.5 | Ligamentoso para, aperto do trho | |
| 7-ALGODO FRIIO | 37 | 2 | 5 | Alegado a homero afo, cor e trho. Lateral cor acerado por trho | |
| 8-SINTETICOS 60° | 125 | 2 | 3 | Bua. alegada ou mura de scinlocos | Meio de Nilon, tetoles |
| 9-SINTETICOS 40° | 95 | 2 | 3 | Ligamentoso para, aftodado ou matura de anfiscios | Meio de Nilon, tetoles |
| 10-SINTETICOS FRIIO | 130 | 2 | 3 | Ligamentoso para, aftodado ou matura de anfiscios, carvalho tealab com aperto a aparo da tetole s. | Meio de Nilon, tetoles |
| 11-OELICADA 35° | 140 | 2 | 2 | Ligamentoso para, aftodado, carvalho mura de scinlocos | Mura de vidra, carnos, tetoles, polymer, poliamid, tetoles SL |
| 12-LA 30° | 85 | 2 | 2 | Bua. a, para ser lato a, meio e megarao | Todo o tipo de mea de SL |
Safety warnings
- Recommendations
SECTION 2: INSTALLATION
- Removal of transportation screws
Adjustment of feet - Electrical connection
Water supply connection
SECTION 3:TECHNICAL SPECIFICATIONS
SECTION 4:CONTROL PANEL
StartPause button
Function indicator lights
- Function buttons
- Temperature knob
Program knob
SECTION 5: WASHING YOUR LAUNDRY
Before washing
Running the machine
SECTION 6: MAINTENANCE AND CLEANING
Water inlet filters
Pump filter
Detergent drawer
Siphon plug
The cabinet
The drum
- Remove of your machine from lime
SECTION 1:BEFORE USING
SAFETYWARNINGS
Do not use a multiple socket or extension card.
Do not insert a plug with damaged or broken cord into the socket.
- If the cord is damaged it should be replaced by the manufacturer or appointed service agent in order to avoid a hazard.
- Never remove the plug from the socket by pulling from the cord section. Remove the plug by holding.
Do not plug the power supply with wet hands.
- Never touch the machine with wet hands or feet.
- Never open the detergent drawer while the device is running.
- Never force to open the door of the machine while the machine is running.
- Since the machine can reach high temperatures while running, do not touch the drain hose and water during draining.
- In case of any failure, first unplug the device and close the water tap. Do not attempt to repair. Please apply to the nearest authorized service station.
- Do not forget that the packing material of your machine may be hazardous for children.
Do not let your children play with the washing machine.
- Keep your pet away from your machine.
- Your machine should only be used by adults within the information written in this manual.
Your machine is designed for use in house environment Warranty
- If you will not use your machine for a long time, unplug your machine, close the water supply and leave the door open in order to keep the inside of the machine dry and for prevention from unpleasant odour.
- As a result of the quality control procedures, a certain amount of water may remain in your machine. This is not harmful for your
SECTION 2: INSTALLATION
You must pay attention to the following issues before using your washing machine.
REMOVAL OF TRANSPORTATION SCREWS
- Transportation screws, which are located at the back side of the
machine, must be removed before running the machine.
Loosen the screws by rotating counterclockwise by a suitable wrench.
(DIAGRAM-1) - Remove the screws by pulling them.(DIAGRAM-2)
- To the holes where the transport screws have been removed, insert the plastic transport screw taps found in the accessories bag. (DIAGRAM-3)
The transportation screws that have been removed from the machine



DIAGRAM-2
- You can adjust the balance of your machine from its feet.
- First, loosen the plastic adjustment nut.
Adjust by rotating the feet upwards or downwards.
After the balance has been reached, tighten the plastic adjustment
nut again by rotating it upwards. - Never put cartons, wooden blocks or similar materials under the machine to balance the irregularities on the level of the ground.


ELECTRICAL CONNECTION
- Your washing machine works with 220-240V and 50Hz.
- A special grounded plug has been attached to the network cable of your washing machine. This plug must definitely be inserted to a grounded socket with 10 ampere. The fuse flow value of the electricity line attached to this should also be 10 ampere. If you have no such sockets and fuses in your house, let it be made by a qualified electrician.
- Our company will not be responsible for any damages that may occur as a result of usage without grounding.
- Insert the machine's plug to a grounded socket which you can

SECTION 3:TECHNICAL SPECIFICATIONS
| TL2 500 | |
| Maximum dry laundry capacity (kg) 5 | |
| Recommended loading (kg) 4,5 | |
| Height (cm) 85 | |
| Width (cm) 59,6 | |
| Depth (cm) 51 | |
| Maximum spin cycle ( rpm ) 500 |
(*) Maximum spin cycles depend on the model you've chosen

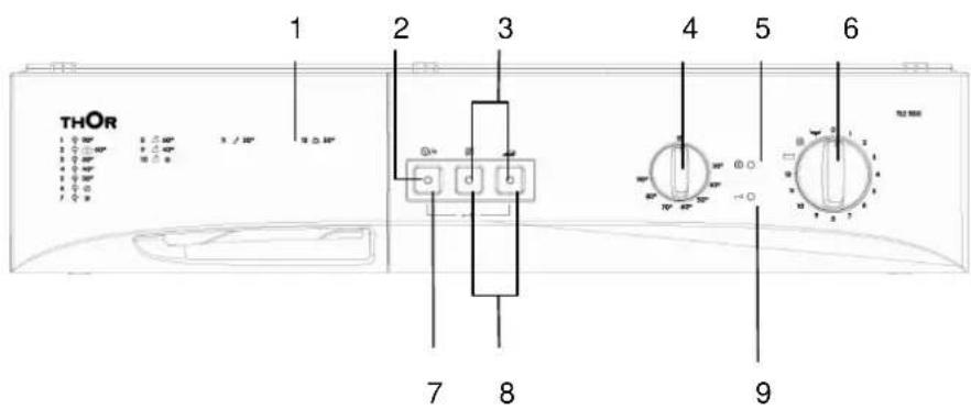
SECTION 4:CONTROL PANEL
1-Detergent drawer 6-Program knob
2-Start/pause light 7-Start/pause button
3-Function indicator lights 8-Function buttons
4-Temperature adjustment knob 9-Program end light
5-Program ready light
START/PAUSE BUTTON

Used to start a selected program or pause during running.
WARNING!
It is required for the program knob to be brought to O(off) position before selecting the program or changing a continuing program.
FUNCTION INDICATOR LIGHTS

When the start/pause button or any function button is pressed, the corresponding light turns on. The light turns off when the function button or start/pause button is re-pressed, or when the process the selected function is completed.
The function indicator lights are also used in failure detection system mentioned in section 9.
FUNCTION BUTTONS
No spin

This program is recommended to be used for your sensitive clothes on which no spinning should be done. By pressing this function button, you can cancel the spinning process which is included in the program.

Easy ironing
By using this function, you can ensure your clothes to come out less wrinkled after the washing.
WARNING!
Functions vary depending on the model you have chosen. If you forgot to use additional function and your machine starts to wash, push the additional function button if the indicator light is on. Additional function will be activated. If the indicator light is not on, additional function will not be activated.
TEMPARATURE ADJUSTMENT KNOB
By the temperatur adjustment knob, you can adjust the washing water temperature of your clothes between 0(cold wash) and 90^ . When you are selecting the washing water temperatur, pay attention to the international washing signs on your clothes.

PROGRAM KNOB
With the program knob, you can select the program with which you desire to wash your clothes. You can adjust the program selection process by turning the program knob in both directions. You must be careful that the adjustment sign of the program knob is exactly on the program you want to select. When you bring the program knob to O(off) position, while your machine is running, your program will remain incomplete.
SECTION 5: WASHING YOUR LAUNDRY
Plug the machine.
- Open the tap water.
First wash cycle
There may be water left inside your machine after factory tests and trials. It is recommended that the first wash cycle should be made without any laundry so that carry out this water; pour half a measuring cup of normal all-purpose detergent into compartment 2 and select cotton program at 90^ .
BEFORE WASHING
Discrimination of your laundry
- Discriminate your clothes according to their types (cotton, synthetic, sensitive, woolen, etc.), washing temperatures and level of dirtiness.
- Never wash your while and coloured clothes together.
- Since your new coloured clothes may shed dye on the first wash, wash them separately.
- Be careful that no metal pieces are found on or in the pockets of your clothes, remove it there is any.
Zip and button your clothes. - Remove the plastic or metal hooks of the curtains and laces or place them inside a washing bag and tie.
Pull the textiles like trousers, knitted fabric, t-shirt and sweat shirt inside out.
- Wash your small clothes like socks and handkerchiefs in a washing bag.




Wash up to 90^ Wash up to 60^ Wash up to 30^ Not washable in
Placement of the clothes into the machine
Open the
- Fill your clothes in your machine in a well-spread manner.
Place each cloth separately.
- When you shut the door of your machine, be careful that no cloth is jammed between the cover and the gasket.
- Shut the door of your machine tightly otherwise your machine will not start the washing process.
Filling detergent in the machine
The quantity of the detergent that you will fill in your machine depends on the following criteria:
-
Your detergent consumption will change according to the dirtiness level of your clothes. For your slightly dirty clothes, do not pre-wash and put a small amount of detergent in the compartment no.2 of the detergent drawer.
For your excessively dirty clothes, select a program with prewashing. fill 1 / 4 portion of the detergent you will put in compartment 1 in the detergent drawer and the remaining portion in compartment 2.
In your machine,use the detergents developed especially for automatic washing machines. The quantities that will be used for your clothes are written on the packing of the detergents.
As the hardness of your water increases, the amount of the -
You can use fluid detergents in all programs without pre-washing. For this, mount the fluid detergent level plate in the second compartment of the detergent drawer and arrange the amount of fluid detergent according to the levels on this plate.
RUNNING THE MACHINE
Program selection and features
Select the program and additional functions appropriate for your clothes from Table-1.
Just for the first run please choose a program and press Startpause button for 4 seconds, before putting your load in. This is necessary for unloading the water that is left after the production and tests.
Start/Pause
By pressing this button, you can start the program you have selected or pause a running program.
Starting the program
Adjust the program knob to a program you desire.
The program ready light will be on.
If you want, you can select one or more additional functions.
- Run the program which you have selected by pressing the Start/Pause button.
Changing the program
If you have selected a program and you do not want it to continue:
Press the start/pause button.
- Bring the program knob to O(off) status.
- Adjust the program knob to the program you desire. (You can select the program that you desire from Table-1).
The program ready light will be on.
- By pressing the start/pause button, run the program which you have selected.
Cancellation of the Program
- The door will be unlocked in approximately two minutes after the program ends. You can open the door by pulling the handle of the door towards yourself and take out your clothes.
After you unload your clothes leave the door open to dry the interior of your machine.
Unplug your machine. - Close the water tap.
WARNING!
If the power is off end on again after a while on any stage of the washing program, your machine will continue the program from the point where it was interrupted. This is not harmful for your machine.
Child lock
Child lock is used in order to protect the washing cycle from the effects of unwanted button activations during the cycle. Child lock is activated by pressing the first and third button on the control panel at the same for more than 3 sec. When child lock is activated, LEDs on the function buttons blink to indicate that child lock is active. In order to deactive child lock, the same buttons (1st and 3rd) should be pressed again for more than 3 seconds. Deactivation of child lock is shown by blinking of LED on Start/Pause button.
TABLE1
| PROGRAM | PROGRAM TIME | DETERGENT COMPANT. | MAX DRY LOAD CAPACITY (kg) | TYPE OF LAUDINARY | EXPLANATIONS |
| TL 2 100 | |||||
| 1-COTTON 90° | 150 | 2 | 5 | Only, bolt, cotton and Iain textile. | Undermains, sheet, table cloth, Iain, aryl, towel |
| 2-COTTON 90° PREWASHI | 155 | 1+2 | 5 | Very dirty, cotton, coloured and Iain textile | |
| 3-COTTON 60° | 166 | 2 | 5 | Only, cotton, coloured and Iain textile | |
| 4-COTTON 40° | 140 | 2 | 5 | Slightly dirty, paittoe get out, cotton, coloured and Iain textile | |
| 5-ECO WASH | 110 | 2 | 5 | Only, cotton, coloured and Iain textile | |
| 6-QUICK WASH | 130 | 2 | 2.5 | Slightly dirty, cotton, coloured and Iain textile | |
| 7-COTTON GOLD | 37 | 2 | 5 | Slightly dirty cotton, coloured and Iain textile.Washethrough/heating the tap water | |
| 8-SYNTHETIC 60° | 135 | 2 | 3 | Only, synthetic or synthetic mixture textile | Nylon sectors, Iouleur |
| 9-SYNTHETIC 40° | 95 | 2 | 3 | Slightly dirty, synthetic or synthetic mixture textile | Nylon sectors, Iouleur |
| 10-SYNTHETIC GOLD | 120 | 2 | 3 | Slightly dirty, synthetic or synthetic mixture textile.Ianry.Washethrough heating the tap water | Nylon sectors, Iouleur |
| 11-DELICATE 30° | 160 | 2 | 2 | Slightly dirty, cotton, coloured, synthetic or synthetic mixture textile(Iouleur) | Silk mixture, Iouleur, Iouleur, polyester, polandian mixture textile |
| 12-WOOL 30° | 85 | 2 | 2 | Only, hand and machine to wash loam/laundry | All loam/laundry |
| PROGRAM | DETERGENTCOMPART. | ADDITIONAL FUNCTIONBUTTON | MAX DRY LOADCAPACITY (kg) | TYPE OF LAUNDRY EXPPLANATIONS |
| TL2 500 | ||||
| RINSING | When you need an additional rinsing to be done to your clothes after the washing process, you can use this program for all kinds of clothes. | |||
| SPINNING | When you need an additional spinning to be done to your clothes after the washing process, you can use this program for all kinds ofclothes. | |||
| DRAINING | This program is used to drain the dirty water inside after the washing process of your machine. If you want the water inside your machine tobe drained before the program ends, you can use this program. | |||
| TABLE-1 CONTINUE(*)You can use softeners in all programs (except spinning and draining programs) optionally. When you arrange the quantity of the softener, comply with the warning ofthe softener producer. Fill your softener in its softener) compartment of the detergent drawer.** Energy label data based on programme tested in accordance with EN60456. | ||||
- Remove the water inlet hose.
- Remove the filters found on the water inlet valves by using a pincer and wash thoroughly with a brush.
- Clean the filters of the water inlet hoses located on the tap side by removing manually together with the seal.
After you clean the filters, you can fit them the same way as you have removed.

PUMP FILTER
The pump filter system elongates the life of your pump, which is used to drain the dirty water. It prevents lint to enter the pump. Cleaning of your pump filter in every 2-3 months is recommended. To clean your pump filter:
- Open the kickplate's cover, by pulling the handle.
- Before opening the filter cover, place a cup in front of the filter cover to prevent flow of the remaining water in the machine.
- Loosen the filter cover by rotating it counter clockwise and drain the water.
WARNING!
Danger of being scalded!
Since the water inside the pump maybe hot, wait for it to cool.

1-A ①

2-A

3-A

4-A
DETERGENT DRAWER
Detergents may form a sediment in your detergent drawer or in housing of the detergent drawer in time. To clean the sediment, pull out the detergent drawer from time to time. To pull out the detergent drawer:
Pull the detergent drawer to the end.(DIAGRAM-1)
- Lift the front of the drawer, continue to pull until the drawer is pulled out. (DIAGRAM-2)
- Wash will an old toothbrush and excessive amount of water.
Take off the leftover detergent avoid to drop into your machine
After drying the detergentfinder put into the housing in the same manner you pull out.


SIPHON PLUG
Pull out the detergent drawer. Remove the siphon plug and clean the residues of the softener thoroughly. Fit the cleaned siphon plug in its location. Check if it placed properly.

THE CABINET
Clean the exterior surface of the cabinet of your machine with lukewarm water and a cleaning substance that will not irritate the cabinet. After rinsing with clean water, wipe it with a soft and dry cloth.
WARNING!
If the machine is installed in a location where the ambient temperature can fall below 0^ , do the following when it will not be in use:
Plug in the machine.
- Close the water tap and pull out the water inlet hose or hoses from the tap.
- Place the ends of the water drain and water inlet hoses in a cup on the ground.
- Adjust the program knob to "Draining" program.
The program ready light will be on.
- Run the program by pressing the start/pause button.
- Unplug your machine when the program is over (program end light is on).
When you complete these process, the remaining water inside the machine will be drained and thus formation of ice in the machine will be prevented. When you operate your machine again, be sure that the ambient temperature is above 0^ .
THE DRUM
Do not leave metal parts like needles, staples or coins inside your machine. These pieces cause formation of rust stains in the drum. To eliminate these
SECTION 7: PRACTICAL INFORMATION

Alcoholic beverages: The stain point, should first be washed with cold water, than should be wiped with glycerine and water and be rinsed with water mixed with vinegar.

Shoe Polish: The stain should be slightly scratched without ruining the cloth, rubbed with detergent and rinsed. In case it is not eliminated, it should be rubbed with 1 unit of pure alcohol (96 degrees) mixed in 2 units of water and then washed with lukewarm water.

Tea and coffee: Stretch the stained area of your cloth on the top of a container and pour water as hot as the type of your cloth can endure on it. If the type of your cloth is suitable, wash it with lye.

Chocolate and cocoa: By leaving your clothes in cold water and rubbing with soap or detergent, wash it in the highest temperature that the type of your cloth can endure. If there is still a stain of oil left, wipe with oxygenated water (in proportion of 3% ).

Tomato paste:After scraping the dried pieces without ruining the cloth, leave in cold water for about 30 minutes and wash by rubbing with detergent.

Meat broth-egg: Eliminate the dried stain residues and wipe with a sponge or soft cloth wetted in cold water. Rub with detergent and wash with diluted lye.

Grease and oil stains: First wipe the residues. Rub the stain with detergent and then wash with lukewarm soapy water.

Mustard: First apply glycerine to the stained area. Rub with detergent and then wash. If the stain still does not disappear, wipe with alcohol (On synthetic and coloured cloth, a mixture of 1 unit alcohol, 2 units water should be used)

Blood stain: Lay your clothes in cold water for 30 minutes. If the stain still does not disappear, lay in mixture of water and ammonia (3 table-spoons of ammonia in 4 liters of water)for 30 minutes.

Cream, ice-cream and milk: Lay your clothes in cold water and rub the stained area with detergent. If the stain has still not disappeared, apply lye on the fabric of your clothes in proper proportion.(Do not use lye on coloured clothes.)
MOULD
Mould: Mould stains should be cleaned as soon as possible. The stain should be washed with detergent, and if it does not disappear, it should be wiped with oxygenated water (in proportion of 3% ).

Ink: Hold the stained area under cold water and wait until the inky water completely runs off. Then rub with water diluted with lemon juice and detergent, wash after waiting for 5 minutes.

Fruit: Stretch the stained area of your clothes on the top of a container and pour cold water on it. Do not pour hot water on the stain. Wipe with cold water and apply glycerine. Wait for 1-2 hours and rinse after wiping with a few drops of white vinegar.

Grass stain: Rub the stained part with detergent. If the type of fabric is suitable for use of lye, wash it with lye. Rub your woolen clothes with alcohol. (For coloured ones, a mixture of 1 unit pure alcohol and 2 units of water).

Oil Paint:The stain should be eliminated before it dries by applying thinner on it. Then it should be rubbed with detergent and washed.

Burnt stain: If your cloth is suitable for use of lye, you can add lye into your washing water. For woolen fabric, a cloth damped in oxygenated water should be covered on the stain and it should be ironed with a dry cloth on it. It should be washed after rinsing well.
SECTION 8: AVOIDING MINOR FAULTS
All repairing which must be done on the machine should be done by authorized service. When a repairing is required for your machine or you are unable to eliminate the failure with the help of the information given below:
| FAILURE PROBABLE CAUSE | METHODS OF ELIMINATION | |
| Your machine does not operate. | It is unplugged. | Insert the plug into the socket. |
| Your fuse is defected. | Change your fuse. | |
| The electric power is off. | Check the electric power. | |
| Start/pause button has not been pressed. | Press the start/pause button. | |
| The program knob is in O(off) status. | Bring the program knob on the desired status. | |
| The door is not shut properly. | Shut the door properly. You should hear the click. | |
| Your machine does not receive water. | Water tap is closed. Open | water tap. |
| The water inlet hose may be bent. | Check the water inlet hose. | |
| The water inlet hose is obstructed. | Clean the filters of water inlet hose. (*) | |
| The valve inlet filter is obstructed. | Clean the valve inlet filters. (*) | |
| The door is not shut properly. | Shut the door properly. You should hear the click. | |
| Your machine is not draining water. | The drain hose is obstructed or bent. | Check the drain hose. |
| The pump filter is obstructed. | Clean the pump filter. (*) | |
| The clothes are not placed inside the machine in a well-balanced manner. | Spread the clothes inside the machine in an orderly and well-balanced manner. | |
| Your machine is vibrating. | The feet of your machine are not adjusted. | Adjust the feet.(**) |
| Transportation screws are not removed. | Remove transportation screws.(**) | |
(^) See the section concerning the maintenance and cleaning of your machine. (^*) See the section concerning installations your machine.
| FAILURE PROBABLE CAUSE | METHODS OF ELIMINATION | |
| Your machine is vibrating. | There is a small amount of clothes in the device. | It does not prevent operation of the machine. |
| Excessive amount of clothes are filled in the machine or the clothes are not placed in a well-balanced manner. | Do not exceed the recommended quantity of clothes and spread your clothes in the machine in a well-balanced manner. | |
| Your machine touches a ripid object. | Prevent your machine's leaning on a tough place. | |
| Excessive foam in the detergent drawer. | Too much detergent has been used. | Press the start/pause button.In order to stop the foam,dilute one table-spoon of softener in half liter of water and pour it in the detergent drawer.Press the start/pause button after 5-10 minutes Arrange the amount of the detergent properly in the next washing process. |
| Wrong detergent has been used. | Use only the detergents produced for full automatic machines. | |
| The washing result is bad. | Your laundry too dirty for the program you have selected. | Select a suitable program. (see Table-1) |
| The amount of detergent used is not sufficient. | Use more detergent according to the detergent. | |
| The washing result is not good. | Clothes exceeding the maximum capacity has been filled in your machine. | Put the clothes in your machine in a manner not to exceed its maximum capacity. |
| Your water may be hard. | Use the amount of detergent according to the declaration of the detergent producer. | |
| Distribution of the clothes in your machine is not well-balanced. | Spread the clothes inside the machine in an orderly and well-balanced manner. | |
| The water is drained from the machine as soon as it is filled. | The end of the water drain hose is in a position too low according to the machine. | Place the water drain hose in an appropriate height.(**) |
| No water is seen in the drum during washing. | No failure. The water is at the lower part of the drum. | - |
| There are residues of detergent on the clothes. | The pieces of some detergents which do not dissolve in water may stick to your clothes as white stains. | By calibrating your machine for "Rinsing" program, make an additional rinsing or eliminate the stains After drying with the help of a brush. |
| There are gray stains on the clothes. | These stains may be caused by oil, cream or ointment . | In the next washing operation, use the maximum detergent amount declared by the detergent producer. |
(^**) See the section concerning installations your machine.
| FAILURE PROBABLE CAUSE | METHODS OF ELIMINATION | |
| The spinning process is not done or starts with delay. | No failure. The unbalanced load control may works in that way. | The unbalanced load control system will try to distribute your clothes in a homogenous manner. After your clothes are distributed, passage to spinning process will be realized. In the next washing process, place your clothes into the machine in a well-balanced manner. |
SECTION 9: AUTOMATIC FAILURE DETECTION SYSTEM
Your machine is equipped with systems which will both take the necessary precautions and warn you in case of any failure by controlling it self constantly during the washing processes.
| FAILURE CODE | FAILURE INDICATOR | PROBABLE FAILURE | THE PROCESS TO BE DONE |
| Err 01 | The start/pause light blinks. | The door is not shut properly. | Shut the door properly so that you hear the click. If the problem persists, turn off the machine unplug and apply to the nearest authorized service immediately. |
| Err 02 | The program ready light blinks. | The water level in your machine is below heater. The pressure of your water supply may be low or locking. | Turn on the tap to the end.Water may be cut, check it.If the problem is still continuing,your machine will automatically stop after a while.Unplug your machine, turn off the tap and apply to the nearest authorized service. |
| Err 03 | The start/pause light and program ready light blinks. | The pump has failed or the pump filter is obstructed. | Clean the pump filter.If the problem persists,apply to the nearest authorized service.(*) |
| Err 04 | The program end light blinks. | Communication error | Shut down your machine and unplug. Turn off your tap and apply to the nearest authorized service. |
(*) See the section regarding the maintenance and cleaning of your machine.
| FAILURE CODE | FAILURE INDICATOR | PROBABLE FAILURE | THE PROCESS TO BE DONE |
| Err 05 | The start/pause light and program end light blink. | The heater of your machine or the heat sensor has failed. | Shut down your machine and unplug. Turn off your tap and apply to the nearest authorized service. |
| Err 06 | The program ready light and program end light blink. | The motor has failed. | Shut down your machine and unplug. Turn off the tap and apply to the nearest authorized service. |
| Err 07 | The program start/pause light, ready light and program end light stays on permanently. | Configuration error. | Shut down your machine and unplug. Turn off the tap and apply to the nearest authorized service. |
| Err 08 | The start/pause light, program ready light and program end light blink. | Fault error | Shut down your machine and unplug. Turn off the tap and apply to the nearest authorized service. |
| Err 09 | The program ready light and program end light stays on permanently. | The network voltage is too high or too low. | If the network voltage is lower than 150V or higher than 260V, your machine will automatically stop. When the network voltage is recovered, your machine will continue its operation. |
SECTION 10: INTERNATIONAL WASHING SIGNS
| Washing temperature. | Do not wash (hand wash) | Lukewarm iron. | Medium hot iron. |
| Hot iron. Do not iron. | Do not tumble dry. | Hang to dry. |
| Drip dry. Dry flat. Do not bleach. Handy to bleach. | |||
| F | P | A |
SOMMAIRE
SECTION 1: AVANT UTILISATION
SECTION 7:INFORMATIONS PRATIQUES

Teka Industrial, S.A:
Cajo, 17
39011 Santander
Cantabria - ESPANA
Tel.: 34-942 35 50 50 Santiago de Chile
Fax:34-942347694 Tel:+5624386000
Fax: +56 2 438 6099
Teka Chile, S.A.:
EasyManual