HS120 - Fridge COMFEE - Free user manual and instructions
Find the device manual for free HS120 COMFEE in PDF.
Frequently Asked Questions - HS120 COMFEE
User questions about HS120 COMFEE
0 question about this device. Answer the ones you know or ask your own.
Ask a new question about this device
Download the instructions for your Fridge in PDF format for free! Find your manual HS120 - COMFEE and take your electronic device back in hand. On this page are published all the documents necessary for the use of your device. HS120 by COMFEE.
USER MANUAL HS120 COMFEE
1.Top cover
2.Screw cover
3.Cabinet
4.Freezer box
5.Light/Temperature controller.
6.Shelf
7. Vegetable box cover
8. Vegetable box
9. Leg regulator
10.Door
11.Bottle rack
12.Balcony shelf
Please read the following instruction carefully before using your refrigerator.
-Do not put hot food inside the refrigerator.
- Wrap all food items with a plastic protection film to avoid dehydration and lose food flavor.
-If you do not use the refrigerator for a long period of time, disconnect power, clean the inside parts, put the refrigerator in a dry area and leave the door slightly open.
I. GENERAL
The refrigerator is extensively used in places such as hotels, offices, houses and student dormitories. It is mostly suitable for refrigerating and conserving foods such as fruits and beverages. It enjoys the advantages of small size, light weight, high efficiency and low energy consumption.
II.UNPACKING,REPACKING AND MOVING
1.Unpacking
Just cut off the packing band, then pull the carton up.
2. Repacking
Please remember to put the original foamed pads in place.
3. Moving
Be sure refrigerator stays in upright position during moving it.
Do not tilt it for more than 45^ from upright. Never upset it.
Do not apply force on any external part such as pipe, condenser, door and its handle for moving, refrigerator must be well packed and secured in long distance transportation to avoid damage from impacting and or great rocking.
III. OPERATION
- Before the refrigerator is plugged in, check the following:
-There must not be any damage on all electrical wire
-Earthing screw must be well fixed.
- Wall outlet must be properly earthed.
Be sure that everything is in normal condition and the refrigerator can be plugged in.
2. When operating for the first time
When operating is in normal condition and the refrigerator without any load until it auto stops at the desired temperature, Usually it takes 2 or 3 hours. Then set the thermostat to the required setting and place foods in.
3. Temperature control

Refrigerator's temperature can be adjusted by turning the knob of the thermostat. The closer to "7" position the knob is set, the lower the temperature becomes. A medium setting is the most suitable for general operation. The position "7" is cool than the position "3".
Refrigerator's temperature will vary depending on the quantity of foods stored and the frequency of the door opening. In order to maintain good cooling efficiency and save energy, We recommend you not to store too much foods and not to open the door too frequently.
CAUTION: When the thermostat has been turned clockwise to "7"position, do not attempt to turn it more over. Otherwise it will be damaged.
IV.DEFROSTING
CAUTION: Never use any sharp of metallic instruments (e.g. knives) to remove frost/ice from the evaporator as this will damage the evaporator. A punctured evaporator will cause serious problems.
V: CLEANING AND MAINTENANCE
- To clean the refrigerator, disconnect power supply and remove foods, shelves, trays etc. Use a solution mixed with 2 spoons of baking soda per litre of warm water to clean the interior. Then wipe it clean with fresh water.
Never use acids, chemical thinner, gasoline, benzene or the like for cleaning any part of the refrigerator.
Never use oiling water and benzene to clean plastic parts because they may deform or damage the plastic parts.
- Too much foods or a too large container in the refrigerator will affect cold air circulation, so some free space must be left. It is recommended that about 70% storage volume is loaded.
Do not store volatile and or explosive materials such as ethers, gasoline, liquefied petroleum gas, adhesives etc. in the refrigerator. Otherwise there will be a danger of explosion caused by electric sparks.
VI. SAFETY INSTRUCTIONS
-
Before plugging your refrigerator in check that the electric supply in your house must comply with the rating (voltage, frequency) of the refrigerator, the rating plate is usually on the back of the refrigerator. The refrigerator should always be plugged in its own individual electrical outlet to prevent overload, which could cause a possible fire hazard from overheating wires. Do not splash water on the refrigerator as this will cause electrical leakage or failure. If the power cord becomes damaged, ask on electrician to replace it immediately. The refrigerator must be properly earthed.
-
Our corporation is not responsible for any accident caused by improper earthing or improper operation.
- Any repairs and work on the appliance should only be carried out by the customer service department, as unauthorized work could prove highly dangerous for the user.
- Do not store explosives or sprays using combustible propellants such as butane, propane, pentane etc.
- Do not allow naked flames or ignition sources to enter the appliance.
- Do not use steam cleaners for defrosting and cleaning.
- Do not use mechanical devices or the other means to accelerate the defrosting process, other than those recommended by the manufacturer.
- Do not damage the refrigerant circuit.
- Do not use electrical appliance inside the food storage compartments of appliance, unless they are of type recommended by the manufacturer.
- If the supply cord is damaged, it must be replaced by the manufacturer or its service agent or a similarly qualified person in order to avoid a hazard.
- The appliance must be positioned so that the plug is accessible.
- If the supply cord is damaged, it must be replaced by a special cord or assembly available from the manufacturer or its service agent.
WARNING: Keep ventilation openings, in the appliance enclosure or in the built-in stricture, clear of obstruction.
WARNING: Do not use mechanical devices or other means to accelerate the defrosting process,other than those recommended by the manufacturer.
WARNING: Do not damage the refrigerant circuit.
WARNING: Do not use electrical appliances inside the food storage compartments of the appliance, unless they are of the type recommended by the manufacturer.
VII. SERVICE
If the refrigerator is not functioning properly, check that:
- When the refrigerator does not operate:
-the power plug is firmly in the wall outlet.
-the mains power switch is off.
-
When the refrigerator does not cool enough:
-
the thermostat is at the correct setting, there are too frequent and too long door openings.
-
When the foods are frozen:
-the thermostat is at the correct setting.
-
When the refrigerator operates too noisily:
-
the refrigerator is not touching furniture that can transmit or amplify a noise or a vibration.
-the refrigerator properly leveled.
- the containers or solid packages stored inside are not touching each other.
-the mains supply is stable.
If you refrigerator is still not functioning properly after making the above checks, please contact the sale dealer immediately.
Note: During the period of high humidity, moisture may form on the outside of the refrigerator, it is not unusual. You may just wipe it up yourself.
VIII. OLD APPLIANCES
The cabinet of appliance is formed by cyclopentane or R141b. old appliance contain harmful materials and should be disposed of with bulk refuse.
-
Remove the spring-action or bolt catch from the appliance or render it unusable so that children cannot become trapped inside and suffocate.
-
Ensure that the refrigerant circuit is not damaged before the appliance that is no longer needed is taken away for disposal. In this way the refrigerant will not escape into the environment.
Information concerning the refrigerant and insulating materials used can be found on the type plate and disposal instructions on the appliance.
Information on collection dates or collection points can be obtained from the waste disposal authorities or your local council.
IX.REVERSING THE DOOR
This refrigerator can be opened either from the left or right side. The default way of opening the door is from the right side.
If you want to open the door from the left side, please follow the instructions below.



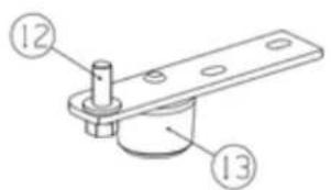
1.Screw cover 2.Screws 3.Top cover 4.Top cover deck piece 5.Door
6. Leg regulator(H) 7.Screw 8. Lower Hinge 9.Cabinet 10. Upper Hinge
11.Screw 12.Pin 13.Leg regulator (L)
1. Remove the screw cover(1), remove the screws(2) and the top cover(3) and upper hinge(10), remove the door(5), remember keep the padded surface of the door upwards to prevent the scratching.
2. Remove the lower hinge(8),leg regulator(H)(6) that on the left side.
3.Remove the pin(12), and the leg regulator(13) of the lower hinge(8), and then transfer the pin /leg regulator to the opposite side of the lower hinge.
4. Insert the lower hinge(8) in the left lower side, fix the lower hinge on the cabinet, and fix the leg regulator(H)(18) in the right lower side.
5. Put the door on the lower hinge, keep the door level, then fix the upper hinge on the cabinet.
6. Remove and transfer the top cover deck piece(4) to the opposite side of the top cover.
7. Fix the top cover and screw cover.
EasyManual