S9 PRO - Electric scooter OCEAN DRIVE - Free user manual and instructions
Find the device manual for free S9 PRO OCEAN DRIVE in PDF.
Download the instructions for your Electric scooter in PDF format for free! Find your manual S9 PRO - OCEAN DRIVE and take your electronic device back in hand. On this page are published all the documents necessary for the use of your device. S9 PRO by OCEAN DRIVE.
USER MANUAL S9 PRO OCEAN DRIVE
natural_image
Line drawing of a modern electric scooter with visible wheels and suspension components (no text or symbols)
natural_image
Line drawing of a scooter with visible suspension and steering wheel (no text or symbols)Instructions for use and maintenance
(Translation from original language)
FR - SOMMAIRE
1 INTRODUCTION....FR-1
2 NORMES GÉNÉRALES DE SÉCURITÉ.... FR-1
3 DESTINATION D'USAGE FR-2
4 AVERTISSEMENTS GÉNÉRAUX DE SÉCURITÉ ...... FR-2
5 AVERTISSEMENTS SUR L'UTILISATION DE LA BATTERIE.... FR-5
6 DÉCLARATION DE CONFORMITÉ CE.... FR-7
7 MISE AU REBUT CORRECTE DE CE PRODUIT FR-7
8 RETRAIT DE L'EMBALLAGE....FR-8
9 DESCRIPTION DE LA TROTTINETTE.... FR-9
10 ÉCRAN D'AFFICHAGE ET TOUCHES DE FONCTION ......FR-10
11 MONTAGE DE LA TROTTINETTE ....FR-10
12 CHARGEMENT DE LA BATTERIE FR-12
13 UTILISATION DE LA TROTTINETTE....FR-13
14 FERMER ET TRANSPORTER LA TROTTINETTE....FR-18
15 ENTRETIEN....FR-20
16 PROBLEMES ET SOLUTIONS....FR-21
17 GARANTIE FR-22
18 CARACTERISTIQUES TECHNIQUES ......FR-23
IT - INDICE
1 INTRODUZIONE IT-1
2 NORME GENERALI DI SICUREZZA...... IT-1
3 DESTINAZIONE D'USO IT-2
4 AVVERTENZE GENERALI DI SICUREZZA...... IT-2
5 AVVERTENZE PER L'USO DELLA BATTERIA IT-5
6 DICHIARAZIONE DI CONFORMITÀ CE IT-7
7 CORRETTO SMALTIMENTO DI QUESTO PRODOTTO...... IT-7
8 RIMOZIONE IMBALLO......IT-8
9 DESCRIZIONE MONOPATTINO IT-9
10 DISPLAY E TASTI FUNZIONI......IT-10
11 ASSEMBLAGGIO MONOPATTINO IT-10
12 RICARICA DELLA BATTERIA......IT-12
13 UTILIZZO DEL MONOPATTINO......IT-13
14 RICHIUDERE E TRASPORTARE IL MONOPATTINO IT-18
15 MANUTENZIONE......IT-20
16 INCONVENTI E RIMEDI......IT-21
17 GARANZIA......IT-22
18 DATI TECNICI IT-23
DE - INHALT
6. DÉCLARATION DE CONFORMITÉ CE

7. MISE AU REBUT CORRECTE DE CE PRODUIT
Application de la Directive 2006/66/UE

text_image
Technical diagram of a scooter drivetrain with numbered components for identification
text_image
1 2 7 8 10 21 22 1
text_image
11 13 14 9 24 21 23 12 21 24
text_image
15 17 16 1810. ÉCRAN D'AFFICHAGE ET TOUCHES DE FONCTION
text_image
7 click! 7 6
text_image
8
text_image
1012. CHARGEMENT DE LA BATTERIE
text_image
Illustrated guide showing a person using a scooter with numbered instructions and motion arrows, including a speed limit sign.text_image
Illustration showing scooter safety instructions with numbered steps and a person using a scooter.13.1 - CONSEILS POUR UNE UTILISATION CORRECTE
text_image
Diagram illustrating three steps of a scooter maneuver: standing, opening, and rolling, with labeled diagrams a, b, and c.
text_image
d e f g Max 5-10 km/htext_image
I m n STOP14. FERMER ET TRANSPORTER LA TROTTINETTE
natural_image
Line drawing of a hand using a scooter to lift a horizontal bar, with an upward arrow indicating motion (no text or symbols)text_image
Technical diagram of a scooter drivetrain with numbered components for identification
text_image
1 2 7 8 10 21 22 1
text_image
11 13 14 9 24 21 23 12 21 24
text_image
15 17 16 18text_image
Technical diagram showing two scooter components with labeled parts (a, b, c) and numbered parts (15)text_image
7 click! 7 6
text_image
8
text_image
1012. LADEN DES AKKUS
natural_image
Three circular diagrams showing stylized human figures inside a digital display (no text or symbols)text_image
Illustrated guide showing a person using a scooter with numbered instructions and motion arrows, including speed limit and safety measures.text_image
Illustration showing scooter safety instructions with labeled steps 11, 12, and 15 for tracking and safety actions.text_image
Diagram illustrating three steps of a scooter maneuver: standing, opening, and rolling, with labeled diagrams a, b, and c.
natural_image
Illustration of a person standing in the rain wearing a helmet, with water droplets and a small 'd e' icon (no text or symbols on the figures)
natural_image
Line drawing of two people riding scooters, one holding a scooter, the other standing upright (no text or symbols)
text_image
g Max 5-10 km/htext_image
I m n STOP14. DEN ROLLER ZUSAMMENLEGEN UND TRANSPORTIEREN
natural_image
Line drawing of a hand using a scooter to lift a horizontal bar, with an upward arrow indicating motion (no text or symbols)text_image
Technical diagram of a scooter drivetrain with numbered components for identification
text_image
1 2 7 8 10 21 22 1
text_image
11 13 14 9 24 21 23 12 21 24
text_image
15 17 16 1810. DISPLAY E TASTI FUNZIONI
text_image
7 click! 7 6
text_image
8
text_image
1012. RICARICA DELLA BATTERIA
text_image
Illustrated guide showing a person using a scooter with numbered instructions and motion arrows, including speed limit and safety measures.text_image
Illustration showing scooter safety instructions with labeled steps 11, 12, and 15 for tracking and safety actions.13.1 - CONSIGLI PER IL CORRETTO UTILIZZO
text_image
Diagram illustrating three steps of a scooter safety scenario: standing, opening, and rolling.
text_image
d e f g Max 5-10 km/htext_image
I m n STOP14. RICHIUDERE E TRASPORTARE IL MONOPATTINO
natural_image
Line drawing of a hand using a scooter to lift a bicycle, showing the motion arrow (no text or symbols)- This manual has been created with the purpose of supplying all the necessary information in order to use the e-scooter correctly and safely for the user and for the others.

STRICTLY RESPECT THE INSTRUCTIONS CONTAINED IN THIS MANUAL! READ AND UNDERSTAND THIS MANUAL BEFORE USING THE KICK SCOOTER.
2. GENERAL SAFETY RULES
- Definition of the symbols in the manual.

NOTE
Highlights particular information which deserve to be pointed out with respect to the text such as, for instance, advices and hints.

WARNING
It appears during some procedures which, if not observed or carried out correctly, may cause damages to the kick scooter or problems to the user.

ATTENTION!
IT APPEARS BEFORE SOME PROCEDURES WHICH, IF NOT OBSERVED OR CARRIED OUT CORRECTLY, MAY CAUSE INJURIES, EVEN SERIOUS, OR DEATH TO THE OPERATOR.
3. INTENDED USE
- The e-scooter, subject of this manual, is an ecological vehicle designed and built for transport of one person at a time.
- The use of the e-scooter is prohibited to people under 14 years of age (check the age limit provided for by the laws in the place of use).

THE IMPROPER USE OF THE E-SCOOTER MAKES THE USER THE ONLY ONE RESPONSIBLE IN CASE OF DAMAGES TO HIMSELF AND/OR OTHER PEOPLE, PROPERTY OR ANIMALS.
4. GENERAL SAFETY WARNINGS
- Carefully read this instruction manual before the use of the e-scooter and store it with care for future uses.
■ Before each use, check the mechanical integrity of the e-scooter. If anomalies, cracks or other signs of deterioration are encountered, do not use the e-scooter and have it checked by the retailer or by qualified and authorized personnel. - A failure to respect what is indicated in this instruction manual exposes the use to the risk of falling or of running over other people or property with consequences which may also be serious.
- To prevent injuries, a few symbols are also present in the manual (described in paragraph "2") and they are used to mark safety precautions. The warnings which accompany these symbols must be followed carefully.
- The use of the e-scooter by people of an age included between 14 and 18 years includes the mandatory use of a homologated helmet which must be worn correctly (check the age limit provided for by the laws in the place of use). In any case, it is advised to ALWAYS use the helmet and other personal protective equipment such as knee pads, elbow guards and gloves. It is advised to wear flat footwear.
- This appliance can be used by children aged from 8 years and above and persons with reduced physical, sensory or mental capabilities or lack of experience and knowledge if they have been given supervision or
instruction concerning use of the appliance in a safe way and understand the hazards involved. Children shall not play with the appliance. Cleaning and user maintenance shall not be made by children without supervision.
■ Possible repairs must be carried out ONLY by qualified and authorized personnel. Repairing the e-scooter by yourself could be dangerous!
■ Before using the e-scooter, especially in crowded areas or on the road, it is advised to become familiar with it.
- Check that there are no regulations which prohibit the use of the e-scooter, respect the road signs.
- When you access public spaces, always respect the local regulations and laws.
- As well as with other vehicles, higher speeds require a larger braking distance. Sudden braking, especially in the presence of wet or non-homogeneous surfaces (for instance in the presence of soil or sand) may result in slipping and/or falling.
- Pay attention and always maintain a safe distance between yourself and or other people or vehicles while driving; decelerate when you enter unknown areas.
■ Respect pedestrians by always giving them priority.
■ Overtake on the left ONLY when possible.
- When a pedestrian is approached from the front, remain on the right and decelerate. Avoid insecure pedestrians during their march.
- When a pedestrian is approached from the back, get noticed using the bell located on the handlebars and decelerate up to normal march speed while overtaking; the e-scooter is highly silent, for this reason avoid scaring the pedestrians.
- When you access places not protected by law, respect the safety guidelines described in this manual and drive carefully and prudently.
In order to drive safely, it is necessary to be clearly visible to others and be able to clearly see what is in front of you; good visibility is the first safety condition.
■ A few people must NOT drive the e-scooter:
■ Anyone under the influence of alcohol or drugs.
- Those who suffer from illnesses which put them at risk when they perform a hard physical activity.
- Anyone with balance problems or motor difficulties which may interfere with his capacity to maintain balance.
-
Anyone with a weights which exceeds the indicated limits (see Specifications).
■ Pregnant women. -
Do not lend the e-scooter to someone who has not been trained on its use and who does not wear appropriate protective equipment.
■ Avoid using the e-scooter under the rain. - Decelerate on potholed roads, pavements or on other particular and non-homogeneous road surfaces. On highly potholed roads it is advises to maintain low speed (between 5 and 10 km/h maximum). Remaining flexible on your knees will help to adapt to potholed roads.
■ Pay attention to doors or other obstacles at a height
■ Do not accelerate when driving downhill
■ Do not accelerate while walking next to the vehicle
- Pay attention to possible obstacles which may be encountered during the use of the e-scooter.
- ALWAYS drive in a calm and focused manner, do not do stunts with the e-scooter.
■ Do not change direction suddenly at high speed.
■ Do not drive on water, mud, snow, oil stains or icy surfaces.
■ Do not ride the e-scooter with a child.
It is prohibited to position yourself and concentrate the load on the rear mudguard.
■ Do not touch the disc brake; burning hazard!
- Do not let the handlebars go while driving; grasp the grips firmly.
- Do not jump over obstacles and do not climb stairs with the e-scooter; there is the risk of accidents and damages to the vehicle.
- The e-scooter is equipped with a kickstand; while parking, make sure the e-scooter is stable and that it cannot fall accidentally. It may get damaged or cause damages to people or property.
■ Optimal operating temperature of the e-scooter: 0-40°C
■ Storage temperature of the e-scooter: 0-40°C
- The e-scooter is not suitable for use at altitudes higher than 2000 m above sea level.
- The prolonged exposition of the e-scooter to UV rays, rain and other atmospheric agents may damaged the materials of the casing. Store the e-scooter indoor or in a protected place when not in use.
■ Before any use of the e-scooter, make sure there are no loosened components.
■ The e-scooter cannot be used by people whose total weight is lower than 45kg or higher than 120kg.
- No parts of the e-scooter can be repaired by the user. Risk of fire and electric shock.
5. WARNINGS FOR USE OF THE BATTERY
- Do not use the e-scooter if the battery is in one of the following conditions:
■ The battery is damaged.
■ The battery emits abnormal odour and/or heat.
■ Liquid comes out from the battery.
- Do not start the e-scooter when the battery is charging.
■ If the battery charge marks show a red light, it is advised to decelerate and stop driving.
- ONLY use the battery charger supplied with the e-scooter to charge the battery; a different battery charger may damage it irreparably or cause fire.
- Do not touch the battery contacts and do not open the battery compartment. Do not place metallic objects in contact with the battery: that may cause short circuits and damage the battery or even injure, also seriously, the user.
In case of dismantling of the e-scooter or replacement of the battery, do not dispose of the latter with house-
hold waste. Follow the local environmental standards on recycling.
- Do not use batteries of a model different from the original one; the use of a different battery charge may damaged the device or cause fire.
- Charging the battery after each use of the e-scooter will extend its resistance and performance.
- Do not use the battery in extreme environments (-20°C; +50°C), this may cause malfunctions or even risk of fire.
- Do not expose the battery to sun for too long (for instance, in the boot of the car) and do not throw it in fire, this may cause an explosion.
It is necessary to completely charge the battery each month to avoid damaging it. If that does not happen, the battery enters a self-protection status and cannot be charged. In this case, contact your retailer.
■ Excessively long periods of time between one charge and the next one may damage the battery irreversibly
■ Proceed with the charge of the battery in dry environments, away from combustibles and flammable elements.
■ Battery replacement must ONLY be carried out by authorized repairers. - Do not let children or animals touch the battery or the battery charger during charge phase.
■ Battery charge temperature: 10-40°C. - When the battery charger is connected to the e-scooter, all the electric functions and the motor are disabled to avoid overheating or damages to the components.
- The external flexible cable or cord of this transformer cannot be replaced if damaged; if the cord is damaged, the transformer shall be scrapped.
■ The battery must be removed from the appliance before it is scrapped.
■ The appliance must be disconnected from the supply mains when removing the battery.
■ The battery is to be disposed of safely.

For the purposes of recharging the battery, only use the detachable supply unit provided with this appliance.
6. EC DECLARATION OF CONFORMITY
- We here declare that the product described in this manual is compliant with the following European Directives (certificate supplied as an annex):

2006/42/EC
2014/30/EU
■ EN17128:2020
7. CORRECT DISPOSAL OF THIS PRODUCT
Implementation of the Directive 2006/66/EU

The e-scooter works with batteries which are covered by the European Directive 2006/66/EC and that cannot be disposed of as normal household waste. Inform yourself about local regulations on waste sorting of the batteries: a correct disposal allows to avoid negative consequences for the environment and health. The battery must be disposed of at the end of the service life of the product. The recovery and recycling centres can disassemble the product and remove the battery.
Implementation of the European Directive 2012/19/EU on waste of electrical and electronic equipment (WEEE)

The crossed out wheelie bin symbol on the equipment indicates that the product, at the end of its useful life, must be collected separately from other waste. The user should, therefore, take the equipment complete of its essential components at the end of its service life to the appropriate sorting waste centres for electrical and electronic waste, or hand it to the dealer when buying a new equipment of the same type on a one for one basis, or on a one for zero basis for equipment with a major side lower than 25 cm. Correct waste sorting for the next start of the equipment disposed for recycling, compatible environmental disposal and treatment, helps to avoid possible negative effects on the environment and on health and eases the recycling of the materials of which the equipment is composed. Abusive disposal of the product by the user involves the application of the administrative sanctions provided for by law.
8. REMOVAL OF THE PACKAGING
- The e-scooter is contained in a cardboard packaging with specific guards to preserve it from possible impacts or damages.
- Once the packaging is open, proceed with the removal of the e-scooter and of the other components.

Considering the weight of the e-scooter (kg 15,5), it is advised to carry out the operation with the help of another person.
- Content of the packaging
a■ E-scooter
b. Battery charger
c■ Battery charger power cord
d■ 4 Screws
e■ 6mm Allen key
f. Instruction manual

If one of the components listed above is missing inside the packaging, please refer to the retailer.

The elements of the packaging (plastic bags, expanded polystyrene, etc.) must NOT be left within the reach of children as they are potential sources of danger.

text_image
a b c d e f Manuel d'utilisation Gebrauchsanleitung Libretto instructions d'uso Instruction manual OCEINN OPIUJE E-SCOOTER S9 PRO (PLUV)9. DESCRIPTION OF THE E-SCOOTER
- Frame/Deck
- Kickstand
- Front wheel/Motor
- Front mudguard
- Folding intersection
- Locking lever
- Handlebars stem
-
Hook
-
Handlebars
- Front light
- Brake lever
- Throttle lever
- Bell
- Display
- Rear mudguard/Folding closure
-
Disc brake
-
Rear light
- Rear wheel
- Battery
- Socket for battery charger
- Grips
- EC nameplate
- Direction indicators switch
- Turn indicators

text_image
20 19
text_image
Technical diagram of a scooter drivetrain with numbered components for identification
text_image
1 2 7 8 10 21 22 1
text_image
11 13 14 9 24 21 23 12 21 24
text_image
15 17 16 1810. DISPLAY AND FUNCTION KEYS
-
ON/OFF key - Function selection
-
Long pressing: display ON/OFF
- Short pressing: function selection
■ ODO: Total odometer
■ TRIP: Partial odometer
-
Speed selection key
-
Long pressing: front and rear lights ON/OFF (the blue icon 📋 on the display turns on too)
- Short pressing: speed selection
■ 1: minimum speed
■ 2: medium speed
■ 3: maximum speed
- USB port
- Odometer (KM/H)
- ERROR: in the presence of this message, switch off the e-scooter and have it checked by an authorized repairer.
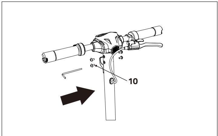
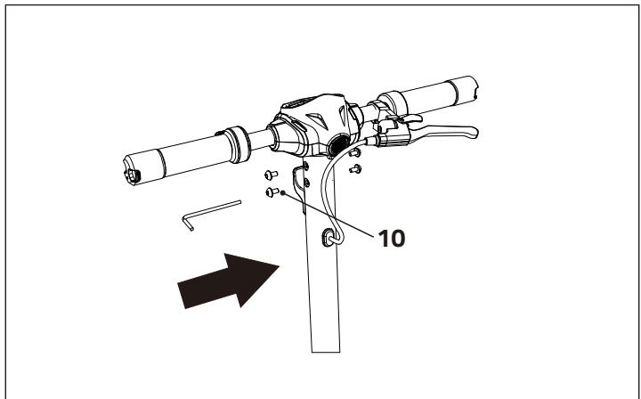
11. ASSEMBLING THE E-SCOOTER
- After removing the e-scooter from the packaging and checking that everything is compliant with what is indicated in paragraph "8", it is necessary to assemble the dismounted components.
a- Open the kickstand (2) and position the e-scooter on a flat surface.
b. Press the rear mudguard (15) to release the handlebars stem (7).

text_image
ODO TRIP ERROR 800.8 km 26 24 23 27 25
text_image
a 2 c 7 b 15c■ Raise the handlebars stem (7).
d- Raise the locking lever (6) and push it against the handlebars stem (7) until a hooking "click" is heard.
e- Insert the scooter head to the handlebar stem(8), tight four screws(10) on handlebar stem by using the supplied Allen key. Screws and Allen key attached in User Manual bag.

text_image
7 click! 7 6
text_image
8
text_image
1012. CHARGE OF THE BATTERY
- The e-scooter is equipped with a rechargeable Lithium-ion battery and with a battery charger suitable for correct charge.

ONLY use the battery charges supplied as a standard to charge the battery.
- Upon first use, it is advised to charge the battery completely (maximum charge time: 3-5 hours)
- Whenever it is necessary to charge the battery (the residual charge level is indicated by the LEDs on the display (see paragraph "10"), work as follows:
a- Open the kickstand (2) and position the e-scooter on a flat surface.
b■ Remove the cap from the charge socket of the battery (30).
c■ Insert the jack (31) in the charge socket of the battery (30).
d■ Connect the power cord (32) to the battery charger (33).
e- Insert the plug (34) of the battery charger (33) in the power socket. The LED on the battery charger turns on in "red" indicating that charge is in progress.
When charge is complete, the LED becomes "green".

When the battery charger is connected to the e-scooter, all the electric functions and the motor are disabled to avoid overheating or damages to the components.

text_image
30 31 30 33 32 100-240V~ 50/60Hz 34 RED GREEN 33 33
Make sure that mains voltage corresponds to what is indicated on the battery charger (100-240V\~50/60Hz).
f. Once charge is complete, disconnect the cables and close the cap in the battery charge socket (30).

text_image
3012.1 - CARE OF THE BATTERY
- The battery must be charged after each use.
- If the e-scooter is not used for a prolonged period of time, it is recommended to charge the battery at
least once a month. If that does not happen, the battery enters a self-protection status and cannot be charged. In this case, contact your retailer.
- The battery charger is equipped with a self-protections function against overcharging, the battery automatically stops charging once 100% of the charge is reached.
- Do not use the battery charge in wet or damp environments.
- Do not charge the battery if the socket (30), the charge cables or the battery charge are wet or damp.
- Charge the battery when only the last notch remains on on the display.
- Do not charge the battery if it shows signs of damage or leaks of liquid.
13. USE OF THE E-SCOOTER

Before using the e-scooter, make sure you have read and understood all the indications in this manual. Possible injuries or damages resulting from incorrect use of the e-scooter relieve the manufacturer and the retailer from all liability and make the user himself the only one responsible towards the competent bodies.

Wear the helmet and other personal protective equipment such as knee pads, elbow guards and gloves correctly. It is advised to wear flat footwear.
- Hold the grips (21) correctly and raise the kickstand (2).
- Keep the ON/OFF key (23) pressed to switch on the display (14).
- Make sure that the battery is sufficiently charged.
- Briefly press the key (24) to select the desired level of speed (from "1" to "3").

text_image
24 23
natural_image
Three circular diagrams showing stylized human figures inside a digital camera (no text or symbols)- Position one foot on the deck and use the other to push yourself forward while maintaining your balance.
- Simultaneously, press the throttle lever (12); when speed exceeds 4km/h, the motor connects.
- Position the other foot on the deck and drive carefully and with caution.

text_image
Illustrated guide showing a person using a scooter with numbered instructions and motion arrows, including speed limit and safety measures.- During use it is possible to change speed by pressing or releasing the throttle lever (12) or modifying the desired speed level.
-
To decelerate:
-
release the throttle lever (12),
- or press with your foot on the rear mudguard (15),
-
or pull the brake lever (11) (in this condition, the motor deactivates).
-
It is also possible to use all these options simultaneously.
- For a more vigorous braking, pull the brake lever (11) and firmly press with your foot on the rear mudguard (15).

Braking with determination exposes the user to possible slips or falls; maintain a moderate speed and pay attention to potential risks.

text_image
Illustration showing scooter safety instructions with labeled steps 11, 12, and 15 for tracking and safety actions.13.1 - ADVICES FOR CORRECT USE
a. To turn, move the weight of your body and slightly turn the handlebars.
b■ Pay attention to your head when passing under an obstacle.
c. Control speed downhill; use both brakes when driving at high speed.
d. DO NOT use the e-scooter under the rain.
e- Do not drive the e-scooter through puddles or other obstacles (with water). In such cases, reduce speed and avoid the obstacle.
f. DO NOT use the e-scooter in pairs, nor transport any passengers. Do not transport a child.
g- Maintain a moderate speed (between 5 and 10 km/h) while driving on speed retarders, potholed roads or other irregular surfaces. Slightly bend your knees to better adapt to those surfaces.

text_image
Diagram illustrating three steps of a scooter maneuver: standing, opening, and rolling, with labeled diagrams a, b, and c.
natural_image
Illustration of a person standing in the rain wearing a helmet, with water droplets and a small 'd e' icon (no text or symbols on the figures)
natural_image
Line drawing of two people riding scooters, one holding a scooter, the other standing upright (no text or symbols)
text_image
g Max 5-10 km/h- DO NOT transport heavy or cumbersome objects on the handlebars.
i. DO NOT drive the e-scooter with one foot.
j- DO NOT remove your hands from the handlebars while driving. Do not drive with one hand.
k. DO NOT climb the stairs up and down nor jump over obstacles.
I. DO NOT turn the handlebars sharply, especially if you are driving at high speed.
m- Adjust speed based on the type of road and on the conditions of the road surface.
n. Give priority to pedestrians.

text_image
h i j k
text_image
I m n STOP14. CLOSING AND TRANSPORTING THE E-SCOOTER
a■ Open the kickstand (2) and place the e-scooter on a flat surface.
b. Switch off the appliance by keeping the ON/OFF key (23) pressed.

text_image
2 23c■ Grasp the handlebars stem (7) with one hand.
d- With the other hand, pull on the hook (6a) and then pull the locking lever (6).
e- Fold the handlebars stem (7) on the rear mudguard (15), then press it downwards to hook it (until a "click" is heard).

Make sure the handlebars stem has hooked correctly to the rear mudguard.

text_image
6a 7 6 15 6 7
text_image
7 click! 15f. To lift the e-scooter, grasp the handlebars stem (7) balancing its weight.

natural_image
Line drawing of a hand using a scooter to lift a horizontal bar, with an upward arrow indicating motion (no text or symbols)g. Store the e-scooter in a dry environment and away from hu-midity.
Do not store the e-scooter outdoors.
Excessive exposition to sun, heat or cold may damage the
e-scooter and accelerate tires and batteries wear.
If necessary, store the e-scooter in its original box.
15. MAINTENANCE
- In general, when you are cleaning the e-scooter, make sure it is switched off, that the battery charge cable is disconnected and that the cap of the charge socket on the appliance is closed (see paragraph "12" - step "f").
- To clean the e-scooter, use a soft and slightly damp cloth. If cleaning is more difficult than expected, it is advised to use a toothbrush and to add toothpaste to remove most tenacious dirt.
Remove the toothpaste and residues with a soft and slightly damp cloth.

DO NOT use alcohol, petrol or other solvents, corrosive chemical products in order to avoid damaging the e-scooter both aesthetically and in its internal structure.
DO NOT use high pressure guns to clean the e-scooter.
- When the e-scooter is not used, store it in a dry environment away from humidity.
- Do not store the e-scooter outdoors.
Excessive exposition to sun, heat or cold may damage the e-scooter and accelerate tires and batteries wear.
Do not touch the brake disc right after use of the e-scooter. Danger of burns!
- If the brake is too tight, use the supplied Allen key to undo the locking screw (40), then release the brake cable pressure. Shorten the cable and tighten the locking screw (40). If the brake is too loose, carry out the opposite operation and extend the brake cable.
- For fine adjustment of braking, work on the adjustment screw (41) of the brake lever (11) and/or on the adjustment screw (42) of the disc brake unit (16).
- Tighten the ring (43) once adjustment is complete.

text_image
11 43 41 40 16 4216. INCONVENIENCES AND SOLUTIONS
- The e-scooter does not move after start-up.
- The brake has not restored completely.
This interrupts power supply.
- Move the brake back in position.
- The e-scooter moves at low speed or does not move at all.
- Battery is low.
- Charge the battery.
- The motor starts and switches off again.
- Battery is low.
- Replace the battery ^(1) .
- The controller is damaged.
- Replace the controller ^(1) .
- The battery connection is loose.
- Adjust the connectors of the battery ^(1) .
- The battery cannot be charged or has charged slowly
- Voltage is not correct.
- Carry out maintenance of the battery or replace the battery ^(1) .
- The battery does not charge.
- The battery life cycle has come to an end.
- Replace the battery ^(1) .
- The battery charger does not emit power.
- Replace the battery charger ^(1) .
- The charge socket is damaged.
- Replace the charge socket ^(1) .
Error codes
- It is possible that errors codes may be displayed. The e-scooter will stop operating under these conditions.
E0 = Communication error
E1 = Abnormal current
E2 = Throttle failure
E3 = Brake failure
E4 = MOS failure / Over current failure
E5 = Hall / Motor failure
E6 = Motor failure
E7 = Low voltage error
- Should you experience any issues which cannot be resolved, contact your dealer.
17. WARRANTY
- Carefully read the instructions of this manual before using the e-scooter.
- Do not use the e-scooter when it is prohibited by law. Do not use the e-scooter when it may cause danger to the driver and to people/property near it.
- The product is covered by warranty for a period of 2 years from the date of purchase with receipt, or a period of 1 year from the date of purchase with invoice. Warranty is only valid if it is evidenced by a valid proof of purchase (receipt for the Customer), which must be shown at the request for intervention.
The non-compliant product must be returned in its original packaging, complete of all its accessories.
- End of warranty of the battery: 6 months.
- Warranty does not apply in case of damages resulting from neglect, use or installation not in compliance with the supplied instructions, tampering, modifications of the product or of the serial number due to accidental causes or negligence of the purchaser, with particular reference to external parts. Components subject to wear after use are excluded from the warranty: cables, connectors, external parts and plastic supports which do not show manufacturing defects.
- For technical assistance of the products covered by warranty, please refer to the Retailer where the product has been bought, which will carry out the preliminary check of the defect and will send the product to the assistance centre.
- TECHNICAL DATA
| Dimension | Dimension of the open e-scooter | 1090x465x1200 mm |
| Dimension of the close e-scooter | 1090x465x455 mm | |
| Packaging dimensions | 1110x190x485 mm | |
| Weight | User maximun weight | 120 kg |
| User minimun weight | 45 kg | |
| E-scooter net weight | 15,5 kg | |
| Packaged e-scooter weight | 18,5 kg | |
| Driving requisites | User height | 130-200 cm |
| Specifications | Maximun speed | 25 km/h (may vary based on terrain and weight) |
| Maximun autonomy | 40 km (may vary based on weight) | |
| Climbing angle | 15% | |
| USB port | 5V - 0.5A | |
| Operating temperature | -10°C ÷ +45°C | |
| Storage temperature | -10°C ÷ +25°C | |
| Relative humidity | ≤ 75% RH | |
| Impermeability level | IPX5 |
| Battery | Type | Lithium battery 18650 type |
| Capacity | 36V-10Ah | |
| Maximun autonomy | 40 km | |
| Charge time | 4÷7 ore | |
| Input | 100-240V AC50/60Hz1.8A (max.) | |
| Output | 42 V DC - 1.5A | |
| AC adapter | FY0634201500 | |
| Motor | Type | Energy-saving brushless |
| Nominal power | 36V-350W | |
| Wheels | Type | Honeycomb without maintenance |
| Diameter | 8,5" | |
| Characteristic | Shock absorber |
NOTES / HINWEISE / NOTE / NOTES
natural_image
Stylized white palm tree logo on black background (no text or symbols)OCEAN DRIVE
www.ocean-drive.com
Imported by:
PowerData SA
Route de Lully 5C
1131 - Tolochenaz
SWITZERLAND
EasyManual