BSE782380M - Built-in oven AEG-ELECTROLUX - Free user manual and instructions
Find the device manual for free BSE782380M AEG-ELECTROLUX in PDF.
User questions about BSE782380M AEG-ELECTROLUX
0 question about this device. Answer the ones you know or ask your own.
Ask a new question about this device
Download the instructions for your Built-in oven in PDF format for free! Find your manual BSE782380M - AEG-ELECTROLUX and take your electronic device back in hand. On this page are published all the documents necessary for the use of your device. BSE782380M by AEG-ELECTROLUX.
USER MANUAL BSE782380M AEG-ELECTROLUX
Instructions for the use of the instructions booklet

Notes which are important for your safety or for the proper functioning of the appliance

Supplementary information regarding operation and practical applications of the appliance.

Tips and notes concerning economical and environmentally sound use of the appliance

The symbol on the product or on its packaging indicates that this product may not be treated as household waste. Instead it shall be handed over to the applicable collection point for the recycling of electrical and electronic equipment. By ensuring this product is disposed of correctly, you will help prevent potential negative consequences for the environment and human health, which could otherwise be caused by inappropriate waste handling of this product. For more detailed information about recycling of this product, please contact your local city office, your household waste disposal service or the shop where you purchased the product.
Contents
Safety Instructions 24
Diposal 25
Use and Control / Before Use 27
Starting the appliance / Temperature control 27
lternal parts / Door shelves / 28
Hints 29
Maintenance Defrosting. 30
Cleaning. 31
How to change the bulb 31
Something not Working 21
Customer Service and Spare Parts 32
Technical Specifications / Door reversibility 33
Installation / Positioning 34
Electrical connection 35
Building-in 36

Safety Instructions
This information has been provided in the interests of your safety. Please read it before installing or using the appliance. Please retain the instruction book for future reference. If owner ship is transferred, please leave the user manual for the new owner.
Domestic Use
- Keep these instructions and they should remain at the appliance when moving away or changing owner.
- This appliance is designed for storing food, domestic use and being used according to these instructions only.
- Specialised companies that are qualified to do so by the manufacturer must carry out service and repairs including repairing and changing the power cord. Accessory parts supplied by them should be used only for repairing. Otherwise the appliance can be damaged or can cause other damage or injury.
- The appliance is out of circuit only in that case if the plug is removed from the socket. Before cleaning and maintenance always unplug it (do not get it by the cable). If the socket is difficult to reach, switch off the appliance by cutting off the current.
Power cord must not be lengthened. -
Make sure that the power plug is not squashed or damaged by the back of the fridge/freezer.
-
A damaged power plug may overheat and cause a fire.
-
Do not place heavy articles or the fridge/freezer itself on the power cord.
- There is a risk of a short circuit and fire.
-
Do not remove the power cord by pulling on its lead, particularly when the fridge/freezer is being pulled out of its niche.
-
Damage to the cord may cause a short-circuit, fire and/or electric shock.
-
If the power cord is damaged, it must be replaced by a certified service agent or qualified service personnel.
-
If the power plug socket is loose, do not insert the power plug.
-
There is a risk of electric shock or fire.
-
Without the lamp cover of interior lighting you must not operate the appliance.
-
When cleaning, do not use sharp, pointed or hard devices, as they can cause damage to the appliance.
-
Be careful not to allow liquids to the temperature control and lighting box.
- Do not put hot pot to the plastic parts.
- Do not store flammable gas and liquid in the appliance, because they may explode.
- Check and clean the outlet of melting water coming during defrosting regularly - a label inside the appliance warns you for this. If it is clogged the melting water gathered can cause earlier failure.
Precautions for child safety
- Do not allow children to play with the packaging of the appliance. Plastic foil can cause suffocation.
- Adults must handle the appliance. Do not allow children to play with it or its controlling parts.
- If you are discarding the appliance pull the plug out of the socket, cut the connection cable (as close to the appliance as you can) and remove the door to prevent playing children to suffer electric shock or to close themselves into it.
- This appliance is not intended for use by persons (including children) with reduced physical sensory or mental capabilities, or lack of experience and knowledge, unless they have been given supervision or instruction concerning use of the appliance by a person responsible for their safety.
Environment Protection
- This appliance does not contain gasses which could damage the ozone layer, in either its refrigerant circuit or insulation materials. The appliance shall not be discarded together with the urban refuse and rubbish. Avoid damaging the cooling unit. Information on your local disposal sites may be obtained from your municipal authorities.
- Remove the plug and ensure that any locks or catches are removed, to prevent young children being trapped inside.

Disposal Appliance Packaging Information
The materials marked with the symbol are recyclable.
PE< for polyethylene, e.g. sheet wrapping material
PS< for polystyrene, e.g. padding material (always CFC-free)
>POM< polyoxymethylene, e.g. plastic clips.
All materials are environmentally sound!
Safety precautions for isobutane
Warning
- The refrigerant of the appliance is isobutane (R600a) that is inflammable and explosive to a greater extent.
- Keep ventilation openings, in the appliance enclosure or in the built-in structure, clear of obstruction.
- Do not use mechanical devices or other means to accelerate the defrosting process, other than those recommended by the manufacturer.
- Do not damage the refrigerant circuit.
- Do not use electrical appliances inside the food storage compartments of the appliance, unless they are of the type recommended by the manufacturer.

Use and Control
Before Use

Wait two hours before connecting the appliance to allow the oil to flow back in the compressor.
- Before using the appliance for the first time, wash the interior and all internal accessories with lukewarm water and some neutral soap so as to remove the typical smell of a brand-new product, then dry thoroughly.

Do not use detergents or abrasive powders, as these will damage the finish.
- Remove safety elements used for transportation.
Starting the appliance
- Insert the plug into the wall socket and turn the thermostat knob clockwise beyond position «O» (OFF).
- The thermostat control situated inside the fridge compartment regulates the temperature of the appliance.
- Turn the thermostat control to the required setting.

Temperature Control
- The following effects are of significance in respect of the interior temperature:
- Ambient temperature
- Quantity and temperature of the food stored;
Frequency with which the door is opened and how long it is left open
the location of the appliance. - The temperature inside the appliance is automatically adjusted.
- Setting "1" = highest temperature, warmest setting
- Setting "6" = lowest temperature, coldest setting.
- Setting "0" = Off
A medium setting is generally the most suitable.
Internal Parts
Storage shelves
- The shelves can be removed for cleaning.
- To permit storage of food packages of various sizes, the shelves can be placed at different heights.
- To remove the internal shelf pull forward until it can be tipped up or down and removed.
- Please do the same in reverse to insert the shelf at a different height.
The glass shelf above the vegetable drawers and the bottle shelf should always remain in position, to ensure correct air circulation.

Door shelves
- To permit storage of food packages of various sizes, the central door shelf can be adjusted in height.
Gradually pull the shelf in the direction of the arrows until it comes free, then reposition as required. - For more thorough cleaning, the top and bottom door sheves can be easily removed and refitted in position.


Hints

Saving Energy
- Pay careful attention to where the cabinet is placed. See the section Installation. When installed correctly the cabinet will consume less energy.
- Try to avoid keeping the doors open for long periods or opening the doors too frequently as warm air will enter the cabinet and cause the compressor to switch on unnecessarily often.
- If the ambient temperature is high, the thermostat knob is on the coldest setting (higher numbers) and the appliance is fully loaded, the compressor may run continuously, causing frost or ice to form on the evaporator. If this happens, turn the knob to a warmer setting (lower numbers) to allow automatic defrosting and so a saving in electricity consumption.
- Do not place warm foods inside the appliance. Allow warm foods to cool first.
- Keep the heat emitting condenser, the metall grille on the rear wall of your appliance, always clean.
Hints for refrigeration
- Do not store warm food or evaporating liquids in the refrigerator and do cover or wrap up the food, particularly if it has a strong smell.
To help you use your refrigerator correctly, here are some useful hints:
- Raw meat (beef, pork, lamb & poultry): wrap in polythene bags and place on top of the salad compartment, this being the coldest spot in the refrigerator.
Meat can only be stored safely in this way for one or two days at the most.
- Cooked food, cold cuts, jelly, etc.: these should be well covered and can be stored on any of the glass shelves.
- Fruit & vegetables: these should be thoroughly cleaned and placed in the bottom drawer/s.
- Butter & cheese: these should be placed in special airtight containers or wrapped in aluminium foil or polythene bags to keep out as much air as possible.
- Milk bottles: these should have a top and should be stored in the bottle rack on the door.
Bananas, potatoes, onions and garlic, if not packed, must not be kept in the refrigerator.
Maintenance

Unplug the appliance before carrying out any maintenance operation.

Warning
This appliance contains hydrocarbons in its cooling unit maintenance and recharging must therefore only be carried out by authorised technicians.
Defrosting
Bleeding part of the moisture of cooling chamber in form of frost and ice goes with the operation of the refrigerator.
Thick frost and ice has an insulating effect, so it reduces cooling efficiency as the temperature increases and it needs more energy.
At this type of appliance defrosting cooling compartment is automatic without any external intervention.
The thermostatic control interrupts the operation of compressor at regular intervals for more or less time - during this cooling is interrupted - temperature of the cooling compartment increases and defrosting occurs. After defrosting the thermostatic control restarts operation of the system.
Melting water flows through defrost water outlet into the evaporative tray maintained on the top of compressor and evaporates due to warmth of it.

Check and clean the outlet of melting water coming
during defrosting regularly. If it is clogged the melting water gathered can cause earlier failure as it can go to the insulating of the appliance.
Clean the melting water outlet with the supplied pipe scraper that can be seen in the figure. The pipe scraper has to be stored in the outlet.
Occasionally check the defrost water outlet not to be clogged up.

The most typical case of clogging up in the defrost water outlet when you put food wrapped in some paper into the appliance and this paper contacts back plate of cooling compartment and freezes to it. If you remove the food right at this moment the paper will tear and it can cause clogging up in
the outlet by getting into it. So you are asked to be careful - because of the above - when placing foods wrapped in paper into the appliance.

In case of increased demand e.g. during heatwaves, the refrigerator temporarily happens to operate constantly - during this the automatic ting is ineffective.
Remaining small ice and frost stains on back plate of the cooling compartment after defrosting period is not abnormal.
Cleaning

Never use metal objects for cleaning your appliance as it may get damaged.
NEVER use detergents, abrasive powders, highly perfumed cleaning products or wax polishes to clean the interior as these will damage the surface and leave a strong odour. Nie Metallgegenstände um das Gerät zu reinigen, da es beschädigt werden können.
Clean the inside with warm water and bicarbonate of soda. Rinse and dry thoroughly.
To guarantee a safe operation of the fridge, once a year remove the ventilation grill at the base and clean the air channels with a vacuum cleaner.
When the appliance is not in use
Disconnect the appliance from the electricity supply.
Empty all foods and clean the appliance, leaving the doors ajar to prevent unpleasant smells.
How to change the bulb
Should the light fail to work you can change it as below:
Break the circuit of the appliance.
Unscrew the plate screw fixing the lamp cover, then take the lamp cover off in the direction of arrow and the bulb can be changed. (Type of the bulb: Mignon 322, 230 V, 15 W, E 14 thread)
After changing bulb replace the lamp cover, screw the plate screw and apply voltage to the appliance.
The lack of light does not influence operation of the refrigerator.

Something not Working
Problems may be due to causes which can easily be solved before calling the Technical Service. Please follow these instructions:
| SYMPTOM | SOLUTION |
| Door does not close | Level properly the appliances if it is not well levelled. Weight surpasses the storage limit of the door shelf so spread weight more evenly or take some products out. The appliance is not properly installed. Please look in the "Building-in" section. |
| It is too warm inside the refrigerator | Set a lower temperature. Distribute the food products to allow cold air to circulate around them. Make sure that the door is completely closed and that the insulating strip is complete and clean. The temperature where the cabinet is placed is above normal room temperature. |
| It is too cold inside the refrigerator. | Turn the temperature regulator to a warmer setting temporarily. |
| The compressor works continuously. | Turn the thermostat knob to a lower number. The temperature where the cabinet is placed is above normal room temperature. Check that the ventilation is sufficient and that the ventilation openings are unobstructed. The cause could be the introduction of large quantities of food and/or frequent opening/closing of the door. |
| There is water inside/outside the refrigerator. | Sometimes is normal. During automatic defrosting frost thaws on the cooling plate. |
| Water comes out on the floor. Noises | Place the drain hose at the back of the cabinet above the drain bowl. Sometimes this is normal. Temperature control may cause clicking sounds when the system is connected or disconnected. The injected cooling gas may produce a gurgling sound while passing through the tubes. The motor may cause a humming noise and/or slight bumping. The insulation material used has a tendency to slightly increase noise levels, how ever it allows for much better insulation and a lower energy consumption. |
Customer service and spare parts
If you cannot find the remedy for a malfunction in these operating instructions, please contact your dealer or our customer service department and consult the Guarantee card.
Selective ordering of replacement parts can save unnecessary travel and costs.
For this reason always provide the following appliance information:
Model Name
- Model Number (PNC)
- Serial Number (S-No.)
This information can be found on the rating plate inside the cabenit on the left hand wall. We recommend that you enter this information here, so that it is handy if needed.
Technical specifications
The technical data is indicated in the rating plate on the left side inside the appliance.
Door reversibility

The equipment is supplied with the door opening toward the right.
Follow the instructions below before installing it to have the door open to the left.
1.Unscrew the top hinge screw and remove the spacer.
2.Remove the door.
3.Unscrew with a key the lower pin and replace it on the opposite side.
4.Reinsert the door and screw the upper hinge and spacer onto the opposite side.


Installation

Take utmost care when handling your appliance so as not to cause any damages to the cooling unit with consequent possible fluid leakages.
- During normal operation, the condenser and compressor at the back of the appliance heat up considerably. Always ensure that there is adequate ventilation as a failure to do this will result in component failure and possible food loss. See installation instructions.
- Important: if the supply cord is damaged, it must be replaced by a special cord or assembly available from the manufacturer or its service agent.
Positioning
- Unpack the cabinet and check that it is in good condition and free of any transport damage.
- The appliance must not be located close to radiators or gas cookers.
- Avoid prolonged exposure of the appliance to direct sunlight.
- For safety reasons, minimum ventilation must be as shown in Fig.
Attention: keep ventilation openings clear of obstruction.
- It is necessary that the niche is provided with a conduct of ventilation having the following dimensions:
Depth: 50 mm
Width: 540 mm

The climate classification can be found on the rating plate, which is located inside the cabinet on the left hand wall.
The following table shows which ambient temperature is correct for each climate classification:
| Climate classification | for an ambient temperature of |
| SN | +10 to +32 °C |
| N | +16 to +32 °C |
| ST | +18 to +38 °C |
| T | +18 to +43 °C |
Electrical connection
Before plugging in, ensure that the voltage and frequency shown on the serial number plate correspond to your domestic power supply. Voltage can vary by ± 6% of the rated voltage.
For operation with different voltages, a suitably sized auto-transformer must be used.

Important
The appliance must be earthed.
The power supply cable plug is provided with a contact for this purpose.
If the domestic power supply socket is not earthed, connect the appliance to a separate earth in compliance with current regulations, consulting a specialist technician.
The Manufacturer declines all responsibility if the above safety precautions are not observed.

This appliance complies with the following E.E.C.
Directives:
-
87/308 EEC of 2/6/87 relative to radio interference suppression.
-
73/23 EEC of 19.2.73 (Low Voltage Directive) and subsequent modifications.
-
89/336 EEC of 3.5.89 (Electromagnetic Compatibility Directive) and subsequent modifications.

Attention!
It must be possible to disconnect the appliance from the mains power supply; the plug must therefore be easily accessible after installation.
Building-in
Dimensions of the recess
Height of housing (1)
880 1225 mm
Depth of housing (2)
550 550mm
Width of housing (3)
560 560mm

It is necessary that the niche is provided with a conduct of ventilation having the following dimensions:
Depth 50 mm
Width 540 mm

For appropriate venting, follow indications in the figure.
- Fit the appliance in the niche by making sure that it stands against the interior surface of the unit on the side where the door hinges of the appliances are fitted. Insert the appliance until the upper strip butts up against the unit (1) and make sure that the lower hinge is in line with the surface of the unit (2).

- Open the door and push the appliance against the side of kitchen furniture opposite to that of the appliance hinges. Fasten the appliance with 4 screws (I) provided in the kit included with the appliance.

- Press in the joint covers between the appliance and the kitchen furniture.

- From the plastic cover (E), which is used to cover the hinge with the pivot pin, you must take away the part as indicated in the drawing.
This operation is made easier since there is, in the internal part of the cover hinge lid a groove that facilitates the removal of this cocomponent.
"Remove the part marked with DX, if the pivot pin is inserted in the right hinge, SX in opposite case."
Apply covers (C-D) on joint cover lugs and into hinge holes.Snap hinge covers (E) into position.


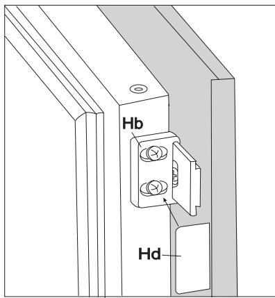
- Separate parts Ha, Hb, Hc, Hd as shown in the figure.

- Place guide (Ha) on the inside part of the furniture door, up and down as shown in the figure and mark the position of external holes. After having drilled holes, fix the guide with the screws supplied.

- Fix cover (Hc) on guide (Ha) until it clips into place.

- Open the appliance door and the furniture door at 90^ . Insert the small square (Hb) into guide (Ha). Put together the appliance door and the furniture door and mark the holes as indicated in the figure.

- Remove the squares and mark a distance of 8mm from the outer edge of the door where the nail must be fitted (K).

- Place the small square on the guide again and fix it with the screws supplied.
Should the alignment of the furniture door be necessary, use the clearance of slots.
At the end of this procedure, it is necessary to check if the door of the furniture closes properly.

- Fix cover (Hd) on the small square (Hb) until it clips into place.

EasyManual